EP2887134B1 - Dispositif d'affichage comprenant des afficheurs et une unité de rayonnement de chaleur entre les afficheurs. - Google Patents

Dispositif d'affichage comprenant des afficheurs et une unité de rayonnement de chaleur entre les afficheurs. Download PDF

Info

Publication number
EP2887134B1
EP2887134B1 EP14190042.3A EP14190042A EP2887134B1 EP 2887134 B1 EP2887134 B1 EP 2887134B1 EP 14190042 A EP14190042 A EP 14190042A EP 2887134 B1 EP2887134 B1 EP 2887134B1
Authority
EP
European Patent Office
Prior art keywords
heat radiation
displays
display
display device
radiation unit
Prior art date
Legal status (The legal status is an assumption and is not a legal conclusion. Google has not performed a legal analysis and makes no representation as to the accuracy of the status listed.)
Not-in-force
Application number
EP14190042.3A
Other languages
German (de)
English (en)
Other versions
EP2887134A1 (fr
Inventor
Hyung Ki Kim
Tae Jun Ko
Seung Min Kim
Jeong Shan Na
Hyung Jin Lee
Current Assignee (The listed assignees may be inaccurate. Google has not performed a legal analysis and makes no representation or warranty as to the accuracy of the list.)
Samsung Electronics Co Ltd
Original Assignee
Samsung Electronics Co Ltd
Priority date (The priority date is an assumption and is not a legal conclusion. Google has not performed a legal analysis and makes no representation as to the accuracy of the date listed.)
Filing date
Publication date
Application filed by Samsung Electronics Co Ltd filed Critical Samsung Electronics Co Ltd
Publication of EP2887134A1 publication Critical patent/EP2887134A1/fr
Application granted granted Critical
Publication of EP2887134B1 publication Critical patent/EP2887134B1/fr
Not-in-force legal-status Critical Current
Anticipated expiration legal-status Critical

Links

Images

Classifications

    • GPHYSICS
    • G06COMPUTING OR CALCULATING; COUNTING
    • G06FELECTRIC DIGITAL DATA PROCESSING
    • G06F3/00Input arrangements for transferring data to be processed into a form capable of being handled by the computer; Output arrangements for transferring data from processing unit to output unit, e.g. interface arrangements
    • G06F3/14Digital output to display device ; Cooperation and interconnection of the display device with other functional units
    • G06F3/1423Digital output to display device ; Cooperation and interconnection of the display device with other functional units controlling a plurality of local displays, e.g. CRT and flat panel display
    • G06F3/1446Digital output to display device ; Cooperation and interconnection of the display device with other functional units controlling a plurality of local displays, e.g. CRT and flat panel display display composed of modules, e.g. video walls
    • GPHYSICS
    • G09EDUCATION; CRYPTOGRAPHY; DISPLAY; ADVERTISING; SEALS
    • G09FDISPLAYING; ADVERTISING; SIGNS; LABELS OR NAME-PLATES; SEALS
    • G09F9/00Indicating arrangements for variable information in which the information is built-up on a support by selection or combination of individual elements
    • GPHYSICS
    • G02OPTICS
    • G02FOPTICAL DEVICES OR ARRANGEMENTS FOR THE CONTROL OF LIGHT BY MODIFICATION OF THE OPTICAL PROPERTIES OF THE MEDIA OF THE ELEMENTS INVOLVED THEREIN; NON-LINEAR OPTICS; FREQUENCY-CHANGING OF LIGHT; OPTICAL LOGIC ELEMENTS; OPTICAL ANALOGUE/DIGITAL CONVERTERS
    • G02F1/00Devices or arrangements for the control of the intensity, colour, phase, polarisation or direction of light arriving from an independent light source, e.g. switching, gating or modulating; Non-linear optics
    • G02F1/01Devices or arrangements for the control of the intensity, colour, phase, polarisation or direction of light arriving from an independent light source, e.g. switching, gating or modulating; Non-linear optics for the control of the intensity, phase, polarisation or colour 
    • G02F1/13Devices or arrangements for the control of the intensity, colour, phase, polarisation or direction of light arriving from an independent light source, e.g. switching, gating or modulating; Non-linear optics for the control of the intensity, phase, polarisation or colour  based on liquid crystals, e.g. single liquid crystal display cells
    • G02F1/133Constructional arrangements; Operation of liquid crystal cells; Circuit arrangements
    • G02F1/1333Constructional arrangements; Manufacturing methods
    • G02F1/13336Combining plural substrates to produce large-area displays, e.g. tiled displays
    • GPHYSICS
    • G02OPTICS
    • G02FOPTICAL DEVICES OR ARRANGEMENTS FOR THE CONTROL OF LIGHT BY MODIFICATION OF THE OPTICAL PROPERTIES OF THE MEDIA OF THE ELEMENTS INVOLVED THEREIN; NON-LINEAR OPTICS; FREQUENCY-CHANGING OF LIGHT; OPTICAL LOGIC ELEMENTS; OPTICAL ANALOGUE/DIGITAL CONVERTERS
    • G02F1/00Devices or arrangements for the control of the intensity, colour, phase, polarisation or direction of light arriving from an independent light source, e.g. switching, gating or modulating; Non-linear optics
    • G02F1/01Devices or arrangements for the control of the intensity, colour, phase, polarisation or direction of light arriving from an independent light source, e.g. switching, gating or modulating; Non-linear optics for the control of the intensity, phase, polarisation or colour 
    • G02F1/13Devices or arrangements for the control of the intensity, colour, phase, polarisation or direction of light arriving from an independent light source, e.g. switching, gating or modulating; Non-linear optics for the control of the intensity, phase, polarisation or colour  based on liquid crystals, e.g. single liquid crystal display cells
    • G02F1/133Constructional arrangements; Operation of liquid crystal cells; Circuit arrangements
    • G02F1/1333Constructional arrangements; Manufacturing methods
    • G02F1/133382Heating or cooling of liquid crystal cells other than for activation, e.g. circuits or arrangements for temperature control, stabilisation or uniform distribution over the cell
    • G02F1/133385Heating or cooling of liquid crystal cells other than for activation, e.g. circuits or arrangements for temperature control, stabilisation or uniform distribution over the cell with cooling means, e.g. fans
    • HELECTRICITY
    • H05ELECTRIC TECHNIQUES NOT OTHERWISE PROVIDED FOR
    • H05KPRINTED CIRCUITS; CASINGS OR CONSTRUCTIONAL DETAILS OF ELECTRIC APPARATUS; MANUFACTURE OF ASSEMBLAGES OF ELECTRICAL COMPONENTS
    • H05K7/00Constructional details common to different types of electric apparatus
    • H05K7/20Modifications to facilitate cooling, ventilating, or heating
    • H05K7/20954Modifications to facilitate cooling, ventilating, or heating for display panels
    • H05K7/20963Heat transfer by conduction from internal heat source to heat radiating structure

Definitions

  • Apparatuses consistent with exemplary embodiments relate to a display device constituting a video wall system and comprising adjacent displays having a heat radiation unit in between, the heat radiation unit decreasing the temperature of the displays.
  • Display devices generally operate to display images on screens thereof.
  • a variety of functions, such as a video wall function, may be achieved using the display devices.
  • the video wall function refers to a function of perceiving a plurality of display devices as one single screen, by which an input image is enlarged to fit the size corresponding to, for example, 1 ⁇ 4, 2 ⁇ 2, 3 ⁇ 3, 4 ⁇ 4 screens or more.
  • the video wall function may be utilized in places such as business meeting rooms, presentations, exhibitions, traffic control or stock trading rooms to provide one large image on the screens of a plurality of display devices, thereby catching the attention of viewers more effectively.
  • the video wall system in which neighboring display devices are connected in series, has a problem of an increase in temperature at contact portions between the neighboring display devices.
  • a display backlight employing light emitting diodes is classified as an edge type backlight and a direct type backlight according to positions of the LEDs.
  • the LEDs are positioned at a side of the display panel.
  • the LEDs are positioned under the display panel and have a surface area substantially identical to that of the display panel.
  • DE10332012A1 discloses a display device comprising adjacent displays and an inner frame located between the adjacent displays. It mentions a heat dissipation system formed of fans and openings in a chassis enclosing the displays.
  • WO2012/091530A1 discloses a heat dissipation system for tiled displays based on air circulation.
  • the invention is defined by the appended claim.
  • the disclosure provides a heat radiation unit capable of decreasing temperature of display devices constituting a video wall system and a display device having the heat radiation unit.
  • thermoelectric unit capable of decreasing temperature of a side surface of a display panel and a display device having the heat radiation unit.
  • a heat radiation unit capable of preventing shortening of lifespan of the product by decreasing temperature of the display devices and a display device having the heat radiation unit.
  • a display device including: at least two displays arranged adjacent to each other and configured to output an image; and a heat radiation unit interposed between the displays and configured to radiate heat generated by the displays, wherein the heat radiation unit includes: a contact part contacting the displays; and a heat radiation part extending from the contact part and configured to radiate the heat generated by the displays.
  • the heat radiation unit may be a heat sink.
  • the heat radiation unit may further include an adhesive part that adheres the contact part to the displays.
  • the heat radiation part may include a heat radiation plate extending from the contact part and one or more heat radiation protrusions extending from the heat radiation plate.
  • the one or more heat radiation protrusions may extend from the contact part in a radial direction.
  • the one or more heat radiation protrusions may have different heights.
  • the heat radiation unit may be a metal heat radiation plate.
  • Each of the displays may include a display module configured to display an image and a case provided at an outer portion of the display module.
  • the heat radiation unit may be disposed at a side surface of the case.
  • a display device including at least two displays arranged adjacent to each other, wherein each of the displays includes a display module configured to display an image, and a case provided at an outer portion of the display module; and a heat radiation unit interposed between the displays so as to contact a side surface of the case of each of the displays and configured to radiate heat generated by the displays.
  • the heat radiation unit may be a heat sink.
  • the heat radiation unit may include a contact part contacting the side surface of the case of each of the displays and a heat radiation part extending from the contact part and configured to radiate heat generated by the displays.
  • the heat radiation unit may further include an adhesive part that adheres the contact part to the displays.
  • the heat radiation part may include a heat radiation plate extending from the contact part and one or more heat radiation protrusions extending from the heat radiation plate.
  • the one or more heat radiation protrusions may extend from the contact part in a radial direction by different inclination angles.
  • the one or more heat radiation protrusions may have different heights.
  • the heat radiation unit may be a metal heat radiation plate.
  • Each of the displays may include light emitting diodes (LEDs) provided in at least one of edge portions of the display module, and the heat radiation unit may be disposed at the side surface of the case adjacent to the LEDs.
  • LEDs light emitting diodes
  • FIG. 1 is a perspective view schematically illustrating a video wall system including a plurality of display devices according to an exemplary embodiment
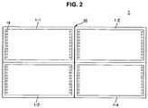
  • FIG. 2 is a view schematically illustrating the display device of the video wall system equipped with a heat radiation unit according to a first exemplary embodiment
  • FIG. 3 is an exploded perspective view schematically illustrating the display device equipped with the heat radiation unit according to the first exemplary embodiment
  • FIG. 4 is a sectional view schematically illustrating the display device equipped with the heat radiation unit according to the first exemplary embodiment.
  • a display device 1 constituting a video wall system generally includes a plurality of displays, e.g., a first display 1-1, a second display 1-2, a third display 1-3 and a fourth display 1-4.
  • the plurality of displays 1-1, 1-2, 1-3 and 1-4 may be arranged in 2 ⁇ 2 matrix, i.e., two rows and two columns.
  • the above example is provided for illustrative purposes only and, accordingly, the number and arrangement of the displays of a video wall system may vary.
  • the display device 1 of the video wall system may operate such that one of the displays 1-1, 1-2, 1-3 and 1-4 operates as a main display device to control operation of the other sub display devices.
  • a separate control device (not shown) may be provided to control operation of the respective displays 1-1, 1-2, 1-3 and 1-4.
  • Each of the displays 1-1, 1-2, 1-3 and 1-4 includes a display module 10 to display image information and a case 13 provided at an outer portion of the display module 10 to protect the display module 10 and internal electric components.
  • the display module 10 may include a display panel to display an image.
  • the display panel may include a thin film transistor (TFT) substrate, a color filter substrate, and a liquid crystal layer disposed between the TFT substrate and the color filter substrate.
  • TFT thin film transistor
  • Respective pixels emit light independently by driving circuits arranged in a matrix, thereby realizing an image.
  • a plurality of LEDs 14 may be provided as a light source and may be arranged at edge portions of the display module 10.
  • the LEDs 14 may be arranged apart from each other with a regular interval therebetween in a longitudinal direction. Although it is described and illustrated in this exemplary embodiment that the LEDs 14 are arranged at both left and right edge portions of the display module 10, this and other embodiments are not limited thereto. For example, the LEDs may be arranged only at any one of both edge portions of the display module.
  • the case 13 is configured to cover the front edge portions and the rear surface of the display module 10.
  • a light guide plate 11 to convert incident light into a surface light source
  • a printed circuit board (PCB) 12 to control the display module 10
  • a power supply to supply power necessary to drive the display module 10
  • a driving module to convert an electric signal from the outside into an image and sound.
  • the first display 1-1 and the second display 1-2 may be arranged adjacent to each other (side by side) in a horizontal direction.
  • the third display 1-3 and the fourth display 1-4 may be arranged adjacent to each other (side by side) in a horizontal direction.
  • the first display 1-1 and the third display 1-3 may be arranged adjacent to each other (stacked) in a vertical direction.
  • the second display 1-2 and the fourth display 1-4 may be arranged adjacent to each other (stacked) in a vertical direction.
  • Heat radiation units 20 may be interposed between the first display 1-1 and the second display 1-2 and between the third display 1-3 and the fourth display 1-4.
  • an internal temperature of the first and second displays 1-1 and 1-2 may rise due to heat generated from the LEDs 14 mounted to the edge portions of the first display 1-1 and the LEDs 14 mounted to the edge portions of the second display 1-2. That is, heat generated by the LEDs 14 of the first display 1-1 may cause the internal temperature of the second display 1-2 to rise and heat generated by the LEDs 14 of the second display 1-2 may cause the internal temperature of the first display 1-1 to rise.
  • the heat radiation unit 20 may be interposed between the case 13 of the first display 1-1 and the case 13 of the second display 1-2 to radiate heat generated from the first display 1-1 and the second display 1-2. Similarly, the heat radiation unit 20 may be interposed between the case 13 of the third display 1-3 and the case 13 of the fourth display 1-4 to radiate heat generated from the third display 1-4 and the fourth display 1-4.
  • the heat radiation unit 20 is configured to radiate heat generated from the LEDs 14 between the first display 1-1 and the second display 1-2 and between the third display 1-3 and the fourth display 1-4, thereby decreasing temperature of the cases 13 around the LEDs 14.
  • the heat radiation unit 20 may include a metal heat radiation plate or a heat sink.
  • the heat radiation unit 20 includes a contact part 21 configured to contact the cases 13 of the displays 1-1, 1-2, 1-3 and 1-4 and a heat radiation part 22 extending from the contact part 21 and configured to radiate heat generated from the displays 1-1, 1-2, 1-3 and 1-4.
  • the contact part 21 may be configured with a contact surface 21a of the contact part 21 for contact with the case 13.
  • the heat radiation unit 20 may further include an adhesive part 30 provided at the contact surface 21a, by which the heat radiation unit 20 is adhered to the cases 13 of the displays 1-1, 1-2, 1-3 and.
  • the adhesive part 30 may include an adhesive tape or an adhesive agent.
  • the heat radiation part 22 includes a heat radiation plate 23 extending from the contact part 21.
  • the heat radiation plate 23 may extend from one end portion of the contact part 21 perpendicularly thereto and may be spaced apart from the rear surface of the case 13 of the first display 1-1 and the rear surface of the case 13 of the second display 1-2.
  • FIG. 5 is a view schematically illustrating the display device including a heat radiation unit according to a second exemplary embodiment
  • FIG. 6 is an exploded perspective view schematically illustrating the display device equipped with the heat radiation unit according to the second exemplary embodiment
  • FIG. 7 is a view schematically illustrating the display device equipped with a heat radiation unit according to a third exemplary embodiment.
  • the heat radiation unit 20 includes a contact part 21 and a heat radiation part 22 extending from the contact part 21.
  • the heat radiation part 22 may include a heat radiation plate 23 extending from the contact part 21 and one or more heat radiation protrusions 24 (24a, 24b, ..., 24i and 24j) extending from the heat radiation plate 23.
  • the heat radiation protrusions 24 extend outward from the heat radiation plate 23 and are spaced apart from each other, which causes effective convection flow of air between the heat radiation protrusions 24 and, accordingly, a heat radiation area is increased.
  • the heat radiation protrusions 24 of the heat radiation unit 20 may respectively have different heights and thicknesses to enhance heat radiation efficiency. Although it is described and illustrated in the exemplary embodiment of FIG. 7 that the height of the heat radiation protrusions 24 gradually decreases from the center portion to the outermost portion and the thickness of the heat radiation protrusions 24 is the same, this and other embodiments are not limited thereto. For example, heat radiation protrusions with different heights may be diversely arranged.
  • FIG. 8 is a view schematically illustrating the display device equipped with a heat radiation unit according to a fourth exemplary embodiment
  • FIG. 9 is an exploded perspective view schematically illustrating the display device equipped with the heat radiation unit according to the fourth exemplary embodiment.
  • heat radiation protrusions 25 of the heat radiation unit 20 extend from one end portion of the contact part 21 in a radial direction by different inclination angles ⁇ .
  • the heat radiation protrusions 25 may have a fan shape.
  • the heat radiation protrusions 25 have the same height from the contact part 21 and the same thickness, this and other embodiments are not limited thereto.
  • the heat radiation protrusion located in the center portion may have the largest height, and the height of the heat radiation protrusions may gradually decrease to the outermost portion while the inclination angle increases.

Landscapes

  • Physics & Mathematics (AREA)
  • Nonlinear Science (AREA)
  • Engineering & Computer Science (AREA)
  • General Physics & Mathematics (AREA)
  • Crystallography & Structural Chemistry (AREA)
  • Mathematical Physics (AREA)
  • Chemical & Material Sciences (AREA)
  • Optics & Photonics (AREA)
  • Theoretical Computer Science (AREA)
  • Thermal Sciences (AREA)
  • Microelectronics & Electronic Packaging (AREA)
  • General Engineering & Computer Science (AREA)
  • Human Computer Interaction (AREA)
  • Multimedia (AREA)
  • Devices For Indicating Variable Information By Combining Individual Elements (AREA)

Claims (8)

  1. Dispositif d'affichage (1) comprenant :
    au moins deux affichages (1-1, 1-2, 1-3, 1-4) agencés adjacents l'un à l'autre et configurés pour délivrer en sortie une image ; et
    une unité de rayonnement de chaleur (20) interposée entre les affichages et configurée pour rayonner la chaleur générée par les affichages,
    dans lequel l'unité de rayonnement de chaleur comprend :
    une partie de contact (21) placée entre les affichages et venant au contact des affichages ; et
    une partie de rayonnement de chaleur (22) s'étendant depuis la partie de contact et configurée pour rayonner la chaleur générée par les affichages.
  2. Dispositif d'affichage selon la revendication 1, dans lequel l'unité de rayonnement de chaleur est un dissipateur thermique.
  3. Dispositif d'affichage selon la revendication 1, dans lequel l'unité de rayonnement de chaleur comprend en outre une partie adhésive (30) qui fait adhérer la partie de contact aux affichages.
  4. Dispositif d'affichage selon la revendication 1, dans lequel l'unité de rayonnement de chaleur comprend une plaque de rayonnement de chaleur (23) s'étendant depuis la partie de contact et au moins une saillie de rayonnement de chaleur (24, 25) s'étendant depuis la plaque de rayonnement de chaleur.
  5. Dispositif d'affichage selon la revendication 4, dans lequel l'au moins une saillie de rayonnement thermique comprend une pluralité de saillies de rayonnement thermique s'étendant depuis la partie de contact dans une direction radiale.
  6. Dispositif d'affichage selon la revendication 4, dans lequel l'au moins une saillie de rayonnement thermique comprend une pluralité de saillies de rayonnement thermique s'étendant depuis la partie de contact et ayant des hauteurs différentes.
  7. Dispositif d'affichage selon la revendication 1, dans lequel l'unité de rayonnement de chaleur est une plaque métallique d'irradiation de chaleur.
  8. Dispositif d'affichage selon la revendication 1, dans lequel chacun des affichages comprend un module d'affichage (10) configuré pour afficher une image et un boîtier (13) disposé au niveau d'une partie extérieure du module d'affichage,
    et dans lequel l'unité de rayonnement thermique est disposée au niveau d'une surface latérale du boîtier de chacun des affichages.
EP14190042.3A 2013-12-17 2014-10-23 Dispositif d'affichage comprenant des afficheurs et une unité de rayonnement de chaleur entre les afficheurs. Not-in-force EP2887134B1 (fr)

Applications Claiming Priority (1)

Application Number Priority Date Filing Date Title
KR1020130157551A KR102136650B1 (ko) 2013-12-17 2013-12-17 방열 유닛 및 이를 포함하는 디스플레이 장치

Publications (2)

Publication Number Publication Date
EP2887134A1 EP2887134A1 (fr) 2015-06-24
EP2887134B1 true EP2887134B1 (fr) 2016-09-14

Family

ID=51870815

Family Applications (1)

Application Number Title Priority Date Filing Date
EP14190042.3A Not-in-force EP2887134B1 (fr) 2013-12-17 2014-10-23 Dispositif d'affichage comprenant des afficheurs et une unité de rayonnement de chaleur entre les afficheurs.

Country Status (3)

Country Link
US (1) US20150169277A1 (fr)
EP (1) EP2887134B1 (fr)
KR (1) KR102136650B1 (fr)

Families Citing this family (7)

* Cited by examiner, † Cited by third party
Publication number Priority date Publication date Assignee Title
US8974077B2 (en) 2012-07-30 2015-03-10 Ultravision Technologies, Llc Heat sink for LED light source
US9195281B2 (en) 2013-12-31 2015-11-24 Ultravision Technologies, Llc System and method for a modular multi-panel display
TWI671721B (zh) * 2014-09-15 2019-09-11 比利時商巴而可公司 顯示磚、用於顯示磚的框架及其製作方法
CN105516619A (zh) * 2016-01-26 2016-04-20 深圳市维冠视界科技股份有限公司 一种4k拼接处理器及4k拼接显示系统
WO2020013405A1 (fr) * 2018-07-13 2020-01-16 (주)엑스퍼넷 Vaisselle de table intelligente et dispositif de charge correspondant
CN113412025B (zh) * 2020-03-17 2025-05-09 群创光电股份有限公司 电子装置
KR102452144B1 (ko) * 2022-06-10 2022-10-07 주식회사 미디어밸리 높낮이 조절구가 구비된 led전광판

Family Cites Families (8)

* Cited by examiner, † Cited by third party
Publication number Priority date Publication date Assignee Title
KR200319226Y1 (ko) * 2003-04-23 2003-07-04 서머솔루션 주식회사 방사형 방열핀을 갖는 히트파이프용 방열판
DE10332012B4 (de) * 2003-05-23 2006-08-31 Kj Gmbh Installationen Anzeigetafel
KR100719675B1 (ko) * 2005-05-24 2007-05-17 삼성에스디아이 주식회사 플라즈마 디스플레이 장치
KR100703514B1 (ko) * 2006-04-07 2007-04-03 삼성에스디아이 주식회사 듀얼 화면 모바일 디스플레이 기기
US8599108B2 (en) * 2007-12-11 2013-12-03 Adti Media, Llc140 Large scale LED display
JP5622498B2 (ja) * 2010-09-14 2014-11-12 シャープ株式会社 マルチディスプレイ装置
WO2012035988A1 (fr) * 2010-09-14 2012-03-22 シャープ株式会社 Dispositif multi-affichages
KR101176906B1 (ko) * 2010-12-31 2012-08-30 주식회사 에이브이시스 엘씨디 모니터 전광판의 방열 구조와 전광판 관리 시스템

Also Published As

Publication number Publication date
KR102136650B1 (ko) 2020-07-23
KR20150071092A (ko) 2015-06-26
EP2887134A1 (fr) 2015-06-24
US20150169277A1 (en) 2015-06-18

Similar Documents

Publication Publication Date Title
EP2887134B1 (fr) Dispositif d'affichage comprenant des afficheurs et une unité de rayonnement de chaleur entre les afficheurs.
US9039219B2 (en) Display apparatus
CN104730764B (zh) 显示装置
CN110121741B (zh) 户外显示装置
CN203204952U (zh) 显示装置和电视
US10185179B2 (en) Light-emitting apparatus and image display apparatus having fixing members in pixel boundaries
CN106297572A (zh) 无边框显示装置
JP2012138300A (ja) テレビおよび電子機器
KR20140036715A (ko) 표시 장치의 표시 모듈
US10228579B2 (en) Display device and multi display device using the same
WO2016169182A1 (fr) Dispositif d'affichage
CN102692747B (zh) 电光装置及电子设备
EP3385782A1 (fr) Dispositif d'affichage lcd
US9268085B2 (en) Liquid crystal display device
KR102354912B1 (ko) 백라이트용 광원 유닛 및 이를 갖는 액정 표시 장치
WO2012026162A1 (fr) Dispositif d'éclairage, dispositif d'affichage et dispositif de téléviseur
US10935226B2 (en) Lighting device and display apparatus
KR101848874B1 (ko) 디스플레이 장치
KR102134703B1 (ko) 액정표시장치
JP5272959B2 (ja) 発光装置
KR102562974B1 (ko) 입체형 표시장치
JP6289012B2 (ja) 液晶表示装置
JP2013157268A (ja) バックライト装置、表示装置、及びテレビ受信装置
KR102081120B1 (ko) 백 라이트 유닛 및 이를 이용한 액정 표시장치
WO2013031676A1 (fr) Dispositif d'éclairage, écran et dispositif de réception de télévision

Legal Events

Date Code Title Description
PUAI Public reference made under article 153(3) epc to a published international application that has entered the european phase

Free format text: ORIGINAL CODE: 0009012

17P Request for examination filed

Effective date: 20141023

AK Designated contracting states

Kind code of ref document: A1

Designated state(s): AL AT BE BG CH CY CZ DE DK EE ES FI FR GB GR HR HU IE IS IT LI LT LU LV MC MK MT NL NO PL PT RO RS SE SI SK SM TR

AX Request for extension of the european patent

Extension state: BA ME

R17P Request for examination filed (corrected)

Effective date: 20151118

RBV Designated contracting states (corrected)

Designated state(s): AL AT BE BG CH CY CZ DE DK EE ES FI FR GB GR HR HU IE IS IT LI LT LU LV MC MK MT NL NO PL PT RO RS SE SI SK SM TR

GRAP Despatch of communication of intention to grant a patent

Free format text: ORIGINAL CODE: EPIDOSNIGR1

INTG Intention to grant announced

Effective date: 20160425

RIN1 Information on inventor provided before grant (corrected)

Inventor name: NA, JEONG SHAN

Inventor name: KIM, HYUNG KI

Inventor name: LEE, HYUNG JIN

Inventor name: KIM, SEUNG MIN

Inventor name: KO, TAE JUN

GRAS Grant fee paid

Free format text: ORIGINAL CODE: EPIDOSNIGR3

GRAA (expected) grant

Free format text: ORIGINAL CODE: 0009210

AK Designated contracting states

Kind code of ref document: B1

Designated state(s): AL AT BE BG CH CY CZ DE DK EE ES FI FR GB GR HR HU IE IS IT LI LT LU LV MC MK MT NL NO PL PT RO RS SE SI SK SM TR

REG Reference to a national code

Ref country code: GB

Ref legal event code: FG4D

REG Reference to a national code

Ref country code: CH

Ref legal event code: EP

REG Reference to a national code

Ref country code: IE

Ref legal event code: FG4D

REG Reference to a national code

Ref country code: AT

Ref legal event code: REF

Ref document number: 829628

Country of ref document: AT

Kind code of ref document: T

Effective date: 20161015

REG Reference to a national code

Ref country code: DE

Ref legal event code: R096

Ref document number: 602014003640

Country of ref document: DE

REG Reference to a national code

Ref country code: NL

Ref legal event code: FP

REG Reference to a national code

Ref country code: LT

Ref legal event code: MG4D

PG25 Lapsed in a contracting state [announced via postgrant information from national office to epo]

Ref country code: HR

Free format text: LAPSE BECAUSE OF FAILURE TO SUBMIT A TRANSLATION OF THE DESCRIPTION OR TO PAY THE FEE WITHIN THE PRESCRIBED TIME-LIMIT

Effective date: 20160914

Ref country code: NO

Free format text: LAPSE BECAUSE OF FAILURE TO SUBMIT A TRANSLATION OF THE DESCRIPTION OR TO PAY THE FEE WITHIN THE PRESCRIBED TIME-LIMIT

Effective date: 20161214

Ref country code: RS

Free format text: LAPSE BECAUSE OF FAILURE TO SUBMIT A TRANSLATION OF THE DESCRIPTION OR TO PAY THE FEE WITHIN THE PRESCRIBED TIME-LIMIT

Effective date: 20160914

Ref country code: LT

Free format text: LAPSE BECAUSE OF FAILURE TO SUBMIT A TRANSLATION OF THE DESCRIPTION OR TO PAY THE FEE WITHIN THE PRESCRIBED TIME-LIMIT

Effective date: 20160914

Ref country code: FI

Free format text: LAPSE BECAUSE OF FAILURE TO SUBMIT A TRANSLATION OF THE DESCRIPTION OR TO PAY THE FEE WITHIN THE PRESCRIBED TIME-LIMIT

Effective date: 20160914

REG Reference to a national code

Ref country code: AT

Ref legal event code: MK05

Ref document number: 829628

Country of ref document: AT

Kind code of ref document: T

Effective date: 20160914

PG25 Lapsed in a contracting state [announced via postgrant information from national office to epo]

Ref country code: SE

Free format text: LAPSE BECAUSE OF FAILURE TO SUBMIT A TRANSLATION OF THE DESCRIPTION OR TO PAY THE FEE WITHIN THE PRESCRIBED TIME-LIMIT

Effective date: 20160914

Ref country code: GR

Free format text: LAPSE BECAUSE OF FAILURE TO SUBMIT A TRANSLATION OF THE DESCRIPTION OR TO PAY THE FEE WITHIN THE PRESCRIBED TIME-LIMIT

Effective date: 20161215

Ref country code: BE

Free format text: LAPSE BECAUSE OF NON-PAYMENT OF DUE FEES

Effective date: 20161031

Ref country code: LV

Free format text: LAPSE BECAUSE OF FAILURE TO SUBMIT A TRANSLATION OF THE DESCRIPTION OR TO PAY THE FEE WITHIN THE PRESCRIBED TIME-LIMIT

Effective date: 20160914

PG25 Lapsed in a contracting state [announced via postgrant information from national office to epo]

Ref country code: RO

Free format text: LAPSE BECAUSE OF FAILURE TO SUBMIT A TRANSLATION OF THE DESCRIPTION OR TO PAY THE FEE WITHIN THE PRESCRIBED TIME-LIMIT

Effective date: 20160914

Ref country code: EE

Free format text: LAPSE BECAUSE OF FAILURE TO SUBMIT A TRANSLATION OF THE DESCRIPTION OR TO PAY THE FEE WITHIN THE PRESCRIBED TIME-LIMIT

Effective date: 20160914

PG25 Lapsed in a contracting state [announced via postgrant information from national office to epo]

Ref country code: IS

Free format text: LAPSE BECAUSE OF FAILURE TO SUBMIT A TRANSLATION OF THE DESCRIPTION OR TO PAY THE FEE WITHIN THE PRESCRIBED TIME-LIMIT

Effective date: 20170114

Ref country code: PL

Free format text: LAPSE BECAUSE OF FAILURE TO SUBMIT A TRANSLATION OF THE DESCRIPTION OR TO PAY THE FEE WITHIN THE PRESCRIBED TIME-LIMIT

Effective date: 20160914

Ref country code: AT

Free format text: LAPSE BECAUSE OF FAILURE TO SUBMIT A TRANSLATION OF THE DESCRIPTION OR TO PAY THE FEE WITHIN THE PRESCRIBED TIME-LIMIT

Effective date: 20160914

Ref country code: ES

Free format text: LAPSE BECAUSE OF FAILURE TO SUBMIT A TRANSLATION OF THE DESCRIPTION OR TO PAY THE FEE WITHIN THE PRESCRIBED TIME-LIMIT

Effective date: 20160914

Ref country code: BG

Free format text: LAPSE BECAUSE OF FAILURE TO SUBMIT A TRANSLATION OF THE DESCRIPTION OR TO PAY THE FEE WITHIN THE PRESCRIBED TIME-LIMIT

Effective date: 20161214

Ref country code: SK

Free format text: LAPSE BECAUSE OF FAILURE TO SUBMIT A TRANSLATION OF THE DESCRIPTION OR TO PAY THE FEE WITHIN THE PRESCRIBED TIME-LIMIT

Effective date: 20160914

Ref country code: SM

Free format text: LAPSE BECAUSE OF FAILURE TO SUBMIT A TRANSLATION OF THE DESCRIPTION OR TO PAY THE FEE WITHIN THE PRESCRIBED TIME-LIMIT

Effective date: 20160914

Ref country code: BE

Free format text: LAPSE BECAUSE OF FAILURE TO SUBMIT A TRANSLATION OF THE DESCRIPTION OR TO PAY THE FEE WITHIN THE PRESCRIBED TIME-LIMIT

Effective date: 20160914

Ref country code: CZ

Free format text: LAPSE BECAUSE OF FAILURE TO SUBMIT A TRANSLATION OF THE DESCRIPTION OR TO PAY THE FEE WITHIN THE PRESCRIBED TIME-LIMIT

Effective date: 20160914

Ref country code: PT

Free format text: LAPSE BECAUSE OF FAILURE TO SUBMIT A TRANSLATION OF THE DESCRIPTION OR TO PAY THE FEE WITHIN THE PRESCRIBED TIME-LIMIT

Effective date: 20170116

REG Reference to a national code

Ref country code: DE

Ref legal event code: R097

Ref document number: 602014003640

Country of ref document: DE

PG25 Lapsed in a contracting state [announced via postgrant information from national office to epo]

Ref country code: IT

Free format text: LAPSE BECAUSE OF FAILURE TO SUBMIT A TRANSLATION OF THE DESCRIPTION OR TO PAY THE FEE WITHIN THE PRESCRIBED TIME-LIMIT

Effective date: 20160914

PLBE No opposition filed within time limit

Free format text: ORIGINAL CODE: 0009261

STAA Information on the status of an ep patent application or granted ep patent

Free format text: STATUS: NO OPPOSITION FILED WITHIN TIME LIMIT

REG Reference to a national code

Ref country code: IE

Ref legal event code: MM4A

REG Reference to a national code

Ref country code: FR

Ref legal event code: ST

Effective date: 20170630

PG25 Lapsed in a contracting state [announced via postgrant information from national office to epo]

Ref country code: DK

Free format text: LAPSE BECAUSE OF FAILURE TO SUBMIT A TRANSLATION OF THE DESCRIPTION OR TO PAY THE FEE WITHIN THE PRESCRIBED TIME-LIMIT

Effective date: 20160914

Ref country code: FR

Free format text: LAPSE BECAUSE OF NON-PAYMENT OF DUE FEES

Effective date: 20161114

26N No opposition filed

Effective date: 20170615

PG25 Lapsed in a contracting state [announced via postgrant information from national office to epo]

Ref country code: LU

Free format text: LAPSE BECAUSE OF NON-PAYMENT OF DUE FEES

Effective date: 20161023

PG25 Lapsed in a contracting state [announced via postgrant information from national office to epo]

Ref country code: SI

Free format text: LAPSE BECAUSE OF FAILURE TO SUBMIT A TRANSLATION OF THE DESCRIPTION OR TO PAY THE FEE WITHIN THE PRESCRIBED TIME-LIMIT

Effective date: 20160914

Ref country code: IE

Free format text: LAPSE BECAUSE OF NON-PAYMENT OF DUE FEES

Effective date: 20161023

PG25 Lapsed in a contracting state [announced via postgrant information from national office to epo]

Ref country code: HU

Free format text: LAPSE BECAUSE OF FAILURE TO SUBMIT A TRANSLATION OF THE DESCRIPTION OR TO PAY THE FEE WITHIN THE PRESCRIBED TIME-LIMIT; INVALID AB INITIO

Effective date: 20141023

REG Reference to a national code

Ref country code: CH

Ref legal event code: PL

PG25 Lapsed in a contracting state [announced via postgrant information from national office to epo]

Ref country code: MC

Free format text: LAPSE BECAUSE OF FAILURE TO SUBMIT A TRANSLATION OF THE DESCRIPTION OR TO PAY THE FEE WITHIN THE PRESCRIBED TIME-LIMIT

Effective date: 20160914

Ref country code: MK

Free format text: LAPSE BECAUSE OF FAILURE TO SUBMIT A TRANSLATION OF THE DESCRIPTION OR TO PAY THE FEE WITHIN THE PRESCRIBED TIME-LIMIT

Effective date: 20160914

Ref country code: CY

Free format text: LAPSE BECAUSE OF FAILURE TO SUBMIT A TRANSLATION OF THE DESCRIPTION OR TO PAY THE FEE WITHIN THE PRESCRIBED TIME-LIMIT

Effective date: 20160914

Ref country code: MT

Free format text: LAPSE BECAUSE OF NON-PAYMENT OF DUE FEES

Effective date: 20161031

PG25 Lapsed in a contracting state [announced via postgrant information from national office to epo]

Ref country code: LI

Free format text: LAPSE BECAUSE OF NON-PAYMENT OF DUE FEES

Effective date: 20171031

Ref country code: CH

Free format text: LAPSE BECAUSE OF NON-PAYMENT OF DUE FEES

Effective date: 20171031

PG25 Lapsed in a contracting state [announced via postgrant information from national office to epo]

Ref country code: TR

Free format text: LAPSE BECAUSE OF FAILURE TO SUBMIT A TRANSLATION OF THE DESCRIPTION OR TO PAY THE FEE WITHIN THE PRESCRIBED TIME-LIMIT

Effective date: 20160914

Ref country code: AL

Free format text: LAPSE BECAUSE OF FAILURE TO SUBMIT A TRANSLATION OF THE DESCRIPTION OR TO PAY THE FEE WITHIN THE PRESCRIBED TIME-LIMIT

Effective date: 20160914

GBPC Gb: european patent ceased through non-payment of renewal fee

Effective date: 20181023

PG25 Lapsed in a contracting state [announced via postgrant information from national office to epo]

Ref country code: GB

Free format text: LAPSE BECAUSE OF NON-PAYMENT OF DUE FEES

Effective date: 20181023

PGFP Annual fee paid to national office [announced via postgrant information from national office to epo]

Ref country code: NL

Payment date: 20220921

Year of fee payment: 9

PGFP Annual fee paid to national office [announced via postgrant information from national office to epo]

Ref country code: DE

Payment date: 20220621

Year of fee payment: 9

REG Reference to a national code

Ref country code: DE

Ref legal event code: R119

Ref document number: 602014003640

Country of ref document: DE

REG Reference to a national code

Ref country code: NL

Ref legal event code: MM

Effective date: 20231101

PG25 Lapsed in a contracting state [announced via postgrant information from national office to epo]

Ref country code: NL

Free format text: LAPSE BECAUSE OF NON-PAYMENT OF DUE FEES

Effective date: 20231101

PG25 Lapsed in a contracting state [announced via postgrant information from national office to epo]

Ref country code: NL

Free format text: LAPSE BECAUSE OF NON-PAYMENT OF DUE FEES

Effective date: 20231101

Ref country code: DE

Free format text: LAPSE BECAUSE OF NON-PAYMENT OF DUE FEES

Effective date: 20240501