EP2860350A1 - Turbinenschaufel sowie Gasturbine - Google Patents
Turbinenschaufel sowie Gasturbine Download PDFInfo
- Publication number
- EP2860350A1 EP2860350A1 EP20130187992 EP13187992A EP2860350A1 EP 2860350 A1 EP2860350 A1 EP 2860350A1 EP 20130187992 EP20130187992 EP 20130187992 EP 13187992 A EP13187992 A EP 13187992A EP 2860350 A1 EP2860350 A1 EP 2860350A1
- Authority
- EP
- European Patent Office
- Prior art keywords
- turbine blade
- turbine
- platform
- material recess
- securing element
- Prior art date
- Legal status (The legal status is an assumption and is not a legal conclusion. Google has not performed a legal analysis and makes no representation as to the accuracy of the status listed.)
- Withdrawn
Links
- 239000000463 material Substances 0.000 claims abstract description 70
- 238000007789 sealing Methods 0.000 claims description 18
- 238000009825 accumulation Methods 0.000 claims description 15
- 238000003780 insertion Methods 0.000 claims description 11
- 230000037431 insertion Effects 0.000 claims description 11
- 239000002184 metal Substances 0.000 description 4
- 238000005516 engineering process Methods 0.000 description 2
- 238000004519 manufacturing process Methods 0.000 description 2
- 238000000034 method Methods 0.000 description 2
- 230000002411 adverse Effects 0.000 description 1
- 238000001816 cooling Methods 0.000 description 1
- 238000006073 displacement reaction Methods 0.000 description 1
- 230000007704 transition Effects 0.000 description 1
- 230000003313 weakening effect Effects 0.000 description 1
Images
Classifications
-
- F—MECHANICAL ENGINEERING; LIGHTING; HEATING; WEAPONS; BLASTING
- F01—MACHINES OR ENGINES IN GENERAL; ENGINE PLANTS IN GENERAL; STEAM ENGINES
- F01D—NON-POSITIVE DISPLACEMENT MACHINES OR ENGINES, e.g. STEAM TURBINES
- F01D5/00—Blades; Blade-carrying members; Heating, heat-insulating, cooling or antivibration means on the blades or the members
- F01D5/30—Fixing blades to rotors; Blade roots ; Blade spacers
- F01D5/3007—Fixing blades to rotors; Blade roots ; Blade spacers of axial insertion type
- F01D5/3015—Fixing blades to rotors; Blade roots ; Blade spacers of axial insertion type with side plates
-
- F—MECHANICAL ENGINEERING; LIGHTING; HEATING; WEAPONS; BLASTING
- F01—MACHINES OR ENGINES IN GENERAL; ENGINE PLANTS IN GENERAL; STEAM ENGINES
- F01D—NON-POSITIVE DISPLACEMENT MACHINES OR ENGINES, e.g. STEAM TURBINES
- F01D11/00—Preventing or minimising internal leakage of working-fluid, e.g. between stages
- F01D11/005—Sealing means between non relatively rotating elements
- F01D11/006—Sealing the gap between rotor blades or blades and rotor
- F01D11/008—Sealing the gap between rotor blades or blades and rotor by spacer elements between the blades, e.g. independent interblade platforms
-
- F—MECHANICAL ENGINEERING; LIGHTING; HEATING; WEAPONS; BLASTING
- F01—MACHINES OR ENGINES IN GENERAL; ENGINE PLANTS IN GENERAL; STEAM ENGINES
- F01D—NON-POSITIVE DISPLACEMENT MACHINES OR ENGINES, e.g. STEAM TURBINES
- F01D5/00—Blades; Blade-carrying members; Heating, heat-insulating, cooling or antivibration means on the blades or the members
- F01D5/12—Blades
- F01D5/14—Form or construction
- F01D5/147—Construction, i.e. structural features, e.g. of weight-saving hollow blades
-
- F—MECHANICAL ENGINEERING; LIGHTING; HEATING; WEAPONS; BLASTING
- F01—MACHINES OR ENGINES IN GENERAL; ENGINE PLANTS IN GENERAL; STEAM ENGINES
- F01D—NON-POSITIVE DISPLACEMENT MACHINES OR ENGINES, e.g. STEAM TURBINES
- F01D5/00—Blades; Blade-carrying members; Heating, heat-insulating, cooling or antivibration means on the blades or the members
- F01D5/12—Blades
- F01D5/22—Blade-to-blade connections, e.g. for damping vibrations
- F01D5/225—Blade-to-blade connections, e.g. for damping vibrations by shrouding
-
- F—MECHANICAL ENGINEERING; LIGHTING; HEATING; WEAPONS; BLASTING
- F05—INDEXING SCHEMES RELATING TO ENGINES OR PUMPS IN VARIOUS SUBCLASSES OF CLASSES F01-F04
- F05D—INDEXING SCHEME FOR ASPECTS RELATING TO NON-POSITIVE-DISPLACEMENT MACHINES OR ENGINES, GAS-TURBINES OR JET-PROPULSION PLANTS
- F05D2220/00—Application
- F05D2220/30—Application in turbines
- F05D2220/32—Application in turbines in gas turbines
-
- F—MECHANICAL ENGINEERING; LIGHTING; HEATING; WEAPONS; BLASTING
- F05—INDEXING SCHEMES RELATING TO ENGINES OR PUMPS IN VARIOUS SUBCLASSES OF CLASSES F01-F04
- F05D—INDEXING SCHEME FOR ASPECTS RELATING TO NON-POSITIVE-DISPLACEMENT MACHINES OR ENGINES, GAS-TURBINES OR JET-PROPULSION PLANTS
- F05D2230/00—Manufacture
- F05D2230/10—Manufacture by removing material
-
- F—MECHANICAL ENGINEERING; LIGHTING; HEATING; WEAPONS; BLASTING
- F05—INDEXING SCHEMES RELATING TO ENGINES OR PUMPS IN VARIOUS SUBCLASSES OF CLASSES F01-F04
- F05D—INDEXING SCHEME FOR ASPECTS RELATING TO NON-POSITIVE-DISPLACEMENT MACHINES OR ENGINES, GAS-TURBINES OR JET-PROPULSION PLANTS
- F05D2240/00—Components
- F05D2240/20—Rotors
- F05D2240/24—Rotors for turbines
-
- F—MECHANICAL ENGINEERING; LIGHTING; HEATING; WEAPONS; BLASTING
- F05—INDEXING SCHEMES RELATING TO ENGINES OR PUMPS IN VARIOUS SUBCLASSES OF CLASSES F01-F04
- F05D—INDEXING SCHEME FOR ASPECTS RELATING TO NON-POSITIVE-DISPLACEMENT MACHINES OR ENGINES, GAS-TURBINES OR JET-PROPULSION PLANTS
- F05D2260/00—Function
- F05D2260/30—Retaining components in desired mutual position
Definitions
- the invention relates to a turbine blade with a turbine blade, with a turbine blade root and arranged between the turbine blade and the turbine blade root turbine blade platform having on its underside a Einstecknut for inserting a sealing plate, wherein the sealing plate can be secured by means of a supported on the turbine blade platform securing element ,
- the invention further relates to a gas turbine having a multiplicity of turbine blades and to a turbine rotor, to which the turbine blades are respectively fastened by means of a turbine blade root.
- the respective turbine blade has a turbine blade and a turbine blade root. With the latter, it can be fixed in a correspondingly formed on a turbine rotor Turbinenrotornut.
- the respective turbine blade with the turbine blade root in the axial direction of insertion which is aligned with the axis of rotation of the turbine rotor, inserted and held in the corresponding turbine rotor groove.
- the turbine bucket In a transition area between the turbine blade root and a turbine bucket blade, the turbine bucket has a turbine bucket platform for supporting the turbine bucket on the turbine rotor.
- the turbine blade roots and the turbine rotor grooves are lined with sealing sheets to separate a turbine blade air side cooling air area from an outer hot air area, in particular, a gas turbine.
- These sealing plates are in this case, on the one hand, at an insertion groove provided in the respective turbine blade platform and, on the other hand, at one in the turbine rotor incorporated retaining groove.
- the sealing plates are additionally secured by means of a securing means on the turbine blade platform.
- This securing means comprises at least one flexible locking plate element, which can engage with one of its ends in a jointly configured by two directly adjacent turbine blades gap when it is bent accordingly. This securing means then prevents inadvertent rotation of the sealing plates in the circumferential direction of the turbine rotor.
- the object of the invention is achieved by a turbine blade with a turbine blade, with a turbine blade root and a arranged between the turbine blade and the turbine blade root turbine blade platform having on its underside a Einstecknut for inserting a sealing plate, wherein the sealing sheet by means of a on the turbine blade platform supporting safety element can be secured, and wherein the turbine blade platform has a material recess with two mutually opposing abutment edges, that the securing element can be fixed transversely to the axial extent of the turbine blade root on both sides of the turbine blade.
- the turbine blade on the turbine blade platform has a material recess for fixing on both sides and thus for securing the securing element in the circumferential direction of a turbine rotor or a platform ring element on the underside of the turbine blade platform, in particular at least partially on a web of the turbine blade platform facing the turbine rotor , is designed that the fuse element is fixed in both directions to contact edges of the material recess.
- Such a platform ring element is composed by a plurality of turbine blades, which are arranged side by side about a rotation axis of a turbine rotor.
- the securing element could only be secured on one side on a lateral edge contour of the turbine blade platform, so that always two mutually corresponding turbine blades were required to secure the fuse element in the sense of the invention in the circumferential direction on both sides of the turbine blade platform. Due to tolerances caused thereby, the securing element can often be secured only imprecisely on the turbine blade platforms of the turbine blades.
- the securing element preferably comprises a bendable sheet metal strip element, which is bent on the one hand in a known manner by introduced into the sealing plate elongated slots.
- this bendable sheet metal strip member is bent into the material recess so that the bendable sheet metal strip member having that end is fixed to both sides of the turbine blade platform with respect to the circumferential direction.
- a cold gap to be maintained between the securing element and the turbine blade platform can be set particularly precisely, since this cold gap is adjusted in each case only with respect to a single turbine blade and no longer with respect to two such turbine blades.
- a correctly set cold-gap is important so that the fuse element does not support the gasket during operation of a gas turbine or the like.
- the material recess according to the invention is integrally formed on the turbine blade platform, the securing element can be secured more precisely, as a result of which a gas turbine or the like can also be operated in a more reliable manner.
- the object of the invention is also achieved by a gas turbine with a plurality of turbine blades and with a turbine rotor, to which the turbine blades are respectively fastened by means of a turbine blade root, wherein the gas turbine turbine blades according to one of the features described herein.
- a preferred embodiment thus also provides that the material recess is incorporated within the turbine blade platform.
- the accumulation of material can alternatively be generated on the turbine blade platform by providing an additional accumulation of material on the underside of the turbine blade platform within which the material recess is inserted. If such a material accumulation is additionally provided on the underside of the turbine blade platform, the structure of the turbine blade platform is advantageously not adversely affected by material weakening caused by the material recess.
- the accumulation of material can be structurally easily attached to the turbine blade platform by being cast on.
- the material cutout can be configured using the material accumulation when the material accumulation is arranged radially below and axially adjacent to the insertion.
- the material recess is at least partially - seen in the radial direction - below this insertion and - seen in the axial direction - next to this insertion.
- the radial direction extends in the sense of the invention in the direction of the longitudinal extent of the turbine blade, whereas the axial direction extends in the direction of the longitudinal extent of the turbine blade root or in alignment with a rotational axis of a turbine rotor.
- the material recess is arranged transversely to the axial extent of the turbine blade root centrally of the turbine blade platform, the material recess can be arranged directly below the turbine blade, this area of the turbine blade platforms being particularly stable.
- the material recess can be made structurally simpler on the turbine blade platform if the material recess has a width by means of which a reliable overlap with the securing element can be ensured.
- the securing element can be particularly easily inflected into the material recess when the material recess is arranged above the end of the turbine blade root end furthest from the turbine blade platform.
- the farthest end is typically the lower end of the turbine blade.
- the material recess can be configured almost arbitrarily. It is advantageous, however, if the material recess is designed triangular. As a result, the material recess can be produced easily in terms of manufacturing technology.
- a simplified assembly of the securing element can be achieved if the two abutment edges configure a downwardly opened exception.
- the two abutment edges include an opening angle of less than 170 ° or less than 100 °, whereby forces acting on the turbine blade platforms from the securing element can be transferred sufficiently well.
- the abutment edges include an opening angle of more than 30 °.
- the material recess can be produced in terms of process technology simply on the underside of the turbine blade platform if the abutment edges are arranged in a direction towards the turbine blade blade tapered receiving space.
- the securing element can be set very precisely on the turbine blade platform if the abutment edges are machined.
- the reliable fixing of the securing element on the turbine blade platform can be further improved if the abutment edges are made so wide that a reliable overlap with the securing element can be ensured.
- the width of the abutment edges extends in the axial direction of the turbine blade root.
- the abutment edges are at least as wide as the locking plate element of the securing element is thick.
- the securing element can be easily taken up by its end from the material recess, without it protruding axially beyond the material recess.
- an arrangement turbine blade, sealing plate and securing element can be particularly well secured against a circumferential displacement, in particular of the seal plate.
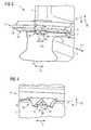
- FIG. 1 shows a partially illustrated turbine blade 1 with a turbine blade 2, with a turbine blade root 3 and with a turbine blade platform 4 arranged between the turbine blade 2 and the turbine blade root 3.
- the turbine blade platform 4 has on its underside 5 an insertion groove 6 for insertion of a sealing plate 7 (see FIG. 6 ), wherein the turbine blade platform 4 according to the invention a material recess 8 with two opposing abutment edges 9 and 10, that a securing element 11 for securing the seal plate 7 transverse to the axial extension 12 of the turbine blade root 3 on both sides of the turbine blade 1 can be fixed.
- the sealing plate 7 can be secured in the circumferential direction 13 on both sides of only a single turbine blade 1.
- present material recess 8 can be configured in many ways.
- the material recess 8 is introduced directly inside the turbine blade platform 3. This means that the material recess 8 lies completely behind the lower outer edge 16 of the turbine blade platform 4 or behind the lower outer edge 16 of a web 17 of the turbine blade platform 4 extending from the edge region 14 to the edge region 15 and terminates in particular with this outer edge 16.
- the material recess 8 is at least partially at height and thus immediately - as seen in axial extension 12 - axially adjacent the Einstecknut 6, in which the sealing plate 7 is inserted with proper assembly.
- the material recess 8 is introduced into a material accumulation 20 additionally mounted below the turbine blade platform 4.
- the material accumulation 20 is in this embodiment radially below and axially adjacent to the insertion groove 6, so that the turbine blade platform 4 is structurally not weakened by the material recess 8A.
- the accumulation of material 20 is a survey that partially extends below the turbine blade platform 4, which is spaced apart from the edge regions 14 and 15 by a distance 21 and thus not continuous with the underside 5 of the turbine blade platform 4 from the edge region 14 to Edge region 15, or vice versa, extending web 17 is to be confused.
- the respective distance 21 (shown here by way of example only and numbered) between the accumulation of material 20, but also between the material recesses 8 and 8A, and one of the edge regions 14 and 15 is substantially larger, preferably twice as large as the length 22 of material accumulation 20 or the opening length 22A of the material recesses 8 or 8A transversely to the axial extent 12 of the turbine blade root 3.
- the material recess 8A may in this case be worked into the web 17, but it does not have to, whereby in the latter variant the web 17 is not weakened by the tip of the material recess 8A.
- Both material recesses 8 and 8A are designed triangular in the exemplary embodiments shown here by way of example.
- the material recesses 8 and 8A are each arranged transversely to the axial extension 12 of the turbine blade root 3 centrally on the turbine blade platform 4, so that the turbine blade root 3 transverse to its axial extent 12 may continue to be designed symmetrically.
- the material recesses 8 and 8A each have a width 23, by means of which a reliable overlap with the securing element 11 can be ensured (see, by way of example FIG. 5 ).
- the material recesses 8 and 8A also each have the two abutment edges 9 and 10, on which the securing element 11 can be supported on both sides, which are correspondingly made so wide that a reliable overlap with the securing element 11 can be ensured.
- the two abutment edges 9 and 10 include an opening angle 26 and formulate a downward, ie in the radial direction 27 turbine blade root 3, open and upwards, ie in the radial opposite direction 28 turbine blade platform 4, tapered receiving space 29, in which the top 30 (see FIGS. 6 or 7 ) of the fuse element 11 can be inflected.
- the material recesses 8 and 8A are each arranged above the end 31 of the turbine blade root end 3 which is furthest away from the turbine blade platform 4, so that the sealing sheet 7 can be structurally secured with the aid of the securing element 11 to the respective material recess 8 or 8A of the turbine blade platform 4.
- Such a sealing plate 7 is exemplary in the FIG. 6 shown. It has in its upper region 32, two spaced-apart slots 33 and 34, through which in a conventional manner, designed as a sheet metal element 35 fuse element 11 is inserted.
- the slots 33 and 34 are arranged one above the other and extend with their respective long side (not explicitly numbered here) transversely to the axial extension 12 of the turbine blade root 3, so that the securing element 11 extends radially in alignment with the turbine blade 2.
- the tip 30 of the securing element 11 can be easily bent into the downwardly open receiving space 29 and fixed or secured to the turbine blade platform 4.
- a related mounting state 36 is shown according to the FIG. 7 in which the tip 30 of the securing element 11 is arranged in the material recess 8 or 8A in the final assembly.
Landscapes
- Engineering & Computer Science (AREA)
- Mechanical Engineering (AREA)
- General Engineering & Computer Science (AREA)
- Architecture (AREA)
- Turbine Rotor Nozzle Sealing (AREA)
Abstract
Die Erfindung betrifft eine Turbinenschaufel (1) mit einem Turbinenschaufelblatt (2), mit einem Turbinenschaufelfuß (3) und mit einer zwischen dem Turbinenschaufelblatt (2) und dem Turbinenschaufelfuß (3) angeordneten Turbinenschaufelplattform (4), welche an ihrer Unterseite (5) eine Einstecknut (6) zum Einstecken eines Dichtungsblechs (7) aufweist, das Dichtungsblech (7) mittels eines sich an der Turbinenschaufelplattform (4) abstützenden Sicherungselements (11) gesichert werden kann, und wobei die Turbinenschaufelplattform (4) eine Materialaussparung (8; 8A) mit zwei sich derart gegenüberliegenden Anlagekanten (9, 10) aufweist, dass das Sicherungselement (11) quer zur Axialerstreckung (12) des Turbinenschaufelfußes (3) beidseits an der Turbinenschaufel (1) festlegbar ist.
Description
- Die Erfindung betrifft eine Turbinenschaufel mit einem Turbinenschaufelblatt, mit einem Turbinenschaufelfuß und mit einer zwischen dem Turbinenschaufelblatt und dem Turbinenschaufelfuß angeordneten Turbinenschaufelplattform, welche an ihrer Unterseite eine Einstecknut zum Einstecken eines Dichtungsblechs aufweist, wobei das Dichtungsblech mittels eines sich an der Turbinenschaufelplattform abstützenden Sicherungselements gesichert werden kann.
- Die Erfindung betrifft ferner eine Gasturbine mit einer Vielzahl an Turbinenschaufeln und mit einem Turbinenrotor, an welcher die Turbinenschaufeln jeweils mittels eines Turbinenschaufelfußes befestigt sind.
- Gattungsgemäße Turbinenschaufeln sind aus dem Stand der Technik gut bekannt. Die jeweilige Turbinenschaufel besitzt ein Turbinenschaufelblatt und einen Turbinenschaufelfuß. Mit letzterem ist sie in einer entsprechend an einem Turbinenrotor ausgeformten Turbinenrotornut festlegbar. Hierzu wird die jeweilige Turbinenschaufel mit dem Turbinenschaufelfuß in axialer Einschubrichtung, welche mit der Rotationsachse der Turbinenrotor fluchtet, in die entsprechende Turbinenrotornut eingeschoben und gehaltert. In einem Übergangsbereich zwischen dem Turbinenschaufelfuß und einem Turbinenschaufelblatt weist die Turbinenschaufel eine Turbinenschaufelplattform zum Abstützen der Turbinenschaufel an dem Turbinenrotor auf. An der Einschubseite des Turbinenrotors sind die Turbinenschaufelfüße und die Turbinenrotornuten mit Dichtblechen verkleidet, um einen turbinenschaufelfußseitigen Kühlluftbereich von einem äußeren Heißluftbereich insbesondere einer Gasturbine zu trennen. Diese Dichtbleche sind hierbei einerseits an einer in der jeweiligen Turbinenschaufelplattform vorgesehenen Einstecknut und andererseits an einer in dem Turbinenrotor eingearbeiteten Haltenut festgelegt. Um insbesondere die Umfangslage dieser Dichtbleche zu sichern, sind die Dichtbleche zusätzlich noch mittels eines Sicherungsmittels an der Turbinenschaufelplattform gesichert. Dieses Sicherungsmittel umfasst zumindest ein biegbares Sicherungsblechelement, welches mit einem seiner Enden in eine durch zwei unmittelbar benachbarte Turbinenschaufeln gemeinsam ausgestaltete Lücke eingreifen kann, wenn es entsprechend umgebogen ist. Dieses Sicherungsmittel unterbindet dann ein unbeabsichtigtes Drehen der Dichtbleche in Umfangsrichtung des Turbinenrotors.
- Es ist Aufgabe der Erfindung, gattungsgemäße Turbinenschaufeln weiterzuentwickeln.
- Die Aufgabe der Erfindung wird von einer Turbinenschaufel mit einem Turbinenschaufelblatt, mit einem Turbinenschaufelfuß und mit einer zwischen dem Turbinenschaufelblatt und dem Turbinenschaufelfuß angeordneten Turbinenschaufelplattform, welche an ihrer Unterseite eine Einstecknut zum Einstecken eines Dichtungsblechs aufweist, gelöst, wobei das Dichtungsblech mittels eines sich an der Turbinenschaufelplattform abstützenden Sicherungselements gesichert werden kann, und wobei die Turbinenschaufelplattform eine Materialaussparung mit zwei sich derart gegenüberliegenden Anlagekanten aufweist, dass das Sicherungselement quer zur Axialerstreckung des Turbinenschaufelfußes beidseits an der Turbinenschaufel festlegbar ist.
- Erfindungsgemäß weist die Turbinenschaufel an der Turbinenschaufelplattform eine Materialaussparung zum beidseitigen Festlegen und damit auch zum beidseitigen Sichern des Sicherungselements in Umfangsrichtung eines Turbinenrotors bzw. eines Plattformringelements auf, welche derart an der Unterseite der Turbinenschaufelplattform, insbesondere zumindest teilweise an einem auf den Turbinenrotor zeigenden Steg der Turbinenschaufelplattform, ausgestaltet ist, dass das Sicherungselement in beiden Richtungen an Anlagekanten der Materialaussparung festgelegt ist.
- Ein derartiges Plattformringelement setzt sich durch eine Vielzahl an Turbinenschaufeln zusammen, welche um eine Rotationachse eines Turbinenrotors herum nebeneinander angeordnet sind.
- Bisher konnte das Sicherungselement nur einseitig an einer seitlichen Randkontur der Turbinenschaufelplattform gesichert werden, so dass immer zwei miteinander korrespondierende Turbinenschaufeln erforderlich waren, um das Sicherungselement im Sinne der Erfindung in Umfangsrichtung beidseits an der Turbinenschaufelplattform sichern zu können. Aufgrund hierdurch bedingter Toleranzen kann das Sicherungselement oftmals nur unpräzise an den Turbinenschaufelplattformen der Turbinenschaufeln gesichert werden.
- Das Sicherungselement umfasst vorzugsweise ein biegbares Blechstreifenelement, welches einerseits in bekannter Weise durch in dem Dichtungsblech eingebrachte längliche Schlitze hindurch gebogen ist. Ist das Dichtungsblech ordnungsgemäß montiert, wird ein Ende dieses biegbaren Blechstreifenelements in die Materialaussparung hinein gebogen, so dass das biegbare Blechstreifenelement mit diesem Ende an der Turbinenschaufelplattform bezogen auf die Umfangsrichtung beidseits festgelegt ist.
- Es hat sich gezeigt, dass eine Montage des Sicherungselements am vorteilhaftesten vorgenommen werden kann, wenn es direkt an der Turbinenschaufel und zwar im Bereich der Unterseite der Turbinenschaufelplattform festgelegt und damit gesichert werden kann.
- Besonders präzise kann vorliegend ein einzuhaltender Kaltspalt zwischen dem Sicherungselement und der Turbinenschaufelplattform eingestellt werden, da dieser Kaltspalt jeweils nur noch bezüglich einer einzigen Turbinenschaufel eingestellt werden muss und nicht mehr bezüglich zwei solcher Turbinenschaufeln. Ein korrekt eingestellter Kaltspalt ist insofern wichtig, damit das Sicherungselement im Betrieb einer Gasturbine oder dergleichen das Dichtungsblech nicht trägt.
- Ist insofern an der Turbinenschaufelplattform die erfindungsgemäße Materialaussparung angeformt, kann das Sicherungselement präziser gesichert werden, wodurch auch eine Gasturbine oder dergleichen betriebssicherer betrieben werden kann.
- Somit wird die Aufgabe der Erfindung auch von einer Gasturbine mit einer Vielzahl an Turbinenschaufeln und mit einem Turbinenrotor gelöst, an welcher die Turbinenschaufeln jeweils mittels eines Turbinenschaufelfußes befestigt sind, wobei die Gasturbine Turbinenschaufeln nach einem der hier beschriebenen Merkmale umfasst.
- Eine bevorzugte Ausführungsvariante sieht somit auch vor, dass die Materialaussparung innerhalb der Turbinenschaufelplattform eingebracht ist.
- Die Materialanhäufung kann alternativ an der Turbinenschaufelplattform auch dadurch erzeugt werden, wenn an der Unterseite der Turbinenschaufelplattform eine zusätzliche Materialanhäufung angeordnet ist, innerhalb welcher die Materialaussparung eingebracht ist. Ist an der Unterseits der Turbinenschaufelplattform zusätzlich eine derartige Materialanhäufung angebracht, wird die Struktur der Turbinenschaufelplattform vorteilhafterweise nicht durch eine durch die Materialaussparung hervorgerufene Materialschwächung negativ beeinflusst.
- Die Materialanhäufung kann konstruktiv einfach an der Turbinenschaufelplattform angebracht werden, indem sie angegossen wird.
- Konstruktiv einfach kann die Materialaussparung mithilfe der Materialanhäufung ausgestaltet werden, wenn die Materialanhäufung radial unterhalb und axial neben der Einstecknut angeordnet ist. Hierbei befindet sich die Materialaussparung zumindest teilweise - in radialer Richtung gesehen - unterhalb dieser Einstecknut und - in axialer Richtung gesehen - neben dieser Einstecknut.
- Die radiale Richtung erstreckt sich im Sinne der Erfindung in Richtung der Längserstreckung des Turbinenschaufelblatts, wohingegen die axiale Richtung sich in Richtung der Längserstreckung des Turbinenschaufelfußes bzw. fluchtend zu einer Drehachse eines Turbinenrotors erstreckt.
- Ist die Materialaussparung quer zur Axialerstreckung des Turbinenschaufelfußes mittig an der Turbinenschaufelplattform angeordnet, kann die Materialaussparung direkt unterhalb des Turbinenschaufelblatts angeordnet werden, wobei dieser Bereich der Turbinenschaufelplattformen besonders stabil ist.
- Die Materialaussparung kann baulich einfacher an der Turbinenschaufelplattform hergestellt werden, wenn die Materialaussparung eine Breite aufweist, mittels welcher eine betriebssichere Überdeckung mit dem Sicherungselement gewährleistbar ist.
- Das Sicherungselement kann besonders einfach in die Materialaussparung eingebogen werden, wenn die Materialaussparung oberhalb des von der Turbinenschaufelplattform am weitesten beabstandeten Endes des Turbinenschaufelfußendes angeordnet ist.
- Das am weitesten beabstandete Ende ist hierbei in der Regel das untere Ende der Turbinenschaufel.
- Es versteht sich, dass die Materialaussparung nahezu beliebig ausgestaltet sein kann. Vorteilhaft ist es jedoch, wenn die Materialaussparung dreieckförmig ausgestaltet ist. Hierdurch kann die Materialaussparung fertigungstechnisch einfach erzeugt werden.
- Eine vereinfachte Montage des Sicherungselements kann erreicht werden, wenn die zwei Anlagekanten einen nach unten geöffneten Ausnahmeraum ausgestalten.
- Vorzugsweise schließen die zwei Anlagekanten einen Öffnungswinkel von weniger als 170° oder von weniger als 100° ein, wodurch von dem Sicherungselement auf die Turbinenschaufelplattformen wirkende Kräfte ausreichend gut übertragen werden können.
- Aus diesem Grund ist es auch vorteilhaft, wenn die Anlagekanten einen Öffnungswinkel von mehr als 30° einschließen.
- Die Materialaussparung kann verfahrenstechnisch einfach an der Unterseite der Turbinenschaufelplattform erzeugt werden, wenn die Anlagekanten zu einem in Richtung des Turbinenschaufelblatts spitz zulaufenden Aufnahmeraum angeordnet sind.
- Das Sicherungselement kann sehr präzise an der Turbinenschaufelplattform festgelegt werden, wenn die Anlagekanten mechanisch bearbeitet sind.
- Die betriebssichere Festlegung des Sicherungselements an der Turbinenschaufelplattform kann weiter verbessert werden, wenn die Anlagekanten derart breit ausgeführt sind, dass eine betriebssichere Überdeckung mit dem Sicherungselement gewährleistbar ist.
- Hierbei erstreckt sich die Breite der Anlagekanten in axialer Richtung des Turbinenschaufelfußes.
- Vorzugsweise sind die Anlagekanten hierbei mindestens so breit, wie das Sicherungsblechelement des Sicherungselements dick ist. Hierdurch kann das Sicherungselement mit seinem Ende gut von der Materialaussparung aufgenommen werden, ohne dass es axial über die Materialaussparung hervorsteht.
- Mit der vorliegenden Erfindung kann eine Anordnung Turbinenschaufel, dichtblech und Sicherungselement besonders gut gegen eine Umfangsverschiebung insbesondere des Dichtungsblechs gesichert werden.
- Hierbei kann die bereits bekannte und bewährte Sicherungsmethode mit dem Sicherungselement übernommen werden.
- Im Folgenden werden bevorzugte Ausführungsformen von erfindungsgemäßen Turbinenschaufeln anhand der beigefügten schematischen Zeichnungen erläutert. Es zeigt:
- FIG 1
- schematisch eine perspektivische Ansicht einer ersten erfindungsgemäßen Turbinenschaufel mit einer im Bereich ihrer Turbinenschaufelplattform angeordneten Materialaussparung mit zwei sich gegenüberliegenden Anlagekanten zum beidseitigen Sichern eines Sicherungsblechs,
- FIG 2
- schematisch eine Detailansicht der in der
FIG 1 gezeigten Materialaussparung, - FIG 3
- schematisch eine perspektivische Ansicht einer weiteren erfindungsgemäßen Turbinenschaufel mit einer im Bereich ihrer Turbinenschaufelplattform vorgesehenen Materialanhäufung, an welcher eine Materialaussparung mit zwei sich gegenüberliegenden Anlagekanten zum beidseitigen Sichern eines Sicherungsblechs eingebracht ist,
- FIG 4
- schematisch eine Detailansicht der in der
FIG 3 gezeigten in der Materialanhäufung eingebrachten Materialaussparung, - FIG 5
- schematisch eine Seitenansicht der in den
FIG 3 und 4 gezeigten Turbinenschaufel, und - FIG 6
- schematisch eine Ansicht eines Dichtungsblechs mit einem daran angebrachten Sicherungselement,
- FIG 7
- schematisch eine prinzipielle Montageansicht eines, dessen Ende in eine an der Unterseite einer Turbinenschaufelplattform eingebrachten Materialaussparung gesichert ist.
- Das in den
Figuren 1 und 2 dargestellte erste Ausführungsbeispiel zeigt eine teilweise illustrierte Turbinenschaufel 1 mit einem Turbinenschaufelblatt 2, mit einem Turbinenschaufelfuß 3 und mit einer zwischen dem Turbinenschaufelblatt 2 und dem Turbinenschaufelfuß 3 angeordneten Turbinenschaufelplattform 4. - Die Turbinenschaufelplattform 4 weist an ihrer Unterseite 5 eine Einstecknut 6 zum Einstecken eines Dichtungsblechs 7 (siehe
Figur 6 ) auf, wobei die Turbinenschaufelplattform 4 erfindungsgemäß eine Materialaussparung 8 mit zwei sich derart gegenüberliegenden Anlagekanten 9 und 10 aufweist, dass ein Sicherungselement 11 zum Sichern des Dichtungsblechs 7 quer zur Axialerstreckung 12 des Turbinenschaufelfußes 3 beidseits an der Turbinenschaufel 1 festlegbar ist. Hierdurch kann das Dichtungsblech 7 in Umfangsrichtung 13 beidseitig an nur einer einzigen Turbinenschaufel 1 gesichert werden. - Darüber hinaus ist eine derartige Materialaussparung 8 wesentlich einfacher herzustellen als zwei Randbereiche 14 und 15 an der Turbinenschaufelplattform 4 zu bearbeiten, an welchen sich jeweils das Sicherungselement 11 jedoch nur einseitig abstützen kann. Es bedarf bisher immer zwei unmittelbar nebeneinander angeordnete Turbinenschaufeln 1, die an ihren jeweiligen Turbinenschaufelplattformen 4 entsprechend genau bearbeitet sein müssen, um das Sicherungselement 11 präzise und betriebssicher sichern zu können.
- Es versteht sich, dass die vorliegende Materialaussparung 8 vielfältig ausgestaltet sein kann.
- Nach den Darstellungen gemäß der
Figuren 1 und 2 ist die Materialaussparung 8 direkt innerhalb der Turbinenschaufelplattform 3 eingebracht. Das heißt, dass die Materialaussparung 8 vollständig hinter der unteren Außenkante 16 der Turbinenschaufelplattform 4 bzw. hinter der unteren Außenkante 16 eines von dem Randbereich 14 zu dem Randbereich 15 verlaufenden Stegs 17 der Turbinenschaufelplattform 4 liegt und insbesondere mit dieser Außenkante 16 abschließt. Hierbei liegt die Materialaussparung 8 zumindest teilweise auf Höhe und somit unmittelbar - in Axialerstreckung 12 gesehen - axial neben der Einstecknut 6, in welche bei ordnungsgemäßer Montage das Dichtungsblech 7 eingesteckt ist. - Nach den Darstellungen gemäß der
Figuren 3 bis 5 ist die Materialaussparung 8 in einer zusätzlich unterhalb der Turbinenschaufelplattform 4 angebrachten Materialanhäufung 20 eingebracht. Die Materialanhäufung 20 befindet sich in diesem Ausführungsbeispiel radial unterhalb und axial neben der Einstecknut 6, so dass die Turbinenschaufelplattform 4 durch die Materialaussparung 8A strukturell nicht geschwächt ist. - Bei der Materialanhäufung 20 handelt es sich um eine partiell unterhalb der Turbinenschaufelplattform 4 vorhandene Erhebung, welche beidseits von den Randbereichen 14 und 15 durch einen Abstand 21 beabstandet ist und somit nicht mit dem an der Unterseite 5 der Turbinenschaufelplattform 4 durchgängig von dem Randbereich 14 bis zum Randbereich 15, oder umgekehrt, verlaufenden Steg 17 zu verwechseln ist.
- Der jeweilige Abstand 21 (hier nur beispielhaft eingezeichnet und beziffert) zwischen der Materialanhäufung 20, aber auch zwischen den Materialaussparungen 8 bzw. 8A, und einem der Randbereiche 14 bzw. 15 ist wesentlich größer, vorzugsweise doppelt so groß, als die Länge 22 der Materialanhäufung 20 bzw. der Öffnungslänge 22A der Materialaussparungen 8 bzw. 8A quer zur Axialerstreckung 12 des Turbinenschaufelfußes 3.
- Die Materialaussparung 8A kann hierbei bis in den Steg 17 hinein gearbeitet sein, sie muss es aber nicht, wodurch bei der letzteren Variante der Steg 17 nicht durch die Spitze der Materialaussparung 8A geschwächt ist.
- Beide Materialaussparungen 8 bzw. 8A sind in den hier beispielhaft gezeigten Ausführungsbeispielen dreieckförmig ausgestaltet.
- Darüber hinaus sind die Materialaussparungen 8 bzw. 8A jeweils quer zur Axialerstreckung 12 des Turbinenschaufelfußes 3 mittig an der Turbinenschaufelplattform 4 angeordnet, so dass der Turbinenschaufelfuß 3 quer zu seiner Axialerstreckung 12 weiterhin symmetrisch ausgestaltet sein kann.
- Ferner besitzen die Materialaussparungen 8 bzw. 8A jeweils eine Breite 23, mittels welcher eine betriebssichere Überdeckung mit dem Sicherungselement 11 gewährleistbar ist (siehe beispielhaft
Figur 5 ). - Insofern weisen die Materialaussparungen 8 bzw. 8A auch jeweils die zwei Anlagekanten 9 und 10 auf, an welchen sich das Sicherungselement 11 beidseitig abstützen kann, die entsprechend derart breit ausgeführt sind, dass eine betriebssichere Überdeckung mit dem Sicherungselement 11 gewährleistbar ist.
- Die zwei Anlagekanten 9 und 10 schließen einen Öffnungswinkel 26 ein und formulieren hierbei einen nach unten hin, also in radialer Richtung 27 Turbinenschaufelfuß 3, geöffneten und nach oben hin, also in radialer Gegenrichtung 28 Turbinenschaufelplattform 4, spitz zulaufenden Aufnahmeraum 29, in welchen die Spitze 30 (siehe
Figuren 6 oder 7 ) des Sicherungselements 11 eingebogen werden kann. - Die Materialaussparung 8 bzw. 8A sind jeweils oberhalb des von der Turbinenschaufelplattform 4 am weitesten beabstandeten Endes 31 des Turbinenschaufelfußendes 3 angeordnet, so dass das Dichtungsblech 7 mithilfe des Sicherungselements 11 konstruktiv einfach an der jeweiligen Materialaussparung 8 bzw. 8A der Turbinenschaufelplattform 4 gesichert werden kann.
- Ein derartiges Dichtungsblech 7 ist beispielhaft in der
Figur 6 gezeigt. Es weist in seinem oberen Bereich 32 zwei voneinander beabstandete Schlitze 33 und 34 auf, durch welche in an sich bekannter Weise das als Blechelement 35 ausgestaltete Sicherungselement 11 durchgesteckt ist. Die Schlitze 33 und 34 sind hierbei übereinander angeordnet und verlaufen mit ihrer jeweiligen Langseite (hier nicht explizit beziffert) quer zur Axialerstreckung 12 des Turbinenschaufelfußes 3, so dass das Sicherungselement 11 radial fluchtend mit dem Turbinenschaufelblatt 2 verläuft. - Insofern kann die Spitze 30 des Sicherungselements 11 einfach in den nach unten geöffneten Aufnahmeraum 29 eingebogen und an der Turbinenschaufelplattform 4 festgelegt bzw. gesichert werden.
- Ein diesbezüglicher Montagezustand 36 ist nach der Darstellung gemäß der
Figur 7 gezeigt, in welcher die Spitze 30 des Sicherungselements 11 in der finalen Montage in die Materialaussparung 8 oder 8A angeordnet ist. - Obwohl die Erfindung im Detail durch die bevorzugten Ausführungsbeispiele näher illustriert und beschrieben wurde, so ist die Erfindung nicht durch diese offenbarten Ausführungsbeispiele eingeschränkt, und andere Variationen können vom Fachmann hieraus abgeleitet werden, ohne den Schutzumfang der Erfindung zu verlassen.
Claims (15)
- Turbinenschaufel (1) mit einem Turbinenschaufelblatt (2), mit einem Turbinenschaufelfuß (3) und mit einer zwischen dem Turbinenschaufelblatt (2) und dem Turbinenschaufelfuß (3) angeordneten Turbinenschaufelplattform (4), welche an ihrer Unterseite (5) eine Einstecknut (6) zum Einstecken eines Dichtungsblechs (7) aufweist,
wobei das Dichtungsblech (7) mittels eines sich an der Turbinenschaufelplattform (4) abstützenden Sicherungselements (11) gesichert werden kann, und
wobei die Turbinenschaufelplattform (4) eine Materialaussparung (8; 8A) mit zwei sich derart gegenüberliegenden Anlagekanten (9, 10) aufweist, dass das Sicherungselement (11) quer zur Axialerstreckung (12) des Turbinenschaufelfußes (3) beidseits an der Turbinenschaufel (1) festlegbar ist. - Turbinenschaufel (1) nach Anspruch 1,
wobei die Materialaussparung (8) innerhalb der Turbinenschaufelplattform (4) eingebracht ist. - Turbinenschaufel (1) nach Anspruch 1,
wobei an der Unterseite (5) der Turbinenschaufelplattform (4) eine zusätzliche Materialanhäufung (20) angeordnet ist, innerhalb welcher die Materialaussparung (8A) eingebracht ist. - Turbinenschaufel (1) nach Anspruch 3,
wobei die Materialanhäufung (20) radial unterhalb und axial neben der Einstecknut (6) angeordnet ist. - Turbinenschaufel (1) nach einem der Ansprüche 1 bis 4,
wobei die Materialaussparung (8; 8A) quer zur Axialerstreckung (12) des Turbinenschaufelfußes (3) mittig an der Turbinenschaufelplattform (4) angeordnet ist. - Turbinenschaufel (1) nach einem der Ansprüche 1 bis 5,
wobei die Materialaussparung (8; 8A) eine Breite (23) aufweist, mittels welcher eine betriebssichere Überdeckung mit dem Sicherungselement (11) gewährleistbar ist. - Turbinenschaufel (1) nach einem der Ansprüche 1 bis 6,
wobei die Materialaussparung (8; 8A) oberhalb des von der Turbinenschaufelplattform (4) am weitesten beabstandeten Endes (31) des Turbinenschaufelfußendes (3) angeordnet ist. - Turbinenschaufel (1) nach einem der Ansprüche 1 bis 7,
wobei die Materialaussparung (8; 8A) dreieckförmig ausgestaltet ist. - Turbinenschaufel (1) nach einem der Ansprüche 1 bis 8,
wobei die zwei Anlagekanten (9, 10) einen nach unten geöffneten Ausnahmeraum (29) ausgestalten. - Turbinenschaufel (1) nach einem der Ansprüche 1 bis 9,
wobei die zwei Anlagekanten (9, 10) einen Öffnungswinkel (26) von weniger als 170° oder von weniger als 100° einschließen. - Turbinenschaufel (1) nach einem der Ansprüche 1 bis 10,
wobei die Anlagekanten (9, 10) einen Öffnungswinkel (26) von mehr als 30° einschließen. - Turbinenschaufel (1) nach einem der Ansprüche 1 bis 11,
wobei die Anlagekanten (9, 10) zu einem in Richtung (28) des Turbinenschaufelblatts (2) spitz zulaufenden Aufnahmeraum (29) angeordnet sind. - Turbinenschaufel (1) nach einem der Ansprüche 1 bis 12,
wobei die Anlagekanten (9, 10) mechanisch bearbeitet sind. - Turbinenschaufel (1) nach einem der Ansprüche 1 bis 13,
wobei die Anlagekanten (9, 10) derart breit ausgeführt sind, dass eine betriebssichere Überdeckung mit dem Sicherungselement (11) gewährleistbar ist. - Gasturbine mit einer Vielzahl an Turbinenschaufeln (1) und mit einem Turbinenrotor, an welcher die Turbinenschaufeln (1) jeweils mittels eines Turbinenschaufelfußes (3) befestigt sind,
wobei die Gasturbine Turbinenschaufeln (1) nach einem der vorstehenden Ansprüche umfasst.
Priority Applications (6)
| Application Number | Priority Date | Filing Date | Title |
|---|---|---|---|
| EP20130187992 EP2860350A1 (de) | 2013-10-10 | 2013-10-10 | Turbinenschaufel sowie Gasturbine |
| EP14758952.7A EP3025027B1 (de) | 2013-10-10 | 2014-09-04 | Turbinenschaufel sowie gasturbine |
| CN201480055796.9A CN105637182B (zh) | 2013-10-10 | 2014-09-04 | 涡轮叶片和燃气轮机 |
| JP2016516552A JP6211690B2 (ja) | 2013-10-10 | 2014-09-04 | タービンブレードおよびガスタービン |
| PCT/EP2014/068828 WO2015051957A1 (de) | 2013-10-10 | 2014-09-04 | Turbinenschaufel sowie gasturbine |
| US15/025,725 US20160245107A1 (en) | 2013-10-10 | 2014-09-04 | Turbine blade and gas turbine |
Applications Claiming Priority (1)
| Application Number | Priority Date | Filing Date | Title |
|---|---|---|---|
| EP20130187992 EP2860350A1 (de) | 2013-10-10 | 2013-10-10 | Turbinenschaufel sowie Gasturbine |
Publications (1)
| Publication Number | Publication Date |
|---|---|
| EP2860350A1 true EP2860350A1 (de) | 2015-04-15 |
Family
ID=49378090
Family Applications (2)
| Application Number | Title | Priority Date | Filing Date |
|---|---|---|---|
| EP20130187992 Withdrawn EP2860350A1 (de) | 2013-10-10 | 2013-10-10 | Turbinenschaufel sowie Gasturbine |
| EP14758952.7A Not-in-force EP3025027B1 (de) | 2013-10-10 | 2014-09-04 | Turbinenschaufel sowie gasturbine |
Family Applications After (1)
| Application Number | Title | Priority Date | Filing Date |
|---|---|---|---|
| EP14758952.7A Not-in-force EP3025027B1 (de) | 2013-10-10 | 2014-09-04 | Turbinenschaufel sowie gasturbine |
Country Status (5)
| Country | Link |
|---|---|
| US (1) | US20160245107A1 (de) |
| EP (2) | EP2860350A1 (de) |
| JP (1) | JP6211690B2 (de) |
| CN (1) | CN105637182B (de) |
| WO (1) | WO2015051957A1 (de) |
Cited By (2)
| Publication number | Priority date | Publication date | Assignee | Title |
|---|---|---|---|---|
| EP3236011A1 (de) * | 2016-04-20 | 2017-10-25 | Rolls-Royce Deutschland Ltd & Co KG | Rotor mit überhang an laufschaufeln für ein sicherungselement |
| EP3025028B1 (de) * | 2013-10-10 | 2018-05-09 | Siemens Aktiengesellschaft | Turbinenschaufel sowie gasturbine |
Families Citing this family (2)
| Publication number | Priority date | Publication date | Assignee | Title |
|---|---|---|---|---|
| US10753212B2 (en) * | 2017-08-23 | 2020-08-25 | Doosan Heavy Industries & Construction Co., Ltd | Turbine blade, turbine, and gas turbine having the same |
| EP3611344A1 (de) * | 2018-08-16 | 2020-02-19 | Siemens Aktiengesellschaft | Rotor mit umfangssicherung von dichtelementen |
Citations (4)
| Publication number | Priority date | Publication date | Assignee | Title |
|---|---|---|---|---|
| FR2524933A1 (fr) * | 1982-04-13 | 1983-10-14 | Snecma | Dispositif de verrouillage axial d'aubes de rotor de turbine ou de compresseur |
| US20080181767A1 (en) * | 2007-01-30 | 2008-07-31 | Siemens Power Generation, Inc. | Turbine seal plate locking system |
| EP2662533A2 (de) * | 2012-05-07 | 2013-11-13 | General Electric Company | Abdecksegment für den Schaufeleinbaubereich, zugehörige System und Montageverfahren |
| WO2013167346A1 (de) * | 2012-05-08 | 2013-11-14 | Siemens Aktiengesellschaft | Turbinenlaufschaufel und axialer rotorabschnitt für eine gasturbine |
Family Cites Families (20)
| Publication number | Priority date | Publication date | Assignee | Title |
|---|---|---|---|---|
| GB699582A (en) * | 1950-11-14 | 1953-11-11 | Rolls Royce | Improvements in or relating to gas-turbine engines |
| GB928349A (en) * | 1960-12-06 | 1963-06-12 | Rolls Royce | Improvements in or relating to bladed rotors of fluid flow machines |
| US3853425A (en) * | 1973-09-07 | 1974-12-10 | Westinghouse Electric Corp | Turbine rotor blade cooling and sealing system |
| GB2043796B (en) * | 1979-03-10 | 1983-04-20 | Rolls Royce | Bladed rotor for gas turbine engine |
| GB8705216D0 (en) * | 1987-03-06 | 1987-04-08 | Rolls Royce Plc | Rotor assembly |
| DE19960896A1 (de) * | 1999-12-17 | 2001-06-28 | Rolls Royce Deutschland | Rückhaltevorrichtung für Rotorschaufeln einer Axialturbomaschine |
| CZ20002685A3 (cs) * | 1999-12-20 | 2001-08-15 | General Electric Company | Zařízení pro uchycení lopatek otáčivého stroje a způsob jejich uchycení |
| US7500832B2 (en) * | 2006-07-06 | 2009-03-10 | Siemens Energy, Inc. | Turbine blade self locking seal plate system |
| EP1916389A1 (de) * | 2006-10-26 | 2008-04-30 | Siemens Aktiengesellschaft | Turbinenschaufel Anordnung |
| ES2330379T3 (es) * | 2007-01-09 | 2009-12-09 | Siemens Aktiengesellschaft | Seccion axial de un rotor para un rotor de turbina. |
| US7819629B2 (en) * | 2007-02-15 | 2010-10-26 | Siemens Energy, Inc. | Blade for a gas turbine |
| EP1978211A1 (de) * | 2007-04-04 | 2008-10-08 | Siemens Aktiengesellschaft | Anordnung zur Axialsicherung an Laufschaufeln in einem Rotor sowie Gasturbine mit einer solchen Anordnung |
| EP2088287A1 (de) * | 2008-02-08 | 2009-08-12 | Siemens Aktiengesellschaft | Anordnung zur Axialsicherung von Laufschaufeln in einem Rotor einer Gasturbine |
| US8210823B2 (en) * | 2008-07-08 | 2012-07-03 | General Electric Company | Method and apparatus for creating seal slots for turbine components |
| EP2146051B1 (de) * | 2008-07-17 | 2011-09-07 | Ansaldo Energia S.P.A. | Rotoranordnung für eine Gasturbine, Gasturbine mit der Rotoranordnung und Verfahren zum Kühlen der Rotoranordnung |
| US8206119B2 (en) * | 2009-02-05 | 2012-06-26 | General Electric Company | Turbine coverplate systems |
| EP2218873A1 (de) * | 2009-02-17 | 2010-08-18 | Siemens Aktiengesellschaft | Rotorabschnitt für einen Rotor einer Turbomaschine, Laufschaufel für eine Turbomaschine und Blockierelement |
| US8602737B2 (en) * | 2010-06-25 | 2013-12-10 | General Electric Company | Sealing device |
| US8740573B2 (en) * | 2011-04-26 | 2014-06-03 | General Electric Company | Adaptor assembly for coupling turbine blades to rotor disks |
| FR2995343B1 (fr) * | 2012-09-11 | 2018-05-25 | Safran Aircraft Engines | Aube de turbine, turbine, et procede de fabrication |
-
2013
- 2013-10-10 EP EP20130187992 patent/EP2860350A1/de not_active Withdrawn
-
2014
- 2014-09-04 JP JP2016516552A patent/JP6211690B2/ja not_active Expired - Fee Related
- 2014-09-04 EP EP14758952.7A patent/EP3025027B1/de not_active Not-in-force
- 2014-09-04 WO PCT/EP2014/068828 patent/WO2015051957A1/de not_active Ceased
- 2014-09-04 US US15/025,725 patent/US20160245107A1/en not_active Abandoned
- 2014-09-04 CN CN201480055796.9A patent/CN105637182B/zh not_active Expired - Fee Related
Patent Citations (4)
| Publication number | Priority date | Publication date | Assignee | Title |
|---|---|---|---|---|
| FR2524933A1 (fr) * | 1982-04-13 | 1983-10-14 | Snecma | Dispositif de verrouillage axial d'aubes de rotor de turbine ou de compresseur |
| US20080181767A1 (en) * | 2007-01-30 | 2008-07-31 | Siemens Power Generation, Inc. | Turbine seal plate locking system |
| EP2662533A2 (de) * | 2012-05-07 | 2013-11-13 | General Electric Company | Abdecksegment für den Schaufeleinbaubereich, zugehörige System und Montageverfahren |
| WO2013167346A1 (de) * | 2012-05-08 | 2013-11-14 | Siemens Aktiengesellschaft | Turbinenlaufschaufel und axialer rotorabschnitt für eine gasturbine |
Cited By (5)
| Publication number | Priority date | Publication date | Assignee | Title |
|---|---|---|---|---|
| EP3025028B1 (de) * | 2013-10-10 | 2018-05-09 | Siemens Aktiengesellschaft | Turbinenschaufel sowie gasturbine |
| EP3236011A1 (de) * | 2016-04-20 | 2017-10-25 | Rolls-Royce Deutschland Ltd & Co KG | Rotor mit überhang an laufschaufeln für ein sicherungselement |
| US10526904B2 (en) | 2016-04-20 | 2020-01-07 | Rolls-Royce Deutschland Ltd & Co Kg | Rotor with overhang at blades for a locking element |
| EP3236011B1 (de) | 2016-04-20 | 2022-08-31 | Rolls-Royce Deutschland Ltd & Co KG | Rotor mit überhang an laufschaufeln für ein sicherungselement |
| EP3236011B2 (de) † | 2016-04-20 | 2025-03-05 | Rolls-Royce Deutschland Ltd & Co KG | Rotor mit überhang an laufschaufeln für ein sicherungselement |
Also Published As
| Publication number | Publication date |
|---|---|
| CN105637182A (zh) | 2016-06-01 |
| WO2015051957A1 (de) | 2015-04-16 |
| JP2016538448A (ja) | 2016-12-08 |
| EP3025027A1 (de) | 2016-06-01 |
| CN105637182B (zh) | 2018-01-16 |
| JP6211690B2 (ja) | 2017-10-11 |
| EP3025027B1 (de) | 2017-11-01 |
| US20160245107A1 (en) | 2016-08-25 |
Similar Documents
| Publication | Publication Date | Title |
|---|---|---|
| WO2012104250A1 (de) | Befestigungsvorrichtung | |
| EP2873807A1 (de) | Abdeckplatte, Laufschaufel, Radscheibe, Bolzen und Gasturbine | |
| DE69200303T2 (de) | Verstellhebel für eine Statorschaufel. | |
| EP3025027B1 (de) | Turbinenschaufel sowie gasturbine | |
| DE102010063181A1 (de) | Nabe für eine Windturbine | |
| DE112016005003T5 (de) | Dampfventil und dampfturbinensystem | |
| DE102009044015A1 (de) | Kombinierbares Flügelrad | |
| DE10350946B4 (de) | Turbinendüsenhaltevorrichtung an der horizontalen Verbindungsfläche des Trägers | |
| EP2133574A2 (de) | Räumliches Schutzgitter für Axiallüfter und Verfahren zur Herstellung des Schutzgitters | |
| DE2120472A1 (de) | Feststellvorrichtung fur die Schau fein einer Turbinenanlage | |
| EP3475580B1 (de) | Gebläseradscheibe und gebläserad | |
| DE2601568B2 (de) | Vorrichtung zum Verbinden von Turbinenschaufeln | |
| DE602005001231T2 (de) | Verriegelungsmittel für Gasturbinentriebwerke | |
| DE102005014017A1 (de) | Turbine und Turbinenschaufel | |
| EP3230559B1 (de) | Schlussbaugruppe zum schliessen eines schaufelkranzes, zugehörige schaufelträger, strömungsmaschine und verfahren zum einsetzen einer schlussbaugruppe | |
| EP1507958A1 (de) | Axialsicherung fuer laufschaufeln | |
| EP2952699B1 (de) | Gasturbinenbauteilanordnung | |
| EP3170986B1 (de) | Schaufelcluster mit umfangssicherung | |
| DE102005058161B4 (de) | Schnellverschluss für den Installationsbereich | |
| DE102019117384A1 (de) | Filterelement, Anschlussstutzen und Anordnung | |
| DE102015122874B4 (de) | Austenitisches Dampfturbinenringsegment für eine Dampfturbinenleiteinrichtung und Dampfturbinenleiteinrichtung | |
| EP2486277A1 (de) | Verstellbare axialkolbenmaschine mit einer lagerschale für die schwenkwiege | |
| EP3885535A1 (de) | Dichtring für einen rotor und rotor mit einem solchen | |
| EP2460979B1 (de) | Schaufelsegment einer Strömungsmaschine mit radialen Anlageflächen | |
| EP3724456A1 (de) | Rotor mit fliehkraft-optimierten kontaktflächen |
Legal Events
| Date | Code | Title | Description |
|---|---|---|---|
| PUAI | Public reference made under article 153(3) epc to a published international application that has entered the european phase |
Free format text: ORIGINAL CODE: 0009012 |
|
| 17P | Request for examination filed |
Effective date: 20131010 |
|
| AK | Designated contracting states |
Kind code of ref document: A1 Designated state(s): AL AT BE BG CH CY CZ DE DK EE ES FI FR GB GR HR HU IE IS IT LI LT LU LV MC MK MT NL NO PL PT RO RS SE SI SK SM TR |
|
| AX | Request for extension of the european patent |
Extension state: BA ME |
|
| STAA | Information on the status of an ep patent application or granted ep patent |
Free format text: STATUS: THE APPLICATION IS DEEMED TO BE WITHDRAWN |
|
| 18D | Application deemed to be withdrawn |
Effective date: 20151016 |