EP2502012B1 - Kältegerät mit einem durch eine mechanische lüftungseinrichtung luftdicht verschliessbaren lagerfach - Google Patents
Kältegerät mit einem durch eine mechanische lüftungseinrichtung luftdicht verschliessbaren lagerfach Download PDFInfo
- Publication number
- EP2502012B1 EP2502012B1 EP10779500.7A EP10779500A EP2502012B1 EP 2502012 B1 EP2502012 B1 EP 2502012B1 EP 10779500 A EP10779500 A EP 10779500A EP 2502012 B1 EP2502012 B1 EP 2502012B1
- Authority
- EP
- European Patent Office
- Prior art keywords
- drawer
- storage compartment
- refrigeration appliance
- ventilation device
- mechanical ventilation
- Prior art date
- Legal status (The legal status is an assumption and is not a legal conclusion. Google has not performed a legal analysis and makes no representation as to the accuracy of the status listed.)
- Active
Links
- 238000003860 storage Methods 0.000 title claims description 58
- 238000005057 refrigeration Methods 0.000 title claims description 26
- 238000005273 aeration Methods 0.000 title 1
- 238000005399 mechanical ventilation Methods 0.000 claims description 30
- 238000003825 pressing Methods 0.000 claims description 15
- 238000013022 venting Methods 0.000 claims description 13
- 239000011521 glass Substances 0.000 claims description 5
- 235000013305 food Nutrition 0.000 description 3
- 238000001816 cooling Methods 0.000 description 2
- 230000002040 relaxant effect Effects 0.000 description 2
- 230000004913 activation Effects 0.000 description 1
- 238000004519 manufacturing process Methods 0.000 description 1
- 239000005336 safety glass Substances 0.000 description 1
- 230000001960 triggered effect Effects 0.000 description 1
- 238000009423 ventilation Methods 0.000 description 1
Images
Classifications
-
- F—MECHANICAL ENGINEERING; LIGHTING; HEATING; WEAPONS; BLASTING
- F25—REFRIGERATION OR COOLING; COMBINED HEATING AND REFRIGERATION SYSTEMS; HEAT PUMP SYSTEMS; MANUFACTURE OR STORAGE OF ICE; LIQUEFACTION SOLIDIFICATION OF GASES
- F25D—REFRIGERATORS; COLD ROOMS; ICE-BOXES; COOLING OR FREEZING APPARATUS NOT OTHERWISE PROVIDED FOR
- F25D17/00—Arrangements for circulating cooling fluids; Arrangements for circulating gas, e.g. air, within refrigerated spaces
- F25D17/04—Arrangements for circulating cooling fluids; Arrangements for circulating gas, e.g. air, within refrigerated spaces for circulating air, e.g. by convection
- F25D17/042—Air treating means within refrigerated spaces
-
- F—MECHANICAL ENGINEERING; LIGHTING; HEATING; WEAPONS; BLASTING
- F25—REFRIGERATION OR COOLING; COMBINED HEATING AND REFRIGERATION SYSTEMS; HEAT PUMP SYSTEMS; MANUFACTURE OR STORAGE OF ICE; LIQUEFACTION SOLIDIFICATION OF GASES
- F25D—REFRIGERATORS; COLD ROOMS; ICE-BOXES; COOLING OR FREEZING APPARATUS NOT OTHERWISE PROVIDED FOR
- F25D2317/00—Details or arrangements for circulating cooling fluids; Details or arrangements for circulating gas, e.g. air, within refrigerated spaces, not provided for in other groups of this subclass
- F25D2317/04—Treating air flowing to refrigeration compartments
- F25D2317/043—Treating air flowing to refrigeration compartments by creating a vacuum in a storage compartment
-
- F—MECHANICAL ENGINEERING; LIGHTING; HEATING; WEAPONS; BLASTING
- F25—REFRIGERATION OR COOLING; COMBINED HEATING AND REFRIGERATION SYSTEMS; HEAT PUMP SYSTEMS; MANUFACTURE OR STORAGE OF ICE; LIQUEFACTION SOLIDIFICATION OF GASES
- F25D—REFRIGERATORS; COLD ROOMS; ICE-BOXES; COOLING OR FREEZING APPARATUS NOT OTHERWISE PROVIDED FOR
- F25D2317/00—Details or arrangements for circulating cooling fluids; Details or arrangements for circulating gas, e.g. air, within refrigerated spaces, not provided for in other groups of this subclass
- F25D2317/06—Details or arrangements for circulating cooling fluids; Details or arrangements for circulating gas, e.g. air, within refrigerated spaces, not provided for in other groups of this subclass with forced air circulation
- F25D2317/061—Details or arrangements for circulating cooling fluids; Details or arrangements for circulating gas, e.g. air, within refrigerated spaces, not provided for in other groups of this subclass with forced air circulation through special compartments
Definitions
- the invention relates to a refrigeration appliance, in particular domestic refrigeration appliance, comprising a body with a coolable interior, a door leaf provided for opening and closing the interior, mounted on the body and an airtightly closable storage compartment arranged in the interior.
- a refrigeration device is eg from the US-A-5,271,240 known.
- the DE 102 48 510 A1 discloses a refrigerator with a storage compartment surrounding a hollow-walled housing and with a vacuum pump which is connected via a suction line to a cavity of the housing.
- the suction line is also connected to the storage compartment.
- US-A-5,271,240 describes a refrigerator with a coolable interior, arranged in the interior, hermetically sealable storage compartment and a mechanical ventilation device for venting the storage compartment.
- Object of the present invention is to provide a refrigeration device with a simple, inexpensive airtight sealable storage compartment.
- a refrigeration device in particular a household refrigerating appliance, comprising a body with a coolable interior, a door leaf provided for opening and closing the interior, a door leaf mounted on the body and an airtightly closable storage compartment arranged in the interior, with a mechanical ventilation device, which is to be actuated by a force acting on the storage compartment pressure force to vent the storage compartment.
- evacuable storage compartments on the one hand controls are provided which serve to open and close the storage compartment and on the other hand separate controls are provided which serve to cause the generation of a vacuum in the closed storage compartment or serve to ventilate the storage compartment to a prevailing in the storage compartment vacuum reduce to ambient pressure, so that the storage compartment without much effort can be opened.
- a vacuum or a negative pressure to be generated by means of expensive pump devices and, before opening the storage compartment, the vacuum must first be released by actuating a separate actuating device. This is cumbersome and time consuming for a user. Also, such a device is very expensive to manufacture and in operation.
- the invention therefore provides a solution in which the user in a simple manner by means of the mechanical ventilation device, for example by a single intuitive movement, vent the storage compartment when reaching the closed position, that is, by means of this movement can generate a negative pressure.
- the mechanical ventilation device can be formed by a depressible elastic wall section, upon actuation of which an overpressure is built up in the storage compartment and the storage compartment is vented via an opening valve lip.
- An overpressure is built up by the volume of the storage compartment is reduced by pressing the elastic wall portion and thereby initially increases the internal pressure of the airtight storage compartment. Thereafter, a valve lip opens, so that the overpressure is reduced and air escapes from the storage compartment.
- the elastic wall section is released again, the elastic wall section returns to its original position, the storage compartment resuming its original volume, but closing tightly, that is to say the storage compartment is in its original position.
- the valve lip is closed again, so that no air from the outside can penetrate into the expanding volume and thus a negative pressure in the storage compartment is built.
- the mechanical ventilation device may be designed as a ventilation device of known food storage boxes.
- the storage compartment can be a compartment permanently installed in the refrigeration appliance, which can move one in particular forward, i. to the door of the refrigerator, pointing opening.
- the opening can be closed by a closure lid.
- the storage compartment can have a closure lid, in particular a closure lid mounted pivotably on the storage compartment, with a pressure opening lock, which is formed in the case of a pressure force acting on the closure lid for locking to operate the mechanical ventilation device for venting the storage compartment.
- the storage compartment can be provided analogously to a food storage box with a removable, ie separate, closing lid.
- the closure cover can also be pivotally mounted, in particular by means of a hinge arrangement, such as a film hinge, on the storage compartment.
- the closure lid can also be connected in one piece with a firmly fixed in the interior of the refrigerator storage compartment. At least one side wall of the storage compartment may be formed by a portion of an inner wall of the interior of the refrigeration device.
- the pressure-opening lock may be a mechanism mechanically locking the storage compartment or the closure lid by a pressing force.
- the storage compartment can be designed as a drawer in which the mechanical ventilation device for venting the drawer is to be actuated by a pressure force acting on the drawer.
- a pressure movement usually to be performed for opening and / or closing the drawer can also be used to actuate the mechanical ventilation device, which causes a venting of the closed drawer.
- a refrigeration device is understood in particular to be a household refrigeration appliance, that is to say a refrigeration appliance that is used for housekeeping in households or in the gastronomy sector, and in particular for storing foods and / or drinks at specific temperatures, such as, for example, a refrigerator, a freezer, a refrigerated freezer combination or a refrigerator wine fridge.
- a mechanical pressure-opening lock In addition to a mechanical pressure-opening lock other types of pressure-opening lock can be provided which unlock by pressing the drawer not only the drawer, but also, in particular at the same time operate mechanical ventilation device, which is set up to vent the drawer. For example, by pressing on a drawer front of the closed drawer not only the drawer unlocked to open and / or moved on, but also solved an existing negative pressure by aerating the drawer.
- the drawer or the drawer front may for this purpose have a button, which has, for example, an elastic portion which is part of the mechanical ventilation device in order to ventilate the drawer.
- a mechanical pressure-opening lock which is also referred to as "push-to-open" fitting
- a pressure-opening lock can for example be realized by a pin which is guided in a backdrop, which can be designed with two different gate paths for opening and closing.
- the gate may have a so-called heart curve, in which the pin is guided such that in a locking position of the pressure-opening lock the pin is spring-biased held in a position in which the pressure-opening latch is in a closed position, and by Pressing the pressure-opening lock in the closing direction of the pin is pressed in a gate path along which the pin is moved from the closed position to an open position in which the pressure-opening lock is relaxed and thereby moves to an open position. Upon a subsequent pressing of the pressure-opening lock in the closed position, the pin moves along a second gate path in the closed position in which the pin is spring-biased held in the closed position.
- This principle is also used, for example, in ballpoint pens.
- the drawer can be slidably mounted in the interior by means of a linear guide and be operated by moving the drawer from an open position in a closing direction for venting the mechanical ventilation device.
- the mechanical ventilation device can be actuated by pressing a drawer front of the drawer.
- These Embodiment is particularly suitable for mechanical pressure-opening locks, which are also referred to as "push-to-open" fittings.
- the drawer front can in particular have an elastic pressure section, by the actuation of which the mechanical ventilation device for venting the drawer is to be actuated. It can be provided that the mechanical ventilation device for venting the drawer can be actuated by pressing any point of the drawer front. However, it can also be provided that only a certain, in particular optically exposed pressing portion of the drawer front is formed to be able to activate by pressing the mechanical ventilation device for venting the drawer. If pressure is exerted on a different point of the drawer front as the pressure section intended for this purpose, no activation of the mechanical ventilation device takes place. This can help to avoid unintentional actuation of the mechanical ventilation device.
- the drawer airtight closing ceiling wall of a shelf are formed in the interior of the refrigerator.
- the drawer can be mounted extendable in particular hanging on the shelf.
- the drawer can be removed, for example, together with the shelf from the refrigerator.
- the mechanical ventilation device can be provided instead of the shelf on a side wall or the bottom of the drawer.
- the shelf is designed as a glass plate, a user can view the contents of the drawer through the transparent shelf, without having to open the drawer.
- This has the particular advantage that the contents of the drawer for a user is immediately recognizable and, where appropriate, the drawer does not need to be opened when it is recognized that the content is not available in the drawer.
- the Fig. 1 shows a section of a household refrigerator 1 as an example of a refrigeration device in a perspective view.
- the household refrigerator 1 has a body 2, which limits a coolable interior 3.
- the interior 3 forms in the case of the present embodiment, a cooling chamber, which can be cooled by means of a non-illustrated, known in the art in principle cooling device.
- the refrigeration device is designed for example as a refrigeration cycle and comprises e.g. at least one evaporator and at least one compressor.
- refrigerator compartment shelves and / or drawers can be arranged, which are provided for receiving frozen or refrigerated goods.
- the household refrigeration appliance 1 has a door leaf 4 attached to the body 2, which is provided to close the interior space 3.
- a shelf 5 is inserted, which is formed as a glass plate.
- the glass plate can in particular be made of a safety glass, which has been thermally pretreated, for example.
- a storage compartment 6 is further attached.
- the storage compartment 6 has a closing cover 7.
- the closing cover 7 comprises a mechanical ventilation device 8, which may have an elastic wall section 8a.
- the volume in the storage compartment 6 is reduced, so that an overpressure is created. If the overpressure exceeds a minimum size, a valve lip 9 is opened and air can escape from the storage compartment 6 into the interior 3.
- the valve lip 9 closes after releasing the elastic wall portion 8a again and the volume of the storage compartment 6 increases again due to the relaxing elastic wall portion 8a, whereby a negative pressure in the storage compartment 6 is generated.
- a pressure-opening lock 12 is also provided.
- the pressure-opening lock 12 can be operated by pressing the elastic wall portion 8a to vent the drawer 6.
- the elastic wall section 8a can be integrated in the closing cover 7, as shown in the present exemplary embodiment.
- the elastic wall section 8a can be arranged centered in the closing cover 7.
- the storage compartment 6 is designed as a drawer 6a.
- the drawer 6a is extendable stored in the household refrigerator 1.
- the drawer 6a has a drawer front 7a.
- the drawer front 7a is formed as a flat plate.
- the drawer front 7a forms a vertical front wall of the drawer 6a.
- the drawer 6a has two side walls, a rear wall and a bottom.
- the drawer 6a is accessible from above.
- the drawer 6a is mounted extendable in the present embodiment on an underside 10 of the shelf 5. Between upper edges of the drawer 6a and the bottom 10 of the shelf 5, a seal 11 may be arranged.
- the mechanical ventilation device 8 In order to be able to actuate the mechanical ventilation device 8 by a pressure force acting on the drawer 6a, the mechanical ventilation device 8 has the elastic wall section 8a, with which the drawer 6a can be vented. Will be on the in Fig. 1 Due to the compressive force, the elastic wall section 8a of the mechanical ventilation device 8 is deformed in a curved manner inwardly so that an overpressure is created and the valve lip 9 is opened and air from the drawer 6a is pushed inwards the interior 3 of the household refrigerator 1 is pushed out. The valve lip 9 closes again after releasing the elastic wall portion 8a and the volume of the drawer 6a increases again due to the relaxing elastic wall portion 8a, whereby a negative pressure in the drawer 6a is generated.
- a pressure-opening lock 12 is provided at the drawer 6a.
- the pressure-opening lock 12 can be operated by pressing the elastic wall portion 8a to vent the drawer 6a.
- the elastic wall section 8a can be integrated in the drawer front 7a as shown in the present embodiment. In particular, the elastic wall section 8a can be arranged centered in the drawer front 7a.
Landscapes
- Engineering & Computer Science (AREA)
- Chemical & Material Sciences (AREA)
- Combustion & Propulsion (AREA)
- Physics & Mathematics (AREA)
- Mechanical Engineering (AREA)
- Thermal Sciences (AREA)
- General Engineering & Computer Science (AREA)
- Cold Air Circulating Systems And Constructional Details In Refrigerators (AREA)
- Storage Of Fruits Or Vegetables (AREA)
Description
- Die Erfindung betrifft ein Kältegerät, insbesondere Haushaltskältegerät, aufweisend einen Korpus mit einem kühlbaren Innenraum, ein zum Öffnen und Schließen des Innenraums vorgesehenes, an dem Korpus gelagertes Türblatt und ein im Innenraum angeordnetes luftdicht verschließbares Lagerfach. Ein solches Kältergerät ist z.B. aus der
US-A-5 271 240 bekannt. - Die
DE 102 48 510 A1 offenbart ein Kältegerät mit einem ein Lagerfach umgebenden, hohlwandigen Gehäuse und mit einer Vakuumpumpe, die über eine Saugleitung an einen Hohlraum des Gehäuses angeschlossen ist. Die Saugleitung ist ferner an das Lagerfach angeschlossen. -
US-A-5 271 240 beschreibt ein Kältegerät mit einem kühlbaren Innenraum, einem in dem Innenraum angeordneten, luftdicht verschließbaren Lagerfach und einer mechanischen Lüftungseinrichtung zum Belüften des Lagerfachs. - Aufgabe der vorliegenden Erfindung ist es, ein Kältegerät mit einem einfachen, kostengünstigen luftdicht verschließbaren Lagerfach anzugeben.
- Die Aufgabe der Erfindung wird gelöst durch ein Kältegerät, insbesondere Haushaltskältegerät, aufweisend einen Korpus mit einem kühlbaren Innenraum, ein zum Öffnen und Schließen des Innenraums vorgesehenes, an dem Korpus gelagertes Türblatt und ein im Innenraum angeordnetes, luftdicht verschließbares Lagerfach, mit einer mechanischen Lüftungseinrichtung, die durch eine auf das Lagerfach einwirkende Druckkraft zum Entlüften des Lagerfachs zu betätigen ist.
- Bei bekannten evakuierbaren Lagerfächern sind einerseits Betätigungseinrichtungen vorgesehen, die zum Öffnen und Schließen des Lagerfaches dienen und andererseits sind gesonderte Betätigungseinrichtungen vorgesehen, die dazu dienen im geschlossenen Lagerfach die Erzeugung eines Vakuums zu veranlassen oder dazu dienen das Lagerfach zu belüften, um einen im Lagerfach herrschenden Unterdruck auf Umgebungsdruck abzubauen, so dass das Lagerfach ohne großem Kraftaufwand geöffnet werden kann. So ist es bisher erforderlich, dass ein Vakuum bzw. ein Unterdruck mittels aufwändiger Pumpenvorrichtungen erzeugt wird und vor einem Öffnen des Lagerfachs zunächst das Vakuum durch Betätigen einer gesonderten Betätigungseinrichtung zu lösen ist. Dies ist für einen Benutzer umständlich und zeitaufwändig. Auch ist eine solche Vorrichtung sehr kostenintensiv in der Herstellung und im Betrieb.
- Die Erfindung sieht deshalb eine Lösung vor, bei welcher der Benutzer in einfacher Weise mittels der mechanischen Lüftungseinrichtung, beispielsweise durch eine einzige intuitive Bewegung, bei Erreichen der Schließposition das Lagerfach entlüften, d.h mittels dieser Bewegung einen Unterdruck erzeugen kann.
- Die mechanische Lüftungseinrichtung kann von einem eindrückbaren elastischen Wandabschnitt gebildet werden, bei dessen Betätigung ein Überdruck im Lagerfach aufgebaut und über eine sich öffnende Ventil-Lippe das Lagerfach entlüftet wird. Ein Überdruck wird dadurch aufgebaut, dass durch Drücken des elastischen Wandabschnitts das Volumen des Lagerfaches verkleinert wird und sich dadurch zunächst der Innendruck des luftdicht verschlossenen Lagerfaches erhöht. Danach öffnet sich eine Ventil-Lippe, so dass der Überdruck abgebaut wird und Luft aus dem Lagerfach entweicht. Wird der elastische Wandabschnitt wieder losgelassen, so kehrt der elastische Wandabschnitt in seine Ausgangsstellung zurück, wobei das Lagerfach wieder sein ursprüngliches Volumen annimmt und dabei jedoch dicht abschließt d.h. die Ventil-Lippe wieder geschlossen wird, so dass keine Luft von außen in das sich erweiternde Volumen eindringen kann und somit ein Unterdruck im Lagerfach aufgebaut wird. Mit anderen Worten kann die mechanische Lüftungseinrichtung wie eine Lüftungseinrichtung von bekannten Frischhaltedosen ausgebildet sein.
- Das Lagerfach kann ein im Kältegerät fest installiertes Fach sein, das eine insbesondere nach vorne, d.h. zur Tür des Kältegeräts, weisende Öffnung aufweist. Die Öffnung kann von einem Schließdeckel verschließbar sein.
- Das Lagerfach kann einen Schließdeckel, insbesondere einen schwenkbar am Lagerfach gelagerten Schließdeckel, mit einer Druck-Öffnungsverriegelung aufweisen, welche ausgebildet ist, bei einer auf den Schließdeckel zum Verriegeln einwirkenden Druckkraft die mechanische Lüftungseinrichtung zum Entlüften des Lagerfachs zu betätigen. Das Lagerfach kann analog einer Frischhaltedose mit einem abnehmbaren, d.h. separaten, Schließdeckel versehen sein. Der Schließdeckel kann jedoch auch schwenkbar, insbesondere mittels einer Scharnieranordnung, wie beispielsweise eines Filmscharniers, an dem Lagerfach gelagert sein. Der Schließdeckel kann insoweit auch einteilig mit einem fest im Innenraum des Kältegeräts befestigten Lagerfach verbunden sein. Wenigstens eine Seitenwand des Lagerfachs kann von einem Abschnitt einer Innenwand des Innenraums des Kältegeräts gebildet werden.
- Die Druck-Öffnungsverriegelung kann ein das Lagerfach oder den Schließdeckel durch eine Druckkraft mechanisch verriegelnder Mechanismus sein.
- Das Lagerfach kann als Schubfach ausgebildet sein, bei dem durch eine auf das Schubfach einwirkende Druckkraft die mechanische Lüftungseinrichtung zum Entlüften des Schubfachs zu betätigen ist. Dabei kann eine zum Öffnen und/oder Schließen des Schubfachs üblicherweise auszuführende Druckbewegung auch dazu genutzt werden, um die mechanische Lüftungseinrichtung zu betätigen, welche ein Entlüften des verschlossenen Schubfachs bewirkt.
- Soll ein geöffnetes Schubfach wieder geschlossen werden, so kann durch Druck auf das Schubfach oder die Schubfachfront nicht nur das Schubfach wieder zugeschoben werden, sondern auch die mechanische Lüftungseinrichtung betätigt werden, so dass in dem Schubfach ein Unterdruck erzeugt werden kann, sobald das Schubfach luftdicht verschlossen ist.
- Unter einem Kältegerät wird insbesondere ein Haushaltskältegerät verstanden, also ein Kältegerät das zur Haushaltsführung in Haushalten oder im Gastronomiebereich eingesetzt wird, und insbesondere dazu dient Lebensmittel und/oder Getränke bei bestimmten Temperaturen zu lagern, wie beispielsweise ein Kühlschrank, ein Gefrierschrank, eine Kühlgefrierkombination oder ein Weinkühlschrank.
- Neben einer mechanischen Druck-Öffnungsverriegelung können auch andere Arten von Druck-Öffnungsverriegelung vorgesehen sein, welche durch Drücken des Schubfachs nicht nur das Schubfach entriegeln, sondern auch, insbesondere gleichzeitig, die mechanische Lüftungseinrichtung betätigen, welche zum Entlüften des Schubfachs eingerichtet ist. So wird beispielsweise durch ein Drücken auf eine Schubfachfront des geschlossenen Schubfaches nicht nur das Schubfach zum Öffnen entriegelt und/oder auf bewegt, sondern auch ein vorhandener Unterdruck durch Belüften des Schubfaches gelöst. Das Schubfach bzw. die Schubfachfront kann dazu eine Taste aufweisen, die beispielsweise einen elastischen Abschnitt aufweist, welcher Teil der mechanischen Lüftungseinrichtung ist, um das Schubfach zu belüften.
- Bei einer mechanischen Druck-Öffnungsverriegelung, die auch als "push-to-open"-Beschlag bezeichnet wird, erfolgt ein Entriegeln und gegebenenfalls ein federaktiviertes Ausschieben des Schubfachs ausgelöst durch ein Drücken beispielsweise auf eine Schubfachfront des Schubfachs, wobei durch dieses Drücken die Druck-Öffnungsverriegelung entriegelt wird. Eine Druck-Öffnungsverriegelung kann beispielsweise durch einen Zapfen realisiert werden, der in einer Kulisse geführt ist, die mit zwei unterschiedlichen Kulissenwegen für das Öffnen bzw. das Schließen ausgeführt sein kann. So kann die Kulisse beispielsweise eine so genannte Herzkurve aufweisen, in welcher der Zapfen derart geführt ist, dass in einer Verriegelungsstellung der Druck-Öffnungsverriegelung der Zapfen federvorgespannt in einer Position gehalten ist, in der sich die Druck-Öffnungsverriegelung in einer Schließposition befindet, und durch Drücken der Druck-Öffnungsverriegelung in Schließrichtung der Zapfen in einen Kulissenweg gedrückt wird, entlang dem der Zapfen aus der Schließposition in eine Öffnungsposition bewegt wird, in welcher die Druck-Öffnungsverriegelung entspannt wird und sich dadurch in eine Offenposition begibt. Bei einem anschließenden Drücken der Druck-Öffnungsverriegelung in die Schließposition bewegt sich der Zapfen entlang einem zweiten Kulissenweg in die Schließposition, in welcher der Zapfen federvorgespannt in der Schließposition gehalten ist. Dieses Prinzip wird beispielsweise auch bei Druckkugelschreibern angewandt.
- Das Schubfach kann mittels einer Linearführung verschiebbar im Innenraum gelagert sein und die mechanische Lüftungseinrichtung durch Bewegen des Schubfachs aus einer Offenstellung in eine Schließrichtung zum Entlüften zu betätigen sein.
- In einer weiteren Ausführungsform kann die mechanische Lüftungseinrichtung durch Drücken einer Schubfachfront des Schubfaches zu betätigen sein. Diese Ausführungsform ist insbesondere für mechanische Druck-Öffnungsverriegelungen, die auch als "push-to-open"-Beschläge bezeichnet werden geeignet.
- Die Schubfachfront kann insbesondere einen elastischen Drückabschnitt aufweisen, durch dessen Betätigung die mechanische Lüftungseinrichtung zum Entlüften des Schubfachs zu betätigen ist. Es kann vorgesehen sein, dass die mechanische Lüftungseinrichtung zum Entlüften des Schubfachs durch Drücken einer beliebigen Stelle der Schubfachfront betätigt werden kann. Es kann aber auch vorgesehen sein, dass nur ein bestimmter, insbesondere optisch herausgestellter Drückabschnitt der Schubfachfront ausgebildet ist, durch Drücken die mechanische Lüftungseinrichtung zum Entlüften des Schubfachs aktivieren zu können. Wird dabei Druck auf eine andere Stelle der Schubfachfront als den dazu bestimmten Drückabschnitt ausgeübt, so erfolgt keine Aktivierung der mechanischen Lüftungseinrichtung. Dies kann ein unbeabsichtigtes Betätigen der mechanischen Lüftungseinrichtung vermeiden helfen.
- In einer Weiterbildung kann eine das Schubfach luftdicht verschließende Deckenwand von einem Fachboden, insbesondere einem als Glasplatte ausgebildeten Fachboden, im Innenraum des Kältegeräts gebildet werden. Das Schubfach kann dabei insbesondere hängend an dem Fachboden ausziehbar gelagert sein. Bei dieser Ausgestaltung kann das Schubfach beispielsweise zusammen mit dem Fachboden aus dem Kältegerät entnommen werden. Die mechanische Lüftungseinrichtung kann dabei statt am Fachboden an einer Seitenwand oder dem Boden des Schubfachs vorgesehen sein.
- Ist der Fachboden als Glasplatte ausgebildet, kann ein Benutzer den Inhalt des Schubfaches durch den transparenten Fachboden einsehen, ohne das Schubfach öffnen zu müssen. Dies hat insbesondere den Vorteil, dass der Inhalt des Schubfaches für einen Benutzer unmittelbar erkennbar wird und gegebenenfalls das Schubfach gar nicht geöffnet werden muss, wenn zu erkennen ist, dass der gesuchte Inhalt gar nicht in dem Schubfach vorhanden ist.
- Zwei beispielhafte Ausführungsformen der Erfindung sind an Hand der
Figuren 1 und2 beschrieben. Aus der detaillierten Beschreibung dieser konkreten Ausführungsbeispiele ergeben sich auch weitere generelle Merkmale und Vorteile der vorliegenden Erfindung. Es zeigen: - Figur 1
- eine perspektivische Teilansicht einer ersten Ausführungsform eines beispielhaften Haushaltskältegeräts mit einem fest installierten Lagerfach mit Schließdeckel;
- Figur 2
- eine perspektivische Teilansicht einer zweiten Ausführungsform des beispielhaften Haushaltskältegeräts gemäß
Fig. 1 mit einem ausziehbaren Schubfach in der Offenstellung mit einer Schubfachfront. - Die
Fig. 1 zeigt einen Ausschnitt eines Haushaltskältegerät 1 als Beispiels eines Kältegerätes in einer perspektivischen Darstellung. - Das Haushaltskältegerät 1 weist einen Korpus 2 auf, der einen kühlbaren Innenraum 3 begrenzt. Der Innenraum 3 bildet im Falle des vorliegenden Ausführungsbeispiels einen Kühlraum, der mittels einer nicht näher dargestellten, dem Fachmann im Prinzip bekannten Kältevorrichtung gekühlt werden kann. Die Kältevorrichtung ist beispielsweise als Kältekreislauf ausgebildet und umfasst z.B. wenigstens einen Verdampfer und wenigstens einen Verdichter.
- Im Kühlraum können Fachböden und/oder Schubladen angeordnet sein, die zur Aufnahme von Gefrier- bzw. Kühlgut vorgesehen sind.
- Im Falle des vorliegenden ersten Ausführungsbeispiels gemäß
Fig. 1 weist das Haushaltkältegerät 1 ein am Korpus 2 angeschlagenes Türblatt 4 auf, das vorgesehen ist, den Innenraum 3 zu verschließen. Im Innenraum 3 ist ein Fachboden 5 eingesetzt, der als eine Glasplatte ausgebildet ist. Die Glasplatte kann insbesondere aus einem Sicherheitsglas gefertigt sein, das z.B. thermisch vorbehandelt wurde. - Im Innenraum 3 ist des Weiteren ein Lagerfach 6 angebracht. Das Lagerfach 6 weist einen Schließdeckel 7 auf. Der Schließdeckel 7 umfasst eine mechanische Lüftungseinrichtung 8, die einen elastischen Wandabschnitt 8a aufweisen kann. Durch Drücken der mechanischen Lüftungseinrichtung 8, bzw. des elastischen Wandabschnitts 8a wird das Volumen in dem Lagerfach 6 verkleinert, so dass ein Überdruck entsteht. Überschreitet der Überdruck eine Mindestgröße, so wird eine Ventil-Lippe 9 geöffnet und Luft kann aus dem Lagerfach 6 in den Innenraum 3 entweichen. Die Ventil-Lippe 9 schließt sich nach dem Loslassen des elastischen Wandabschnitt 8a wieder und das Volumen des Lagerfach 6 vergrößert sich wieder aufgrund des sich entspannenden elastische Wandabschnitt 8a, wodurch ein Unterdruck im Lagerfach 6 erzeugt wird.
- Am Lagerfach 6 ist außerdem eine Druck-Öffnungsverriegelung 12 vorgesehen. Die Druck-Öffnungsverriegelung 12 kann durch Drücken des elastischen Wandabschnitts 8a zum Entlüften des Schubfachs 6 betätigt werden. Der elastischen Wandabschnitts 8a kann wie im vorliegenden Ausführungsbeispiel dargestellt in den Schließdeckel 7 integriert sein. Insbesondere kann der elastischen Wandabschnitts 8a zentriert in dem Schließdeckel 7 angeordnet sein.
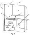
- Im Falle des vorliegenden zweiten Ausführungsbeispiels gemäß
Fig. 2 ist das Lagerfach 6 als Schubfach 6a ausgebildet. Das Schubfach 6a ist ausziehbar im Haushaltkältegerät 1 gelagert. Das Schubfach 6a weist eine Schubfachfront 7a auf. Die Schubfachfront 7a ist als ebene Platte ausgebildet. Die Schubfachfront 7a bildet eine vertikale Frontwand des Schubfaches 6a. Darüber hinaus weist das Schubfach 6a zwei Seitenwände, eine Rückwand und einen Boden auf. Das Schubfach 6a ist von oben zugänglich. Das Schubfach 6a ist im vorliegenden Ausführungsbeispiel an einer Unterseite 10 des Fachbodens 5 ausziehbar gelagert. Zwischen Oberkanten des Schubfachs 6a und der Unterseite 10 des Fachbodens 5 kann eine Dichtung 11 angeordnet sein. - Um die mechanische Lüftungseinrichtung 8 durch eine auf das Schubfach 6a einwirkende Druckkraft betätigen zu können, weist die mechanische Lüftungseinrichtung 8 den elastischen Wandabschnitt 8a auf, mit dem das Schubfach 6a entlüftet werden kann. Wird auf den in
Fig. 1 dargestellten elastischen Wandabschnitt 8a in der geschlossenen Schubfachfront 7a gedrückt, so wird auf Grund der Druckkraft der elastische Wandabschnitt 8a der mechanischen Lüftungseinrichtung 8 nach innen wölbend verformt, so dass ein Überdruck entsteht und die Ventil-Lippe 9 geöffnet wird und Luft aus dem Schubfach 6a in den Innenraum 3 des Haushaltkältegeräts 1 heraus gedrückt wird. Die Ventil-Lippe 9 schließt sich nach dem Loslassen des elastischen Wandabschnitt 8a wieder und das Volumen des Schubfachs 6a vergrößert sich wieder aufgrund des sich entspannenden elastische Wandabschnitt 8a, wodurch ein Unterdruck im Schubfach 6a erzeugt wird. - Am Schubfach 6a ist außerdem eine Druck-Öffnungsverriegelung 12 vorgesehen. Die Druck-Öffnungsverriegelung 12 kann durch Drücken des elastischen Wandabschnitts 8a zum Entlüften des Schubfachs 6a betätigt werden. Der elastischen Wandabschnitts 8a kann wie im vorliegenden Ausführungsbeispiel dargestellt in die Schubfachfront 7a integriert sein. Insbesondere kann der elastischen Wandabschnitts 8a zentriert in der Schubfachfront 7a angeordnet sein.
Claims (9)
- Kältegerät, insbesondere Haushaltskältegerät (1), aufweisend einen Korpus (2) mit einem kühlbaren Innenraum (3), ein zum Öffnen und Schließen des Innenraums (3) vorgesehenes, an dem Korpus (2) gelagertes Türblatt (4) und ein im Innenraum (3) angeordnetes, luftdicht verschließbares Lagerfach (6), gekennzeichnet durch eine mechanische Lüftungseinrichtung (8), die durch eine auf das Lagerfach (6) einwirkende Druckkraft zum Entlüften des Lagerfachs (6) zu betätigen ist.
- Kältegerät nach Anspruch 1, dadurch gekennzeichnet, dass das Lagerfach (6) einen Schließdeckel (7), insbesondere schwenkbar am Lagerfach (6) gelagerten Schließdeckel (7), mit einer Druck-Öffnungsverriegelung (12) aufweist, welche ausgebildet ist, bei einer auf den Schließdeckel (7) zum Verriegeln einwirkenden Druckkraft die mechanische Lüftungseinrichtung (8) zum Entlüften des Lagerfachs (6) zu betätigen.
- Kältegerät nach Anspruch 2, dadurch gekennzeichnet, dass die Druck-Öffnungsverriegelung (12) ein das Lagerfach (6) oder den Schließdeckel (7) durch eine Druckkraft mechanisch verriegelnder Mechanismus ist.
- Kältegerät nach einem der Ansprüche 1 bis 3, dadurch gekennzeichnet, dass das Lagerfach (6) oder der Schließdeckel (7) einen eindrückbaren elastischen Wandabschnitt (8) aufweist, bei dessen Betätigung ein Überdruck im Lagerfach aufgebaut und über eine sich öffnende Ventil-Lippe (9) das Lagerfach (6) entlüftet wird.
- Kältegerät nach einem der Ansprüche 1 bis 4, dadurch gekennzeichnet, dass das Lagerfach (6) als Schubfach (6a) ausgebildet ist, bei dem durch eine auf das Schubfach (6a) einwirkende Druckkraft die mechanische Lüftungseinrichtung (8) zum Entlüften des Schubfachs (6a) zu betätigen ist.
- Kältegerät nach Anspruch 5, dadurch gekennzeichnet, dass das Schubfach (6a) mittels einer Linearführung verschiebbar im Innenraum (3) gelagert ist und die mechanische Lüftungseinrichtung (8) durch Bewegen des Schubfachs (6a) aus einer Offenstellung in eine Schließrichtung zum Entlüften zu betätigen ist.
- Kältegerät nach einem der Ansprüche 5 bis 6, dadurch gekennzeichnet, dass die mechanische Lüftungseinrichtung (8) durch Drücken einer Schubfachfront (7) des Schubfaches (6a) zu betätigen ist.
- Kältegerät nach Anspruch 7, dadurch gekennzeichnet, dass die Schubfachfront (7) einen insbesondere elastischen Drückabschnitt (8a) aufweist, durch dessen Betätigung die mechanische Lüftungseinrichtung (8) zum Entlüften des Schubfachs (6a) zu betätigen ist.
- Kältegerät nach einem der Ansprüche 5 bis 8, dadurch gekennzeichnet, dass eine das Schubfach (6a) luftdicht verschließende Deckenwand von einem Fachboden (5), insbesondere als Glasplatte ausgebildeten Fachboden (5), im Innenraum (3) des Kältegeräts gebildet wird.
Applications Claiming Priority (2)
| Application Number | Priority Date | Filing Date | Title |
|---|---|---|---|
| DE200910046768 DE102009046768A1 (de) | 2009-11-17 | 2009-11-17 | Kältegerät mit einem durch eine mechanische Lüftungseinrichtung luftdicht verschließbaren Lagerfach |
| PCT/EP2010/066865 WO2011061065A2 (de) | 2009-11-17 | 2010-11-05 | Kältegerät mit einem durch eine mechanische lüftungseinrichtung luftdicht verschliessbaren lagerfach |
Publications (2)
| Publication Number | Publication Date |
|---|---|
| EP2502012A2 EP2502012A2 (de) | 2012-09-26 |
| EP2502012B1 true EP2502012B1 (de) | 2016-05-25 |
Family
ID=43901791
Family Applications (1)
| Application Number | Title | Priority Date | Filing Date |
|---|---|---|---|
| EP10779500.7A Active EP2502012B1 (de) | 2009-11-17 | 2010-11-05 | Kältegerät mit einem durch eine mechanische lüftungseinrichtung luftdicht verschliessbaren lagerfach |
Country Status (3)
| Country | Link |
|---|---|
| EP (1) | EP2502012B1 (de) |
| DE (1) | DE102009046768A1 (de) |
| WO (1) | WO2011061065A2 (de) |
Family Cites Families (6)
| Publication number | Priority date | Publication date | Assignee | Title |
|---|---|---|---|---|
| US3216214A (en) * | 1963-05-21 | 1965-11-09 | Breconvuot Anstalt | Vacuum generation apparatus with closed fluid circuit ejector system, especially for vacuum generation of home refrigerator cells and the like |
| IT1238452B (it) * | 1990-02-01 | 1993-08-18 | Eurodomestici Ind Riunite | Frigorifero, congelatore o similare con contenitore amovibile in cui e' realizzato il vuoto a chiusura ed apertura automatica |
| US5271240A (en) * | 1992-07-06 | 1993-12-21 | Arex, Inc. | Household refrigerator-freezer cooling apparatus with vacuum as the preserving means |
| US6090422A (en) * | 1999-08-11 | 2000-07-18 | Taragan; Arie | Refrigerator with automatic vacuum compartment and method of preserving fresh food items using the same |
| DE10248510A1 (de) | 2002-10-17 | 2004-04-29 | BSH Bosch und Siemens Hausgeräte GmbH | Kältegerät mit einem evakuierbaren Lagerfach |
| DE102004017855A1 (de) * | 2004-04-13 | 2005-11-10 | Liebherr-Hausgeräte Lienz Gmbh | Klimaschrank, Humidor und Verfahren zum Klimatisieren eines Klimaraumes |
-
2009
- 2009-11-17 DE DE200910046768 patent/DE102009046768A1/de not_active Ceased
-
2010
- 2010-11-05 EP EP10779500.7A patent/EP2502012B1/de active Active
- 2010-11-05 WO PCT/EP2010/066865 patent/WO2011061065A2/de not_active Ceased
Also Published As
| Publication number | Publication date |
|---|---|
| EP2502012A2 (de) | 2012-09-26 |
| DE102009046768A1 (de) | 2011-05-26 |
| WO2011061065A2 (de) | 2011-05-26 |
| WO2011061065A3 (de) | 2011-07-14 |
Similar Documents
| Publication | Publication Date | Title |
|---|---|---|
| EP2923165B1 (de) | Haushaltskältegerät mit einem betätigungsmittel für einen behälterdeckel | |
| DE102013211103A1 (de) | Kältegerät mit Türöffnungshilfe | |
| US10190815B2 (en) | Domestic refrigeration appliance | |
| DE102012223131A1 (de) | Kältegerät mit einem Auszugskasten | |
| KR20140013718A (ko) | 자동닫힘장치를 적용한 냉장고의 진공 밀폐야채실 | |
| DE102008054417A1 (de) | Kältegerät, insbesondere Haushaltsgefrierschrank | |
| DE102009046766A1 (de) | Kältegerät mit einem evakuierbaren Schubfach | |
| DE102017205108A1 (de) | Haushaltskältegerätevorrichtung | |
| WO2007135046A1 (de) | Vakuum-frischhaltekammer | |
| EP3452768B1 (de) | Vakuumdämmkörper | |
| DE69215061T2 (de) | Kühlgerät wie Haushaltkühlschrank, Gefriermöbel oder dergleichen mit einem Vakuumfach | |
| EP2502012B1 (de) | Kältegerät mit einem durch eine mechanische lüftungseinrichtung luftdicht verschliessbaren lagerfach | |
| DE102018203271A1 (de) | Haushaltskältegerät mit einer Schublade und Verfahren zum Herstellen des Haushaltskältegerätes | |
| DE102012223110A1 (de) | Haushaltskältegerät mit einem höhenverstellbaren Türabsteller | |
| DE202004011287U1 (de) | Kältegerät mit Vakuumpumpe | |
| DE102011084825A1 (de) | Kältegerät | |
| DE102013205865B4 (de) | Behältervorrichtung für ein Haushaltskältegerät, Haushaltskältegerät und entsprechendes Verfahren | |
| DE102014219999A1 (de) | Frischhaltebehälter für Lebensmittel mit einer Unterdruckerzeugungseinheit sowie Haushaltskältegerät mit einem derartigen Frischhaltebehälter | |
| DE102011103967A1 (de) | Kühl- und /oder Gefriergerät | |
| DE102008044133A1 (de) | Kältegerät | |
| EP1783446B1 (de) | Kältegerät mit Bodenmulde | |
| WO2014044580A1 (de) | Kältegerät mit einem behälter | |
| DE102011003621A1 (de) | Kältegerät mit einer Stickstoffatmosphäre | |
| DE102014217191A1 (de) | Haushaltskältegerät mit einem Kühlgutbehälter und einem Behälterdeckel | |
| EP3377836B1 (de) | Haushaltsgeräte und verfahren zum öffnen eines haushaltsgeräts |
Legal Events
| Date | Code | Title | Description |
|---|---|---|---|
| PUAI | Public reference made under article 153(3) epc to a published international application that has entered the european phase |
Free format text: ORIGINAL CODE: 0009012 |
|
| 17P | Request for examination filed |
Effective date: 20120618 |
|
| AK | Designated contracting states |
Kind code of ref document: A2 Designated state(s): AL AT BE BG CH CY CZ DE DK EE ES FI FR GB GR HR HU IE IS IT LI LT LU LV MC MK MT NL NO PL PT RO RS SE SI SK SM TR |
|
| DAX | Request for extension of the european patent (deleted) | ||
| 17Q | First examination report despatched |
Effective date: 20140708 |
|
| RAP1 | Party data changed (applicant data changed or rights of an application transferred) |
Owner name: BSH HAUSGERAETE GMBH |
|
| GRAP | Despatch of communication of intention to grant a patent |
Free format text: ORIGINAL CODE: EPIDOSNIGR1 |
|
| INTG | Intention to grant announced |
Effective date: 20160108 |
|
| GRAS | Grant fee paid |
Free format text: ORIGINAL CODE: EPIDOSNIGR3 |
|
| GRAA | (expected) grant |
Free format text: ORIGINAL CODE: 0009210 |
|
| AK | Designated contracting states |
Kind code of ref document: B1 Designated state(s): AL AT BE BG CH CY CZ DE DK EE ES FI FR GB GR HR HU IE IS IT LI LT LU LV MC MK MT NL NO PL PT RO RS SE SI SK SM TR |
|
| REG | Reference to a national code |
Ref country code: GB Ref legal event code: FG4D Free format text: NOT ENGLISH |
|
| REG | Reference to a national code |
Ref country code: CH Ref legal event code: EP |
|
| REG | Reference to a national code |
Ref country code: IE Ref legal event code: FG4D Free format text: LANGUAGE OF EP DOCUMENT: GERMAN Ref country code: AT Ref legal event code: REF Ref document number: 802663 Country of ref document: AT Kind code of ref document: T Effective date: 20160615 |
|
| REG | Reference to a national code |
Ref country code: DE Ref legal event code: R096 Ref document number: 502010011751 Country of ref document: DE |
|
| REG | Reference to a national code |
Ref country code: LT Ref legal event code: MG4D |
|
| REG | Reference to a national code |
Ref country code: NL Ref legal event code: MP Effective date: 20160525 |
|
| PG25 | Lapsed in a contracting state [announced via postgrant information from national office to epo] |
Ref country code: LT Free format text: LAPSE BECAUSE OF FAILURE TO SUBMIT A TRANSLATION OF THE DESCRIPTION OR TO PAY THE FEE WITHIN THE PRESCRIBED TIME-LIMIT Effective date: 20160525 Ref country code: FI Free format text: LAPSE BECAUSE OF FAILURE TO SUBMIT A TRANSLATION OF THE DESCRIPTION OR TO PAY THE FEE WITHIN THE PRESCRIBED TIME-LIMIT Effective date: 20160525 Ref country code: NO Free format text: LAPSE BECAUSE OF FAILURE TO SUBMIT A TRANSLATION OF THE DESCRIPTION OR TO PAY THE FEE WITHIN THE PRESCRIBED TIME-LIMIT Effective date: 20160825 Ref country code: NL Free format text: LAPSE BECAUSE OF FAILURE TO SUBMIT A TRANSLATION OF THE DESCRIPTION OR TO PAY THE FEE WITHIN THE PRESCRIBED TIME-LIMIT Effective date: 20160525 |
|
| PG25 | Lapsed in a contracting state [announced via postgrant information from national office to epo] |
Ref country code: RS Free format text: LAPSE BECAUSE OF FAILURE TO SUBMIT A TRANSLATION OF THE DESCRIPTION OR TO PAY THE FEE WITHIN THE PRESCRIBED TIME-LIMIT Effective date: 20160525 Ref country code: HR Free format text: LAPSE BECAUSE OF FAILURE TO SUBMIT A TRANSLATION OF THE DESCRIPTION OR TO PAY THE FEE WITHIN THE PRESCRIBED TIME-LIMIT Effective date: 20160525 Ref country code: SE Free format text: LAPSE BECAUSE OF FAILURE TO SUBMIT A TRANSLATION OF THE DESCRIPTION OR TO PAY THE FEE WITHIN THE PRESCRIBED TIME-LIMIT Effective date: 20160525 Ref country code: GR Free format text: LAPSE BECAUSE OF FAILURE TO SUBMIT A TRANSLATION OF THE DESCRIPTION OR TO PAY THE FEE WITHIN THE PRESCRIBED TIME-LIMIT Effective date: 20160826 Ref country code: ES Free format text: LAPSE BECAUSE OF FAILURE TO SUBMIT A TRANSLATION OF THE DESCRIPTION OR TO PAY THE FEE WITHIN THE PRESCRIBED TIME-LIMIT Effective date: 20160525 Ref country code: LV Free format text: LAPSE BECAUSE OF FAILURE TO SUBMIT A TRANSLATION OF THE DESCRIPTION OR TO PAY THE FEE WITHIN THE PRESCRIBED TIME-LIMIT Effective date: 20160525 Ref country code: PT Free format text: LAPSE BECAUSE OF FAILURE TO SUBMIT A TRANSLATION OF THE DESCRIPTION OR TO PAY THE FEE WITHIN THE PRESCRIBED TIME-LIMIT Effective date: 20160926 |
|
| PG25 | Lapsed in a contracting state [announced via postgrant information from national office to epo] |
Ref country code: IT Free format text: LAPSE BECAUSE OF FAILURE TO SUBMIT A TRANSLATION OF THE DESCRIPTION OR TO PAY THE FEE WITHIN THE PRESCRIBED TIME-LIMIT Effective date: 20160525 |
|
| PG25 | Lapsed in a contracting state [announced via postgrant information from national office to epo] |
Ref country code: SK Free format text: LAPSE BECAUSE OF FAILURE TO SUBMIT A TRANSLATION OF THE DESCRIPTION OR TO PAY THE FEE WITHIN THE PRESCRIBED TIME-LIMIT Effective date: 20160525 Ref country code: RO Free format text: LAPSE BECAUSE OF FAILURE TO SUBMIT A TRANSLATION OF THE DESCRIPTION OR TO PAY THE FEE WITHIN THE PRESCRIBED TIME-LIMIT Effective date: 20160525 Ref country code: DK Free format text: LAPSE BECAUSE OF FAILURE TO SUBMIT A TRANSLATION OF THE DESCRIPTION OR TO PAY THE FEE WITHIN THE PRESCRIBED TIME-LIMIT Effective date: 20160525 Ref country code: EE Free format text: LAPSE BECAUSE OF FAILURE TO SUBMIT A TRANSLATION OF THE DESCRIPTION OR TO PAY THE FEE WITHIN THE PRESCRIBED TIME-LIMIT Effective date: 20160525 Ref country code: CZ Free format text: LAPSE BECAUSE OF FAILURE TO SUBMIT A TRANSLATION OF THE DESCRIPTION OR TO PAY THE FEE WITHIN THE PRESCRIBED TIME-LIMIT Effective date: 20160525 |
|
| PG25 | Lapsed in a contracting state [announced via postgrant information from national office to epo] |
Ref country code: PL Free format text: LAPSE BECAUSE OF FAILURE TO SUBMIT A TRANSLATION OF THE DESCRIPTION OR TO PAY THE FEE WITHIN THE PRESCRIBED TIME-LIMIT Effective date: 20160525 Ref country code: SM Free format text: LAPSE BECAUSE OF FAILURE TO SUBMIT A TRANSLATION OF THE DESCRIPTION OR TO PAY THE FEE WITHIN THE PRESCRIBED TIME-LIMIT Effective date: 20160525 Ref country code: BE Free format text: LAPSE BECAUSE OF NON-PAYMENT OF DUE FEES Effective date: 20161130 |
|
| REG | Reference to a national code |
Ref country code: DE Ref legal event code: R097 Ref document number: 502010011751 Country of ref document: DE |
|
| PLBE | No opposition filed within time limit |
Free format text: ORIGINAL CODE: 0009261 |
|
| STAA | Information on the status of an ep patent application or granted ep patent |
Free format text: STATUS: NO OPPOSITION FILED WITHIN TIME LIMIT |
|
| 26N | No opposition filed |
Effective date: 20170228 |
|
| PG25 | Lapsed in a contracting state [announced via postgrant information from national office to epo] |
Ref country code: SI Free format text: LAPSE BECAUSE OF FAILURE TO SUBMIT A TRANSLATION OF THE DESCRIPTION OR TO PAY THE FEE WITHIN THE PRESCRIBED TIME-LIMIT Effective date: 20160525 |
|
| REG | Reference to a national code |
Ref country code: CH Ref legal event code: PL |
|
| GBPC | Gb: european patent ceased through non-payment of renewal fee |
Effective date: 20161105 |
|
| PG25 | Lapsed in a contracting state [announced via postgrant information from national office to epo] |
Ref country code: CH Free format text: LAPSE BECAUSE OF NON-PAYMENT OF DUE FEES Effective date: 20161130 Ref country code: LI Free format text: LAPSE BECAUSE OF NON-PAYMENT OF DUE FEES Effective date: 20161130 |
|
| REG | Reference to a national code |
Ref country code: IE Ref legal event code: MM4A |
|
| REG | Reference to a national code |
Ref country code: FR Ref legal event code: ST Effective date: 20170731 |
|
| PG25 | Lapsed in a contracting state [announced via postgrant information from national office to epo] |
Ref country code: LU Free format text: LAPSE BECAUSE OF NON-PAYMENT OF DUE FEES Effective date: 20161130 |
|
| PG25 | Lapsed in a contracting state [announced via postgrant information from national office to epo] |
Ref country code: FR Free format text: LAPSE BECAUSE OF NON-PAYMENT OF DUE FEES Effective date: 20161130 |
|
| PG25 | Lapsed in a contracting state [announced via postgrant information from national office to epo] |
Ref country code: GB Free format text: LAPSE BECAUSE OF NON-PAYMENT OF DUE FEES Effective date: 20161105 Ref country code: IE Free format text: LAPSE BECAUSE OF NON-PAYMENT OF DUE FEES Effective date: 20161105 |
|
| REG | Reference to a national code |
Ref country code: AT Ref legal event code: MM01 Ref document number: 802663 Country of ref document: AT Kind code of ref document: T Effective date: 20161105 |
|
| PG25 | Lapsed in a contracting state [announced via postgrant information from national office to epo] |
Ref country code: AT Free format text: LAPSE BECAUSE OF NON-PAYMENT OF DUE FEES Effective date: 20161105 |
|
| REG | Reference to a national code |
Ref country code: BE Ref legal event code: MM Effective date: 20161130 |
|
| PG25 | Lapsed in a contracting state [announced via postgrant information from national office to epo] |
Ref country code: HU Free format text: LAPSE BECAUSE OF FAILURE TO SUBMIT A TRANSLATION OF THE DESCRIPTION OR TO PAY THE FEE WITHIN THE PRESCRIBED TIME-LIMIT; INVALID AB INITIO Effective date: 20101105 Ref country code: CY Free format text: LAPSE BECAUSE OF FAILURE TO SUBMIT A TRANSLATION OF THE DESCRIPTION OR TO PAY THE FEE WITHIN THE PRESCRIBED TIME-LIMIT Effective date: 20160525 |
|
| PG25 | Lapsed in a contracting state [announced via postgrant information from national office to epo] |
Ref country code: MK Free format text: LAPSE BECAUSE OF FAILURE TO SUBMIT A TRANSLATION OF THE DESCRIPTION OR TO PAY THE FEE WITHIN THE PRESCRIBED TIME-LIMIT Effective date: 20160525 Ref country code: IS Free format text: LAPSE BECAUSE OF FAILURE TO SUBMIT A TRANSLATION OF THE DESCRIPTION OR TO PAY THE FEE WITHIN THE PRESCRIBED TIME-LIMIT Effective date: 20160525 Ref country code: MC Free format text: LAPSE BECAUSE OF FAILURE TO SUBMIT A TRANSLATION OF THE DESCRIPTION OR TO PAY THE FEE WITHIN THE PRESCRIBED TIME-LIMIT Effective date: 20160525 |
|
| PG25 | Lapsed in a contracting state [announced via postgrant information from national office to epo] |
Ref country code: BG Free format text: LAPSE BECAUSE OF FAILURE TO SUBMIT A TRANSLATION OF THE DESCRIPTION OR TO PAY THE FEE WITHIN THE PRESCRIBED TIME-LIMIT Effective date: 20160525 |
|
| PG25 | Lapsed in a contracting state [announced via postgrant information from national office to epo] |
Ref country code: MT Free format text: LAPSE BECAUSE OF FAILURE TO SUBMIT A TRANSLATION OF THE DESCRIPTION OR TO PAY THE FEE WITHIN THE PRESCRIBED TIME-LIMIT Effective date: 20160525 |
|
| PG25 | Lapsed in a contracting state [announced via postgrant information from national office to epo] |
Ref country code: AL Free format text: LAPSE BECAUSE OF FAILURE TO SUBMIT A TRANSLATION OF THE DESCRIPTION OR TO PAY THE FEE WITHIN THE PRESCRIBED TIME-LIMIT Effective date: 20160525 |
|
| PGFP | Annual fee paid to national office [announced via postgrant information from national office to epo] |
Ref country code: DE Payment date: 20221130 Year of fee payment: 13 |
|
| REG | Reference to a national code |
Ref country code: DE Ref legal event code: R084 Ref document number: 502010011751 Country of ref document: DE |
|
| PGFP | Annual fee paid to national office [announced via postgrant information from national office to epo] |
Ref country code: TR Payment date: 20231024 Year of fee payment: 14 |
|
| REG | Reference to a national code |
Ref country code: DE Ref legal event code: R119 Ref document number: 502010011751 Country of ref document: DE |
|
| PG25 | Lapsed in a contracting state [announced via postgrant information from national office to epo] |
Ref country code: DE Free format text: LAPSE BECAUSE OF NON-PAYMENT OF DUE FEES Effective date: 20240601 |
|
| PG25 | Lapsed in a contracting state [announced via postgrant information from national office to epo] |
Ref country code: DE Free format text: LAPSE BECAUSE OF NON-PAYMENT OF DUE FEES Effective date: 20240601 |