EP2436633B1 - Garnewickelvorrichtung mit leiterplatte - Google Patents

Garnewickelvorrichtung mit leiterplatte Download PDF

Info

Publication number
EP2436633B1
EP2436633B1 EP11178069.8A EP11178069A EP2436633B1 EP 2436633 B1 EP2436633 B1 EP 2436633B1 EP 11178069 A EP11178069 A EP 11178069A EP 2436633 B1 EP2436633 B1 EP 2436633B1
Authority
EP
European Patent Office
Prior art keywords
yarn
section
winding
vibration
circuit board
Prior art date
Legal status (The legal status is an assumption and is not a legal conclusion. Google has not performed a legal analysis and makes no representation as to the accuracy of the status listed.)
Active
Application number
EP11178069.8A
Other languages
English (en)
French (fr)
Other versions
EP2436633A3 (de
EP2436633A2 (de
Inventor
Tetsuji Masai
Current Assignee (The listed assignees may be inaccurate. Google has not performed a legal analysis and makes no representation or warranty as to the accuracy of the list.)
Murata Machinery Ltd
Original Assignee
Murata Machinery Ltd
Priority date (The priority date is an assumption and is not a legal conclusion. Google has not performed a legal analysis and makes no representation as to the accuracy of the date listed.)
Filing date
Publication date
Application filed by Murata Machinery Ltd filed Critical Murata Machinery Ltd
Publication of EP2436633A2 publication Critical patent/EP2436633A2/de
Publication of EP2436633A3 publication Critical patent/EP2436633A3/de
Application granted granted Critical
Publication of EP2436633B1 publication Critical patent/EP2436633B1/de
Active legal-status Critical Current
Anticipated expiration legal-status Critical

Links

Images

Classifications

    • BPERFORMING OPERATIONS; TRANSPORTING
    • B65CONVEYING; PACKING; STORING; HANDLING THIN OR FILAMENTARY MATERIAL
    • B65HHANDLING THIN OR FILAMENTARY MATERIAL, e.g. SHEETS, WEBS, CABLES
    • B65H63/00Warning or safety devices, e.g. automatic fault detectors, stop-motions ; Quality control of the package
    • B65H63/04Warning or safety devices, e.g. automatic fault detectors, stop-motions ; Quality control of the package responsive to excessive tension or irregular operation of apparatus
    • BPERFORMING OPERATIONS; TRANSPORTING
    • B65CONVEYING; PACKING; STORING; HANDLING THIN OR FILAMENTARY MATERIAL
    • B65HHANDLING THIN OR FILAMENTARY MATERIAL, e.g. SHEETS, WEBS, CABLES
    • B65H2701/00Handled material; Storage means
    • B65H2701/30Handled filamentary material
    • B65H2701/31Textiles threads or artificial strands of filaments

Definitions

  • the present invention relates to a circuit board and a yarn winding device including the circuit board.
  • a yarn winding device such as an automatic winder has a plurality of unit frames.
  • the unit frame has a box shape, and supports a cradle, a winding drum, a yarn joining device, a yarn guiding device, or the like.
  • the yarn winding device in view of improvement in productivity of a package, it is desired to further increase a winding speed for winding a yarn onto a winding bobbin.
  • the yarn winding device since the package is wound by being rotated at a high speed, a vibration tends to be generated on the unit frame.
  • the vibration generated on the unit frame is excessively increased, an electronic component provided in the unit frame receives an impact, whereby a life of the electronic component is shortened.
  • a leg of the electronic component attached to a printed board may be broken and the electronic component may be detached from the printed board.
  • the yarn winding device does not operate normally. In other words, a winding operation of the yarn winding device is stopped. Consequently, the yarn winding device cannot restart the winding operation until an operator carries out a recovery operation.
  • an operation for attaching the printed board is complicated and a long period of time is required for the operation.
  • the conventional automatic winder may employ control for setting a winding speed to a low speed (so-called touch winding) at a winding start, releasing the touch winding when a package has thickened to some degree, and performing acceleration processing up to an upper limit speed.
  • a winding speed at which a vibration exceeding a tolerance is generated differs depending on respective yarn winding devices.
  • a uniform touch winding speed or upper limit speed has been used for a plurality of yarn winding devices which is provided. Therefore, for the touch winding speed and the upper limit speed, it is necessary to set a low winding speed with an estimation of a great margin in such a manner that a vibration is not generated in any yarn winding device. For this reason, it is impossible to effectively utilize a capability of the yarn winding device as a whole automatic winder. Consequently, it is hard to increase production efficiency for a package.
  • Japanese Unexamined Utility Model Publication No. H2-43876 discloses a structure in which a vibration is detected by an abnormal vibration detector (vibration detecting sensor) provided in a cradle and winding of a package is stopped when a vibration regarded to be an abnormality is generated.
  • Japanese Unexamined Patent Publication No. H6-127833 discloses a structure in which an abnormality of a cradle is diagnosed by an acceleration sensor (vibration detecting sensor) provided in the cradle.
  • a yarn winding device disclosed in Japanese Unexamined Patent Publication No. 2009-208880 has a strain gauge (vibration detecting sensor) attached to a cradle and detects a strength of a vibration of the cradle through the strain gauge.
  • the yarn winding device controls the number of rotations of a package based on an output from the strain gauge.
  • the vibration detecting sensor since the vibration detecting sensor is provided in the cradle, the vibration detecting sensor may not be resistant to the abnormal vibration of the cradle. More specifically, the following description will be given.
  • a control board for controlling a winding operation is provided inside a unit frame. Furthermore, a vibration detecting sensor provided in the cradle and the control board are connected to each other through a signal wire.
  • the vibration detecting sensor In the yarn winding device having the above structure, a package is rotated at a high speed. Therefore, with the structure in which the vibration detecting sensor is provided in the cradle, the vibration detecting sensor directly receives a great vibration from the cradle, and the vibration detecting sensor itself may be broken. Moreover, since a noise tends to enter an analog value that is a result of detection obtained by the vibration detecting sensor, it is also necessary to provide a noise filter as a countermeasure.
  • the yarn winder disclosed in US 5,900,553 has a vibration pickup sensor attached on the outside of the winder frame.
  • the spun yarn winding machine disclosed in JP63-203814 has a vibration sensor attached to the tip of the frame.
  • An object of the present invention is to quickly detect an abnormal vibration of a winding section in the yarn winding device.
  • a circuit board for a yarn winding device includes a circuit board body and a vibration detecting chip provided on the circuit board body.
  • the circuit board by providing the vibration detecting chip on the circuit board body, it is possible to immediately detect a vibration of the yarn winding device. As a result, in the case where the vibration is generated, it is possible for the circuit board to decrease a winding speed or to interrupt a winding operation if necessary. Accordingly, it is possible to prevent an electronic component of the yarn winding device from being damaged by a vibration, and being detached from the circuit board body.
  • the circuit board may further include a signal processing section.
  • the signal processing section is provided on the circuit board body and serves to process a result of detection which is obtained from the vibration detecting chip.
  • the circuit board it is possible to accurately detect a vibration generated in the yarn winding device through the vibration detecting chip.
  • the reason is that the vibration detecting chip and the signal processing section are provided on the circuit board body and a deterioration in a signal is thus caused with difficulty.
  • a yarn winding device includes a yarn feeding section, a winding section, a frame, and a vibration detecting section.
  • the yarn feeding section feeds a spun yarn.
  • the winding section winds the spun yarn fed from the yarn feeding section.
  • the frame supports the winding section.
  • the vibration detecting section is provided in the frame.
  • the vibration detecting section can accurately detect a vibration generated in the winding section. The reason is that, since the vibration detecting section is provided in the frame, the vibration generated in the winding section is transmitted through the frame, and therefore, the vibration detecting section is not directly affected by the vibration generated in the winding section.
  • the yarn winding device may further include the circuit board body.
  • the circuit board body is supported on the frame and is provided with the vibration detecting section.
  • the vibration detecting section can accurately detect the vibration generated in the winding section. The reason is that, since the vibration detecting section is provided on the circuit board body in the frame, the vibration generated in the winding section is transmitted through the frame, and therefore, the vibration detecting section is not directly affected by the vibration generated in the winding section.
  • the yarn winding device may further include a winding control section.
  • the winding control section is provided on the circuit board body and serves to control the winding operation of the winding section.
  • the winding control section controls the winding operation of the winding section based on a result of detection which is obtained from the vibration detecting section.
  • the winding section can immediately carry out the winding operation depending on the result of the detection which is obtained from the vibration detecting section.
  • the reason is that, since the vibration detecting section and the winding control section are provided on the circuit board body, the winding control section can quickly acquire the result of the detection which is obtained from the vibration detecting section.
  • the yarn winding device may further include an operation panel and an operation control section.
  • the operation panel is provided on a surface of the frame.
  • the operation control section is provided on the circuit board body and serves to process a result of operation which is obtained from the operation panel.
  • the circuit board body is disposed in proximity to the operation panel.
  • the vibration detecting section can quickly detect a vibration transmitted from the winding section to the frame.
  • the reason is that the circuit board body provided with the vibration detecting section is disposed in proximity to the operation panel.
  • the yarn winding device may further include a support member provided on a surface inside the frame.
  • the circuit board body is supported on the frame through the support member.
  • the circuit board body can be supported on the frame in a stable posture through the support member.
  • the vibration detecting section can more accurately detect a vibration transmitted from the winding section through the frame.
  • the yarn winding device may further include a yarn defect detecting section, a cutting section, a yarn joining section, an upper yarn guiding section and a lower yarn guiding section.
  • the yarn defect detecting section detects a yarn defect of a spun yarn to be wound by the winding section.
  • the cutting section cuts the spun yarn when the yarn defect is detected by the yarn defect detecting section.
  • the yarn joining section joins a yarn end from the winding section and a yarn end from the yarn feeding section.
  • the upper yarn guiding section guides the yarn end from the winding section to a yarn joining device.
  • the lower yarn guiding section guides the yarn end from the yarn feeding section to the yarn joining device.
  • the yarn defect detecting section, the cutting section, the yarn joining section, the upper yarn guiding section, and the lower yarn guiding section are supported on an outside of the frame.
  • the yarn winding device it is possible to detect, through the vibration detecting section, a vibration generated in the yarn winding device for winding a yarn while removing the yarn defect of the yarn. As a result, the yarn winding device can suppress an abnormal vibration, thereby winding a package through the winding section. Therefore, it is possible to efficiently wind a package of high quality.
  • the yarn feeding section may have a draft section and a pneumatic spinning section.
  • the draft section drafts a sliver.
  • the pneumatic spinning section applies twists to the sliver drafted by the draft section with air.
  • the draft section and the pneumatic spinning section are supported on the outside of the frame.
  • the yarn winding device can suppress an abnormal vibration to wind a package through the winding section. Therefore, it is possible to efficiently wind a package of high quality.
  • the circuit board and the winding device according to the present invention can accurately detect the abnormal vibration of the winding section.
  • FIG. 1 is a schematic view illustrating a yarn winding unit provided in an automatic winder according to an embodiment of the present invention.
  • the automatic winder includes a plurality of yarn winding units 1, a machine control device (not illustrated) for setting a large number of winding conditions of the yarn winding units 1 or the like, and an automatic doffing device (not illustrated), for example.
  • the automatic doffing device is moved to the yarn winding unit 1 generating a doffing request signal and collects a package 205, and attaches a new winding bobbin 203 to the yarn winding unit 1, thereby executing a predetermined yarn hooking operation.
  • the winding bobbin 203 is a member serving as a core of the package 205 and is formed by paper or plastic.
  • the yarn winding unit 1 has a yarn winding body 5 and a unit frame 7.
  • the yarn winding body 5 carries out a winding operation for rewinding a yarn 207 (spun yarn) of a yarn feeding bobbin 201 as the package 205 having a predetermined shape while traversing the yarn 207.
  • the unit frame 7 supports the yarn winding body 5.
  • a unit control section 101 (which will be described below) for controlling an operation of the yarn winding body 5 is provided in the unit frame 7.
  • the yarn winding unit 1 is a device for winding the yarn 207 unwound from the yarn feeding bobbin 201 around the winding bobbin 203 while traversing the yarn 207, thereby forming the package 205 having a predetermined length and a predetermined shape.
  • the yarn winding body 5 has a yarn feeding section 11, a yarn processing execution section 13, and a winding section 15.
  • the yarn feeding section 11 is a device for unwinding and feeding the yarn 207 from the yarn feeding bobbin 201.
  • the yarn feeding section 11 is of a bobbin tray type and the yarn feeding bobbin 201 is sequentially fed to the yarn feeding section 11 of each yarn winding unit 1 in a state fixed to a tray.
  • the yarn feeding section 11 has an unwinding assisting device 19.
  • the unwinding assisting device 19 has a regulating member 20.
  • the yarn processing execution section 13 is a device for processing the yarn 207 fed from the yarn feeding section 11.
  • the yarn processing execution section 13 has a gate type tension applying device 21, a splicer 23 (a yarn joining section), and a yarn clearer 25 (a yarn defect detecting section).
  • the winding section 15 is a device for winding the yarn 207 processed by the yarn processing execution section 13 into the package 205.
  • the winding section 15 has a cradle 29 holding the winding bobbin 203 and a traverse drum 31 for traversing the yarn 207.
  • the yarn feeding section 11, the yarn processing execution section 13, and the winding section 15 are disposed in this order from upstream toward downstream in a yarn traveling direction. For this reason, in a yarn traveling path between the yarn feeding bobbin 201 and the traverse drum 31, the following devices are disposed in order from the upstream (the yarn feeding bobbin 201 side) in the yarn traveling direction. That is, the unwinding assisting device 19, the gate type tension applying device 21, the splicer 23, and the yarn clearer 25 are disposed.
  • the cradle 29 has such a structure that the winding bobbin 203 can be supported rotatably.
  • the cradle 29 is constituted rotatably with respect to the traverse drum 31 and a diameter of the package 205 is increased with a progress of the winding operation of the package 205 so that the cradle 29 is rotated.
  • a suitable contact between the package 205 and the traverse drum 31 is maintained.
  • a spiral traverse groove 31a is formed on a peripheral surface of the traverse drum 31, and the yarn 207 is traversed by the traverse groove 31a.
  • a drum driving motor 97 for rotating the traverse drum 31 and a motor control section 99 are connected to the traverse drum 31.
  • a drum rotating sensor 71 (for example, an encoder) as a sensor for detecting the progress of the winding operation is provided on a rotating shaft of the drum driving motor 97.
  • the unit control section 101 can acquire a rotating speed of the traverse drum 31 by counting the number of rotating pulses transmitted from the drum rotating sensor 71.
  • the unwinding assisting device 19 is a device for moving down the regulating member 20 covering a core tube in conjunction with the unwinding of the yarn fed from the yarn feeding bobbin 201, thereby assisting the unwinding of the yarn fed from the yarn feeding bobbin 201.
  • the regulating member 20 comes in contact with a balloon formed in an upper part of the yarn feeding bobbin 201 by a rotation of the yarn unwound from the yarn feeding bobbin 201 and a centrifugal force, and assists the unwinding of the yarn by applying a proper tension to the balloon.
  • a first driving section 75 In order to drive the unwinding assisting device 19, a first driving section 75 is provided.
  • the first driving section 75 moves the unwinding assisting device 19 upward and downward based on a driving signal sent from the unit control section 101.
  • the gate type tension applying device 21 serves to apply a predetermined tension to the traveling yarn 207.
  • the gate type tension applying device 21 includes a fixed comb tooth and a movable comb tooth.
  • a second driving section 77 is provided in order to drive the movable comb tooth of the gate type tension applying device 21, a second driving section 77 is provided.
  • the second driving section 77 is a rotary type solenoid, for example, and can switch a state in which the comb teeth are engaged with each other and a state in which they are released from each other.
  • the splicer 23 is a device for joining the yarn 207 from the yarn feeding bobbin 201 and the yarn 207 from the package 205 in yarn breakage, yarn cut, or the like.
  • the splicer 23 includes a plurality of levers such as yarn handlers (not illustrated), and a series of operations of the levers is driven by a cam system.
  • a third driving section 79 is provided in order to operate the levers of the splicer 23, a third driving section 79 is provided.
  • the third driving section 79 drives the levers of the splicer 23 based on a driving signal sent from the unit control section 101.
  • the yarn clearer 25 is a device for detecting a defect of the yarn 207.
  • a signal corresponding to a thickness of the yarn 207 fed from the yarn clearer 25 is processed by a proper analyzer so that a yarn defect such as a slub is detected.
  • the yarn clearer 25 is provided with a cutter 25a (cutting section) for yarn cutting in the detection of the yarn defect.
  • a yarn traveling sensor 81 ( FIG. 3 ) is provided to detect traveling of the yarn 207 in the yarn clearer 25. The yarn traveling sensor 81 transmits a yarn cut signal to the unit control section 101 when the traveling of the yarn 207 cannot be detected.
  • a lower yarn guiding pipe 35 (lower yarn guiding section) for sucking and catching the yarn 207 from the yarn feeding bobbin 201 and guiding the yarn 207 to the splicer 23 is provided on a lower side of the splicer 23, and an upper yarn guiding pipe 37 (upper yarn guiding section) for sucking and catching the yarn 207 from the package 205 and guiding the yarn 207 to the splicer 23 is provided on an upper side of the splicer 23.
  • the lower yarn guiding pipe 35 is rotatably attached to the unit frame 7 around a shaft 35a, and a suction port 36 is provided on the tip.
  • the upper yarn guiding pipe 37 is rotatably attached to the unit frame 7 around a shaft 37a, and a suction mouth 38 is provided on the tip.
  • a negative pressure source is connected to the lower yarn guiding pipe 35 and the upper yarn guiding pipe 37. Consequently, a suction flow can be generated in the suction port 36 and the suction mouth 38.
  • a fourth driving section 85 of a stepping type is provided.
  • the fourth driving section 85 can drive the lower yarn guiding pipe 35 to swing around the shaft 35a.
  • the fourth driving section 85 swings the lower yarn guiding pipe 35 based on a driving signal sent from the unit control section 101.
  • the lower yarn guiding pipe 35 is provided with a lower yarn guiding pipe sensor 87 to be connected to the unit control section 101.
  • the lower yarn guiding pipe sensor 87 is constituted as an optical type, for example, and transmits a yarn detecting signal to the unit control section 101 if the yarn 207 sucked into the pipe is detected.
  • a fifth driving section 91 of a stepping type is provided in order to drive the upper yarn guiding pipe 37.
  • the fifth driving section 91 can drive the upper yarn guiding pipe 37 to be swung around the shaft 37a.
  • the fifth driving section 91 can swing the upper yarn guiding pipe 37 based on the driving signal sent from the unit control section 101.
  • the upper yarn guiding pipe 37 is provided with the upper yarn guiding pipe sensor 93.
  • the upper yarn guiding pipe sensor 93 is constituted as an optical type, for example, and transmits a yarn detecting signal to the unit control section 101 if the yarn 207 sucked into the pipe is detected.
  • the lower yarn guiding pipe 35 sucks and catches the yarn 207 from the yarn feeding bobbin 201 at a position illustrated in FIG. 1 , and is swung in an upward direction around the shaft 35a to guide the yarn 207 to the splicer 23.
  • the upper yarn guiding pipe 37 is swung in the upward direction around the shaft 37a from the position illustrated in FIG. 1 , sucks and catches the yarn 207 from the package 205 which is rotated reversely, and furthermore, is swung in a downward direction around the shaft 37a to guide the yarn 207 to the splicer 23.
  • the splicer 23 joins two yarns 207 thus guided by a predetermined yarn joining operation.
  • FIG. 2 is a perspective view illustrating an upper part of the unit frame.
  • the unit frame 7 has the structure for supporting the yarn winding body 5 as described above, and has a pair of side surfaces 41 which are orthogonal to a direction in which the yarn winding unit 1 is arranged, a front surface 43, and a curved surface 45 for connecting the side surface 41 and the front surface 43 to be curved, as illustrated in FIG. 2 .
  • An operation panel 47 is formed across the front surface 43 and the curved surface 45 in the upper part of the unit frame 7.
  • the curved surface 45 is not required to be formed in the unit frame 7.
  • the operation panel 47 includes a front surface section 47a corresponding to the front surface 43 and a pair of curved sections 47b corresponding to the curved surface 45.
  • the front surface section 47a is provided with a display section 49, an operation button unit 51 having a cross-shaped layout, and an operation switch 53 in this order from top to bottom.
  • the display section 49 is a device for laterally arranging and displaying three characters or numerals stored in a RAM (Random Access Memory) provided in the unit control section 101.
  • the operation button unit 51 is constituted by a plurality of buttons. Each of the buttons is electrically connected to a controller 107, and when each of the buttons is pressed down, a signal is transmitted to the controller 107.
  • the operation switch 53 serves to switch the operations of the yarn winding body 5 between driving and stopping.
  • FIG. 3 is a block diagram illustrating a control structure of the yarn winding unit.
  • the unit control section 101 includes a CPU (Central Processing Unit) that is an arithmetic processing unit, a ROM (Read Only Memory) for storing a control program to be executed by the CPU and data to be used in the control program, and a RAM for temporarily storing data in execution of the program.
  • a CPU Central Processing Unit
  • ROM Read Only Memory
  • RAM for temporarily storing data in execution of the program.
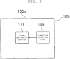
  • the unit control section 101 includes a circuit board 105.
  • the circuit board 105 has a circuit board body 105a, a controller 107 constituted by a CPU, a vibration detecting chip 109 (vibration detecting section), and a signal processing section 111.
  • the controller 107, the vibration detecting chip 109, and the signal processing section 111 are disposed on the circuit board body 105a.
  • FIG. 4 illustrates a block structure of the circuit board 105. More specifically, the vibration detecting chip 109 and the signal processing section 111 are illustrated on the circuit board body 105a.
  • the controller 107 is connected to a plurality of input/output devices and executes various control operations.
  • the controller 107 has a winding control function for controlling the winding operation of the winding section 15, and controls the winding operation of the winding section 15 based on a result of detection which is obtained from the vibration detecting chip 109.
  • the controller 107 further has an operation control function for processing a result of operation obtained from the operation panel 47.
  • the vibration detecting chip 109 is a shock sensor which functions as a vibration detecting section and a single chip provided on the circuit board 105 in the embodiment.
  • the signal processing section 111 amplifies a detecting signal (vibration strength signal) sent from the vibration detecting chip 109 through an amplifier, and then transmits the amplified signal to the controller 107, for example.
  • the controller 107 compares the vibration strength signal with a reference value.
  • the vibration detecting chip 109, the signal processing section 111, and the controller 107 are provided on the circuit board body 105a as described above. Accordingly, a signal transmission time required from the vibration detecting chip 109 to the signal processing section 111 is short. As a result, a time required from the detection of the vibration through the vibration detecting chip 109 to the processing for the result of the detection through the signal processing section 111 is shortened. Furthermore, the controller 107 can accurately acquire the result of the detection which is obtained from the vibration detecting chip 109. As a result, the controller 107 can accurately control the winding section 15. Moreover, the winding section 15 can immediately carry out the winding operation corresponding to the result of the detection which is obtained from the vibration detecting chip 109.
  • the circuit board 105 is provided in the unit frame 7 and the circuit board body 105a is supported on the unit frame 7. With reference to FIG. 5 , description will be given to a structure in which the circuit board 105 is actually attached to the unit frame 7.
  • the unit frame 7 has a plate-shaped support member 61.
  • a plurality of studs 63 are provided on a plane inside the support member 61.
  • the stud 63 is formed separately from or integrally with the support member 61 and is extended vertically from the plane of the support member 61.
  • a screw hole (not illustrated) is formed on a tip of the stud 63.
  • the circuit board 105 is supported on the studs 63, and furthermore, a screw (not illustrated) penetrates through the circuit board 105 and is thus screwed into the screw hole of the stud 63 so that the circuit board body 105a is fixed to the stud 63.
  • the circuit board 105 is provided apart from the winding section 15 of the yarn winding unit 1. Therefore, the vibration detecting chip 109 is not directly affected by a vibration in the winding section 15. Therefore, the vibration detecting chip 109 can accurately detect a vibration generated in the yarn winding unit 1. Moreover, the circuit board body 105a is supported on the unit frame 7 in a stable posture by means of the stud 63. Therefore, the vibration detecting chip 109 can detect a vibration transmitted from the winding section 15 through the unit frame 7 more accurately.
  • the circuit board 105 is disposed in proximity to the operation panel 47. With reference to FIG. 2 , description will be given to a specific place in which the circuit board 105 is to be disposed.
  • the circuit board 105 is disposed in a first section 211 provided below the operation panel 47.
  • the circuit board 105 is disposed in a second section 213 at a rear side of a display section 49 in an upper part of the operation panel 47.
  • the circuit board 105 including the vibration detecting chip 109 is provided in proximity to the surface of the unit frame 7. Therefore, the vibration detecting chip 109 can quickly detect a vibration transmitted from the winding section 15 to the unit frame 7.
  • the motor control section 99 can rotate the traverse drum 31 in a predetermined number of rotations.
  • the motor control section 99 is constituted by hardware including a CPU, a RAM, a ROM, and the like, and a program stored in the ROM, for example.
  • the motor control section 99 controls rotation or stopping of the drum driving motor 97 based on a signal sent from the unit control section 101.
  • the motor control section 99 includes an accelerating section 99a for transmitting an accelerating signal to the drum driving motor 97, and a decelerating section 99b for transmitting a decelerating signal to the drum driving motor 97.
  • the motor control section 99 controls acceleration of the drum driving motor 97 by the accelerating section 99a or controls deceleration of the drum driving motor 97 by the decelerating section 99b based on a result of comparison which is obtained from the controller 107.
  • FIG. 6 is a flowchart for explaining the yarn winding speed control in the yarn winding unit.
  • the following operation is a control operation to be mainly carried out by the controller 107.
  • the controller 107 of the unit control section 101 transmits a signal to the motor control section 99 to increase the winding speed until a predetermined speed (touch winding setting speed) which is lower than a normal speed is reached (step S1).
  • step S2 the controller 107 compares the vibration strength signal subjected to signal processing through the signal processing section 111 with a predetermined value (step S2). If the vibration strength signal is equal to or smaller than the predetermined value, it is determined that there is room for increasing the winding speed and acceleration processing is executed (steps S3 to S5). If the vibration strength signal is greater than the predetermined value, deceleration processing is executed to set the strength of the vibration to be equal to or smaller than the predetermined value (steps S6 to S8).
  • the predetermined value to be used for the comparison in the determination in step S2 is excessively great, the vibration of the cradle 29 is increased so that an electronic component provided on the circuit board 105 or the like is damaged by the vibration. On the contrary, if the predetermined value is excessively small, it is impossible to increase the winding speed greatly. For this reason, a productivity of the yarn winding unit 1 is reduced. Accordingly, a proper value is previously set to be the predetermined value in consideration of the circumstances described above.
  • Steps S3 to S5 indicate the processing for accelerating the winding speed and correspond to the function of the accelerating section 99a.
  • the vibration strength signal is equal to or smaller than the predetermined value in the determination in step S2
  • processing for increasing the winding speed of the drum driving motor 97 by a predetermined speed is repeated until the vibration strength signal is greater than the predetermined value (steps S3 and S4).
  • a rotating speed of the drum driving motor 97 is decelerated to a last rotating speed (that is, a rotating speed at which the vibration strength signal determined to be equal to or smaller than the predetermined value) (step S5) and the acceleration processing is ended.
  • Steps S6 to S8 indicate the processing for decelerating the winding speed and correspond to the function of the decelerating section 99b.
  • the vibration strength signal is greater than the predetermined value in the determination in step S2
  • processing for decreasing the rotating speed of the drum driving motor 97 by a predetermined speed is repeated until the vibration strength signal is equal to or smaller than the predetermined value (steps S6 and S7). If the vibration strength signal is equal to or smaller than the predetermined value, the rotating speed of the drum driving motor 97 is maintained as it is (step S8) and the deceleration processing is ended.
  • step S9 the end of the winding operation is determined when the processing has ended.
  • a winding length at a winding start of the yarn around the empty winding bobbin 203 has reached a predetermined length or not. If the winding length is equal to or greater than the predetermined length, it implies a completion of the package 205, and processing for ending the winding is executed so that the flow is ended. If the winding length is smaller than the predetermined length, the processing returns to step S2, and the winding operation is continued.
  • the controller 107 checks the strength of the vibration again and compares the strength with a predetermined strength, and carries out the acceleration processing or the deceleration processing depending on the result of the comparison.
  • the package 205 generally, a rotation is gradually stabilized when the yarn is wound thickly. Therefore, even for a winding speed which conventionally cannot be implemented because the strength of the vibration exceeds the predetermined value, if the acceleration to the winding speed was carried out again after a package diameter is increased, the strength of the vibration is likely to be maintained at the predetermined value or less.
  • the processings of steps S2 to S9 are repeated so that the winding speed can be gradually increased from the touch winding setting speed along with the thickening of the package 205.
  • the loop of steps S2 to S9 can be continuously executed not only at an initial stage of the winding operation, i.e., a touch winding period, but also after arrival of a normal winding speed.
  • the normal winding speed represents a target winding speed to be input through a manipulation of an input device (not illustrated) by an operator at the start of the winding.
  • the circuit board 105 has the vibration detecting chip 109 provided on the circuit board body 105a. Consequently, it is possible to immediately detect the vibration of the yarn winding unit 1. As a result, in the case in which the vibration is generated, it is possible to decrease the winding speed or to interrupt the winding operation if necessary. Accordingly, it is possible to prevent the electronic component of the yarn winding unit 1 from being damaged by the vibration and being detached from the circuit board body 105a. Moreover, since it is not necessary to newly dispose a special board for detecting a vibration, the number of the components can be reduced.
  • the vibration detecting chip 109 can accurately detect a vibration generated in the yarn winding unit 1. The reason is that the vibration detecting chip 109 and the signal processing section 111 are provided on the circuit board body 105a and a deterioration in a signal is unlikely to occur.
  • the vibration detecting chip 109 can accurately detect the vibration generated in the winding section 15. The reason is that the vibration detecting chip 109 is provided in the unit frame 7. In other words, the vibration generated in the winding section 15 is transmitted through the unit frame 7. For this reason, the vibration detecting chip 109 is not directly affected by the vibration generated in the winding section 15.
  • the yarn winding unit 1 further includes the circuit board body 105a.
  • the circuit board body 105a is supported on the unit frame 7 and is provided with the vibration detecting chip 109.
  • the vibration detecting chip 109 can accurately detect the vibration generated in the winding section 15. The reason is that the vibration detecting chip 109 is provided on the circuit board body 105a in the unit frame 7. In other words, the vibration generated in the winding section 15 is transmitted through the unit frame 7, and therefore, the vibration detecting chip 109 is not directly affected by the vibration generated in the winding section 15.
  • the vibration detecting chip 109 can detect a vibration generated in the yarn winding device for winding a spun yarn while unwinding a yarn defect of the spun yarn. As a result, the yarn winding unit 1 can suppress an abnormal vibration, thereby winding the package 205 through the winding section 15. Thus, it is possible to efficiently wind a package of high quality.
  • the vibration detecting chip 109 By the vibration detecting chip 109, it is possible to detect a vibration generated in the yarn winding unit 1 for forming a spun yarn from the sliver to wind the spun yarn. As a result, the yarn winding unit 1 can suppress an abnormal vibration, and wind the package 205 through the winding section 15. Therefore, it is possible to efficiently wind a package of high quality.
  • the present invention can be widely applied to a circuit board and a yarn winding device including the circuit board.

Landscapes

  • Engineering & Computer Science (AREA)
  • Quality & Reliability (AREA)
  • Filamentary Materials, Packages, And Safety Devices Therefor (AREA)
  • Spinning Or Twisting Of Yarns (AREA)

Claims (6)

  1. Garnwickelvorrichtung (1), umfassend:
    einen Garn-Zufuhrabschnitt (11) zum Zuführen eines gesponnenen Garns (207);
    einen Wickelabschnitt (15) zum Wickeln des gesponnenen Garns (207), welches von dem Garn-Zufuhrabschnitt (11) zugeführt wird;
    einen Rahmen (7) zum Tragen des Wickelabschnitts (15); und
    einen Vibrations-Detektionsabschnitt (109), welcher in dem Rahmen (7) bereitgestellt ist, dadurch gekennzeichnet, dass sie ferner einen Schaltungsplatinenkörper (105a) umfasst, welcher an dem Rahmen (7) getragen und mit dem Vibrations-Detektionsabschnitt (109) bereitgestellt ist.
  2. Garnwickelvorrichtung (1) nach Anspruch 1, dadurch gekennzeichnet, dass sie ferner einen Wickel-Steuer-/Regelabschnitt (107) umfasst, welcher an dem Schaltungsplatinenkörper (105a) zum Steuern/Regeln eines Wickelbetriebs des Wickelabschnitts (15) bereitgestellt ist, wobei der Wickel-Steuer-/Regelabschnitt (107) den Wickelbetrieb des Wickelabschnitts (15) auf Grundlage eines Detektionsergebnisses steuert/regelt, welches von dem Vibrations-Detektionsabschnitt (109) erhalten wird.
  3. Garnwickelvorrichtung (1) nach Anspruch 1 oder 2, dadurch gekennzeichnet, dass sie ferner umfasst:
    ein Betriebspaneel (47), welches an einer Fläche des Rahmens (7) bereitgestellt ist; und
    einen Betriebs-Steuer-/Regelabschnitt (107), welcher an dem Schaltungsplatinenkörper (105a) zum Prozessieren eines Betriebsergebnisses bereitgestellt ist, welches von dem Betriebspaneel (47) erhalten wird, wobei
    der Schaltungsplatinenkörper (105a) nahe zu dem Betriebspaneel (47) angeordnet ist.
  4. Garnwickelvorrichtung (1) nach einem der Ansprüche 1 bis 3, dadurch gekennzeichnet, dass sie ferner ein Trageelement (61) umfasst, welches an einer Fläche innerhalb des Rahmens (7) bereitgestellt ist, wobei
    der Schaltungsplatinenkörper (105a) an dem Rahmen (7) durch das Trageelement (61) getragen ist.
  5. Garnwickelvorrichtung (1) nach einem der Ansprüche 1 bis 4, dadurch gekennzeichnet, dass sie ferner umfasst:
    einen Garndefekt-Detektionsabschnitt (25) zum Detektieren eines Garndefekts des gesponnenen Garns (207), welches von dem Wickelabschnitt (15) gewickelt wird;
    einen Schneidabschnitt (25a) zum Schneiden des gesponnenen Garns (207), wenn der Garndefekt von dem Garndefekt-Detektionsabschnitt detektiert wird;
    einen Garn-Verbindungsabschnitt (23) zum Verbinden eines Garnendes von dem Garn-Wickelabschnitt und eines Garnendes von dem Garn-Zufuhrabschnitt;
    einen oberen Garn-Führungsabschnitt (37) zum Führen des Garnendes von dem Wickelabschnitt zu der Garn-Verbindungsvorrichtung; und
    einen unteren Garn-Führungsabschnitt (35) zum Führen des Garnendes von dem Garn-Zufuhrabschnitt zu der Garn-Verbindungsvorrichtung, wobei
    der Garndefekt-Detektionsabschnitt (25), der Schneidabschnitt (25a), der Garn-Verbindungsabschnitt (23), der obere Garn-Führungsabschnitt (37) und der untere Garn-Führungsabschnitt (35) an einer Außenseite des Rahmens (7) getragen sind.
  6. Garnwickelvorrichtung nach einem der Ansprüche 1 bis 5, dadurch gekennzeichnet, dass
    der Garn-Führungsabschnitt einen
    Ziehabschnitt zum Ziehen eines Vorbandes und
    einen pneumatischen Spinnabschnitt zum Einwirken von Verdrehungen mit Luft auf das von dem Ziehabschnitt gezogene Vorband umfasst, und
    der Ziehabschnitt und der pneumatische Spinnabschnitt an der Außenseite des Rahmens getragen sind.
EP11178069.8A 2010-10-01 2011-08-19 Garnewickelvorrichtung mit leiterplatte Active EP2436633B1 (de)

Applications Claiming Priority (1)

Application Number Priority Date Filing Date Title
JP2010223815A JP2012076884A (ja) 2010-10-01 2010-10-01 糸巻取装置用の回路基板及び糸巻取装置

Publications (3)

Publication Number Publication Date
EP2436633A2 EP2436633A2 (de) 2012-04-04
EP2436633A3 EP2436633A3 (de) 2012-06-27
EP2436633B1 true EP2436633B1 (de) 2016-05-18

Family

ID=44510808

Family Applications (1)

Application Number Title Priority Date Filing Date
EP11178069.8A Active EP2436633B1 (de) 2010-10-01 2011-08-19 Garnewickelvorrichtung mit leiterplatte

Country Status (3)

Country Link
EP (1) EP2436633B1 (de)
JP (1) JP2012076884A (de)
CN (2) CN102442584B (de)

Families Citing this family (6)

* Cited by examiner, † Cited by third party
Publication number Priority date Publication date Assignee Title
JP2012076884A (ja) * 2010-10-01 2012-04-19 Murata Machinery Ltd 糸巻取装置用の回路基板及び糸巻取装置
JP2013252948A (ja) * 2012-06-07 2013-12-19 Murata Machinery Ltd 繊維機械
JP2016155639A (ja) * 2015-02-24 2016-09-01 村田機械株式会社 糸巻取装置及び繊維機械
JP2016204133A (ja) * 2015-04-24 2016-12-08 村田機械株式会社 繊維機械
JP2017065897A (ja) * 2015-09-30 2017-04-06 村田機械株式会社 繊維機械、繊維機械システム、状態取得装置及び繊維処理ユニット
JP2018090379A (ja) * 2016-12-02 2018-06-14 村田機械株式会社 自動ワインダ、糸巻取システム及び糸巻取方法

Family Cites Families (9)

* Cited by examiner, † Cited by third party
Publication number Priority date Publication date Assignee Title
DE3541219A1 (de) * 1985-11-21 1987-05-27 Schubert & Salzer Maschinen Verfahren und vorrichtung zum verspinnen von fasern
JPS63203814A (ja) * 1987-02-18 1988-08-23 Murata Mach Ltd 紡糸捲取機
JPH0243876U (de) 1988-09-21 1990-03-27
JPH06127833A (ja) 1992-10-16 1994-05-10 Murata Mach Ltd クレードルの故障診断装置及びその方法
JPH08301523A (ja) * 1995-04-28 1996-11-19 Toray Ind Inc 糸条の巻取方法およびその巻取装置
EP0950631B1 (de) * 1998-02-14 2003-08-06 Volkmann GmbH Verfahren und Vorrichtung zur Garnaufwicklung auf einen konischen Spulenkörper
JP2009208880A (ja) * 2008-03-03 2009-09-17 Murata Mach Ltd 糸巻取装置及び糸巻取方法
TWI458955B (zh) * 2008-10-27 2014-11-01 Kyoraku Ind Co Ltd 振動檢測裝置
JP2012076884A (ja) * 2010-10-01 2012-04-19 Murata Machinery Ltd 糸巻取装置用の回路基板及び糸巻取装置

Also Published As

Publication number Publication date
CN102442584B (zh) 2016-08-10
CN202369194U (zh) 2012-08-08
EP2436633A3 (de) 2012-06-27
CN102442584A (zh) 2012-05-09
EP2436633A2 (de) 2012-04-04
JP2012076884A (ja) 2012-04-19

Similar Documents

Publication Publication Date Title
EP2436633B1 (de) Garnewickelvorrichtung mit leiterplatte
CN103449257B (zh) 纱线卷取装置、纱线卷取方法以及纱线卷取系统
EP2284300B1 (de) Spinnmaschine und Garnentfernungsverfahren zum Entfernen von verbleibendem Garn auf der Garnzusammentragungsrolle
EP2573217B1 (de) Spinneinheit, Spinnmaschine und Garnverarbeitungsverfahren
EP2690046B1 (de) Garndefektdetektionsvorrichtung und Wickelvorrichtung
JP2013241232A (ja) 糸巻取装置
CN107614406B (zh) 纱线卷绕系统、自动络纱机、精纺机及纱线卷绕方法
EP3072840B1 (de) Garnwickelmaschine und garnwickelverfahren
CN111542481B (zh) 纱线卷绕机
EP2690045A2 (de) Garnüberwachungsvorrichtung, Garnwickeleinheit und Garnwickelmaschine
JP2011037572A (ja) 紡績機
JP2010047406A (ja) 糸巻取装置及びそれを備える自動ワインダ
EP2759623A1 (de) Spinnmaschine, aufnahmevorrichtung, und textilmaschine
EP2690043B1 (de) Vorrichtung zur Erkennung des Antriebsstatus, Wickeleinheit, Wickelmaschine, Spinneinheit und Spinnmaschine
EP2687627A1 (de) Textilmaschine und Verfahren zur regelmäßigen Ungleichmäßigkeitserkennung dafür
JP2014234256A (ja) 糸巻取機
JP2010047407A (ja) 糸巻取装置及びそれを備える自動ワインダ
JP2017132597A (ja) 糸監視装置、糸巻取機、及び自動ワインダ
EP2620403A2 (de) Garnwickelmaschine und Garnwickelverfahren
CN111683888A (zh) 纱线卷取机以及纱线卷取方法
WO2020075444A1 (ja) 糸巻取装置及び糸巻取方法
EP3599299B1 (de) Streckvorrichtung, spinneinheit und spinnmaschine
CN111793863B (zh) 纺纱方法以及纺纱机械
CN106029540A (zh) 纱线卷绕装置、纤维机械以及卷装的形成方法
CN112110288A (zh) 纱线卷取装置以及自动络纱机

Legal Events

Date Code Title Description
PUAI Public reference made under article 153(3) epc to a published international application that has entered the european phase

Free format text: ORIGINAL CODE: 0009012

AK Designated contracting states

Kind code of ref document: A2

Designated state(s): AL AT BE BG CH CY CZ DE DK EE ES FI FR GB GR HR HU IE IS IT LI LT LU LV MC MK MT NL NO PL PT RO RS SE SI SK SM TR

AX Request for extension of the european patent

Extension state: BA ME

PUAL Search report despatched

Free format text: ORIGINAL CODE: 0009013

AK Designated contracting states

Kind code of ref document: A3

Designated state(s): AL AT BE BG CH CY CZ DE DK EE ES FI FR GB GR HR HU IE IS IT LI LT LU LV MC MK MT NL NO PL PT RO RS SE SI SK SM TR

AX Request for extension of the european patent

Extension state: BA ME

RIC1 Information provided on ipc code assigned before grant

Ipc: B65H 63/04 20060101AFI20120518BHEP

17P Request for examination filed

Effective date: 20120911

GRAP Despatch of communication of intention to grant a patent

Free format text: ORIGINAL CODE: EPIDOSNIGR1

INTG Intention to grant announced

Effective date: 20151222

GRAS Grant fee paid

Free format text: ORIGINAL CODE: EPIDOSNIGR3

GRAA (expected) grant

Free format text: ORIGINAL CODE: 0009210

AK Designated contracting states

Kind code of ref document: B1

Designated state(s): AL AT BE BG CH CY CZ DE DK EE ES FI FR GB GR HR HU IE IS IT LI LT LU LV MC MK MT NL NO PL PT RO RS SE SI SK SM TR

REG Reference to a national code

Ref country code: GB

Ref legal event code: FG4D

REG Reference to a national code

Ref country code: CH

Ref legal event code: EP

REG Reference to a national code

Ref country code: IE

Ref legal event code: FG4D

Ref country code: AT

Ref legal event code: REF

Ref document number: 800262

Country of ref document: AT

Kind code of ref document: T

Effective date: 20160615

REG Reference to a national code

Ref country code: DE

Ref legal event code: R096

Ref document number: 602011026665

Country of ref document: DE

Ref country code: CH

Ref legal event code: NV

Representative=s name: SCHMAUDER AND PARTNER AG PATENT- UND MARKENANW, CH

REG Reference to a national code

Ref country code: NL

Ref legal event code: MP

Effective date: 20160518

REG Reference to a national code

Ref country code: LT

Ref legal event code: MG4D

PG25 Lapsed in a contracting state [announced via postgrant information from national office to epo]

Ref country code: NO

Free format text: LAPSE BECAUSE OF FAILURE TO SUBMIT A TRANSLATION OF THE DESCRIPTION OR TO PAY THE FEE WITHIN THE PRESCRIBED TIME-LIMIT

Effective date: 20160818

Ref country code: NL

Free format text: LAPSE BECAUSE OF FAILURE TO SUBMIT A TRANSLATION OF THE DESCRIPTION OR TO PAY THE FEE WITHIN THE PRESCRIBED TIME-LIMIT

Effective date: 20160518

Ref country code: FI

Free format text: LAPSE BECAUSE OF FAILURE TO SUBMIT A TRANSLATION OF THE DESCRIPTION OR TO PAY THE FEE WITHIN THE PRESCRIBED TIME-LIMIT

Effective date: 20160518

Ref country code: LT

Free format text: LAPSE BECAUSE OF FAILURE TO SUBMIT A TRANSLATION OF THE DESCRIPTION OR TO PAY THE FEE WITHIN THE PRESCRIBED TIME-LIMIT

Effective date: 20160518

REG Reference to a national code

Ref country code: AT

Ref legal event code: MK05

Ref document number: 800262

Country of ref document: AT

Kind code of ref document: T

Effective date: 20160518

PG25 Lapsed in a contracting state [announced via postgrant information from national office to epo]

Ref country code: RS

Free format text: LAPSE BECAUSE OF FAILURE TO SUBMIT A TRANSLATION OF THE DESCRIPTION OR TO PAY THE FEE WITHIN THE PRESCRIBED TIME-LIMIT

Effective date: 20160518

Ref country code: HR

Free format text: LAPSE BECAUSE OF FAILURE TO SUBMIT A TRANSLATION OF THE DESCRIPTION OR TO PAY THE FEE WITHIN THE PRESCRIBED TIME-LIMIT

Effective date: 20160518

Ref country code: SE

Free format text: LAPSE BECAUSE OF FAILURE TO SUBMIT A TRANSLATION OF THE DESCRIPTION OR TO PAY THE FEE WITHIN THE PRESCRIBED TIME-LIMIT

Effective date: 20160518

Ref country code: GR

Free format text: LAPSE BECAUSE OF FAILURE TO SUBMIT A TRANSLATION OF THE DESCRIPTION OR TO PAY THE FEE WITHIN THE PRESCRIBED TIME-LIMIT

Effective date: 20160819

Ref country code: PT

Free format text: LAPSE BECAUSE OF FAILURE TO SUBMIT A TRANSLATION OF THE DESCRIPTION OR TO PAY THE FEE WITHIN THE PRESCRIBED TIME-LIMIT

Effective date: 20160919

Ref country code: ES

Free format text: LAPSE BECAUSE OF FAILURE TO SUBMIT A TRANSLATION OF THE DESCRIPTION OR TO PAY THE FEE WITHIN THE PRESCRIBED TIME-LIMIT

Effective date: 20160518

Ref country code: LV

Free format text: LAPSE BECAUSE OF FAILURE TO SUBMIT A TRANSLATION OF THE DESCRIPTION OR TO PAY THE FEE WITHIN THE PRESCRIBED TIME-LIMIT

Effective date: 20160518

PG25 Lapsed in a contracting state [announced via postgrant information from national office to epo]

Ref country code: BE

Free format text: LAPSE BECAUSE OF NON-PAYMENT OF DUE FEES

Effective date: 20160831

PG25 Lapsed in a contracting state [announced via postgrant information from national office to epo]

Ref country code: RO

Free format text: LAPSE BECAUSE OF FAILURE TO SUBMIT A TRANSLATION OF THE DESCRIPTION OR TO PAY THE FEE WITHIN THE PRESCRIBED TIME-LIMIT

Effective date: 20160518

Ref country code: DK

Free format text: LAPSE BECAUSE OF FAILURE TO SUBMIT A TRANSLATION OF THE DESCRIPTION OR TO PAY THE FEE WITHIN THE PRESCRIBED TIME-LIMIT

Effective date: 20160518

Ref country code: SK

Free format text: LAPSE BECAUSE OF FAILURE TO SUBMIT A TRANSLATION OF THE DESCRIPTION OR TO PAY THE FEE WITHIN THE PRESCRIBED TIME-LIMIT

Effective date: 20160518

Ref country code: EE

Free format text: LAPSE BECAUSE OF FAILURE TO SUBMIT A TRANSLATION OF THE DESCRIPTION OR TO PAY THE FEE WITHIN THE PRESCRIBED TIME-LIMIT

Effective date: 20160518

REG Reference to a national code

Ref country code: DE

Ref legal event code: R097

Ref document number: 602011026665

Country of ref document: DE

PG25 Lapsed in a contracting state [announced via postgrant information from national office to epo]

Ref country code: SM

Free format text: LAPSE BECAUSE OF FAILURE TO SUBMIT A TRANSLATION OF THE DESCRIPTION OR TO PAY THE FEE WITHIN THE PRESCRIBED TIME-LIMIT

Effective date: 20160518

Ref country code: BE

Free format text: LAPSE BECAUSE OF FAILURE TO SUBMIT A TRANSLATION OF THE DESCRIPTION OR TO PAY THE FEE WITHIN THE PRESCRIBED TIME-LIMIT

Effective date: 20160518

Ref country code: AT

Free format text: LAPSE BECAUSE OF FAILURE TO SUBMIT A TRANSLATION OF THE DESCRIPTION OR TO PAY THE FEE WITHIN THE PRESCRIBED TIME-LIMIT

Effective date: 20160518

Ref country code: PL

Free format text: LAPSE BECAUSE OF FAILURE TO SUBMIT A TRANSLATION OF THE DESCRIPTION OR TO PAY THE FEE WITHIN THE PRESCRIBED TIME-LIMIT

Effective date: 20160518

PLBE No opposition filed within time limit

Free format text: ORIGINAL CODE: 0009261

STAA Information on the status of an ep patent application or granted ep patent

Free format text: STATUS: NO OPPOSITION FILED WITHIN TIME LIMIT

PG25 Lapsed in a contracting state [announced via postgrant information from national office to epo]

Ref country code: MC

Free format text: LAPSE BECAUSE OF FAILURE TO SUBMIT A TRANSLATION OF THE DESCRIPTION OR TO PAY THE FEE WITHIN THE PRESCRIBED TIME-LIMIT

Effective date: 20160518

26N No opposition filed

Effective date: 20170221

GBPC Gb: european patent ceased through non-payment of renewal fee

Effective date: 20160819

REG Reference to a national code

Ref country code: FR

Ref legal event code: ST

Effective date: 20170428

PG25 Lapsed in a contracting state [announced via postgrant information from national office to epo]

Ref country code: SI

Free format text: LAPSE BECAUSE OF FAILURE TO SUBMIT A TRANSLATION OF THE DESCRIPTION OR TO PAY THE FEE WITHIN THE PRESCRIBED TIME-LIMIT

Effective date: 20160518

REG Reference to a national code

Ref country code: IE

Ref legal event code: MM4A

PG25 Lapsed in a contracting state [announced via postgrant information from national office to epo]

Ref country code: GB

Free format text: LAPSE BECAUSE OF NON-PAYMENT OF DUE FEES

Effective date: 20160819

Ref country code: FR

Free format text: LAPSE BECAUSE OF NON-PAYMENT OF DUE FEES

Effective date: 20160831

Ref country code: IE

Free format text: LAPSE BECAUSE OF NON-PAYMENT OF DUE FEES

Effective date: 20160819

PG25 Lapsed in a contracting state [announced via postgrant information from national office to epo]

Ref country code: LU

Free format text: LAPSE BECAUSE OF NON-PAYMENT OF DUE FEES

Effective date: 20160819

PG25 Lapsed in a contracting state [announced via postgrant information from national office to epo]

Ref country code: HU

Free format text: LAPSE BECAUSE OF FAILURE TO SUBMIT A TRANSLATION OF THE DESCRIPTION OR TO PAY THE FEE WITHIN THE PRESCRIBED TIME-LIMIT; INVALID AB INITIO

Effective date: 20110819

Ref country code: CY

Free format text: LAPSE BECAUSE OF FAILURE TO SUBMIT A TRANSLATION OF THE DESCRIPTION OR TO PAY THE FEE WITHIN THE PRESCRIBED TIME-LIMIT

Effective date: 20160518

PG25 Lapsed in a contracting state [announced via postgrant information from national office to epo]

Ref country code: MK

Free format text: LAPSE BECAUSE OF FAILURE TO SUBMIT A TRANSLATION OF THE DESCRIPTION OR TO PAY THE FEE WITHIN THE PRESCRIBED TIME-LIMIT

Effective date: 20160518

Ref country code: IS

Free format text: LAPSE BECAUSE OF FAILURE TO SUBMIT A TRANSLATION OF THE DESCRIPTION OR TO PAY THE FEE WITHIN THE PRESCRIBED TIME-LIMIT

Effective date: 20160518

Ref country code: TR

Free format text: LAPSE BECAUSE OF FAILURE TO SUBMIT A TRANSLATION OF THE DESCRIPTION OR TO PAY THE FEE WITHIN THE PRESCRIBED TIME-LIMIT

Effective date: 20160518

Ref country code: MT

Free format text: LAPSE BECAUSE OF NON-PAYMENT OF DUE FEES

Effective date: 20160831

PG25 Lapsed in a contracting state [announced via postgrant information from national office to epo]

Ref country code: BG

Free format text: LAPSE BECAUSE OF FAILURE TO SUBMIT A TRANSLATION OF THE DESCRIPTION OR TO PAY THE FEE WITHIN THE PRESCRIBED TIME-LIMIT

Effective date: 20160518

PG25 Lapsed in a contracting state [announced via postgrant information from national office to epo]

Ref country code: AL

Free format text: LAPSE BECAUSE OF FAILURE TO SUBMIT A TRANSLATION OF THE DESCRIPTION OR TO PAY THE FEE WITHIN THE PRESCRIBED TIME-LIMIT

Effective date: 20160518

PGFP Annual fee paid to national office [announced via postgrant information from national office to epo]

Ref country code: CH

Payment date: 20200819

Year of fee payment: 10

REG Reference to a national code

Ref country code: CH

Ref legal event code: PL

PG25 Lapsed in a contracting state [announced via postgrant information from national office to epo]

Ref country code: LI

Free format text: LAPSE BECAUSE OF NON-PAYMENT OF DUE FEES

Effective date: 20210831

Ref country code: CH

Free format text: LAPSE BECAUSE OF NON-PAYMENT OF DUE FEES

Effective date: 20210831

PGFP Annual fee paid to national office [announced via postgrant information from national office to epo]

Ref country code: DE

Payment date: 20250724

Year of fee payment: 15

PGFP Annual fee paid to national office [announced via postgrant information from national office to epo]

Ref country code: IT

Payment date: 20250723

Year of fee payment: 15

PGFP Annual fee paid to national office [announced via postgrant information from national office to epo]

Ref country code: CZ

Payment date: 20250730

Year of fee payment: 15