EP2384792A1 - Feuerschutzvorrichtung - Google Patents
Feuerschutzvorrichtung Download PDFInfo
- Publication number
- EP2384792A1 EP2384792A1 EP10382107A EP10382107A EP2384792A1 EP 2384792 A1 EP2384792 A1 EP 2384792A1 EP 10382107 A EP10382107 A EP 10382107A EP 10382107 A EP10382107 A EP 10382107A EP 2384792 A1 EP2384792 A1 EP 2384792A1
- Authority
- EP
- European Patent Office
- Prior art keywords
- fire
- sector
- curtain
- barrier device
- fire barrier
- Prior art date
- Legal status (The legal status is an assumption and is not a legal conclusion. Google has not performed a legal analysis and makes no representation as to the accuracy of the status listed.)
- Withdrawn
Links
- 230000004888 barrier function Effects 0.000 title claims abstract description 27
- 239000004744 fabric Substances 0.000 claims description 6
- 239000011810 insulating material Substances 0.000 claims description 6
- 238000009413 insulation Methods 0.000 claims description 6
- 230000003042 antagnostic effect Effects 0.000 claims description 2
- 239000006260 foam Substances 0.000 claims description 2
- 239000012634 fragment Substances 0.000 claims description 2
- 239000002184 metal Substances 0.000 claims description 2
- XLYOFNOQVPJJNP-UHFFFAOYSA-N water Substances O XLYOFNOQVPJJNP-UHFFFAOYSA-N 0.000 abstract description 9
- 230000002262 irrigation Effects 0.000 abstract description 4
- 238000003973 irrigation Methods 0.000 abstract description 4
- 239000000463 material Substances 0.000 description 4
- 238000009434 installation Methods 0.000 description 3
- 238000009825 accumulation Methods 0.000 description 1
- 239000007789 gas Substances 0.000 description 1
- 230000005855 radiation Effects 0.000 description 1
- 238000005096 rolling process Methods 0.000 description 1
- 230000035939 shock Effects 0.000 description 1
Images
Classifications
-
- A—HUMAN NECESSITIES
- A62—LIFE-SAVING; FIRE-FIGHTING
- A62C—FIRE-FIGHTING
- A62C2/00—Fire prevention or containment
- A62C2/06—Physical fire-barriers
- A62C2/10—Fire-proof curtains
-
- E—FIXED CONSTRUCTIONS
- E06—DOORS, WINDOWS, SHUTTERS, OR ROLLER BLINDS IN GENERAL; LADDERS
- E06B—FIXED OR MOVABLE CLOSURES FOR OPENINGS IN BUILDINGS, VEHICLES, FENCES OR LIKE ENCLOSURES IN GENERAL, e.g. DOORS, WINDOWS, BLINDS, GATES
- E06B9/00—Screening or protective devices for wall or similar openings, with or without operating or securing mechanisms; Closures of similar construction
- E06B9/02—Shutters, movable grilles, or other safety closing devices, e.g. against burglary
- E06B9/08—Roll-type closures
-
- E—FIXED CONSTRUCTIONS
- E06—DOORS, WINDOWS, SHUTTERS, OR ROLLER BLINDS IN GENERAL; LADDERS
- E06B—FIXED OR MOVABLE CLOSURES FOR OPENINGS IN BUILDINGS, VEHICLES, FENCES OR LIKE ENCLOSURES IN GENERAL, e.g. DOORS, WINDOWS, BLINDS, GATES
- E06B9/00—Screening or protective devices for wall or similar openings, with or without operating or securing mechanisms; Closures of similar construction
- E06B9/56—Operating, guiding or securing devices or arrangements for roll-type closures; Spring drums; Tape drums; Counterweighting arrangements therefor
- E06B9/58—Guiding devices
- E06B9/582—Means to increase gliss, light, sound or thermal insulation
-
- E—FIXED CONSTRUCTIONS
- E06—DOORS, WINDOWS, SHUTTERS, OR ROLLER BLINDS IN GENERAL; LADDERS
- E06B—FIXED OR MOVABLE CLOSURES FOR OPENINGS IN BUILDINGS, VEHICLES, FENCES OR LIKE ENCLOSURES IN GENERAL, e.g. DOORS, WINDOWS, BLINDS, GATES
- E06B9/00—Screening or protective devices for wall or similar openings, with or without operating or securing mechanisms; Closures of similar construction
- E06B9/02—Shutters, movable grilles, or other safety closing devices, e.g. against burglary
- E06B9/08—Roll-type closures
- E06B9/11—Roller shutters
- E06B9/17—Parts or details of roller shutters, e.g. suspension devices, shutter boxes, wicket doors, ventilation openings
- E06B2009/17069—Insulation
Definitions
- the purpose of this invention is a fire barrier device which permits exposure to fire and permits thermal insulation of the side which is not exposed to fire without any need for water irrigation associated with such a device.
- the fire barrier device permits temperatures which do not exceed 180°C more than ambient temperature on the side which is not exposed to fire.
- Fire curtains are known in the state of the art which have an upper rolling and which are able to support exposure to fire only on one side without fire being transferred to the surface which is not exposed due to the passage of flames or hot gases, which may ignite the unexposed surface or any other material adjacent to this surface.
- curtain manufacturers have combined these devices with constant water irrigation, thus obtaining heat insulation of the side which is not exposed to fire.
- This invention refers to a fire barrier device which enables the side which is not exposed to fire to support exposure and which thermally insulates that side, that is, it prevents heat radiation towards that side, all of which obviates any need for constant water irrigation normally associated with the device.
- the fire barrier device is provided with a first curtain arranged in the sector where the fire is located, and a second curtain arranged in a sector adjacent to the sector where the fire is located, where both curtains are separated by an air chamber which thermally insulates the side of the second curtain arranged in the sector adjacent to the sector where the fire is located.
- Said air chamber is provided with at least one entry where the air enters from outside, and with an outlet where hot air exits to the outside.
- this recirculation of air cools the device, maintaining the temperature which does not exceed 180° more than the ambient temperature on the face of the second curtain arranged on the side of the second sector, thus thermally insulating said side of the second sector.
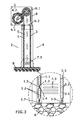
- this invention refers to a fire barrier device which is provided with a first curtain (1) arranged in the sector (2) where the fire is located and a second curtain (3) arranged in a sector (4) adjacent to the sector (2) where the fire is located, where both curtains (1, 3), arranged in parallel are separated by an air chamber (5) 200 mm wide.
- the curtain (1) arranged in the sector (2) where the fire is located comprises rigid insulating material (1.1) for thermal insulation at high temperatures which is covered on both sides by fire proof fabric (1.2).
- This curtain (1) arranged in the sector (2) where the fire is formed by means of a series of layers which are provided in their interior with a fragment of rigid insulating material (1.1), in the external part of the fire proof material (1.2) and they are separated from each other in a vertical direction by respective galvanised plates (1.3), one on each side of the curtain (1) and which occupies the whole width thereof (1) and which are connected by means of rivets (1.4), plates(1.3) between which is arranged in turn in the interior of the fireproof fabric (1.2), a foam laminated joint (1.5).
- the curtain (3) arranged in the sector (4) adjacent to the sector (2) where the fire is located comprises a spongy insulating material (3.1) for thermal insulation at low temperatures which is covered on both sides by a fireproof fabric (3.2).
- This curtain (3) arranged in the sector (4) adjacent to the sector (2) where the fire is located is provided with a series of rivets (3.3) regularly arranged on the surface of the curtain (2) which serve to make it rigid.
- Both the curtain (1) arranged in the sector (2) where the fire is located and the curtain (3) arranged in the sector (4) adjacent to the sector (2) where the fire is located are rolled round respective axes (6.1) arranged in a blind casing (6) arranged over both (1, 3).
- a sealed internal duct is arranged (not shown) which permits pressures to be controlled inside the air chamber (5) and air to be supplied to the interior of said chamber (5) separating both curtains (1, 3).
- Movement of air through the interior of the air chamber (5) is at a constant speed which ensures that heat is dissipated in a way which produces a reduction in the temperature of 350°C of the face in contact with the fire to the face in contact with the air chamber (5) of the curtain (1) arranged in the sector (2) where the fire is located, thus ensuring temperatures which do not exceed 150°C more than the ambient temperature on the face of the curtain (3) arranged in the sector (4) adjacent to the sector (2) where the fire is located.
- the device is 10 m wide and is separated from other adjacent devices which cover an enclosure by means of metal pillars (not shown).
Landscapes
- Engineering & Computer Science (AREA)
- Structural Engineering (AREA)
- Architecture (AREA)
- Civil Engineering (AREA)
- Health & Medical Sciences (AREA)
- Public Health (AREA)
- Business, Economics & Management (AREA)
- Emergency Management (AREA)
- Building Environments (AREA)
- Operating, Guiding And Securing Of Roll- Type Closing Members (AREA)
Priority Applications (1)
| Application Number | Priority Date | Filing Date | Title |
|---|---|---|---|
| EP10382107A EP2384792A1 (de) | 2010-05-04 | 2010-05-04 | Feuerschutzvorrichtung |
Applications Claiming Priority (1)
| Application Number | Priority Date | Filing Date | Title |
|---|---|---|---|
| EP10382107A EP2384792A1 (de) | 2010-05-04 | 2010-05-04 | Feuerschutzvorrichtung |
Publications (1)
| Publication Number | Publication Date |
|---|---|
| EP2384792A1 true EP2384792A1 (de) | 2011-11-09 |
Family
ID=42751886
Family Applications (1)
| Application Number | Title | Priority Date | Filing Date |
|---|---|---|---|
| EP10382107A Withdrawn EP2384792A1 (de) | 2010-05-04 | 2010-05-04 | Feuerschutzvorrichtung |
Country Status (1)
| Country | Link |
|---|---|
| EP (1) | EP2384792A1 (de) |
Cited By (6)
| Publication number | Priority date | Publication date | Assignee | Title |
|---|---|---|---|---|
| CN104060937A (zh) * | 2014-06-30 | 2014-09-24 | 田聪 | 一种防火卷帘 |
| ES2548068A1 (es) * | 2015-07-03 | 2015-10-13 | Universitat Politècnica De València | Cortina de barrera frente a la luz, al ruido, al calor, al fuego y a las radiaciones electromagnéticas |
| EP3225283A1 (de) | 2016-03-29 | 2017-10-04 | FIMARC Zenon Malkowski | Feuerschutzabschluss |
| CN108194001A (zh) * | 2018-01-05 | 2018-06-22 | 安徽清启系统集成有限公司 | 一种轨道列车用消防帘 |
| CN109898967A (zh) * | 2019-02-25 | 2019-06-18 | 徐金刚 | 一种无人控制自动化防火消防隔离门 |
| CN111911058A (zh) * | 2019-05-08 | 2020-11-10 | 关魁魁 | 一种自动触发灭火式防火门 |
Citations (4)
| Publication number | Priority date | Publication date | Assignee | Title |
|---|---|---|---|---|
| GB191023143A (en) * | 1910-10-06 | 1911-02-09 | James Godfrey Wilson | Improvements in Fireproof Structures. |
| US3955323A (en) * | 1975-06-04 | 1976-05-11 | Canadian Patents And Development Limited | Means for retarding the spread of fire from a building space |
| EP1559449A1 (de) * | 2004-01-27 | 2005-08-03 | Goldfire Sprl | Biegsame Wand mit feuerbeständigen Eigenschaften |
| US20060150533A1 (en) * | 2004-12-27 | 2006-07-13 | Yu-Chang Lin | Double-layer fireproof curtain apparatus |
-
2010
- 2010-05-04 EP EP10382107A patent/EP2384792A1/de not_active Withdrawn
Patent Citations (4)
| Publication number | Priority date | Publication date | Assignee | Title |
|---|---|---|---|---|
| GB191023143A (en) * | 1910-10-06 | 1911-02-09 | James Godfrey Wilson | Improvements in Fireproof Structures. |
| US3955323A (en) * | 1975-06-04 | 1976-05-11 | Canadian Patents And Development Limited | Means for retarding the spread of fire from a building space |
| EP1559449A1 (de) * | 2004-01-27 | 2005-08-03 | Goldfire Sprl | Biegsame Wand mit feuerbeständigen Eigenschaften |
| US20060150533A1 (en) * | 2004-12-27 | 2006-07-13 | Yu-Chang Lin | Double-layer fireproof curtain apparatus |
Cited By (11)
| Publication number | Priority date | Publication date | Assignee | Title |
|---|---|---|---|---|
| CN104060937A (zh) * | 2014-06-30 | 2014-09-24 | 田聪 | 一种防火卷帘 |
| ES2548068A1 (es) * | 2015-07-03 | 2015-10-13 | Universitat Politècnica De València | Cortina de barrera frente a la luz, al ruido, al calor, al fuego y a las radiaciones electromagnéticas |
| WO2017005948A1 (es) * | 2015-07-03 | 2017-01-12 | Universitat Politècnica De Valencia | Cortina de barrera frente a la luz, al ruido, al calor, al fuego y a las radiaciones electromagnéticas |
| US10867592B2 (en) | 2015-07-03 | 2020-12-15 | Universitat Politecnica De Valencia | Curtain providing a barrier against light, noise, heat, fire and electromagnetic radiation |
| EP3225283A1 (de) | 2016-03-29 | 2017-10-04 | FIMARC Zenon Malkowski | Feuerschutzabschluss |
| EP3679987A1 (de) | 2016-03-29 | 2020-07-15 | FIMARC Zenon Malkowski | Feuerschutzabschluss |
| CN108194001A (zh) * | 2018-01-05 | 2018-06-22 | 安徽清启系统集成有限公司 | 一种轨道列车用消防帘 |
| CN109898967A (zh) * | 2019-02-25 | 2019-06-18 | 徐金刚 | 一种无人控制自动化防火消防隔离门 |
| CN109898967B (zh) * | 2019-02-25 | 2021-02-05 | 涡阳县幸福门业有限公司 | 一种无人控制自动化防火消防隔离门 |
| CN111911058A (zh) * | 2019-05-08 | 2020-11-10 | 关魁魁 | 一种自动触发灭火式防火门 |
| CN111911058B (zh) * | 2019-05-08 | 2022-08-12 | 安徽通晓防火门有限公司 | 一种自动触发灭火式防火门 |
Similar Documents
| Publication | Publication Date | Title |
|---|---|---|
| EP2384792A1 (de) | Feuerschutzvorrichtung | |
| EP0198858B1 (de) | Feuerfestes schranksystem für elektronische ausrüstung | |
| CN102946949B (zh) | 防火-或防烟装置 | |
| EP3542870B1 (de) | Belüftungssystem für ein gebäude mit einer rauchabzugsfunktionalität und verfahren zum betreiben dieses systems | |
| US10375843B2 (en) | Switchgear exhaust assembly | |
| KR100803315B1 (ko) | 복사열 차단기능이 구비된 고층건물 환기시스템 | |
| US20040216900A1 (en) | Method and apparatus for fighting a fire in an enclosed space in an aircraft | |
| JP2003111858A (ja) | 防火防煙区画形成システム | |
| JP6636763B2 (ja) | カーテンウォール | |
| JP6431416B2 (ja) | 冷媒配管系の防火区画貫通部に設置される耐火キャップの脱落防止装置および脱落防止方法 | |
| WO2007067810A2 (en) | Tunnel fire protection system | |
| TWM496677U (zh) | 防火捲門之捲幕箱布幕氣密結構改良 | |
| CN112918303A (zh) | 一种防火型电动汽车充电桩及智慧防火型充电站 | |
| ES2832703T3 (es) | Cerramiento de protección contra incendios | |
| JPH09268852A (ja) | 建築用遮熱シャッタ− | |
| KR102212160B1 (ko) | 선박용 화재 셔터 | |
| KR102664728B1 (ko) | 방화유리창 지지용 창호프레임의 구조 | |
| KR102240543B1 (ko) | 병실을 활용한 병원 화재 유독가스 방어시스템 | |
| US10739014B2 (en) | System and method to cool an exposed surface of an appliance | |
| KR100859526B1 (ko) | 수평 이동형 접이식 셔터 | |
| KR20240109730A (ko) | 방화 슬라이딩 창호 | |
| ITMO20110097A1 (it) | Pannello per la conversione di energia solare. | |
| KR101706261B1 (ko) | 공동주택 공동구 화염 확산 방지 장치 | |
| CN114945413A (zh) | 防灾器具和防灾设备 | |
| SU784803A3 (ru) | Утепленное сборное сооружение |
Legal Events
| Date | Code | Title | Description |
|---|---|---|---|
| AK | Designated contracting states |
Kind code of ref document: A1 Designated state(s): AL AT BE BG CH CY CZ DE DK EE ES FI FR GB GR HR HU IE IS IT LI LT LU LV MC MK MT NL NO PL PT RO SE SI SK SM TR |
|
| AX | Request for extension of the european patent |
Extension state: BA ME RS |
|
| PUAI | Public reference made under article 153(3) epc to a published international application that has entered the european phase |
Free format text: ORIGINAL CODE: 0009012 |
|
| 17P | Request for examination filed |
Effective date: 20120327 |
|
| STAA | Information on the status of an ep patent application or granted ep patent |
Free format text: STATUS: THE APPLICATION IS DEEMED TO BE WITHDRAWN |
|
| 18D | Application deemed to be withdrawn |
Effective date: 20131203 |