EP2201885B2 - Dishwasher - Google Patents
Dishwasher Download PDFInfo
- Publication number
- EP2201885B2 EP2201885B2 EP09015603.5A EP09015603A EP2201885B2 EP 2201885 B2 EP2201885 B2 EP 2201885B2 EP 09015603 A EP09015603 A EP 09015603A EP 2201885 B2 EP2201885 B2 EP 2201885B2
- Authority
- EP
- European Patent Office
- Prior art keywords
- washing liquid
- dishwasher
- washing
- pump
- operating
- Prior art date
- Legal status (The legal status is an assumption and is not a legal conclusion. Google has not performed a legal analysis and makes no representation as to the accuracy of the status listed.)
- Active
Links
- 238000005406 washing Methods 0.000 claims description 158
- 239000007788 liquid Substances 0.000 claims description 102
- 238000005507 spraying Methods 0.000 claims description 23
- 238000005259 measurement Methods 0.000 claims description 17
- 230000008859 change Effects 0.000 claims description 15
- 238000011017 operating method Methods 0.000 claims description 13
- 230000000704 physical effect Effects 0.000 claims description 11
- 239000003599 detergent Substances 0.000 claims description 4
- 238000000034 method Methods 0.000 description 9
- 238000012545 processing Methods 0.000 description 5
- 230000008901 benefit Effects 0.000 description 4
- 230000004913 activation Effects 0.000 description 3
- 238000011109 contamination Methods 0.000 description 3
- 238000005485 electric heating Methods 0.000 description 3
- 239000012530 fluid Substances 0.000 description 3
- 238000010438 heat treatment Methods 0.000 description 3
- 230000002401 inhibitory effect Effects 0.000 description 3
- 230000000670 limiting effect Effects 0.000 description 3
- 239000007921 spray Substances 0.000 description 3
- XLYOFNOQVPJJNP-UHFFFAOYSA-N water Substances O XLYOFNOQVPJJNP-UHFFFAOYSA-N 0.000 description 3
- 238000004891 communication Methods 0.000 description 2
- 235000013409 condiments Nutrition 0.000 description 2
- 230000000694 effects Effects 0.000 description 2
- 239000010794 food waste Substances 0.000 description 2
- 230000002411 adverse Effects 0.000 description 1
- 238000004458 analytical method Methods 0.000 description 1
- 230000003749 cleanliness Effects 0.000 description 1
- 239000000356 contaminant Substances 0.000 description 1
- 238000001035 drying Methods 0.000 description 1
- 230000005484 gravity Effects 0.000 description 1
- 239000000463 material Substances 0.000 description 1
- 238000005086 pumping Methods 0.000 description 1
- 230000009467 reduction Effects 0.000 description 1
- 230000002829 reductive effect Effects 0.000 description 1
- 230000007704 transition Effects 0.000 description 1
Images
Classifications
-
- A—HUMAN NECESSITIES
- A47—FURNITURE; DOMESTIC ARTICLES OR APPLIANCES; COFFEE MILLS; SPICE MILLS; SUCTION CLEANERS IN GENERAL
- A47L—DOMESTIC WASHING OR CLEANING; SUCTION CLEANERS IN GENERAL
- A47L15/00—Washing or rinsing machines for crockery or tableware
- A47L15/0018—Controlling processes, i.e. processes to control the operation of the machine characterised by the purpose or target of the control
- A47L15/0055—Metering or indication of used products, e.g. type or quantity of detergent, rinse aid or salt; for measuring or controlling the product concentration
-
- A—HUMAN NECESSITIES
- A47—FURNITURE; DOMESTIC ARTICLES OR APPLIANCES; COFFEE MILLS; SPICE MILLS; SUCTION CLEANERS IN GENERAL
- A47L—DOMESTIC WASHING OR CLEANING; SUCTION CLEANERS IN GENERAL
- A47L15/00—Washing or rinsing machines for crockery or tableware
- A47L15/42—Details
- A47L15/4297—Arrangements for detecting or measuring the condition of the washing water, e.g. turbidity
-
- A—HUMAN NECESSITIES
- A47—FURNITURE; DOMESTIC ARTICLES OR APPLIANCES; COFFEE MILLS; SPICE MILLS; SUCTION CLEANERS IN GENERAL
- A47L—DOMESTIC WASHING OR CLEANING; SUCTION CLEANERS IN GENERAL
- A47L15/00—Washing or rinsing machines for crockery or tableware
- A47L15/0018—Controlling processes, i.e. processes to control the operation of the machine characterised by the purpose or target of the control
- A47L15/0049—Detection or prevention of malfunction, including accident prevention
-
- A—HUMAN NECESSITIES
- A47—FURNITURE; DOMESTIC ARTICLES OR APPLIANCES; COFFEE MILLS; SPICE MILLS; SUCTION CLEANERS IN GENERAL
- A47L—DOMESTIC WASHING OR CLEANING; SUCTION CLEANERS IN GENERAL
- A47L15/00—Washing or rinsing machines for crockery or tableware
- A47L15/42—Details
- A47L15/4214—Water supply, recirculation or discharge arrangements; Devices therefor
- A47L15/4219—Water recirculation
-
- A—HUMAN NECESSITIES
- A47—FURNITURE; DOMESTIC ARTICLES OR APPLIANCES; COFFEE MILLS; SPICE MILLS; SUCTION CLEANERS IN GENERAL
- A47L—DOMESTIC WASHING OR CLEANING; SUCTION CLEANERS IN GENERAL
- A47L15/00—Washing or rinsing machines for crockery or tableware
- A47L15/42—Details
- A47L15/4214—Water supply, recirculation or discharge arrangements; Devices therefor
- A47L15/4225—Arrangements or adaption of recirculation or discharge pumps
-
- A—HUMAN NECESSITIES
- A47—FURNITURE; DOMESTIC ARTICLES OR APPLIANCES; COFFEE MILLS; SPICE MILLS; SUCTION CLEANERS IN GENERAL
- A47L—DOMESTIC WASHING OR CLEANING; SUCTION CLEANERS IN GENERAL
- A47L2401/00—Automatic detection in controlling methods of washing or rinsing machines for crockery or tableware, e.g. information provided by sensors entered into controlling devices
- A47L2401/10—Water cloudiness or dirtiness, e.g. turbidity, foaming or level of bacteria
-
- A—HUMAN NECESSITIES
- A47—FURNITURE; DOMESTIC ARTICLES OR APPLIANCES; COFFEE MILLS; SPICE MILLS; SUCTION CLEANERS IN GENERAL
- A47L—DOMESTIC WASHING OR CLEANING; SUCTION CLEANERS IN GENERAL
- A47L2501/00—Output in controlling method of washing or rinsing machines for crockery or tableware, i.e. quantities or components controlled, or actions performed by the controlling device executing the controlling method
- A47L2501/05—Drain or recirculation pump, e.g. regulation of the pump rotational speed or flow direction
-
- A—HUMAN NECESSITIES
- A47—FURNITURE; DOMESTIC ARTICLES OR APPLIANCES; COFFEE MILLS; SPICE MILLS; SUCTION CLEANERS IN GENERAL
- A47L—DOMESTIC WASHING OR CLEANING; SUCTION CLEANERS IN GENERAL
- A47L2501/00—Output in controlling method of washing or rinsing machines for crockery or tableware, i.e. quantities or components controlled, or actions performed by the controlling device executing the controlling method
- A47L2501/26—Indication or alarm to the controlling device or to the user
Definitions
- This invention relates to an operating method for a dishwasher.
- Such a dishwasher usually comprises:
- the turbidity of the washing liquid is measured by the dishwasher during an initial step of the washing cycle.
- the dishwasher implements a more or less vigorous cycle.
- the turbidity measurement may be influenced by the particular conditions in which that measurement is performed.
- washing liquid turbulence can distort the correct measurement.
- the technical purpose which forms the basis of this invention is to propose a dishwasher that overcomes the above-mentioned disadvantages of the prior art.
- Document EP1929925A2 discloses an operating, method for a dishwasher in which the turbidity of wash water during washing is detected to determine next washing operation for washing dish contaminants by using wash water.
- Document US3,888,269 discloses an operating method for a dishwasher in which the cleanliness condition of the dishes at the end of each subcycle is sensed and the length of the drying cycle is automatically controlled.
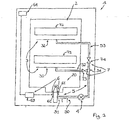
- Figure 1 is a schematic view of a dishwasher in accordance with this invention.
- the dishwasher 1 comprises:
- the washing liquid comprises water, to which detergent, rinse aid, etc. may be added. After coming into contact with the dishes, the washing liquid also comprises the dirt (usually condiments and food residues) removed from the dishes washed.
- the dishwasher 1 comprises a motor-driven pump 4.
- the motor-driven pump 4 is preferably a variable speed pump. In addition to a nominal speed and a zero speed, the variable speed pump 4 also has other operating speeds.
- the pump 4 comprises a rotating impeller. In particular, the pump 4 is of the centrifugal type.
- the dishwasher 1 also comprises ducting means 5 connecting the washing compartment 2 and the spraying means 3.
- the pump 4 is located along the ducting means 5 in order to pump the washing liquid from the washing compartment 2 to the spraying means 3. Therefore, the washing liquid passes through the pump 4.
- the ducting means 5 may connect the spraying means 3 to the bottom 20 of the washing compartment 2. In the bottom 20 of the compartment, the washing liquid sprayed by the spraying means 3 gathers due to the effect of gravity and (as already indicated) may be pumped back to the spraying means 3.
- the dishwasher 1 also comprises means 6 for determining at least one physical property of the washing liquid.
- Said determining means 6 comprise a sensor 60 located in the washing compartment 2 or along the ducting means 5.
- the turbidity sensor 60 is preferably located in a recess made on the bottom of the washing compartment 2, the recess being part of one end of the ducting means 5.
- the sensor 60 can detect the dirtiness of the washing liquid (preferably in transit) at the sensor 60.
- the sensor 60 is a turbidity sensor. It comprises an emitter 61 of a beam of light and a receiver 62 which is sensitive to the beam of light:
- the washing liquid is made to pass between the emitter 61 and the receiver 62.
- the receiver 62 is opposite the emitter 61.
- the greater the intensity of the beam of light striking the receiver 62 the cleaner the washing liquid is.
- the contamination is dirt removed from the dishes, but as is described in more detail below, the sensor 60 could also be used to measure the amount of rinse aid contained in the washing liquid.
- the senor 60 could comprise two electrodes and measure the electrical conductivity of the washing liquid located between the two electrodes.
- the dishwasher 1 adopts a first operating reference condition. This is the case for the entire life of the dishwasher 1.
- the reading by the sensor 60 for measuring the dirtiness of the washing liquid might not occur during the washing cycle or it might occur one or more times during the washing cycle.
- the flow processed by the pump 4 substantially always adopts the same predetermined value (which may also be zero). The value is always the same irrespective of the washing cycle implemented by the dishwasher 1.
- the expression "the flow processed by the pump 4" refers to the flow of washing liquid which passes through the pump 4.
- the pressure head of the pump 4 adopts a predetermined value which is always substantially the same. It is known that a pump (in particular a centrifugal pump) may adopt predetermined combinations of pressure head and flow values. Said combinations depend on the speed of rotation of the pump and the resistance of the circuit (linked to circuit load losses).
- the dishwasher 1 acts on the geometry of the ducting means 5 (for example, by introducing nar-rowings in the transit cross-section of the ducting means 5).
- the sensor 60 could have other applications, for example for checking that the correct amount of rinse aid has been dispensed (such information could provide the user with indications about how much rinse aid is left).
- the dishwasher 1 in its lifetime, at least during each reading performed by the sensor 60 for checking correct dispensing of the rinse aid, adopts a second operating reference condition.
- the flow processed by the pump 4 substantially always adopts the same predetermined value (which may also be zero; even with zero flow the sensor 60 is in a zone flooded with the washing liquid).
- the predetermined value adopted by the flow processed by the pump 4 in the first operating reference condition may or may not coincide with that adopted in the second operating condition.
- the first operating reference condition may coincide with the second operating reference condition.
- the first and second operating reference conditions are linked to particular operating conditions in which the dishwasher attempts to create standardised conditions to allow a better comparison of the measurements performed by the sensor 60. However, they do not correspond to the dishwasher 1 normal operating conditions (meaning that compared with the length of an entire washing cycle, the dishwasher 1 adopts the first or the second operating reference condition for a very limited time). During a time interval before and/or after the adoption of said first operating reference condition, the dishwasher 1 adopts a washing operating condition in which the flow processed by the pump 4 adopts at least one non-zero value different from that adopted during the first operating reference condition.
- the dishwasher 1 adopts a washing operating condition in which the flow processed by the pump 4 adopts at least one non-zero value different from that adopted during the second operating reference condition.
- the pump 4 adopts a first predetermined speed of rotation value that is always the same. Said first predetermined value may even be equal to 0. That allows the sensor 60 reading to be performed in conditions which are standardised as far as possible (with obvious advantages in terms of reading repeatability and stability).
- the flow processed by the pump 4 is between 5 and 50 litres/minute, preferably between 10 and 30 litres/minute, advantageously being equal to 20 litres/ minute.
- the first predetermined speed of rotation value is adopted both if two or more readings are performed during the same washing cycle and if the readings are repeated in a series of separate washing cycles.
- the pump 4 in contrast adopts at least one operating condition (suitably associated with the washing operating condition) in which it adopts at least a second non-zero speed of rotation value different from the first value.
- the first operating reference condition is adopted by the dishwasher 1 at least during each reading performed by the sensor 60 for measuring the dirtiness of the washing liquid.
- the pump 4 reduces its speed of rotation in order to reduce the turbulence of the washing liquid at the sensor 60.
- the measurement performed by the turbidity sensor 60 could be adversely affected by the turbulence of the washing liquid.
- the first operating reference condition also applies to a first predetermined time period immediately preceding the reading performed by the sensor 60 and is intended to measure the dirtiness of the washing liquid. This allows the sensor 60 to perform the reading after the flow in the ducting means 5 has stabilised (avoiding readings performed during transition periods).
- the first predetermined time period is between 15 seconds and 4 minutes, preferably between 2 and 3 minutes.
- the dishwasher 1 also comprises means for changing the geometry of the ducting means 5 whose activation determines a change in the load losses of the ducting means 5, allowing the dishwasher 1 to switch from the washing operating condition to the first operating reference condition or vice versa.
- the means for changing the geometry comprise elements able to narrow or widen a cross-section of the ducting means 5 in which the washing liquid flows.
- the means for changing the geometry of the ducting means 5 determine an increase in the load losses and a consequent reduction in the flow processed by the pump 4.
- the dishwasher 1 comprises a first racks 71 on which the articles to be washed can be placed.
- the spraying means 3 comprise a first sprayer 31 located under the first rack 71.
- the dishwasher 1 comprises means 7 for shutting off the washing liquid which, at least during each reading performed by the sensor 60 for measuring the dirtiness of the washing liquid, prevent the washing liquid from flowing through the first sprayer 31 (advantageously, this occurs irrespective of the parameters set by the user and/or irrespective of the moment of the washing cycle when the reading is performed).
- the shutoff means 7 prevent the washing liquid from flowing through the first sprayer 31.
- the washing liquid shutoff means 7 may also be seen as an example of the means for changing the geometry of the ducting means 5.
- the dishwasher 1 usually comprises a second rack 72 on which the articles to be washed can be placed, this second rack 72 being above the first rack 71.
- the spraying means 3 comprise a second sprayer 32 interposed between the first and second racks 71, 72.
- the second sprayer 32 may be fed with the washing liquid.
- the dishes placed on the first rack 71 intercept the liquid sprayed by the second sprayer 32, breaking up the jet and slowing its fall.
- the Applicant has demonstrated by experimentation that activation of the second sprayer 32 does not particularly interfere with the reading by the sensor 60.
- the ducting means 5 comprise a pipe 51 extending from the washing compartment 2. Relative to the direction of washing liquid outflow from the compartment 2 to the spraying means 3, the pipe 51 has a branch 54 downstream of the pump 4. Departing from the branch 54, there is a first duct 52, allowing fluid communication with the first sprayer 31, and a second duct 53, allowing fluid communication with the second sprayer 32.
- washing liquid shutoff means 7 Relative to the direction and orientation of washing fluid outflow, downstream of the branch 54 the washing liquid shutoff means 7 comprise:
- the shutoff means 7 comprise a single valve located at the branch 54.
- Said valve comprises one inlet and two outlets made at the branch 54.
- the inlet is made at one end of the pipe 51.
- One of the two outlets is located at one end of the first duct 52.
- the other outlet is located at one end of the second duct 53.
- an electric heating element 50 which heats the washing liquid.
- the electric heating element 50 may be of the tubular type.
- the electric heating element 50 could be positioned at the pump 4 delivery side.
- the first and/or the second rack 71, 72 are at least partly formed by a plurality of wires which are woven together to form meshes through which the washing liquid can pass freely. During washing the first and second racks are inside the washing compartment 2. Both the first rack and the second rack 71, 72 can normally be removed from the washing compartment 2 to make dish loading and unloading easier.
- the shutoff means 7 also prevent the washing liquid from flowing into the first sprayer 31 during a lapse of time immediately preceding the reading performed by the sensor 60. This allows a sensor 60 reading to be performed in a condition which is as stable as possible, leaving the system the time needed to dampen the effects linked to the previous activation of the first sprayer 31.
- Said lapse of time is between 15 seconds and 4 minutes, preferably between 2 and 3 minutes.
- the first and second sprayers 31, 32 are free to rotate about an axis of rotation.
- the rotation of the first sprayer 31 is caused by the pressurised liquid flowing inside the first sprayer 31.
- the rotation of the second sprayer 32 is caused by the pressurised liquid flowing inside the second sprayer 32.
- the dishwasher 1 adopts the first operating reference condition simultaneously with the shutoff means 7 inhibiting the washing liquid from flowing into the first sprayer 31.
- the pump 4 adopts a speed of rotation which is greater than the first predetermined value.
- said predetermined time is between 1 and 3 minutes, preferably equal to 2 minutes.
- the dishes are heated (preferably to 40°C). This is done by dedicated heating means or by heating.the washing liquid which is sprayed against the dishes.
- the dishes are heated immediately before the dishwasher adopts the first operating reference condition. Said dish heating is optional, since fluidification of the dirt can also be achieved with washing liquid which is not pre-heated:
- the first sprayer 31 sprays the washing liquid in the washing compartment 2.
- the dirtiest dishes are normally placed in the first rack 71. Therefore, vigorous washing of the dishes in the first rack 71 allows better fluidification in the washing liquid of the dirt from the dishes to be washed (allowing correct measurement of the dirtiness of the dishes).
- the dishwasher 1 comprises an electronic control system which controls adjustment of the pump 4 speed of rotation and/or the shutoff means 7 of the first sprayer 31 and/or the means for changing the geometry of the ducting means 5.
- the electronic control system can implement a pre-saved algorithm which before using the sensor 60 to perform a reading for measuring the dirtiness of the washing liquid allows adjustment of the flow through the pump 4 (in particular, it allows control of the adjustment to the speed of rotation of the pump 4 and/or the shutoff means 7 of the first sprayer 31 and/or the means for changing the geometry of the ducting means 5).
- the means 6 for determining at least one physical property of the washing liquid comprise at least one data processing device 63 which analyses the results of the readings supplied by the sensor 60.
- the reading by the sensor 60 for measuring the dirtiness of the washing liquid takes a period of between 10 and 30 seconds, preferably 20 seconds.
- the data processing device 63 averages the values detected during the reading and identifies a value which is compared with predetermined ranges each associated with a different washing liquid dirtiness (or turbidity).
- the dishwasher 1 will select to continue washing by implementing a more or less vigorous cycle.
- This invention relates to a method for checking the dispensing of a correct amount of rinse aid in the washing liquid of a dishwasher 1. Said method is implemented by a dishwasher 1 comprising one or of the technical features described above. The method also comprises the following steps:
- the physical property of the washing liquid analysed using the sensor 60 is normally turbidity.
- the second operating reference condition dishwasher 1 may coincide with the dishwasher 1 first operating reference condition.
- the pump 4 speed of rotation in the first operating condition may or may not coincide with that adopted in the second operating condition.
- it allows the user to select an automatic washing programme in which the dishwasher 1 itself can change at least some washing parameters depending how dirty the dishes are.
- This invention relates to a method for measuring the dirtiness of the dishes placed in a washing compartment 2 of a dishwasher 1.
- the method may therefore be implemented using a dishwasher having one or more of the technical features of the dishwasher 1 described above.
- the method involves implementation of the following steps:
- the pump 4 speed of rotation may be changed (in particular reduced) or the geometry of the ducting means 5 may be changed in order to change (in particular increase) the load losses.
- the flow adjustment step precedes the first operating reference condition for a period of time equal to the first predetermined time period (advantageously between 15 seconds and 4 minutes):
- the turbidity of the washing liquid is associated with the dirtiness of the washing liquid and therefore the dirtiness of the dishes placed in the washing compartment 2.
- the dishwasher 1 compares the turbidity value measured using the sensor 60 with various predetermined turbidity thresholds each associated with a different degree of dirtiness.
- the dishwasher 1 may then select implementation of subsequent more or less vigorous washing steps.
- the method also comprises the step of preventing the washing liquid from flowing through the first sprayer 31 designed to spray the washing liquid from below the first rack 71.
- the step of preventing the washing liquid from flowing through the first sprayer 31 is at least partly simultaneous with the step of measuring the turbidity of the washing liquid at the sensor 60.
- the step of inhibiting the washing liquid from flowing through the first sprayer 31 also applies to a lapse of time immediately preceding the reading of the dirtiness of the washing liquid performed by the sensor 60. As already indicated, said lapse of time is between 15 seconds and 4 minutes.
- the step of adjusting the pump 4 speed and/or inhibiting the washing liquid from flowing through the first sprayer 31 precedes the step of measuring the turbidity of the washing liquid.
Landscapes
- Washing And Drying Of Tableware (AREA)
- Detergent Compositions (AREA)
Priority Applications (1)
| Application Number | Priority Date | Filing Date | Title |
|---|---|---|---|
| PL09015603T PL2201885T3 (pl) | 2008-12-22 | 2009-12-17 | Zmywarka do naczyń |
Applications Claiming Priority (1)
| Application Number | Priority Date | Filing Date | Title |
|---|---|---|---|
| ITRN2008A000067A IT1392420B1 (it) | 2008-12-22 | 2008-12-22 | Lavastoviglie. |
Publications (3)
| Publication Number | Publication Date |
|---|---|
| EP2201885A1 EP2201885A1 (en) | 2010-06-30 |
| EP2201885B1 EP2201885B1 (en) | 2013-11-20 |
| EP2201885B2 true EP2201885B2 (en) | 2020-07-08 |
Family
ID=41259837
Family Applications (1)
| Application Number | Title | Priority Date | Filing Date |
|---|---|---|---|
| EP09015603.5A Active EP2201885B2 (en) | 2008-12-22 | 2009-12-17 | Dishwasher |
Country Status (3)
| Country | Link |
|---|---|
| EP (1) | EP2201885B2 (pl) |
| IT (1) | IT1392420B1 (pl) |
| PL (1) | PL2201885T3 (pl) |
Families Citing this family (6)
| Publication number | Priority date | Publication date | Assignee | Title |
|---|---|---|---|---|
| JP5257419B2 (ja) * | 2010-07-29 | 2013-08-07 | パナソニック株式会社 | 食器洗い機 |
| ITTO20101045A1 (it) * | 2010-12-23 | 2012-06-24 | Indesit Co Spa | Metodo per il rilevamento di un agente brillantante in un liquido di risciacquo di una macchina di lavaggio di uso domestico, in particolare una lavastoviglie, e relativa macchina di lavaggio. |
| JP5669702B2 (ja) * | 2011-09-22 | 2015-02-12 | 三菱電機株式会社 | 食器洗浄機 |
| CN105125151A (zh) * | 2015-10-13 | 2015-12-09 | 佛山市顺德区美的洗涤电器制造有限公司 | 洗碗机 |
| CN105662301B (zh) * | 2016-02-29 | 2018-05-29 | 宁波方太厨具有限公司 | 一种水槽式清洗机的洗涤方法 |
| CN113818187B (zh) * | 2020-06-18 | 2023-06-13 | 云米互联科技(广东)有限公司 | 循环喷淋洗涤方法及系统、存储介质、洗涤装置 |
Citations (12)
| Publication number | Priority date | Publication date | Assignee | Title |
|---|---|---|---|---|
| DE1957422A1 (de) † | 1968-11-15 | 1970-05-27 | Matsushita Electric Ind Co Ltd | Waschmaschine |
| DE4435096A1 (de) † | 1994-09-30 | 1996-04-04 | Aeg Hausgeraete Gmbh | Haushalt-Geschirrspülmaschine |
| EP1208790A2 (de) † | 2000-11-28 | 2002-05-29 | Miele & Cie. GmbH & Co. | Geschirrspülmaschine mit einer Einrichtung zur Verhinderung einer Schaum- oder Luftblasenansammlung in der Messzone eines Trübungssensors |
| DE10111006A1 (de) † | 2001-03-07 | 2002-11-07 | Miele & Cie | Verfahren zum Abgleichen eines Trübungssensors |
| US20040003830A1 (en) † | 2002-07-02 | 2004-01-08 | Maytag Corporation | Method of operating a dishwasher pump and filtration system |
| US20040216774A1 (en) † | 2003-04-29 | 2004-11-04 | Miele & Cie. Kg | Device for a turbidity sensor for a dishwasher or washing machine |
| WO2006050767A2 (de) † | 2004-11-15 | 2006-05-18 | Emz-Hanauer Gmbh & Co. Kgaa | Verfahren zum ermitteln einer eigenschaft eines fluids für ein haushaltsgerät |
| EP1669017A1 (de) † | 2004-12-11 | 2006-06-14 | Electrolux Home Products Corporation N.V. | Verfahren zum Betrieb einer Geschirrspülmaschine |
| US7371288B2 (en) † | 2003-07-03 | 2008-05-13 | Lg Electronics Inc. | Dishwasher and method for controlling the same |
| EP1945089A1 (de) † | 2005-10-19 | 2008-07-23 | BSH Bosch und Siemens Hausgeräte GmbH | Geschirrspülmaschine und betriebsverfahren für eine geschirrspülmaschine |
| WO2009004014A1 (en) † | 2007-07-02 | 2009-01-08 | Arcelik Anonim Sirketi | A dishwasher |
| EP2022384A1 (en) † | 2007-08-03 | 2009-02-11 | Electrolux Home Products Corporation N.V. | Method for controlling a dishwashing machine |
Family Cites Families (4)
| Publication number | Priority date | Publication date | Assignee | Title |
|---|---|---|---|---|
| US3888269A (en) * | 1973-07-17 | 1975-06-10 | Whirlpool Co | Control system for dishwasher |
| DE10253009B3 (de) * | 2002-11-14 | 2004-04-08 | Whirlpool Corp., Benton Harbor | Verfahren zum Betrieb einer Geschirrspülmaschine |
| KR20060010361A (ko) * | 2004-07-28 | 2006-02-02 | 엘지전자 주식회사 | 식기 세척기의 탁도 센서 장착 구조 |
| KR20080050834A (ko) * | 2006-12-04 | 2008-06-10 | 삼성전자주식회사 | 식기세척기의 세척제어장치 및 그 방법 |
-
2008
- 2008-12-22 IT ITRN2008A000067A patent/IT1392420B1/it active
-
2009
- 2009-12-17 PL PL09015603T patent/PL2201885T3/pl unknown
- 2009-12-17 EP EP09015603.5A patent/EP2201885B2/en active Active
Patent Citations (12)
| Publication number | Priority date | Publication date | Assignee | Title |
|---|---|---|---|---|
| DE1957422A1 (de) † | 1968-11-15 | 1970-05-27 | Matsushita Electric Ind Co Ltd | Waschmaschine |
| DE4435096A1 (de) † | 1994-09-30 | 1996-04-04 | Aeg Hausgeraete Gmbh | Haushalt-Geschirrspülmaschine |
| EP1208790A2 (de) † | 2000-11-28 | 2002-05-29 | Miele & Cie. GmbH & Co. | Geschirrspülmaschine mit einer Einrichtung zur Verhinderung einer Schaum- oder Luftblasenansammlung in der Messzone eines Trübungssensors |
| DE10111006A1 (de) † | 2001-03-07 | 2002-11-07 | Miele & Cie | Verfahren zum Abgleichen eines Trübungssensors |
| US20040003830A1 (en) † | 2002-07-02 | 2004-01-08 | Maytag Corporation | Method of operating a dishwasher pump and filtration system |
| US20040216774A1 (en) † | 2003-04-29 | 2004-11-04 | Miele & Cie. Kg | Device for a turbidity sensor for a dishwasher or washing machine |
| US7371288B2 (en) † | 2003-07-03 | 2008-05-13 | Lg Electronics Inc. | Dishwasher and method for controlling the same |
| WO2006050767A2 (de) † | 2004-11-15 | 2006-05-18 | Emz-Hanauer Gmbh & Co. Kgaa | Verfahren zum ermitteln einer eigenschaft eines fluids für ein haushaltsgerät |
| EP1669017A1 (de) † | 2004-12-11 | 2006-06-14 | Electrolux Home Products Corporation N.V. | Verfahren zum Betrieb einer Geschirrspülmaschine |
| EP1945089A1 (de) † | 2005-10-19 | 2008-07-23 | BSH Bosch und Siemens Hausgeräte GmbH | Geschirrspülmaschine und betriebsverfahren für eine geschirrspülmaschine |
| WO2009004014A1 (en) † | 2007-07-02 | 2009-01-08 | Arcelik Anonim Sirketi | A dishwasher |
| EP2022384A1 (en) † | 2007-08-03 | 2009-02-11 | Electrolux Home Products Corporation N.V. | Method for controlling a dishwashing machine |
Also Published As
| Publication number | Publication date |
|---|---|
| IT1392420B1 (it) | 2012-03-02 |
| EP2201885A1 (en) | 2010-06-30 |
| EP2201885B1 (en) | 2013-11-20 |
| PL2201885T3 (pl) | 2014-04-30 |
| ITRN20080067A1 (it) | 2010-06-23 |
Similar Documents
| Publication | Publication Date | Title |
|---|---|---|
| EP2201885B2 (en) | Dishwasher | |
| US6918398B2 (en) | Systems and methods for controlling warewasher wash cycle duration, detecting water levels and priming warewasher chemical feed lines | |
| EP2490582B1 (en) | Warewash machine with soil detection and method of detecting soiling in such a warewash machine | |
| KR101375493B1 (ko) | 식기 세척기 | |
| US20100175718A1 (en) | Apparatus and associated method for controlling a washing fluid level in a dishwasher | |
| JPH09510647A (ja) | 濁度検知機構を有する皿洗い機 | |
| US20120298146A1 (en) | Warewash machine with soil detection | |
| US9420937B2 (en) | Dishwasher with dynamically controlled cycle of operation | |
| CN103037748B (zh) | 餐具清洗机 | |
| CN112543610A (zh) | 洗碗机及其方法 | |
| JP2009240546A (ja) | 食器洗い機 | |
| KR102367883B1 (ko) | 식기세척기 및 그 제어방법 | |
| CN102984985B (zh) | 餐具清洗机 | |
| KR20060010361A (ko) | 식기 세척기의 탁도 센서 장착 구조 | |
| US20180340693A1 (en) | Method for identifying a degree of soiling of a cooking appliance interior | |
| EP2160970B1 (en) | Weight sensing method for dishwashers | |
| CN111163672A (zh) | 洗碗机和用于运行洗碗机的方法 | |
| EP3469977A1 (en) | Method for selecting washing operation for a dishwasher | |
| KR100722017B1 (ko) | 식기 세척기 및 그 제어 방법 | |
| KR101065697B1 (ko) | 식기세척기의 에어 브레이크 어셈블리 및 이를 이용한급수제어방법 | |
| CA2601528A1 (en) | Multitank conveyor-type dishwasher and an operating method for it | |
| EP3826521B1 (en) | Commercial dishwasher comprising a system for ascertaining fresh water consumption by the dishwasher | |
| EP2471432B9 (en) | Method for detecting a rinse agent in a rinsing liquid of a household washing machine, in particular a dishwasher and washing machine thereof | |
| KR101581757B1 (ko) | 식기세척기 및 그의 운전제어방법 | |
| KR101053572B1 (ko) | 식기 세척기 및 행정 제어방법 |
Legal Events
| Date | Code | Title | Description |
|---|---|---|---|
| PUAI | Public reference made under article 153(3) epc to a published international application that has entered the european phase |
Free format text: ORIGINAL CODE: 0009012 |
|
| AK | Designated contracting states |
Kind code of ref document: A1 Designated state(s): AT BE BG CH CY CZ DE DK EE ES FI FR GB GR HR HU IE IS IT LI LT LU LV MC MK MT NL NO PL PT RO SE SI SK SM TR |
|
| AX | Request for extension of the european patent |
Extension state: AL BA RS |
|
| 17P | Request for examination filed |
Effective date: 20101214 |
|
| GRAP | Despatch of communication of intention to grant a patent |
Free format text: ORIGINAL CODE: EPIDOSNIGR1 |
|
| INTG | Intention to grant announced |
Effective date: 20130719 |
|
| GRAS | Grant fee paid |
Free format text: ORIGINAL CODE: EPIDOSNIGR3 |
|
| GRAA | (expected) grant |
Free format text: ORIGINAL CODE: 0009210 |
|
| AK | Designated contracting states |
Kind code of ref document: B1 Designated state(s): AT BE BG CH CY CZ DE DK EE ES FI FR GB GR HR HU IE IS IT LI LT LU LV MC MK MT NL NO PL PT RO SE SI SK SM TR |
|
| REG | Reference to a national code |
Ref country code: GB Ref legal event code: FG4D |
|
| REG | Reference to a national code |
Ref country code: CH Ref legal event code: EP |
|
| REG | Reference to a national code |
Ref country code: AT Ref legal event code: REF Ref document number: 641083 Country of ref document: AT Kind code of ref document: T Effective date: 20131215 |
|
| REG | Reference to a national code |
Ref country code: IE Ref legal event code: FG4D |
|
| REG | Reference to a national code |
Ref country code: DE Ref legal event code: R096 Ref document number: 602009020163 Country of ref document: DE Effective date: 20140116 |
|
| REG | Reference to a national code |
Ref country code: NL Ref legal event code: VDEP Effective date: 20131120 |
|
| REG | Reference to a national code |
Ref country code: AT Ref legal event code: MK05 Ref document number: 641083 Country of ref document: AT Kind code of ref document: T Effective date: 20131120 |
|
| REG | Reference to a national code |
Ref country code: LT Ref legal event code: MG4D |
|
| PG25 | Lapsed in a contracting state [announced via postgrant information from national office to epo] |
Ref country code: NO Free format text: LAPSE BECAUSE OF FAILURE TO SUBMIT A TRANSLATION OF THE DESCRIPTION OR TO PAY THE FEE WITHIN THE PRESCRIBED TIME-LIMIT Effective date: 20140220 Ref country code: SE Free format text: LAPSE BECAUSE OF FAILURE TO SUBMIT A TRANSLATION OF THE DESCRIPTION OR TO PAY THE FEE WITHIN THE PRESCRIBED TIME-LIMIT Effective date: 20131120 Ref country code: HR Free format text: LAPSE BECAUSE OF FAILURE TO SUBMIT A TRANSLATION OF THE DESCRIPTION OR TO PAY THE FEE WITHIN THE PRESCRIBED TIME-LIMIT Effective date: 20131120 Ref country code: FI Free format text: LAPSE BECAUSE OF FAILURE TO SUBMIT A TRANSLATION OF THE DESCRIPTION OR TO PAY THE FEE WITHIN THE PRESCRIBED TIME-LIMIT Effective date: 20131120 Ref country code: LT Free format text: LAPSE BECAUSE OF FAILURE TO SUBMIT A TRANSLATION OF THE DESCRIPTION OR TO PAY THE FEE WITHIN THE PRESCRIBED TIME-LIMIT Effective date: 20131120 Ref country code: IS Free format text: LAPSE BECAUSE OF FAILURE TO SUBMIT A TRANSLATION OF THE DESCRIPTION OR TO PAY THE FEE WITHIN THE PRESCRIBED TIME-LIMIT Effective date: 20140320 Ref country code: NL Free format text: LAPSE BECAUSE OF FAILURE TO SUBMIT A TRANSLATION OF THE DESCRIPTION OR TO PAY THE FEE WITHIN THE PRESCRIBED TIME-LIMIT Effective date: 20131120 |
|
| REG | Reference to a national code |
Ref country code: PL Ref legal event code: T3 |
|
| PG25 | Lapsed in a contracting state [announced via postgrant information from national office to epo] |
Ref country code: ES Free format text: LAPSE BECAUSE OF FAILURE TO SUBMIT A TRANSLATION OF THE DESCRIPTION OR TO PAY THE FEE WITHIN THE PRESCRIBED TIME-LIMIT Effective date: 20131120 Ref country code: AT Free format text: LAPSE BECAUSE OF FAILURE TO SUBMIT A TRANSLATION OF THE DESCRIPTION OR TO PAY THE FEE WITHIN THE PRESCRIBED TIME-LIMIT Effective date: 20131120 Ref country code: BE Free format text: LAPSE BECAUSE OF FAILURE TO SUBMIT A TRANSLATION OF THE DESCRIPTION OR TO PAY THE FEE WITHIN THE PRESCRIBED TIME-LIMIT Effective date: 20131120 Ref country code: LV Free format text: LAPSE BECAUSE OF FAILURE TO SUBMIT A TRANSLATION OF THE DESCRIPTION OR TO PAY THE FEE WITHIN THE PRESCRIBED TIME-LIMIT Effective date: 20131120 |
|
| PG25 | Lapsed in a contracting state [announced via postgrant information from national office to epo] |
Ref country code: PT Free format text: LAPSE BECAUSE OF FAILURE TO SUBMIT A TRANSLATION OF THE DESCRIPTION OR TO PAY THE FEE WITHIN THE PRESCRIBED TIME-LIMIT Effective date: 20140320 |
|
| PG25 | Lapsed in a contracting state [announced via postgrant information from national office to epo] |
Ref country code: EE Free format text: LAPSE BECAUSE OF FAILURE TO SUBMIT A TRANSLATION OF THE DESCRIPTION OR TO PAY THE FEE WITHIN THE PRESCRIBED TIME-LIMIT Effective date: 20131120 |
|
| REG | Reference to a national code |
Ref country code: CH Ref legal event code: PL |
|
| REG | Reference to a national code |
Ref country code: DE Ref legal event code: R026 Ref document number: 602009020163 Country of ref document: DE |
|
| PLBI | Opposition filed |
Free format text: ORIGINAL CODE: 0009260 |
|
| PG25 | Lapsed in a contracting state [announced via postgrant information from national office to epo] |
Ref country code: MC Free format text: LAPSE BECAUSE OF FAILURE TO SUBMIT A TRANSLATION OF THE DESCRIPTION OR TO PAY THE FEE WITHIN THE PRESCRIBED TIME-LIMIT Effective date: 20131120 Ref country code: CZ Free format text: LAPSE BECAUSE OF FAILURE TO SUBMIT A TRANSLATION OF THE DESCRIPTION OR TO PAY THE FEE WITHIN THE PRESCRIBED TIME-LIMIT Effective date: 20131120 Ref country code: RO Free format text: LAPSE BECAUSE OF FAILURE TO SUBMIT A TRANSLATION OF THE DESCRIPTION OR TO PAY THE FEE WITHIN THE PRESCRIBED TIME-LIMIT Effective date: 20131120 Ref country code: SK Free format text: LAPSE BECAUSE OF FAILURE TO SUBMIT A TRANSLATION OF THE DESCRIPTION OR TO PAY THE FEE WITHIN THE PRESCRIBED TIME-LIMIT Effective date: 20131120 |
|
| PLAX | Notice of opposition and request to file observation + time limit sent |
Free format text: ORIGINAL CODE: EPIDOSNOBS2 |
|
| 26 | Opposition filed |
Opponent name: ELECTROLUX APPLIANCES AKTIEBOLAG Effective date: 20140820 Opponent name: ARCELIK ANONIM SIRKETI Effective date: 20140815 |
|
| REG | Reference to a national code |
Ref country code: IE Ref legal event code: MM4A |
|
| PG25 | Lapsed in a contracting state [announced via postgrant information from national office to epo] |
Ref country code: DK Free format text: LAPSE BECAUSE OF FAILURE TO SUBMIT A TRANSLATION OF THE DESCRIPTION OR TO PAY THE FEE WITHIN THE PRESCRIBED TIME-LIMIT Effective date: 20131120 |
|
| REG | Reference to a national code |
Ref country code: DE Ref legal event code: R026 Ref document number: 602009020163 Country of ref document: DE Effective date: 20140815 |
|
| PG25 | Lapsed in a contracting state [announced via postgrant information from national office to epo] |
Ref country code: CH Free format text: LAPSE BECAUSE OF NON-PAYMENT OF DUE FEES Effective date: 20131231 Ref country code: LI Free format text: LAPSE BECAUSE OF NON-PAYMENT OF DUE FEES Effective date: 20131231 Ref country code: IE Free format text: LAPSE BECAUSE OF NON-PAYMENT OF DUE FEES Effective date: 20131217 |
|
| PLAF | Information modified related to communication of a notice of opposition and request to file observations + time limit |
Free format text: ORIGINAL CODE: EPIDOSCOBS2 |
|
| PG25 | Lapsed in a contracting state [announced via postgrant information from national office to epo] |
Ref country code: SI Free format text: LAPSE BECAUSE OF FAILURE TO SUBMIT A TRANSLATION OF THE DESCRIPTION OR TO PAY THE FEE WITHIN THE PRESCRIBED TIME-LIMIT Effective date: 20131120 |
|
| PLBB | Reply of patent proprietor to notice(s) of opposition received |
Free format text: ORIGINAL CODE: EPIDOSNOBS3 |
|
| PLAB | Opposition data, opponent's data or that of the opponent's representative modified |
Free format text: ORIGINAL CODE: 0009299OPPO |
|
| PG25 | Lapsed in a contracting state [announced via postgrant information from national office to epo] |
Ref country code: SM Free format text: LAPSE BECAUSE OF FAILURE TO SUBMIT A TRANSLATION OF THE DESCRIPTION OR TO PAY THE FEE WITHIN THE PRESCRIBED TIME-LIMIT Effective date: 20131120 |
|
| R26 | Opposition filed (corrected) |
Opponent name: ARCELIK ANONIM SIRKETI Effective date: 20140815 |
|
| PG25 | Lapsed in a contracting state [announced via postgrant information from national office to epo] |
Ref country code: CY Free format text: LAPSE BECAUSE OF FAILURE TO SUBMIT A TRANSLATION OF THE DESCRIPTION OR TO PAY THE FEE WITHIN THE PRESCRIBED TIME-LIMIT Effective date: 20131120 |
|
| PG25 | Lapsed in a contracting state [announced via postgrant information from national office to epo] |
Ref country code: HU Free format text: LAPSE BECAUSE OF FAILURE TO SUBMIT A TRANSLATION OF THE DESCRIPTION OR TO PAY THE FEE WITHIN THE PRESCRIBED TIME-LIMIT; INVALID AB INITIO Effective date: 20091217 Ref country code: BG Free format text: LAPSE BECAUSE OF FAILURE TO SUBMIT A TRANSLATION OF THE DESCRIPTION OR TO PAY THE FEE WITHIN THE PRESCRIBED TIME-LIMIT Effective date: 20131120 Ref country code: MK Free format text: LAPSE BECAUSE OF FAILURE TO SUBMIT A TRANSLATION OF THE DESCRIPTION OR TO PAY THE FEE WITHIN THE PRESCRIBED TIME-LIMIT Effective date: 20131120 Ref country code: LU Free format text: LAPSE BECAUSE OF NON-PAYMENT OF DUE FEES Effective date: 20131217 |
|
| PG25 | Lapsed in a contracting state [announced via postgrant information from national office to epo] |
Ref country code: GR Free format text: LAPSE BECAUSE OF NON-PAYMENT OF DUE FEES Effective date: 20131120 Ref country code: MT Free format text: LAPSE BECAUSE OF FAILURE TO SUBMIT A TRANSLATION OF THE DESCRIPTION OR TO PAY THE FEE WITHIN THE PRESCRIBED TIME-LIMIT Effective date: 20131120 |
|
| REG | Reference to a national code |
Ref country code: FR Ref legal event code: PLFP Year of fee payment: 7 |
|
| PG25 | Lapsed in a contracting state [announced via postgrant information from national office to epo] |
Ref country code: GR Free format text: LAPSE BECAUSE OF FAILURE TO SUBMIT A TRANSLATION OF THE DESCRIPTION OR TO PAY THE FEE WITHIN THE PRESCRIBED TIME-LIMIT Effective date: 20140221 |
|
| APAH | Appeal reference modified |
Free format text: ORIGINAL CODE: EPIDOSCREFNO |
|
| APBM | Appeal reference recorded |
Free format text: ORIGINAL CODE: EPIDOSNREFNO |
|
| APBP | Date of receipt of notice of appeal recorded |
Free format text: ORIGINAL CODE: EPIDOSNNOA2O |
|
| APBM | Appeal reference recorded |
Free format text: ORIGINAL CODE: EPIDOSNREFNO |
|
| APBP | Date of receipt of notice of appeal recorded |
Free format text: ORIGINAL CODE: EPIDOSNNOA2O |
|
| REG | Reference to a national code |
Ref country code: FR Ref legal event code: PLFP Year of fee payment: 8 |
|
| APBQ | Date of receipt of statement of grounds of appeal recorded |
Free format text: ORIGINAL CODE: EPIDOSNNOA3O |
|
| APBQ | Date of receipt of statement of grounds of appeal recorded |
Free format text: ORIGINAL CODE: EPIDOSNNOA3O |
|
| RAP2 | Party data changed (patent owner data changed or rights of a patent transferred) |
Owner name: WHIRLPOOL EMEA S.P.A |
|
| REG | Reference to a national code |
Ref country code: FR Ref legal event code: PLFP Year of fee payment: 9 |
|
| PGFP | Annual fee paid to national office [announced via postgrant information from national office to epo] |
Ref country code: TR Payment date: 20171214 Year of fee payment: 9 |
|
| APBU | Appeal procedure closed |
Free format text: ORIGINAL CODE: EPIDOSNNOA9O |
|
| PGFP | Annual fee paid to national office [announced via postgrant information from national office to epo] |
Ref country code: PL Payment date: 20191028 Year of fee payment: 11 |
|
| PUAH | Patent maintained in amended form |
Free format text: ORIGINAL CODE: 0009272 |
|
| STAA | Information on the status of an ep patent application or granted ep patent |
Free format text: STATUS: PATENT MAINTAINED AS AMENDED |
|
| 27A | Patent maintained in amended form |
Effective date: 20200708 |
|
| AK | Designated contracting states |
Kind code of ref document: B2 Designated state(s): AT BE BG CH CY CZ DE DK EE ES FI FR GB GR HR HU IE IS IT LI LT LU LV MC MK MT NL NO PL PT RO SE SI SK SM TR |
|
| REG | Reference to a national code |
Ref country code: DE Ref legal event code: R102 Ref document number: 602009020163 Country of ref document: DE |
|
| PGFP | Annual fee paid to national office [announced via postgrant information from national office to epo] |
Ref country code: IT Payment date: 20211110 Year of fee payment: 13 |
|
| PG25 | Lapsed in a contracting state [announced via postgrant information from national office to epo] |
Ref country code: TR Free format text: LAPSE BECAUSE OF NON-PAYMENT OF DUE FEES Effective date: 20181217 |
|
| P01 | Opt-out of the competence of the unified patent court (upc) registered |
Effective date: 20230523 |
|
| REG | Reference to a national code |
Ref country code: DE Ref legal event code: R082 Ref document number: 602009020163 Country of ref document: DE Ref country code: DE Ref legal event code: R081 Ref document number: 602009020163 Country of ref document: DE Owner name: WHIRLPOOL EMEA S.R.L., IT Free format text: FORMER OWNER: INDESIT CO. S.P.A., FABRIANO, AN, IT |
|
| PG25 | Lapsed in a contracting state [announced via postgrant information from national office to epo] |
Ref country code: IT Free format text: LAPSE BECAUSE OF NON-PAYMENT OF DUE FEES Effective date: 20221217 |
|
| PG25 | Lapsed in a contracting state [announced via postgrant information from national office to epo] |
Ref country code: PL Free format text: THE PATENT HAS BEEN ANNULLED BY A DECISION OF A NATIONAL AUTHORITY Effective date: 20201008 |
|
| PG25 | Lapsed in a contracting state [announced via postgrant information from national office to epo] |
Ref country code: PL Free format text: THE PATENT HAS BEEN ANNULLED BY A DECISION OF A NATIONAL AUTHORITY Effective date: 20201008 |
|
| PGFP | Annual fee paid to national office [announced via postgrant information from national office to epo] |
Ref country code: GB Payment date: 20241218 Year of fee payment: 16 |
|
| PGFP | Annual fee paid to national office [announced via postgrant information from national office to epo] |
Ref country code: FR Payment date: 20241227 Year of fee payment: 16 |
|
| PGFP | Annual fee paid to national office [announced via postgrant information from national office to epo] |
Ref country code: DE Payment date: 20241227 Year of fee payment: 16 |