EP2199461B1 - Trockenkammer zur dielektrischen Trocknung eines Guts, insbesondere einer Papierbahn - Google Patents
Trockenkammer zur dielektrischen Trocknung eines Guts, insbesondere einer Papierbahn Download PDFInfo
- Publication number
- EP2199461B1 EP2199461B1 EP09173151A EP09173151A EP2199461B1 EP 2199461 B1 EP2199461 B1 EP 2199461B1 EP 09173151 A EP09173151 A EP 09173151A EP 09173151 A EP09173151 A EP 09173151A EP 2199461 B1 EP2199461 B1 EP 2199461B1
- Authority
- EP
- European Patent Office
- Prior art keywords
- drying chamber
- housing
- chamber according
- waveguides
- dielectric
- Prior art date
- Legal status (The legal status is an assumption and is not a legal conclusion. Google has not performed a legal analysis and makes no representation as to the accuracy of the status listed.)
- Not-in-force
Links
- 238000001035 drying Methods 0.000 title claims description 99
- 238000002276 dielectric drying Methods 0.000 title claims description 11
- 239000000919 ceramic Substances 0.000 claims abstract description 4
- 239000004033 plastic Substances 0.000 claims abstract description 3
- 230000005684 electric field Effects 0.000 claims description 34
- 239000003990 capacitor Substances 0.000 claims description 3
- 239000000123 paper Substances 0.000 description 40
- 239000000463 material Substances 0.000 description 13
- 239000002184 metal Substances 0.000 description 6
- 238000000034 method Methods 0.000 description 5
- XLYOFNOQVPJJNP-UHFFFAOYSA-N water Substances O XLYOFNOQVPJJNP-UHFFFAOYSA-N 0.000 description 5
- 238000010438 heat treatment Methods 0.000 description 4
- 230000005855 radiation Effects 0.000 description 3
- 238000004026 adhesive bonding Methods 0.000 description 2
- 239000011248 coating agent Substances 0.000 description 2
- 238000000576 coating method Methods 0.000 description 2
- 238000001704 evaporation Methods 0.000 description 2
- 230000008020 evaporation Effects 0.000 description 2
- 239000002023 wood Substances 0.000 description 2
- 239000004809 Teflon Substances 0.000 description 1
- 229920006362 Teflon® Polymers 0.000 description 1
- 230000000712 assembly Effects 0.000 description 1
- 238000000429 assembly Methods 0.000 description 1
- 239000011111 cardboard Substances 0.000 description 1
- 230000001419 dependent effect Effects 0.000 description 1
- 238000011161 development Methods 0.000 description 1
- 230000018109 developmental process Effects 0.000 description 1
- 238000009826 distribution Methods 0.000 description 1
- 230000000694 effects Effects 0.000 description 1
- 239000003292 glue Substances 0.000 description 1
- 230000012447 hatching Effects 0.000 description 1
- 229910052500 inorganic mineral Inorganic materials 0.000 description 1
- 239000007788 liquid Substances 0.000 description 1
- 238000004519 manufacturing process Methods 0.000 description 1
- 239000011707 mineral Substances 0.000 description 1
- 239000011087 paperboard Substances 0.000 description 1
- 230000000704 physical effect Effects 0.000 description 1
- 239000000126 substance Substances 0.000 description 1
Images
Classifications
-
- D—TEXTILES; PAPER
- D21—PAPER-MAKING; PRODUCTION OF CELLULOSE
- D21F—PAPER-MAKING MACHINES; METHODS OF PRODUCING PAPER THEREON
- D21F5/00—Dryer section of machines for making continuous webs of paper
- D21F5/16—Drying webs by electrical heating
- D21F5/165—Inductive heating; Capacitive heating
Definitions
- the invention relates to a drying chamber for the dielectric drying of a product, in particular a paper web having the features of the preamble of claim 1.
- Dielectric high-frequency drying is used, for example, in wood gluing to dry the glue. It is also from the publication EP 0 013 400 A1 It is known to use a dielectric high-frequency dryer for drying wet webs of paper or cardboard.
- the publication EP 0 013 400 A1 shows a drying chamber according to the preamble of claim 1. In the dielectric drying, the material to be dried is exposed to a strong alternating electric field, which is generated within a drying chamber. The heating of the material and the evaporation of the liquid components contained therein takes place via alternating currents generated by the high-frequency field, which flow in the material to be dried. For dielectric drying, high electric field strengths are required within the drying chamber, which often leads to the fact that even outside the drying chamber still strong fields occur, which often exceeds prescribed limits for the protection of operating personnel.
- the object of the invention is therefore to provide a drying chamber for the dielectric drying of a product, in which the electrical fields occurring outside the drying chamber are kept as low as possible.
- the drying chamber according to the invention comprises an at least partially conductive housing having an inlet and outlet slot for the material to be dried, wherein the material is guided through the housing during operation of the drying chamber. Furthermore, a high-frequency arrangement with at least one voltage source, for example an AC oscillator, is provided, wherein the high-frequency arrangement generates at least one alternating electric field with an operating frequency in the interior of the housing.
- at least one voltage source for example an AC oscillator
- the drying chamber according to the invention is characterized by a waveguide arrangement with a number of waveguides (ie with one or more waveguides), wherein the waveguides each comprise two and optionally also more conductive surfaces with interposed dielectric, wherein the dielectric and the conductive surfaces extends in a direction of extent from a first end, which forms an inlet opening into the dielectric facing the input and / or output slot, to a second end, at which the conductive surfaces of the respective waveguide are electrically connected to one another.
- a waveguide has a length in the direction of extent which corresponds essentially to one fourth of the operating frequency and / or one quarter of the operating frequency frequency plus one or more half wavelengths of the operating frequency.
- the invention is based on the recognition that by means of a waveguide with a length of one quarter of the wavelength of the operating frequency (or plus corresponding half wavelengths of the operating frequency) and with a corresponding short circuit between the waveguide's conductive surfaces, a reduction in the voltage across the input or output slot of the housing emerging alternating electric field can be achieved.
- the inventors have been able to show that the field can be reduced so much that prescribed limit values of electric field strengths are maintained even in the immediate vicinity of the input slot or output slot.
- the first extension direction in which the conductive surfaces or the dielectric extend, extends substantially perpendicular to the longitudinal direction of the input and / or output slot.
- the operating frequency of the high-frequency arrangement is between 10 MHz and 3 GHz, in particular between 10 MHz and 250 MHz, and preferably substantially at 13.5 MHz and / or 27 MHz and / or 40.7 MHz.
- the three last mentioned frequencies are corresponding frequencies in a license-free ISM frequency band.
- the amplitudes of the alternating voltages of the at least one voltage source in the high voltage range are between 1 kV and 100 kV, in particular between 5 kV and 25 kV and particularly preferably 10 kV.
- the housing of the drying chamber is a metallic housing. Furthermore, at least one conductive surface of the waveguide or waveguides is preferably formed integrally with the housing and / or formed by a part of the housing and / or formed separately from the housing.
- the waveguides of the waveguide arrangement may be shaped in the extension direction in various ways. In particular, they can be rolled up in the direction of extent and / or run in the direction of extension planar or meander-shaped or zigzag-shaped. Optionally, the waveguides may also be passed around corners of the housing. It is only essential that the total length of the waveguide from the first to the second end is always a quarter of the operating frequency or a quarter of the operating frequency frequency plus one or more half wavelengths of the operating frequency.
- the dielectric and the conductive surfaces of one or more waveguides of the waveguide arrangement extend in a second extension direction, which runs essentially in the longitudinal direction of the input and / or output slot.
- the dielectric or the conductive surfaces in the second extension direction preferably extends in a length which is at least 50% and preferably substantially 100% of the length of the input and / or output slot in the longitudinal direction. In this way, an effective reduction of the electric field outside the drying chamber can be achieved over the entire length of the input or output slot.
- a plurality of waveguides can be arranged along an input or output slot in the second extension direction, which are separated from one another by a column running substantially perpendicular to the second extension direction.
- the conductive surfaces of one or more waveguides of the waveguide arrangement are grounded and / or connected to the housing at the second end.
- the housing is included grounded, so that a grounding of the waveguide can be achieved via the housing.
- at least one conductive surface of one or more waveguides of the waveguide arrangement is connected to the housing via one or more webs, preferably conductive webs (eg of metal). In this way, the waveguide can be supported.
- one or more waveguides of the waveguide arrangement are arranged inside and / or outside the housing. For both arrangements, an effective reduction of the field in the area of the input or output slot can be achieved.
- the input and / or output slot and at least partially one or more waveguides of the waveguide arrangement are arranged on the upper side of the housing.
- the dielectric used for the waveguide according to the invention can be configured as desired.
- it may be air and / or a ceramic and / or an insulating plastic.
- the length of the input and / or output slot in the longitudinal direction substantially corresponds to the length of the wavelength of the operating frequency and / or a multiple of the wavelength of the operating frequency.
- one or more waveguides of the waveguide arrangement are arranged on one and / or on both sides of the input and / or output slot. If necessary, the entrance slot and the exit slot may coincide so that the material is introduced through the same slot in the drying chamber and led out of the drying chamber. Likewise, the entry and exit slots may be separate slots.
- the high-frequency arrangement used in the drying chamber according to the invention preferably comprises one or more pairs of electrodes arranged in the housing and fed by the at least one voltage source, a high-frequency alternating electric field being generated between the electrodes of each pair of electrodes during operation of the drying chamber and the product is between them Electrodes of the or pairs of electrodes is performed.
- This variant is used in particular in papermaking, in which paper webs are passed between the electrodes for dielectric drying.
- the pairs of electrodes during operation of the drying chamber with different voltage phases and / or voltage amplitudes can be controlled.
- the pairs of electrodes may be at least partially powered by separate voltage sources.
- the pairs of electrodes may be operated, at least in part, by a voltage source or an oscillator using power dividers and phase shifters.
- one electrode of a respective electrode pair is connected to the housing and in particular integrally formed as a plate with the housing.
- the high-frequency arrangement can be controlled in such a way that the electric field at the input and / or output slot becomes minimal during operation of the drying chamber.
- Corresponding control units for optimized control of the electric field are known from the prior art.
- this variant of the invention is realized by the electrode pairs described above, which are suitably controlled in a suitable manner with different voltage phases or voltage amplitudes in order to minimize the electric field in the region of the input or output slot.
- one or more guide drums for guiding the material through the drying chamber are provided in the housing.
- Such guide rollers are used in particular in the guidance of material webs or paper webs in order to deflect the webs in the drying chamber in a suitable manner.
- the invention will be described below based on a drying chamber for drying wet paper webs in a papermaking machine.
- the invention is not limited to the drying of paper webs, but the embodiment of a drying chamber explained below can also be used for drying other goods or other material webs.
- the decisive factor is that in the good to be dried electrical alternating currents can be generated. This condition is especially given when the material is moist, i. has a significant water content.
- a large proportion of currently produced paper grades is one of the so-called coating papers, where the base paper has a high pulp content and coated on both sides with various, partially mineral substances to adapt surface texture and other properties of the paper while saving pulp.
- coating papers but also in other types of paper, drying sections are needed in the production machine, which operate without contact to dry the papers first superficially. Further drying steps can again take place in contact with conventional drying cylinders.
- the embodiment of the drying chamber according to the invention described below is based on a contactless drying in the form of a dielectric drying in a high-frequency electric field.
- the dielectric high-frequency drying is used industrially mainly in the wood gluing, but can also be used for drying paper webs.
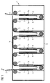
- Fig. 1 shows a drying chamber based on dielectric drying without the waveguide arrangement according to the invention.
- the drying chamber comprises a rectangular housing 1 made of metal, in which a paper web 2 is guided.
- the paper web enters via an entrance slot 3 at the top of the housing 1 in the interior and leaves the housing via a corresponding output slot 4, which also at the top of the housing is provided.
- Inside the housing 1, the paper web is guided over corresponding drums 5, wherein the longitudinal direction of the drums perpendicular to the plane of the sheet Fig. 1 runs.
- the drums have a length which substantially corresponds to the width of the paper web. Depending on the machine, the length of the drums can be between 2 m and 10 m, for example.
- the diameter of the drums may vary. Usually, the diameter is in the range of 1 m.
- each electrode assembly comprising two pairs of electrodes with respective electrodes 6 and 7.
- the individual electrodes 6 and 7 in this case have an extent perpendicular to the plane of the page Fig. 2 which corresponds essentially to the width of the paper web 2.
- plate capacitors are formed by the pairs of electrodes, between which a high-frequency alternating electric field is generated.
- conical connections 7a are respectively provided on the electrodes 7, which are arranged in a region which lies outside the intermediate space between the electrodes of the corresponding pair of electrodes.
- the conical terminals are connected to a coaxial cable (not shown) which is led out of the housing and connected to a corresponding AC oscillator (not shown).
- the counter electrode 6 to the electrode 7 of the respective pair of electrodes is a metal plate, which is preferably formed integrally with the housing and is set via the housing to a reference potential or grounded.
- the electrodes 6 and counter electrodes 7 may both be formed isolated from the (grounded) housing.
- the adjacent electrode pairs of an electrode arrangement ie the Electrode pairs with immediately adjacent electrodes 7 fed from the same AC oscillator, wherein the same AC oscillator can also be used for the electrode pairs of the other electrode arrangements.
- other AC oscillators may be used for the other arrangements.
- each electrode pair or each electrode arrangement may be fed by a separate AC voltage oscillator.
- the paper is guided via the drums 5 through the individual interspaces of the pairs of electrodes forming the capacitors in the direction of the arrow P.
- the alternating field has an operating frequency, which is preferably between 10 MHz and 200 MHz.
- the applied voltage is in the kilovolt range, in particular between 1 and 100 kV.
- an alternating voltage having a frequency in the range of 13.5 MHz or 27 MHz or 40.7 MHz is used as the operating voltage, these ranges each lying in unlicensed ISM bands.
- alternating currents are generated in the guided through the chamber paper, wherein a heating of the paper on the dielectric losses of these alternating currents takes place in the paper, which in turn leads to evaporation of the water content in the paper and thus drying of the paper.
- the power loss distribution in the paper is proportional to the electrical conductivity and thus approximately proportional to the water content, resulting in a selectivity of the drying results. That is, increased heat outputs are achieved in the wetter regions of the paper, while already dried regions are less heated.
- This selectivity and the contactless introduction of the heating power directly in the paper inside are significant advantages of dielectric drying compared to a drying by means of heat conduction over drying cylinders, in which the drying takes place starting from the surface in contact with the drying cylinder.
- the high frequency drying in the drying chamber of Fig. 1 requires high electrical field strength densities at the location of the paper to be dried within the housing 1, while ensuring that the electrical field strengths outside the drying chamber meet appropriate occupational safety and do not exceed specified limits.
- IEC 62226 for the protection of operating personnel, for example, when operating the electrode pairs with a frequency between 10 MHz and 110 MHz, a maximum strength of the electric field outside the chamber of 61 V / m is allowed.
- the inventors were able to prove that during operation of the drying chamber of the Fig. 1 with a frequency of 13.5 MHz and a voltage of 10 kV, in particular in the region of the input slot 3 and the output slot 4 results in an electric field strength, which is well above the limit of 61 V / m.
- Fig. 2 shows an embodiment of the invention, in which the electric field strengths outside the housing of the drying chamber can be kept below the limit of 61 V / m.
- the embodiment of Fig. 2 corresponds in its basic structure of the drying chamber of Fig. 1 , wherein the same components are provided with the same reference numerals.
- a paper web 2 is passed through an input slot 3 and an output slot 4 through a conductive housing 1 and passes through a total of eight pairs of electrodes comprising electrodes 6 and 7, which are fed with a corresponding alternating field via AC oscillators.
- the radio-frequency traps 8 constitute plate-shaped dielectric waveguides in which a dielectric is arranged between an electrically conductive surface 8a (for example of metal) on the upper side and an electrically conductive surface 8b (for example of metal) on the underside of the waveguide.
- the underside of the waveguide is formed by a part of the housing.
- the dielectric is in Fig. 2 indicated by hatching and represents in the illustrated embodiment, air.
- two dielectric waveguides 8 are provided, which are each arranged adjacent to the input slot 3 or output slot 4.
- the waveguides have an extension direction in the leaf plane of the Fig. 2 which extends from a first end 8c adjacent to the respective slot 3 or 4 to a second end 8d, at which the electrically conductive surfaces 8a and 8b are short-circuited with each other and connected to the housing.
- the electric field enters the dielectric of the waveguide.
- the extension direction of the waveguide in the leaf plane of the Fig. 2 in this case comprises a horizontal portion which opens into a short, vertically downwardly extending portion towards the top 1a of the housing 1.
- the length of the horizontal portion of each waveguide in the embodiment corresponds to FIG Fig. 2 essentially one quarter of the free space wavelength of the operating frequency, ie when operating at 13.56 MHz, this length is substantially 5.55 m. At other operating frequencies, this length is adjusted according to the changing wavelength so that it is again one quarter of the wavelength of the operating frequency. Based on such waveguides, the physical effect of the reduction of the Slits 3 and 4 exiting electric field achieved.
- the waveguides 8 are configured substantially rectangular in plan view of the upper side 1a of the housing 1 and extend in the direction of the width of the paper web, ie perpendicular to the plane of the sheet Fig. 2 , Essentially over the total length of the individual slots 3 and 4, and thus over the entire length of the paper web.
- the length of the slots 3 and 4, and thus the direction of extension of the waveguide 8 perpendicular to the page plane Fig. 2 is preferably selected such that it corresponds to the wavelength of the operating frequency or an integer multiple of this wavelength. In this way, the radiation in the region of the slots 3 and 4 is further minimized. With a slot length of 11 m, an operating frequency of approximately 27 MHz instead of 13.5 MHz should be used.
- the inventors were able to demonstrate that at an operating frequency of 13.5 MHz with a dielectric constant in the range of 1, a significant reduction in the electric field outside the drying chamber results.
- the amount of electric field in the immediate vicinity of the chamber is less than the above-mentioned limit of 61 V / m.
- Waveguides 8 shown represent only one possible embodiment. Instead of designing the waveguides planar in the horizontal direction, they can also be folded, guided around the corners of the housing, rolled or meandering. It is only decisive that the extension direction of the waveguides in the leaf plane of Fig. 2 in about one quarter of the wavelength of the operating frequency or a quarter of the wavelength of the operating frequency plus one or more half wavelengths corresponds to the operating frequency and the conductive surfaces 8a and 8b are short-circuited at the end 8c.
- the waveguides may also be conveniently located within the housing. It only has to be ensured that the electric field enters the dielectric in the region of the slot 3 or 4 via the front end 8c of the waveguide.
- the material used as the dielectric of the waveguide may be designed differently, for example, it may be a ceramic, Teflon and optionally also air, in the latter case, the waveguide is formed by two spaced apart and at one end short-circuited conductive plates.
- the individual electrode pairs for example through the use of power dividers combined with phase shifters or separate oscillators, with different amplitudes and phases are driven.
- the control can be optimized in such a way that a minimum of the electric field is achieved in the region of the input or output slot.
- Corresponding controls for optimizing the electric field are well known from the prior art.
- webs eg made of metal
Landscapes
- Drying Of Solid Materials (AREA)
Description
- Die Erfindung betrifft eine Trockenkammer zur dielektrischen Trocknung eines Guts, insbesondere einer Papierbahn mit den Merkmalen des Oberbegriffs des Anspruchs 1.
- Aus dem Stand der Technik sind verschiedene Verfahren zur Trocknung von Gütern, wie z.B. Materialbahnen oder Papierbahnen, bekannt. In der Papierherstellung werden zur Trocknung von Papierbahnen insbesondere Nasspressen sowie eine Kontakttrocknung über dampfbeheizte Trockenzylinder verwendet. Darüber hinaus sind kontaktlose Trockenverfahren, wie z.B. die Beheizung von Materialbahnen mit Gasbrennern, die Infrarotbestrahlung sowie die dielektrische Trocknung im Hochfrequenzfeld bekannt.
- Die dielektrische Hochfrequenztrocknung wird beispielsweise bei der Holzverleimung zur Trocknung des Leims eingesetzt. Ebenso ist es aus der Druckschrift
EP 0 013 400 A1 bekannt, zur Trocknung von feuchten Bahnen aus Papier oder Kartonagen einen dielektrischen Hochfrequenztrockner zu verwenden. Die DruckschriftEP 0 013 400 A1 zeigt dabei eine Trockenkammer gemäß dem Oberbegriff des Anspruchs 1. Bei der dielektrischen Trocknung wird das zu trocknende Gut einem starken elektrischen Wechselfeld ausgesetzt, welches innerhalb einer Trockenkammer erzeugt wird. Die Aufheizung des Guts und die Verdampfung der darin enthaltenen flüssigen Bestandteile erfolgt über durch das Hochfrequenzfeld generierte Wechselströme, welche in dem zu trocknenden Gut fließen. Zur dielektrischen Trocknung werden hohe elektrische Feldstärken innerhalb der Trockenkammer benötigt, was häufig dazu führt, dass auch außerhalb der Trockenkammer weiterhin noch starke Felder auftreten, welche oftmals vorgeschriebene Grenzwerte zum Schutz von Bedienpersonal überschreiten. - Aufgabe der Erfindung ist es deshalb, eine Trockenkammer zur dielektrischen Trocknung eines Guts zu schaffen, bei der die außerhalb der Trockenkammer auftretenden elektrischen Felder möglichst gering gehalten werden.
- Diese Aufgabe wird durch die Trockenkammer gemäß Patentanspruch 1 gelöst. Weiterbildungen der Erfindung sind in den abhängigen Ansprüchen definiert.
- Die erfindungsgemäße Trockenkammer umfasst ein zumindest teilweise leitfähiges Gehäuse mit einem Eingangs- und Ausgangsschlitz für das zu trocknende Gut, wobei das Gut im Betrieb der Trockenkammer durch das Gehäuse geführt wird. Ferner ist eine Hochfrequenzanordnung mit zumindest einer Spannungsquelle, beispielsweise einem Wechselspannungs-Oszillator, vorgesehen, wobei mit der Hochfrequenzanordnung zumindest ein elektrisches Wechselfeld mit einer Betriebsfrequenz im Inneren des Gehäuses erzeugt wird.
- Die erfindungsgemäße Trockenkammer zeichnet sich durch eine Wellenleiter-Anordnung mit einer Anzahl von Wellenleitern (d.h. mit einem oder mehreren Wellenleitern) aus, wobei die Wellenleiter jeweils zwei und gegebenenfalls auch mehr leitfähige Flächen mit dazwischen liegendem Dielektrikum umfassen, wobei sich das Dielektrikum und die leitfähigen Flächen in eine Erstreckungsrichtung von einem ersten Ende, welches eine auf den Eingangs- und/oder Ausgangsschlitz weisende Eintrittsöffnung in das Dielektrikum bildet, zu einem zweiten Ende erstreckt, an welchem die leitfähigen Flächen des jeweiligen Wellenleiters elektrisch miteinander verbunden sind. Ein Wellenleiter weist dabei eine Länge in der Erstreckungsrichtung auf, welche im Wesentlichen einem Viertel der Wellenlänge der Betriebsfrequenz und/oder einem Viertel der Wellenlänge der Betriebsfrequenz plus einer oder mehrerer halber Wellenlängen der Betriebsfrequenz entspricht.
- Der Erfindung liegt die Erkenntnis zu Grunde, dass durch einen Wellenleiter mit der Länge von einem Viertel der Wellenlänge der Betriebsfrequenz (bzw. plus entsprechender halber Wellenlängen der Betriebsfrequenz) und mit einem entsprechenden Kurzschluss zwischen den leitfähigen Flächen des Wellenleiters eine Verminderung des über den Eingangs- bzw. Ausgangsschlitz des Gehäuses austretenden elektrischen Wechselfeldes erreicht werden kann. Die Erfinder konnten insbesondere zeigen, dass das Feld derart stark reduziert werden kann, dass vorgeschriebene Grenzwerte von elektrischen Feldstärken auch in unmittelbarer Umgebung um den Eingangsschlitz bzw. Ausgangsschlitz eingehalten werden.
- In einer besonders bevorzugten Ausführungsform verläuft die erste Erstreckungsrichtung, in der sich die leitfähigen Flächen bzw. das Dielektrikum erstrecken, im Wesentlichen senkrecht zur Längsrichtung des Eingangs- und/oder Ausgangsschlitzes. Hierdurch wird eine besonders effektive Reduzierung des elektrischen Feldes an den Schlitzen erreicht. In einer weiteren Ausgestaltung der erfindungsgemäßen Trockenkammer liegt die Betriebsfrequenz der Hochfrequenzanordnung bei 1 MHz und mehr, und vorzugsweise wird eine Frequenz in einem ISM-Frequenzband (ISM = Industrial Scientific Medical) verwendet, wobei ISM-Bänder lizenzfrei für industrielle Anwendungen eingesetzt werden können. In einer weiteren Ausgestaltung des erfindungsgemäßen Verfahrens liegt die Betriebsfrequenz der Hochfrequenzanordnung zwischen 10 MHz und 3 GHz, insbesondere zwischen 10 MHz und 250 MHz, und vorzugsweise im Wesentlichen bei 13,5 MHz und/oder 27 MHz und/oder 40,7 MHz. Die drei zuletzt genannten Frequenzen sind dabei entsprechende Frequenzen in einem lizenzfreien ISM-Frequenzband.
- Mit der erfindungsgemäßen Trockenkammer können hohe elektrische Felder innerhalb der Kammer erzeugt werden, ohne dass Grenzwerte für elektrische Felder außerhalb der Kammer überschritten werden. Insbesondere liegen die Amplituden der Wechselspannungen der zumindest einen Spannungsquelle im Hochspannungsbereich zwischen 1 kV und 100 kV, insbesondere zwischen 5 kV und 25 kV und besonders bevorzugt bei 10 kV.
- In einer weiteren, bevorzugten Ausführungsform der Erfindung ist das Gehäuse der Trockenkammer ein metallisches Gehäuse. Ferner ist zumindest eine leitfähige Fläche des oder der Wellenleiter vorzugsweise ganzstückig mit dem Gehäuse ausgebildet und/oder von einem Teil des Gehäuses gebildet und/oder separat von dem Gehäuse ausgebildet.
- Die Wellenleiter der Wellenleiter-Anordnung können in der Erstreckungsrichtung auf verschiedene Art und Weise geformt sein. Insbesondere können sie in der Erstreckungsrichtung aufgerollt sein und/oder in der Erstreckungsrichtung planar bzw. mäanderförmig bzw. zickzackförmig verlaufen. Gegebenenfalls können die Wellenleiter auch um Ecken des Gehäuses herumgeführt sein. Wesentlich ist dabei lediglich, dass die Gesamtlänge des Wellenleiters vom ersten zum zweiten Ende immer ein Viertel der Wellenlänge der Betriebsfrequenz bzw. ein Viertel der Wellenlänge der Betriebsfrequenz plus einer oder mehrerer halber Wellenlängen der Betriebsfrequenz beträgt.
- In einer weiteren Ausgestaltung der erfindungsgemäßen Trockenkammer erstrecken sich das Dielektrikum und die leitfähigen Flächen von einem oder mehreren Wellenleitern der Wellenleiter-Anordnung in eine zweite Erstreckungsrichtung, welche im Wesentlichen in Längsrichtung des Eingangs- und/oder Ausgangsschlitzes verläuft. Dabei erstreckt sich das Dielektrikum bzw. die leitfähigen Flächen in der zweiten Erstreckungsrichtung vorzugsweise in eine Länge, welche zumindest 50% und vorzugsweise im Wesentlichen 100% der Länge des Eingangs- und/oder Ausgangsschlitzes in Längsrichtung beträgt. Auf diese Weise kann über die Gesamtlänge des Eingangs- bzw. Ausgangsschlitzes eine effektive Reduzierung des elektrischen Feldes außerhalb der Trockenkammer erreicht werden.
- In einer weiteren Ausgestaltung der Erfindung können entlang eines Eingangs- bzw. Ausgangsschlitzes in der zweiten Erstreckungsrichtung mehrere Wellenleiter angeordnet sein, welche durch eine im Wesentlichen senkrecht zur zweiten Erstreckungsrichtung verlaufende Spalte voneinander getrennt sind. In einer weiteren, besonders bevorzugten Ausgestaltung sind die leitfähigen Flächen einer oder mehrerer Wellenleiter der Wellenleiter-Anordnung geerdet und/oder an dem zweiten Ende mit dem Gehäuse verbunden. Vorzugsweise ist das Gehäuse dabei geerdet, so dass eine Erdung des Wellenleiters über das Gehäuse erreicht werden kann. In einer weiteren Ausgestaltung der erfindungsgemäßen Trockenkammer ist zumindest eine leitfähige Fläche eines oder mehrerer Wellenleiter der Wellenleiter-Anordnung über einen oder mehrere Stege, vorzugsweise leitfähige Stege (z.B. aus Metall), mit dem Gehäuse verbunden. Auf diese Weise kann der Wellenleiter abgestützt werden.
- In einer weiteren Ausgestaltung des erfindungsgemäßen Verfahrens sind ein oder mehrere Wellenleiter der Wellenleiter-Anordnung innerhalb und/oder außerhalb des Gehäuses angeordnet. Für beide Anordnungen kann eine effektive Reduzierung des Feldes im Bereich des Eingangs- bzw. Ausgangsschlitzes erreicht werden.
- In einer besonders bevorzugten Ausgestaltung sind der Eingangs- und/oder Ausgangsschlitz und zumindest teilweise ein oder mehrere Wellenleiter der Wellenleiter-Anordnung an der Oberseite des Gehäuses angeordnet. Hierdurch wird eine raumeffiziente Führung des Guts bzw. Anbringung der Wellenleiter erreicht.
- Das für die erfindungsgemäßen Wellenleiter verwendete Dielektrikum kann beliebig ausgestaltet sein. Insbesondere kann es sich um Luft und/oder eine Keramik und/oder um einen isolierenden Kunststoff handeln.
- In einer weiteren Ausführungsform der Erfindung entspricht die Länge des Eingangs- und/oder Ausgangsschlitzes in Längsrichtung im Wesentlichen der Länge der Wellenlänge der Betriebsfrequenz und/oder einem Mehrfachen der Wellenlänge der Betriebsfrequenz. Hierdurch wird die Abstrahlung des elektrischen Feldes nach außen weiter vermindert.
- In einer weiteren Ausgestaltung sind ein oder mehrere Wellenleiter der Wellenleiter-Anordnung auf einer und/oder auf beiden Seiten des Eingangs- und/oder Ausgangsschlitzes angeordnet. Der Eingangsschlitz und der Ausgangsschlitz können gegebenenfalls zusammenfallen, so dass das Gut über den gleichen Schlitz in die Trockenkammer eingeführt und aus der Trockenkammer herausgeführt wird. Ebenso kann es sich beim Eingangs- und Ausgangsschlitz um getrennte Schlitze handeln.
- Die in der erfindungsgemäßen Trockenkammer verwendete Hochfrequenzanordnung umfasst vorzugsweise ein oder mehrere, in dem Gehäuse angeordnete und durch die zumindest eine Spannungsquelle gespeiste Paare von Elektroden, wobei im Betrieb der Trockenkammer zwischen den Elektroden von jedem Elektrodenpaar ein hochfrequentes elektrisches Wechselfeld erzeugt wird und das Gut zwischen den Elektroden des oder der Paare von Elektroden geführt wird. Diese Variante wird insbesondere bei der Papierherstellung verwendet, bei der Papierbahnen zwischen den Elektroden zur dielektrischen Trocknung hindurchgeführt werden.
- In einer weiteren Ausgestaltung sind die Paare von Elektroden im Betrieb der Trockenkammer mit unterschiedlichen Spannungsphasen und/oder Spannungsamplituden ansteuerbar. Beispielsweise können die Paare von Elektroden zumindest teilweise durch separate Spannungsquellen gespeist werden. Ebenso können die Paare von Elektroden zumindest teilweise durch eine Spannungsquelle bzw. einen Oszillator mithilfe von Leistungsteilern und Phasenschiebern betrieben werden. In einer weiteren Ausführungsform ist eine Elektrode eines jeweiligen Elektrodenpaars mit dem Gehäuse verbunden und insbesondere ganzstückig als Platte mit dem Gehäuse ausgebildet.
- Die Hochfrequenzanordnung ist in einer bevorzugten Variante der Erfindung derart ansteuerbar, dass im Betrieb der Trockenkammer das elektrische Feld am Eingangs- und/oder Ausgangsschlitz minimal wird. Entsprechende Steuereinheiten zur optimierten Steuerung des elektrischen Feldes sind dabei aus dem Stand der Technik bekannt. Vorzugsweise wird diese Variante der Erfindung durch die oben beschriebenen Elektrodenpaare realisiert, welche in geeigneter Weise mit unterschiedlichen Spannungsphasen bzw. Spannungsamplituden geeignet angesteuert werden, um hierdurch das elektrische Feld im Bereich des Eingangs- bzw. Ausgangsschlitzes zu minimieren.
- In einer weiteren, bevorzugten Ausführungsform der Erfindung sind in dem Gehäuse ein oder mehrere Führungstrommeln zum Führen des Guts durch die Trockenkammer vorgesehen. Solche Führungsrollen werden insbesondere bei der Führung von Materialbahnen bzw. Papierbahnen eingesetzt, um hierdurch die Bahnen in der Trockenkammer geeignet umzulenken.
- Ausführungsbeispiele der Erfindung werden nachfolgend anhand der beigefügten Figuren detailliert beschrieben.
- Es zeigen:
- Fig. 1
- eine schematische Schnittdarstellung einer Trocken- kammer ohne Wellenleiter-Anordnung; und
- Fig. 2
- eine schematische Schnittdarstellung einer Trocken- kammer gemäß einer Ausführungsform der Erfindung.
- Nachfolgend wird die Erfindung basierend auf einer Trockenkammer zur Trocknung von feuchten Papierbahnen in einer Papierherstellungsmaschine beschrieben. Die Erfindung ist jedoch nicht auf die Trocknung von Papierbahnen beschränkt, sondern die nachfolgend erläuterte Ausführungsform einer Trockenkammer kann auch zur Trocknung von anderem Gut bzw. anderen Materialbahnen eingesetzt werden. Entscheidend ist lediglich, dass in dem zu trocknenden Gut elektrische Wechselströme erzeugbar sind. Diese Voraussetzung ist insbesondere dann gegeben, wenn das Gut feucht ist, d.h. einen nicht unerheblichen Wassergehalt aufweist.
- Bei der Papierherstellung werden heutzutage üblicherweise Maschinen verwendet, bei denen aus nassem Zellstoff in verschiedenen Bearbeitungsstufen Papierbahnen gebildet werden. Ein wesentlicher Verfahrensschritt ist dabei die Trocknung der Papierbahnen. Üblicherweise erfolgt der erste Trocknungsschritt in einer Papierherstellungsmaschine in Nasspressen, in denen der größte Teil des Wassers abgeschieden wird. In einer nachfolgenden Trockenpartie der Maschine wird der Wassergehalt weiter reduziert. Dazu werden meist dampfbeheizte rotierende Trommeln in der Form von Trockenzylindern verwendet, um die das Papier geführt wird. Der Wärmeübergang von den Trommeln zu dem Papier erfolgt über Wärmeleitung, wozu ein inniger Kontakt zwischen Papier und Trommel erforderlich ist.
- Ein Großteil derzeit hergestellter Papiersorten zählt zu den sog. Streichpapieren, bei denen das Rohpapier einen hohen Zellstoffanteil aufweist und beidseitig mit verschiedenen, teilweise mineralischen Stoffen bestrichen wird, um Oberflächenbeschaffenheit und andere Eigenschaften des Papiers anzupassen und gleichzeitig Zellstoff einzusparen. Insbesondere bei solchen Streichpapieren, jedoch auch bei anderen Papiersorten, werden Trocknungspartien in der Herstellungsmaschine benötigt, welche kontaktlos arbeiten, um die Papiere zunächst oberflächlich zu trocknen. Weitere Trocknungsschritte können wiederum im Kontakt mit üblichen Trockenzylindern erfolgen.
- Die nachfolgend beschriebene Ausführungsform der erfindungsgemäßen Trockenkammer basiert auf einer kontaktlosen Trocknung in der Form einer dielektrischen Trocknung in einem elektrischen Hochfrequenzfeld. Die dielektrische Hochfrequenz-Trocknung wird großtechnisch vorwiegend bei der Holzverleimung eingesetzt, kann jedoch auch zur Trocknung von Papierbahnen verwendet werden.
-
Fig. 1 zeigt eine Trockenkammer basierend auf dielektrischer Trocknung ohne die erfindungsgemäße Wellenleiter-Anordnung. Die Trockenkammer umfasst ein rechteckförmiges Gehäuse 1 aus Metall, in der eine Papierbahn 2 geführt wird. Die Papierbahn tritt dabei über einen Eingangsschlitz 3 an der Oberseite des Gehäuses 1 in dessen Inneres ein und verlässt das Gehäuse über einen entsprechenden Ausgangsschlitz 4, der ebenfalls an der Oberseite des Gehäuses vorgesehen ist. Im Inneren des Gehäuses 1 wird die Papierbahn über entsprechende Trommeln 5 geführt, wobei die Längsrichtung der Trommeln senkrecht zur Blattebene derFig. 1 verläuft. Die Trommeln weisen eine Länge auf, welche im Wesentlichen der Breite der Papierbahn entspricht. Je nach Maschine kann die Länge der Trommeln z.B. zwischen 2 m und 10 m liegen. Ebenso kann der Durchmesser der Trommeln variieren. Üblicherweise liegt der Durchmesser dabei im Bereich von 1 m. - In der Trockenkammer der
Fig. 1 sind insgesamt acht Trommeln unterhalb der Oberseite 1a des Gehäuses 1 und vier Trommeln unmittelbar über der Unterseite 1b des Gehäuses 1 vorgesehen. Innerhalb des Gehäuses befinden sich vier nebeneinander angeordnete Elektrodenanordnungen, wobei jede Elektrodenanordnung zwei Elektrodenpaare mit entsprechenden Elektroden 6 und 7 umfasst. Die einzelnen Elektroden 6 bzw. 7 weisen dabei eine Ausdehnung senkrecht zur Blattebene derFig. 2 auf, welche im Wesentlichen der Breite der Papierbahn 2 entspricht. Durch die Elektrodenpaare werden jeweils Plattenkondensatoren gebildet, zwischen denen ein hochfrequentes elektrisches Wechselfeld generiert wird. Hierzu sind an den Elektroden 7 jeweils konische Anschlüsse 7a vorgesehen, welche in einem Bereich angeordnet sind, der außerhalb des Zwischenraums zwischen den Elektroden des entsprechenden Elektrodenpaars liegen. Die konischen Anschlüsse sind mit einem (nicht gezeigten) Koaxialkabel verbunden, das aus dem Gehäuse herausgeführt wird und mit einem entsprechenden Wechselspannungs-Oszillator (nicht gezeigt) verbunden ist. - Die Gegenelektrode 6 zur Elektrode 7 des jeweiligen Elektrodenpaars ist eine Metallplatte, welche vorzugsweise einstückig mit dem Gehäuse ausgebildet ist und über das Gehäuse auf ein Bezugspotential gesetzt ist bzw. geerdet ist. In einer anderen Ausführungsform (nicht gezeigt) können die Elektroden 6 und Gegenelektroden 7 beide isoliert vom (geerdeten) Gehäuse ausgebildet sein. Vorzugsweise werden dabei die benachbarten Elektrodenpaare einer Elektrodenanordnung (d.h. die Elektrodenpaare mit unmittelbar benachbarten Elektroden 7) von dem gleichen Wechselspannungs-Oszillator gespeist, wobei derselbe Wechselspannungs-Oszillator auch für die Elektrodenpaare der anderen Elektrodenanordnungen verwendet werden kann. Gegebenenfalls können für die anderen Anordnungen jedoch auch andere Wechselspannungs-Oszillatoren verwendet werden. Insbesondere ist es auch möglich, dass jedes Elektrodenpaar bzw. jede Elektrodenanordnung durch einen separaten Wechselspannungs-Oszillator gespeist wird.
- Im Betrieb der Trockenkammer wird das Papier über die Trommeln 5 durch die einzelnen Zwischenräume der Kondensatoren bildenden Elektrodenpaare in Richtung des Pfeils P geführt. Hierdurch wird das Papier einem elektrischen Wechselfeld zwischen den Elektrodenpaaren ausgesetzt, wobei dieses Wechselfeld durch die entsprechenden Wechselspannungs-Oszillatoren erzeugt wird. Das Wechselfeld weist dabei eine Betriebsfrequenz auf, welche vorzugsweise zwischen 10 MHz und 200 MHz liegt. Die angelegte Spannung liegt dabei im Kilovoltbereich, insbesondere zwischen 1 und 100 kV. In einer bevorzugten Ausführungsform wird als Betriebsspannung eine Wechselspannung mit einer Frequenz im Bereich von 13,5 MHz bzw. 27 MHz bzw. 40,7 MHz verwendet, wobei diese Bereiche jeweils in lizenzfreien ISM-Bändern liegen.
- Mit Hilfe der hochfrequenten elektrischen Wechselfelder werden in dem durch die Kammer geführten Papier 2 Wechselströme generiert, wobei eine Aufheizung des Papiers über die dielektrischen Verluste dieser Wechselströme im Papier erfolgt, was wiederum zur Verdampfung des Wasseranteils im Papier und damit zur Trocknung des Papiers führt. Dabei ist die Verlustleistungsverteilung im Papier proportional zur elektrischen Leitfähigkeit und damit näherungsweise proportional zum Wassergehalt, woraus sich eine Selektivität der Trocknung ergibt. Das heißt, erhöhte Heizleistungen werden in den feuchteren Regionen des Papiers erreicht, während bereits getrocknete Regionen weniger stark beheizt werden. Diese Selektivität sowie die kontaktlose Einbringung der Heizleistung direkt in das Papierinnere sind wesentliche Vorteile der dielektrischen Trocknung im Vergleich zu einer Trocknung mittels Wärmeleitung über Trockenzylinder, bei der die Trocknung ausgehend von der Oberfläche bei Kontakt mit dem Trockenzylinder erfolgt.
- Die Hochfrequenztrocknung in der Trockenkammer der
Fig. 1 erfordert hohe elektrische Feldstärkedichten am Ort des zu trocknenden Papiers innerhalb des Gehäuses 1, wobei gleichzeitig sichergestellt werden muss, dass die elektrischen Feldstärken außerhalb der Trockenkammer entsprechende Arbeitsschutzlinien erfüllen und festgelegte Grenzwerte nicht überschreiten. In der Norm IEC 62226 zum Schutz von Bedienpersonal ist beispielsweise bei einem Betrieb der Elektrodenpaare mit einer Frequenz zwischen 10 MHz und 110 MHz eine Maximalstärke des elektrischen Feldes außerhalb der Kammer von 61 V/m erlaubt. Die Erfinder konnten nachweisen, dass sich bei einem Betrieb der Trockenkammer derFig. 1 mit einer Frequenz von 13,5 MHz und einer Spannung von 10 kV insbesondere im Bereich des Eingangsschlitzes 3 und des Ausgangsschlitzes 4 eine elektrische Feldstärke ergibt, welche deutlich über den Grenzwert von 61 V/m liegt. -
Fig. 2 zeigt ein Ausführungsbeispiel der Erfindung, bei der die elektrischen Feldstärken außerhalb des Gehäuses der Trockenkammer unter den Grenzwert von 61 V/m gehalten werden können. Das Ausführungsbeispiel derFig. 2 entspricht dabei in seinem prinzipiellen Aufbau der Trockenkammer derFig. 1 , wobei gleiche Bauteile mit den gleichen Bezugszeichen versehen sind. Insbesondere wird wiederum eine Papierbahn 2 über einen Eingangsschlitz 3 und einen Ausgangsschlitz 4 durch ein leitfähiges Gehäuse 1 geführt und durchläuft dabei insgesamt acht Elektrodenpaare umfassend Elektroden 6 und 7, die mit einem entsprechenden Wechselfeld über Wechselspannungs-Oszillatoren gespeist werden. - Der Unterschied der Ausführungsform der
Fig. 2 gegenüber der Trockenkammer derFig. 1 besteht darin, dass auf der Oberseite 1a des Gehäuses 1 sog. Hochfrequenz-Fallen 8 vorgesehen sind, durch welche die nach außen abgestrahlte Hochfrequenzleistung des elektrischen Wellenfeldes stark vermindert wird. Die Hochfrequenz-Fallen stellen dabei plattenförmige dielektrische Wellenleiter dar, bei denen ein Dielektrikum zwischen einer elektrisch leitfähigen Fläche 8a (z.B. aus Metall) auf der Oberseite und einer elektrisch leitfähigen Fläche 8b (z.B. aus Metall) auf der Unterseite des Wellenleiters angeordnet ist. Die Unterseite des Wellenleiters wird dabei durch einen Teil des Gehäuses gebildet. Das Dielektrikum ist inFig. 2 durch eine Schraffur angedeutet und stellt in der dargestellten Ausführungsform Luft dar. - Gemäß
Fig. 1 sind zwei dielektrische Wellenleiter 8 vorgesehen, welche jeweils benachbart zu dem Eingangsschlitz 3 bzw. Ausgangsschlitz 4 angeordnet sind. Die Wellenleiter weisen dabei eine Erstreckungsrichtung in der Blattebene derFig. 2 auf, welche sich von einem ersten Ende 8c benachbart zum jeweiligen Schlitz 3 bzw. 4 zu einem zweiten Ende 8d erstreckt, an dem die elektrisch leitfähigen Flächen 8a und 8b miteinander kurzgeschlossen sind und mit dem Gehäuse verbunden sind. An dem zu der Papierbahn benachbarten Ende 8c der Wellenleiter erfolgt der Eintritt des elektrischen Feldes in das Dielektrikum des Wellenleiters. - Die Erstreckungsrichtung der Wellenleiter in der Blattebene der
Fig. 2 umfasst dabei einen horizontalen Abschnitt, der in einen kurzen, sich senkrecht nach unten erstreckenden Abschnitt hin zur Oberseite 1a des Gehäuses 1 mündet. Die Länge des horizontalen Abschnitts der jeweiligen Wellenleiter entspricht in der Ausführungsform derFig. 2 im Wesentlichen einem Viertel der Freiraumwellenlänge der Betriebsfrequenz, d.h. bei einem Betrieb bei 13,56 MHz entspricht diese Länge im Wesentlichen 5,55 m. Bei anderen Betriebsfrequenzen wird diese Länge entsprechend der verändernden Wellenlänge angepasst, so dass sie wiederum ein Viertel der Wellenlänge der Betriebsfrequenz beträgt. Basierend auf solchen Wellenleitern wird der physikalische Effekt der Verminderung des aus den Schlitzen 3 bzw. 4 austretenden elektrischen Felds erreicht. Der gleiche Effekt kann gegebenenfalls auch durch Wellenleiter mit einer Länge von einer oder mehreren halben Wellenlängen der Betriebsfrequenz plus einem Viertel der Wellenlänge der Betriebsfrequenz erreicht werden (Gesamtlänge (2n+1)/4 mal Wellenlänge der Betriebsfrequenz mit n=0,1,2,...). - Die Wellenleiter 8 sind in Draufsicht auf die Oberseite 1a des Gehäuses 1 im Wesentlichen rechteckförmig ausgestaltet und erstrecken sich in Richtung der Breite der Papierbahn, d.h. senkrecht zur Blattebene der
Fig. 2 , im Wesentlichen über die Gesamtlänge der einzelnen Schlitze 3 bzw. 4 und somit über die Gesamtlänge der Papierbahn. Die Länge der Schlitze 3 bzw. 4 und damit die Erstreckungsrichtung der Wellenleiter 8 senkrecht zur Blattebene derFig. 2 ist dabei vorzugsweise derart gewählt, dass sie der Wellenlänge der Betriebsfrequenz bzw. einem ganzzahligen Vielfachen dieser Wellenlänge entspricht. Auf diese Weise wird die Abstrahlung im Bereich der Schlitze 3 bzw. 4 weiter minimiert. Bei einer Schlitzlänge von 11 m sollte dabei eine Betriebsfrequenz von in etwa 27 MHz anstatt von 13,5 MHz verwendet werden. Die Erfinder konnten nachweisen, dass sich bei einer Betriebsfrequenz von 13,5 MHz mit einer Dielektrizitätszahl des Dielektrikums im Bereich von 1 eine deutliche Reduzierung des elektrischen Feldes außerhalb der Trockenkammer ergibt. Insbesondere ist der Betrag des elektrischen Feldes auch in unmittelbarer Umgebung zur Kammer geringer als der oben genannte Grenzwert von 61 V/m. - Die in
Fig. 2 dargestellten Wellenleiter 8 stellen lediglich eine mögliche Ausführungsform dar. Anstatt die Wellenleiter planar in horizontaler Richtung auszugestalten, können diese auch gefaltet sein, um die Ecken des Gehäuses geführt sein, gerollt sein oder mäanderförmig verlaufen. Entscheidend ist lediglich, dass die Erstreckungsrichtung der Wellenleiter in der Blattebene derFig. 2 in etwa einem Viertel der Wellenlänge der Betriebsfrequenz bzw. einem Viertel der Wellenlänge der Betriebsfrequenz plus einer oder mehrerer halber Wellenlängen der Betriebsfrequenz entspricht und die leitfähigen Flächen 8a und 8b am Ende 8c kurzgeschlossen sind. - Anstatt die Wellenleiter außerhalb des Gehäuses vorzusehen, können diese in geeigneter Weise auch innerhalb des Gehäuses angeordnet sein. Es muss lediglich ein Eintritt des elektrischen Feldes in das Dielektrikum im Bereich des Schlitzes 3 bzw. 4 über das vordere Ende 8c des Wellenleiters gewährleistet sein.
- Das als Dielektrikum des Wellenleiters verwendete Material kann verschieden ausgestaltet sein, beispielsweise kann es sich um eine Keramik, um Teflon sowie gegebenenfalls auch um Luft handeln, wobei im letzteren Fall der Wellenleiter durch zwei voneinander beabstandete und an einem Ende kurzgeschlossene leitfähige Platten gebildet wird.
- In einer weiteren Ausführungsform der Trockenkammer werden die einzelnen Elektrodenpaare, beispielsweise durch die Verwendung von Leistungsteilern kombiniert mit Phasenschiebern bzw. separaten Oszillatoren, mit unterschiedlichen Amplituden und Phasen angesteuert. Die Ansteuerung kann dabei derart optimiert werden, dass im Bereich des Eingangs- bzw. Ausgangsschlitzes ein Minimum des elektrischen Feldes erreicht wird. Entsprechende Steuerungen zur Optimierung des elektrischen Feldes sind dabei hinlänglich aus dem Stand der Technik bekannt. In einer weiteren Ausführungsform können ferner Stege (z.B. aus Metall) zwischen der unteren Fläche 8b des Wellenleiters 8 und der Oberseite 1a des Gehäuses vorgesehen sein, wobei sich die Stege insbesondere über die gesamte Länge zwischen dem Ende 8c und dem entgegengesetzten Ende 8d des Wellenleiters erstrecken können. Auf diese Weise wird eine Abstützung des Wellenleiters erreicht.
Claims (25)
- Trockenkammer zur dielektrischen Trocknung eines Guts, insbesondere einer Papierbahn (2), umfassend eine Hochfrequenzanordnung (6, 7) mit zumindest einer Spannungsquelle zur Erzeugung zumindest eines elektrischen Wechselfeldes mit einer Betriebsfrequenz im Inneren eines Gehäuses (1);
dadurch gekennzeichnet, dass- das Gehäuse (1) zumindest teilweise leitfähig ist und einen Eingangs- und Ausgangsschlitz (3, 4) für das Gut umfasst, wobei das Gut im Betrieb der Trockenkammer durch das Gehäuse (1) geführt wird;- eine Wellenleiter-Anordnung mit einer Anzahl von Wellenleitern (8) vorgesehen ist, welche jeweils zwei leitfähige Flächen (8a, 8b) mit dazwischen liegendem Dielektrikum umfassen, wobei sich das Dielektrikum und die leitfähigen Flächen in eine Erstreckungsrichtung von einem ersten Ende (8c), welches eine auf den Eingangs- und/oder Ausgangsschlitz (3, 4) weisende Eintrittsöffnung in das Dielektrikum bildet, zu einem zweiten Ende (8d) erstreckt, an welchem die leitfähigen Flächen (8a, 8b) des jeweilige Wellenleiters (8) elektrisch miteinander verbunden sind;- wobei die Länge eines jeweiligen Wellenleiters (8) in der Erstreckungsrichtung im Wesentlichen einem Viertel der Wellenlänge der Betriebsfrequenz und/oder einem Viertel der Wellenlänge der Betriebsfrequenz plus einer oder mehrerer halber Wellenlängen der Betriebsfrequenz entspricht. - Trockenkammer nach Anspruch 1, bei der die erste Erstreckungsrichtung im Wesentlichen senkrecht zur Längsrichtung des Eingangs- und/oder Ausgangsschlitzes (3, 4) verläuft.
- Trockenkammer nach Anspruch 1 oder 2, bei der die Betriebsfrequenz der Hochfrequenzanordnung (6, 7) zumindest 1 MHz beträgt und insbesondere in einem ISM-Frequenzband liegt.
- Trockenkammer nach Anspruch 3, bei der die Betriebsfrequenz der Hochfrequenzanordnung (6, 7) zwischen 10 MHz und 3 GHz liegt, insbesondere zwischen 10 MHz und 250 MHz, vorzugsweise bei im Wesentlichen 13,5 MHz und/oder 27 MHz und/oder 40,7 MHz.
- Trockenkammer nach einem der vorhergehenden Ansprüche, bei der die zumindest eine Spannungsquelle im Betrieb eine Wechselspannung mit einer Amplitude zwischen 1 kV und 100 kV, insbesondere zwischen 5 und 20 kV und besonders bevorzugt mit 10 kV, erzeugt.
- Trockenkammer nach einem der vorhergehenden Ansprüche, bei der das Gehäuse (1) ein metallisches Gehäuse ist.
- Trockenkammer nach einem der vorhergehenden Ansprüche, bei der zumindest eine leitfähige Fläche (8a, 8b) des oder der Wellenleiter (8) ganzstückig mit dem Gehäuses (1) ausgebildet sind und/oder von einem Teil des Gehäuses (1) gebildet wird und/oder separat von dem Gehäuse ausgebildet ist.
- Trockenkammer nach einem der vorhergehenden Ansprüche, bei der ein oder mehrere Wellenleiter (8) der Wellenleiter-Anordnung jeweils in der Erstreckungsrichtung aufgerollt sind und/oder in der Erstreckungsrichtung planar und/oder mäanderförmig und/oder zickzackförmig verlaufen und/oder um Ecken des Gehäuses herumgeführt sind.
- Trockenkammer nach einem der vorhergehenden Ansprüche, bei der sich das Dielektrikum und die leitfähigen Flächen (8a, 8b) von einem oder mehreren Wellenleitern (8) der Wellenleiter-Anordnung in eine zweite Erstreckungsrichtung erstrecken, welche im Wesentlichen in Längsrichtung des Eingangs- und/oder Ausgangsschlitzes verläuft.
- Trockenkammer nach Anspruch 9, bei der sich das Dielektrikum in der zweiten Erstreckungsrichtung in eine Länge erstreckt, welche zumindest 50% und vorzugsweise im Wesentlichen 100% der Länge des Eingangs- und/oder Ausgangsschlitzes (3, 4) in Längsrichtung beträgt.
- Trockenkammer nach Anspruch 9 oder 10, bei der in der zweiten Erstreckungsrichtung mehrere Wellenleiter (8) angeordnet sind, welche durch im Wesentlichen senkrecht zur zweiten Erstreckungsrichtung verlaufende Spalte voneinander getrennt sind.
- Trockenkammer nach einem der vorhergehenden Ansprüche, bei der die leitfähigen Flächen (8a, 8b) eines oder mehrerer Wellenleiter (8) der Wellenleiter-Anordnung geerdet sind und/oder an dem zweiten Ende (8d) mit dem Gehäuse (1) verbunden sind.
- Trockenkammer nach einem der vorhergehenden Ansprüche, bei der zumindest eine leitfähige Fläche (8a, 8b) eines oder mehrerer Wellenleiter (8) der Wellenleiter-Anordnung über einen oder mehreren Stege mit dem Gehäuse (1) verbunden sind.
- Trockenkammer nach einem der vorhergehenden Ansprüche, bei der ein oder mehrere Wellenleiter (8) der Wellenleiter-Anordnung innerhalb und/oder außerhalb des Gehäuses (1) angeordnet sind.
- Trockenkammer nach einem der vorhergehende Ansprüche, bei der der Eingangs- und/oder Ausgangsschlitz (3, 4) und zumindest teilweise ein oder mehrere der Wellenleiter (8) der Wellenleiter-Anordnung an der Oberseite (1a) des Gehäuses (1) angeordnet sind.
- Trockenkammer nach einem der vorhergehenden Ansprüche, bei der das Dielektrikum Luft und/oder Keramik und/oder elektrisch isolierenden Kunststoff umfasst.
- Trockenkammer nach einem der vorhergehende Ansprüche, bei der die Länge des Eingangs- und/oder Ausgangsschlitzes (3, 4) in Längsrichtung im Wesentlichen der Wellenlänge der Betriebsfrequenz und/oder einem Mehrfachen der Wellenlänge der Betriebsfrequenz entspricht.
- Trockenkammer nach einem der vorhergehenden Ansprüche, bei der ein oder mehrere Wellenleiter (8) der Wellenleiter-Anordnung auf einer und/oder auf beiden Seiten des Eingangs- und/oder Ausgangsschlitzes (3, 4) angeordnet sind.
- Trockenkammer nach einem der vorhergehenden Ansprüche, bei der der Eingangs- und Ausgangsschlitz (3, 4) zusammenfallen oder zwei getrennte Schlitze sind.
- Trockenkammer nach einem der vorhergehenden Ansprüche, bei der die Hochfrequenzanordnung ein oder mehrere, in dem Gehäuse (1) angeordnete und durch die zumindest eine Spannungsquelle gespeiste Paare von Elektroden (6, 7), insbesondere in der Form von Kondensatorplatten, umfasst, wobei im Betrieb der Trockenkammer zwischen den Elektroden (6, 7) von jedem Elektrodenpaar ein hochfrequentes elektrisches Wechselfeld erzeugt wird und das Gut zwischen den Elektroden (6, 7) des oder der Paare von Elektroden geführt wird.
- Trockenkammer nach Anspruch 20, bei der das oder die Paare von Elektroden (6, 7) im Betrieb der Trockenkammer mit unterschiedlichen Spannungsphasen und/oder Spannungsamplituden ansteuerbar sind.
- Trockenkammer nach Anspruch 20 oder 21, bei der die Paare von Elektroden (6, 7) zumindest teilweise durch separate Spannungsquellen gespeist werden und/oder zumindest teilweise durch eine Spannungsquelle mit Leistungsteiler und Phasenschieber gespeist werden.
- Trockenkammer nach einem der Ansprüche 20 bis 22, bei der eine Elektrode (6) eines jeweiligen Elektrodenpaars mit dem Gehäuse (1) verbunden ist und insbesondere ganzstückig als Platte mit dem Gehäuse (1) ausgebildet ist.
- Trockenkammer nach einem der vorhergehenden Ansprüche, bei der die Hochfrequenzanordnung (6, 7) derart ansteuerbar ist, dass im Betrieb der Trockenkammer das elektrische Feld am Eingangs- und/oder Ausgangsschlitz (3, 4) minimal wird.
- Trockenkammer nach einem der vorhergehenden Ansprüche, bei der in dem Gehäuse (1) eine oder mehrere Führungstrommeln (5) zum Führen des Guts durch die Trockenkammer vorgesehen sind.
Applications Claiming Priority (1)
| Application Number | Priority Date | Filing Date | Title |
|---|---|---|---|
| DE102008062320A DE102008062320B3 (de) | 2008-12-15 | 2008-12-15 | Trockenkammer zur dielektrischen Trocknung eines Guts, insbesondere einer Papierbahn |
Publications (2)
| Publication Number | Publication Date |
|---|---|
| EP2199461A1 EP2199461A1 (de) | 2010-06-23 |
| EP2199461B1 true EP2199461B1 (de) | 2011-07-20 |
Family
ID=41821569
Family Applications (1)
| Application Number | Title | Priority Date | Filing Date |
|---|---|---|---|
| EP09173151A Not-in-force EP2199461B1 (de) | 2008-12-15 | 2009-10-15 | Trockenkammer zur dielektrischen Trocknung eines Guts, insbesondere einer Papierbahn |
Country Status (3)
| Country | Link |
|---|---|
| EP (1) | EP2199461B1 (de) |
| AT (1) | ATE517210T1 (de) |
| DE (1) | DE102008062320B3 (de) |
Family Cites Families (4)
| Publication number | Priority date | Publication date | Assignee | Title |
|---|---|---|---|---|
| DE2901332C2 (de) * | 1979-01-15 | 1981-10-15 | Siemens AG, 1000 Berlin und 8000 München | Verfahren zur Trocknung von feuchten Bahnen aus Papier oder Kartonagen |
| GB2183317B (en) * | 1985-11-12 | 1989-01-05 | Electricity Council | Apparatus for drying stenter held material |
| US4873407A (en) * | 1986-12-24 | 1989-10-10 | Devron-Hercules, Inc. | Dielectric cross machine moisture control |
| DE19841638A1 (de) * | 1998-09-11 | 2000-03-16 | Voith Sulzer Papiertech Patent | Feuchteprofilierung |
-
2008
- 2008-12-15 DE DE102008062320A patent/DE102008062320B3/de not_active Expired - Fee Related
-
2009
- 2009-10-15 EP EP09173151A patent/EP2199461B1/de not_active Not-in-force
- 2009-10-15 AT AT09173151T patent/ATE517210T1/de active
Also Published As
| Publication number | Publication date |
|---|---|
| DE102008062320B3 (de) | 2010-04-15 |
| ATE517210T1 (de) | 2011-08-15 |
| EP2199461A1 (de) | 2010-06-23 |
Similar Documents
| Publication | Publication Date | Title |
|---|---|---|
| DE69835083T2 (de) | Verfahren und vorrichtung zur elektromagnetischen bestrahlung von flaechigen materialen oder dergleichen | |
| DE2722348B1 (de) | Verfahren und Vorrichtung zum Erwaermen eines Vlieses | |
| DE2545592A1 (de) | Trocknungsvorrichtung fuer bahnenfoermiges material | |
| EP0128397B1 (de) | Kapazitiver Hochfrequenz-Durchlaufofen | |
| EP2199461B1 (de) | Trockenkammer zur dielektrischen Trocknung eines Guts, insbesondere einer Papierbahn | |
| EP0095051B1 (de) | Vorrichtung zur Elektrischen Vorbehandlung von nichtleitenden Folien | |
| DE69010361T2 (de) | Vorrichtung für eine Leistungs-Hochspannungsquelle. | |
| EP0177726B1 (de) | Vorrichtung zum Aufheizen einer Schicht aus dielektrischem Material mittels Hochfrequenz | |
| DE19841638A1 (de) | Feuchteprofilierung | |
| WO2014190974A1 (de) | Mikrowellen-durchlaufofen | |
| DE69023159T2 (de) | Apparat zur Erwärmung eines dielektrischen Gewebe- oder Blattmaterials oder zur Verminderung seines Feuchtigkeitsgehaltes. | |
| EP0585542B1 (de) | Induktor | |
| DE69201617T2 (de) | Verfahren und anlage zum vermindern von abstandsabhängiger spannungserhöhung bei parallelen hochfrequenzelektroden. | |
| DE1460636A1 (de) | Behandlungsverfahren fuer Textilwerkstoffe und Vorrichtung zur Durchfuehrung des Verfahrens | |
| DE2027674B2 (de) | Einrichtung zur gleichmäßigen kapazitiven Erwärmung von breiten Bahnen | |
| DE68902831T2 (de) | Vorrichtung zur trocknung von furnier und sonstigen erzeug- nissen. | |
| DE1811303C3 (de) | Vorrichtung zum Trocknen der Verleimung von Papierblattstapeln wie Formularsätzen mittels Mikrowellen | |
| EP2773813B1 (de) | Verfahren zum ändern der formation einer papierbahn und papiermaschine | |
| EP1896654A1 (de) | Siebvorrichtung für die herstellung von papier und verfahren zur behandlung unverwobener faserstoffe | |
| DE4106573C1 (en) | Water-based wood varnish drier - applies capacitative stray field to horizontal conveyor of low dielectric loss carrying flat wood pieces or wooden surfaces greater than 500 mm in width | |
| EP0945545A2 (de) | Saugvorrichtung | |
| EP1891267B1 (de) | Pressenvorrichtung zum verdichten von papier und/oder zum entziehen von trägerflüssigkeit aus papier und verfahren hierzu | |
| EP1719837B1 (de) | Kalander | |
| DE10244941B4 (de) | Mikrowellen-Applikator | |
| EP2764158B1 (de) | Steuerung der blattbildung in einem papierherstellungsprozess |
Legal Events
| Date | Code | Title | Description |
|---|---|---|---|
| PUAI | Public reference made under article 153(3) epc to a published international application that has entered the european phase |
Free format text: ORIGINAL CODE: 0009012 |
|
| AK | Designated contracting states |
Kind code of ref document: A1 Designated state(s): AT BE BG CH CY CZ DE DK EE ES FI FR GB GR HR HU IE IS IT LI LT LU LV MC MK MT NL NO PL PT RO SE SI SK SM TR |
|
| 17P | Request for examination filed |
Effective date: 20101220 |
|
| GRAP | Despatch of communication of intention to grant a patent |
Free format text: ORIGINAL CODE: EPIDOSNIGR1 |
|
| RIC1 | Information provided on ipc code assigned before grant |
Ipc: D21F 5/00 20060101AFI20110202BHEP |
|
| GRAS | Grant fee paid |
Free format text: ORIGINAL CODE: EPIDOSNIGR3 |
|
| GRAA | (expected) grant |
Free format text: ORIGINAL CODE: 0009210 |
|
| AK | Designated contracting states |
Kind code of ref document: B1 Designated state(s): AT BE BG CH CY CZ DE DK EE ES FI FR GB GR HR HU IE IS IT LI LT LU LV MC MK MT NL NO PL PT RO SE SI SK SM TR |
|
| REG | Reference to a national code |
Ref country code: GB Ref legal event code: FG4D Free format text: NOT ENGLISH |
|
| REG | Reference to a national code |
Ref country code: CH Ref legal event code: EP |
|
| REG | Reference to a national code |
Ref country code: DE Ref legal event code: R096 Ref document number: 502009000988 Country of ref document: DE Effective date: 20110915 |
|
| REG | Reference to a national code |
Ref country code: NL Ref legal event code: VDEP Effective date: 20110720 |
|
| PG25 | Lapsed in a contracting state [announced via postgrant information from national office to epo] |
Ref country code: LT Free format text: LAPSE BECAUSE OF FAILURE TO SUBMIT A TRANSLATION OF THE DESCRIPTION OR TO PAY THE FEE WITHIN THE PRESCRIBED TIME-LIMIT Effective date: 20110720 Ref country code: HR Free format text: LAPSE BECAUSE OF FAILURE TO SUBMIT A TRANSLATION OF THE DESCRIPTION OR TO PAY THE FEE WITHIN THE PRESCRIBED TIME-LIMIT Effective date: 20110720 Ref country code: NL Free format text: LAPSE BECAUSE OF FAILURE TO SUBMIT A TRANSLATION OF THE DESCRIPTION OR TO PAY THE FEE WITHIN THE PRESCRIBED TIME-LIMIT Effective date: 20110720 Ref country code: NO Free format text: LAPSE BECAUSE OF FAILURE TO SUBMIT A TRANSLATION OF THE DESCRIPTION OR TO PAY THE FEE WITHIN THE PRESCRIBED TIME-LIMIT Effective date: 20111020 Ref country code: IS Free format text: LAPSE BECAUSE OF FAILURE TO SUBMIT A TRANSLATION OF THE DESCRIPTION OR TO PAY THE FEE WITHIN THE PRESCRIBED TIME-LIMIT Effective date: 20111120 Ref country code: SE Free format text: LAPSE BECAUSE OF FAILURE TO SUBMIT A TRANSLATION OF THE DESCRIPTION OR TO PAY THE FEE WITHIN THE PRESCRIBED TIME-LIMIT Effective date: 20110720 Ref country code: PT Free format text: LAPSE BECAUSE OF FAILURE TO SUBMIT A TRANSLATION OF THE DESCRIPTION OR TO PAY THE FEE WITHIN THE PRESCRIBED TIME-LIMIT Effective date: 20111121 |
|
| REG | Reference to a national code |
Ref country code: IE Ref legal event code: FD4D |
|
| PG25 | Lapsed in a contracting state [announced via postgrant information from national office to epo] |
Ref country code: GR Free format text: LAPSE BECAUSE OF FAILURE TO SUBMIT A TRANSLATION OF THE DESCRIPTION OR TO PAY THE FEE WITHIN THE PRESCRIBED TIME-LIMIT Effective date: 20111021 Ref country code: LV Free format text: LAPSE BECAUSE OF FAILURE TO SUBMIT A TRANSLATION OF THE DESCRIPTION OR TO PAY THE FEE WITHIN THE PRESCRIBED TIME-LIMIT Effective date: 20110720 Ref country code: SI Free format text: LAPSE BECAUSE OF FAILURE TO SUBMIT A TRANSLATION OF THE DESCRIPTION OR TO PAY THE FEE WITHIN THE PRESCRIBED TIME-LIMIT Effective date: 20110720 Ref country code: PL Free format text: LAPSE BECAUSE OF FAILURE TO SUBMIT A TRANSLATION OF THE DESCRIPTION OR TO PAY THE FEE WITHIN THE PRESCRIBED TIME-LIMIT Effective date: 20110720 Ref country code: CY Free format text: LAPSE BECAUSE OF FAILURE TO SUBMIT A TRANSLATION OF THE DESCRIPTION OR TO PAY THE FEE WITHIN THE PRESCRIBED TIME-LIMIT Effective date: 20110720 |
|
| BERE | Be: lapsed |
Owner name: SIEMENS A.G. Effective date: 20111031 |
|
| PG25 | Lapsed in a contracting state [announced via postgrant information from national office to epo] |
Ref country code: SK Free format text: LAPSE BECAUSE OF FAILURE TO SUBMIT A TRANSLATION OF THE DESCRIPTION OR TO PAY THE FEE WITHIN THE PRESCRIBED TIME-LIMIT Effective date: 20110720 Ref country code: IE Free format text: LAPSE BECAUSE OF FAILURE TO SUBMIT A TRANSLATION OF THE DESCRIPTION OR TO PAY THE FEE WITHIN THE PRESCRIBED TIME-LIMIT Effective date: 20110720 Ref country code: CZ Free format text: LAPSE BECAUSE OF FAILURE TO SUBMIT A TRANSLATION OF THE DESCRIPTION OR TO PAY THE FEE WITHIN THE PRESCRIBED TIME-LIMIT Effective date: 20110720 |
|
| PLBE | No opposition filed within time limit |
Free format text: ORIGINAL CODE: 0009261 |
|
| STAA | Information on the status of an ep patent application or granted ep patent |
Free format text: STATUS: NO OPPOSITION FILED WITHIN TIME LIMIT |
|
| PG25 | Lapsed in a contracting state [announced via postgrant information from national office to epo] |
Ref country code: IT Free format text: LAPSE BECAUSE OF FAILURE TO SUBMIT A TRANSLATION OF THE DESCRIPTION OR TO PAY THE FEE WITHIN THE PRESCRIBED TIME-LIMIT Effective date: 20110720 Ref country code: RO Free format text: LAPSE BECAUSE OF FAILURE TO SUBMIT A TRANSLATION OF THE DESCRIPTION OR TO PAY THE FEE WITHIN THE PRESCRIBED TIME-LIMIT Effective date: 20110720 Ref country code: EE Free format text: LAPSE BECAUSE OF FAILURE TO SUBMIT A TRANSLATION OF THE DESCRIPTION OR TO PAY THE FEE WITHIN THE PRESCRIBED TIME-LIMIT Effective date: 20110720 Ref country code: MC Free format text: LAPSE BECAUSE OF NON-PAYMENT OF DUE FEES Effective date: 20111031 |
|
| 26N | No opposition filed |
Effective date: 20120423 |
|
| PG25 | Lapsed in a contracting state [announced via postgrant information from national office to epo] |
Ref country code: DK Free format text: LAPSE BECAUSE OF FAILURE TO SUBMIT A TRANSLATION OF THE DESCRIPTION OR TO PAY THE FEE WITHIN THE PRESCRIBED TIME-LIMIT Effective date: 20110720 |
|
| PG25 | Lapsed in a contracting state [announced via postgrant information from national office to epo] |
Ref country code: BE Free format text: LAPSE BECAUSE OF NON-PAYMENT OF DUE FEES Effective date: 20111031 |
|
| REG | Reference to a national code |
Ref country code: DE Ref legal event code: R097 Ref document number: 502009000988 Country of ref document: DE Effective date: 20120423 |
|
| PG25 | Lapsed in a contracting state [announced via postgrant information from national office to epo] |
Ref country code: MT Free format text: LAPSE BECAUSE OF FAILURE TO SUBMIT A TRANSLATION OF THE DESCRIPTION OR TO PAY THE FEE WITHIN THE PRESCRIBED TIME-LIMIT Effective date: 20110720 Ref country code: MK Free format text: LAPSE BECAUSE OF FAILURE TO SUBMIT A TRANSLATION OF THE DESCRIPTION OR TO PAY THE FEE WITHIN THE PRESCRIBED TIME-LIMIT Effective date: 20110720 |
|
| PG25 | Lapsed in a contracting state [announced via postgrant information from national office to epo] |
Ref country code: ES Free format text: LAPSE BECAUSE OF FAILURE TO SUBMIT A TRANSLATION OF THE DESCRIPTION OR TO PAY THE FEE WITHIN THE PRESCRIBED TIME-LIMIT Effective date: 20111031 Ref country code: SM Free format text: LAPSE BECAUSE OF FAILURE TO SUBMIT A TRANSLATION OF THE DESCRIPTION OR TO PAY THE FEE WITHIN THE PRESCRIBED TIME-LIMIT Effective date: 20110720 |
|
| PG25 | Lapsed in a contracting state [announced via postgrant information from national office to epo] |
Ref country code: LU Free format text: LAPSE BECAUSE OF NON-PAYMENT OF DUE FEES Effective date: 20111015 |
|
| PG25 | Lapsed in a contracting state [announced via postgrant information from national office to epo] |
Ref country code: BG Free format text: LAPSE BECAUSE OF FAILURE TO SUBMIT A TRANSLATION OF THE DESCRIPTION OR TO PAY THE FEE WITHIN THE PRESCRIBED TIME-LIMIT Effective date: 20111020 |
|
| PG25 | Lapsed in a contracting state [announced via postgrant information from national office to epo] |
Ref country code: TR Free format text: LAPSE BECAUSE OF FAILURE TO SUBMIT A TRANSLATION OF THE DESCRIPTION OR TO PAY THE FEE WITHIN THE PRESCRIBED TIME-LIMIT Effective date: 20110720 |
|
| PG25 | Lapsed in a contracting state [announced via postgrant information from national office to epo] |
Ref country code: HU Free format text: LAPSE BECAUSE OF FAILURE TO SUBMIT A TRANSLATION OF THE DESCRIPTION OR TO PAY THE FEE WITHIN THE PRESCRIBED TIME-LIMIT Effective date: 20110720 |
|
| PGFP | Annual fee paid to national office [announced via postgrant information from national office to epo] |
Ref country code: GB Payment date: 20131014 Year of fee payment: 5 |
|
| REG | Reference to a national code |
Ref country code: CH Ref legal event code: PL |
|
| PG25 | Lapsed in a contracting state [announced via postgrant information from national office to epo] |
Ref country code: LI Free format text: LAPSE BECAUSE OF NON-PAYMENT OF DUE FEES Effective date: 20131031 Ref country code: CH Free format text: LAPSE BECAUSE OF NON-PAYMENT OF DUE FEES Effective date: 20131031 |
|
| PGFP | Annual fee paid to national office [announced via postgrant information from national office to epo] |
Ref country code: FR Payment date: 20141017 Year of fee payment: 6 |
|
| GBPC | Gb: european patent ceased through non-payment of renewal fee |
Effective date: 20141015 |
|
| PG25 | Lapsed in a contracting state [announced via postgrant information from national office to epo] |
Ref country code: GB Free format text: LAPSE BECAUSE OF NON-PAYMENT OF DUE FEES Effective date: 20141015 |
|
| PGFP | Annual fee paid to national office [announced via postgrant information from national office to epo] |
Ref country code: DE Payment date: 20151218 Year of fee payment: 7 |
|
| REG | Reference to a national code |
Ref country code: FR Ref legal event code: ST Effective date: 20160630 |
|
| PG25 | Lapsed in a contracting state [announced via postgrant information from national office to epo] |
Ref country code: FR Free format text: LAPSE BECAUSE OF NON-PAYMENT OF DUE FEES Effective date: 20151102 |
|
| PGFP | Annual fee paid to national office [announced via postgrant information from national office to epo] |
Ref country code: FI Payment date: 20161012 Year of fee payment: 8 |
|
| PGFP | Annual fee paid to national office [announced via postgrant information from national office to epo] |
Ref country code: AT Payment date: 20160908 Year of fee payment: 8 |
|
| REG | Reference to a national code |
Ref country code: DE Ref legal event code: R119 Ref document number: 502009000988 Country of ref document: DE |
|
| PG25 | Lapsed in a contracting state [announced via postgrant information from national office to epo] |
Ref country code: DE Free format text: LAPSE BECAUSE OF NON-PAYMENT OF DUE FEES Effective date: 20170503 |
|
| REG | Reference to a national code |
Ref country code: AT Ref legal event code: MM01 Ref document number: 517210 Country of ref document: AT Kind code of ref document: T Effective date: 20171015 |
|
| PG25 | Lapsed in a contracting state [announced via postgrant information from national office to epo] |
Ref country code: FI Free format text: LAPSE BECAUSE OF NON-PAYMENT OF DUE FEES Effective date: 20171015 |
|
| PG25 | Lapsed in a contracting state [announced via postgrant information from national office to epo] |
Ref country code: AT Free format text: LAPSE BECAUSE OF NON-PAYMENT OF DUE FEES Effective date: 20171015 |