EP2151630B1 - Swirler - Google Patents

Swirler Download PDF

Info

Publication number
EP2151630B1
EP2151630B1 EP08013950A EP08013950A EP2151630B1 EP 2151630 B1 EP2151630 B1 EP 2151630B1 EP 08013950 A EP08013950 A EP 08013950A EP 08013950 A EP08013950 A EP 08013950A EP 2151630 B1 EP2151630 B1 EP 2151630B1
Authority
EP
European Patent Office
Prior art keywords
swirler
hub
fuel
boundary wall
air
Prior art date
Legal status (The legal status is an assumption and is not a legal conclusion. Google has not performed a legal analysis and makes no representation as to the accuracy of the status listed.)
Not-in-force
Application number
EP08013950A
Other languages
German (de)
English (en)
French (fr)
Other versions
EP2151630A1 (de
Inventor
Marcus Fischer
Michael Dr. Huth
Bernd Dr. Prade
Current Assignee (The listed assignees may be inaccurate. Google has not performed a legal analysis and makes no representation or warranty as to the accuracy of the list.)
Siemens AG
Siemens Corp
Original Assignee
Siemens AG
Siemens Corp
Priority date (The priority date is an assumption and is not a legal conclusion. Google has not performed a legal analysis and makes no representation as to the accuracy of the date listed.)
Filing date
Publication date
Application filed by Siemens AG, Siemens Corp filed Critical Siemens AG
Priority to EP08013950A priority Critical patent/EP2151630B1/de
Priority to AT08013950T priority patent/ATE528589T1/de
Priority to JP2009179079A priority patent/JP5574635B2/ja
Publication of EP2151630A1 publication Critical patent/EP2151630A1/de
Application granted granted Critical
Publication of EP2151630B1 publication Critical patent/EP2151630B1/de
Not-in-force legal-status Critical Current
Anticipated expiration legal-status Critical

Links

Images

Classifications

    • FMECHANICAL ENGINEERING; LIGHTING; HEATING; WEAPONS; BLASTING
    • F23COMBUSTION APPARATUS; COMBUSTION PROCESSES
    • F23RGENERATING COMBUSTION PRODUCTS OF HIGH PRESSURE OR HIGH VELOCITY, e.g. GAS-TURBINE COMBUSTION CHAMBERS
    • F23R3/00Continuous combustion chambers using liquid or gaseous fuel
    • F23R3/02Continuous combustion chambers using liquid or gaseous fuel characterised by the air-flow or gas-flow configuration
    • F23R3/04Air inlet arrangements
    • F23R3/10Air inlet arrangements for primary air
    • F23R3/12Air inlet arrangements for primary air inducing a vortex
    • F23R3/14Air inlet arrangements for primary air inducing a vortex by using swirl vanes
    • FMECHANICAL ENGINEERING; LIGHTING; HEATING; WEAPONS; BLASTING
    • F23COMBUSTION APPARATUS; COMBUSTION PROCESSES
    • F23CMETHODS OR APPARATUS FOR COMBUSTION USING FLUID FUEL OR SOLID FUEL SUSPENDED IN  A CARRIER GAS OR AIR 
    • F23C7/00Combustion apparatus characterised by arrangements for air supply
    • F23C7/002Combustion apparatus characterised by arrangements for air supply the air being submitted to a rotary or spinning motion
    • F23C7/004Combustion apparatus characterised by arrangements for air supply the air being submitted to a rotary or spinning motion using vanes

Definitions

  • Gas turbines are known to have the following components: a compressor for compressing air; at least one combustion chamber for generating hot gas by burning fuel in the presence of the compressed air supplied by the compressor; and a turbine in which the hot gas supplied from the combustion chamber is expanded.
  • NOx nitrogen oxides
  • CO carbon monoxide
  • One known factor affecting NOx emissions is the combustion temperature. If the combustion temperature is lowered, the amount of NOx released decreases. However, high combustion temperatures are desirable to achieve high efficiency and enhance CO oxidation. It is known that leaner fuel / air mixtures burn cooler and therefore less NOx emissions arise.
  • One known technique for producing a leaner fuel mixture is to create turbulence to mix air and fuel as evenly as possible prior to combustion to avoid creating zones of rich mixture in which there are high temperature localities called hot spots).
  • combustion engines in particular those which are operated with two different fuels, for example, an injection of the fuel oil via Swirler, in which the oil is mixed with air.
  • Swirler in which the oil is mixed with air.
  • These swirlers are usually arranged concentrically around a heavily twisted pilot burner. The pilot is followed by a pilot cone, in which the pilot gas combustion takes place. This, downstream in the flow direction, the main combustion takes place. Combustion air flows through the pilot or the Swirler and is mixed there with fuel. To prevent unwanted ignition of the mixture, the intermediate areas between the swirlers are traversed by air or an air / fuel mixture. This air is available for an improvement of the mixture and / or for a reduction of the maximum combustion temperature only limited.
  • the US 2004/0163392 A discloses Swirler, which at the Brenn Kunststoffeingahgsseite have a round cross-section. Downstream of a swirler, the cross section transitions from a circular to a trapezoidal shape.
  • the US 5,373,693 A discloses a fuel nozzle coaxially associated with an annular swirl means, the swirl means having tangential channels between circumferentially distributed profiles for controllable supply of combustion air.
  • the U 6,038,861 discloses Swirler, which have a round cross section at the combustion air inlet side. These expand with increasing flow direction. Adjacent swirlers eventually join together to form an annular gap. However, this is difficult to implement on the production side.
  • a swirler with a hub arranged along an axis and with a boundary wall which completely surrounds the hub and which comprises at least one swirl blade which extends radially outward from the hub to the boundary wall.
  • the cross section formed by the boundary wall perpendicular to the axis is trapezoidal.
  • the invention has thus recognized that in the current geometry of the Swirler an intensive flow through the intermediate areas with air is inevitable, thus avoiding inflammation of these intermediate areas.
  • a trapezoidal cross-section can be integrated into the burner much more simply, in particular two swirlers with respect to one another, so that an inflammation of these intermediate regions can be avoided even without intensive flushing with air.
  • Trapezoidal includes all geometries that has essentially two parallel sides. These can also have a slight curvature.
  • the corners of the boundary wall can also have a rounding. All sides of the boundary wall may have a slight bend.
  • the at least one swirl blade preferably has a 3-d geometry.
  • corner blades may be present in the corners of the boundary wall. These can be pointed and directed from the hub to the cross section or vice versa.
  • the corner vanes must also not consistently enough from the hub to the cross section. This ensures a better aerodynamic flow through the strongly 3-dimensional flow field.
  • the corners of the boundary wall can be protected with effusion air. This avoids a flashback.
  • fuel can be passed through the hub.
  • fuel injections are arranged. These can be arranged on the swirl blades. During operation, fuel is thus injected into the air or the air / fuel mixture.
  • FIG. 1 shows a burner 100 with a nozzle housing 6 and a lower part 5.
  • a pilot burner 1 which has an injection opening 4 for the pilot fuel, passes through the nozzle housing 6 and is fixed to the lower part 5 of the nozzle housing.
  • the main fuel nozzles 2 are parallel to the pilot burner 1 through the nozzle housing 6 and are fixed to the lower part 5 of the nozzle housing.
  • the fuel inlets 16 supply the main fuel nozzles 2 with fuel.
  • a main combustion zone 9 is formed within the liner 19.
  • a pilot cone 20 protrudes from the vicinity of the pilot fuel injection port 4 of the pilot burner 1 and has a widened end 22 adjacent to the main combustion zone 9.
  • the pilot cone 20 has an expanding profile forming a zone 23 for the pilot flame.
  • the compressed air 101 flows from the compressor 50 between support ribs 7 through the main air swirling devices 8 into the main combustion zone 9.
  • Each main air swirling device 8 is parallel to the pilot burner 1 and adjoins the main combustion zone 9.
  • a plurality of swirlers 80 surround each main fuel nozzle 2. These generate a swirl to mix compressed air 101 and fuel 102 together.
  • a fuel / air mixture 103 is carried to the main combustion zone where it burns.
  • the compressed air 101 also enters zone 23 of the pilot flame through a set of stationary sheets 10 located within pilot rotors 11.
  • the compressed air 101 mixes within the pilot cone 20 with the pilot fuel 30 and is transported to the zone 23 of the pilot flame, where it burns.
  • FIG. 2 shows a view of a combustion chamber 100 along the axes AA.
  • the pilot burner 1 of main fuel nozzles 2 is annularly surrounded.
  • a main fuel swirling device 8 with swirlers 80 surrounds each main fuel nozzle 2.
  • the main fuel nozzles 8 are separated from each other by the distance d.
  • the pilot burner 1 is surrounded by main fuel nozzles 2, which are equidistantly spaced, but these distances may also vary.
  • the widened end 22 of the pilot cone 20 forms with the liner 19 a circular ring.
  • the fuel / air mixture flows through the annulus into the main combustion zone 19.
  • gaps In order to prevent an undesired ignition of the mixture between the main fuel nozzles 8, hereinafter referred to as gaps, these spaces of the main fuel nozzles 8 are thoroughly flushed with air. This air is limited for an improvement of the mixture and / or the reduction of the maximum combustion temperature available. Since it is known that leaner mixtures of fuel and air burn cooler and thus reduce the emission of NOx, it is desirable to minimize the required purge air in a simple manner.
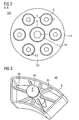
  • FIG. 3 shows a Swirler 90 in particular for a gas turbine.
  • the swirler 90 has a boundary wall (B) which has a cross section formed perpendicular to the axis (A), this cross-section being trapezoidal.
  • the Swirler 90 comprises at least one swirl blade 91.
  • the swirler 90 is arranged substantially on a central hub 92. Through these takes place, the fuel supply.
  • the central hub 92 is connected to a fuel line.
  • the swirl blade 91 is preferably formed as a 3-D blade.
  • the fuel may be injected from the hub 92 or from the blades. This causes a better aerodynamic flow through the 3-dimensional flow field.
  • 3-d blades can be used.
  • corner blades 96 can be applied, which taper from the cross-sectional corners. These corner blades 96 are located in the corners of the boundary wall (B) and can reach to the hub 92; but also between the boundary wall (B) and hub 92 end. This achieves a better, more uniform flow behavior. Furthermore, it is advantageous that the corners of the boundary wall (B) are flowed through with effusion air, thus protecting these corners particularly well against flashback.
  • the swirl vanes 91 for fuel injection are fixedly connected to the boundary wall (B) of the Swirler 90. Alternatively, the swirl vanes 91 may also be connected only to the hub 92, are suspended as a component only on the hub 92, so to speak. This would be easier to produce in terms of production technology and thus cause lower costs.
  • FIG. 4 schematically shows a Swirleran Aunt 95 comprising the Swirler 90a, 90b. These are arranged centrally and annularly around a pilot burner 1.
  • the Swirler 90 a, 90b have a small distance d1 from each other. Due to the trapezoidal geometry of the cross sections, the swirlers can also be set very close to the plane of the pilot cone 20, since the advantageous geometric design precisely joins together the corresponding annular gap contour with segments in the circumferential direction.
  • a non-circular Swirler which has a circumferentially segmented flow creates, which is twisted each. Furthermore, it is possible with the aid of the invention to flow through the so-called interstices with substantially less air, so as to avoid unwanted inflammations of the interstices. Thus, more air is available for combustion. Another advantage is the simpler mechanical design and the associated greater robustness and lower production costs.

Landscapes

  • Engineering & Computer Science (AREA)
  • Chemical & Material Sciences (AREA)
  • Combustion & Propulsion (AREA)
  • Mechanical Engineering (AREA)
  • General Engineering & Computer Science (AREA)
  • Pressure-Spray And Ultrasonic-Wave- Spray Burners (AREA)
  • Structures Of Non-Positive Displacement Pumps (AREA)
EP08013950A 2008-08-04 2008-08-04 Swirler Not-in-force EP2151630B1 (de)

Priority Applications (3)

Application Number Priority Date Filing Date Title
EP08013950A EP2151630B1 (de) 2008-08-04 2008-08-04 Swirler
AT08013950T ATE528589T1 (de) 2008-08-04 2008-08-04 Swirler
JP2009179079A JP5574635B2 (ja) 2008-08-04 2009-07-31 旋回翼

Applications Claiming Priority (1)

Application Number Priority Date Filing Date Title
EP08013950A EP2151630B1 (de) 2008-08-04 2008-08-04 Swirler

Publications (2)

Publication Number Publication Date
EP2151630A1 EP2151630A1 (de) 2010-02-10
EP2151630B1 true EP2151630B1 (de) 2011-10-12

Family

ID=40351605

Family Applications (1)

Application Number Title Priority Date Filing Date
EP08013950A Not-in-force EP2151630B1 (de) 2008-08-04 2008-08-04 Swirler

Country Status (3)

Country Link
EP (1) EP2151630B1 (enExample)
JP (1) JP5574635B2 (enExample)
AT (1) ATE528589T1 (enExample)

Families Citing this family (3)

* Cited by examiner, † Cited by third party
Publication number Priority date Publication date Assignee Title
DE102012002465A1 (de) 2012-02-08 2013-08-08 Rolls-Royce Deutschland Ltd & Co Kg Gasturbinenbrennkammer mit unsymmetrischen Kraftstoffdüsen
US20180335214A1 (en) * 2017-05-18 2018-11-22 United Technologies Corporation Fuel air mixer assembly for a gas turbine engine combustor
CN114413284A (zh) * 2021-12-28 2022-04-29 北京动力机械研究所 一种与环形燃烧室头部匹配的异形旋流器

Citations (1)

* Cited by examiner, † Cited by third party
Publication number Priority date Publication date Assignee Title
US20040163392A1 (en) * 2001-06-29 2004-08-26 Mitsubishi Heavy Industries Ltd. Gas turbine combustor

Family Cites Families (14)

* Cited by examiner, † Cited by third party
Publication number Priority date Publication date Assignee Title
JPS6122127A (ja) * 1984-07-10 1986-01-30 Hitachi Ltd ガスタ−ビン燃焼器
JPH02267419A (ja) * 1989-04-10 1990-11-01 Hitachi Ltd ガスタービン燃焼器
US5359847B1 (en) * 1993-06-01 1996-04-09 Westinghouse Electric Corp Dual fuel ultra-flow nox combustor
FR2751054B1 (fr) * 1996-07-11 1998-09-18 Snecma Chambre de combustion anti-nox a injection de carburant de type annulaire
US6038861A (en) * 1998-06-10 2000-03-21 Siemens Westinghouse Power Corporation Main stage fuel mixer with premixing transition for dry low Nox (DLN) combustors
US6119459A (en) * 1998-08-18 2000-09-19 Alliedsignal Inc. Elliptical axial combustor swirler
JP2002031343A (ja) * 2000-07-13 2002-01-31 Mitsubishi Heavy Ind Ltd 燃料噴出部材、バーナ、燃焼器の予混合ノズル、燃焼器、ガスタービン及びジェットエンジン
JP2002213746A (ja) * 2001-01-19 2002-07-31 Mitsubishi Heavy Ind Ltd バーナ、燃焼器の予混合ノズル及び燃焼器
JP4610796B2 (ja) * 2001-06-13 2011-01-12 三菱重工業株式会社 ガスタービン燃焼器
JP3986348B2 (ja) * 2001-06-29 2007-10-03 三菱重工業株式会社 ガスタービン燃焼器の燃料供給ノズルおよびガスタービン燃焼器並びにガスタービン
JP2003130351A (ja) * 2001-10-18 2003-05-08 Mitsubishi Heavy Ind Ltd 燃焼器、ガスタービン及びジェットエンジン
JP4070758B2 (ja) * 2004-09-10 2008-04-02 三菱重工業株式会社 ガスタービン燃焼器
JP4476177B2 (ja) * 2005-06-06 2010-06-09 三菱重工業株式会社 ガスタービンの燃焼バーナー
JP4486549B2 (ja) * 2005-06-06 2010-06-23 三菱重工業株式会社 ガスタービンの燃焼器

Patent Citations (1)

* Cited by examiner, † Cited by third party
Publication number Priority date Publication date Assignee Title
US20040163392A1 (en) * 2001-06-29 2004-08-26 Mitsubishi Heavy Industries Ltd. Gas turbine combustor

Also Published As

Publication number Publication date
JP2010038538A (ja) 2010-02-18
ATE528589T1 (de) 2011-10-15
EP2151630A1 (de) 2010-02-10
JP5574635B2 (ja) 2014-08-20

Similar Documents

Publication Publication Date Title
EP3087323B1 (de) Brennstoffdüse, brenner mit einer solchen brennstoffdüse, und gasturbine mit einem solchen brenner
DE69617290T2 (de) Verbrennungsgerät für Gasturbinenmotor
DE19533055B4 (de) Doppelbrennstoffmischer für eine Gasturbinenbrennkammer
DE102005024062B4 (de) Brennerrohr und Verfahren zum Mischen von Luft und Gas in einem Gasturbinentriebwerk
DE102010036488B4 (de) Gasturbinenbrenner
DE102007062896A1 (de) Mittelkörper für Mischeranordnung einer Gasturbinentriebwerks-Brennkammer
CH710573A2 (de) Brennstoffdüse für eine Gasturbinenbrennkammer.
DE102010017779B4 (de) Radiale Einlassleitschaufeln für einen Brenner
DE102015122927A1 (de) Pilotdüse in einer Gasturbinenbrennkammer
DE102015122924A1 (de) Pilotdüse in einer Gasturbinenbrennkammer
DE102007004394A1 (de) Brenner zum Verbrennen eines Vorgemischs für eine Gasturbine
DE112014001532T5 (de) Brenner und Gasturbine
DE102009003453A1 (de) Brennrohr-Vormischer und Verfahren zur Gas/Luft-Gemischbildung in einer Gasturbine
DE112016003028B4 (de) Brennstoffdüsenanordnung
EP2601447A2 (de) Gasturbinenbrennkammer
DE102014116971A1 (de) Vormischeranordnung zur Vermischung von Luft und Brennstoff zur Verbrennung
DE112020000262T5 (de) Brenner, damit ausgestattete brennkammer und gasturbine
EP4500082A2 (de) Düsenbaugruppe mit zentraler kraftstoffzufuhr und wenigstens einem luftkanal
EP4500085A1 (de) Düsenbaugruppe mit gegen eine einströmung von luft abgedichtetem zentralen kraftstoffrohr
EP2703720A2 (de) Verfahren zum Betrieb eines Magervormischbrenners einer Fluggasturbine sowie Vorrichtung zur Durchführung des Verfahrens
EP2507557B1 (de) Brenneranordnung
DE112017001173T5 (de) Brenneranordnung, brennkammer und gasturbine
DE102004027702A1 (de) Injektor für Flüssigbrennstoff sowie gestufter Vormischbrenner mit diesem Injektor
EP2151630B1 (de) Swirler
WO2019020350A1 (de) Gasturbinenbrenner mit vorgemischten strahlflammen

Legal Events

Date Code Title Description
PUAI Public reference made under article 153(3) epc to a published international application that has entered the european phase

Free format text: ORIGINAL CODE: 0009012

AK Designated contracting states

Kind code of ref document: A1

Designated state(s): AT BE BG CH CY CZ DE DK EE ES FI FR GB GR HR HU IE IS IT LI LT LU LV MC MT NL NO PL PT RO SE SI SK TR

AX Request for extension of the european patent

Extension state: AL BA MK RS

17P Request for examination filed

Effective date: 20100329

17Q First examination report despatched

Effective date: 20100512

AKX Designation fees paid

Designated state(s): AT BE BG CH CY CZ DE DK EE ES FI FR GB GR HR HU IE IS IT LI LT LU LV MC MT NL NO PL PT RO SE SI SK TR

GRAP Despatch of communication of intention to grant a patent

Free format text: ORIGINAL CODE: EPIDOSNIGR1

RTI1 Title (correction)

Free format text: SWIRLER

GRAS Grant fee paid

Free format text: ORIGINAL CODE: EPIDOSNIGR3

GRAA (expected) grant

Free format text: ORIGINAL CODE: 0009210

AK Designated contracting states

Kind code of ref document: B1

Designated state(s): AT BE BG CH CY CZ DE DK EE ES FI FR GB GR HR HU IE IS IT LI LT LU LV MC MT NL NO PL PT RO SE SI SK TR

REG Reference to a national code

Ref country code: GB

Ref legal event code: FG4D

Free format text: NOT ENGLISH

REG Reference to a national code

Ref country code: CH

Ref legal event code: EP

REG Reference to a national code

Ref country code: IE

Ref legal event code: FG4D

REG Reference to a national code

Ref country code: DE

Ref legal event code: R096

Ref document number: 502008005123

Country of ref document: DE

Effective date: 20120105

REG Reference to a national code

Ref country code: NL

Ref legal event code: VDEP

Effective date: 20111012

LTIE Lt: invalidation of european patent or patent extension

Effective date: 20111012

PG25 Lapsed in a contracting state [announced via postgrant information from national office to epo]

Ref country code: LT

Free format text: LAPSE BECAUSE OF FAILURE TO SUBMIT A TRANSLATION OF THE DESCRIPTION OR TO PAY THE FEE WITHIN THE PRESCRIBED TIME-LIMIT

Effective date: 20111012

Ref country code: NO

Free format text: LAPSE BECAUSE OF FAILURE TO SUBMIT A TRANSLATION OF THE DESCRIPTION OR TO PAY THE FEE WITHIN THE PRESCRIBED TIME-LIMIT

Effective date: 20120112

Ref country code: IS

Free format text: LAPSE BECAUSE OF FAILURE TO SUBMIT A TRANSLATION OF THE DESCRIPTION OR TO PAY THE FEE WITHIN THE PRESCRIBED TIME-LIMIT

Effective date: 20120212

REG Reference to a national code

Ref country code: IE

Ref legal event code: FD4D

PG25 Lapsed in a contracting state [announced via postgrant information from national office to epo]

Ref country code: NL

Free format text: LAPSE BECAUSE OF FAILURE TO SUBMIT A TRANSLATION OF THE DESCRIPTION OR TO PAY THE FEE WITHIN THE PRESCRIBED TIME-LIMIT

Effective date: 20111012

Ref country code: HR

Free format text: LAPSE BECAUSE OF FAILURE TO SUBMIT A TRANSLATION OF THE DESCRIPTION OR TO PAY THE FEE WITHIN THE PRESCRIBED TIME-LIMIT

Effective date: 20111012

Ref country code: SE

Free format text: LAPSE BECAUSE OF FAILURE TO SUBMIT A TRANSLATION OF THE DESCRIPTION OR TO PAY THE FEE WITHIN THE PRESCRIBED TIME-LIMIT

Effective date: 20111012

Ref country code: GR

Free format text: LAPSE BECAUSE OF FAILURE TO SUBMIT A TRANSLATION OF THE DESCRIPTION OR TO PAY THE FEE WITHIN THE PRESCRIBED TIME-LIMIT

Effective date: 20120113

Ref country code: LV

Free format text: LAPSE BECAUSE OF FAILURE TO SUBMIT A TRANSLATION OF THE DESCRIPTION OR TO PAY THE FEE WITHIN THE PRESCRIBED TIME-LIMIT

Effective date: 20111012

Ref country code: PT

Free format text: LAPSE BECAUSE OF FAILURE TO SUBMIT A TRANSLATION OF THE DESCRIPTION OR TO PAY THE FEE WITHIN THE PRESCRIBED TIME-LIMIT

Effective date: 20120213

Ref country code: SI

Free format text: LAPSE BECAUSE OF FAILURE TO SUBMIT A TRANSLATION OF THE DESCRIPTION OR TO PAY THE FEE WITHIN THE PRESCRIBED TIME-LIMIT

Effective date: 20111012

PG25 Lapsed in a contracting state [announced via postgrant information from national office to epo]

Ref country code: CY

Free format text: LAPSE BECAUSE OF FAILURE TO SUBMIT A TRANSLATION OF THE DESCRIPTION OR TO PAY THE FEE WITHIN THE PRESCRIBED TIME-LIMIT

Effective date: 20111012

PG25 Lapsed in a contracting state [announced via postgrant information from national office to epo]

Ref country code: CZ

Free format text: LAPSE BECAUSE OF FAILURE TO SUBMIT A TRANSLATION OF THE DESCRIPTION OR TO PAY THE FEE WITHIN THE PRESCRIBED TIME-LIMIT

Effective date: 20111012

Ref country code: DK

Free format text: LAPSE BECAUSE OF FAILURE TO SUBMIT A TRANSLATION OF THE DESCRIPTION OR TO PAY THE FEE WITHIN THE PRESCRIBED TIME-LIMIT

Effective date: 20111012

Ref country code: EE

Free format text: LAPSE BECAUSE OF FAILURE TO SUBMIT A TRANSLATION OF THE DESCRIPTION OR TO PAY THE FEE WITHIN THE PRESCRIBED TIME-LIMIT

Effective date: 20111012

Ref country code: BG

Free format text: LAPSE BECAUSE OF FAILURE TO SUBMIT A TRANSLATION OF THE DESCRIPTION OR TO PAY THE FEE WITHIN THE PRESCRIBED TIME-LIMIT

Effective date: 20120112

Ref country code: SK

Free format text: LAPSE BECAUSE OF FAILURE TO SUBMIT A TRANSLATION OF THE DESCRIPTION OR TO PAY THE FEE WITHIN THE PRESCRIBED TIME-LIMIT

Effective date: 20111012

Ref country code: IE

Free format text: LAPSE BECAUSE OF FAILURE TO SUBMIT A TRANSLATION OF THE DESCRIPTION OR TO PAY THE FEE WITHIN THE PRESCRIBED TIME-LIMIT

Effective date: 20111012

PLBE No opposition filed within time limit

Free format text: ORIGINAL CODE: 0009261

STAA Information on the status of an ep patent application or granted ep patent

Free format text: STATUS: NO OPPOSITION FILED WITHIN TIME LIMIT

PG25 Lapsed in a contracting state [announced via postgrant information from national office to epo]

Ref country code: RO

Free format text: LAPSE BECAUSE OF FAILURE TO SUBMIT A TRANSLATION OF THE DESCRIPTION OR TO PAY THE FEE WITHIN THE PRESCRIBED TIME-LIMIT

Effective date: 20111012

Ref country code: PL

Free format text: LAPSE BECAUSE OF FAILURE TO SUBMIT A TRANSLATION OF THE DESCRIPTION OR TO PAY THE FEE WITHIN THE PRESCRIBED TIME-LIMIT

Effective date: 20111012

Ref country code: IT

Free format text: LAPSE BECAUSE OF FAILURE TO SUBMIT A TRANSLATION OF THE DESCRIPTION OR TO PAY THE FEE WITHIN THE PRESCRIBED TIME-LIMIT

Effective date: 20111012

26N No opposition filed

Effective date: 20120713

REG Reference to a national code

Ref country code: DE

Ref legal event code: R097

Ref document number: 502008005123

Country of ref document: DE

Effective date: 20120713

BERE Be: lapsed

Owner name: SIEMENS A.G.

Effective date: 20120831

REG Reference to a national code

Ref country code: CH

Ref legal event code: PL

PG25 Lapsed in a contracting state [announced via postgrant information from national office to epo]

Ref country code: MC

Free format text: LAPSE BECAUSE OF NON-PAYMENT OF DUE FEES

Effective date: 20120831

GBPC Gb: european patent ceased through non-payment of renewal fee

Effective date: 20120804

PG25 Lapsed in a contracting state [announced via postgrant information from national office to epo]

Ref country code: LI

Free format text: LAPSE BECAUSE OF NON-PAYMENT OF DUE FEES

Effective date: 20120831

Ref country code: ES

Free format text: LAPSE BECAUSE OF FAILURE TO SUBMIT A TRANSLATION OF THE DESCRIPTION OR TO PAY THE FEE WITHIN THE PRESCRIBED TIME-LIMIT

Effective date: 20120123

Ref country code: CH

Free format text: LAPSE BECAUSE OF NON-PAYMENT OF DUE FEES

Effective date: 20120831

REG Reference to a national code

Ref country code: FR

Ref legal event code: ST

Effective date: 20130430

PG25 Lapsed in a contracting state [announced via postgrant information from national office to epo]

Ref country code: BE

Free format text: LAPSE BECAUSE OF NON-PAYMENT OF DUE FEES

Effective date: 20120831

PG25 Lapsed in a contracting state [announced via postgrant information from national office to epo]

Ref country code: FI

Free format text: LAPSE BECAUSE OF FAILURE TO SUBMIT A TRANSLATION OF THE DESCRIPTION OR TO PAY THE FEE WITHIN THE PRESCRIBED TIME-LIMIT

Effective date: 20111012

PG25 Lapsed in a contracting state [announced via postgrant information from national office to epo]

Ref country code: GB

Free format text: LAPSE BECAUSE OF NON-PAYMENT OF DUE FEES

Effective date: 20120804

PG25 Lapsed in a contracting state [announced via postgrant information from national office to epo]

Ref country code: FR

Free format text: LAPSE BECAUSE OF NON-PAYMENT OF DUE FEES

Effective date: 20120831

PG25 Lapsed in a contracting state [announced via postgrant information from national office to epo]

Ref country code: MT

Free format text: LAPSE BECAUSE OF FAILURE TO SUBMIT A TRANSLATION OF THE DESCRIPTION OR TO PAY THE FEE WITHIN THE PRESCRIBED TIME-LIMIT

Effective date: 20111012

PG25 Lapsed in a contracting state [announced via postgrant information from national office to epo]

Ref country code: TR

Free format text: LAPSE BECAUSE OF FAILURE TO SUBMIT A TRANSLATION OF THE DESCRIPTION OR TO PAY THE FEE WITHIN THE PRESCRIBED TIME-LIMIT

Effective date: 20111012

PG25 Lapsed in a contracting state [announced via postgrant information from national office to epo]

Ref country code: LU

Free format text: LAPSE BECAUSE OF NON-PAYMENT OF DUE FEES

Effective date: 20120804

PG25 Lapsed in a contracting state [announced via postgrant information from national office to epo]

Ref country code: HU

Free format text: LAPSE BECAUSE OF FAILURE TO SUBMIT A TRANSLATION OF THE DESCRIPTION OR TO PAY THE FEE WITHIN THE PRESCRIBED TIME-LIMIT

Effective date: 20080804

REG Reference to a national code

Ref country code: AT

Ref legal event code: MM01

Ref document number: 528589

Country of ref document: AT

Kind code of ref document: T

Effective date: 20130804

PG25 Lapsed in a contracting state [announced via postgrant information from national office to epo]

Ref country code: AT

Free format text: LAPSE BECAUSE OF NON-PAYMENT OF DUE FEES

Effective date: 20130804

PGFP Annual fee paid to national office [announced via postgrant information from national office to epo]

Ref country code: DE

Payment date: 20151016

Year of fee payment: 8

REG Reference to a national code

Ref country code: DE

Ref legal event code: R119

Ref document number: 502008005123

Country of ref document: DE

PG25 Lapsed in a contracting state [announced via postgrant information from national office to epo]

Ref country code: DE

Free format text: LAPSE BECAUSE OF NON-PAYMENT OF DUE FEES

Effective date: 20170301