EP2124232A2 - Elektrische Leitung zum Anschluß an ortsveränderliche Verbraucher - Google Patents
Elektrische Leitung zum Anschluß an ortsveränderliche Verbraucher Download PDFInfo
- Publication number
- EP2124232A2 EP2124232A2 EP09305285A EP09305285A EP2124232A2 EP 2124232 A2 EP2124232 A2 EP 2124232A2 EP 09305285 A EP09305285 A EP 09305285A EP 09305285 A EP09305285 A EP 09305285A EP 2124232 A2 EP2124232 A2 EP 2124232A2
- Authority
- EP
- European Patent Office
- Prior art keywords
- core
- strips
- cable according
- conductive material
- copper
- Prior art date
- Legal status (The legal status is an assumption and is not a legal conclusion. Google has not performed a legal analysis and makes no representation as to the accuracy of the status listed.)
- Granted
Links
- 239000004020 conductor Substances 0.000 claims abstract description 11
- 238000005452 bending Methods 0.000 claims abstract description 5
- 239000000463 material Substances 0.000 claims abstract description 5
- RYGMFSIKBFXOCR-UHFFFAOYSA-N Copper Chemical compound [Cu] RYGMFSIKBFXOCR-UHFFFAOYSA-N 0.000 claims description 21
- 229910052802 copper Inorganic materials 0.000 claims description 20
- 239000010949 copper Substances 0.000 claims description 20
- 238000004804 winding Methods 0.000 claims description 6
- BASFCYQUMIYNBI-UHFFFAOYSA-N platinum Chemical compound [Pt] BASFCYQUMIYNBI-UHFFFAOYSA-N 0.000 claims description 4
- 229910000881 Cu alloy Inorganic materials 0.000 claims description 2
- BQCADISMDOOEFD-UHFFFAOYSA-N Silver Chemical compound [Ag] BQCADISMDOOEFD-UHFFFAOYSA-N 0.000 claims description 2
- 229910000831 Steel Inorganic materials 0.000 claims description 2
- PCHJSUWPFVWCPO-UHFFFAOYSA-N gold Chemical compound [Au] PCHJSUWPFVWCPO-UHFFFAOYSA-N 0.000 claims description 2
- 229910052737 gold Inorganic materials 0.000 claims description 2
- 239000010931 gold Substances 0.000 claims description 2
- 239000002557 mineral fiber Substances 0.000 claims description 2
- 229910052697 platinum Inorganic materials 0.000 claims description 2
- 229910052709 silver Inorganic materials 0.000 claims description 2
- 239000004332 silver Substances 0.000 claims description 2
- 239000010959 steel Substances 0.000 claims description 2
- 230000005540 biological transmission Effects 0.000 description 3
- 230000000694 effects Effects 0.000 description 3
- PXHVJJICTQNCMI-UHFFFAOYSA-N Nickel Chemical compound [Ni] PXHVJJICTQNCMI-UHFFFAOYSA-N 0.000 description 2
- OKTJSMMVPCPJKN-UHFFFAOYSA-N Carbon Chemical compound [C] OKTJSMMVPCPJKN-UHFFFAOYSA-N 0.000 description 1
- VYPSYNLAJGMNEJ-UHFFFAOYSA-N Silicium dioxide Chemical compound O=[Si]=O VYPSYNLAJGMNEJ-UHFFFAOYSA-N 0.000 description 1
- 230000001133 acceleration Effects 0.000 description 1
- 229920003235 aromatic polyamide Polymers 0.000 description 1
- 229910052799 carbon Inorganic materials 0.000 description 1
- 238000005097 cold rolling Methods 0.000 description 1
- 238000005516 engineering process Methods 0.000 description 1
- 239000011521 glass Substances 0.000 description 1
- 239000011810 insulating material Substances 0.000 description 1
- 238000009413 insulation Methods 0.000 description 1
- 230000007774 longterm Effects 0.000 description 1
- 238000004519 manufacturing process Methods 0.000 description 1
- 229910052759 nickel Inorganic materials 0.000 description 1
Images
Classifications
-
- H—ELECTRICITY
- H01—ELECTRIC ELEMENTS
- H01B—CABLES; CONDUCTORS; INSULATORS; SELECTION OF MATERIALS FOR THEIR CONDUCTIVE, INSULATING OR DIELECTRIC PROPERTIES
- H01B7/00—Insulated conductors or cables characterised by their form
- H01B7/04—Flexible cables, conductors, or cords, e.g. trailing cables
- H01B7/041—Flexible cables, conductors, or cords, e.g. trailing cables attached to mobile objects, e.g. portable tools, elevators, mining equipment, hoisting cables
-
- H—ELECTRICITY
- H01—ELECTRIC ELEMENTS
- H01B—CABLES; CONDUCTORS; INSULATORS; SELECTION OF MATERIALS FOR THEIR CONDUCTIVE, INSULATING OR DIELECTRIC PROPERTIES
- H01B7/00—Insulated conductors or cables characterised by their form
- H01B7/17—Protection against damage caused by external factors, e.g. sheaths or armouring
- H01B7/18—Protection against damage caused by wear, mechanical force or pressure; Sheaths; Armouring
Definitions
- the invention relates to an electrical line for connection to portable consumers, which has at least two cores consisting of insulated electrical conductors and at least one electric wire consisting of individual wires, which is designed as a braid or stranding ( EP 1 736 999 A1 ).
- Such a line is used for example for connecting mobile devices, in particular robots, with a voltage or signal source.
- the cable must be mechanically strong, with a long-term constant bending strength. You should remain well bendable in a wide temperature range, for example, between -40 ° C and +80 ° C.
- Of particular importance to such a conduit is its torsional strength, as robots must become more and more mobile as technology advances so that they can, for example, be moved along production lines at ever-increasing speeds and accelerations.
- the lines are then in particular then constantly twisted in changing directions.
- cables are required, for example, survive up to five million torsional cycles with torsional loads by angles of, for example, ⁇ 360 ° and more unscathed. This requirement applies in particular to the shield, whose electrical effectiveness is ensured only with undamaged individual wires.
- the well-known line after the above-mentioned EP 1 736 999 A1 has cores for different transmission purposes and electrically effective umbrellas that surround the wires individually and / or together.
- the umbrellas are made as a braid or roping Single wires built.
- the individual wires are made of copper.
- a corresponding copper wire mesh can also be tinned.
- Such umbrellas have basically proven in practice. However, the individual wires of the same can break after a large number of torsion cycles, so that the functionality of the screens would no longer be secured.
- the invention has for its object to make the line described above so that the at least one screen same has an increased torsional strength.
- the individual wires have a strand-like core made of a permanently resistant to bending and torsion-resistant material to which at least one band of electrically good conductive material is wound around.
- the band of electrically good conductive material is preferably made of copper or a copper alloy. It can also be made of silver, gold or platinum on high-quality lines. Representative of all possible embodiments, the band is referred to below as the "copper band”.
- the core With only one copper band, it may be wound around the core to form a completely closed layer with overlapping edges.
- two copper strips with the same winding direction are around the core wound around that the outer copper band covers gaps between the turns of the inner copper band.
- two copper strips of opposite winding direction are each wound around the core at an angle of about 45 °.
- the angle of about 45 °, with which each of the copper tapes is wound around the core, is particularly advantageous because bends and twists of the core have little effect on the copper tapes crossing each other at an angle of about 90 °.
- This advantage additionally has a positive electrical effect, because the inductance of a shield made of wires twisted in the opposite direction is effectively reduced. This minimizes the influence of the shielding inductance on the characteristic impedance and the line attenuation of a line, for example a data line.
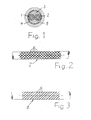
- Fig. 1 is a cross-section of an electrical line shown having two stranded cores 1 and 2, a surrounding inner shell 3, a disposed over the inner shell 3 electric screen 4 and a shield surrounding shell 5 of insulating material.
- a harness could be used instead of the inner shell 3, a harness could be used.
- Other, possibly to build the line belonging parts are not shown for clarity.
- the two wires 1 and 2 each consist of an electrical conductor and the same surrounding insulation. They can serve with appropriate dimensioning of data transmission and / or power transmission. In the line can also have more than two wires be present, including wires with different structure.
- the wires 1 and 2 can also each be surrounded by an electrical screen. Such screens may be used instead of the common screen 4, but also in addition to the same.
- the screen 4, as well as the optionally existing screens of the wires 1 and 2 consists of individual wires 6 (FIG. 4 to 6 ).
- the individual wires 6 have a strand-shaped core 9 made of a permanently resistant to bending and torsion resistant material.
- the core 9 can advantageously consist of steel, of plastic yarn or of a mineral fiber yarn, such as glass, quartz glass, basalt or carbon.
- a corresponding plastic yarn is constructed, for example, of polyaramid filaments.
- the copper tape 10 may be blank. It can also be tinned, silvered or nickel plated. This information also applies to the following for the FIGS. 5 and 6 described copper bands.
- Fig. 5 are in the illustrated individual wire 6, two copper strips 11 and 12 with the same winding device lying around one another wrapped around the core 9, in such a way that the outer copper strip 12 covers gaps between the turns of the inner copper strip 11. This also forms a core 9 surrounding the surrounding, closed layer.
- two copper strips 13 and 14 are wound around the core 9 in opposite winding directions, each at an angle of about 45 ° so as to intersect at an angle of about 90 °.
- the copper strips 10 to 14 are advantageously made from a round wire by cold rolling and thereby brought to their final dimensions. They may have a width of, for example, 0.15 mm to 1.00 mm and a thickness of 0.01 mm to 0.05 mm.
Landscapes
- Non-Insulated Conductors (AREA)
- Communication Cables (AREA)
- Insulated Conductors (AREA)
Abstract
Description
- Die Erfindung bezieht sich auf eine elektrische Leitung zum Anschluß an ortsveränderliche Verbraucher, welche mindestens zwei aus isolierten elektrischen Leitern bestehenden Adern sowie mindestens einen, aus Einzeldrähten bestehenden elektrischen Schirm aufweist, der als Geflecht oder Umseilung ausgeführt ist (
EP 1 736 999 A1 ). - Eine derartige Leitung wird beispielsweise zum Verbinden von ortsveränderlichen Geräten, insbesondere von Robotern, mit einer Spannungs- bzw. Signalquelle eingesetzt. Die Leitung muß mechanisch belastbar sein, mit einer auf lange Zeit gleichbleibenden Biegefestigkeit. Sie soll auch in einem weiten Temperaturbereich gut biegbar bleiben, der beispielsweise zwischen -40 °C und +80 °C liegt. Von besonderer Bedeutung für eine solche Leitung ist ihre Torsionsfestigkeit, da Roboter mit fortschreitender Technik immer beweglicher werden müssen, damit sie beispielsweise entlang von Fertigungsstraßen mit immer höher werdenden Geschwindigkeiten und Beschleunigungen hin- und herbewegt werden können. Die Leitungen werden insbesondere dann dauernd in wechselnden Richtungen tordiert. In der Praxis werden Leitungen gefordert, die beispielsweise bis zu fünf Millionen Torsionszyklen mit Torsionsbelastungen um Winkel von beispielsweise ± 360° und mehr unbeschadet überstehen. Diese Forderung gilt insbesondere auch für den Schirm, dessen elektrische Wirksamkeit nur bei unbeschädigten Einzeldrähten sichergestellt ist.
- Die bekannte Leitung nach der eingangs erwähnten
EP 1 736 999 A1 weist Adern für unterschiedliche Übertragungszwecke sowie elektrisch wirksame Schirme auf, welche die Adern einzeln und/oder gemeinsam umgeben. Die Schirme sind als Geflecht oder Umseilung aus Einzeldrähten aufgebaut. Die Einzeldrähte bestehen aus Kupfer. Ein entsprechendes Kupfer-Drahtgeflecht kann auch verzinnt sein. Derartige Schirme haben sich in der Praxis grundsätzlich bewährt. Die Einzeldrähte derselben können jedoch nach einer großen Anzahl von Torsionszyklen brechen, so daß die Funktionsfähigkeit der Schirme nicht mehr gesichert wäre. - Der Erfindung liegt die Aufgabe zugrunde, die eingangs beschriebene Leitung so zu gestalten, daß der mindestens eine Schirm derselben eine erhöhte Torsionsfestigkeit hat.
- Diese Aufgabe wird gemäß der Erfindung dadurch gelöst, daß die Einzeldrähte einen strangförmigen Kern aus einem auf Dauer wechselbiegebeständigen und torsionsbeständigen Material aufweisen, um den mindestens ein Band aus elektrisch gut leitendem Material herumgewickelt ist.
- Das Band aus elektrisch gut leitendem Material besteht vorzugsweise aus Kupfer oder einer Kupferlegierung. Es kann bei hochwertigen Leitungen aber auch aus Silber, Gold oder Platin bestehen. Stellvertretend für alle möglichen Ausführungsformen wird das Band im folgenden als "Kupferband" bezeichnet.
- Bei dieser Leitung werden die Auswirkungen der mechanischen Belastungen des Schirms, die bei dauernd wechselnder Torsionsbelastung auf denselben ausgeübt werden, im wesentlichen vom strangförmigen Kern der Einzeldrähte aufgefangen. Der aus einem nur nach mechanischen Vorgaben ausgewählten Material bestehende Kern hält die große Anzahl von beispielsweise mehreren Millionen Torsionszyklen unbeschädigt aus, so daß auch der aus entsprechenden Einzeldrähten aufgebaute Schirm der Leitung unbeschädigt bleibt. Das gilt dann auch für die elektrische Wirksamkeit des Schirms, weil das mindestens eine um den Kern herumgewickelte Kupferband durch die dauernd wechselnde Torsionsbelastung der Leitung selbst nur wenig belastet wird. Es bleibt vielmehr mit unveränderter Position um den Kern herumgewickelt.
- Bei nur einem Kupferband kann dasselbe zur Bildung einer rundum geschlossenen Schicht mit überlappenden Kanten um den Kern herumgewickelt sein. In einer bevorzugten Ausführungsform sind zwei Kupferbänder mit gleicher Wickelrichtung so um den Kern herumgewickelt, daß das außen liegende Kupferband Lücken zwischen den Windungen des innen liegenden Kupferbandes überdeckt.
- In einer anderen bevorzugten Ausführungsform sind zwei Kupferbänder mit entgegengesetzter Wickelrichtung jeweils unter einem Winkel von etwa 45° um den Kern herumgewickelt. Der Winkel von etwa 45°, mit dem jedes der Kupferbänder um den Kern herumgewickelt ist, ist von besonderem Vorteil, weil Biegungen und Verdrehungen des Kerns nur eine geringe Rückwirkung auf die einander unter einem Winkel von etwa 90° kreuzenden Kupferbänder haben. Dieser Vorteil wirkt sich zusätzlich positiv in elektrischer Hinsicht aus, weil die Induktivität eines aus in gegensinniger Richtung bebänderten Einzeldrähten bestehenden Schirms effektiv reduziert wird. Dadurch wird der Einfluß der Schirminduktivität auf den Wellenwiderstand und die Leitungsdämpfung einer Leitung, beispielsweise einer Datenleitung minimiert.
- Ausführungsbeispiele des Erfindungsgegenstandes sind in den Zeichnungen dargestellt.
-
-
Fig. 1 einen Schnitt durch eine Leitung nach der Erfindung. -
Fig. 2 und 3 Ausführungsformen von elektrischen Schirmen der Leitung in schematischen, vergrößerten Darstellungen. -
Fig. 4 bis 6 Einzeldrähte des Schirms in unterschiedlichen Ausführungsformen in weiter vergrößerter Darstellung. - In
Fig. 1 ist ein Querschnitt einer elektrischen Leitung dargestellt, die zwei miteinander verseilte Adern 1 und 2, einen dieselben umgebenden Innenmantel 3, einen über dem Innenmantel 3 angeordneten elektrischen Schirm 4 und einen den Schirm umgebenden Mantel 5 aus Isoliermaterial aufweist. Statt des Innenmantels 3 könnte auch eine Bebänderung eingesetzt sein. Andere, gegebenenfalls zum Aufbau der Leitung gehörende Teile sind der Übersichtlichkeit halber nicht mit dargestellt. - Die beiden Adern 1 und 2 bestehen jeweils aus einem elektrischen Leiter und einer denselben umgebenden Isolierung. Sie können mit entsprechender Dimensionierung der Datenübertragung und/oder der Stromübertragung dienen. In der Leitung können auch mehr als zwei Adern vorhanden sein, und zwar auch Adern mit unterschiedlichem Aufbau. Die Adern 1 und 2 können auch jeweils von einem elektrischen Schirm umgeben sein. Derartige Schirme können statt des gemeinsamen Schirms 4 eingesetzt sein, aber auch zusätzlich zu demselben.
- Der Schirm 4 besteht ebenso wie die gegebenenfalls vorhandenen Schirme der Adern 1 und 2 aus Einzeldrähten 6 (
Fig. 4 bis 6 ). Die Einzeldrähte 6 können ihre jeweilige Unterlage - Innenmantel 3 oder Adern 1 und 2 - gemäßFig. 2 als Geflecht 7 oder gemäßFig. 3 als Umseilung 8 umgeben. - Die Einzeldrähte 6 haben einen strangförmigen Kern 9 aus einem auf Dauer wechselbiegebeständigen und torsionsbeständigen Material. Der Kern 9 kann mit Vorteil aus Stahl, aus Kunststoffgarn oder aus einem Mineralfasergarn bestehen, wie beispielsweise Glas, Quarzglas, Basalt oder Kohlenstoff. Ein entsprechendes Kunststoffgarn ist beispielsweise aus Polyaramidfilamenten aufgebaut.
- Um den Kern 9 des Einzeldrahts 6 herum ist gemäß
Fig. 4 ein Kupferband 10 mit überlappenden Kanten herumgewickelt, so daß eine den Kern 9 rundum umgebende, geschlossene Schicht gebildet ist. Das Kupferband 10 kann blank sein. Es kann aber auch verzinnt, versilbert oder vernickelt sein. Diese Angaben gelten auch für die im folgenden für dieFig. 5 und 6 beschriebenen Kupferbänder. - Gemäß
Fig. 5 sind bei dem dargestellten Einzeldraht 6 zwei Kupferbänder 11 und 12 mit gleicher Wickelvorrichtung übereinander liegend um den Kern 9 herumgewickelt, und zwar derart, daß das außen liegende Kupferband 12 Lücken zwischen den Windungen des innen liegenden Kupferbands 11 überdeckt. Auch dadurch ist eine den Kern 9 rundum umgebende, geschlossene Schicht gebildet. - Bei der Ausführungsform des Einzeldrahts 6 nach
Fig. 6 sind zwei Kupferbänder 13 und 14 mit entgegengesetzter Wickelrichtung um den Kern 9 herumgewickelt, und zwar jeweils unter einem Winkel von etwa 45°, so daß sie sich unter einem Winkel von etwa 90° kreuzen. - Die Kupferbänder 10 bis 14 werden mit Vorteil aus einem Runddraht durch Kaltwalzen hergestellt und dabei auf ihre endgültigen Abmessungen gebracht. Sie können eine Breite von beispielsweise 0,15 mm bis 1,00 mm und eine Dicke von 0,01 mm bis 0,05 mm haben.
Claims (9)
- Elektrische Leitung zum Anschluß an ortsveränderliche Verbraucher, welche mindestens zwei aus isolierten Leitern bestehenden Adern sowie mindestens einen, aus Einzeldrähten bestehenden elektrischen Schirm aufweist, der als Geflecht oder Umseilung ausgeführt ist,
dadurch gekennzeichnet, daß die Einzeldrähte (6) einen strangförmigen Kern (9) aus einem auf Dauer wechselbiegebeständigen und torsionsbeständigen Material aufweisen, um den mindestens ein Band aus elektrisch gut leitendem Material herumgewickelt ist. - Leitung nach Anspruch 1, dadurch gekennzeichnet, daß ein Band (10) aus elektrisch gut leitendem Material mit überlappenden Kanten um den Kern (9) herumgewickelt ist.
- Leitung nach Anspruch 1, dadurch gekennzeichnet, daß zwei Bänder (11,12) aus elektrisch gut leitendem Material mit gleicher Wickelrichtung so um den Kern (9) herumgewickelt sind, daß das außen liegende Band (12) Lücken zwischen den Windungen des innen liegenden Bandes (11) überdeckt.
- Leitung nach Anspruch 1, dadurch gekennzeichnet, daß zwei Bänder (13,14) aus elektrisch gut leitendem Material mit entgegengesetzter Wickelrichtung jeweils unter einem Winkel von etwa 45° um den Kern (9) herumgewickelt sind.
- Leitung nach einem der Ansprüche 1 bis 4, dadurch gekennzeichnet, daß der Kern (9) ein Stahldraht ist.
- Leitung nach einem der Ansprüche 1 bis 4, dadurch gekennzeichnet, daß der Kern (9) ein Kunststoffgarn oder ein Mineralfasergarn ist.
- Leitung nach einem der Ansprüche 1 bis 6, dadurch gekennzeichnet, daß die Bänder (10 bis 14) aus Kupfer oder einer Kupferlegierung bestehen.
- Leitung nach Anspruch 7, dadurch gekennzeichnet, daß die Bänder (10 bis 14) verzinnt, versilbert oder vernickelt sind.
- Leitung nach einem der Ansprüche 1 bis 6, dadurch gekennzeichnet, daß die Bänder (10 bis 14) aus Silber, Gold oder Platin bestehen.
Applications Claiming Priority (1)
| Application Number | Priority Date | Filing Date | Title |
|---|---|---|---|
| DE102008027933A DE102008027933A1 (de) | 2008-05-20 | 2008-05-20 | Elektrische Leitung zum Anschluß an ortsveränderliche Verbraucher |
Publications (4)
| Publication Number | Publication Date |
|---|---|
| EP2124232A2 true EP2124232A2 (de) | 2009-11-25 |
| EP2124232A3 EP2124232A3 (de) | 2012-02-15 |
| EP2124232B1 EP2124232B1 (de) | 2012-10-10 |
| EP2124232B2 EP2124232B2 (de) | 2018-07-25 |
Family
ID=40996625
Family Applications (1)
| Application Number | Title | Priority Date | Filing Date |
|---|---|---|---|
| EP09305285.0A Not-in-force EP2124232B2 (de) | 2008-05-20 | 2009-04-06 | Elektrische Leitung zum Anschluß an ortsveränderliche Verbraucher |
Country Status (2)
| Country | Link |
|---|---|
| EP (1) | EP2124232B2 (de) |
| DE (1) | DE102008027933A1 (de) |
Citations (1)
| Publication number | Priority date | Publication date | Assignee | Title |
|---|---|---|---|---|
| EP1736999A1 (de) | 2005-06-24 | 2006-12-27 | Nexans | Flexible elektrische Leitung |
Family Cites Families (7)
| Publication number | Priority date | Publication date | Assignee | Title |
|---|---|---|---|---|
| JPH0743991Y2 (ja) * | 1986-09-02 | 1995-10-09 | ダイキン工業株式会社 | 面状発熱体の電極構造 |
| DE4036476A1 (de) * | 1990-02-13 | 1991-08-14 | Siemens Ag | Flexibles elektrisches kabel mit zwei verseilten adern |
| DE29813125U1 (de) * | 1998-07-23 | 1998-10-08 | China Textile Institute, Tucheng, Taipeh | Leitfähiges Garn |
| DE10162739A1 (de) * | 2001-12-20 | 2003-07-03 | Nexans | Flexible elektrische Leitung |
| US20040055780A1 (en) * | 2002-07-11 | 2004-03-25 | Susan Hakkarainen | Combined suspension cable and electrical conductor |
| DE20311375U1 (de) * | 2003-07-24 | 2003-10-23 | W. Zimmermann GmbH, 88171 Weiler-Simmerberg | Garne und Gewebe zur Abschirmung elektromagnetischer Strahlung |
| DE202006012155U1 (de) * | 2006-01-27 | 2006-11-09 | W. Zimmermann Gmbh & Co. Kg | Elektrisch leitfähiges Kontaktiergarn |
-
2008
- 2008-05-20 DE DE102008027933A patent/DE102008027933A1/de not_active Withdrawn
-
2009
- 2009-04-06 EP EP09305285.0A patent/EP2124232B2/de not_active Not-in-force
Patent Citations (1)
| Publication number | Priority date | Publication date | Assignee | Title |
|---|---|---|---|---|
| EP1736999A1 (de) | 2005-06-24 | 2006-12-27 | Nexans | Flexible elektrische Leitung |
Also Published As
| Publication number | Publication date |
|---|---|
| EP2124232B2 (de) | 2018-07-25 |
| DE102008027933A1 (de) | 2009-11-26 |
| EP2124232B1 (de) | 2012-10-10 |
| EP2124232A3 (de) | 2012-02-15 |
Similar Documents
| Publication | Publication Date | Title |
|---|---|---|
| EP2697804B1 (de) | Sternvierer-kabel mit schirm | |
| DE3543106C2 (de) | ||
| DE2033675C3 (de) | Biegsames elektrisches Kabel für die Signalübertragung | |
| EP2019394B1 (de) | Flexible elektrische Leitung | |
| EP2112669A2 (de) | Datenübertragungskabel sowie Verfahren zur Herstellung eines Datenübertragungskabels | |
| DE19549406C2 (de) | Verfahren zur Herstellung eines Sektorleiters für elektrische Energiekabel | |
| EP2448074A1 (de) | Elektrisches Verbindungskabel | |
| DE10101641A1 (de) | Elektrische Leitung | |
| EP2117011B1 (de) | Flexibler elektrischer Leiter | |
| DE102015221906A1 (de) | Datenkabel sowie Verwendung des Datenkabels in einem Kraftfahrzeug | |
| EP2697803B1 (de) | Sternvierer-kabel mit schirm | |
| DE69305432T2 (de) | Gemischtes Nachrichten- und Energiekabel | |
| EP2124232B2 (de) | Elektrische Leitung zum Anschluß an ortsveränderliche Verbraucher | |
| DE848664C (de) | Elektrisches Kabel mit einer oder mehreren mit leitenden Stoffen in feiner Verteilung durchsetzten Isolierschichten | |
| EP0213616A2 (de) | Kombinierte Datenübertragungsleitung | |
| DE69412810T2 (de) | Elektrisches kabel und sein herstellungsverfahren | |
| DE69207925T2 (de) | Schachstrom-Kabelleitung | |
| DE102019110051A1 (de) | Stromleiter zur Bildung eines Wickelkörpers für eine elektrische Spule, z. B. eines Trafos oder einer Drossel | |
| DE202007010032U1 (de) | Datenübertragungsleitung | |
| DE3332905A1 (de) | Elektrisches kabel und verfahren zu dessen herstellung | |
| DE658881C (de) | Luftraumisoliertes konzentrisches Hochfrequenzkabel mit selbsttragendem Aussenleiter | |
| DE102005022190B3 (de) | Energie-Bus-Kabel | |
| DE19522628C2 (de) | Verfahren zur Herstellung eines Sektorleiters für elektrische Energiekabel | |
| EP1583109B1 (de) | Flexible elektrische Leitung | |
| DE678649C (de) | Luftraumisoliertes konzentrisches Hochfrequenzkabel |
Legal Events
| Date | Code | Title | Description |
|---|---|---|---|
| PUAI | Public reference made under article 153(3) epc to a published international application that has entered the european phase |
Free format text: ORIGINAL CODE: 0009012 |
|
| AK | Designated contracting states |
Kind code of ref document: A2 Designated state(s): AT BE BG CH CY CZ DE DK EE ES FI FR GB GR HR HU IE IS IT LI LT LU LV MC MK MT NL NO PL PT RO SE SI SK TR |
|
| RAP1 | Party data changed (applicant data changed or rights of an application transferred) |
Owner name: NEXANS |
|
| PUAL | Search report despatched |
Free format text: ORIGINAL CODE: 0009013 |
|
| AK | Designated contracting states |
Kind code of ref document: A3 Designated state(s): AT BE BG CH CY CZ DE DK EE ES FI FR GB GR HR HU IE IS IT LI LT LU LV MC MK MT NL NO PL PT RO SE SI SK TR |
|
| AX | Request for extension of the european patent |
Extension state: AL BA RS |
|
| RIC1 | Information provided on ipc code assigned before grant |
Ipc: H01B 7/18 20060101ALN20120111BHEP Ipc: H01B 7/04 20060101AFI20120111BHEP |
|
| 17P | Request for examination filed |
Effective date: 20120209 |
|
| RIC1 | Information provided on ipc code assigned before grant |
Ipc: H01B 7/04 20060101AFI20120424BHEP Ipc: H01B 7/18 20060101ALN20120424BHEP |
|
| GRAP | Despatch of communication of intention to grant a patent |
Free format text: ORIGINAL CODE: EPIDOSNIGR1 |
|
| GRAS | Grant fee paid |
Free format text: ORIGINAL CODE: EPIDOSNIGR3 |
|
| GRAA | (expected) grant |
Free format text: ORIGINAL CODE: 0009210 |
|
| AK | Designated contracting states |
Kind code of ref document: B1 Designated state(s): AT BE BG CH CY CZ DE DK EE ES FI FR GB GR HR HU IE IS IT LI LT LU LV MC MK MT NL NO PL PT RO SE SI SK TR |
|
| REG | Reference to a national code |
Ref country code: GB Ref legal event code: FG4D Free format text: NOT ENGLISH |
|
| REG | Reference to a national code |
Ref country code: AT Ref legal event code: REF Ref document number: 579283 Country of ref document: AT Kind code of ref document: T Effective date: 20121015 Ref country code: CH Ref legal event code: EP |
|
| REG | Reference to a national code |
Ref country code: IE Ref legal event code: FG4D Free format text: LANGUAGE OF EP DOCUMENT: GERMAN |
|
| REG | Reference to a national code |
Ref country code: DE Ref legal event code: R096 Ref document number: 502009005026 Country of ref document: DE Effective date: 20121206 |
|
| PG25 | Lapsed in a contracting state [announced via postgrant information from national office to epo] |
Ref country code: SI Free format text: LAPSE BECAUSE OF FAILURE TO SUBMIT A TRANSLATION OF THE DESCRIPTION OR TO PAY THE FEE WITHIN THE PRESCRIBED TIME-LIMIT Effective date: 20121010 |
|
| REG | Reference to a national code |
Ref country code: NL Ref legal event code: VDEP Effective date: 20121010 |
|
| REG | Reference to a national code |
Ref country code: LT Ref legal event code: MG4D |
|
| PG25 | Lapsed in a contracting state [announced via postgrant information from national office to epo] |
Ref country code: LT Free format text: LAPSE BECAUSE OF FAILURE TO SUBMIT A TRANSLATION OF THE DESCRIPTION OR TO PAY THE FEE WITHIN THE PRESCRIBED TIME-LIMIT Effective date: 20121010 Ref country code: SE Free format text: LAPSE BECAUSE OF FAILURE TO SUBMIT A TRANSLATION OF THE DESCRIPTION OR TO PAY THE FEE WITHIN THE PRESCRIBED TIME-LIMIT Effective date: 20121010 Ref country code: IS Free format text: LAPSE BECAUSE OF FAILURE TO SUBMIT A TRANSLATION OF THE DESCRIPTION OR TO PAY THE FEE WITHIN THE PRESCRIBED TIME-LIMIT Effective date: 20130210 Ref country code: FI Free format text: LAPSE BECAUSE OF FAILURE TO SUBMIT A TRANSLATION OF THE DESCRIPTION OR TO PAY THE FEE WITHIN THE PRESCRIBED TIME-LIMIT Effective date: 20121010 Ref country code: NL Free format text: LAPSE BECAUSE OF FAILURE TO SUBMIT A TRANSLATION OF THE DESCRIPTION OR TO PAY THE FEE WITHIN THE PRESCRIBED TIME-LIMIT Effective date: 20121010 Ref country code: HR Free format text: LAPSE BECAUSE OF FAILURE TO SUBMIT A TRANSLATION OF THE DESCRIPTION OR TO PAY THE FEE WITHIN THE PRESCRIBED TIME-LIMIT Effective date: 20121010 Ref country code: NO Free format text: LAPSE BECAUSE OF FAILURE TO SUBMIT A TRANSLATION OF THE DESCRIPTION OR TO PAY THE FEE WITHIN THE PRESCRIBED TIME-LIMIT Effective date: 20130110 |
|
| PG25 | Lapsed in a contracting state [announced via postgrant information from national office to epo] |
Ref country code: PT Free format text: LAPSE BECAUSE OF FAILURE TO SUBMIT A TRANSLATION OF THE DESCRIPTION OR TO PAY THE FEE WITHIN THE PRESCRIBED TIME-LIMIT Effective date: 20130211 Ref country code: CY Free format text: LAPSE BECAUSE OF FAILURE TO SUBMIT A TRANSLATION OF THE DESCRIPTION OR TO PAY THE FEE WITHIN THE PRESCRIBED TIME-LIMIT Effective date: 20121010 Ref country code: PL Free format text: LAPSE BECAUSE OF FAILURE TO SUBMIT A TRANSLATION OF THE DESCRIPTION OR TO PAY THE FEE WITHIN THE PRESCRIBED TIME-LIMIT Effective date: 20121010 Ref country code: GR Free format text: LAPSE BECAUSE OF FAILURE TO SUBMIT A TRANSLATION OF THE DESCRIPTION OR TO PAY THE FEE WITHIN THE PRESCRIBED TIME-LIMIT Effective date: 20130111 Ref country code: LV Free format text: LAPSE BECAUSE OF FAILURE TO SUBMIT A TRANSLATION OF THE DESCRIPTION OR TO PAY THE FEE WITHIN THE PRESCRIBED TIME-LIMIT Effective date: 20121010 |
|
| PLBI | Opposition filed |
Free format text: ORIGINAL CODE: 0009260 |
|
| PG25 | Lapsed in a contracting state [announced via postgrant information from national office to epo] |
Ref country code: BG Free format text: LAPSE BECAUSE OF FAILURE TO SUBMIT A TRANSLATION OF THE DESCRIPTION OR TO PAY THE FEE WITHIN THE PRESCRIBED TIME-LIMIT Effective date: 20130110 Ref country code: EE Free format text: LAPSE BECAUSE OF FAILURE TO SUBMIT A TRANSLATION OF THE DESCRIPTION OR TO PAY THE FEE WITHIN THE PRESCRIBED TIME-LIMIT Effective date: 20121010 Ref country code: CZ Free format text: LAPSE BECAUSE OF FAILURE TO SUBMIT A TRANSLATION OF THE DESCRIPTION OR TO PAY THE FEE WITHIN THE PRESCRIBED TIME-LIMIT Effective date: 20121010 Ref country code: DK Free format text: LAPSE BECAUSE OF FAILURE TO SUBMIT A TRANSLATION OF THE DESCRIPTION OR TO PAY THE FEE WITHIN THE PRESCRIBED TIME-LIMIT Effective date: 20121010 Ref country code: SK Free format text: LAPSE BECAUSE OF FAILURE TO SUBMIT A TRANSLATION OF THE DESCRIPTION OR TO PAY THE FEE WITHIN THE PRESCRIBED TIME-LIMIT Effective date: 20121010 |
|
| 26 | Opposition filed |
Opponent name: LEONI KABEL HOLDING GMBH Effective date: 20130705 |
|
| PG25 | Lapsed in a contracting state [announced via postgrant information from national office to epo] |
Ref country code: RO Free format text: LAPSE BECAUSE OF FAILURE TO SUBMIT A TRANSLATION OF THE DESCRIPTION OR TO PAY THE FEE WITHIN THE PRESCRIBED TIME-LIMIT Effective date: 20121010 |
|
| PLAX | Notice of opposition and request to file observation + time limit sent |
Free format text: ORIGINAL CODE: EPIDOSNOBS2 |
|
| REG | Reference to a national code |
Ref country code: DE Ref legal event code: R026 Ref document number: 502009005026 Country of ref document: DE Effective date: 20130705 |
|
| BERE | Be: lapsed |
Owner name: NEXANS Effective date: 20130430 |
|
| PG25 | Lapsed in a contracting state [announced via postgrant information from national office to epo] |
Ref country code: ES Free format text: LAPSE BECAUSE OF FAILURE TO SUBMIT A TRANSLATION OF THE DESCRIPTION OR TO PAY THE FEE WITHIN THE PRESCRIBED TIME-LIMIT Effective date: 20130121 |
|
| PG25 | Lapsed in a contracting state [announced via postgrant information from national office to epo] |
Ref country code: MC Free format text: LAPSE BECAUSE OF FAILURE TO SUBMIT A TRANSLATION OF THE DESCRIPTION OR TO PAY THE FEE WITHIN THE PRESCRIBED TIME-LIMIT Effective date: 20121010 |
|
| REG | Reference to a national code |
Ref country code: CH Ref legal event code: PL |
|
| GBPC | Gb: european patent ceased through non-payment of renewal fee |
Effective date: 20130406 |
|
| PLBB | Reply of patent proprietor to notice(s) of opposition received |
Free format text: ORIGINAL CODE: EPIDOSNOBS3 |
|
| REG | Reference to a national code |
Ref country code: IE Ref legal event code: MM4A |
|
| PG25 | Lapsed in a contracting state [announced via postgrant information from national office to epo] |
Ref country code: CH Free format text: LAPSE BECAUSE OF NON-PAYMENT OF DUE FEES Effective date: 20130430 Ref country code: LI Free format text: LAPSE BECAUSE OF NON-PAYMENT OF DUE FEES Effective date: 20130430 Ref country code: BE Free format text: LAPSE BECAUSE OF NON-PAYMENT OF DUE FEES Effective date: 20130430 Ref country code: GB Free format text: LAPSE BECAUSE OF NON-PAYMENT OF DUE FEES Effective date: 20130406 |
|
| PG25 | Lapsed in a contracting state [announced via postgrant information from national office to epo] |
Ref country code: IE Free format text: LAPSE BECAUSE OF NON-PAYMENT OF DUE FEES Effective date: 20130406 |
|
| PG25 | Lapsed in a contracting state [announced via postgrant information from national office to epo] |
Ref country code: MT Free format text: LAPSE BECAUSE OF FAILURE TO SUBMIT A TRANSLATION OF THE DESCRIPTION OR TO PAY THE FEE WITHIN THE PRESCRIBED TIME-LIMIT Effective date: 20121010 |
|
| PLAB | Opposition data, opponent's data or that of the opponent's representative modified |
Free format text: ORIGINAL CODE: 0009299OPPO |
|
| REG | Reference to a national code |
Ref country code: AT Ref legal event code: MM01 Ref document number: 579283 Country of ref document: AT Kind code of ref document: T Effective date: 20140406 |
|
| PG25 | Lapsed in a contracting state [announced via postgrant information from national office to epo] |
Ref country code: TR Free format text: LAPSE BECAUSE OF FAILURE TO SUBMIT A TRANSLATION OF THE DESCRIPTION OR TO PAY THE FEE WITHIN THE PRESCRIBED TIME-LIMIT Effective date: 20121010 |
|
| R26 | Opposition filed (corrected) |
Opponent name: LEONI KABEL HOLDING GMBH Effective date: 20130705 |
|
| PG25 | Lapsed in a contracting state [announced via postgrant information from national office to epo] |
Ref country code: MK Free format text: LAPSE BECAUSE OF FAILURE TO SUBMIT A TRANSLATION OF THE DESCRIPTION OR TO PAY THE FEE WITHIN THE PRESCRIBED TIME-LIMIT Effective date: 20121010 Ref country code: LU Free format text: LAPSE BECAUSE OF NON-PAYMENT OF DUE FEES Effective date: 20130406 Ref country code: HU Free format text: LAPSE BECAUSE OF FAILURE TO SUBMIT A TRANSLATION OF THE DESCRIPTION OR TO PAY THE FEE WITHIN THE PRESCRIBED TIME-LIMIT; INVALID AB INITIO Effective date: 20090406 |
|
| PG25 | Lapsed in a contracting state [announced via postgrant information from national office to epo] |
Ref country code: AT Free format text: LAPSE BECAUSE OF NON-PAYMENT OF DUE FEES Effective date: 20140406 |
|
| REG | Reference to a national code |
Ref country code: FR Ref legal event code: PLFP Year of fee payment: 8 |
|
| PLAB | Opposition data, opponent's data or that of the opponent's representative modified |
Free format text: ORIGINAL CODE: 0009299OPPO |
|
| R26 | Opposition filed (corrected) |
Opponent name: LEONI KABEL GMBH Effective date: 20130705 |
|
| REG | Reference to a national code |
Ref country code: FR Ref legal event code: PLFP Year of fee payment: 9 |
|
| RAP2 | Party data changed (patent owner data changed or rights of a patent transferred) |
Owner name: NEXANS |
|
| REG | Reference to a national code |
Ref country code: FR Ref legal event code: PLFP Year of fee payment: 10 |
|
| PUAH | Patent maintained in amended form |
Free format text: ORIGINAL CODE: 0009272 |
|
| STAA | Information on the status of an ep patent application or granted ep patent |
Free format text: STATUS: PATENT MAINTAINED AS AMENDED |
|
| 27A | Patent maintained in amended form |
Effective date: 20180725 |
|
| AK | Designated contracting states |
Kind code of ref document: B2 Designated state(s): AT BE BG CH CY CZ DE DK EE ES FI FR GB GR HR HU IE IS IT LI LT LU LV MC MK MT NL NO PL PT RO SE SI SK TR |
|
| REG | Reference to a national code |
Ref country code: DE Ref legal event code: R102 Ref document number: 502009005026 Country of ref document: DE |
|
| PGFP | Annual fee paid to national office [announced via postgrant information from national office to epo] |
Ref country code: DE Payment date: 20190418 Year of fee payment: 11 Ref country code: IT Payment date: 20190429 Year of fee payment: 11 |
|
| PGFP | Annual fee paid to national office [announced via postgrant information from national office to epo] |
Ref country code: FR Payment date: 20190424 Year of fee payment: 11 |
|
| REG | Reference to a national code |
Ref country code: DE Ref legal event code: R119 Ref document number: 502009005026 Country of ref document: DE |
|
| PG25 | Lapsed in a contracting state [announced via postgrant information from national office to epo] |
Ref country code: FR Free format text: LAPSE BECAUSE OF NON-PAYMENT OF DUE FEES Effective date: 20200430 Ref country code: DE Free format text: LAPSE BECAUSE OF NON-PAYMENT OF DUE FEES Effective date: 20201103 |
|
| PG25 | Lapsed in a contracting state [announced via postgrant information from national office to epo] |
Ref country code: IT Free format text: LAPSE BECAUSE OF NON-PAYMENT OF DUE FEES Effective date: 20200406 |