EP2103773A2 - Schutzvorrichtung, insbesondere Fliegengitter - Google Patents

Schutzvorrichtung, insbesondere Fliegengitter Download PDF

Info

Publication number
EP2103773A2
EP2103773A2 EP09001480A EP09001480A EP2103773A2 EP 2103773 A2 EP2103773 A2 EP 2103773A2 EP 09001480 A EP09001480 A EP 09001480A EP 09001480 A EP09001480 A EP 09001480A EP 2103773 A2 EP2103773 A2 EP 2103773A2
Authority
EP
European Patent Office
Prior art keywords
motor
shaft
closing
frame
legs
Prior art date
Legal status (The legal status is an assumption and is not a legal conclusion. Google has not performed a legal analysis and makes no representation as to the accuracy of the status listed.)
Withdrawn
Application number
EP09001480A
Other languages
English (en)
French (fr)
Other versions
EP2103773A3 (de
Inventor
Alfons Huber
Current Assignee (The listed assignees may be inaccurate. Google has not performed a legal analysis and makes no representation or warranty as to the accuracy of the list.)
Individual
Original Assignee
Individual
Priority date (The priority date is an assumption and is not a legal conclusion. Google has not performed a legal analysis and makes no representation as to the accuracy of the date listed.)
Filing date
Publication date
Application filed by Individual filed Critical Individual
Publication of EP2103773A2 publication Critical patent/EP2103773A2/de
Publication of EP2103773A3 publication Critical patent/EP2103773A3/de
Withdrawn legal-status Critical Current

Links

Images

Classifications

    • EFIXED CONSTRUCTIONS
    • E06DOORS, WINDOWS, SHUTTERS, OR ROLLER BLINDS IN GENERAL; LADDERS
    • E06BFIXED OR MOVABLE CLOSURES FOR OPENINGS IN BUILDINGS, VEHICLES, FENCES OR LIKE ENCLOSURES IN GENERAL, e.g. DOORS, WINDOWS, BLINDS, GATES
    • E06B9/00Screening or protective devices for wall or similar openings, with or without operating or securing mechanisms; Closures of similar construction
    • E06B9/52Devices affording protection against insects, e.g. fly screens; Mesh windows for other purposes
    • E06B9/54Roller fly screens
    • EFIXED CONSTRUCTIONS
    • E06DOORS, WINDOWS, SHUTTERS, OR ROLLER BLINDS IN GENERAL; LADDERS
    • E06BFIXED OR MOVABLE CLOSURES FOR OPENINGS IN BUILDINGS, VEHICLES, FENCES OR LIKE ENCLOSURES IN GENERAL, e.g. DOORS, WINDOWS, BLINDS, GATES
    • E06B9/00Screening or protective devices for wall or similar openings, with or without operating or securing mechanisms; Closures of similar construction
    • E06B9/56Operating, guiding or securing devices or arrangements for roll-type closures; Spring drums; Tape drums; Counterweighting arrangements therefor
    • E06B9/58Guiding devices
    • EFIXED CONSTRUCTIONS
    • E06DOORS, WINDOWS, SHUTTERS, OR ROLLER BLINDS IN GENERAL; LADDERS
    • E06BFIXED OR MOVABLE CLOSURES FOR OPENINGS IN BUILDINGS, VEHICLES, FENCES OR LIKE ENCLOSURES IN GENERAL, e.g. DOORS, WINDOWS, BLINDS, GATES
    • E06B9/00Screening or protective devices for wall or similar openings, with or without operating or securing mechanisms; Closures of similar construction
    • E06B9/56Operating, guiding or securing devices or arrangements for roll-type closures; Spring drums; Tape drums; Counterweighting arrangements therefor
    • E06B9/68Operating devices or mechanisms, e.g. with electric drive
    • EFIXED CONSTRUCTIONS
    • E06DOORS, WINDOWS, SHUTTERS, OR ROLLER BLINDS IN GENERAL; LADDERS
    • E06BFIXED OR MOVABLE CLOSURES FOR OPENINGS IN BUILDINGS, VEHICLES, FENCES OR LIKE ENCLOSURES IN GENERAL, e.g. DOORS, WINDOWS, BLINDS, GATES
    • E06B9/00Screening or protective devices for wall or similar openings, with or without operating or securing mechanisms; Closures of similar construction
    • E06B9/52Devices affording protection against insects, e.g. fly screens; Mesh windows for other purposes
    • E06B9/54Roller fly screens
    • E06B2009/543Horizontally moving screens

Definitions

  • the invention relates to a protective device, which can be used in particular as a fly screen and / or as a light curtain, according to the preamble of claim 1.
  • Manually operated fly screens are well known.
  • a shutter with a manually operated fly screen, which consists of a wound on a roll, tensioned fabric that can be manually opened and closed by a correspondingly guided locking rail.
  • the invention has the object of developing a protective device of the type mentioned in such a way that the protective device automatically opens and closes to keep the time duration during which the protective device is opened as low as possible.
  • the tissue can be divided centrally or eccentrically vertically, wherein both parts of the fabric on different, preferably opposite configured as a hollow cylinder shafts or rollers can be wound.
  • the tissue on rotatably mounted cylinder up and is unwound which are centrally penetrated by one of the waves in order to make optimum use of the available space as possible.
  • the locking rails are driven in opposite directions via one or more toothed belts, which allows a compact and simple construction.
  • other mechanical transmission means such as chains or belts are suitable.
  • the fabric is preferably stretched by acting on the hollow cylinder coil springs, creating a compact design of the frame is formed and the fabric is held evenly flat.
  • the locking rails are guided in parallel by two opposing synchronously driven toothed belts, namely namely a uniform winding and unrolling of the fabric is possible.
  • the guide is improved when the opposite toothed belt of gears are synchronously driven by a shaft.
  • a compact embodiment which is reflected in an overall low depth, is achieved in particular by a motor or motors arranged at right angles to a shaft and in that both the drive of the closing rails and the winding of the fabric take place through the shafts.
  • the openings of the guide grooves for the tissue in the legs can be kept so small that no insects get through between frame and trade and no brush strips are needed.
  • a preferred embodiment is constructed so that the depth of the fly screen frame or the structure of the window or door is sized as small as possible and thus can be mounted in many cases between the spacer frame of the roller shutter guides, without affecting the function of the shutter.
  • the low circumferential depth of the fly screen frame is achieved in particular by the arrangement of the waves in the hollow cylinders and by the vertical arrangement of the motor with electronics perpendicular to the waves.
  • the motor or motors may be controlled by a sensor through which the fabric is opened when a door or window is closed.
  • the tissue can be opened manually by means of a switch or closed.
  • this may be accomplished by a sensor that opens the fly screen when an object is detected in the vicinity of the fly screen and closes the fly screen when there is no object in the environment.
  • the operation of the fly screen can thus be triggered, for example, by push button, motion or by the interruption of the light beam of a light barrier, in which case the fly screen opens automatically and closes automatically after passing or after leaving the sensor area after a lesser time.
  • the fly screen opens controlled by a sensor automatically.
  • the view to the outside is not affected when the door or window is closed.
  • the service life of the mesh also increases considerably, as it is protected when rolled up and thus less exposed to light, rain and dirt.
  • Another advantage is that the fabric does not have to be disassembled during the winter months.
  • the frame consists of four legs.
  • the fly screen shown in the embodiment is constructed so that the four legs can be plugged together on site with little effort and mounted on the door intended for this purpose.
  • the protection device can be sent in a handy and space-saving packaging to the customer.
  • the motor of the fly screen is preferably operated with low voltage of, for example 12-24 volts, by an external power supply, a flush-mounted transformer or an integrated power supply provided.
  • the flush-mounted transformer system can be connected to a rocker switch and, if the function of the fly screen is not needed, disconnected from the power supply.
  • protection device 1 is externally or internally fixedly mounted on a door 2, so that the door 2 is completely covered by the protection device 1, as well as for separating between two rooms, for. B. be firmly mounted in kitchens or butcheries in the commercial sector.
  • the protection device 1 consists of a tissue 8 having a hole size through which insects can not pass.
  • the fabric 8 can also be made of a material that prevents the sun's UV light from entering the interior of the room. Consequently, the door 2, for example, on a residential house, caravan, motor home and in business premises, completely covered by the protection device 1.
  • the protective device 1 consists of a rectangular frame 3, which is the entire surface, mounted on the outside of the door 2.
  • the frame 3 can also be mounted on the inside, when the door 2 rises to the outside.
  • the frame 3 comprises two vertically extending legs 4 and 5 and two horizontally aligned legs 6 and 7, which are fixedly connected at a right angle to each other by means of plug connection.
  • the the FIGS. 1 to 7 Underlying protection device 1 also has two locking rails 9, which are held movable between the two horizontally extending legs 6 and 7 in a respective incorporated in this guide groove 13.
  • Each of the closing rails 9 accordingly runs in two guide grooves 13, each of which receives one of the closing rails 9, which are incorporated in the horizontal legs 6 and 7.
  • the guide grooves 13 are aligned with each other and are laterally offset from the adjacent guide grooves 13, in which the second locking rail 9 is movable.
  • the two locking rails 9 are in the closed state overlapping and close to each other.
  • Suitable sensors 19 are light barriers, infrared sensors or distance sensors.
  • the motor 14 drives on the drive shaft 30 on which a gear 15 is fixed, a circulating toothed belt 16 at. With the toothed belt 16, a second drive shaft 30 is synchronously set in rotation on the opposite side via a gear 15.
  • the drive shafts 30, 31 drive via a plug connection to the shafts 11 and 12, and thus extend in the two vertical legs 4 and 5.
  • the drive shafts 30 and 31 are held in bearings 28.
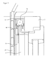
  • the shaft 11 is additionally mounted in the corner angle above again by means of a slide rail 23.
  • FIG. 3a the arrangement of the upper toothed belt 16 can be taken from a center-closing protection device.
  • the arrangement of the lower toothed belt 17 is identical.
  • the section shows the gears 15 and the toothed belt 16.
  • On the revolving toothed belt 16 each one of the toothed belts 16 and 17 are mounted on two opposite sides.
  • the two closing rails 9 are moved in activating the toothed belt 16 of this in the same direction, namely either to open the protection device 1 in the direction of the shaft 11 or 12 or when the protective device 1 is opened by the shaft 11 and 12 in the closed position.
  • FIG. 3b is the arrangement of the upper toothed belt 16, 16.1 an off-center closing protection device are removed.
  • the two upper toothed belts 16, 16.1 and the lower toothed belts 17, 17.1 are tensioned with abutment 31.
  • the toothed belts 16, 16.1 or 17, 17.1 are synchronously set in rotation via gears 15 and the shafts 11 and 12, respectively.
  • Each belt pair 16, 17 and timing belt pair 16.1, 17.1 are each driven by a motor 14.
  • FIG. 4 the engine 14 and the sensor 19 are shown.
  • this symmetrical structure is a parallel guide the locking rails 9 and thus the optimal winding and unwinding of the fabric 8 on a hollow cylinder 27 which is connected to one of the shafts 11 or 12, guaranteed.
  • stiffening profiles can be used in the legs 4 and 5.
  • FIG. 5 can the space-saving design of the shaft 11 are removed with the hollow cylinder 27.
  • the shaft 11 passes completely through the hollow cylinder 27 so that the synchronous rotation transmission of the shaft 11 between the upper toothed belt 16 and under the toothed belt 17 is ensured.
  • the hollow cylinder 27 is connected to the shaft 11, so that the rotation of the shaft 11 is transmitted to the hollow cylinder 27.
  • the fabric 8 is thus wound up or unwound onto the outer circumferential surface of the hollow cylinder 27.
  • a spiral spring 18 is provided which is non-rotatably connected with a free end with the shaft 11 and the other free end with the inner circumferential surface of the hollow cylinder 27.
  • FIG. 6 is the lateral offset of the two closing rails 9 receiving guide grooves 13 to recognize and that the two locking rails 9 in the closed position of the protective device 1 overlapping each other, namely abut against a common bearing surface 26.
  • the possibly existing air gap between the abutment surfaces 26 can be closed by an outwardly facing sealing lip 20, so that insects between the contact surfaces 26 of the two locking rails 9 can not pass.
  • FIG. 7 It is shown how the frame 3 of the protective device 1 is mounted on the outside of the door 2 and while the door 2 closing shutter 29 is not hindered in its movement.
  • the frame 3 is in this case in the available space available between the outside of the door 2 and the shutter 29 is present.

Landscapes

  • Engineering & Computer Science (AREA)
  • Structural Engineering (AREA)
  • Architecture (AREA)
  • Civil Engineering (AREA)
  • Life Sciences & Earth Sciences (AREA)
  • Insects & Arthropods (AREA)
  • Pest Control & Pesticides (AREA)
  • Operating, Guiding And Securing Of Roll- Type Closing Members (AREA)
  • Power-Operated Mechanisms For Wings (AREA)

Abstract

Bei einer Schutz- Vorrichtung (1) an Fenstern oder Türen (2), die insbesondere als Fliegengitter und/oder als Lichtschutzvorhang einsetzbar ist, mit einem Rahmen (3), der aus vier Schenkeln (4, 5, 6, 7) zusammengesetzt ist, die fest an dem Fenster oder an der Tür (2) angebracht sind, mit einem Gewebe (8), das an einer vertikal oder horizontal verlaufenden Schließschiene (9) gehalten und das auf eine Welle (11, 12) aufwickelbar ist, die in einem der vertikal oder horizontal verlaufenden Schenkel (4, 5) des Rahmens (3) eingebaut ist, und mit jeweils einer Führungsnut (13), die in den beiden horizontal oder vertikalen Schenkeln (6, 7) fluchtend zueinander eingearbeitet sind und durch die die Schließschiene (9) verfahrbar ist, sollen die Schließschiene (9) und das daran angebrachte Gewebe (8) automatisch bewegbar sein. Dies erfolgt dadurch, dass die Schließschiene (9) in trieblicher Wirkverbindung mit einem Motor (14) steht und dass der Motor (14) durch lichtempfindliche Sensoren (19), einem Schalter (19') oder dgl. aktivierbar ist.

Description

  • Die Erfindung bezieht sich auf eine Schutzvorrichtung, die insbesondere als Fliegengitter und/oder als Lichtschutzvorhang einsetzbar ist, nach dem Oberbegriff des Patentanspruches 1.
  • Manuell betriebene Fliegengitter sind hinreichend bekannt. Beispielsweise wird durch die DE 10 2004 054 148 eine Kombination eines Rollladens mit einem manuell betätigbaren Fliegengitter offenbart, das aus einem auf einer Rolle wickelbaren, gespannten Gewebe besteht, das durch eine entsprechend geführte Schließschiene manuell geöffnet und geschlossen werden kann.
  • Als nachteilig bei solchen manuell zu betätigenden Fliegengittern hat es sich herausgestellt, dass der Durchtritt durch diese erschwert ist, wenn ein Mensch Gegenstände in seinen Händen trägt und daher diese nicht zur Verfügung hat, um das Fliegengitter zu öffnen und zu schließen. Vielmehr sind die Fliegengittertüren zunächst manuell zu öffnen, die Gegenstände durch das Fliegengitter zu bewegen, um anschließend das Fliegengitter wieder zu schließen. Während eines längeren Zeitraumes steht somit das Fliegengitter offen und Insekten oder schädliche UV-Sonnenstrahlen können in das Rauminnere gelangen.
  • Darüber hinaus hat es sich herausgestellt, dass die automatisch zu betätigenden Fliegengitter einen erheblichen Platzbedarf zur Befestigung an der Fenster- oder Türaußenseite benötigen, der dazu führt, dass die Baubreite der den Rahmen des Fliegengitter bildenden Schenkel erhöht ist. Zwischen der Rahmenaußenseite einer Tür und einem Rollladen besteht jedoch lediglich ein begrenztes Raumangebot. Wenn die Bautiefe des Rahmens größer bemessen ist als der Luftspalt zwischen der Außenseite des Fenster- oder Türrahmens und dem dieses verschließenden Rollladen, ist ein einfacher Einbau der Schutzvorrichtung nicht möglich, denn in diesem Fall ist der Rollladen zu versetzen. Dies stellt jedoch einen erheblichen zusätzlichen Montageaufwand dar, der höheren Baukosten führt.
  • Der Erfindung liegt die Aufgabe zugrunde eine Schutzvorrichtung der eingangs genannten Gattung derart weiterzubilden, dass die Schutzvorrichtung automatisch auf und zu geht, um die zeitliche Dauer, während der die Schutzvorrichtung geöffnet ist, möglichst gering zu halten.
  • Diese Aufgaben werden erfindungsgemäß durch die Merkmale des kennzeichnenden Teils von Patentanspruch 1 gelöst.
  • Weitere vorteilhafte Weiterbildungen der Erfindung ergeben sich aus den Unteransprüchen.
  • Um ein schnelles Hindurchgehen durch die Schutzvorrichtung zu gewährleisten, kann das Gewebe mittig oder außermittig vertikal geteilt werden, wobei beide Teile des Gewebes auf verschiedene, vorzugsweise gegenüberliegende als Hohlzylinder ausgestaltete Wellen oder Rollen, wickelbar sind. Das bedeutet, dass das Gewebe auf drehbar gelagerten Zylinder auf- und wieder abwickelbar ist, die zentrisch von jeweils einer der Wellen durchgriffen sind, um möglichst den vorhandenen Platz optimal auszunutzen.
    Vorzugsweise werden die Schließschienen über einen oder mehrere Zahnriemen gegenläufig zueinander angetrieben, welches eine kompakte und einfache Bauweise ermöglicht. Ebenso sind andere mechanische Übertragungsmittel wie Ketten oder Riemen geeignet.
  • Das Gewebe ist vorzugsweise durch auf die Hohlzylinder wirkende Spiralfedern gespannt, wodurch eine kompakte Bauweise des Rahmens entsteht und auch das Gewebe flächig gleichmäßig gehalten wird.
  • Es ist besonders vorteilhaft, wenn die Schließschienen durch zwei gegenüberliegende synchron angetriebenen Zahnriemen parallel geführt werden, dadurch wird nämlich ein gleichmäßiges Auf- und Abrollen des Gewebes ermöglicht.
    Insbesondere wird die Führung verbessert, wenn die gegenüberliegenden Zahnriemen von Zahnrädern mittels einer Welle synchron angetrieben werden.
  • Eine kompakte Ausführungsform, die sich in einer allseitig geringen Bautiefe niederschlägt, erreicht man insbesondere durch einen rechtwinklig zu einer Welle angeordneten Motor bzw. Motoren und dadurch, dass durch die Wellen sowohl der Antrieb der Schließschienen als auch das Aufwickeln des Gewebes erfolgt.
  • Die Öffnungen der Führungsnuten für das Gewebe in den Schenkeln kann so klein gehalten werden, dass keine Insekten zwischen Rahmen und Gewerbe hindurchgelangen und auch keine Bürstenleisten benötigt werden.
  • Eine bevorzugte Ausführungsform ist so konstruiert, dass die Bautiefe des Fliegengitterrahmens bzw. der Aufbau vom Fenster oder Türe möglichst gering bemessen ist und somit in vielen Fällen zwischen den Abstandsrahmen der Rollladenführungen montiert werden kann, ohne dabei die Funktion des Rollladens zu beeinträchtigen. Die geringe umlaufende Bautiefe des Fliegengitterrahmens wird insbesondere durch die Anordnung der Wellen in den Hohlzylindern und durch die senkrechte Anordnung des Motors mit Elektronik senkrecht zu den Wellen erreicht.
  • Vorteilhafterweise kann der Motor oder die Motoren durch einen Sensor angesteuert werden, durch den das Gewebe geöffnet wird, wenn eine Türe oder ein Fenster geschlossen ist. Ebenso kann das Gewebe mittels eines Schalters manuell geöffnet oder geschlossen werden. Vorzugsweise kann dies durch einen Sensor bewerkstelligt werden, der das Fliegengitter öffnet, wenn ein Objekt in der Umgebung des Fliegengitters erkannt wird und das Fliegengitter schließt, wenn kein Objekt in der Umgebung vorhanden ist.
  • Die Betätigung des Fliegengitters kann also beispielsweise durch Tastschalter, Bewegungsmelder oder durch die Unterbrechung des Lichtstrahls einer Lichtschranke ausgelöst werden, wobei sich dann das Fliegengitter selbstständig öffnet und nach dem Hindurchgehen bzw. nach dem Verlassen des Sensorbereichs nach einer geringeren Zeit selbständig schließt.
  • Somit wird zum Öffnen und Schließen des Fliegengitters von außen oder von innen kommend keine Hand benötigt. Wird die Tür oder das Fenster geschlossen, so öffnet sich das Fliegengitter gesteuert über einen Sensor automatisch. Somit wird die Sicht nach außen bei geschlossener Tür oder Fenster nicht beeinträchtigt. Durch das Öffnen des Fliegengitters bei geschlossener Tür erhöht sich zusätzlich die Lebensdauer des Gittemetzes erheblich, da dieses im aufgerollten Zustand geschützt ist und somit Licht , Regen und Verschmutzungen weniger ausgesetzt ist. Ein weiterer Vorteil ist, dass dadurch das Gewebe über die Wintermonate nicht demontiert werden muss.
  • Eine einfache Montage und eine kompakte Kapselung wird durch Integrieren der Rollen, der Führung und des Motor in einem ,Schenkel erreicht. Vorzugsweise besteht der Rahmen aus vier Schenkeln. Das im Ausführungsbeispiel gezeigte Fliegengitter ist so konstruiert, dass die vier Schenkel vor Ort mit wenig Aufwand zusammengesteckt und an die dafür bestimmte Tür montiert werden können. Somit lässt sich die Schutzvorrichtung in einer handlichen und platzsparenden Verpackung an den Kunden versenden.
  • Aus Schutzbestimmungen und Sicherheitsgründen wird der Motor des Fliegengitters vorzugsweise mit Niederspannung von beispielsweise 12-24 Volt betrieben, die durch ein externes Steckernetzgerät, einen Unterputztrafo oder ein integriertes Netzgerät bereitgestellt wird. Das System Unterputztrafo kann an einen Wippschalter angeschlossen und, wenn die Funktion des Fliegengitters nicht benötigt wird, von der Stromversorgung getrennt werden.
  • Nachfolgend ist ein erfindungsgemäßes Ausführungsbeispiel anhand der beigefügten Zeichnung erklärt. Im Einzelnen zeigt:
  • Figur 1
    ein teilweise geöffnetes Fliegengitter in der Gesamtansicht,
    Figur 2
    das Fliegengitter gemäß Figur 1, im geschlossenen Zustand,
    Figur 3a
    das Fliegengitter gemäß Figur 1 entlang der Schnittlinie III - III für ein mittig schließendes Fliegengitter
    Figur 3b
    einen horizontalen Schnitt III-III für ein außermittig schließendes Fliegengitter,
    Figur 4
    das Fliegengitter gemäß Figur 1 entlang der Schnittlinie IV - IV,
    Figur 5
    das Fliegengitter gemäß Figur 1 entlang der Schnittlinie V - V,
    Figur 6
    einen horizontalen Schnitt VI - VI durch ein montiertes Fliegengitter gemäß Figur 1 und
    Figur 7
    einen vertikalen Schnitt VII - VII durch ein montiertes Fliegengitter gemäß Figur 1.
  • Die in Figur 1 gezeigte Schutzvorrichtung 1 ist an einer Tür 2 außen- oder innenliegend fest montiert, so dass die Tür 2 durch die Schutzvorrichtung 1 vollständig abgedeckt ist, als auch zum Abtrennen zwischen zwei Räumen, z. B. im gewerblichen Bereich bei Küchen oder Metzgereien fest montiert werden. Die Schutzvorrichtung 1 besteht aus einem Gewebe 8, das eine Lochgröße aufweist, durch die Insekten nicht hindurchgelangen. Das Gewebe 8 kann auch aus einem Material bestehen, durch das das UV-Licht der Sonne am Durchtritt in das Rauminnere gehindert wird. Folglich wird die Tür 2, beispielsweise an einem Wohnhaus, Wohnwagen, Wohnmobil und in Geschäftsräumen, durch die Schutzvorrichtung 1 vollständig abgedeckt.
  • Die Schutzvorrichtung 1 besteht aus einem rechteckförmigen Rahmen 3, der vollflächig, auf der Außenseite der Tür 2 angebracht ist. Der Rahmen 3 kann auch innenseitig montiert werden, wenn die Tür 2 nach außen aufgeht. Der Rahmen 3 umfasst zwei vertikal verlaufende Schenkel 4 und 5 und zwei horizontal ausgerichtete Schenkeln 6 und 7, die fest in einem rechten Winkel miteinander mittels Steckverbindung verbunden sind.
  • Die den Figuren 1 bis 7 zugrunde liegende Schutzvorrichtung 1 weist zudem zwei Schließschienen 9 auf, die zwischen den beiden horizontal verlaufenden Schenkeln 6 und 7 in jeweils einer in diese eingearbeiteten Führungsnut 13 verfahrbar gehalten sind. Jede der Schließschienen 9 verläuft demnach in zwei Führungsnuten 13, die jeweils eine der Schließschiene 9 aufnehmen, die in den horizontalen Schenkel 6 und 7 eingearbeitet sind. Die Führungsnuten 13 verlaufen fluchtend zueinander und sind zu der benachbarten Führungsnuten 13 seitlich versetzt angeordnet, in der die zweite Schließschiene 9 verfahrbar ist. Die beiden Schließschienen 9 liegen im geschlossenen Zustand überlappend und dicht aneinander an. Durch diese konstruktive Maßnahme wird erreicht, dass die Tür 2 lediglich durch die Breite eines Holmes der Schließschienen 9 abgedeckt ist und dass zwischen dem Übergangsbereich der beiden benachbarten Schließschienen 9 ein geringer Luftspalt entsteht, durch den Insekten in das Rauminnere nicht gelangen können.
  • Im oberen horizontalen Schenkel 6 befindet sich ein Motor 14 für mittig schließende, bzw. zwei Motoren 14 für außermittig schließende Schutzvorrichtungen als Antrieb für die beiden Schließschienen 9, die Regelungselektronik, Endlagenschalter sowie Sensoren 19 zum Erkennen von Objekten im Bereich der Schutzvorrichtung 1, wie beispielsweise Bewegungsmelder und Sensoren 19 zum Öffnen des Fliegengitters, wenn die Türe 2 geschlossen wird. Als Sensoren 19 eignen sich Lichtschranken, Infrarotsensoren oder Abstandssensoren.
  • Der Motor 14 treibt über die Antriebswelle 30 auf der ein Zahnrad 15 befestigt ist, einen umlaufenden Zahnriemen 16 an. Mit dem Zahnriemen 16 wird über ein Zahnrad 15 eine zweite Antriebswelle 30 auf der gegenüberliegenden Seite synchron in Rotation gesetzt. Die Antriebswellen 30, 31 treiben über eine Steckverbindung die Wellen 11 und 12 an, und verlaufen demnach in den beiden vertikalen Schenkeln 4 und 5.
  • Die Antriebswellen 30 und 31 sind in Lagern 28 gehalten. Um die Biegekräfte auf der Antriebsseite abzufangen, ist die Welle 11 zusätzlich im Eckwinkel oben wiederum mittels einer Gleitschiene 23 gelagert.
  • Aus Figur 3a kann die Anordnung des oberen Zahnriemens 16 einer mittig schließenden Schutzvorrichtung entnommen werden. Die Anordnung des unteren Zahnriemens 17 ist identisch. Der Schnitt zeigt die Zahnräder 15 sowie den Zahnriemen 16.
    An dem umlaufenden Zahnriemen 16 sind auf zwei gegenüberliegenden Seiten jeweils einer der Zahnriemen 16 bzw. 17 befestigt. Somit werden die beiden Schließschienen 9 beim Aktivieren des Zahnriemens 16 von diesem in die gleiche Richtung bewegt, nämlich entweder zum Öffnen der Schutzvorrichtung 1 in Richtung der Welle 11 bzw. 12 oder wenn die Schutzvorrichtung 1 geöffnet ist, von der Welle 11 bzw. 12 in die geschlossene Stellung.
  • Aus Figur 3b ist die Anordnung der oberen Zahnriemen 16, 16.1 einer außermittig schließenden Schutzvorrichtung entnommen werden. Die beiden oberen Zahnriemen 16, 16.1 sowie die unteren Zahnriemen 17, 17.1 werden mit Gegenlager 31 gespannt. Die Zahnriemen 16, 16.1 bzw. 17, 17.1 werden über Zahnräder 15 und den Wellen 11 bzw. 12 synchron in Rotation versetzt. Jedem Zahnriemenpaar 16, 17 sowie Zahnriemenpaar 16.1, 17.1 werden jeweils mit einem Motor 14 angetrieben.
  • In Figur 4 ist der Motor 14 und der Sensor 19 gezeigt. Durch diesen symmetrischen Aufbau ist eine parallele Führung der Schließschienen 9 und somit das optimale Auf- und Abwickeln des Gewebes 8 auf einen Hohlzylinder 27, der jeweils mit einer der Wellen 11 oder 12 verbunden ist, gewährleistet. Zur Stabilität des Rahmens 3 können Versteifungsprofile in die Schenkel 4 und 5 eingesetzt werden.
  • Figur 5 kann der Platz sparende konstruktive Aufbau der Welle 11 mit dem Hohlzylinder 27 entnommen werden. Die Welle 11 durchgreift den Hohlzylinder 27 vollständig, so dass die synchrone Rotationsübertragung der Welle 11 zwischen dem oberen Zahnriemen 16 und unter Zahnriemen 17 gewährleistet ist. Der Hohlzylinder 27 ist mit der Welle 11 verbunden, so dass die Rotation der Welle 11 auf den Hohlzylinder 27 übertragen wird. Durch die Bewegung der Welle 11, wird somit das Gewebe 8 auf die Außenmantelfläche des Hohlzylinders 27 auf- bzw. abgewickelt.
  • Im Inneren des Hohlzylinders 27 ist eine Spiralfeder 18 vorgesehen, die mit einem freien Ende drehfest mit der Welle 11 und mit dem anderen freien Ende mit der Innenmantelfläche des Hohlzylinders 27 drehfest verbunden ist. Somit werden mögliche Rotationsabweichungen zwischen der Welle 11 und dem Hohlzylinder 27 durch die Spiralfeder 18 ausgeglichen und eine auf den Hohlzylinder 27 und damit auf das Gewebe 8 einwirkende Vorspannkraft erzeugt, durch die gewährleistet ist, dass das Gewebe 8 unter Vorspannung steht und folglich keine Faltenbildung entsteht.
  • In Figur 6 ist der seitliche Versatz der die beiden Schließschienen 9 aufnehmenden Führungsnuten 13 zu erkennen und dass die beiden Schließschienen 9 in der geschlossen Stellung der Schutzvorrichtung 1 überlappend zueinander, nämlich an einer gemeinsamen Anlagefläche 26 anliegen. Der möglicherweise vorhandene Luftspalt zwischen den Anlageflächen 26 kann durch eine nach außen weisende Dichtlippe 20 verschlossen werden, so dass Insekten zwischen den Anlageflächen 26 der beiden Schließschienen 9 nicht hindurchgelangen.
  • In Figur 7 ist dargestellt, wie der Rahmen 3 der Schutzvorrichtung 1 an die Außenseite der Türe 2 montiert ist und dabei der die Türe 2 verschließende Rollladen 29 in seiner Bewegung nicht behindert wird. Der Rahmen 3 befindet sich in diesem Fall in dem zur Verfügung stehenden Raumangebot, der zwischen der Außenseite der Türe 2 und des Rollladens 29 vorhanden ist.

Claims (10)

  1. Schutz- Vorrichtung (1) an Fenstern oder Türen (2), die insbesondere als Fliegengitter und/oder als Lichtschutzvorhang einsetzbar ist, mit einem Rahmen (3), der aus vier Schenkeln (4, 5, 6, 7) zusammengesetzt ist, die fest an dem Fenster oder an der Tür (2) angebracht sind, mit einem Gewebe (8), das an einer vertikal oder horizontal verlaufenden Schließschiene (9) gehalten und das auf eine Welle (11, 12) aufwickelbar ist, die in einem der vertikal oder horizontal verlaufenden Schenkel (4, 5) des Rahmens (3) eingebaut ist, und mit jeweils einer Führungsnut (13), die in den beiden horizontal oder vertikalen Schenkeln (6, 7) fluchtend zueinander eingearbeitet sind und durch die die Schließschiene (9) fahrbar abgestützt ist,
    dadurch gekennzeichnet,
    dass die Schließschiene (9) in trieblicher Wirkverbindung mit einem Motor (14) steht und dass der Motor (14) durch lichtempfindliche Sensoren (19), einem Schalter (19') oder dgl. aktivierbar ist.
  2. Vorrichtung nach Anspruch 1,
    dadurch gekennzeichnet,
    dass in die beiden vertikalen Schenkel (4, 5) des Rahmens (3) jeweils eine diese durchgreifende Welle (11 bzw. 12) eingebaut ist, dass entweder eine oder beide der Wellen (11, 12) von dem Motor (14) angetrieben ist bzw. sind und dass jede Welle (11, 12) über mindestens ein Zahnrad (15) mit einem Zahnriemen (16.1 bzw. 17 und 17.1) verbunden ist, der durch das Zahnrad (15) umlenkbar und der an der Schließschiene (9) befestigt ist.
  3. Vorrichtung nach Anspruch 1 ,
    dadurch gekennzeichnet,
    dass die beiden Wellen (11, 12) mit einem Motor (14) durch zwei Zahnriemen (16, 17) antreibbar sind, oder jede Welle (11, 12) mit einem Motor antreibbar ist und dass die Zahnriemen (16, 17, 16.1, 17.1) in dem unteren und dem oberen horizontalen Schenkel (6, 7) des Rahmens (3) integriert sind.
  4. Vorrichtung nach einem oder mehreren der vorgenannten Ansprüche,
    dadurch gekennzeichnet,
    dass das Gewebe (8) zweiteilig ausgebildet ist, dass jedes Gewebe (8) an einer der Schließschienen (9) gehalten ist und dass die Schließschiene (9) jeweils in seitlich zueinander versetzten Führungsnuten (13) der Schenkel (6, 7) angeordnet sind.
  5. Vorrichtung nach Anspruch 4,
    dadurch gekennzeichnet,
    dass die beiden Schließschienen (9) im Schließbereich des Rahmens (3) überlappend zueinander verlaufen und dass zwischen den Schließschienen (9) im geschlossenen Zustand eine gemeinsame Anlagefläche (26) vorhanden ist, die seitlich mit einer Dichtlippe (20) verschließbar ist.
  6. Vorrichtung nach einem oder mehreren der vorgenannten Ansprüche,
    dadurch gekennzeichnet,
    dass an der Welle (11, 12) jeweils ein Hohlzylinder (27) drehbar angebracht ist, dass die Welle (11,12) den Hohlzylinder zentrisch durchgreift und dass zwischen der jeweiligen Welle (11,12) und dem Hohlzylinder (27) eine Spiralfeder (18) vorgesehen ist, durch die das Gewebe (8) unter Vorspannung auf den Hohlzylinder (27) gehalten sind.
  7. Vorrichtung nach einem oder mehreren der vorgenannten Ansprüche,
    dadurch gekennzeichnet,
    dass der Motor (14) in dem oberen horizontal verlaufenden Schenkel (6) des Rahmens integriert ist und dass der Motor (14) rechtwinklig zu der Welle (11) ausgerichtet ist.
  8. Vorrichtung nach einem oder mehreren der vorgenannten Ansprüche,
    dadurch gekennzeichnet,
    dass dem Motor (14) ein Sensor (19) und/oder ein Schalter (19') zugeordnet ist, durch den der Schließzustand des Fensters oder der Tür (2) erkennbar ist und durch den in Abhängigkeit von dem Schließzustand der Motor (14) aktivierbar ist.
  9. Vorrichtung nach einem oder mehreren der vorgenannten Ansprüche,
    dadurch gekennzeichnet,
    dass der Hohlzylinder (27) durch eine Spiralfeder (18) radial drehbar mit der jeweiligen Welle (11, 12) verbunden ist.
  10. Vorrichtung nach einem oder mehreren der vorgenannten Ansprüche;
    dadurch gekennzeichnet,
    dass die vier Schenkel (4, 5, 6, 7) des Rahmens (3) in den zueinander benachbarten Eckbereichen mittels Steckverbindungen miteinander arretierbar sind und dass die Schenkel (4, 5, 6, 7) modulartig zusammensetzbar sind.
EP09001480A 2008-03-19 2009-02-04 Schutzvorrichtung, insbesondere Fliegengitter Withdrawn EP2103773A3 (de)

Applications Claiming Priority (1)

Application Number Priority Date Filing Date Title
DE200810015020 DE102008015020A1 (de) 2008-03-19 2008-03-19 Schutzvorrichtung, insbesondere Fliegengitter

Publications (2)

Publication Number Publication Date
EP2103773A2 true EP2103773A2 (de) 2009-09-23
EP2103773A3 EP2103773A3 (de) 2012-03-14

Family

ID=40599912

Family Applications (1)

Application Number Title Priority Date Filing Date
EP09001480A Withdrawn EP2103773A3 (de) 2008-03-19 2009-02-04 Schutzvorrichtung, insbesondere Fliegengitter

Country Status (2)

Country Link
EP (1) EP2103773A3 (de)
DE (1) DE102008015020A1 (de)

Cited By (6)

* Cited by examiner, † Cited by third party
Publication number Priority date Publication date Assignee Title
CN103603590A (zh) * 2013-12-02 2014-02-26 哈尔滨森鹰窗业股份有限公司 可以快速拆卸安装的纱窗
US20180305976A1 (en) * 2015-11-24 2018-10-25 Metaco, Inc. Electric screen device
CN108756701A (zh) * 2018-05-04 2018-11-06 珠海市杰理科技股份有限公司 防蚊虫纱窗和防蚊虫方法
JP2020058830A (ja) * 2019-12-19 2020-04-16 株式会社メタコ 電動スクリーン装置
JP2020058829A (ja) * 2019-12-19 2020-04-16 株式会社メタコ 電動スクリーン装置
EP4047172A1 (de) * 2021-02-17 2022-08-24 Hendrikus Antonius Maria Bouhuis Schutztürsteuerungvorrichtung zum automatischen öffnen und schliessen einer schutztür

Citations (1)

* Cited by examiner, † Cited by third party
Publication number Priority date Publication date Assignee Title
DE102004054148A1 (de) 2004-11-08 2006-05-24 Exte-Extrudertechnik Gmbh Kombination eines Rolladen mit einem Fliegengitter

Family Cites Families (9)

* Cited by examiner, † Cited by third party
Publication number Priority date Publication date Assignee Title
SE457976B (sv) * 1986-01-20 1989-02-13 Nomafa Ab Horisontalloepande rullport
DE4227328C1 (de) * 1992-08-18 1993-10-07 Seuster Adolf Gmbh Rolltor
US5671790A (en) * 1996-01-24 1997-09-30 V. Kann Rasmussen Industri A/S Screening device for a wall opening
IT1314558B1 (it) * 2000-12-04 2002-12-18 Flexso S R L Dispositivo di azionamento del movimento verticale od orizzontale pertende da sole, zanzariere, tapparelle, ecc.
DE20210855U1 (de) * 2002-07-18 2003-05-28 Tussinger, Philipp, 76275 Ettlingen Rollovorrichtung
DE10319893B4 (de) * 2003-04-28 2015-11-19 Brose Fahrzeugteile Gmbh & Co. Kommanditgesellschaft, Coburg Steuereinrichtung für Sonnenschutzrollos und verstellbare Fensterscheiben von Kraftfahrzeugen
DE102004032769A1 (de) * 2004-07-06 2006-02-09 Michael Mayr In Isolierglasscheibe integrierter Rollomechanismus für geneigte Fenster
US10294718B2 (en) * 2005-12-12 2019-05-21 Centor Design Pty Ltd Pull across roll up screen assembly
WO2008023973A1 (en) * 2006-08-23 2008-02-28 Hendrikus Lambertus Jacobs Roll screen system

Patent Citations (1)

* Cited by examiner, † Cited by third party
Publication number Priority date Publication date Assignee Title
DE102004054148A1 (de) 2004-11-08 2006-05-24 Exte-Extrudertechnik Gmbh Kombination eines Rolladen mit einem Fliegengitter

Cited By (10)

* Cited by examiner, † Cited by third party
Publication number Priority date Publication date Assignee Title
CN103603590A (zh) * 2013-12-02 2014-02-26 哈尔滨森鹰窗业股份有限公司 可以快速拆卸安装的纱窗
CN103603590B (zh) * 2013-12-02 2016-01-20 哈尔滨森鹰窗业股份有限公司 可以快速拆卸安装的纱窗
US20180305976A1 (en) * 2015-11-24 2018-10-25 Metaco, Inc. Electric screen device
EP3382135A4 (de) * 2015-11-24 2020-03-11 Metaco Inc. Elektrische bildschirmvorrichtung
US10822868B2 (en) 2015-11-24 2020-11-03 Metaco, Inc. Electric screen device
EP3893382A1 (de) * 2015-11-24 2021-10-13 Metaco Inc. Elektrische bildschirmvorrichtung
CN108756701A (zh) * 2018-05-04 2018-11-06 珠海市杰理科技股份有限公司 防蚊虫纱窗和防蚊虫方法
JP2020058830A (ja) * 2019-12-19 2020-04-16 株式会社メタコ 電動スクリーン装置
JP2020058829A (ja) * 2019-12-19 2020-04-16 株式会社メタコ 電動スクリーン装置
EP4047172A1 (de) * 2021-02-17 2022-08-24 Hendrikus Antonius Maria Bouhuis Schutztürsteuerungvorrichtung zum automatischen öffnen und schliessen einer schutztür

Also Published As

Publication number Publication date
DE102008015020A1 (de) 2009-10-01
EP2103773A3 (de) 2012-03-14

Similar Documents

Publication Publication Date Title
DE69637425T2 (de) Abdichtbare Abdeckung
EP0224581B1 (de) Rolladen
EP2103773A2 (de) Schutzvorrichtung, insbesondere Fliegengitter
DE3936343C2 (de)
DE202014101850U1 (de) System zum rotierenden Antreiben einer Aufrolltrommel und aufrollbarer Verschlussschirm
EP2395195A2 (de) Vorsatztür, insbesondere Insektenschutztür, mit einem automatischen Schliessmechanismus
DE69603590T2 (de) Hubtor mit sicherheitssystem
DE102009004976B4 (de) Rolltoranlage
DE19707607C2 (de) Einrichtung mit einem verstellbaren Organ zum Schutz gegen Licht und/oder Witterung und/oder Einbruch und/oder zum Umlenken von Licht
EP1223299A2 (de) Rollo, insbesondere Insektenschutz-Rollo
DE4003359A1 (de) Rolltor mit einem waermegedaemmt und/oder gepanzerten torblatt-behang
EP2896763B1 (de) Ausfahrbare, schwenkbare Schutzvorrichtung
DE19805272B4 (de) Einrichtung zum Schützen, Abdecken, Verschließen, Abtrennen o. dgl. Abgrenzen von Bereichen
WO2017109165A1 (de) Sonnenschutzsystem
AT519889B1 (de) Rollgitter-Toranlage
EP1857628B1 (de) Rolltor
CN214035464U (zh) 护栏集成防护网
DE4438019C1 (de) Abdeckvorrichtung, insbesondere für Wechselverkehrszeichen
DE4220434A1 (de) Schallschutzvorrichtung für Gebäude
DE102007002075B4 (de) Rollladenkasten mit einer Walze und einem darauf gewickelten Rollladen
DE102005013743B4 (de) Vorrichtung zum Freigeben eines Fluchtweges
DE102021102866A1 (de) Rolltoranlage
DE3000112A1 (de) Einrichtung zur innenausstattung
DE1169109B (de) Faltladen
DE202009000543U1 (de) Rolltoranlage

Legal Events

Date Code Title Description
PUAI Public reference made under article 153(3) epc to a published international application that has entered the european phase

Free format text: ORIGINAL CODE: 0009012

AK Designated contracting states

Kind code of ref document: A2

Designated state(s): AT BE BG CH CY CZ DE DK EE ES FI FR GB GR HR HU IE IS IT LI LT LU LV MC MK MT NL NO PL PT RO SE SI SK TR

AX Request for extension of the european patent

Extension state: AL BA RS

PUAL Search report despatched

Free format text: ORIGINAL CODE: 0009013

AK Designated contracting states

Kind code of ref document: A3

Designated state(s): AT BE BG CH CY CZ DE DK EE ES FI FR GB GR HR HU IE IS IT LI LT LU LV MC MK MT NL NO PL PT RO SE SI SK TR

AX Request for extension of the european patent

Extension state: AL BA RS

RIC1 Information provided on ipc code assigned before grant

Ipc: E06B 9/68 20060101ALI20120208BHEP

Ipc: E06B 9/58 20060101ALI20120208BHEP

Ipc: E06B 9/54 20060101AFI20120208BHEP

AKY No designation fees paid
REG Reference to a national code

Ref country code: DE

Ref legal event code: R108

REG Reference to a national code

Ref country code: DE

Ref legal event code: R108

Effective date: 20121121

STAA Information on the status of an ep patent application or granted ep patent

Free format text: STATUS: THE APPLICATION IS DEEMED TO BE WITHDRAWN

18D Application deemed to be withdrawn

Effective date: 20120915