EP2020305B2 - Vorrichtung und Verfahren zum Anpressen eines Umschlages oder Fälzels an einen beleimten Rücken - Google Patents

Vorrichtung und Verfahren zum Anpressen eines Umschlages oder Fälzels an einen beleimten Rücken Download PDF

Info

Publication number
EP2020305B2
EP2020305B2 EP07405223.4A EP07405223A EP2020305B2 EP 2020305 B2 EP2020305 B2 EP 2020305B2 EP 07405223 A EP07405223 A EP 07405223A EP 2020305 B2 EP2020305 B2 EP 2020305B2
Authority
EP
European Patent Office
Prior art keywords
arrangement
binding machine
pressing arrangement
perfect binding
pressing
Prior art date
Legal status (The legal status is an assumption and is not a legal conclusion. Google has not performed a legal analysis and makes no representation as to the accuracy of the status listed.)
Active
Application number
EP07405223.4A
Other languages
English (en)
French (fr)
Other versions
EP2020305B1 (de
EP2020305A1 (de
Inventor
Peter Fischer
Theo Hug
Konrad Boos
Current Assignee (The listed assignees may be inaccurate. Google has not performed a legal analysis and makes no representation or warranty as to the accuracy of the list.)
Mueller Martini Holding AG
Original Assignee
Mueller Martini Holding AG
Priority date (The priority date is an assumption and is not a legal conclusion. Google has not performed a legal analysis and makes no representation as to the accuracy of the date listed.)
Filing date
Publication date
Family has litigation
First worldwide family litigation filed litigation Critical https://patents.darts-ip.com/?family=38917806&utm_source=google_patent&utm_medium=platform_link&utm_campaign=public_patent_search&patent=EP2020305(B2) "Global patent litigation dataset” by Darts-ip is licensed under a Creative Commons Attribution 4.0 International License.
Application filed by Mueller Martini Holding AG filed Critical Mueller Martini Holding AG
Priority to EP07405223.4A priority Critical patent/EP2020305B2/de
Priority to AT07405223T priority patent/ATE522366T1/de
Priority to JP2008195536A priority patent/JP2009029135A/ja
Priority to US12/181,762 priority patent/US8206073B2/en
Publication of EP2020305A1 publication Critical patent/EP2020305A1/de
Publication of EP2020305B1 publication Critical patent/EP2020305B1/de
Application granted granted Critical
Publication of EP2020305B2 publication Critical patent/EP2020305B2/de
Active legal-status Critical Current
Anticipated expiration legal-status Critical

Links

Images

Classifications

    • BPERFORMING OPERATIONS; TRANSPORTING
    • B42BOOKBINDING; ALBUMS; FILES; SPECIAL PRINTED MATTER
    • B42CBOOKBINDING
    • B42C11/00Casing-in
    • B42C11/04Machines or equipment for casing-in or applying covers to books

Definitions

  • the invention relates to a device and a method for pressing an envelope or divelzels to a glued spine and adjacent side flanks of a transported in a circumferential bracket of Klebebinders with downward protruding back book block consisting of an envelope each pressing on the glued spine thoroughlyanpressvorides and a Flankenanpressvorides pressing the envelope to the lateral flanks, which are driven isochronous with the book blocks transporting staples of Klebebinders.
  • perfect binders an envelope or crimp is attached to loosely gathered book blocks in the area of the spine using adhesive.
  • the adhesive to the processed back and / or the envelope resp.
  • Mahlzel applied, the two parts brought together and pressed together.
  • Perfect binders have a plurality of clamps circulating in a closed orbit at equal distances on traction means, in which the book blocks are clamped during the entire binding process, with the backs projecting downwardly out of the clamps and the lateral, recessed areas, the flanks, freely accessible are. After the loose book blocks are transferred to the clamps, they are passed past the orbiting processing stations and processed while passing through the processing stations.
  • the back shape and the strength are important quality features of the binding of a book and are determined in particular by the functions of contact pressure.
  • Known pressure devices have a flat sectionanpressvorraum, which presses the envelope to the spine, and a Flank pressure device that presses the envelope by means of pressure bars in the near-by region of the book block side.
  • the shape of the back can be influenced by the timing between back pressure and flank pressure. If, for example, the flank pressure device reaches its inner end position before the back pressure device has reached its upper end position, the spines tend to become round. If, on the other hand, the back pressure device reaches its upper end position before the flank pressure device has reached its inner end position, the spines tend to become edged.
  • the stroke of the flank pressure device must therefore be adapted to the product to be squeezed.
  • a larger stroke is usually used than with the processing of fakes. This is done, for example, by exchanging control cams or by adjusting drive coupling systems in a mechanical way.
  • the Flank pressure bars are driven directly by associated control cams or crank mechanisms, wherein at least the inner end position of a Flankenanpressschiene is made adjustable, for the purpose of adaptation to the book thickness. If the stroke of the Flank contact pressure bars is to be changed, the corresponding control cams or cranks must be replaced. Another disadvantage of this solution is also the large amount of time required for the replacement of parts.
  • the drive of the entire pressing device is done either by a mechanical coupling with the drive of the perfect binder or by means of an electric single drive, which follows the drive of the perfect binder.
  • the invention has for its object to provide an adhesive binder and a method adapted to the requirements of the products to be manufactured with less effort and while the machine is running resp. can be adjusted.
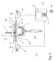
  • the in the Fig. 1 and Fig. 2 shown pressing device 1 is attached exclusively to a machine frame of Klebebinders.
  • the book block 5 to be pressed on the back 12 and on the adjacent lateral flanks 13 are clamped with the back 12 protruding in the direction of rotation in the direction of transport T circulating clamps 14 of the perfect binder.
  • the book blocks 5 are previously processed on the back 12 for the purpose of an optimal connection with the adhesive.
  • the supplied by a cover feeder envelopes 11 are merged with the book block 5 in the region of the back 12 and pressed against the latter.
  • the merger 10 is shown as a roller driven at the speed of the staples 14. Also conceivable is a combination by means of a the envelopes 11 to the back 12 of the book block 5 lifting and driven at the speed of the brackets 14 bar.
  • envelopes 11 may alternatively be glued to the glued spine 12 in a Mahlzelstation Hurlzel 29. The required for the connection of the envelopes 11 or 29 Marinezel with book block 5 adhesive is applied before merging to the book block 5 and / or envelopes 11 or 29 Mahlzeln roll or nozzle application systems.
  • the contact pressure device 1 consists essentially of a flank pressure device 15, which has a front pressure bar 8 and a rear pressure bar 9, and the thoroughlyanpressvor substances 18, the individual drive units 23,24 having drive controls 25,26 which are associated with a motor drive device 20.
  • the drive device 20 has a back pressure device 18 approximately in the same direction to the transport direction T of the book block driving motor 3 and the compositionanpressvorides 18 against the back 12 of the book block 5 further pressing motor 4 on.
  • An arranged in a vertically displaceable on the base frame of the adhesive horizontal horizontal guide 7 slidably guided carriage 6 forms a guide assembly of the pressing 1.
  • a required for the function of the pressing 1 changeable elliptical trajectory 27 of the carriage 6 with the compositionanpressvor substances 18 and Flankenanpressvorides 15 is formed by Overlay the horizontal and vertical movement of the longitudinal guide 7 resp. of the carriage 6. As it passes through the middle portion of the upper portion of the trajectory 27, the envelope 11 or rabbet 29 is pressed against the ridge 12 by the back presser 18 and at the side flanks 13 by the flank presser 15. During the pressing operation, the speed of the thoroughlyanpressvortechnisch 18 and Flankenanpressvorides 15 in the transport direction T exactly the speed of the brackets 14, respectively. correspond to the book block 5. The pressing device 1 is therefore driven isochronous to the book blocks 5 transporting brackets 14 of the adhesive binder.
  • the inner end positions of the rear pressure bar 9 and the front pressure bar 8 are on the position of the flanks 13, respectively. the thickness or thickness differences of the processed book block 5 adjustable.
  • the strokes of the rear pressure bar 9 and the front pressure bar 8 are also adjustable and essentially dependent on whether book block 5 with envelopes 11 or 29 Anlagenlzeln be pressed.
  • technologicalanpressvoriques 18 and Flankenanpressvorides 15 are also adjustable according to the level of the back 12.
  • the front pressure bar 8, the rear pressure bar 9, the longitudinal guide 7 and the carriage 6 are each provided with individual drive units 16,23,24 and driven by these in the direction of the double arrows back and forth.
  • the individual drive units 16, 23, 24 are shown by way of example as electric linear drives. However, there are also drive systems with rotary motors and cranks, rack and pinion systems, pinion-toothed belt systems or nut-spindle systems conceivable.
  • the energy supply can alternatively be hydraulic or pneumatic.
  • Each individual drive unit 16, 23, 24 is formed by a motor 2, 3, 4 and a drive control 19, 25, 26 which supplies the motor 2, 3, 4 with energy. Not shown and connected to the drive controls 19,25,26 sensors continuously measure the position of the individual drive units 16,23,24.
  • the drive controls 19,25,26 regulate the power supply to their associated motors 2,3,4 due to a comparison of desired positions of the individual drive units 16,23,24 with their actual positions.
  • Such systems are known to the person skilled in the art by the term "servo drive”.
  • the desired positions of the individual drive units 16, 23, 24 depend on the actual position of the drive of the perfect binder and on the individual drive units 16, 23, 24.
  • the drive controls 19,25,26 of the individual drive units 16,23,24 are therefore connected to a control device 17 of the perfect binder, which is associated with a position sensor 28 for detecting the position of the drive of the perfect binder. Because each drive axle is assigned a single drive unit 16, 23, 24, drive parameters can be changed at any time, even during production, without manual intervention.
  • each individual drive unit 16,23,24 can be optimally adjusted to the required driving force for the associated member driving force, which per individual drive unit 16,23,24 protection against overloading is achieved.
  • the control device 17 also comprises an operating unit 21, for example a keyboard and for the output of error messages and other data, an output unit 22, for example a screen.
  • the operating unit 21 and output unit 22 may be formed by a so-called "touch screen system”.

Landscapes

  • Engineering & Computer Science (AREA)
  • Mechanical Engineering (AREA)
  • Folding Of Thin Sheet-Like Materials, Special Discharging Devices, And Others (AREA)
  • Making Paper Articles (AREA)

Description

  • Die Erfindung betrifft eine Vorrichtung und ein Verfahren zum Anpressen eines Umschlages oder Fälzels an einen beleimten Rücken und benachbarte seitliche Flanken eines in einer umlaufenden Klammer eines Klebebinders mit nach unten vorstehendem Rücken transportierten Buchblocks, bestehend aus einer den Umschlag jeweils an den beleimten Rücken anpressenden Rückenanpressvorrichtung und einer den Umschlag an die seitlichen Flanken anpressenden Flankenanpressvorrichtung, die taktsynchron mit den die Buchblocks transportierenden Klammern des Klebebinders angetrieben sind.
  • In Klebebindern werden an lose zusammengetragenen Buchblocks im Bereich des Buchrückens mittels Klebstoff ein Umschlag oder Fälzel befestigt. Dabei wird zuerst der Buchblock im Rückenbereich zwecks einer guten Verbindung mit dem Klebstoff bearbeitet, anschliessend der Klebstoff auf den bearbeiteten Rücken und/oder den Umschlag resp. Fälzel aufgetragen, die beiden Teile zusammengeführt und aneinander gepresst. Klebebinder verfügen über eine Mehrzahl, in einer geschlossenen Umlaufbahn in gleichen Abständen an Zugmitteln umlaufende Klammern, in die die Buchblocks während des gesamten Bindeprozesses eingespannt sind, wobei die Rücken nach unten gerichtet aus den Klammern herausragen und die seitlichen rückennahen Bereiche, die Flanken, frei zugänglich sind. Nachdem die losen Buchblocks in die Klammern überführt sind, werden sie an den an der Umlaufbahn angeordneten Bearbeitungsstationen vorbeigeführt und während der Vorbeifahrt durch die Bearbeitungsstationen bearbeitet.
  • Die Rückenform und die Festigkeit sind wichtige Qualitätsmerkmale der Bindung eines Buches und werden insbesondere durch die Funktionen der Anpressung mitbestimmt. Bekannte Anpressvorrichtungen weisen eine flache Rückenanpressvorrichtung auf, die den Umschlag an den Buchrücken anpresst, sowie eine Flankenanpressvorrichtung, die den Umschlag mittels Pressleisten im rückennahen Bereich des Buchblocks seitlich anpresst. Die Rückenform kann durch die zeitlichen Abläufe zwischen der Rückenanpressung und der Flankenanpressung beeinflusst werden. Erreicht beispielsweise die Flankenanpressvorrichtung ihre innere Endlage bevor die Rückenanpressvorrichtung ihre obere Endlage erreicht hat, werden die Buchrücken tendenziell rund. Erreicht dagegen die Rückenanpressvorrichtung ihre obere Endlage bevor die Flankenanpressvorrichtung ihre innere Endlage erreicht hat, werden die Buchrücken tendenziell kantig. Der Hub der Flankenanpressvorrichtung muss deshalb an das abzupressende Produkt angepasst werden. Bei der Verarbeitung von Umschlägen wird in der Regel mit einem grösseren Hub gearbeitet als bei der Verarbeitung von Fälzeln. Dies erfolgt beispielsweise durch Austausch von Steuerkurven oder durch Verstellung von Antriebskoppelsystemen auf mechanische Art.
  • Aus der DE 102 27 950 A1 ist eine Anpressvorrichtung bekannt, bei der der Antrieb der Flankenanpressleisten gemeinsam durch eine Steuerkurve, einem Schwenkhebel und eine Kurvenrolle erfolgt. Durch Verschieben von Hebel-Lagerstellen lassen sich der Hub der Flankenanpressleisten verstellen. Nachteilig an dieser Lösung ist der Umstand, dass die Verstellungen sich gegenseitig beeinflussen können. Zudem kann die Phasenlage der Flankenanpressvorrichtung zu der Rückenanpressvorrichtung nicht verändert werden.
  • Nach einem weiteren Stand der Technik werden die Flankenanpressleisten direkt durch zugeordnete Steuerkurven oder Kurbeltriebe angetrieben, wobei mindestens die innere Endlage einer Flankenanpressschiene verstellbar ausgeführt ist, zwecks Anpassung an die Buchdicke. Soll der Hub der Flankenanpressleisten verändert werden, müssen die entsprechenden Steuerkurven oder Kurbeln ausgetauscht werden. Ein weiterer Nachteil dieser Lösung bildet auch der grosse Zeitaufwand, der für den Austausch von Teilen erforderlich ist.
  • Während dem Pressvorgang darf zwischen der Anpressung und dem Buchblock in Rückenlängsrichtung keine oder eine nur geringfügige Relativgeschwindigkeit bestehen.
  • Der Antrieb der gesamten Anpressvorrichtung erfolgt entweder durch eine mechanische Koppelung mit dem Antrieb des Klebebinders oder mittels eines elektrischen Einzelantriebs, der dem Antrieb des Klebebinders folgt.
  • Ein anderer Nachteil der bekannten Lösungen mit nur einem Antrieb für die gesamte Anpressvorrichtung besteht durch die fehlende Ansprechempfindlichkeit der Überlastabsicherung des einzigen Antriebs, die so eingestellt werden muss, dass sie die maximal auftretenden Betriebskräfte ohne anzusprechen sicher übertragen kann. Damit ist ein Ansprechen auf Überlast von Organen mit kleinerem Kraftbedarf nicht möglich.
  • Ein weiterer Nachteil bekannter Vorrichtungen ist, dass mechanische Antriebsorgane wie Kurbeln oder Steuerkurven abhängig von der Teilung zwischen den Klammern sind.
  • Der Erfindung liegt die Aufgabe zugrunde, einen Klebebinder und ein Verfahren zu schaffen, die mit geringerem Aufwand und während laufender Maschine an die Anforderungen der zu fertigenden Produkte angepasst resp. eingestellt werden kann.
  • Die Aufgabe wird erfindungsgemäss durch die Merkmale des kennzeichnenden Teils der Ansprüche 1 und 12 gelöst.
  • Die Erfindung wird anschliessend unter Bezugnahme auf die Zeichnung, auf die bezüglich aller in der Beschreibung nicht näher erwähnten Einzelheiten verwiesen wird, anhand eines Ausführungsbeispiels erläutert. In der Zeichnung zeigen:
  • Fig. 1
    einen Ausschnitt einer Seitenansicht eines Klebebinders mit einer Anpressvorrichtung und
    Fig. 2
    einen Schnitt entlang der Ebene I-I in Fig. 1.
  • Die in den Fig. 1 und Fig. 2 gezeigte Anpressvorrichtung 1 ist ausschliesslich an einem Maschinengestell eines Klebebinders befestigt. Die am Rücken 12 und an den benachbarten seitlichen Flanken 13 zu pressenden Buchblocks 5 sind mit nach unten herausragendem Rücken 12 in in Transportrichtung T umlaufenden Klammern 14 des Klebebinders eingespannt. In stromaufwärts des Klebebinders angeordneten Bearbeitungsstationen (nicht dargestellt) werden die Buchblocks 5 vorgängig am Rücken 12 zwecks einer optimalen Verbindung mit dem Klebstoff bearbeitet. Durch eine unmittelbar vor der Anpressvorrichtung 1 angeordnete Zusammenführungsvorrichtung 10 werden die durch einen Umschlaganleger zugeführten Umschläge 11 mit den Buchblocks 5 im Bereich des Rückens 12 zusammengeführt und an letzteren angedrückt. In Fig. 1 ist die Zusammenführungsvorrichtung 10 als eine mit der Geschwindigkeit der Klammern 14 angetriebene Walze dargestellt. Ebenfalls denkbar ist eine Zusammenführung mittels einer die Umschläge 11 an die Rücken 12 der Buchblocks 5 hebenden und mit der Geschwindigkeit der Klammern 14 angetriebenen Leiste. Anstelle von Umschlägen 11 können alternativ in einer Fälzelstation Fälzel 29 an den beleimten Rücken 12 angeklebt werden. Der für die Verbindung der Umschläge 11 oder Fälzel 29 mit Buchblocks 5 erforderliche Klebstoff wird vor dem Zusammenführen an den Buchblocks 5 und/oder Umschlägen 11 oder Fälzeln 29 über Walzen- oder Düsenauftragssysteme aufgebracht. Die Anpressvorrichtung 1 besteht im Wesentlichen aus einer Flankenanpressvorrichtung 15, die eine vordere Pressleiste 8 und eine hintere Pressleiste 9 aufweist, sowie der Rückenanpressvorrichtung 18, die Einzelantriebseinheiten 23,24 mit Antriebssteuerungen 25,26 aufweist welche einer motorischen Antriebsvorrichtung 20 zugeordnet sind. Die Antriebsvorrichtung 20 weist einen die Rückenanpressvorrichtung 18 etwa gleichsinnig zur Transportrichtung T des Buchblocks antreibenden Motor 3 und einen die Rückenanpressvorrichtung 18 gegen den Rücken 12 des Buchblocks 5 pressenden weiteren Motor 4 auf. Ein in einer vertikal verschiebbar am Grundgestell des Klebebinders angeordneten horizontalen Längsführung 7 verschiebbar geführter Wagen 6 bildet eine Führungsanordnung der Anpressvorrichtung 1. Eine für die Funktion der Anpressvorrichtung 1 erforderliche, veränderbare ellipsenähnliche Bewegungsbahn 27 des Wagens 6 mit der Rückenanpressvorrichtung 18 und der Flankenanpressvorrichtung 15 entsteht durch Überlagerung der horizontalen und vertikalen Bewegung der Längsführung 7 resp. des Wagens 6. Beim Durchlaufen des mittleren Abschnitts des oberen Bereichs der Bewegungsbahn 27 wird der Umschlag 11 oder Fälzel 29 am Rücken 12 durch die Rückenanpressvorrichtung 18 und an den seitlichen Flanken 13 durch die Flankenanpressvorrichtung 15 angepresst. Während des Pressvorgangs muss die Geschwindigkeit der Rückenanpressvorrichtung 18 und der Flankenanpressvorrichtung 15 in Transportrichtung T exakt der Geschwindigkeit der Klammern 14 resp. der Buchblocks 5 entsprechen. Die Anpressvorrichtung 1 ist deshalb taktsynchron zu den die Buchblocks 5 transportierenden Klammern 14 des Klebebebinders angetrieben.
  • Das Anpressen von Fälzeln 29 erfolgt analog zum Anpressen der Umschläge 11. Bedingt durch die nur wenige Millimeter langen Schenkel der Fälzel 29 muss jedoch die Flankenanpressvorrichtung 15 mit einem kleineren Hub betrieben werden als beim Anpressen von Umschlägen 11.
  • Die inneren Endlagen der hinteren Pressleiste 9 und der vorderen Pressleiste 8 sind auf die Position der Flanken 13 resp. der Dicke oder Dickenunterschiede der zu verarbeitenden Buchblocks 5 einstellbar. Die Hübe der hinteren Anpressleiste 9 und der vorderen Anpressleiste 8 sind ebenfalls verstellbar und im Wesentlichen davon abhängig, ob Buchblocks 5 mit Umschlägen 11 oder Fälzeln 29 verpresst werden. Die obere Endlage der Längsführung 7 resp. Rückenanpressvorrichtung 18 und der Flankenanpressvorrichtung 15 sind entsprechend dem Niveau der Rücken 12 ebenfalls einstellbar.
  • Die vordere Anpressleiste 8, die hintere Anpressleiste 9, die Längsführung 7 und der Wagen 6 sind je mit Einzelantriebseinheiten 16,23,24 versehen und von diesen in Richtung der Doppelpfeile hin und her antreibbar. Die Einzelantriebseinheiten 16,23,24 sind beispielhaft als elektrische Linearantriebe dargestellt. Es sind jedoch auch Antriebsysteme mit rotativ arbeitenden Motoren und Kurbeln, Ritzel-Zahnstangensysteme, Ritzel-Zahnriemensysteme oder Mutter-Spindelsysteme denkbar. Die Energiezufuhr kann alternativ hydraulisch oder pneumatisch erfolgen. Jede Einzelantriebseinheit 16,23,24 wird gebildet durch einen Motor 2,3,4, und eine Antriebssteuerung 19,25,26 die den Motor 2,3,4 mit Energie versorgt. Nicht dargestellte und mit den Antriebssteuerungen 19,25,26 verbundene Sensoren messen laufend die Lage der Einzelantriebseinheiten 16,23,24. Die Antriebssteuerungen 19,25,26 regeln die Energiezufuhr an die ihnen zugeordneten Motoren 2,3,4 aufgrund eines Vergleichs von Soll-Lagen der Einzelantriebseinheiten 16,23,24 mit deren Ist-Lagen. Derartige Systeme sind dem Fachmann unter dem Begriff "Servoantrieb" bekannt. Die Soll-Lagen der Einzelantriebseinheiten 16,23,24 sind abhängig von der Ist-Lage des Antriebs des Klebebinders und dem den Einzelantriebseinheiten 16,23,24 zugeordneten Bewegungsgesetz. Die Antriebssteuerungen 19,25,26 der Einzelantriebseinheiten 16,23,24 sind deshalb mit einer Steuervorrichtung 17 des Klebebinders verbunden, der ein Lagesensor 28 zur Erfassung der Lage des Antriebs des Klebebinders zugeordnet ist. Dadurch dass jeder Antriebsachse eine Einzelantriebseinheit 16,23,24 zugeordnet ist, können jederzeit, auch während einer Produktion, Antriebsparameter ohne manuelle Eingriffe verändert werden. Ein weiterer Vorteil besteht darin, dass jede Einzelantriebseinheit 16,23,24 optimal auf die für den Antrieb des zugeordneten Organs erforderliche Antriebskraft eingestellt werden kann, womit pro Einzelantriebseinheit 16,23,24 ein Schutz gegen Überbelastung erreicht wird. Für die Eingabe von Produkt- und Produktionsdaten umfasst die Steuervorrichtung 17 zudem eine Bedieneinheit 21, beispielsweise eine Tastatur und für die Ausgabe von Fehlermeldungen und anderen Daten eine Ausgabeeinheit 22, beispielsweise einen Bildschirm. Bei einer alternativen Ausführung können die Bedieneinheit 21 und Ausgabeeinheit 22 durch ein sogenanntes "Touch Screen System" gebildet sein.

Claims (18)

  1. Klebebinder mit einer Vorrichtung zum Anpressen eines Umschlages (11) oder Fälzels (29) an einen beleimten Rücken (12) und benachbarte seitliche Flanken (13) eines in einer durch einen Antrieb umlaufenden Klammer (14) des Klebebinders mit nach unten vorstehendem Rücken (12) transportierten Buchblocks (5), bestehend aus
    einer den Umschlag (11) jeweils an den beleimten Rücken (12) anpressenden Rückenanpreßvorrichtung (18), welche eine Einzelantriebseinheit (23, 24) aufweist, und
    einer den Umschlag (11) an die seitlichen Flanken (13) anpressenden Flankenanpreßvorrichtung (15), die taktsynchron mit den die Buchblocks (5) transportierenden Klammern (14) des Klebebinders angetrieben sind, wobei der Flankenanpreßvorrichtung (15) eine Einzelantriebseinheit (16) zugeordnet ist,
    dadurch gekennzeichnet, daß
    die Einzelantriebseinheiten (16, 23, 24) der Rückenanpreßvorrichtung (18) und der Flankenanpreßvorrichtung (15) mit einer Steuervorrichtung (17) des Klebebinders, der ein Lagesensor (28) zur Erfassung der Lage des Antriebs des Klebebinders zugeordnet ist, verbunden und gemäß einem den Einzelantriebseinheiten (16, 23, 24) zugeordneten Bewegungsgesetz steuerbar ausgebildet sind und die Soll-Lagen der Einzelantriebseinheiten (16, 23, 24) abhängig von der Ist-Lage des Antriebs des Klebebinders und dem den Einzelantriebseinheiten (16, 23, 24) zugeordneten Bewegungsgesetz sind.
  2. Klebebinder nach Anspruch 1, dadurch gekennzeichnet, daß die Flankenanpreßvorrichtung (15) wenigstens eine angetriebene Preßleiste (8, 9) aufweist und daß die Einzelantriebseinheit (16) eine Antriebssteuerung (19) und einen mit der Preßleiste (8, 9) resp. der Flankenanpreßvorrichtung (15) verbundenen, steuerbaren Motor (2) aufweist.
  3. Klebebinder nach Anspruch 1 oder 2, dadurch gekennzeichnet, daß die Einzelantriebseinheit (23, 24) der Rückenanpreßvorrichtung (18) eine Antriebssteuerung (25, 26) aufweist, welche einer Antriebsvorrichtung (20) zugeordnet ist.
  4. Klebebinder nach Anspruch 3, dadurch gekennzeichnet, daß die Antriebsvorrichtung (20) jeweils einen die Rückenanpreßvorrichtung (18) etwa gleichsinnig zur Transportrichtung (T) des Buchblocks (5) antreibenden Motor (3) und einen die Rückenanpreßvorrichtung (18) gegen den Rücken (12) des Buchblocks (5) pressenden weiteren Motor (4) aufweist.
  5. Klebebinder nach einem der Ansprüche 1 bis 4, dadurch gekennzeichnet, daß die Flankenanpreßvorrichtung (15) nach den Dickenunterschieden der Buchblocks (5) verstellbar ist.
  6. Klebebinder nach einem der Ansprüche 1 bis 5, dadurch gekennzeichnet, daß die Einzelantriebseinheiten (16, 23, 24) der Preßvorrichtungen (15, 18) unabhängig voneinander steuerbar sind.
  7. Klebebinder nach einem der Ansprüche 1 bis 6, dadurch gekennzeichnet, daß die Einzelantriebseinheiten (16, 23, 24) derart steuerbar ausgebildet sind, daß eine Geschwindigkeit der Rückenanpreßvorrichtung (18) und eine Geschwindigkeit der Flankenanpreßvorrichtung (15) in einer Transportrichtung (T) gleich einer Geschwindigkeit der Klammern (14) ist.
  8. Klebebinder nach einem der Ansprüche 1 bis 7, dadurch gekennzeichnet, daß die Einzelantriebseinheiten (16, 23, 24) derart steuerbar ausgebildet sind, daß ein Hub der Flankenanpreßvorrichtung (15), insbesondere ein Hub einer vorderen Anpreßleiste (8) und ein Hub einer hinteren Anpreßleiste (9) der Flankenanpreßvorrichtung (15), verstellbar ist.
  9. Klebebinder nach einem der Ansprüche 1 bis 8, dadurch gekennzeichnet, daß die Einzelantriebseinheiten (16, 23, 24) derart steuerbar ausgebildet sind, daß innere Endlagen einer vorderen Anpreßleiste (8) und einer hinteren Anpreßleiste (9) der Flankenanpreßvorrichtung (15) entsprechend einer Dicke der zu verarbeitenden Buchblocks (5) einstellbar sind.
  10. Klebebinder nach einem der Ansprüche 1 bis 9, dadurch gekennzeichnet, daß die Einzelantriebseinheiten (16, 23, 24) derart steuerbar ausgebildet sind, daß eine obere Endlage der Rückenanpreßvorrichtung (18) entsprechend einem Niveau der Rücken (12) der Buchblocks (5) einstellbar ist.
  11. Klebebinder nach einem der Ansprüche 1 bis 10, dadurch gekennzeichnet, daß die Einzelantriebseinheiten (16, 23, 24) derart steuerbar ausgebildet sind, daß eine ellipsenähnliche Bewegungsbahn (27) der Flankenanpreßvorrichtung (15) und der Rückenanpreßvorrichtung (18) veränderbar ist.
  12. Verfahren zum Klebebinden, bei dem ein Umschlag (11) oder Fälzel (29) an einen beleimten Rücken (12) und benachbarte seitliche Flanken (13) eines in einer durch einen Antrieb umlaufenden Klammer (14) eines Klebebinders mit nach unten vorstehendem Rücken (12) transportierten Buchblocks (5) angepreßt werden,
    wobei das Anpressen des Umschlags (11) an den beleimten Rücken (12) mittels einer Einzelantriebseinheiten (23, 24) aufweisenden Rückenanpreßvorrichtung (18) erfolgt, und wobei das Anpressen des Umschlags (11) an die seitlichen Flanken (13) mittels einer taktsynchron mit den die Buchblocks (5) transportierenden Klammern (14) des Klebebinders angetriebenen Flankenanpreßvorrichtung (15) erfolgt, welcher eine Einzelantriebseinheit (16) zugeordnet ist,
    dadurch gekennzeichnet, daß die Einzelantriebseinheiten (16, 23, 24) der Rückenanpreßvorrichtung (18) und der Flankenanpreßvorrichtung (15) mit einer Steuervorrichtung (17) des Klebebinders, der ein Lagesensor (28) zur Erfassung der Lage des Antriebs des Klebebinders zugeordnet ist, verbunden und gemäß einem den Einzelantriebseinheiten (16, 23, 24) zugeordneten Bewegungsgesetz gesteuert werden und die Soll-Lagen der Einzelantriebseinheiten (16, 23, 24) abhängig von der Ist-Lage des Antriebs des Klebebinders und dem den Einzelantriebseinheiten (16, 23, 24) zugeordneten Bewegungsgesetz sind.
  13. Verfahren nach Anspruch 12, dadurch gekennzeichnet, daß die Einzelantriebseinheiten (16, 23, 24) so gesteuert werden, daß eine Geschwindigkeit der Rückenanpreßvorrichtung (18) und eine Geschwindigkeit der Flankenanpreßvorrichtung (15) in einer Transportrichtung (T) gleich einer Geschwindigkeit der Klammern (14) sind.
  14. Verfahren nach Anspruch 12 oder 13, dadurch gekennzeichnet, daß die Einzelantriebseinheiten (16, 23, 24) so gesteuert werden, daß ein Hub der Flankenanpreßvorrichtung (15), insbesondere ein Hub einer vorderen Anpreßleiste (8) und ein Hub einer hinteren Anpreßleiste (9) der Flankenanpreßvorrichtung (15) verstellt wird.
  15. Verfahren nach einem der Ansprüche 12 bis 14, dadurch gekennzeichnet, daß die Einzelantriebseinheiten (16, 23, 24) so gesteuert werden, daß innere Endlagen einer vorderen Anpreßleiste (8) und einer hinteren Anpreßleiste (9) der Flankenanpreßvorrichtung (15) entsprechend einer Dicke der zu verarbeitenden Buchblocks (5) eingestellt werden.
  16. Verfahren nach einem der Ansprüche 12 bis 15, dadurch gekennzeichnet, daß die Einzelantriebseinheiten (16, 23, 24) so gesteuert werden, daß eine obere Endlage der Rückenanpreßvorrichtung (18) entsprechend einem Niveau der Rücken (12) der Buchblocks (5) eingestellt wird.
  17. Verfahren nach einem der Ansprüche 12 bis 16, dadurch gekennzeichnet, daß die Einzelantriebseinheiten (16, 23, 24) so gesteuert werden, daß eine ellipsenähnliche Bewegungsbahn (27) der Flankenanpreßvorrichtung (15) und der Rückenanpreßvorrichtung (18) verändert wird.
  18. Verfahren nach einem der Ansprüche 12 bis 17, dadurch gekennzeichnet, daß mit der Steuervorrichtung (17) des Klebebinders Antriebsparameter der Einzelantriebseinheiten (16, 23, 24) verändert werden.
EP07405223.4A 2007-07-30 2007-07-30 Vorrichtung und Verfahren zum Anpressen eines Umschlages oder Fälzels an einen beleimten Rücken Active EP2020305B2 (de)

Priority Applications (4)

Application Number Priority Date Filing Date Title
EP07405223.4A EP2020305B2 (de) 2007-07-30 2007-07-30 Vorrichtung und Verfahren zum Anpressen eines Umschlages oder Fälzels an einen beleimten Rücken
AT07405223T ATE522366T1 (de) 2007-07-30 2007-07-30 Vorrichtung und verfahren zum anpressen eines umschlages oder fälzels an einen beleimten rücken
JP2008195536A JP2009029135A (ja) 2007-07-30 2008-07-29 表紙あるいは補強ストライプを糊付けされた背部に押圧するための装置
US12/181,762 US8206073B2 (en) 2007-07-30 2008-07-29 Apparatus for pressing a book casing or a slip-fold against an adhesive-covered back

Applications Claiming Priority (1)

Application Number Priority Date Filing Date Title
EP07405223.4A EP2020305B2 (de) 2007-07-30 2007-07-30 Vorrichtung und Verfahren zum Anpressen eines Umschlages oder Fälzels an einen beleimten Rücken

Publications (3)

Publication Number Publication Date
EP2020305A1 EP2020305A1 (de) 2009-02-04
EP2020305B1 EP2020305B1 (de) 2011-08-31
EP2020305B2 true EP2020305B2 (de) 2016-11-16

Family

ID=38917806

Family Applications (1)

Application Number Title Priority Date Filing Date
EP07405223.4A Active EP2020305B2 (de) 2007-07-30 2007-07-30 Vorrichtung und Verfahren zum Anpressen eines Umschlages oder Fälzels an einen beleimten Rücken

Country Status (4)

Country Link
US (1) US8206073B2 (de)
EP (1) EP2020305B2 (de)
JP (1) JP2009029135A (de)
AT (1) ATE522366T1 (de)

Families Citing this family (4)

* Cited by examiner, † Cited by third party
Publication number Priority date Publication date Assignee Title
WO2010016339A1 (ja) * 2008-08-08 2010-02-11 コニカミノルタビジネステクノロジーズ株式会社 製本装置及び画像形成システム
DE102011119126A1 (de) 2010-12-22 2012-06-28 Heidelberger Druckmaschinen Ag Vorrichtung zum Anlegen eines Umschlags
DE102012018532A1 (de) * 2012-09-19 2014-03-20 Heidelberger Druckmaschinen Ag Vorrichtung zum Anlegen eines Umschlags
CN110588206B (zh) * 2019-08-14 2021-03-02 蒙强 一种交通运输企业税务票据整平粘贴装置

Citations (4)

* Cited by examiner, † Cited by third party
Publication number Priority date Publication date Assignee Title
GB2300382A (en) 1995-05-03 1996-11-06 Nat Starch Chem Corp Bookbinding
US6024525A (en) 1996-04-17 2000-02-15 Canon Kabushiki Kaisha Tape heating apparatus and bookbinding apparatus
DE69808854T2 (de) 1997-08-04 2003-06-12 Horizon International, Inc. Buchbindevorrichtung
EP1834805A2 (de) 2006-03-14 2007-09-19 Heidelberger Druckmaschinen Aktiengesellschaft Vorrichtung und Verfahren zum Anpressen eines Umschlages an einen bewegten Bedruckstoffblock

Family Cites Families (6)

* Cited by examiner, † Cited by third party
Publication number Priority date Publication date Assignee Title
DE3241477A1 (de) * 1982-11-10 1984-05-10 Dipl.-Ing. Hans Ehlermann GmbH & Co KG, 2810 Verden Verfahren und vorrichtung zum einbinden eines buches
DE3340859C2 (de) * 1983-11-11 1994-07-28 Kolbus Gmbh & Co Kg Umschlaganlege- und -anpreßeinrichtung
US5061138A (en) * 1989-01-11 1991-10-29 R. R. Donnelley & Sons Company System cover breaker
US5219453A (en) * 1990-04-23 1993-06-15 Canon Kabushiki Kaisha Sheet binder
DE10045400A1 (de) * 2000-09-14 2002-03-28 Kolbus Gmbh & Co Kg Verfahren und Vorrichtung zum Ausführen von Büchern aus einer Bucheinhängemaschine
DE10227950A1 (de) 2002-06-22 2004-01-08 Kolbus Gmbh & Co. Kg Umschlaganlege- und -anpresseinrichtung

Patent Citations (4)

* Cited by examiner, † Cited by third party
Publication number Priority date Publication date Assignee Title
GB2300382A (en) 1995-05-03 1996-11-06 Nat Starch Chem Corp Bookbinding
US6024525A (en) 1996-04-17 2000-02-15 Canon Kabushiki Kaisha Tape heating apparatus and bookbinding apparatus
DE69808854T2 (de) 1997-08-04 2003-06-12 Horizon International, Inc. Buchbindevorrichtung
EP1834805A2 (de) 2006-03-14 2007-09-19 Heidelberger Druckmaschinen Aktiengesellschaft Vorrichtung und Verfahren zum Anpressen eines Umschlages an einen bewegten Bedruckstoffblock

Non-Patent Citations (10)

* Cited by examiner, † Cited by third party
Title
angeblich offenkundige Vorbenutzung durch den EB4000 der Firma Heidelberger Druckmaschinen AG auf der Messe IPEX 2006 vom 04. bis 11.04.2006 in Birmingham (GB)
Ausdruck der Heidelberg Pressemeldung vom 23.02.2006
Deckblatt und Seiten I.1, I.2, 1-2, A.1.1-A.1.2, B.1.3-B.1.8, D.2.41-D.2.46 der Bedienungsanleitung eines Eurobind 4000 von 07/06 mit der Nr. FM.9964001/00
Produktbroschüre "Eurobind 4000 - Intelligent Automation for Adhesive Binding with Ultra-Fast Makeready"; Drucklegung 03/06
Produktbroschüre "Eurobind 4000 - Intelligentes Automatisierungskonzept für Klebebinden mit kürzesten Rüstzeiten"; Drucklegung 03/06
Seiten G-1 bis G-3, G-6, G7, G20 bis G-26, G-31 bis G-36, G-46, L.1-1 bis L.1-3, L.1-6 bis L.1-8, L.1-20 bis L.1-31 bis L.1-36, L.1-46 des Teilekatalogs zur Anpressstation 1 und 2 des Eurobind 4000
Stromlaufplan für die Klebebinder Pressstation 1. Enthält Dokumente SLP FM.A0040A1/00, SLP FM.A0040B1/00, SLP FM.A0040C1/00, SLP FM.A0040S1/ und SLP FM 0040F1/00
Stückliste aus SAP zur Andrückstation 1 mit dem Auflösungsdatum 31.05.2006
Teilezeichnung zum Seitenantrieb links
Teilezeichnung zum Seitenantrieb rechts

Also Published As

Publication number Publication date
EP2020305B1 (de) 2011-08-31
US8206073B2 (en) 2012-06-26
US20090035094A1 (en) 2009-02-05
JP2009029135A (ja) 2009-02-12
ATE522366T1 (de) 2011-09-15
EP2020305A1 (de) 2009-02-04

Similar Documents

Publication Publication Date Title
EP2377688B1 (de) Vorrichtung zur Herstellung von klebegebundenen Produkten
EP0675005B1 (de) Einrichtung zum Klebebinden von Druckereiprodukten
EP1834805A2 (de) Vorrichtung und Verfahren zum Anpressen eines Umschlages an einen bewegten Bedruckstoffblock
EP2960067B1 (de) Verfahren zur optimierung der dickeneinstellung eines klebebinders
DE102007032604A1 (de) Klebebinder
EP2070718B1 (de) Vorrichtung zum Zuführen von Buchblocks
EP2734462A1 (de) Vorrichtung und verfahren zum stoppen und/oder ausrichten von transportgütern auf einer fördereinrichtung und fördereinrichtung
EP2020305B2 (de) Vorrichtung und Verfahren zum Anpressen eines Umschlages oder Fälzels an einen beleimten Rücken
DE102004025501B4 (de) Verfahren zum Herstellen von Stehfalten und Messerfaltmaschine mit Fördereinrichtung
EP2361785B1 (de) Verfahren zum Heften von Druckprodukten mit einer Heftmaschine und Heftmaschine zum Durchführen des Verfahrens
EP1419898B1 (de) Hefteinrichtung zur Herstellung von Druckerzeugnissen aus heftklammergebundenen Druckprodukten
DE60318360T2 (de) Rill- und Falzmaschine für Kartonplatten
EP2468665B1 (de) Vorrichtung zum Anlegen eines Umschlags
DE10242259B4 (de) Vorrichtung zum Auftragen eines Klebstoffs auf den Rücken oder rückennahen Bereich der Seitenflächen eines Buchblocks
DE10227950A1 (de) Umschlaganlege- und -anpresseinrichtung
EP0957057A2 (de) Längsfalzeinrichtung am Falzapparat von Rotationsdruckmaschinen
EP2711192B1 (de) Vorrichtung zum Anlegen eines Umschlags
EP3199369B1 (de) Verfahren zum vorformen und runden eines buchblocks
DE10011935C2 (de) Vorrichtung zum Aufbringen eines Klebers auf eine Materialbahn
EP2017088B1 (de) Heftapparat
EP2650138A1 (de) Buchform- und Pressmaschine
DE4337976C2 (de) Werkzeugmaschine zur Ausführung von Arbeitshüben
EP3064367B1 (de) Verfahren und vorrichtung für das anreiben einer buchdecke an den beleimten aussenflächen eines buchblocks
EP1375741A2 (de) Vorrichtung und Verfahren zur Beeinflussung eines Pressdruckprofils
EP4484097A1 (de) Einrichtung und verfahren zur durchführung von schneidoperationen an formatkanten mindestens eines mit einem klappenfalz oder umschlag ausgebildeten druckprodukts

Legal Events

Date Code Title Description
PUAI Public reference made under article 153(3) epc to a published international application that has entered the european phase

Free format text: ORIGINAL CODE: 0009012

AK Designated contracting states

Kind code of ref document: A1

Designated state(s): AT BE BG CH CY CZ DE DK EE ES FI FR GB GR HU IE IS IT LI LT LU LV MC MT NL PL PT RO SE SI SK TR

AX Request for extension of the european patent

Extension state: AL BA HR MK RS

17P Request for examination filed

Effective date: 20090515

17Q First examination report despatched

Effective date: 20090622

AKX Designation fees paid

Designated state(s): AT BE BG CH CY CZ DE DK EE ES FI FR GB GR HU IE IS IT LI LT LU LV MC MT NL PL PT RO SE SI SK TR

GRAP Despatch of communication of intention to grant a patent

Free format text: ORIGINAL CODE: EPIDOSNIGR1

RTI1 Title (correction)

Free format text: DEVICE AND METHOD FOR PRESSING A COVER OR A STUB TO A GLUED SPINE

GRAS Grant fee paid

Free format text: ORIGINAL CODE: EPIDOSNIGR3

GRAA (expected) grant

Free format text: ORIGINAL CODE: 0009210

RIN1 Information on inventor provided before grant (corrected)

Inventor name: HUG, THEO

Inventor name: FISCHER, PETER

Inventor name: BOOS, KONRAD

AK Designated contracting states

Kind code of ref document: B1

Designated state(s): AT BE BG CH CY CZ DE DK EE ES FI FR GB GR HU IE IS IT LI LT LU LV MC MT NL PL PT RO SE SI SK TR

REG Reference to a national code

Ref country code: GB

Ref legal event code: FG4D

Free format text: NOT ENGLISH

Ref country code: CH

Ref legal event code: EP

REG Reference to a national code

Ref country code: IE

Ref legal event code: FG4D

Free format text: LANGUAGE OF EP DOCUMENT: GERMAN

REG Reference to a national code

Ref country code: DE

Ref legal event code: R096

Ref document number: 502007008027

Country of ref document: DE

Effective date: 20111124

REG Reference to a national code

Ref country code: NL

Ref legal event code: VDEP

Effective date: 20110831

LTIE Lt: invalidation of european patent or patent extension

Effective date: 20110831

PG25 Lapsed in a contracting state [announced via postgrant information from national office to epo]

Ref country code: LT

Free format text: LAPSE BECAUSE OF FAILURE TO SUBMIT A TRANSLATION OF THE DESCRIPTION OR TO PAY THE FEE WITHIN THE PRESCRIBED TIME-LIMIT

Effective date: 20110831

Ref country code: FI

Free format text: LAPSE BECAUSE OF FAILURE TO SUBMIT A TRANSLATION OF THE DESCRIPTION OR TO PAY THE FEE WITHIN THE PRESCRIBED TIME-LIMIT

Effective date: 20110831

Ref country code: IS

Free format text: LAPSE BECAUSE OF FAILURE TO SUBMIT A TRANSLATION OF THE DESCRIPTION OR TO PAY THE FEE WITHIN THE PRESCRIBED TIME-LIMIT

Effective date: 20111231

Ref country code: NL

Free format text: LAPSE BECAUSE OF FAILURE TO SUBMIT A TRANSLATION OF THE DESCRIPTION OR TO PAY THE FEE WITHIN THE PRESCRIBED TIME-LIMIT

Effective date: 20110831

Ref country code: SE

Free format text: LAPSE BECAUSE OF FAILURE TO SUBMIT A TRANSLATION OF THE DESCRIPTION OR TO PAY THE FEE WITHIN THE PRESCRIBED TIME-LIMIT

Effective date: 20110831

PG25 Lapsed in a contracting state [announced via postgrant information from national office to epo]

Ref country code: SI

Free format text: LAPSE BECAUSE OF FAILURE TO SUBMIT A TRANSLATION OF THE DESCRIPTION OR TO PAY THE FEE WITHIN THE PRESCRIBED TIME-LIMIT

Effective date: 20110831

Ref country code: GR

Free format text: LAPSE BECAUSE OF FAILURE TO SUBMIT A TRANSLATION OF THE DESCRIPTION OR TO PAY THE FEE WITHIN THE PRESCRIBED TIME-LIMIT

Effective date: 20111201

Ref country code: CY

Free format text: LAPSE BECAUSE OF FAILURE TO SUBMIT A TRANSLATION OF THE DESCRIPTION OR TO PAY THE FEE WITHIN THE PRESCRIBED TIME-LIMIT

Effective date: 20110831

Ref country code: LV

Free format text: LAPSE BECAUSE OF FAILURE TO SUBMIT A TRANSLATION OF THE DESCRIPTION OR TO PAY THE FEE WITHIN THE PRESCRIBED TIME-LIMIT

Effective date: 20110831

REG Reference to a national code

Ref country code: IE

Ref legal event code: FD4D

PG25 Lapsed in a contracting state [announced via postgrant information from national office to epo]

Ref country code: IE

Free format text: LAPSE BECAUSE OF FAILURE TO SUBMIT A TRANSLATION OF THE DESCRIPTION OR TO PAY THE FEE WITHIN THE PRESCRIBED TIME-LIMIT

Effective date: 20110831

Ref country code: SK

Free format text: LAPSE BECAUSE OF FAILURE TO SUBMIT A TRANSLATION OF THE DESCRIPTION OR TO PAY THE FEE WITHIN THE PRESCRIBED TIME-LIMIT

Effective date: 20110831

Ref country code: CZ

Free format text: LAPSE BECAUSE OF FAILURE TO SUBMIT A TRANSLATION OF THE DESCRIPTION OR TO PAY THE FEE WITHIN THE PRESCRIBED TIME-LIMIT

Effective date: 20110831

PLBI Opposition filed

Free format text: ORIGINAL CODE: 0009260

PG25 Lapsed in a contracting state [announced via postgrant information from national office to epo]

Ref country code: PT

Free format text: LAPSE BECAUSE OF FAILURE TO SUBMIT A TRANSLATION OF THE DESCRIPTION OR TO PAY THE FEE WITHIN THE PRESCRIBED TIME-LIMIT

Effective date: 20120102

Ref country code: EE

Free format text: LAPSE BECAUSE OF FAILURE TO SUBMIT A TRANSLATION OF THE DESCRIPTION OR TO PAY THE FEE WITHIN THE PRESCRIBED TIME-LIMIT

Effective date: 20110831

Ref country code: RO

Free format text: LAPSE BECAUSE OF FAILURE TO SUBMIT A TRANSLATION OF THE DESCRIPTION OR TO PAY THE FEE WITHIN THE PRESCRIBED TIME-LIMIT

Effective date: 20110831

Ref country code: PL

Free format text: LAPSE BECAUSE OF FAILURE TO SUBMIT A TRANSLATION OF THE DESCRIPTION OR TO PAY THE FEE WITHIN THE PRESCRIBED TIME-LIMIT

Effective date: 20110831

26 Opposition filed

Opponent name: HEIDELBERGER DRUCKMASCHINEN AG, INTELLECTUAL PROPE

Effective date: 20120522

PG25 Lapsed in a contracting state [announced via postgrant information from national office to epo]

Ref country code: DK

Free format text: LAPSE BECAUSE OF FAILURE TO SUBMIT A TRANSLATION OF THE DESCRIPTION OR TO PAY THE FEE WITHIN THE PRESCRIBED TIME-LIMIT

Effective date: 20110831

PLAX Notice of opposition and request to file observation + time limit sent

Free format text: ORIGINAL CODE: EPIDOSNOBS2

REG Reference to a national code

Ref country code: DE

Ref legal event code: R026

Ref document number: 502007008027

Country of ref document: DE

Effective date: 20120522

PLAF Information modified related to communication of a notice of opposition and request to file observations + time limit

Free format text: ORIGINAL CODE: EPIDOSCOBS2

PLBB Reply of patent proprietor to notice(s) of opposition received

Free format text: ORIGINAL CODE: EPIDOSNOBS3

BERE Be: lapsed

Owner name: MULLER MARTINI HOLDING A.G.

Effective date: 20120731

PG25 Lapsed in a contracting state [announced via postgrant information from national office to epo]

Ref country code: MC

Free format text: LAPSE BECAUSE OF NON-PAYMENT OF DUE FEES

Effective date: 20120731

REG Reference to a national code

Ref country code: FR

Ref legal event code: ST

Effective date: 20130329

PG25 Lapsed in a contracting state [announced via postgrant information from national office to epo]

Ref country code: FR

Free format text: LAPSE BECAUSE OF NON-PAYMENT OF DUE FEES

Effective date: 20120731

Ref country code: ES

Free format text: LAPSE BECAUSE OF FAILURE TO SUBMIT A TRANSLATION OF THE DESCRIPTION OR TO PAY THE FEE WITHIN THE PRESCRIBED TIME-LIMIT

Effective date: 20111211

PG25 Lapsed in a contracting state [announced via postgrant information from national office to epo]

Ref country code: BE

Free format text: LAPSE BECAUSE OF NON-PAYMENT OF DUE FEES

Effective date: 20120731

PG25 Lapsed in a contracting state [announced via postgrant information from national office to epo]

Ref country code: BG

Free format text: LAPSE BECAUSE OF FAILURE TO SUBMIT A TRANSLATION OF THE DESCRIPTION OR TO PAY THE FEE WITHIN THE PRESCRIBED TIME-LIMIT

Effective date: 20111130

PG25 Lapsed in a contracting state [announced via postgrant information from national office to epo]

Ref country code: MT

Free format text: LAPSE BECAUSE OF FAILURE TO SUBMIT A TRANSLATION OF THE DESCRIPTION OR TO PAY THE FEE WITHIN THE PRESCRIBED TIME-LIMIT

Effective date: 20110831

REG Reference to a national code

Ref country code: AT

Ref legal event code: MM01

Ref document number: 522366

Country of ref document: AT

Kind code of ref document: T

Effective date: 20120731

PG25 Lapsed in a contracting state [announced via postgrant information from national office to epo]

Ref country code: AT

Free format text: LAPSE BECAUSE OF NON-PAYMENT OF DUE FEES

Effective date: 20120731

PG25 Lapsed in a contracting state [announced via postgrant information from national office to epo]

Ref country code: TR

Free format text: LAPSE BECAUSE OF FAILURE TO SUBMIT A TRANSLATION OF THE DESCRIPTION OR TO PAY THE FEE WITHIN THE PRESCRIBED TIME-LIMIT

Effective date: 20110831

PG25 Lapsed in a contracting state [announced via postgrant information from national office to epo]

Ref country code: LU

Free format text: LAPSE BECAUSE OF NON-PAYMENT OF DUE FEES

Effective date: 20120730

PG25 Lapsed in a contracting state [announced via postgrant information from national office to epo]

Ref country code: HU

Free format text: LAPSE BECAUSE OF FAILURE TO SUBMIT A TRANSLATION OF THE DESCRIPTION OR TO PAY THE FEE WITHIN THE PRESCRIBED TIME-LIMIT

Effective date: 20070730

PLBP Opposition withdrawn

Free format text: ORIGINAL CODE: 0009264

PUAH Patent maintained in amended form

Free format text: ORIGINAL CODE: 0009272

STAA Information on the status of an ep patent application or granted ep patent

Free format text: STATUS: PATENT MAINTAINED AS AMENDED

27A Patent maintained in amended form

Effective date: 20161116

AK Designated contracting states

Kind code of ref document: B2

Designated state(s): AT BE BG CH CY CZ DE DK EE ES FI FR GB GR HU IE IS IT LI LT LU LV MC MT NL PL PT RO SE SI SK TR

REG Reference to a national code

Ref country code: DE

Ref legal event code: R102

Ref document number: 502007008027

Country of ref document: DE

REG Reference to a national code

Ref country code: CH

Ref legal event code: AELC

PG25 Lapsed in a contracting state [announced via postgrant information from national office to epo]

Ref country code: LV

Free format text: LAPSE BECAUSE OF FAILURE TO SUBMIT A TRANSLATION OF THE DESCRIPTION OR TO PAY THE FEE WITHIN THE PRESCRIBED TIME-LIMIT

Effective date: 20161116

PGFP Annual fee paid to national office [announced via postgrant information from national office to epo]

Ref country code: IT

Payment date: 20190731

Year of fee payment: 13

PGFP Annual fee paid to national office [announced via postgrant information from national office to epo]

Ref country code: GB

Payment date: 20190724

Year of fee payment: 13

PGFP Annual fee paid to national office [announced via postgrant information from national office to epo]

Ref country code: CH

Payment date: 20191022

Year of fee payment: 13

REG Reference to a national code

Ref country code: CH

Ref legal event code: PL

GBPC Gb: european patent ceased through non-payment of renewal fee

Effective date: 20200730

PG25 Lapsed in a contracting state [announced via postgrant information from national office to epo]

Ref country code: GB

Free format text: LAPSE BECAUSE OF NON-PAYMENT OF DUE FEES

Effective date: 20200730

Ref country code: CH

Free format text: LAPSE BECAUSE OF NON-PAYMENT OF DUE FEES

Effective date: 20200731

Ref country code: LI

Free format text: LAPSE BECAUSE OF NON-PAYMENT OF DUE FEES

Effective date: 20200731

PG25 Lapsed in a contracting state [announced via postgrant information from national office to epo]

Ref country code: IT

Free format text: LAPSE BECAUSE OF NON-PAYMENT OF DUE FEES

Effective date: 20200730

PGFP Annual fee paid to national office [announced via postgrant information from national office to epo]

Ref country code: DE

Payment date: 20250730

Year of fee payment: 19