EP1983111A1 - Schalungselement zum Begrenzen eines Schlitzwandabschnitts, Schalungsteil und Verfahren zum Herstellen einer Schlitzwand im Boden - Google Patents
Schalungselement zum Begrenzen eines Schlitzwandabschnitts, Schalungsteil und Verfahren zum Herstellen einer Schlitzwand im Boden Download PDFInfo
- Publication number
- EP1983111A1 EP1983111A1 EP07008140A EP07008140A EP1983111A1 EP 1983111 A1 EP1983111 A1 EP 1983111A1 EP 07008140 A EP07008140 A EP 07008140A EP 07008140 A EP07008140 A EP 07008140A EP 1983111 A1 EP1983111 A1 EP 1983111A1
- Authority
- EP
- European Patent Office
- Prior art keywords
- formwork
- shuttering
- parts
- element according
- formwork parts
- Prior art date
- Legal status (The legal status is an assumption and is not a legal conclusion. Google has not performed a legal analysis and makes no representation as to the accuracy of the status listed.)
- Withdrawn
Links
- 238000009415 formwork Methods 0.000 title claims abstract description 92
- 238000004519 manufacturing process Methods 0.000 title claims abstract description 7
- 238000000034 method Methods 0.000 title description 4
- 238000007789 sealing Methods 0.000 claims abstract description 19
- 238000009416 shuttering Methods 0.000 claims description 24
- 239000002184 metal Substances 0.000 claims description 14
- 229910000831 Steel Inorganic materials 0.000 claims description 11
- 239000010959 steel Substances 0.000 claims description 11
- 239000000565 sealant Substances 0.000 claims 1
- 230000007246 mechanism Effects 0.000 abstract 3
- 150000001875 compounds Chemical class 0.000 description 2
- 238000000605 extraction Methods 0.000 description 2
- 230000002787 reinforcement Effects 0.000 description 2
- 238000003860 storage Methods 0.000 description 2
- 230000001419 dependent effect Effects 0.000 description 1
- 230000002349 favourable effect Effects 0.000 description 1
- 239000003673 groundwater Substances 0.000 description 1
- 238000009434 installation Methods 0.000 description 1
- 239000000463 material Substances 0.000 description 1
- 238000002360 preparation method Methods 0.000 description 1
- 230000003014 reinforcing effect Effects 0.000 description 1
- 230000035945 sensitivity Effects 0.000 description 1
- 230000007704 transition Effects 0.000 description 1
Images
Classifications
-
- E—FIXED CONSTRUCTIONS
- E02—HYDRAULIC ENGINEERING; FOUNDATIONS; SOIL SHIFTING
- E02D—FOUNDATIONS; EXCAVATIONS; EMBANKMENTS; UNDERGROUND OR UNDERWATER STRUCTURES
- E02D5/00—Bulkheads, piles, or other structural elements specially adapted to foundation engineering
- E02D5/18—Bulkheads or similar walls made solely of concrete in situ
- E02D5/182—Bulkheads or similar walls made solely of concrete in situ using formworks to separate sections
-
- E—FIXED CONSTRUCTIONS
- E04—BUILDING
- E04G—SCAFFOLDING; FORMS; SHUTTERING; BUILDING IMPLEMENTS OR AIDS, OR THEIR USE; HANDLING BUILDING MATERIALS ON THE SITE; REPAIRING, BREAKING-UP OR OTHER WORK ON EXISTING BUILDINGS
- E04G17/00—Connecting or other auxiliary members for forms, falsework structures, or shutterings
- E04G17/04—Connecting or fastening means for metallic forming or stiffening elements, e.g. for connecting metallic elements to non-metallic elements
-
- E—FIXED CONSTRUCTIONS
- E02—HYDRAULIC ENGINEERING; FOUNDATIONS; SOIL SHIFTING
- E02D—FOUNDATIONS; EXCAVATIONS; EMBANKMENTS; UNDERGROUND OR UNDERWATER STRUCTURES
- E02D5/00—Bulkheads, piles, or other structural elements specially adapted to foundation engineering
- E02D5/18—Bulkheads or similar walls made solely of concrete in situ
-
- E—FIXED CONSTRUCTIONS
- E02—HYDRAULIC ENGINEERING; FOUNDATIONS; SOIL SHIFTING
- E02D—FOUNDATIONS; EXCAVATIONS; EMBANKMENTS; UNDERGROUND OR UNDERWATER STRUCTURES
- E02D5/00—Bulkheads, piles, or other structural elements specially adapted to foundation engineering
- E02D5/18—Bulkheads or similar walls made solely of concrete in situ
- E02D5/185—Bulkheads or similar walls made solely of concrete in situ with flexible joint members between sections
Definitions
- the present invention in a first aspect relates to a formwork element for defining a slot wall portion of a slot wall.
- the invention relates to a formwork part, which is particularly suitable for forming a formwork element according to the invention.
- the invention relates to a method for producing a slot wall in the ground, in which with a slot wall device, in particular a trench cutter, adjacent slot wall sections are formed in the ground, wherein at least one slot wall portion is limited by an introduced formwork element.
- a generic formwork element and a generic method are, for example DE 90 01 679 U1 known.
- shuttering elements to be concreted sections of a slot wall, for example steel shutters.
- the width or the diameter of such formwork elements corresponds to the thickness of the diaphragm wall.
- After the setting of the concrete such formwork elements must be removed, for example, be pulled over the hydraulic devices vertically upwards from the working joint. Since it is difficult to determine the most favorable for the extraction of the concrete setting time, there are often situations in which the concrete is either not yet sufficiently hardened or already too hard. In the first case break when pulling the formwork elements parts of the freshly concreted diaphragm wall and in the second case, the extraction of the formwork elements is considerably more difficult and is sometimes even impossible.
- prefabricated elements are used in the prior art when parking slot wall sections, which remain after concreting the corresponding slot wall sections in the ground.
- Such prefabricated elements can be made for example of steel or concrete.
- Such components are extremely bulky due to their weight.
- formwork elements made of concrete that in order to avoid damage, they must be hardened very well, resulting in a very long storage life.
- such concrete formwork components must be cured for about four weeks due to the sensitivity of the concrete to tensile loads.
- the object of the invention is to provide a formwork element which is particularly easy to install. Furthermore, a method for producing a trench wall in the ground is to be specified, in which a limitation of a slot wall section in an unrestricted manner is possible.
- the formwork element of the abovementioned type includes a plurality of formwork parts which have a plate-shaped base body, in particular of concrete, and are connected to one another at their adjacent horizontal end faces.
- the formwork part according to the invention which is particularly suitable for forming a formwork element according to the invention, has a plate-shaped base body, in particular made of concrete, wherein on at least one horizontal end face of the base body, a connecting device for connecting a further formwork part is arranged.
- the formwork element is composed of individual formwork parts, which are successively introduced into the slot and connected to each other at their horizontal end faces.
- the formwork element no longer, as in the prior art, one piece but composed of several formwork parts or shuttering segments.
- a first significant advantage in this context is that these shuttering parts are much smaller, for example as formwork elements for very deep diaphragm walls. This results in considerable advantages in terms of the handling and processability of the formwork elements and formwork parts.
- the formwork parts according to the invention have suitable connection devices on their horizontal end faces so that individual formwork parts can be connected to one another.
- formwork parts are subjected to much lower loads during assembly and during movement and transporting before assembly because of their smaller size than a one-piece large formwork element. If the formwork parts are made of concrete, already significantly shorter curing times are sufficient. First tests have shown that with formwork parts with a length of about 6 m, the concrete has already hardened sufficiently after two days.
- slot walls with different depths can be divided with the same formwork parts. A preparation of formwork elements suitable for each required slot wall depth is therefore no longer necessary.
- the formwork parts can be made of any materials that have suitable properties in view of the permanent remaining in the slot wall.
- the formwork parts may be made of steel. But is particularly preferred if the main body of the formwork parts are made of concrete.
- the invention accordingly relates to a shuttering element for limiting a slot wall section, wherein the shuttering elements consist of individual sections which can be connected to one another via threaded rods.
- the front-side connecting surfaces can be designed as steel plates in order to ensure an axis-accurate connection of the individual parts and to allow the installation of sealing elements.
- a vertical sealing tape or joint sealing tape can be performed at joints of Abschalelementabête overlapping and connected to each other.
- the Abschaletti can be adjusted perpendicular to the slot after a short storage time with sufficient strength of the concrete, where they can be initially held on the baffle by means of a transverse bore axis to connect to the next formwork part and to seal the joints.
- a Abschalelement is provided which can remain in the slot wall and still requires a very short production time until the concrete has the necessary strength.
- the Abschalelement invention ensures that at low slot wall width and large slot depth, the Abschalelement not, as usual in steel planks, twisted and thus a sufficient seal can not be ensured.
- these connecting devices may each comprise screw connections.
- suitable recesses may be formed in the shape of the concrete base body.
- the diaphragm wall For many applications, such as having to draw in diaphragm walls below the groundwater level, it is necessary for the diaphragm wall to be watertight as a whole. For this purpose, it must be ensured in particular that the transition region between the already hardened formwork element according to the invention and the only thereafter curing concrete in the adjacent slot wall section is sealed.
- a joint sealing strip can be arranged along at least one longitudinal side of the formwork parts, which is directed to delimiting the slot wall section.
- the joint sealing strips of adjacent formwork parts are connected by means of connecting pieces tightly together.
- these connecting pieces may be formed as metal brackets, which may be in particular metal plates, which are arranged on opposite sides of the joint sealing strips and suitably connected to each other, for example screwed together.
- the area in which the horizontal end faces of two adjoining shuttering parts abut each other must also be sealed.
- the areas between adjacent formwork parts, in particular also any existing connecting pieces be filled with sealing compound. This can, for example, shortly before two formwork parts are placed on each other and pulled together, are applied to the corresponding end faces.
- a seal for sealing against a subsequent formwork part is present on at least one horizontal end face of the formwork part.
- such a seal may be formed of a steel plate and a rubber plate mounted thereon.
- the steel plate can be welded to a steel reinforcement of the concrete body.
- a holding device in particular a horizontal opening, is also present in the formwork part according to the invention.
- the handling ie the conveying and manipulating the formwork part according to the invention is simplified.
- Formwork element 10 shown in the assembly stage is composed of a plurality of formwork parts 20, of which in Fig. 1 a complete and the upwardly and downwardly adjacent formwork parts are partially shown.
- the length of a formwork part 20 is about 6 m.
- the formwork members 20 each include a base body 30 having a substantially wall or plate-like shape.
- connecting means 50 are provided for connecting the respective following formwork part 20.
- it is the connection means 50 to screw, which are not shown in detail and in recesses 56 in the concrete body 30th are arranged.
- the recesses 56 are bounded on the end faces 32 of the formwork parts 20 by metal plates 58.
- the outer contour of these metal plates 58 corresponds to the profile of the base body 30.
- the metal plates 58 are already welded to a steel reinforcement of the respective base body 30.
- the metal plates 58 are used in particular for fastening further sealing devices, for example rubber plates.
- these have a horizontal opening 62, which can serve as a holding device 60.
- a schematically illustrated holding rod 64 is inserted into the opening 62, which can be used for transporting and manipulating the formwork part 20.
- a joint sealing tape 40 is present on the formwork parts on the longitudinal sides 34, which is encapsulated in the base body 30.
- Fig. 1 shown schematically, connected with connectors 44 tightly together.
- the connecting pieces 44 are metal clips 46, which are connected to one another by suitable fastening means, for example screwed connections.
- a sealing compound for example before tightening the connecting devices 50.
- the formwork parts 20 are provided on the horizontal end faces 32 with seals.
- Seals may in particular be a rubber plate fixed to the metal plates 58, for example bolted to the metal plates 58.
- a metal plate 58 is provided only on a formwork part 20 on its horizontal end face 32.
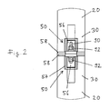
- FIG. 2 a detail of a connection region between two adjoining shuttering parts 20 with basic bodies 30 is shown.
- the connecting devices 50 shown there in further details initially have a substantially cuboid metal box 57, which is welded to the respective metal plates 58 and also to an inner reinforcing basket of the main body 30.
- a receptacle 56 formed by this metal box 57 an externally accessible threaded rod 90 is received with nuts 92. This threaded rod is through the in Fig. 1 shown openings 54 pushed through.
- the present invention provides a novel shuttering element constructed from a plurality of shuttering parts, as well as a novel method for producing a slot wall in the floor, which allows considerable simplifications for the creation of individual slot wall sections.
Landscapes
- Engineering & Computer Science (AREA)
- Structural Engineering (AREA)
- Civil Engineering (AREA)
- General Life Sciences & Earth Sciences (AREA)
- Mining & Mineral Resources (AREA)
- Paleontology (AREA)
- Life Sciences & Earth Sciences (AREA)
- General Engineering & Computer Science (AREA)
- Architecture (AREA)
- Mechanical Engineering (AREA)
- Forms Removed On Construction Sites Or Auxiliary Members Thereof (AREA)
- Moulds, Cores, Or Mandrels (AREA)
- Lining And Supports For Tunnels (AREA)
- Retaining Walls (AREA)
Abstract
Description
- Die vorliegende Erfindung bezieht sich in einem ersten Aspekt auf ein Schalungselement zum Begrenzen eines Schlitzwandabschnitts einer Schlitzwand.
- In einem weiteren Gesichtspunkt betrifft die Erfindung ein Schalungsteil, welches insbesondere zum Bilden eines erfindungsgemäßen Schalungselements geeignet ist.
- Schließlich bezieht sich die Erfindung auf ein Verfahren zum Herstellen einer Schlitzwand im Boden, bei dem mit einem Schlitzwandgerät, insbesondere einer Schlitzwandfräse, nebeneinander liegende Schlitzwandabschnitte im Boden gebildet werden, wobei zumindest ein Schlitzwandabschnitt durch ein eingebrachtes Schalungselement begrenzt wird.
- Ein gattungsgemäßes Schalungselement und ein gattungsgemäßes Verfahren sind beispielsweise aus
DE 90 01 679 U1 bekannt. - Es ist bekannt, beim Abstellen von zu betonierenden Abschnitten einer Schlitzwand Schalungselemente, beispielsweise Abschalrohre aus Stahl, zu verwenden. Die Breite oder der Durchmesser solcher Schalungselemente, die vor dem Betonieren in die Arbeitsfuge abgesenkt werden, entspricht dabei der Dicke der Schlitzwand. Nach dem Abbinden des Betons müssen solche Schalungselemente entfernt werden, beispielsweise über hydraulische Vorrichtungen vertikal nach oben aus der Arbeitsfuge gezogen werden. Da es schwierig ist, den für das Herausziehen günstigsten Abbindezeitpunkt des Betons zu bestimmen, kommt es häufig zu Situationen, bei denen der Beton entweder noch nicht ausreichend abgebunden oder bereits zu hart ist. Im ersten Fall brechen beim Ziehen der Schalungselemente Teile der frisch betonierten Schlitzwand ein und im zweiten Fall wird das Herausziehen der Schalungselemente erheblich erschwert und ist sogar manchmal unmöglich.
- Um diese Schwierigkeiten zu vermeiden, werden im Stand der Technik auch Fertigteilelemente beim Abstellen von Schlitzwandabschnitten verwendet, welche nach dem Betonieren der entsprechenden Schlitzwandabschnitte im Boden verbleiben. Solche Fertigteilelemente können beispielsweise aus Stahl oder auch aus Beton gefertigt sein. Bei größeren Schlitzwandtiefen sind solche Komponenten aufgrund ihres Gewichts jedoch außerordentlich unhandlich. Hinzu kommt im Fall von Schalungselementen aus Beton, dass diese, um Beschädigungen zu vermeiden, sehr gut ausgehärtet sein müssen, woraus sich eine sehr hohe Lagerzeit ergibt. Typischerweise müssen solche Schalungskomponenten aus Beton aufgrund der Empfindlichkeit des Betons gegenüber Zugbelastungen etwa vier Wochen ausgehärtet sein.
- Aufgabe der Erfindung ist, ein Schalungselement zu schaffen, welches besonders einfach zu installieren ist. Weiterhin soll ein Verfahren zum Herstellen einer Schlitzwand im Boden angegeben werden, bei dem eine Begrenzung eines Schlitzwandabschnitts in unaufwändiger Weise möglich ist.
- Diese Aufgabe wird in einem ersten Gesichtspunkt der Erfindung durch das Schalungselement mit den Merkmalen des Anspruchs 1 und das Schalungsteil mit den Merkmalen des Anspruchs 8 gelöst.
- In verfahrensmäßiger Hinsicht wird die Aufgabe durch das Verfahren mit den Merkmalen des Anspruchs 12 gelöst.
- Bevorzugte Ausführungsbeispiele des erfindungsgemäßen Schalungselements und des erfindungsgemäßen Schalungsteils sind Gegenstand der abhängigen Ansprüche.
- Das Schalungselement der oben genannten Art beinhaltet erfindungsgemäß eine Mehrzahl von Schalungsteilen, die einen plattenförmigen Grundkörper, insbesondere aus Beton, aufweisen und an ihren angrenzenden horizontalen Stirnseiten miteinander verbunden sind.
- Das erfindungsgemäße Schalungsteil, welches insbesondere zum Bilden eines erfindungsgemäßen Schalungselements geeignet ist, weist einen plattenförmigen Grundkörper, insbesondere aus Beton, auf, wobei an mindestens einer horizontalen Stirnseite des Grundkörpers eine Verbindungseinrichtung zum Anschluss eines weiteren Schalungsteils angeordnet ist.
- Das Verfahren der oben genannten Art ist erfindungsgemäß dadurch weitergebildet, dass das Schalungselement aus einzelnen Schalungsteilen zusammengesetzt wird, welche nacheinander in den Schlitz eingebracht und an ihren horizontalen Stirnseiten miteinander verbunden werden.
- Als Kerngedanke der Erfindung kann angesehen werden, das Schalungselement nicht mehr, wie im Stand der Technik, einteilig sondern aus mehreren Schalungsteilen oder Schalungssegmenten zusammenzusetzen.
- Ein erster wesentlicher Vorteil besteht in diesem Zusammenhang darin, dass diese Schalungsteile viel kleiner sind, beispielsweise als Schalungselemente für sehr tiefe Schlitzwände. Hieraus ergeben sich erhebliche Vorteile im Hinblick auf die Handhabbarkeit und Verarbeitbarkeit der Schalungselemente und Schalungsteile.
- Die erfindungsgemäßen Schalungsteile weisen gemäß einem weiteren Kerngedanken der Erfindung an ihren horizontalen Stirnseiten geeignete Verbindungseinrichtungen auf, damit einzelne Schalungsteile miteinander verbunden werden können.
- Ein weiterer Vorteil der Erfindung kann darin gesehen werden, dass die Schalungsteile beim Zusammenbau und beim Bewegen und Transportieren vor dem Zusammenbau aufgrund ihrer kleineren Größe erheblich geringeren Belastungen ausgesetzt sind als ein einstückiges großes Schalungselement. Wenn die Schalungsteile aus Beton gefertigt sind, sind bereits deutlich kürzere Aushärtungszeiten ausreichend. Erste Tests haben ergeben, dass bei Schalungsteilen mit einer Länge von etwa 6 m der Beton bereits nach zwei Tagen hinreichend ausgehärtet ist.
- Ein Vorteil der Erfindung besteht schließlich darin, dass mit denselben Schalungsteilen Schlitzwände mit unterschiedlichen Tiefen abgeteilt werden können. Eine Anfertigung von Schalungselementen passend zur jeweils geforderten Schlitzwandtiefe ist deshalb nicht mehr erforderlich.
- Grundsätzlich können die Schalungsteile aus beliebigen Materialien gefertigt sein, die im Hinblick auf den dauernden Verbleib in der Schlitzwand geeignete Eigenschaften aufweisen. Beispielsweise können die Schalungsteile aus Stahl bestehen. Besonders bevorzugt ist aber, wenn die Grundkörper der Schalungsteile aus Beton gefertigt sind.
- Die Erfindung betrifft demgemäß ein Abschalelement zum Begrenzen eines Schlitzwandabschnitts, wobei die Abschalelemente aus einzelnen Abschnitten bestehen, die über Gewindestangen miteinander verbunden sein können. Die stirnseitigen Verbindungsflächen können dabei als Stahlplatten ausgebildet sein, um eine achsgenaue Verbindung der Einzelteile zu gewährleisten und den Einbau von Dichtelementen zu ermöglichen. Dabei kann auch ein senkrechtes Dichtungsband oder Fugendichtband an Stoßstellen der Abschalelementabschnitte überlappend ausgeführt werden und miteinander verbunden werden. Die Abschalelemente können nach kurzer Lagerzeit bei genügender Festigkeit des Betons senkrecht in den Schlitz eingestellt werden, wobei sie zunächst auf der Leitwand mit Hilfe einer durch eine Querbohrung gehenden Achse gehalten werden können, um eine Verbindung zum nächsten Schalungsteil herzustellen und um die Stoßstellen abzudichten.
- Mit der Erfindung wird ein Abschalelement bereitgestellt, das in der Schlitzwand verbleiben kann und dennoch eine sehr geringe Herstelldauer benötigt, bis der Beton die notwendige Festigkeit besitzt. Außerdem wird durch das erfindungsgemäße Abschalelement sichergestellt, dass bei geringer Schlitzwandbreite und großer Schlitztiefe sich das Abschalelement nicht, wie bei Stahlbohlen üblich, verwindet und damit eine ausreichende Dichtung nicht sichergestellt werden kann.
- Insgesamt wird durch das erfindungsgemäße Schalungselement eine bessere und exaktere Dichtung bei geringerer Schlitzbreite ermöglicht. Das Abschalelement verbleibt im Schlitz und muss nicht, wie bei Stahlbohlen üblich, nach jeder Verwendung gereinigt werden.
- Zweckmäßig sind im Bereich der Stirnseiten der Schalungsteile Verbindungseinrichtungen angeordnet, mit welchen die Schalungsteile fest miteinander verbindbar sind.
- Beispielsweise können diese Verbindungseinrichtungen jeweils Schraubverbindungen umfassen. Hierzu können in der Form des Betongrundkörpers geeignete Ausnehmungen gebildet sein. Durch die Verbindungseinrichtungen wird eine sichere mechanische Verbindung der Schalungsteile untereinander gewährleistet.
- Für zahlreiche Anwendungen, beispielsweise wenn Schlitzwände unterhalb des Grundwasserspiegels eingezogen werden müssen, ist es erforderlich, dass die Schlitzwand als Ganzes wasserdicht ist. Hierzu ist insbesondere dafür zu sorgen, dass der Übergangsbereich zwischen dem bereits ausgehärteten erfindungsgemäßen Schalungselement und dem erst danach aushärtenden Beton im angrenzenden Schlitzwandabschnitt abgedichtet wird.
- Hierzu kann entlang zumindest einer Längsseite der Schalungsteile, welche zum Begrenzen des Schlitzwandabschnitts gerichtet ist, ein Fugendichtband angeordnet sein.
- Um auch eine sichere Abdichtung des Bereichs, in dem die Fugendichtbänder von aneinander grenzenden Schalungsteilen aufeinander stoßen, zu gewährleisten, sind bevorzugt die Fugendichtbänder von angrenzenden und miteinander verbundenen Schalungsteilen mittels Verbindungsstücken dicht miteinander verbunden.
- Bei einer einfachen Variante können diese Verbindungsstücke als Metallklammern gebildet sein, wobei es sich insbesondere um Metallplatten handeln kann, die auf gegenüberliegenden Seiten der Fugendichtbänder angeordnet und miteinander geeignet verbunden, beispielsweise miteinander verschraubt sind.
- Schließlich muss, wenn die Schlitzwand insgesamt wasserdicht sein soll, auch der Bereich, in dem die horizontalen Stirnseiten von zwei aneinander angrenzenden Schalungsteilen aufeinander stoßen, abgedichtet werden. Hierzu können einerseits die Bereiche zwischen angrenzenden Schalungsteilen, insbesondere auch gegebenenfalls vorhandene Verbindungsstücke, mit Dichtmasse verfüllt sein. Diese kann beispielsweise kurz bevor zwei Schalungsteile aufeinander gesetzt und zusammengezogen werden, auf die entsprechenden Stirnflächen aufgebracht werden.
- Bei besonders bevorzugten Ausführungsvarianten ist aber an mindestens einer horizontalen Stirnseite des Schalungsteils eine Dichtung zur Abdichtung gegenüber einem sich anschließenden Schalungsteil vorhanden.
- Beispielsweise kann eine solche Dichtung aus einer Stahlplatte und einer darauf befestigten Gummiplatte gebildet sein. Die Stahlplatte kann dabei mit einer Stahlarmierung des Betongrundkörpers verschweißt sein.
- Bei einer weiteren besonders bevorzugten Variante ist bei dem erfindungsgemäßen Schalungsteil außerdem eine Halteeinrichtung, insbesondere ein horizontaler Durchbruch, vorhanden. Durch eine solche Halteeinrichtung wird die Handhabbarkeit, also das Befördern und Manipulieren, des erfindungsgemäßen Schalungsteils vereinfacht.
- Weitere Vorteile und Merkmale der Erfindung werden nachstehend mit Bezug auf die beigefügte schematische Figur beschrieben. Hierin zeigen:
- Fig. 1
- ein Ausführungsbeispiel eines erfindungsgemäßen Schalungselementes mit mehreren erfindungsgemäßen Schalungsteilen; und
- Fig. 2
- ein Detail eines Verbindungsbereichs von zwei aneinander grenzenden Schalungsteilen.
- Das in
Fig. 1 im Stadium des Zusammenbaus gezeigte Schalungselement 10 wird aus einer Mehrzahl von Schalungsteilen 20 zusammengesetzt, von welchen inFig. 1 eines vollständig und die nach oben und nach unten angrenzenden Schalungsteile teilweise dargestellt sind. Die Länge eines Schalungsteils 20 beträgt etwa 6 m. - Die Schalungsteile 20 umfassen jeweils einen Grundkörper 30 mit einer im Wesentlichen wand- oder plattenartigen Form. An horizontalen Stirnseiten 32 der Grundkörper 30 der Schalungsteile 20 sind erfindungsgemäß Verbindungseinrichtungen 50 vorhanden zum Anschluss des jeweils folgenden Schalungsteils 20. Im gezeigten Beispiel handelt es sich bei den Verbindungseinrichtungen 50 um Schraubverbindungen, die im Detail nicht dargestellt sind und die in Ausnehmungen 56 im Betongrundkörper 30 angeordnet sind. Durch Öffnungen 54 greifen die Schraubverbindungen zu den jeweils angrenzenden Schalungsteilen 20 durch. Die Ausnehmungen 56 werden an den Stirnseiten 32 der Schalungsteile 20 durch Metallplatten 58 begrenzt. Die Außenkontur dieser Metallplatten 58 entspricht dem Profil des Grundkörpers 30. Besonders bevorzugt sind die Metallplatten 58 bereits mit einer Stahlarmierung des jeweiligen Grundkörpers 30 verschweißt. Die Metallplatten 58 dienen insbesondere zum Befestigen von weiteren Dichteinrichtungen, beispielsweise Gummiplatten.
- Die beiden unteren Schalungsteile 20 in
Fig. 1 sind bereits fest miteinander verbunden, wohingegen das obere, nur teilweise dargestellte Schalungsteil 20 gerade auf das mittlere Schalungsteil 20 abgesetzt wird. - Zum Tragen der Schalungsteile 20 weisen diese einen horizontalen Durchbruch 62 auf, der als Halteeinrichtung 60 dienen kann.
- Beim mittleren Schalungsteil 20 ist in den Durchbruch 62 eine schematisch dargestellte Haltestange 64 eingeschoben, die zum Transportieren und zum Manipulieren des Schalungsteils 20 benutzt werden kann.
- Um ein sicheres Abdichten der Fugen zwischen dem bereits ausgehärteten Beton der Schalungsteile 20 und dem noch auszuhärtenden Beton des betreffenden Schlitzwandabschnitts zu gewährleisten, ist an den Schalungsteilen an den Längsseiten 34 ein Fugendichtband 40 vorhanden, welches in dem Grundkörper 30 vergossen ist.
- Um außerdem auch an den Stellen, an denen die Fugendichtbänder 40 von aneinander angrenzenden Schalungsteilen 20 aufeinander stoßen, eine Abdichtung sicherzustellen, sind diese Bereiche, wie in
Fig. 1 schematisch dargestellt, mit Verbindungsstücken 44 dicht miteinander verbunden. Im gezeigten Beispiel handelt es sich bei den Verbindungsstücken 44 um Metallklammern 46, die mit geeigneten Befestigungsmitteln, zum Beispiel Verschraubungen, miteinander verbunden sind. - Zum Abdichten der Bereiche zwischen den horizontalen Stirnseiten 32 von aneinander angrenzenden Schalungsteilen 20 können diese Bereiche, zum Beispiel vor dem Festziehen der Verbindungseinrichtungen 50, mit einer Dichtungsmasse verfüllt werden. Besonders bevorzugt sind aber die Schalungsteile 20 an den horizontalen Stirnseiten 32 mit Dichtungen versehen. Bei diesen, in
Fig. 1 nicht dargestellten Dichtungen, kann es sich insbesondere um eine Gummiplatte handeln, die auf den Metallplatten 58, befestigt, beispielsweise mit den Metallplatten 58 verschraubt, sind. - Grundsätzlich ist es aber ausreichend, wenn nur an einem Schalungsteil 20 an dessen horizontaler Stirnseite 32 eine Metallplatte 58 vorgesehen ist.
- In
Abbildung 2 ist ein Detail eines Verbindungsbereichs zwischen zwei aneinander angrenzenden Schalungsteilen 20 mit Grundkörpern 30 dargestellt. Die dort in weiteren Details gezeigten Verbindungseinrichtungen 50 weisen zunächst einen im Wesentlichen quaderförmigen Metallkasten 57 auf, welcher zum einen mit den jeweiligen Metallplatten 58 und außerdem mit einem innen liegenden Armierungskorb des Grundkörpers 30 verschweißt ist. In einer durch diesen Metallkasten 57 gebildeten Aufnahme 56 ist eine von außen zugängliche Gewindestange 90 mit Muttern 92 aufgenommen. Diese Gewindestange ist durch die inFig. 1 dargestellten Öffnungen 54 durchgesteckt. - Einander entsprechende Komponenten sind in
Fig. 1 undFig. 2 jeweils mit denselben Bezugszeichen versehen. - Mit der vorliegenden Erfindung werden ein neuartiges, aus einer Mehrzahl von Schalungsteilen aufgebautes Schalungselement sowie ein neuartiges Verfahren zum Herstellen einer Schlitzwand im Boden bereitgestellt, die erhebliche Vereinfachungen für das Erstellen von einzelnen Schlitzwandabschnitten ermöglichen.
Claims (12)
- Schalungselement zum Begrenzen eines Schlitzwandabschnitts einer Schlitzwand,
gekennzeichnet durch,
eine Mehrzahl von Schalungsteilen (20), die einen plattenförmigen Grundkörper (30), insbesondere aus Beton, aufweisen und an ihren angrenzenden horizontalen Stirnseiten (32) miteinander verbunden sind. - Schalungselement nach Anspruch 1,
dadurch gekennzeichnet,
dass im Bereich der Stirnseiten (32) der Schalungsteile (20) Verbindungseinrichtungen (50) angeordnet sind, mit welchen die Schalungsteile (20) fest miteinander verbindbar sind. - Schalungselement nach Anspruch 2,
dadurch gekennzeichnet,
dass die Verbindungseinrichtungen (50) Schraubverbindungen umfassen. - Schalungselement nach einem der Ansprüche 1 bis 3,
dadurch gekennzeichnet,
dass entlang zumindest einer Längsseite (34) der Schalungsteile (20), welche zum begrenzenden Schlitzwandabschnitt gerichtet ist, ein Fugendichtband (40) angeordnet ist. - Schalungselement nach einem der Ansprüche 1 bis 4,
dadurch gekennzeichnet,
dass die Fugendichtbänder (40) von angrenzenden und miteinander verbundenen Schalungsteilen (20) mittels Verbindungsstücken (44) dicht miteinander verbunden sind. - Schalungselement nach Anspruch 5,
dadurch gekennzeichnet,
dass die Verbindungsstücke (44) als Metallklammern (46) ausgebildet sind. - Schalungselement nach einem der Ansprüche 1 bis 6,
dadurch gekennzeichnet,
dass Bereiche zwischen angrenzenden Schalungsteilen (20) mit Dichtungsmasse verfüllt sind. - Schalungsteil, insbesondere zum Bilden eines Schalungselements nach einem der Ansprüche 1 bis 7,
gekennzeichnet durch,
einen plattenförmigen Grundkörper (30), insbesondere aus Beton, und dadurch dass an mindestens einer horizontalen Stirnseite (32) des Grundkörpers (30) eine Verbindungseinrichtung (50) zum Anschluss eines weiteren Schalungsteils (20) angeordnet ist. - Schalungsteil nach Anspruch 8,
dadurch gekennzeichnet,
dass eine Halteeinrichtung (60), insbesondere ein horizontaler Durchbruch (62), vorhanden ist. - Schalungsteil nach einem der Ansprüche 8 oder 9,
dadurch gekennzeichnet,
dass an mindestens einer horizontalen Stirnseite (32) eine Dichtung zum Abdichten gegenüber einem sich anschließenden Schalungsteil (20) vorhanden ist. - Schalungsteil nach Anspruch 10,
dadurch gekennzeichnet,
dass die Dichtung aus einer Stahlplatte (58) und einer darauf befestigten Gummiplatte gebildet ist. - Verfahren zum Herstellen einer Schlitzwand im Boden, bei dem mit einem Schlitzwandgerät, insbesondere einer Schlitzwandfräse, nebeneinander liegende Schlitzwandabschnitte im Boden gebildet werden, wobei zumindest ein Schlitzwandabschnitt durch ein eingebrachtes Schalungselement (10) begrenzt wird
dadurch gekennzeichnet,
dass das Schalungselement (10) aus einzelnen Schalungsteilen (20) zusammengesetzt wird, welche nacheinander in den Schlitz eingebracht und an ihren horizontalen Stirnseiten (32) miteinander verbunden werden.
Priority Applications (8)
| Application Number | Priority Date | Filing Date | Title |
|---|---|---|---|
| EP07008140A EP1983111A1 (de) | 2007-04-20 | 2007-04-20 | Schalungselement zum Begrenzen eines Schlitzwandabschnitts, Schalungsteil und Verfahren zum Herstellen einer Schlitzwand im Boden |
| US12/078,718 US8348555B2 (en) | 2007-04-20 | 2008-04-03 | Formwork element for bounding a trench wall section, formwork part and method for producing a trench wall in the ground |
| JP2008106957A JP4746645B2 (ja) | 2007-04-20 | 2008-04-16 | トレンチ壁区画を制限するための型枠要素、型枠部品および地中にトレンチ壁を造成する方法 |
| UAA200804984A UA89113C2 (ru) | 2007-04-20 | 2008-04-17 | Опалубочный элемент для ограничения участка траншейной стенки, опалубочная деталь и способ изготовления траншейной стенки в грунте |
| RU2008114618/03A RU2382143C2 (ru) | 2007-04-20 | 2008-04-17 | Блок опалубки для ограничения участка стены в грунте, элемент блока опалубки и способ возведения стены в грунте |
| SG200802980-3A SG147392A1 (en) | 2007-04-20 | 2008-04-18 | Shuttering element for limiting a trench wall section, shuttering part and method for producing a trench wall in the ground |
| CN2008100933338A CN101289854B (zh) | 2007-04-20 | 2008-04-18 | 限制沟壁段的模板元件、模板零件和地面中产生沟壁方法 |
| KR1020080036528A KR101054277B1 (ko) | 2007-04-20 | 2008-04-21 | 트렌치벽의 섹션을 한정하기 위한 거푸집요소, 거푸집부품및 지반에 트렌치벽을 만드는 방법 |
Applications Claiming Priority (1)
| Application Number | Priority Date | Filing Date | Title |
|---|---|---|---|
| EP07008140A EP1983111A1 (de) | 2007-04-20 | 2007-04-20 | Schalungselement zum Begrenzen eines Schlitzwandabschnitts, Schalungsteil und Verfahren zum Herstellen einer Schlitzwand im Boden |
Publications (1)
| Publication Number | Publication Date |
|---|---|
| EP1983111A1 true EP1983111A1 (de) | 2008-10-22 |
Family
ID=38519787
Family Applications (1)
| Application Number | Title | Priority Date | Filing Date |
|---|---|---|---|
| EP07008140A Withdrawn EP1983111A1 (de) | 2007-04-20 | 2007-04-20 | Schalungselement zum Begrenzen eines Schlitzwandabschnitts, Schalungsteil und Verfahren zum Herstellen einer Schlitzwand im Boden |
Country Status (8)
| Country | Link |
|---|---|
| US (1) | US8348555B2 (de) |
| EP (1) | EP1983111A1 (de) |
| JP (1) | JP4746645B2 (de) |
| KR (1) | KR101054277B1 (de) |
| CN (1) | CN101289854B (de) |
| RU (1) | RU2382143C2 (de) |
| SG (1) | SG147392A1 (de) |
| UA (1) | UA89113C2 (de) |
Cited By (5)
| Publication number | Priority date | Publication date | Assignee | Title |
|---|---|---|---|---|
| EP2647765A1 (de) | 2012-04-03 | 2013-10-09 | Bauer Spezialtiefbau GmbH | Schalungselement für eine Schlitzwand und Verfahren zum Herstellen der Schlitzwand |
| DE102013205765A1 (de) | 2013-04-02 | 2014-10-02 | Gud Geotechnik Und Dynamik Consult Gmbh | Qualitätssicherungssystem für Schlitzwandfugen |
| US9371623B2 (en) | 2011-07-14 | 2016-06-21 | Ccmj Systems Ltd | Diaphragm wall apparatus and methods |
| US10988911B2 (en) | 2017-04-26 | 2021-04-27 | Ccmj Systems Ltd | Diaphragm walls |
| US11225769B2 (en) | 2018-02-15 | 2022-01-18 | Ccmj Systems Ltd | Shear key former apparatus and method(s) |
Families Citing this family (6)
| Publication number | Priority date | Publication date | Assignee | Title |
|---|---|---|---|---|
| IT1396433B1 (it) * | 2009-11-16 | 2012-11-23 | Rolic Invest Sarl | Impianto eolico per la generazione di energia elettrica e metodo per realizzare un pilone del suddetto impianto eolico. |
| US9554190B2 (en) | 2012-12-20 | 2017-01-24 | Location Labs, Inc. | System and method for controlling communication device use |
| US9302807B1 (en) * | 2014-01-10 | 2016-04-05 | Sarkis Semaan | Water storage fence assembly |
| RU2681148C1 (ru) * | 2018-05-21 | 2019-03-04 | Ярослав Иванович Котык | Опалубка для изготовления бетонных блоков подпорных стенок |
| CN111549762B (zh) * | 2020-04-24 | 2021-07-20 | 中国建筑股份有限公司 | 一种适用于软土地区的连续墙防坍塌浇筑模板的施工方法 |
| KR102207399B1 (ko) * | 2020-07-24 | 2021-01-26 | 엘티삼보 주식회사 | 지중연속벽 형성을 위한 워터스탑 시공시 이용되는 지수블록 구조체 및 이를 연결하는 방법 |
Citations (6)
| Publication number | Priority date | Publication date | Assignee | Title |
|---|---|---|---|---|
| DE1913764B1 (de) | 1969-03-19 | 1970-07-30 | Dyckerhoff & Widmann Ag | Betonfertigteil zum Begrenzen der Betonierabschnitte von Schlitzwaenden |
| DE1925025A1 (de) * | 1969-05-16 | 1970-11-26 | Holzmann Philipp Ag | Vorgefertigtes Bauglied zur Begrenzung von Schlitzwandabschnitten |
| DE9001679U1 (de) | 1990-02-13 | 1991-06-13 | Bauer Spezialtiefbau GmbH, 8898 Schrobenhausen | Vorrichtung zum Lösen von Abschalelementen |
| EP0440584A1 (de) * | 1990-01-30 | 1991-08-07 | Bss Infrag S.A. | Verschlagung für eine gegossene Schlitzwand aus bewehrtem Beton und Verfahren für die Verschalung einer solchen Wand |
| EP0531600A1 (de) * | 1991-09-13 | 1993-03-17 | FIETZ & LEUTHOLD AG | Verfahren zur Herstellung von Schlitzwänden und Abschalungselement zur Durchführung des Verfahrens |
| DE9311946U1 (de) * | 1993-08-11 | 1993-10-21 | Bilfinger + Berger Bauaktiengesellschaft, 68165 Mannheim | Abstellvorrichtung für Dichtungsbahnen, insbesondere Kunststoffdichtungsbahnen, in suspensionsgestützten Dichtwänden |
Family Cites Families (35)
| Publication number | Priority date | Publication date | Assignee | Title |
|---|---|---|---|---|
| USRE25102E (en) * | 1961-12-26 | Means and method for molding concrete sections | ||
| US2423695A (en) * | 1944-04-26 | 1947-07-08 | Dextone Company | Building structure |
| US2751776A (en) * | 1950-07-21 | 1956-06-26 | Whitacre Greer Fireproofing Co | Stressed block building slab |
| US2961731A (en) * | 1953-02-20 | 1960-11-29 | Dow A Buzzell | Means and method for molding concrete sections of hydraulic concrete structures |
| US2971295A (en) * | 1955-03-21 | 1961-02-14 | Phillips Petroleum Co | Prestressed concrete units and structures |
| US3350828A (en) * | 1965-04-12 | 1967-11-07 | Lockheed Aircraft Corp | Abutting wall panels and sealing structure therefor |
| US3432978A (en) * | 1967-05-18 | 1969-03-18 | Donald O Erickson | Concrete wall and wall panel construction |
| US3750410A (en) * | 1970-02-17 | 1973-08-07 | H Converse | Simple shoring to form ditches-canals-pillars and posts |
| US4068482A (en) * | 1976-08-02 | 1978-01-17 | Hilfiker Pipe Company | Retaining wall structure using precast stretcher sections |
| US4357784A (en) * | 1977-08-29 | 1982-11-09 | Grady Ii Clyde C | Structural units and arrays therefrom |
| US4285180A (en) * | 1979-03-27 | 1981-08-25 | Schlegel (Uk) Ltd. | Waterstops |
| JPS55145213A (en) * | 1979-04-26 | 1980-11-12 | Yasuyoshi Gomi | Retaining wall member for sheathing |
| DE7920284U1 (de) * | 1979-07-16 | 1979-10-18 | Krings, Josef, 5138 Heinsberg | Verbauplatte fuer eine kanalverbauvorrichtung |
| DE2948458C2 (de) * | 1979-12-01 | 1982-01-21 | Josef 5138 Heinsberg Krings | Verbauplatte für eine Grabenverbauvorrichtung |
| JPS59233016A (ja) * | 1983-06-17 | 1984-12-27 | Taisei Corp | 連続地中壁の構築工法 |
| US4616959A (en) * | 1985-03-25 | 1986-10-14 | Hilfiker Pipe Co. | Seawall using earth reinforcing mats |
| JPH0245366Y2 (de) * | 1985-03-28 | 1990-11-30 | ||
| JPH02256733A (ja) * | 1989-03-29 | 1990-10-17 | Takenaka Komuten Co Ltd | 表面仕上げ済みコンクリート体の作製方法とそれに用いる表面仕上材 |
| JP2588990B2 (ja) * | 1990-06-23 | 1997-03-12 | 努 本間 | コンクリート製型枠 |
| JP2507776Y2 (ja) * | 1990-06-29 | 1996-08-21 | 株式会社竹中工務店 | コンクリ―ト打継ぎ型枠の止水板 |
| JPH05187022A (ja) * | 1991-03-11 | 1993-07-27 | Kyodo Kumiai Kagoshima Kensetsu Gijutsu Kenkyusho | 永久型枠用堰板 |
| US5516238A (en) * | 1994-11-28 | 1996-05-14 | Beury; Fred E. | System of reinforcement panels and braces |
| JPH1144025A (ja) * | 1997-07-29 | 1999-02-16 | Nakajima Komuten:Kk | コンクリート型枠パネル及びコンクリート型枠並びにコンクリート型枠の構築方法 |
| CA2306688C (en) * | 1997-10-16 | 2003-12-02 | Durisol Inc. | Anchored retaining wall system |
| RU2119992C1 (ru) * | 1997-12-17 | 1998-10-10 | Открытое акционерное общество "Горметрострой" | Сборная железобетонная стена в грунте и способ ее возведения |
| US6173937B1 (en) * | 1999-01-15 | 2001-01-16 | Feather Lite Innovations, Inc. | Cap clip and spreader for poured concrete wall forms |
| US6213688B1 (en) * | 1999-05-27 | 2001-04-10 | Arie Donkersloot, Sr. | Earth retaining wall |
| US6240693B1 (en) * | 1999-05-28 | 2001-06-05 | Gary L. Komasara | Interlocking and insulating form pattern assembly for creating a wall structure for receiving poured concrete and method for producing a form pattern assembly |
| KR100676507B1 (ko) * | 1999-12-23 | 2007-02-02 | 재단법인 포항산업과학연구원 | 연결식 거푸집 |
| CN1177108C (zh) * | 2000-01-14 | 2004-11-24 | 许琦 | 搅拌沉叠双层墙的地下连续墙施工法 |
| CN1128267C (zh) * | 2000-09-11 | 2003-11-19 | 卓氏企业股份有限公司 | 连续壁防水可验证施工方法及其验证装置 |
| US7062885B1 (en) * | 2002-02-26 | 2006-06-20 | Dickenson Jr George H | Foundation wall, construction kit and method |
| US6981686B2 (en) * | 2002-06-20 | 2006-01-03 | Hugh G. McGuinness | Modular support/enclosure wall assembly and kit |
| RU2292422C1 (ru) * | 2006-01-30 | 2007-01-27 | Натан Рафаилович Гадаев | Конструкционный блок для сборно-монолитной "стены в грунте" и сборно-монолитная "стена в грунте" |
| US7661908B1 (en) * | 2008-08-08 | 2010-02-16 | Kundel Sr Robert | Trench shield with adjustable vertical panels |
-
2007
- 2007-04-20 EP EP07008140A patent/EP1983111A1/de not_active Withdrawn
-
2008
- 2008-04-03 US US12/078,718 patent/US8348555B2/en not_active Expired - Fee Related
- 2008-04-16 JP JP2008106957A patent/JP4746645B2/ja not_active Expired - Fee Related
- 2008-04-17 RU RU2008114618/03A patent/RU2382143C2/ru not_active IP Right Cessation
- 2008-04-17 UA UAA200804984A patent/UA89113C2/ru unknown
- 2008-04-18 CN CN2008100933338A patent/CN101289854B/zh not_active Expired - Fee Related
- 2008-04-18 SG SG200802980-3A patent/SG147392A1/en unknown
- 2008-04-21 KR KR1020080036528A patent/KR101054277B1/ko not_active Expired - Fee Related
Patent Citations (6)
| Publication number | Priority date | Publication date | Assignee | Title |
|---|---|---|---|---|
| DE1913764B1 (de) | 1969-03-19 | 1970-07-30 | Dyckerhoff & Widmann Ag | Betonfertigteil zum Begrenzen der Betonierabschnitte von Schlitzwaenden |
| DE1925025A1 (de) * | 1969-05-16 | 1970-11-26 | Holzmann Philipp Ag | Vorgefertigtes Bauglied zur Begrenzung von Schlitzwandabschnitten |
| EP0440584A1 (de) * | 1990-01-30 | 1991-08-07 | Bss Infrag S.A. | Verschlagung für eine gegossene Schlitzwand aus bewehrtem Beton und Verfahren für die Verschalung einer solchen Wand |
| DE9001679U1 (de) | 1990-02-13 | 1991-06-13 | Bauer Spezialtiefbau GmbH, 8898 Schrobenhausen | Vorrichtung zum Lösen von Abschalelementen |
| EP0531600A1 (de) * | 1991-09-13 | 1993-03-17 | FIETZ & LEUTHOLD AG | Verfahren zur Herstellung von Schlitzwänden und Abschalungselement zur Durchführung des Verfahrens |
| DE9311946U1 (de) * | 1993-08-11 | 1993-10-21 | Bilfinger + Berger Bauaktiengesellschaft, 68165 Mannheim | Abstellvorrichtung für Dichtungsbahnen, insbesondere Kunststoffdichtungsbahnen, in suspensionsgestützten Dichtwänden |
Cited By (6)
| Publication number | Priority date | Publication date | Assignee | Title |
|---|---|---|---|---|
| US9371623B2 (en) | 2011-07-14 | 2016-06-21 | Ccmj Systems Ltd | Diaphragm wall apparatus and methods |
| EP2647765A1 (de) | 2012-04-03 | 2013-10-09 | Bauer Spezialtiefbau GmbH | Schalungselement für eine Schlitzwand und Verfahren zum Herstellen der Schlitzwand |
| US8820015B2 (en) | 2012-04-03 | 2014-09-02 | Bauer Spezialtiefbau Gmbh | Shuttering element for a trench wall and method for producing the trench wall |
| DE102013205765A1 (de) | 2013-04-02 | 2014-10-02 | Gud Geotechnik Und Dynamik Consult Gmbh | Qualitätssicherungssystem für Schlitzwandfugen |
| US10988911B2 (en) | 2017-04-26 | 2021-04-27 | Ccmj Systems Ltd | Diaphragm walls |
| US11225769B2 (en) | 2018-02-15 | 2022-01-18 | Ccmj Systems Ltd | Shear key former apparatus and method(s) |
Also Published As
| Publication number | Publication date |
|---|---|
| SG147392A1 (en) | 2008-11-28 |
| UA89113C2 (ru) | 2009-12-25 |
| CN101289854A (zh) | 2008-10-22 |
| RU2008114618A (ru) | 2009-10-27 |
| US8348555B2 (en) | 2013-01-08 |
| US20080265126A1 (en) | 2008-10-30 |
| KR101054277B1 (ko) | 2011-08-08 |
| JP2008267132A (ja) | 2008-11-06 |
| RU2382143C2 (ru) | 2010-02-20 |
| KR20080094628A (ko) | 2008-10-23 |
| JP4746645B2 (ja) | 2011-08-10 |
| CN101289854B (zh) | 2012-10-10 |
Similar Documents
| Publication | Publication Date | Title |
|---|---|---|
| EP1983111A1 (de) | Schalungselement zum Begrenzen eines Schlitzwandabschnitts, Schalungsteil und Verfahren zum Herstellen einer Schlitzwand im Boden | |
| EP3519641B1 (de) | Verbindungsvorrichtung zur verbindung von dünnwandigen fertigteilen und damit ausgestattete fertigteile | |
| DE102012220058A1 (de) | Verfahren zum Verbinden von Betonfertigteilelementen | |
| EP1788157A2 (de) | Schlitzwand sowie Verfahren zu deren Herstellung | |
| DE3404074C2 (de) | ||
| AT414247B (de) | Bauwerk | |
| EP3299524B1 (de) | Fertigteilmauer und verfahren zur herstellung derselben | |
| EP3696320B1 (de) | Brückenwiderlager mit verbindung zwischen widerlagerwandbewehrung und flügelwandelement | |
| DE202017107261U1 (de) | Betonfertigteil mit mindestens einem eine Last aufnehmenden Bauteil | |
| EP3529020B1 (de) | Vorrichtung und verfahren zur einstückigen herstellung eines drei seitenelemente sowie ein bodenelement und/oder ein deckenelement aufweisenden raummoduls. | |
| DE20219324U1 (de) | Gebäudegeschoss | |
| CH713190A2 (de) | Vorrichtung und Verfahren zur Verbindung von zwei Bauteilen in einer bestimmten relativen Ausrichtung sowie damit erstelltes Betonbauwerk. | |
| DE102020202011A1 (de) | Fugenelement sowie Verfahren | |
| DE102006002277B4 (de) | Befestigungsklammer | |
| DE102015210374A1 (de) | Fugeneinrichtung für Schlitzwandfugen sowie Verfahren | |
| AT528551B1 (de) | Schalungselement, Schalungssystem und Verfahren zur Verschalung | |
| DE102010029040A1 (de) | Montageschiene | |
| AT507153B1 (de) | Eckelement zur verbindung von holzbalken für schalungen der erforderlichen aussparungen in betonwänden | |
| DE202008016759U1 (de) | Schalungselement | |
| DE202018105138U1 (de) | Seilverbindung | |
| EP3733975B1 (de) | Armierungskorb und verfahren zum herstellen einer schlitzwand | |
| DE10243253B4 (de) | Tübbing und Verfahren zu dessen Herstellung | |
| DE2949963C2 (de) | Verfahren zum Ausbessern und Verstärken von Streckenausbau und dafür geeignete Verzugmatte | |
| DE202016105371U1 (de) | Fertigteilmauer | |
| EP1942297A2 (de) | Bauwerk mit einer Mehrzahl von Betonfertigbauteilen |
Legal Events
| Date | Code | Title | Description |
|---|---|---|---|
| PUAI | Public reference made under article 153(3) epc to a published international application that has entered the european phase |
Free format text: ORIGINAL CODE: 0009012 |
|
| 17P | Request for examination filed |
Effective date: 20071220 |
|
| AK | Designated contracting states |
Kind code of ref document: A1 Designated state(s): AT BE BG CH CY CZ DE DK EE ES FI FR GB GR HU IE IS IT LI LT LU LV MC MT NL PL PT RO SE SI SK TR |
|
| AX | Request for extension of the european patent |
Extension state: AL BA HR MK RS |
|
| AKX | Designation fees paid |
Designated state(s): AT BE BG CH CY CZ DE DK EE ES FI FR GB GR HU IE IS IT LI LT LU LV MC MT NL PL PT RO SE SI SK TR |
|
| STAA | Information on the status of an ep patent application or granted ep patent |
Free format text: STATUS: THE APPLICATION IS DEEMED TO BE WITHDRAWN |
|
| 18D | Application deemed to be withdrawn |
Effective date: 20121101 |