EP1962011A1 - Gerät mit ansteuerbarer Schutzeinrichtung - Google Patents

Gerät mit ansteuerbarer Schutzeinrichtung Download PDF

Info

Publication number
EP1962011A1
EP1962011A1 EP08002417A EP08002417A EP1962011A1 EP 1962011 A1 EP1962011 A1 EP 1962011A1 EP 08002417 A EP08002417 A EP 08002417A EP 08002417 A EP08002417 A EP 08002417A EP 1962011 A1 EP1962011 A1 EP 1962011A1
Authority
EP
European Patent Office
Prior art keywords
control
storage capacitor
controller
control element
switching element
Prior art date
Legal status (The legal status is an assumption and is not a legal conclusion. Google has not performed a legal analysis and makes no representation as to the accuracy of the status listed.)
Granted
Application number
EP08002417A
Other languages
English (en)
French (fr)
Other versions
EP1962011B1 (de
Inventor
Helmut Simon
Current Assignee (The listed assignees may be inaccurate. Google has not performed a legal analysis and makes no representation or warranty as to the accuracy of the list.)
Diehl AKO Stiftung and Co KG
Original Assignee
Diehl AKO Stiftung and Co KG
Priority date (The priority date is an assumption and is not a legal conclusion. Google has not performed a legal analysis and makes no representation as to the accuracy of the date listed.)
Filing date
Publication date
Priority claimed from DE102007037767A external-priority patent/DE102007037767A1/de
Application filed by Diehl AKO Stiftung and Co KG filed Critical Diehl AKO Stiftung and Co KG
Publication of EP1962011A1 publication Critical patent/EP1962011A1/de
Application granted granted Critical
Publication of EP1962011B1 publication Critical patent/EP1962011B1/de
Not-in-force legal-status Critical Current
Anticipated expiration legal-status Critical

Links

Images

Classifications

    • DTEXTILES; PAPER
    • D06TREATMENT OF TEXTILES OR THE LIKE; LAUNDERING; FLEXIBLE MATERIALS NOT OTHERWISE PROVIDED FOR
    • D06FLAUNDERING, DRYING, IRONING, PRESSING OR FOLDING TEXTILE ARTICLES
    • D06F34/00Details of control systems for washing machines, washer-dryers or laundry dryers
    • D06F34/10Power supply arrangements, e.g. stand-by circuits
    • DTEXTILES; PAPER
    • D06TREATMENT OF TEXTILES OR THE LIKE; LAUNDERING; FLEXIBLE MATERIALS NOT OTHERWISE PROVIDED FOR
    • D06FLAUNDERING, DRYING, IRONING, PRESSING OR FOLDING TEXTILE ARTICLES
    • D06F39/00Details of washing machines not specific to a single type of machines covered by groups D06F9/00 - D06F27/00 
    • D06F39/12Casings; Tubs
    • D06F39/14Doors or covers; Securing means therefor
    • DTEXTILES; PAPER
    • D06TREATMENT OF TEXTILES OR THE LIKE; LAUNDERING; FLEXIBLE MATERIALS NOT OTHERWISE PROVIDED FOR
    • D06FLAUNDERING, DRYING, IRONING, PRESSING OR FOLDING TEXTILE ARTICLES
    • D06F37/00Details specific to washing machines covered by groups D06F21/00 - D06F25/00
    • D06F37/42Safety arrangements, e.g. for stopping rotation of the receptacle upon opening of the casing door
    • DTEXTILES; PAPER
    • D06TREATMENT OF TEXTILES OR THE LIKE; LAUNDERING; FLEXIBLE MATERIALS NOT OTHERWISE PROVIDED FOR
    • D06FLAUNDERING, DRYING, IRONING, PRESSING OR FOLDING TEXTILE ARTICLES
    • D06F2103/00Parameters monitored or detected for the control of domestic laundry washing machines, washer-dryers or laundry dryers
    • D06F2103/40Opening or locking status of doors

Definitions

  • the present invention relates to a device with a controllable protective device according to the preamble of claim 1.
  • a device with a hazardous device may be a laundry treatment device.
  • a laundry treatment device When operating laundry treatment appliances, especially washing machines, it must be ensured that the door can only be opened to load the appliance if this is possible without harm to the user.
  • a door opening must be prevented when (hot) water is in the drum or when the drum is rotating at more than about 60 rpm.
  • a classic element used to lock the machine door is formed of a bimetal that is heated via a PTC pill, drives a locking cam, and simultaneously closes a contact when the lock is successful. About this contact, ie only with the secure locking of the door, the power elements of the machine is supplied with energy.
  • a door locking element is for example in the GB-A-2,128,283 clearly described. If this door locking element is switched off, it releases the door by the thermal time constant of the bimetal and the PTC pill only after a certain delay time.
  • a laundry treatment device in which the door locking element and the drive motor via a common switch (eg a triac) are controlled.
  • a common switch eg a triac
  • the door locks when closing either mechanically or is actively locked by a drive pulse.
  • the lock can be deactivated with a magnet of the door locking element without self-delay by driving with short pulses or actively opened to unlock the loading door of the washing machine.
  • Such door locks are mostly controlled solely by switches from the electronics, because this results in a greater freedom in the program design of the laundry treatment. In the event of a short circuit of the control switch, however, the door would be permanently unlocked.
  • it is e.g. State of the art to use two independent drive circuits in series. However, this is expensive in terms of the space consumption of the drive circuit and not cost.
  • Remedy can be achieved, for example, with only simple control to make the door lock so that at least two pulses for unlocking are necessary.
  • a door lock element which operates with a gear and a pawl is in the DE 199 61 083 A1 disclosed.
  • Critical is also in this solution, a state in which the controlling microcomputer generates the two control pulses required for opening due to a malfunction. Another cause for the generation of two control pulses may be due to electromagnetic interference.
  • a solution to the latter problem is to combine the tacho signal, which emits the rotating motor, with the drive circuit of the door locking element. This is done in such a way that the control pulses for opening the lock with rotating drum are prevented by hardware.
  • This conventional driving circuit of a laundry treating machine controls an engine controller 10 of a washing machine drum as an example of an electric one controllable, hazardous device.
  • the supply voltage V1 of the motor controller 10 can be switched on and off by means of a relay 12 as a first control by a microcontroller 14. When the supply voltage V1 is switched off, the dangerous state is no longer present immediately or after a certain time.
  • the relay 12 is usually driven by a transistor or the like switching element 16.
  • a door locking element e.g., the magnetic closure of the washing machine door
  • a second control element 20 which is formed for example as a triac, which receives trigger pulses via a transistor.
  • Both controls 12, 20 of the motor controller 10 and the door lock member 18 have an independent supply voltage. For this reason, the user of the washing machine may be at risk if the door locking element 18 is disabled by a fault in the second control element 20, a software error of the microcontroller 14, an electromagnetic interference or by some other event.
  • the present invention has for its object to further develop a device with a hazardous device such that the reliability of the protective device is further increased.
  • the device with a hazardous device includes a first control, which is controlled by a first control, which in turn is controlled by a controller via a first switching element, and an electrically controllable protective device, which is controlled via a second control element, wherein the electrically controllable protective device can be deactivated.
  • a first control which is controlled by a first control, which in turn is controlled by a controller via a first switching element
  • an electrically controllable protective device which is controlled via a second control element, wherein the electrically controllable protective device can be deactivated.
  • Next is between the a first and the second control a storage capacitor provided, which supplies the second control element with energy for a control pulse and is loaded when the first control is switched off via the first control element and discharged when the first control via the first switching element.
  • the drive circuit shown have the first and the second control element for the first controller or the electrically controllable protective device no independent power supplies, but the energy required to deactivate the electrically controllable protective device is supplied from a storage capacitor which is connected between the first and the second control element. Since this storage capacitor is charged when the first control is switched off via the first switching element and discharged when the first control is switched on via the first control, energy is available for deactivating the electrically controllable protective device in the storage capacitor only when the first control is switched off and thus no longer dangerous for the user. In contrast, when the first controller is in operation, the electrically controllable protective device can not be deactivated because the storage capacitor is discharged.
  • Each interruption of a connecting line or a component leads to either the first controller can no longer be supplied with energy or the electrically controllable protective device can not be deactivated.
  • the device according to the invention with a hazardous device thus has an intrinsically safe control circuit for the first controller and the electrically controllable protective device.
  • a charging resistor is connected between the storage capacitor and the first switching element, so that the storage capacitor is charged with a certain time delay. This time delay through the charging resistor is preferably dimensioned such that the hazardous condition is safely ended by the first controller.
  • a series connection of a discharge resistor and a diode is connected between the storage capacitor and the first control element, so that the storage capacitor can be discharged quickly via the discharge resistor when the first control is switched on.
  • the second control element is a triac which is triggered by the controller with the energy of the storage capacitor via a second switching element.
  • the second control element is a relay which is energized by the controller with the energy of the storage capacitor via a second switching element.
  • the first control element and the first switching element are integrated in a separate module.
  • the device is a laundry treatment device, in particular a washing machine.
  • the hazardous device is a drivable laundry drum.
  • the first controller is a motor controller.
  • the electrically controllable protective device is a door locking element.
  • the electrically controllable protective device can be deactivated via at least two control pulses. This ensures that the electrically controllable protective device can not be deactivated because at least two control pulses are required for deactivation, but the storage capacitor can only provide energy for such a control pulse if it is not recharged.
  • the power supply voltage V1 for the motor control (e.g., frequency converter) 10 of the washing machine is supplied through a first control element 12 in the form of a relay.
  • the driving of the first control element 12 is in turn effected by a controller (e.g., microcontroller) 14 via a first switching element 16 in the form of a transistor, driver, or the like. If the supply of the motor controller 10 with the supply voltage V1 is interrupted by the first control element 12, a dangerous state for the user is no longer present by the motor control 10 after a certain time T, for example, the speed of the laundry drum has dropped below a predetermined limit.
  • a door locking element 18 is also provided, which preferably automatically locks the door for loading the laundry drum and only allows a control of the motor control 10 when the door is securely locked.
  • This door lock element 18 is actuated by the controller 14 via a second control element 20, i. disabled if necessary to unlock the door to allow the door to open. In this case, at least two control pulses of the second control element 20 are required to deactivate the door locking element 18.
  • This second control element 20 for generating the control pulses for deactivating the door locking element 18 via a storage capacitor 22 which is provided between the first and the second control element 12, 20.
  • the storage capacitor 22 is connected via a charging resistor 24 to the first control element 12.
  • the storage capacitor 22 is charged via the charging resistor 24 with the supply voltage V0 of the first control element 12.
  • the time T1 required for charging the storage capacitor 22 is preferably longer than the above time T until the safe state is reached after the motor control 10 has been switched off.
  • the thus charged storage capacitor 22 provides the means for generating the control pulses by the second control element 20, i. for disabling the door lock member 18 required energy available.
  • the energy of the charged storage capacitor 22 is enough to generate a control pulse.
  • the second control element 20 is, for example, a triac which is connected via a second switching element (eg transistor) 30 (see FIG Fig. 3 ) is triggered by the controller 14 with the energy of the storage capacitor 22.
  • the second control element 20 is a relay which is energized via a second switching element 30 by the controller 14 with the energy of the storage capacitor 22.
  • the motor controller 10 If the motor controller 10 is supplied with energy by the first control element 12, the first switching element 16 is turned on. In this state, the storage capacitor 22 discharges via the charging resistor 24 in a certain time. After a short period of time, the door lock element 18 can no longer be deactivated because the storage capacitor 22 does not provide enough energy to generate a control pulse by the second control element 20.
  • any interruption of a connection line or a component causes either the motor controller 10 can no longer be supplied with energy or that the door locking element 18 can not be deactivated because there is no energy available for this purpose.
  • a faulty control of the door locking element 18 by the controller or EMC interference the wrong deactivation of the Door lock element 18 cause can be avoided. This is also possible if no tacho pulses of the motor are available for evaluation.
  • Fig. 1 illustrated circuit arrangement thus represents an intrinsically safe control circuit, since in each case a hazardous state for a user is prevented.
  • FIG. 2 and 3 A second embodiment of a driving circuit of a washing machine will now be referred to Fig. 2 and 3 explained in more detail.
  • the same or similar components are assigned the same reference numerals and a repeated description thereof is omitted.
  • the second embodiment differs from the above first drive circuit in that a series circuit of a discharge resistor 26 and a diode 28 is connected in parallel to the charging resistor 24. This circuit design allows different times for the charging and discharging of the storage capacitor.
  • the storage capacitor 22 When connecting the supply voltage V1 to the motor controller 10 through the first switching element 12, the storage capacitor 22 is discharged in this case via the discharge resistor 26 and the diode 28 with a time constant T2, which is shorter than the time constant T1 for the charging of the storage capacitor 22 via the charging resistor 24 is. In this way, a deactivation of the door locking element 18 is already a very short time after switching on the motor controller 10 is no longer possible. After switching off the engine control 10, the door of the laundry drum can be deactivated only after a time T1 (> T).
  • FIG Fig. 3 A more detailed illustration of a drive circuit of the second embodiment described above is shown in FIG Fig. 3 shown.
  • the door lock element 18 locks automatically when closing the door 19 of the laundry drum and actuates a switch with a locking cam 18a.
  • the power supply L is then connected via this switch 18a as L 'to the power elements of the washing machine.
  • the motor controller 10 is turned on by the controller 14 via the switch 12a of the relay 12. In this state, ie when the motor and thus the laundry drum rotates, is at the collector of the transistor 16, a voltage of 0 V and the storage capacitor 22 is discharged via the discharge resistor 26 and the diode 28.
  • the door lock member 18 further includes a magnet 18b for magnetically activating the switch 18a.
  • the triac 20, which operates this magnet 18b, can be triggered with a signal from the controller via the transistor (second switching element of the invention) 30 with the energy from the storage capacitor 22.
  • the relay 12 drops out and its switch 12a opens the connection to the motor controller 10.
  • the voltage U is supplied by the power supply unit 32, guided via the relay winding of the relay 12.
  • the storage capacitor 22 now charges via the charging resistor 24 with the corresponding time constant T1.
  • the door 1 can be unlocked by the controller 14 via transistor 30, triac 20 and door locking element 18, wherein the transistor 30 takes the energy necessary to trigger the triac 20 the storage capacitor 22.
  • the motor controller 10 is re-applied by the controller 14 via the transistor 16 and the relay 12 with the switch 12a to the supply voltage, the transistor 16 discharges the storage capacitor 22 quickly via the discharge resistor 26 and the diode 28. An unlocking of the door 19 is then not possible anymore.

Landscapes

  • Engineering & Computer Science (AREA)
  • Textile Engineering (AREA)
  • Control Of Washing Machine And Dryer (AREA)

Abstract

Gerät mit einer gefährdenden Einrichtung, mit einer ersten Steuerung (10), die über ein erstes Steuerelement (12) angesteuert wird, welches wiederum über ein erstes Schaltelement (16) von einer zweiten Steuerung (14) angesteuert wird; und einer elektrisch ansteuerbaren Schutzeinrichtung (18), die über ein zweites Steuerelement (20) angesteuert wird, wobei die elektrisch ansteuerbare Schutzeinrichtung (18) deaktivierbar ist, wobei zwischen dem ersten und dem zweiten Steuerelement (12, 20) ein Speicherkondensator (22) vorgesehen ist, der das zweite Steuerelement (20) mit Energie für einen Steuerimpuls versorgt und der bei abgeschalteter erster Steuerung (10) über das erste Steuerelement (12) geladen und bei eingeschalteter erster Steuerung (10) über das erste Schaltelement (16) entladen wird. Dieser Schaltungsaufbau erzeugt eine eigensichere Ansteuerschaltung, weil bei einem möglichen Gefährdungszustand entweder die erste Steuerung nicht mehr mit Energie versorgt wird oder die elektrisch ansteuerbare Schutzeinrichtung nicht deaktiviert werden kann und so in jedem Fall eine Gefährdung für einen Benutzer ausgeschlossen ist.

Description

  • Die vorliegende Erfindung betrifft ein Gerät mit einer ansteuerbaren Schutzeinrichtung nach dem Oberbegriff des Anspruchs 1.
  • Geräte mit einer gefährdenden Einrichtung sind zur Vermeidung von unsachgemäßem Gebrauch mit einer Schutzeinrichtung versehen, die bevorzugt elektrisch ansteuerbar ist. Bei einem Gerät mit einer gefährdenden Einrichtung kann es sich beispielsweise um ein Wäschebehandlungsgerät handeln. Beim Betrieb von Wäschebehandlungsgeräten, insbesondere von Waschmaschinen, muss sichergestellt werden, dass die Tür zum Bestücken des Geräts nur dann geöffnet werden kann, wenn dies ohne Schaden für den Benutzer möglich ist. Eine Türöffnung muss beispielsweise verhindert werden, wenn sich (heißes) Wasser in der Trommel befindet oder wenn sich die Trommel mit mehr als etwa 60 U/min dreht.
  • Ein klassisches Element, das zur Verriegelung der Maschinentür eingesetzt wird, ist zum Beispiel aus einem Bimetall gebildet, das über eine PTC-Pille aufgeheizt wird, einen Verriegelungsnocken treibt und gleichzeitig, wenn die Verriegelung erfolgreich ist, einen Kontakt schließt. Über diesen Kontakt, d.h. erst mit der sicheren Verriegelung der Tür, wird den Leistungselementen der Maschine Energie zugeführt. Ein solches Türverriegelungselement ist zum Beispiel in der GB-A-2,128,283 anschaulich beschrieben. Wird dieses Türverriegelungselement abgeschaltet, gibt es die Tür durch die thermische Zeitkonstante des Bimetalls und der PTC-Pille erst nach Ablauf einer gewissen Verzögerungszeit frei.
  • Weiter ist zum Beispiel aus der EP 0 702 103 A1 ein Wäschebehandlungsgerät bekannt, bei dem das Türverriegelungselement und der Antriebsmotor über einen gemeinsamen Schalter (z.B. einen Triac) angesteuert werden. Durch eine solche Schaltungsanordnung liegt in jedem Fall Spannung am Türverriegelungselement, wenn der Antriebsmotor gewollt oder ungewollt eingeschaltet ist, d.h. die Türverriegelung kann nicht aufgehoben werden, wenn der Motor angesteuert ist.
  • Bei einer weiteren Art von Türverriegelung verriegelt sich die Tür beim Schließen entweder selbständig mechanisch oder wird durch einen Ansteuerimpuls aktiv verriegelt. Die Verriegelung kann mit einem Magneten des Türverriegelungselements ohne Eigenverzögerung durch Ansteuerung mit kurzen Impulsen deaktiviert oder aktiv geöffnet werden, um die Beladungstür der Waschmaschine zu entriegeln. Solche Türverriegelungen werden meistens alleine über Schalter von der Elektronik gesteuert, weil dies eine größere Freiheit in der Programmgestaltung der Wäschebehandlung ergibt. Bei einem Kurzschluss des Ansteuerschalters wäre die Tür jedoch dauernd entriegelt. Um Sicherheit gegen unerlaubtes Öffnen der Tür zu erhalten, ist es z.B. Stand der Technik, zwei in Serie liegende unabhängige Ansteuerkreise zu nutzen. Dies ist jedoch aufwändig in Bezug auf den Platzverbrauch der Ansteuerschaltung und nicht kostengünstig.
  • Abhilfe kann zum Beispiel dadurch erreicht werden, bei nur einfacher Ansteuerung die Türverriegelung so zu gestalten, dass mindestens zwei Impulse zur Entriegelung notwendig sind. Ein derartiges Türverriegelungselement, das mit einem Zahnrad und einer Klinke arbeitet, ist in der DE 199 61 083 A1 offenbart. Kritisch ist jedoch auch bei dieser Lösung ein Zustand, in dem der steuernde Mikrocomputer aufgrund einer Fehlfunktion die zum Öffnen benötigten zwei Steuerimpulse erzeugt. Eine andere Ursache für die Erzeugung von zwei Steuerimpulsen kann durch elektromagnetische Störungen gegeben sein.
  • Eine Lösung des letztgenannten Problems besteht darin, das Tachosignal, welches der rotierende Motor abgibt, mit der Ansteuerschaltung des Türverriegelungselements zu verknüpfen. Dies geschieht derart, dass die Steuerimpulse zum Öffnen der Verriegelung bei rotierender Trommel hardwaremäßig verhindert werden.
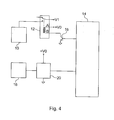
  • Es ist außerdem eine Ansteuerschaltung für ein Wäschebehandlungsgerät bekannt, die wie in Fig. 4 dargestellt aufgebaut ist.
  • Diese herkömmliche Ansteuerschaltung eines Wäschebehandlungsgeräts steuert eine Motorsteuerung 10 einer Waschmaschinentrommel als ein Beispiel einer elektrisch ansteuerbaren, gefährdenden Einrichtung. Die Versorgungsspannung V1 der Motorsteuerung 10 kann mittels eines Relais 12 als einem ersten Steuerelement durch einen Mikrocontroller 14 zu- und abgeschaltet werden. Bei Abschaltung der Versorgungsspannung V1 ist der gefährdende Zustand sofort oder nach einer gewissen Zeit nicht mehr vorhanden. Das Relais 12 wird üblicherweise über einen Transistor oder dergleichen Schaltelement 16 angesteuert.
  • Um den Benutzer der Waschmaschine vor einer Gefährdung zum Beispiel durch eine rotierende Wäschetrommel zu schützen, ist ein Türverriegelungselement (z.B. der magnetische Verschluss der Waschmaschinentür) 18 als eine elektrisch steuerbare und elektrisch deaktivierbare Schutzeinrichtung vorgesehen. Zur Ansteuerung des Türverriegelungselements 18 durch den Mikrocontroller 14 dient ein zweites Steuerelement 20, das zum Beispiel als Triac ausgebildet ist, der über einen Transistor Triggerimpulse erhält.
  • Beide Steuerelemente 12, 20 der Motorsteuerung 10 und des Türverriegelungselements 18 besitzen eine unabhängige Versorgungsspannung. Aus diesem Grund kann der Benutzer der Waschmaschine einer Gefährdung ausgesetzt sein, wenn durch einen Fehler im zweiten Steuerelement 20, einen Softwarefehler des Mikrocontrollers 14, eine elektromagnetische Störung oder durch ein anderes Ereignis das Türverriegelungselement 18 außer Kraft gesetzt ist.
  • Der vorliegenden Erfindung liegt die Aufgabe zugrunde, ein Gerät mit einer gefährdenden Einrichtung derart weiterzuentwickeln, dass die Funktionssicherheit der Schutzeinrichtung weiter erhöht ist.
  • Diese Aufgabe wird gelöst durch ein Gerät mit den Merkmalen des Anspruchs 1. Vorteilhafte Ausgestaltungen und Weiterbildungen der Erfindung sind Gegenstand der abhängigen Ansprüche.
  • Das Gerät mit einer gefährdenden Einrichtung enthält eine erste Steuerung, die über ein erstes Steuerelement angesteuert wird, welches wiederum über ein erstes Schaltelement von einer Steuerung angesteuert wird, und eine elektrisch ansteuerbare Schutzeinrichtung, die über ein zweites Steuerelement angesteuert wird, wobei die elektrisch ansteuerbare Schutzeinrichtung deaktivierbar ist. Weiter ist zwischen dem ersten und dem zweiten Steuerelement ein Speicherkondensator vorgesehen, der das zweite Steuerelement mit Energie für einen Steuerimpuls versorgt und der bei abgeschalteter erster Steuerung über das erste Steuerelement geladen und bei eingeschalteter erster Steuerung über das erste Schaltelement entladen wird.
  • Im Gegensatz zu der in Fig. 4 dargestellten Ansteuerschaltung besitzen das erste und das zweite Steuerelement für die erste Steuerung bzw. die elektrisch ansteuerbare Schutzeinrichtung keine unabhängigen Spannungsversorgungen, sondern die zur Deaktivierung der elektrisch ansteuerbaren Schutzeinrichtung erforderliche Energie wird aus einem Speicherkondensator zugeführt, der zwischen das erste und das zweite Steuerelement geschaltet ist. Da dieser Speicherkondensator bei abgeschalteter erster Steuerung über das erste Schaltelement geladen und bei eingeschalteter erster Steuerung über das erste Steuerelement entladen wird, steht im Speicherkondensator nur dann Energie zum Deaktivieren der elektrisch ansteuerbaren Schutzeinrichtung zur Verfügung, wenn die erste Steuerung abgeschaltet ist und somit keine Gefährdung mehr für den Benutzer vorliegt. Wenn dagegen die erste Steuerung in Betrieb ist, kann die elektrisch ansteuerbare Schutzeinrichtung nicht mehr deaktiviert werden, weil der Speicherkondensator entladen ist. Jede Unterbrechung einer Verbindungsleitung oder eines Bauteils führt dazu, dass entweder die erste Steuerung nicht mehr mit Energie versorgt oder die elektrisch ansteuerbare Schutzeinrichtung nicht mehr deaktiviert werden kann. Das erfindungsgemäße Gerät mit einer gefährdenden Einrichtung besitzt somit eine eigensichere Ansteuerschaltung für die erste Steuerung und die elektrisch ansteuerbare Schutzeinrichtung.
  • In einer Ausgestaltung der Erfindung ist zwischen den Speicherkondensator und das erste Schaltelement ein Ladewiderstand geschaltet, sodass der Speicherkondensator mit einer bestimmten Zeitverzögerung aufgeladen wird. Diese Zeitverzögerung durch den Ladewiderstand ist vorzugsweise so bemessen, dass der Gefährdungszustand durch die erste Steuerung sicher beendet ist.
  • In einer weiteren Ausgestaltung der Erfindung ist zwischen den Speicherkondensator und das erste Steuerelement eine Reihenschaltung aus einem Entladewiderstand und einer Diode geschaltet, sodass der Speicherkondensator bei eingeschalteter erster Steuerung schnell über den Entladewiderstand entladen werden kann.
  • In einem Ausführungsbeispiel ist das zweite Steuerelement ein Triac, der über ein zweites Schaltelement von der Steuerung mit der Energie des Speicherkondensators getriggert wird. In einem alternativen Ausführungsbeispiel ist das zweite Steuerelement ein Relais, das über ein zweites Schaltelement von der Steuerung mit der Energie des Speicherkondensators erregt wird.
  • In einer noch weiteren Ausgestaltung der Erfindung sind das erste Steuerelement und das erste Schaltelement in einem separaten Modul integriert.
  • In einer bevorzugten Alternative ist das Gerät ein Wäschebehandlungsgerät, insbesondere eine Waschmaschine. Zweckmäßiger Weise ist die gefährdende Einrichtung eine antreibbare Wäschetrommel. Vorteilhafter Weise ist die erste Steuerung eine Motorsteuerung. In einer besonders vorteilhaften Weise ist die elektrisch ansteuerbare Schutzeinrichtung ein Türverriegelungselement.
  • In einer bevorzugten Alternative ist die elektrisch ansteuerbare Schutzeinrichtung über mindestens zwei Steuerimpulse deaktivierbar. Hierdurch wird gewährleistet, dass die elektrisch ansteuerbare Schutzeinrichtung nicht mehr deaktiviert werden kann, weil zur Deaktivierung mindestens zwei Steuerimpulse erforderlich sind, der Speicherkondensator aber nur Energie für einen solchen Steuerimpuls zur Verfügung stellen kann, wenn er nicht wieder aufgeladen wird.
  • Obige sowie weitere Merkmale und Vorteile der Erfindung werden aus der nachfolgenden Beschreibung bevorzugter, nicht-einschränkender Ausführungsbeispiele unter Bezugnahme auf die beiliegenden Zeichnungen besser verständlich. Darin zeigen:
  • Fig. 1
    eine schematische Darstellung einer Ansteuerschaltung gemäß einem ersten Ausführungsbeispiel eines Wäschebehandlungsgeräts der vorliegenden Erfindung;
    Fig. 2
    eine schematische Darstellung einer Ansteuerschaltung gemäß einem zweiten Ausführungsbeispiel eines Wäschebehandlungsgeräts der vorliegenden Erfindung;
    Fig. 3
    eine detailliertere Darstellung der Ansteuerschaltung von Fig. 2; und
    Fig. 4
    eine schematische Darstellung einer herkömmlichen Ansteuerschaltung eines Wäschebehandlungsgeräts.
  • Anhand von Fig. 1 wird nun der Grundaufbau der Ansteuerschaltung einer Waschmaschine gemäß einem ersten Ausführungsbeispiel beschrieben. Dabei sind gleiche und ähnliche Komponenten wie bei der in Fig. 4 dargestellten herkömmlichen Ansteuerschaltung mit den gleichen Bezugsziffern versehen.
  • Die Versorgungsspannung V1 für die Motorsteuerung (z.B. Frequenzumrichter) 10 der Waschmaschine wird über ein erstes Steuerelement 12 in Form eines Relais zugeführt bzw. unterbrochen. Die Ansteuerung des ersten Steuerelements 12 erfolgt ihrerseits von einer Steuerung (z.B. Mikrocontroller) 14 über ein erstes Schaltelement 16 in Form eines Transistors, Treibers oder dergleichen Schaltelement. Wird die Versorgung der Motorsteuerung 10 mit der Versorgungsspannung V1 durch das erste Steuerelement 12 unterbrochen, so ist ein gefährdender Zustand für den Benutzer durch die Motorsteuerung 10 nach einer gewissen Zeit T nicht mehr vorhanden, beispielsweise ist die Drehzahl der Wäschetrommel unter einen vorbestimmten Grenzwert abgesunken.
  • Zum Schutz des Benutzers der Waschmaschine ist ferner ein Türverriegelungselement 18 vorgesehen, das die Tür zur Beladung der Wäschetrommel vorzugsweise automatisch verriegelt und nur bei sicher verriegelter Tür eine Ansteuerung der Motorsteuerung 10 erlaubt. Dieses Türverriegelungselement 18 wird von der Steuerung 14 über ein zweites Steuerelement 20 angesteuert, d.h. bei Bedarf deaktiviert, um die Tür zu entriegeln und damit ein Öffnen der Tür zu ermöglichen. Hierbei sind zur Deaktivierung des Türverriegelungselements 18 mindestens zwei Steuerimpulse des zweiten Steuerelements 20 erforderlich.
  • Die Energieversorgung dieses zweiten Steuerelements 20 zum Erzeugen der Steuerimpulse zur Deaktivierung des Türverriegelungselements 18 erfolgt über einen Speicherkondensator 22, der zwischen dem ersten und dem zweiten Steuerelement 12, 20 vorgesehen ist. Der Speicherkondensator 22 ist dabei über einen Ladewiderstand 24 mit dem ersten Steuerelement 12 verbunden.
  • Wenn die Motorsteuerung 10 abgeschaltet ist, d.h. das erste Steuerelement 12 die Versorgungsspannung V1 zur Motorsteuerung 10 unterbricht, wird der Speicherkondensator 22 über den Ladewiderstand 24 mit der Versorgungsspannung V0 des ersten Steuerelements 12 aufgeladen. Die zum Aufladen des Speicherkondensators 22 benötigte Zeit T1 ist dabei vorzugsweise länger als die obige Zeit T bis zum Erreichen des sicheren Zustandes nach dem Abschalten der Motorsteuerung 10.
  • Der so aufgeladene Speicherkondensator 22 stellt die zum Erzeugen der Steuerimpulse durch das zweite Steuerelement 20, d.h. zum Deaktivieren des Türverriegelungselements 18 erforderliche Energie zur Verfügung. Die Energie des aufgeladenen Speicherkondensators 22 reicht dabei zum Erzeugen eines Steuerimpulses.
  • Das zweite Steuerelement 20 ist beispielsweise ein Triac, der über ein zweites Schaltelement (z.B. Transistor) 30 (siehe Fig. 3) von der Steuerung 14 mit der Energie des Speicherkondensators 22 getriggert wird. Alternativ ist das zweite Steuerelement 20 ein Relais ist, das über ein zweites Schaltelement 30 von der Steuerung 14 mit der Energie des Speicherkondensators 22 erregt wird.
  • Wird die Motorsteuerung 10 durch das erste Steuerelement 12 mit Energie versorgt, wird das erste Schaltelement 16 durchgesteuert. In diesem Zustand entlädt sich der Speicherkondensator 22 über den Ladewiderstand 24 in einer bestimmten Zeit. Nach Ablauf einer kurzen Zeitdauer kann das Türverriegelungselement 18 bereits nicht mehr deaktiviert werden, weil der Speicherkondensator 22 nicht genügend Energie zum Erzeugen eines Steuerimpulses durch das zweite Steuerelement 20 bereitstellt.
  • Ferner führt jede Unterbrechung einer Verbindungsleitung oder eines Bauteils dazu, dass entweder die Motorsteuerung 10 nicht mehr mit Energie versorgt werden kann oder dass das Türverriegelungselement 18 nicht mehr deaktiviert werden kann, weil hierfür keine Energie zur Verfügung steht. Gleiches gilt auch für den Fall eines Kurzschlusses des Transistors 16 oder des zweiten Steuerelements 20, weil der Speicherkondensator 22 nur die Energie für einen Steuerimpuls des zweiten Schaltelements 20 liefert, für eine Deaktivierung des Türverriegelungselements 18 aber zwei solcher Steuerimpulse erforderlich sind. Auch eine fehlerhafte Ansteuerung des Türverriegelungselements 18 durch die Steuerung oder EMV-Störungen, die eine fälschliche Deaktivierung des Türverriegelungselements 18 bewirken, können vermieden werden. Dies ist auch dann möglich, wenn keine Tachoimpulse des Motors zur Auswertung zur Verfügung stehen.
  • Die in Fig. 1 dargestellte Schaltungsanordnung stellt somit eine eigensichere Ansteuerschaltung dar, da in jedem Fall ein Gefährdungszustand für einen Benutzer verhindert ist.
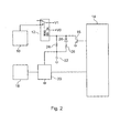
  • Ein zweites Ausführungsbeispiel einer Ansteuerschaltung einer Waschmaschine wird nun Bezug nehmend auf Fig. 2 und 3 näher erläutert. Dabei sind gleichen oder ähnlichen Komponenten die gleichen Bezugsziffern zugeordnet und auf eine nochmalige Beschreibung derselben wird verzichtet.
  • Das zweite Ausführungsbeispiel unterscheidet sich von der obigen ersten Ansteuerschaltung dadurch, dass parallel zu dem Ladewiderstand 24 eine Reihenschaltung aus einem Entladewiderstand 26 und einer Diode 28 geschaltet ist. Dieser Schaltungsaufbau ermöglicht unterschiedliche Zeiten für den Ladevorgang und den Entladevorgang des Speicherkondensators.
  • Beim Zuschalten der Versorgungsspannung V1 auf die Motorsteuerung 10 durch das erste Schaltelement 12 wird der Speicherkondensator 22 in diesem Fall über den Entladewiderstand 26 und die Diode 28 mit einer Zeitkonstante T2 entladen, die kürzer als die Zeitkonstante T1 für den Ladevorgang des Speicherkondensators 22 über den Ladewiderstand 24 ist. Auf diese Weise ist eine Deaktivierung des Türverriegelungselements 18 bereits sehr kurze Zeit nach dem Einschalten der Motorsteuerung 10 nicht mehr möglich. Nach dem Abschalten der Motorsteuerung 10 kann die Tür der Wäschetrommel erst nach einer Zeit T1 (> T) deaktiviert werden.
  • Die weiteren Merkmale und Vorteile dieser zweiten Ansteuerschaltung sind gleich jenen des oben beschriebenen ersten Ausführungsbeispiels.
  • Eine detailliertere Darstellung einer Ansteuerschaltung des oben beschriebenen zweiten Ausführungsbeispiels ist in Fig. 3 gezeigt.
  • Das Türverriegelungselement 18 verriegelt sich beim Schließen der Tür 19 der Wäschetrommel automatisch und betätigt mit einem Verriegelungsnocken einen Schalter 18a. Der Netzanschluss L wird dann über diesen Schalter 18a als L' an die Leistungselemente der Waschmaschine gelegt. Die Motorsteuerung 10 wird von der Steuerung 14 über den Schalter 12a des Relais 12 eingeschaltet. In diesem Zustand, d.h. wenn der Motor und damit die Wäschetrommel dreht, liegt am Kollektor des Transistors 16 eine Spannung von 0 V und der Speicherkondensator 22 wird über den Entladewiderstand 26 und die Diode 28 entladen.
  • Das Türverriegelungselement 18 weist ferner einen Magneten 18b zum magnetischen Auslösen des Schalters 18a auf. Der Triac 20, der diesen Magneten 18b betätigt, kann mit einem Signal von der Steuerung über den Transistor (zweites Schaltelement der Erfindung) 30 mit der Energie aus dem Speicherkondensator 22 getriggert werden.
  • Sobald die Steuerung 14 den Transistor 16 sperrt, fällt das Relais 12 ab und sein Schalter 12a öffnet den Anschluss zur Motorsteuerung 10. Am Kollektor des Transistors 16 liegt dann vom Netzteil 32 die Spannung U, geführt über die Relaiswicklung des Relais 12. Der Speicherkondensator 22 lädt sich jetzt über den Ladewiderstand 24 mit der entsprechenden Zeitkonstante T1 auf. Nun, d.h. im stromlosen Zustand der Motorsteuerung 10, kann die Tür 1 durch die Steuerung 14 über Transistor 30, Triac 20 und Türverriegelungselement 18 entriegelt werden, wobei der Transistor 30 die zum Triggern des Triacs 20 notwendige Energie dem Speicherkondensator 22 entnimmt.
  • Sobald die Motorsteuerung 10 von der Steuerung 14 wieder über den Transistor 16 und das Relais 12 mit dem Schalter 12a an die Versorgungsspannung gelegt wird, entlädt der Transistor 16 den Speicherkondensator 22 schnell über den Entladewiderstand 26 und die Diode 28. Eine Entriegelung der Tür 19 ist dann nicht mehr möglich.

Claims (11)

  1. Gerät mit einer gefährdenden Einrichtung, mit
    einer ersten Steuerung (10), die über ein erstes Steuerelement (12) angesteuert wird, welches wiederum über ein erstes Schaltelement (16) von einer zweiten Steuerung (14) angesteuert wird; und
    einer elektrisch ansteuerbaren Schutzeinrichtung (18), die über ein zweites Steuerelement (20) angesteuert wird, wobei die elektrisch ansteuerbare Schutzeinrichtung (18) deaktivierbar ist,
    dadurch gekennzeichnet,
    dass zwischen dem ersten und dem zweiten Steuerelement (12, 20) ein Speicherkondensator (22) vorgesehen ist, der das zweite Steuerelement (20) mit Energie für einen Steuerimpuls versorgt und der bei abgeschalteter erster Steuerung (10) über das erste Steuerelement (12) geladen und bei eingeschalteter erster Steuerung (10) über das erste Schaltelement (16) entladen wird.
  2. Gerät nach Anspruch 1,
    dadurch gekennzeichnet,
    dass zwischen den Speicherkondensator (22) und das erste Schaltelement (16) ein Ladewiderstand (24) geschaltet ist.
  3. Gerät nach Anspruch 1 oder 2,
    dadurch gekennzeichnet,
    dass zwischen den Speicherkondensator (22) und das erste Steuerelement (12) eine Reihenschaltung aus einem Entladewiderstand (26) und einer Diode (28) geschaltet ist.
  4. Gerät nach einem der Ansprüche 1 bis 3,
    dadurch gekennzeichnet,
    dass das zweite Steuerelement (20) ein Triac ist, der über ein zweites Schaltelement (30) von der zweiten Steuerung (14) mit der Energie des Speicherkondensators (22) getriggert wird.
  5. Gerät nach einem der Ansprüche 1 bis 3,
    dadurch gekennzeichnet,
    dass das zweite Steuerelement (20) ein Relais ist, das über ein zweites Schaltelement (30) von der zweiten Steuerung (14) mit der Energie des Speicherkondensators (22) erregt wird.
  6. Gerät nach einem der Ansprüche 1 bis 5,
    dadurch gekennzeichnet,
    dass das erste Steuerelement (12) und das erste Schaltelement (16) in einem separaten Modul integriert sind.
  7. Gerät nach einem der vohergehenden Ansprüche,
    dadurch gekennzeichnet,
    dass das Gerät ein Wäschebehandlungsgerät, insbesondere eine Waschmaschine ist.
  8. Gerät nach einem der vohergehenden Ansprüche,
    dadurch gekennzeichnet,
    dass die gefährdende Einrichtung eine antreibbare Wäschetrommel ist.
  9. Gerät nach einem der vohergehenden Ansprüche,
    dadurch gekennzeichnet,
    dass die erste Steuerung (10) eine Motorsteuerung ist.
  10. Gerät nach einem der vohergehenden Ansprüche,
    dadurch gekennzeichnet,
    dass die elektrisch ansteuerbaren Schutzeinrichtung (18) ein Türverriegelungselement ist.
  11. Gerät nach einem der vohergehenden Ansprüche,
    dadurch gekennzeichnet,
    dass die elektrisch ansteuerbare Schutzeinrichtung (18) über mindestens zwei Steuerimpulse deaktivierbar ist.
EP08002417A 2007-02-26 2008-02-09 Wäschebehandlungsgerät Not-in-force EP1962011B1 (de)

Applications Claiming Priority (2)

Application Number Priority Date Filing Date Title
DE102007009637 2007-02-26
DE102007037767A DE102007037767A1 (de) 2007-02-26 2007-08-10 Gerät mit ansteuerbarer Schutzeinrichtung

Publications (2)

Publication Number Publication Date
EP1962011A1 true EP1962011A1 (de) 2008-08-27
EP1962011B1 EP1962011B1 (de) 2010-04-21

Family

ID=39495599

Family Applications (1)

Application Number Title Priority Date Filing Date
EP08002417A Not-in-force EP1962011B1 (de) 2007-02-26 2008-02-09 Wäschebehandlungsgerät

Country Status (1)

Country Link
EP (1) EP1962011B1 (de)

Cited By (2)

* Cited by examiner, † Cited by third party
Publication number Priority date Publication date Assignee Title
DE102014216556A1 (de) 2014-08-20 2016-02-25 BSH Hausgeräte GmbH Schaltungsanordnung zum Steuern einer elektrisch angetriebenen Verriegelungseinrichtung für eine Tür eines Haushaltsgeräts, Haushaltsgerät sowie Verfahren hierfür
CN106460299A (zh) * 2014-05-14 2017-02-22 Bsh家用电器有限公司 用于锁定家用器具的门的锁定装置、家用器具和相应的方法

Citations (5)

* Cited by examiner, † Cited by third party
Publication number Priority date Publication date Assignee Title
DE1585850A1 (de) * 1965-02-09 1970-11-05 Philips Nv Waschmaschine mit einer ersten und einer zweiten Zeitschaltung und einem temperaturgesteuerten Schaltkreis
US3553488A (en) 1968-02-06 1971-01-05 Westinghouse Air Brake Co Fail-safe circuit arrangement
DE2163449A1 (de) * 1971-12-21 1973-07-05 Miele & Cie Tuerverriegelung fuer eine wasch- oder schleudermaschine
GB2128283A (en) 1982-10-04 1984-04-26 Texas Instruments Italia Spa Safety locking devices for doors of washing machines and the like
EP0702103A1 (de) 1994-09-13 1996-03-20 ELECTROLUX ZANUSSI ELETTRODOMESTICI S.p.A. Steuerungsvorrichtung einer Waschmaschine

Patent Citations (5)

* Cited by examiner, † Cited by third party
Publication number Priority date Publication date Assignee Title
DE1585850A1 (de) * 1965-02-09 1970-11-05 Philips Nv Waschmaschine mit einer ersten und einer zweiten Zeitschaltung und einem temperaturgesteuerten Schaltkreis
US3553488A (en) 1968-02-06 1971-01-05 Westinghouse Air Brake Co Fail-safe circuit arrangement
DE2163449A1 (de) * 1971-12-21 1973-07-05 Miele & Cie Tuerverriegelung fuer eine wasch- oder schleudermaschine
GB2128283A (en) 1982-10-04 1984-04-26 Texas Instruments Italia Spa Safety locking devices for doors of washing machines and the like
EP0702103A1 (de) 1994-09-13 1996-03-20 ELECTROLUX ZANUSSI ELETTRODOMESTICI S.p.A. Steuerungsvorrichtung einer Waschmaschine

Cited By (4)

* Cited by examiner, † Cited by third party
Publication number Priority date Publication date Assignee Title
CN106460299A (zh) * 2014-05-14 2017-02-22 Bsh家用电器有限公司 用于锁定家用器具的门的锁定装置、家用器具和相应的方法
CN106460299B (zh) * 2014-05-14 2018-10-30 Bsh家用电器有限公司 用于锁定家用器具的门的锁定装置、家用器具和相应的方法
DE102014216556A1 (de) 2014-08-20 2016-02-25 BSH Hausgeräte GmbH Schaltungsanordnung zum Steuern einer elektrisch angetriebenen Verriegelungseinrichtung für eine Tür eines Haushaltsgeräts, Haushaltsgerät sowie Verfahren hierfür
DE102014216556B4 (de) 2014-08-20 2023-02-09 BSH Hausgeräte GmbH Schaltungsanordnung zum Steuern einer elektrisch angetriebenen Verriegelungseinrichtung für eine Tür eines Haushaltsgeräts, Haushaltsgerät sowie Verfahren hierfür

Also Published As

Publication number Publication date
EP1962011B1 (de) 2010-04-21

Similar Documents

Publication Publication Date Title
DE102007037767A1 (de) Gerät mit ansteuerbarer Schutzeinrichtung
EP1060922B1 (de) Schaltkreis und Verfahren zur Steuerung fremdkraftsbetriebener Fensterheber, Schiebedächer oder Türschlösser in Kraftfahrzeugen
EP2089653B1 (de) Verfahren und schaltungsanordnung zur sicheren ansteuerung von aktoren, sensoren und/oder verbrauchern in einem diese enthaltenden elektrischen hausgerät
EP2373839B1 (de) Haushaltsgerät mit automatischer abschaltung
EP1544388B1 (de) Kraftfahrzeug
EP1960582B1 (de) Schaltungsanordnung zum verriegeln und/oder entriegeln eines türschlosses, insbesondere in einem elektrischen hausgerät
EP1962011B1 (de) Wäschebehandlungsgerät
EP1986062B1 (de) Steuervorrichtung und Steuerverfahren für ein elektrisches Haushaltsgerät
DE2222258C2 (de) Steuerschaltung für eine Brenneranlage. Anal: Landis & Gyr AG, Zug (Schweiz)
EP1775366B1 (de) Schaltung zur Ansteuerung eines Geräts zur Wäschebehandlung
DE102007031882B4 (de) Wäschebehandlungsgerät mit Türverriegelungselement
DE69713455T2 (de) Waschmaschine mit einer sofortwirkenden Türverriegelungsvorrichtung
EP2020721B1 (de) Schaltungsanordnung zur Überwachung einer Tachoeinrichtung für einen Antriebsmotor einer Trommel einer Waschmaschine
DE3121500A1 (de) Tuersicherung fuer eine waschmaschine, insbesondere gewerbliche waschmaschine
DE102004013108A1 (de) Verfahren zum Betreiben einer Versorgungseinheit für eine Treiberschaltung sowie Versorgungseinheit für eine Treiberschaltung
DE10012440A1 (de) Verriegelungseinrichtung für Lenkungen von Kraftfahrzeugen
EP3488042B1 (de) Türüberwachungsschaltung für ein haushaltsgerät
DE19722927C1 (de) Schaltungsanordnung mit Sicherheitsfunktion
DE102004018767A1 (de) Ansteuervorrichtung für eine elektrische Maschine
DE102009045224A1 (de) Fahrzeug-Lenkungsverriegelungsbaugruppe mit einer ein Verriegelungs-Freigabesignal empfangenden Sicherheitsschaltung
WO2012025373A1 (de) Verfahren zum einnehmen eines sicheren betriebszustands einer einrichtung eines hausgeräts, schaltungsanordnung zum betreiben eines hausgeräts und hausgerät
DE10122877A1 (de) Verfahren zum Schutz einer Motorsteuerung und Schutzeinrichtung
WO2017153002A1 (de) Ventilantrieb
EP2385533B1 (de) Zuhaltung mit einem Elektromagneten
DE102014114979B4 (de) Steuerungsanordnung

Legal Events

Date Code Title Description
PUAI Public reference made under article 153(3) epc to a published international application that has entered the european phase

Free format text: ORIGINAL CODE: 0009012

AK Designated contracting states

Kind code of ref document: A1

Designated state(s): AT BE BG CH CY CZ DE DK EE ES FI FR GB GR HR HU IE IS IT LI LT LU LV MC MT NL NO PL PT RO SE SI SK TR

AX Request for extension of the european patent

Extension state: AL BA MK RS

17P Request for examination filed

Effective date: 20080730

17Q First examination report despatched

Effective date: 20081001

AKX Designation fees paid

Designated state(s): AT BE BG CH CY CZ DE DK EE ES FI FR GB GR HR HU IE IS IT LI LT LU LV MC MT NL NO PL PT RO SE SI SK TR

GRAP Despatch of communication of intention to grant a patent

Free format text: ORIGINAL CODE: EPIDOSNIGR1

RTI1 Title (correction)

Free format text: LAUNDRY TREATMENT APPARATUS

GRAS Grant fee paid

Free format text: ORIGINAL CODE: EPIDOSNIGR3

GRAA (expected) grant

Free format text: ORIGINAL CODE: 0009210

AK Designated contracting states

Kind code of ref document: B1

Designated state(s): AT BE BG CH CY CZ DE DK EE ES FI FR GB GR HR HU IE IS IT LI LT LU LV MC MT NL NO PL PT RO SE SI SK TR

REG Reference to a national code

Ref country code: GB

Ref legal event code: FG4D

Free format text: NOT ENGLISH

REG Reference to a national code

Ref country code: CH

Ref legal event code: EP

REG Reference to a national code

Ref country code: IE

Ref legal event code: FG4D

Free format text: LANGUAGE OF EP DOCUMENT: GERMAN

REF Corresponds to:

Ref document number: 502008000542

Country of ref document: DE

Date of ref document: 20100602

Kind code of ref document: P

REG Reference to a national code

Ref country code: ES

Ref legal event code: FG2A

Ref document number: 2342741

Country of ref document: ES

Kind code of ref document: T3

REG Reference to a national code

Ref country code: NL

Ref legal event code: VDEP

Effective date: 20100421

LTIE Lt: invalidation of european patent or patent extension

Effective date: 20100421

PG25 Lapsed in a contracting state [announced via postgrant information from national office to epo]

Ref country code: SE

Free format text: LAPSE BECAUSE OF FAILURE TO SUBMIT A TRANSLATION OF THE DESCRIPTION OR TO PAY THE FEE WITHIN THE PRESCRIBED TIME-LIMIT

Effective date: 20100421

Ref country code: NO

Free format text: LAPSE BECAUSE OF FAILURE TO SUBMIT A TRANSLATION OF THE DESCRIPTION OR TO PAY THE FEE WITHIN THE PRESCRIBED TIME-LIMIT

Effective date: 20100721

Ref country code: LT

Free format text: LAPSE BECAUSE OF FAILURE TO SUBMIT A TRANSLATION OF THE DESCRIPTION OR TO PAY THE FEE WITHIN THE PRESCRIBED TIME-LIMIT

Effective date: 20100421

Ref country code: NL

Free format text: LAPSE BECAUSE OF FAILURE TO SUBMIT A TRANSLATION OF THE DESCRIPTION OR TO PAY THE FEE WITHIN THE PRESCRIBED TIME-LIMIT

Effective date: 20100421

REG Reference to a national code

Ref country code: IE

Ref legal event code: FD4D

PG25 Lapsed in a contracting state [announced via postgrant information from national office to epo]

Ref country code: SI

Free format text: LAPSE BECAUSE OF FAILURE TO SUBMIT A TRANSLATION OF THE DESCRIPTION OR TO PAY THE FEE WITHIN THE PRESCRIBED TIME-LIMIT

Effective date: 20100421

Ref country code: LV

Free format text: LAPSE BECAUSE OF FAILURE TO SUBMIT A TRANSLATION OF THE DESCRIPTION OR TO PAY THE FEE WITHIN THE PRESCRIBED TIME-LIMIT

Effective date: 20100421

Ref country code: IS

Free format text: LAPSE BECAUSE OF FAILURE TO SUBMIT A TRANSLATION OF THE DESCRIPTION OR TO PAY THE FEE WITHIN THE PRESCRIBED TIME-LIMIT

Effective date: 20100821

Ref country code: HR

Free format text: LAPSE BECAUSE OF FAILURE TO SUBMIT A TRANSLATION OF THE DESCRIPTION OR TO PAY THE FEE WITHIN THE PRESCRIBED TIME-LIMIT

Effective date: 20100421

Ref country code: FI

Free format text: LAPSE BECAUSE OF FAILURE TO SUBMIT A TRANSLATION OF THE DESCRIPTION OR TO PAY THE FEE WITHIN THE PRESCRIBED TIME-LIMIT

Effective date: 20100421

PG25 Lapsed in a contracting state [announced via postgrant information from national office to epo]

Ref country code: CY

Free format text: LAPSE BECAUSE OF FAILURE TO SUBMIT A TRANSLATION OF THE DESCRIPTION OR TO PAY THE FEE WITHIN THE PRESCRIBED TIME-LIMIT

Effective date: 20100602

Ref country code: PL

Free format text: LAPSE BECAUSE OF FAILURE TO SUBMIT A TRANSLATION OF THE DESCRIPTION OR TO PAY THE FEE WITHIN THE PRESCRIBED TIME-LIMIT

Effective date: 20100421

PG25 Lapsed in a contracting state [announced via postgrant information from national office to epo]

Ref country code: IE

Free format text: LAPSE BECAUSE OF FAILURE TO SUBMIT A TRANSLATION OF THE DESCRIPTION OR TO PAY THE FEE WITHIN THE PRESCRIBED TIME-LIMIT

Effective date: 20100421

Ref country code: DK

Free format text: LAPSE BECAUSE OF FAILURE TO SUBMIT A TRANSLATION OF THE DESCRIPTION OR TO PAY THE FEE WITHIN THE PRESCRIBED TIME-LIMIT

Effective date: 20100421

Ref country code: EE

Free format text: LAPSE BECAUSE OF FAILURE TO SUBMIT A TRANSLATION OF THE DESCRIPTION OR TO PAY THE FEE WITHIN THE PRESCRIBED TIME-LIMIT

Effective date: 20100421

PLBE No opposition filed within time limit

Free format text: ORIGINAL CODE: 0009261

STAA Information on the status of an ep patent application or granted ep patent

Free format text: STATUS: NO OPPOSITION FILED WITHIN TIME LIMIT

PG25 Lapsed in a contracting state [announced via postgrant information from national office to epo]

Ref country code: CZ

Free format text: LAPSE BECAUSE OF FAILURE TO SUBMIT A TRANSLATION OF THE DESCRIPTION OR TO PAY THE FEE WITHIN THE PRESCRIBED TIME-LIMIT

Effective date: 20100421

Ref country code: SK

Free format text: LAPSE BECAUSE OF FAILURE TO SUBMIT A TRANSLATION OF THE DESCRIPTION OR TO PAY THE FEE WITHIN THE PRESCRIBED TIME-LIMIT

Effective date: 20100421

Ref country code: RO

Free format text: LAPSE BECAUSE OF FAILURE TO SUBMIT A TRANSLATION OF THE DESCRIPTION OR TO PAY THE FEE WITHIN THE PRESCRIBED TIME-LIMIT

Effective date: 20100421

26N No opposition filed

Effective date: 20110124

PG25 Lapsed in a contracting state [announced via postgrant information from national office to epo]

Ref country code: GR

Free format text: LAPSE BECAUSE OF FAILURE TO SUBMIT A TRANSLATION OF THE DESCRIPTION OR TO PAY THE FEE WITHIN THE PRESCRIBED TIME-LIMIT

Effective date: 20100722

BERE Be: lapsed

Owner name: DIEHL AKO STIFTUNG & CO. K.G.

Effective date: 20110228

PG25 Lapsed in a contracting state [announced via postgrant information from national office to epo]

Ref country code: MC

Free format text: LAPSE BECAUSE OF NON-PAYMENT OF DUE FEES

Effective date: 20110228

PG25 Lapsed in a contracting state [announced via postgrant information from national office to epo]

Ref country code: BE

Free format text: LAPSE BECAUSE OF NON-PAYMENT OF DUE FEES

Effective date: 20110228

PG25 Lapsed in a contracting state [announced via postgrant information from national office to epo]

Ref country code: MT

Free format text: LAPSE BECAUSE OF FAILURE TO SUBMIT A TRANSLATION OF THE DESCRIPTION OR TO PAY THE FEE WITHIN THE PRESCRIBED TIME-LIMIT

Effective date: 20100421

REG Reference to a national code

Ref country code: CH

Ref legal event code: PL

GBPC Gb: european patent ceased through non-payment of renewal fee

Effective date: 20120209

PG25 Lapsed in a contracting state [announced via postgrant information from national office to epo]

Ref country code: CH

Free format text: LAPSE BECAUSE OF NON-PAYMENT OF DUE FEES

Effective date: 20120229

Ref country code: LI

Free format text: LAPSE BECAUSE OF NON-PAYMENT OF DUE FEES

Effective date: 20120229

PG25 Lapsed in a contracting state [announced via postgrant information from national office to epo]

Ref country code: GB

Free format text: LAPSE BECAUSE OF NON-PAYMENT OF DUE FEES

Effective date: 20120209

PGFP Annual fee paid to national office [announced via postgrant information from national office to epo]

Ref country code: FR

Payment date: 20130301

Year of fee payment: 6

Ref country code: ES

Payment date: 20130227

Year of fee payment: 6

PG25 Lapsed in a contracting state [announced via postgrant information from national office to epo]

Ref country code: LU

Free format text: LAPSE BECAUSE OF NON-PAYMENT OF DUE FEES

Effective date: 20110209

PG25 Lapsed in a contracting state [announced via postgrant information from national office to epo]

Ref country code: PT

Free format text: LAPSE BECAUSE OF NON-PAYMENT OF DUE FEES

Effective date: 20100421

PG25 Lapsed in a contracting state [announced via postgrant information from national office to epo]

Ref country code: BG

Free format text: LAPSE BECAUSE OF FAILURE TO SUBMIT A TRANSLATION OF THE DESCRIPTION OR TO PAY THE FEE WITHIN THE PRESCRIBED TIME-LIMIT

Effective date: 20100721

Ref country code: TR

Free format text: LAPSE BECAUSE OF FAILURE TO SUBMIT A TRANSLATION OF THE DESCRIPTION OR TO PAY THE FEE WITHIN THE PRESCRIBED TIME-LIMIT

Effective date: 20100421

PG25 Lapsed in a contracting state [announced via postgrant information from national office to epo]

Ref country code: HU

Free format text: LAPSE BECAUSE OF FAILURE TO SUBMIT A TRANSLATION OF THE DESCRIPTION OR TO PAY THE FEE WITHIN THE PRESCRIBED TIME-LIMIT

Effective date: 20100421

REG Reference to a national code

Ref country code: AT

Ref legal event code: MM01

Ref document number: 465370

Country of ref document: AT

Kind code of ref document: T

Effective date: 20130209

PG25 Lapsed in a contracting state [announced via postgrant information from national office to epo]

Ref country code: AT

Free format text: LAPSE BECAUSE OF NON-PAYMENT OF DUE FEES

Effective date: 20130209

REG Reference to a national code

Ref country code: FR

Ref legal event code: ST

Effective date: 20141031

PG25 Lapsed in a contracting state [announced via postgrant information from national office to epo]

Ref country code: FR

Free format text: LAPSE BECAUSE OF NON-PAYMENT OF DUE FEES

Effective date: 20140228

REG Reference to a national code

Ref country code: ES

Ref legal event code: FD2A

Effective date: 20151006

PG25 Lapsed in a contracting state [announced via postgrant information from national office to epo]

Ref country code: ES

Free format text: LAPSE BECAUSE OF NON-PAYMENT OF DUE FEES

Effective date: 20140210

PGFP Annual fee paid to national office [announced via postgrant information from national office to epo]

Ref country code: IT

Payment date: 20200225

Year of fee payment: 13

PGFP Annual fee paid to national office [announced via postgrant information from national office to epo]

Ref country code: DE

Payment date: 20200415

Year of fee payment: 13

REG Reference to a national code

Ref country code: DE

Ref legal event code: R119

Ref document number: 502008000542

Country of ref document: DE

PG25 Lapsed in a contracting state [announced via postgrant information from national office to epo]

Ref country code: DE

Free format text: LAPSE BECAUSE OF NON-PAYMENT OF DUE FEES

Effective date: 20210901

PG25 Lapsed in a contracting state [announced via postgrant information from national office to epo]

Ref country code: IT

Free format text: LAPSE BECAUSE OF NON-PAYMENT OF DUE FEES

Effective date: 20210209