EP1908591A3 - Cleaning device for a rotary printing press - Google Patents
Cleaning device for a rotary printing press Download PDFInfo
- Publication number
- EP1908591A3 EP1908591A3 EP07018962A EP07018962A EP1908591A3 EP 1908591 A3 EP1908591 A3 EP 1908591A3 EP 07018962 A EP07018962 A EP 07018962A EP 07018962 A EP07018962 A EP 07018962A EP 1908591 A3 EP1908591 A3 EP 1908591A3
- Authority
- EP
- European Patent Office
- Prior art keywords
- guide roller
- cleaning
- cleaning device
- cleaning brush
- adjacent
- Prior art date
- Legal status (The legal status is an assumption and is not a legal conclusion. Google has not performed a legal analysis and makes no representation as to the accuracy of the status listed.)
- Granted
Links
- 238000004140 cleaning Methods 0.000 title abstract 12
- 239000002245 particle Substances 0.000 abstract 2
- 238000000034 method Methods 0.000 abstract 1
Classifications
-
- B—PERFORMING OPERATIONS; TRANSPORTING
- B41—PRINTING; LINING MACHINES; TYPEWRITERS; STAMPS
- B41F—PRINTING MACHINES OR PRESSES
- B41F35/00—Cleaning arrangements or devices
-
- B—PERFORMING OPERATIONS; TRANSPORTING
- B41—PRINTING; LINING MACHINES; TYPEWRITERS; STAMPS
- B41P—INDEXING SCHEME RELATING TO PRINTING, LINING MACHINES, TYPEWRITERS, AND TO STAMPS
- B41P2235/00—Cleaning
- B41P2235/10—Cleaning characterised by the methods or devices
- B41P2235/20—Wiping devices
- B41P2235/23—Brushes
Landscapes
- Inking, Control Or Cleaning Of Printing Machines (AREA)
- Cleaning In General (AREA)
Abstract
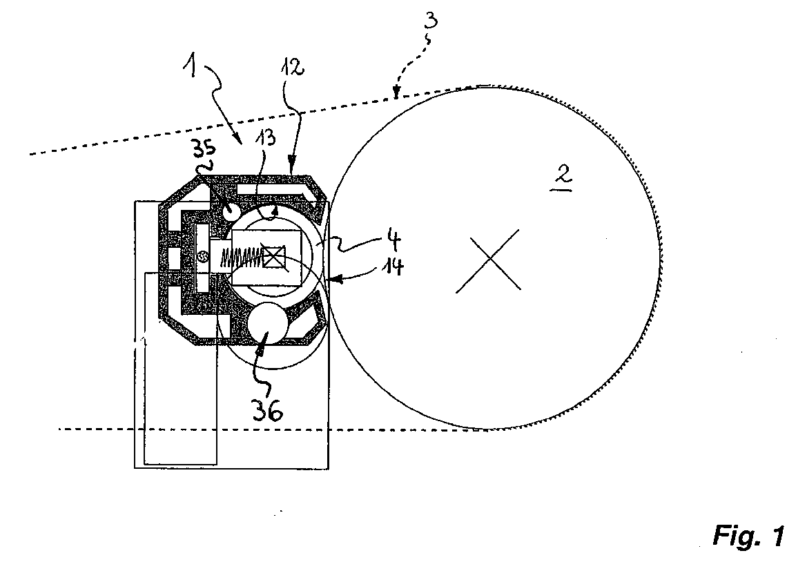
Die Erfindung betrifft eine Reinigungsvorrichtung (1) zum Reinigen zumindest einer, eine Papierbahn (3) führenden Leitwalze (2) in einer Rotationsdruckmaschine, welche Reinigungsvorrichtung (1) wenigstens eine im Bereich der zu reinigenden Leitwalze (2) koaxial zu dieser in dem durch die Papierbahn (3) umgrenzten Freiraum angeordnete Reinigungsbürste (4) hat, die ein Borstenfeld mit wendelförmig umlaufenden Borsten (5) aufweist, und die zumindest während des Reinigungsvorgangs mit ihrem Borstenfeld wenigstens bereichsweise die Leitwalze (2) reinigend beaufschlagt, wobei die Reinigungsvorrichtung (4) mindestens einen Schmutzauslaß (6) hat, über den die mittels der zumindest einen Reinigungsbürste (4) von der Leitwalze (2) entfernten Schmutzpartikel absaugbar oder dergleichen abführbar sind. Für die erfindungsgemäße Reinigungsvorrichtung (1) ist kennzeichnend, dass das Borstenfeld der zumindest einen Reinigungsbürste (4) wenigstens zwei benach-barte Teilbereiche (7,8) mit gegensinnig umlaufenden Borsten hat, die die in diesen Teilbereichen (7,8) von der Leitwalze (5) entfernten Schmutzpartikel entweder zu einem zwischen den benachbarten Reinigungsbürsten-Teilbereichen (7,8) angeordneten gemeinsamen Schmutzauslass oder zu jeweils einem seitlich an den Stirnendbereichen der benachbarten Reinigungsbürsten-Teilbereiche (7,8) vorgesehenen Schmutzauslass (6) bewegen. The invention relates to a cleaning device (1) for cleaning at least one, a paper web (3) leading guide roller (2) in a rotary printing machine, which cleaning device (1) at least one in the region of the guide roller (2) to be cleaned coaxially to this in the Paper web (3) delimited space arranged cleaning brush (4), which has a bristle field with helically rotating bristles (5), and at least during the cleaning process with its bristle field at least partially applied to the guide roller (2), the cleaning device (4) has at least one dirt outlet (6) through which the by means of the at least one cleaning brush (4) of the guide roller (2) removed dirt particles sucked off or the like can be discharged. For the cleaning device (1) according to the invention, it is characteristic that the bristle field of the at least one cleaning brush (4) has at least two adjacent partial areas (7, 8) with bristles running in opposite directions from those in these partial areas (7, 8) of the guide roller (5) removed dirt particles move either to one between the adjacent cleaning brush subregions (7,8) arranged common dirt outlet or each one laterally on the front end of the adjacent cleaning brush subregions (7,8) provided dirt outlet (6).
Applications Claiming Priority (1)
| Application Number | Priority Date | Filing Date | Title |
|---|---|---|---|
| DE102006046071A DE102006046071B3 (en) | 2006-09-27 | 2006-09-27 | Cleaning system for rollers in rotary printing machines comprises rotary brush mounted against roller which has counter-rotating sections with bristles in spiral which pass material removed from roller to central outlet or two end outlets |
Publications (3)
| Publication Number | Publication Date |
|---|---|
| EP1908591A2 EP1908591A2 (en) | 2008-04-09 |
| EP1908591A3 true EP1908591A3 (en) | 2008-04-16 |
| EP1908591B1 EP1908591B1 (en) | 2010-08-18 |
Family
ID=38830951
Family Applications (1)
| Application Number | Title | Priority Date | Filing Date |
|---|---|---|---|
| EP07018962A Not-in-force EP1908591B1 (en) | 2006-09-27 | 2007-09-26 | Cleaning device for a rotary printing press |
Country Status (3)
| Country | Link |
|---|---|
| US (1) | US20080087182A1 (en) |
| EP (1) | EP1908591B1 (en) |
| DE (2) | DE102006046071B3 (en) |
Families Citing this family (3)
| Publication number | Priority date | Publication date | Assignee | Title |
|---|---|---|---|---|
| DE102009058744B4 (en) * | 2009-12-17 | 2012-11-29 | Technotrans Ag | Cleaning device for printing and printing plate cylinders |
| DE102014113178A1 (en) * | 2014-09-12 | 2016-03-17 | Manroland Web Systems Gmbh | Cleaning device for a printing press |
| CN116899938A (en) * | 2023-06-14 | 2023-10-20 | 安徽国风新材料股份有限公司 | A rubber roller surface cleaning device for film processing |
Citations (5)
| Publication number | Priority date | Publication date | Assignee | Title |
|---|---|---|---|---|
| DE3120983A1 (en) * | 1980-05-28 | 1982-04-29 | Dai Nippon Insatsu K.K., Tokyo | Device for washing the blanket cylinder of a rotary offset press |
| DE3812678A1 (en) * | 1988-04-16 | 1989-10-26 | Heidelberger Druckmasch Ag | DEVICE FOR CLEANING BOW TRANSFER CYLINDERS IN ROTARY PRINTING MACHINES |
| EP0461898A1 (en) * | 1990-06-14 | 1991-12-18 | Baldwin Technology Corporation | Rotating brush cleaner system |
| DE19860854A1 (en) * | 1998-12-31 | 2000-07-06 | Koenig & Bauer Ag | Device for cleaning a roller |
| DE10053322A1 (en) * | 2000-10-27 | 2002-05-08 | Roland Man Druckmasch | Washing device for printer inking machinery comprises a driven helical coil that rotates next to a print cylinder so that it removes excess ink by use of rubber coil on its surface, providing reliable and low-maintenance cleaning |
Family Cites Families (6)
| Publication number | Priority date | Publication date | Assignee | Title |
|---|---|---|---|---|
| US4875611A (en) * | 1987-12-10 | 1989-10-24 | Xerox Corporation | Roll media feed roll system |
| US5597413A (en) * | 1992-12-07 | 1997-01-28 | Xerox Corporation | Donor brush |
| JP2592694Y2 (en) * | 1993-07-15 | 1999-03-24 | ニッカ株式会社 | Printing machine cylinder cleaning device |
| US20020157205A1 (en) * | 2001-04-27 | 2002-10-31 | Akira Hara | Cylinder cleaning brush unit |
| JP2005001243A (en) * | 2003-06-12 | 2005-01-06 | Baldwin Japan Ltd | Cylinder cleaning liquid supply device, cylinder cleaning brush unit and cylinder cleaning device |
| DE10344115A1 (en) * | 2003-09-24 | 2005-04-21 | Richard Munz | Cleaning device for printing cylinder |
-
2006
- 2006-09-27 DE DE102006046071A patent/DE102006046071B3/en not_active Expired - Fee Related
-
2007
- 2007-09-21 US US11/859,183 patent/US20080087182A1/en not_active Abandoned
- 2007-09-26 DE DE502007004763T patent/DE502007004763D1/en active Active
- 2007-09-26 EP EP07018962A patent/EP1908591B1/en not_active Not-in-force
Patent Citations (5)
| Publication number | Priority date | Publication date | Assignee | Title |
|---|---|---|---|---|
| DE3120983A1 (en) * | 1980-05-28 | 1982-04-29 | Dai Nippon Insatsu K.K., Tokyo | Device for washing the blanket cylinder of a rotary offset press |
| DE3812678A1 (en) * | 1988-04-16 | 1989-10-26 | Heidelberger Druckmasch Ag | DEVICE FOR CLEANING BOW TRANSFER CYLINDERS IN ROTARY PRINTING MACHINES |
| EP0461898A1 (en) * | 1990-06-14 | 1991-12-18 | Baldwin Technology Corporation | Rotating brush cleaner system |
| DE19860854A1 (en) * | 1998-12-31 | 2000-07-06 | Koenig & Bauer Ag | Device for cleaning a roller |
| DE10053322A1 (en) * | 2000-10-27 | 2002-05-08 | Roland Man Druckmasch | Washing device for printer inking machinery comprises a driven helical coil that rotates next to a print cylinder so that it removes excess ink by use of rubber coil on its surface, providing reliable and low-maintenance cleaning |
Also Published As
| Publication number | Publication date |
|---|---|
| DE502007004763D1 (en) | 2010-09-30 |
| US20080087182A1 (en) | 2008-04-17 |
| DE102006046071B3 (en) | 2008-01-24 |
| EP1908591A2 (en) | 2008-04-09 |
| EP1908591B1 (en) | 2010-08-18 |
Similar Documents
| Publication | Publication Date | Title |
|---|---|---|
| DE19830488B4 (en) | Cleaning device for cylinders of printing machines | |
| EP3140441B1 (en) | Device with a drafting device for cleaning roller surfaces of a drafting system device | |
| EP0693378B1 (en) | Apparatus for cleaning cylinders | |
| DE2504009A1 (en) | DEVICE FOR CLEANING ROTATING BRUSHES, IN PARTICULAR TEXTILE MACHINERY | |
| EP4233662A3 (en) | Floor cleaning machine and method for operating a floor cleaning machine | |
| EP1908591A3 (en) | Cleaning device for a rotary printing press | |
| EP1736576A2 (en) | Device for cleaning a combing segment in a combing machine | |
| EP2823746A2 (en) | Cleaning device for the wet cleaning of floor surfaces | |
| DE202015102683U1 (en) | sweeper | |
| DE102010002629A1 (en) | Brush head for cleaning device, particularly vacuum cleaner, comprises rotatably stored roller with radially projecting bristle tufts, which are fixed at roller in rotating manner | |
| DE2722653A1 (en) | Floor cleaning machine for sweeping, polishing and scrubbing - has peripheral roller brush around polishing brush linked with suction nozzle | |
| EP1864810A2 (en) | Cleaning device for printing cylinder surfaces | |
| DE2124085B2 (en) | Cleaning device for rotating cylinders | |
| DE697917C (en) | Rotatable impact body for vacuum cleaner | |
| DE102017118474B4 (en) | Suction device for vacuuming feather dusters, suction arrangement for vacuuming feather dusters and method for vacuuming feather dusters using the suction arrangement | |
| DE164466C (en) | ||
| DE4025202C1 (en) | ||
| DE449525C (en) | Dust sweeper | |
| DE110811C (en) | ||
| DE10003723B4 (en) | Device for processing raw cotton and / or cottonseed | |
| DE474032C (en) | Device on cards with rotating and axially movable cleaning rollers | |
| DE202008009482U1 (en) | hairbrush | |
| DE13930C (en) | Innovation in paper machines | |
| DE106146C (en) | ||
| DE200329C (en) |
Legal Events
| Date | Code | Title | Description |
|---|---|---|---|
| PUAI | Public reference made under article 153(3) epc to a published international application that has entered the european phase |
Free format text: ORIGINAL CODE: 0009012 |
|
| PUAL | Search report despatched |
Free format text: ORIGINAL CODE: 0009013 |
|
| AK | Designated contracting states |
Kind code of ref document: A2 Designated state(s): AT BE BG CH CY CZ DE DK EE ES FI FR GB GR HU IE IS IT LI LT LU LV MC MT NL PL PT RO SE SI SK TR |
|
| AX | Request for extension of the european patent |
Extension state: AL BA HR MK RS |
|
| AK | Designated contracting states |
Kind code of ref document: A3 Designated state(s): AT BE BG CH CY CZ DE DK EE ES FI FR GB GR HU IE IS IT LI LT LU LV MC MT NL PL PT RO SE SI SK TR |
|
| AX | Request for extension of the european patent |
Extension state: AL BA HR MK RS |
|
| 17P | Request for examination filed |
Effective date: 20080515 |
|
| 17Q | First examination report despatched |
Effective date: 20080709 |
|
| AKX | Designation fees paid |
Designated state(s): DE FR GB IT SE |
|
| GRAP | Despatch of communication of intention to grant a patent |
Free format text: ORIGINAL CODE: EPIDOSNIGR1 |
|
| GRAS | Grant fee paid |
Free format text: ORIGINAL CODE: EPIDOSNIGR3 |
|
| GRAA | (expected) grant |
Free format text: ORIGINAL CODE: 0009210 |
|
| AK | Designated contracting states |
Kind code of ref document: B1 Designated state(s): DE FR GB IT SE |
|
| REG | Reference to a national code |
Ref country code: GB Ref legal event code: FG4D Free format text: NOT ENGLISH |
|
| REF | Corresponds to: |
Ref document number: 502007004763 Country of ref document: DE Date of ref document: 20100930 Kind code of ref document: P |
|
| REG | Reference to a national code |
Ref country code: SE Ref legal event code: TRGR |
|
| PGFP | Annual fee paid to national office [announced via postgrant information from national office to epo] |
Ref country code: DE Payment date: 20100928 Year of fee payment: 4 |
|
| PG25 | Lapsed in a contracting state [announced via postgrant information from national office to epo] |
Ref country code: IT Free format text: LAPSE BECAUSE OF FAILURE TO SUBMIT A TRANSLATION OF THE DESCRIPTION OR TO PAY THE FEE WITHIN THE PRESCRIBED TIME-LIMIT Effective date: 20100818 |
|
| PLBE | No opposition filed within time limit |
Free format text: ORIGINAL CODE: 0009261 |
|
| STAA | Information on the status of an ep patent application or granted ep patent |
Free format text: STATUS: NO OPPOSITION FILED WITHIN TIME LIMIT |
|
| 26N | No opposition filed |
Effective date: 20110519 |
|
| REG | Reference to a national code |
Ref country code: DE Ref legal event code: R097 Ref document number: 502007004763 Country of ref document: DE Effective date: 20110519 |
|
| PGFP | Annual fee paid to national office [announced via postgrant information from national office to epo] |
Ref country code: GB Payment date: 20110921 Year of fee payment: 5 Ref country code: SE Payment date: 20110920 Year of fee payment: 5 Ref country code: FR Payment date: 20110908 Year of fee payment: 5 |
|
| PG25 | Lapsed in a contracting state [announced via postgrant information from national office to epo] |
Ref country code: SE Free format text: LAPSE BECAUSE OF NON-PAYMENT OF DUE FEES Effective date: 20120927 |
|
| REG | Reference to a national code |
Ref country code: SE Ref legal event code: EUG |
|
| GBPC | Gb: european patent ceased through non-payment of renewal fee |
Effective date: 20120926 |
|
| REG | Reference to a national code |
Ref country code: FR Ref legal event code: ST Effective date: 20130531 |
|
| PG25 | Lapsed in a contracting state [announced via postgrant information from national office to epo] |
Ref country code: DE Free format text: LAPSE BECAUSE OF NON-PAYMENT OF DUE FEES Effective date: 20130403 Ref country code: GB Free format text: LAPSE BECAUSE OF NON-PAYMENT OF DUE FEES Effective date: 20120926 |
|
| PG25 | Lapsed in a contracting state [announced via postgrant information from national office to epo] |
Ref country code: FR Free format text: LAPSE BECAUSE OF NON-PAYMENT OF DUE FEES Effective date: 20121001 |
|
| REG | Reference to a national code |
Ref country code: DE Ref legal event code: R119 Ref document number: 502007004763 Country of ref document: DE Effective date: 20130403 |
