EP1782955A1 - Verfahren und Vorrichtung zum Freispritzen eines Tintendruckkopfes - Google Patents
Verfahren und Vorrichtung zum Freispritzen eines Tintendruckkopfes Download PDFInfo
- Publication number
- EP1782955A1 EP1782955A1 EP06021927A EP06021927A EP1782955A1 EP 1782955 A1 EP1782955 A1 EP 1782955A1 EP 06021927 A EP06021927 A EP 06021927A EP 06021927 A EP06021927 A EP 06021927A EP 1782955 A1 EP1782955 A1 EP 1782955A1
- Authority
- EP
- European Patent Office
- Prior art keywords
- ink
- print head
- free
- baffle plate
- baffle
- Prior art date
- Legal status (The legal status is an assumption and is not a legal conclusion. Google has not performed a legal analysis and makes no representation as to the accuracy of the status listed.)
- Granted
Links
- 238000000034 method Methods 0.000 title claims abstract description 21
- 238000007639 printing Methods 0.000 claims description 86
- 238000005507 spraying Methods 0.000 claims description 39
- 238000007789 sealing Methods 0.000 claims description 35
- 238000004140 cleaning Methods 0.000 claims description 30
- 238000007641 inkjet printing Methods 0.000 claims description 13
- 239000007921 spray Substances 0.000 claims description 12
- 239000000969 carrier Substances 0.000 claims description 6
- 230000008569 process Effects 0.000 claims description 5
- 230000008021 deposition Effects 0.000 claims description 3
- 238000002347 injection Methods 0.000 abstract description 5
- 239000007924 injection Substances 0.000 abstract description 5
- 239000000976 ink Substances 0.000 description 160
- 125000006850 spacer group Chemical group 0.000 description 8
- XEEYBQQBJWHFJM-UHFFFAOYSA-N Iron Chemical compound [Fe] XEEYBQQBJWHFJM-UHFFFAOYSA-N 0.000 description 6
- 238000010008 shearing Methods 0.000 description 5
- 239000000243 solution Substances 0.000 description 5
- 239000002699 waste material Substances 0.000 description 5
- 230000015572 biosynthetic process Effects 0.000 description 4
- 230000008859 change Effects 0.000 description 4
- 238000001035 drying Methods 0.000 description 4
- 230000005540 biological transmission Effects 0.000 description 3
- 230000000694 effects Effects 0.000 description 3
- 239000011888 foil Substances 0.000 description 3
- 229910052742 iron Inorganic materials 0.000 description 3
- VVQNEPGJFQJSBK-UHFFFAOYSA-N Methyl methacrylate Chemical compound COC(=O)C(C)=C VVQNEPGJFQJSBK-UHFFFAOYSA-N 0.000 description 2
- 229920005372 Plexiglas® Polymers 0.000 description 2
- 230000001154 acute effect Effects 0.000 description 2
- 230000000295 complement effect Effects 0.000 description 2
- 238000009826 distribution Methods 0.000 description 2
- 239000000463 material Substances 0.000 description 2
- 238000012545 processing Methods 0.000 description 2
- 230000002035 prolonged effect Effects 0.000 description 2
- 239000006096 absorbing agent Substances 0.000 description 1
- 230000009471 action Effects 0.000 description 1
- 230000001464 adherent effect Effects 0.000 description 1
- 238000005452 bending Methods 0.000 description 1
- 238000011109 contamination Methods 0.000 description 1
- 238000005520 cutting process Methods 0.000 description 1
- 238000013461 design Methods 0.000 description 1
- 238000011161 development Methods 0.000 description 1
- 230000018109 developmental process Effects 0.000 description 1
- 230000007613 environmental effect Effects 0.000 description 1
- 238000012423 maintenance Methods 0.000 description 1
- 238000004519 manufacturing process Methods 0.000 description 1
- 230000007246 mechanism Effects 0.000 description 1
- 239000002184 metal Substances 0.000 description 1
- 229910052751 metal Inorganic materials 0.000 description 1
- 238000000465 moulding Methods 0.000 description 1
- 239000002689 soil Substances 0.000 description 1
- 238000012549 training Methods 0.000 description 1
Images
Classifications
-
- B—PERFORMING OPERATIONS; TRANSPORTING
- B41—PRINTING; LINING MACHINES; TYPEWRITERS; STAMPS
- B41J—TYPEWRITERS; SELECTIVE PRINTING MECHANISMS, i.e. MECHANISMS PRINTING OTHERWISE THAN FROM A FORME; CORRECTION OF TYPOGRAPHICAL ERRORS
- B41J2/00—Typewriters or selective printing mechanisms characterised by the printing or marking process for which they are designed
- B41J2/005—Typewriters or selective printing mechanisms characterised by the printing or marking process for which they are designed characterised by bringing liquid or particles selectively into contact with a printing material
- B41J2/01—Ink jet
- B41J2/17—Ink jet characterised by ink handling
- B41J2/1721—Collecting waste ink; Collectors therefor
- B41J2/1742—Open waste ink collectors, e.g. ink receiving from a print head above the collector during borderless printing
-
- B—PERFORMING OPERATIONS; TRANSPORTING
- B41—PRINTING; LINING MACHINES; TYPEWRITERS; STAMPS
- B41J—TYPEWRITERS; SELECTIVE PRINTING MECHANISMS, i.e. MECHANISMS PRINTING OTHERWISE THAN FROM A FORME; CORRECTION OF TYPOGRAPHICAL ERRORS
- B41J2/00—Typewriters or selective printing mechanisms characterised by the printing or marking process for which they are designed
- B41J2/005—Typewriters or selective printing mechanisms characterised by the printing or marking process for which they are designed characterised by bringing liquid or particles selectively into contact with a printing material
- B41J2/01—Ink jet
- B41J2/135—Nozzles
- B41J2/165—Prevention or detection of nozzle clogging, e.g. cleaning, capping or moistening for nozzles
- B41J2/16505—Caps, spittoons or covers for cleaning or preventing drying out
- B41J2/16508—Caps, spittoons or covers for cleaning or preventing drying out connected with the printer frame
-
- G—PHYSICS
- G07—CHECKING-DEVICES
- G07B—TICKET-ISSUING APPARATUS; FARE-REGISTERING APPARATUS; FRANKING APPARATUS
- G07B17/00—Franking apparatus
- G07B17/00459—Details relating to mailpieces in a franking system
- G07B17/00508—Printing or attaching on mailpieces
-
- G—PHYSICS
- G07—CHECKING-DEVICES
- G07B—TICKET-ISSUING APPARATUS; FARE-REGISTERING APPARATUS; FRANKING APPARATUS
- G07B17/00—Franking apparatus
- G07B17/00459—Details relating to mailpieces in a franking system
- G07B17/00508—Printing or attaching on mailpieces
- G07B2017/00516—Details of printing apparatus
- G07B2017/00524—Printheads
- G07B2017/00532—Inkjet
-
- G—PHYSICS
- G07—CHECKING-DEVICES
- G07B—TICKET-ISSUING APPARATUS; FARE-REGISTERING APPARATUS; FRANKING APPARATUS
- G07B17/00—Franking apparatus
- G07B17/00459—Details relating to mailpieces in a franking system
- G07B17/00508—Printing or attaching on mailpieces
- G07B2017/00516—Details of printing apparatus
- G07B2017/00556—Ensuring quality of print
Definitions
- the invention relates to a method and apparatus for the free spraying of an ink jet print head of an ink printing system, in particular in a franking and / or addressing machine or in a mail processing system.
- franking machines with inkjet printheads are known, see EP 0 696 509 B1 and US 5,806,994 in which the letters are transported horizontally and the nozzle surfaces are arranged parallel thereto. With these machines, the nozzles that are little or unused during printing are sprayed free as long as there is no letter in front of the print head. The ink consumption is reduced in this way.
- the mail transport device is provided with corresponding recesses and arranged below the same a collecting container for the sprayed ink.
- this solution is only suitable for the transport of horizontally lying letters.
- franking machines of the type Jetmail ® of the manufacturer Francotyp Postalia GmbH are known in which the print carrier or mail pieces upright, inclined for stability reasons beyond the vertical, are transported by means of a conveyor belt, see DE 196 05 014 C1 and DE 197 57 653 C2 .
- a mail piece for example a filled envelope, lies behind a transparent plate on a guide plate, in which a printing window is provided and in which the ink print head is stationarily arranged.
- the envelope is passed past the printing window or the ink jet print head and printed on the side facing away from the viewer while.
- ink printhead cleaning and sealing is achieved by means of a device for cleaning an ink jet print head, see EP 0 799 135 B1 in which the ink jet print head is alternatively fastened from a printing position into a cleaning position and / or sealing position and pivoted back again, and the cleaning and sealing device is arranged to be linearly adjustable, toward and away from the ink jet print head.
- a device for positioning an ink jet print head and a cleaning and sealing device is known, see DE 197 26 642 C1 in which for the adjustment of the ink jet print head and the cleaning and sealing device, a common transmission is provided, which is driven by a motor which runs only in one direction of rotation.
- the inkjet print head, the cleaning and sealing device and the common gearbox together with the motor are mounted in a common frame and thus combined to form a compact module.
- This assembly is in turn adjustably attached to the transport device.
- the inkjet print head can be swiveled from the print position into the cleaning position and back again by more than 90 °.
- the cleaning and sealing device is arranged vertically adjustable in height below the ink print head and docked during the cleaning process to the downwardly tilted ink jet print head. It is therefore also the procedure for free spraying.
- An ink service station consisting of a container with a sword and a resilient plate on which adherent ink can form stalagmites until the latter severed the latter.
- the resilient plate can break off at the pivot point and therefore has only a short life.
- Undefined shearing of a stalagmite does not ensure that the sheared sticky ink residue falls into the sump. They may also adhere unpleasantly near the free-spray position or at the stalagmite residue and then cause the above-mentioned problems.
- shearing / cutting off the stalagmites with a shearing edge moving relative to the ink sump would soil the shearing edge.
- the sump can be moved relative to the shear edge, but the sheared and initially loosely adhered to the shear edge stalagmite material is difficult to control in its later movement. Therefore, it is possible for this material to be stray in the machine and sooner or later fall to a location where it contacts and contaminates the printhead nozzles. The effect worsens when the drying behavior of the ink residue is only vaguely known or variable, such as changing environmental conditions or use of different inks, as well as the transport of the machine.
- a collection system for waste ink is from the US 2003/0052940 A1 and includes a rotatable disc in the form of a saucer, which receives the ejected from the printhead during free spraying ink residues and then rotated further. On the disc forms a waste ink layer, which is distributed very unevenly.
- the invention has for its object to provide a method and apparatus for the free spraying of an ink jet print head in a printing device, which has a long maintenance free life and despite a very common in general free spraying, the above-mentioned disadvantages of the known solutions "shearing" or In particular, the waste ink generated during the free-spraying process should be distributed more evenly.
- a printing device in particular in a franking and / or addressing machine or in a mail processing system, in which the print carriers or mail pieces are transported past a fixed during printing ink jet print head and wherein the ink jet print head is arranged behind a guide plate stationary pivotally, and with the print carrier or mail piece transport should be as little as possible contaminated.
- the object is achieved according to claim 1, with a method for relatively moving a baffle in a flat space or in a plane parallel to the nozzle surface of the at least one ink print head during the free spraying, wherein during the free spraying ejected from the ink print head ink droplets by a rapid rotational movement of a Disc or a baffle element are deflected in their movement.
- the object is also achieved with a device according to claim 10. It is envisaged that the baffle element is driven by a first drive and performs a rapid movement about an axis for the distribution of ink droplets.
- waste ink droplets are deflected so that the deposition takes place over a larger area than would be the case with direct spraying on an obstacle or in a drip pan.
- the deposition can be done on an impact obstacle and an air-flow filter element or large-scale environment.
- the at least one ink jet print head is moved to a marginally displaced position during the free spouting, before or after.
- the ink jet print head and the impact element are freely movable relative to each other until a free spray position is reached near the printing position.
- the impact element In connection with the free spraying, the impact element is moved relative to at least one ink print head in a plane parallel to the nozzle surface of the at least one ink print head.
- the baffle is moved during the free-spraying to prevent stalagmite height growth. It is also possible to move both the impact element and the at least one ink print head during the free-spraying.
- a baffle plate is provided with a baffle which is moved rapidly during the free-spraying, the movement being effected by a first drive and a second drive, the ink-jet module receiving and the Baffle slowly moved.
- a movable baffle element is a plate or disc which is rotatably mounted on the baffle plate and driven by the first drive. At the same time, the marginal space near the printing position is optimally utilized.
- a franking machine usually has a transport device for transporting print carriers on the front side.
- the transport of edge-standing print carriers or mail items takes place from left to right while at least one ink print head is firmly positioned in a print position.
- franking machines of the type Jetmail® from the manufacturer Francotyp Postatlia GmbH are out DE 196 05 014 C1 and DE 197 57 653 C2 known in which the print carrier or mailpieces are conveyed by means of a conveyor belt.
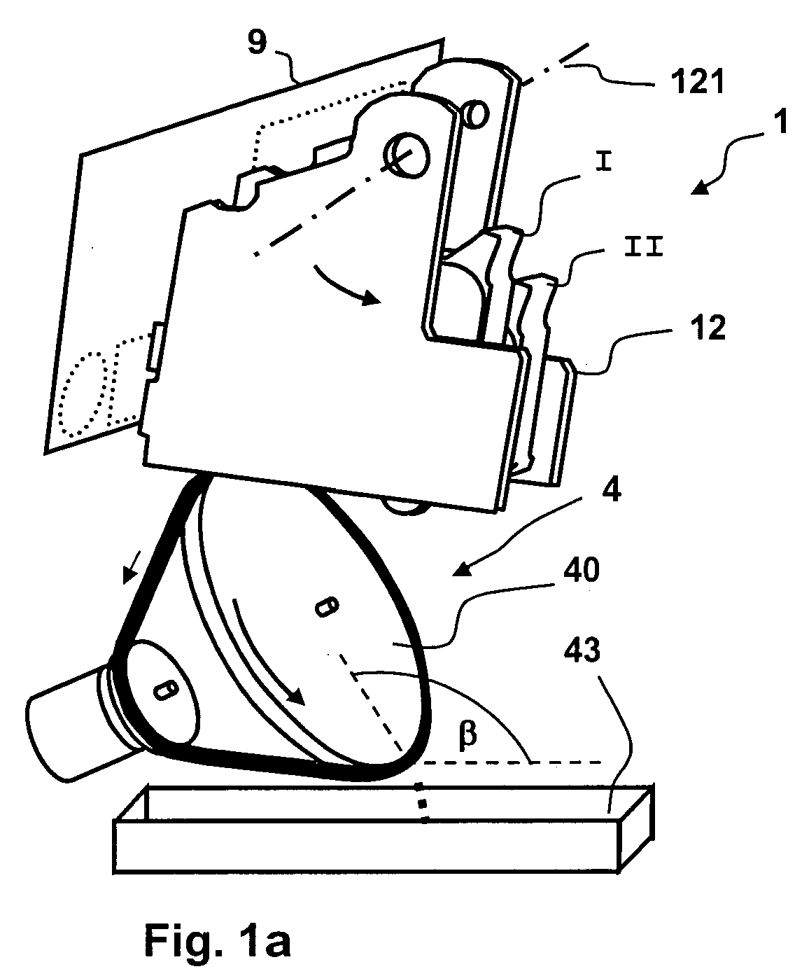
- FIG. 1a shows a perspective view of an ink printing system 1 from the right rear top of a printing module receptacle 12 with two ink jet print heads in the printing position, according to a first embodiment.
- the illustration is partially schematized for simplicity and ease of understanding, ie, the transport device, chassis, frame and housing were not shown.
- the nozzle area of the inkjet print heads lies parallel to the surface of a mail piece 9 to be printed.
- Each of the two inkjet printing heads is installed, for example, in a postal printing module I or II.
- Such postal printing modules include an ink tank and an additional memory chip. Details on the structure of such postal printing modules and their control are the DE 100 36 345 B4 removable. If, according to FIG.
- an ink printing system 1 with a printing module receptacle 12 has been shown for two printing modules I, II, a modified printing module receptacle can also be used for only one printing module 11 or several of the printing modules.
- the pressure module receptacle 12 is rotatably mounted about an axis of rotation 121 and can be pivoted from the printing position shown to other positions.
- a movable baffle element 4 is arranged between the pressure module receiving 12 and the ink sump 43.
- the movable baffle element according to the first embodiment, a disc 40 which is mounted centrally. The disk 40 is located on a secant, which rotates about the axis of rotation 121 on the one hand and on the other hand, the ink sump 133 intersects at an obtuse angle ⁇ .
- FIG. 1b shows a perspective view of an ink printing system 1 from the rear right on top of a printing module receptacle 12 with two ink-jet printheads in free-spray position.
- the free-spray position is located not far from the printing position, so that only a small rotation of the printing module receptacle 12 is required. As a result, the free-spray position near the printing position can be reached much faster than a free-spray position near or in the cleaning and sealing station. If the printing module receptacle 12 is pivoted into the spray-free position not far from the printing position, then the disk 40 is arranged approximately parallel to the nozzle surface of the inkjet printing heads 110, 120 (shown by dashed lines).
- the relative to the printing position resulting complementary acute angle ⁇ corresponds to the angle of rotation about the rotation axis 121 upon rotation in the spray-free position.
- the disc 40 is rotatably mounted about a shaft 41 and is driven by a motor 5.
- the motor 5 acts with its drive pulley 6 indirectly via a belt 7 on the disc 4, which moves in the direction of rotation (arrow). From a certain rotational speed, the ink drops are thrown off by centrifugal forces. The ink drops closest to the shaft 41 splash onto the disk 40 and spiral into a direction continuing from the shaft 41 to the outer edge of the disk.
- the free spraying is done every time to a different location of the disc.
- the critical stalagmite formation is avoided despite very low height. There are no undefined stray stubborn stalagmites left in the machine. The remnants of ink are bound in a thin layer on the disk and at its edge so that they do not interfere with the operation of the inkjet print heads.
- the motor 5 with its drive pulley 6 act directly on the disc 40 via a friction effect of a friction lining or an external toothing. At the outer edges of the disc 40 and the drive pulley 6 corresponding friction linings are applied thereto or the disc 40 and the drive pulley 6 are made with an external toothing. A belt can then be omitted.
- a variant is used, wherein the motor 5 of the first drive is mechanically connected directly to the axle shaft 41 of the disc 40, which will be explained with reference to the figures 3a, 3b, 4a, 4b and 8b.
- the print module holder 12 is again rotatably mounted about an axis of rotation 121 and can be pivoted from the print position shown to other positions. Between the pressure module receptacle 12 and the ink sump 43, a movable baffle element 4 is again arranged.
- FIG. 2b shows a perspective view of an ink printing system 1 on a printing module receptacle 12 with two inkjet printing heads in the spray-free position, according to the second embodiment with horizontal transport lying mail pieces.
- the disk 40 is again rotatable and arranged approximately parallel to the nozzle surface of the ink jet print heads and is driven by a motor 5.
- the complementary acute angle ⁇ which results in relation to the printing position corresponds to the angle of rotation about the axis of rotation 121 when rotating into the spray-free position.
- alternative drive mechanisms should not be ruled out in order to generate the rotational movement of the disc 40.
- FIG. 3a shows a side view with a cross section through a baffle element 4 * according to a third embodiment.
- a front edge 13201 * and a rear edge 13202 * of a baffle plate are bent into the illustrated orthogonal position to baffle bottom 1320 *. Further existing right and left side wings of the baffle plate are not shown due to the cross section.
- a rotor 134 * is arranged centrally, which is designed to accommodate ink drops as a hub 1340 *, from which at least two mutually opposite blades 1341 * and 1345 * orthogonal rise.
- a motor 13294 * is on the side facing away from the ink jet print heads of the baffle plate bottom 1320 * attached and has a shaft 13295 *, which protrudes through an opening, not shown in the baffle plate bottom 1320 * and is mechanically non-positively and positively connected to the rotor 134 *.
- Fig. 3b the plan view of the baffle element 4 * is shown according to the third embodiment.
- the left side rocker 13207 * of the baffle plate and the right side rocker 13206 * of the baffle plate are shown cut and fixed on the baffle plate bottom 1320 * together connected.
- the baffle bottom 1320 * is also bounded by the front and rear edges 13201 * and 13202 * of the baffle.
- the turntable 1340 * has the blades 1341 * to 1348 *.
- FIG. 4a shows a side view with a cross section through a baffle element 4 'according to a fourth embodiment.
- a rotor 134' is centrally arranged, which is designed for swirling of ink splashes as impeller.
- an opening 13200' is incorporated, which serves for the discharge of air with swirling ink or ink. The ink is caught by an ink sump 43 '.
- FIG. 4b shows a plan view of a baffle element 4 'according to the fourth embodiment, wherein the baffle element 4' has an impeller-shaped rotor 134 'with a plurality of vanes.
- the embodiment of the baffle 4, 4 *, 4 'and in particular of the rotor 134 may be different from the embodiments shown when commercial fans are used with a flat design and a speed of 800 to 8000 revolutions per minute.
- the effect of centrifugal force on an ink droplet depends on its physical parameters (mass, viscosity, drying time) and can be increased by increasing the number of revolutions. Since different inks are used in franking machines for ink-jet printing, a suitable number of revolutions must be empirically determined and set.
- the meter manufacturer recommends the use of certain inks for the user's convenience.
- Each fan generates an airflow. As a result, quantities of ink in the air are swirled and deposited elsewhere, for example on an edge of the impact element.
- FIG. 5a shows a perspective view of the frame of an ink printing system with cleaning and sealing device from the rear left top, according to the third, fourth and a preferred fifth embodiment.
- a cleaning and sealing device 13 for ink jet print heads 110, 120 not shown
- An ink print head and an ink tank are each a part of an ink printing module (11 not shown).
- the upper part of the frame 10 is shown without the internally mountable means for receiving two ink pressure modules I and II.
- a first wall plate 101 on the left in the frame 10 and a second wall plate 102 in the middle of the frame 10 are screwed together by spacers 104, 105.
- the second wall plate 102 in the middle of the frame 10 is screwed via spacers 106, 107 at a smaller distance with a third wall plate 103 on the right in the frame 10.
- the first wall plate 101 carries centrally in the upper part a pin 1013 protruding to the left for fastening a tension spring 1322.
- the first wall plate 101 has a borehole 1011 for a pivot 1321 and a circular arc-shaped elongated hole 1010 for a rubber sleeve 1324.
- a fixing pin 13221 of the baffle plate 132 (not visible), which is rotatably mounted in the borehole 1011 with its pivot 1321.
- the tension spring 1322 is mounted with both ends on the pin 1013 and on the fixing pin.
- the frame 10 is fixed to a - not shown - chassis via fastening means 14, consisting of a detachable Switzerland Glance 140 and two pull bars 141 and 142.
- the detachable Switzerland choir 140 for two pull bars 141 and 142 extends on the rack rear side with the pins 1401th or 1402 over the first wall plate 101 and third wall plate 103 addition to the tie bars 141 and 142, which rest on the outside of the wall plates 101 and 103 loosely and are rotatably mounted at one end on one of the pins.
- the cleaning and sealing device 13 in the lower part of the frame 10 includes means which are mounted on a carriage 137.
- the carriage 137 is arranged in a second slot 1012 of the first wall plate on the left of the frame and - not visible - in a third slot of the second wall plate in the middle of the frame and linearly displaceable. Both slots extend on the respective wall panels from the back of the rack down to at least the center of the frame. It is explained below with reference to FIG. 10 that the carriage 137 is displaced obliquely upward from the starting position shown in FIGS. 5, 8 and 9 to the center of the frame 10 so that the two inkjet printing heads are in a spray-free position at a sealing station of the cleaning and sealing device 13 abut.
- For cleaning and sealing device 13 includes the above-mentioned but not visible baffle plate 132nd
- Fig. 5b is a perspective view of an ink printing system from the left rear top, shown with the rear wall of the housing.
- the above-mentioned frame 10 is positively secured to a chassis (not visible). Parallelism between the transport direction and the print lines is achieved.
- the chassis carries a transport device 2 comparable to the Jetmail® franking machine, which is not visibly driven by a motor located at the bottom of the right-hand side of the ink printing system.
- at least one ink printhead is stationarily but pivotally mounted behind a guide plate having a print window (not visible). In the print position, the at least one ink print head is positioned in the print window.
- a spray-free position is arranged as close to the printing position, so that the time duration for the process of the at least one ink jet print head in the free spray position or back to the printing position is the shortest compared to the other positions.
- a microprocessor control is arranged on the left side of the ink printing system.
- the ink printing system is, for example, a postage meter equipped with a plexiglass plate 25 for touch protection and with a guide plate 22 for mailpieces which are inclined beyond the vertical, so that the mail pieces abut against the guide plate 22.
- FIG. 6 shows a perspective view of a baffle plate 132 and its arrangement on the first wall plate 101 of the frame according to the preferred embodiment, from the rear right above.
- a hole 1014 is arranged, which is intended for receiving a pin.
- a hole in the first wall plate 101 is arranged, which is intended for rotatably receiving a left pivot 1321 of a left side rocker 13207 of the baffle plate.
- a right side rocker 13206 of the baffle plate and the left side rocker 13207 of the baffle plate are firmly connected to one another via a baffle plate bottom 1320.
- a turntable 1329 is centrally arranged, which is designed for receiving and ejection of ink splashes by centrifugal forces.
- Fig. 7 is an exploded perspective view of the baffle plate, a tension spring and its attachment to the baffle plate, according to the preferred embodiment shown from the rear right above, wherein the frame has been omitted.
- all parts are formed from a piece of sheet metal, thereby bending the aforesaid side wings 13206 and 13207 and a front edge 13201 and the rear edge 13202 of the orthogonal position to the baffle bottom 1320.
- the right side rocker 13206 of the baffle and the left side rocker 13207 of the baffle have pivots 1327 or 1221 at the pivot point of the wings on.
- the wings are bummerangartige moldings with an inwardly curved contour that can serve as a backdrop.
- An upwardly facing edge of the left side rocker 13207 of the baffle serves as a leading edge 1323.
- a hole 13208 is provided in the left side rocker for the attachment pin 13221.
- the hole 13208 is near the middle of one half of the rocker, which is closest to the axis of rotation.
- the fastening pin 13221 is used to attach one end of the tension spring 1322.
- the perspective view of the tension spring 1322 and its attachment to the baffle plate is shown blasted.
- To attach the mounting pin 13221 on the leg of the left rocker 13207 is a thread in the hole 13208.
- the mounting pin 13221 is enveloped by a plugged rubber sleeve 1324, which acts to dampen noise when the baffle plate 132 reaches an end position.
- FIG. 8 a shows a vertical cross section through the ink pressure system with a side view from the left onto an ink-jet module receptacle with two ink-jet printheads in a spray-free position on the baffle plate.
- the first wall panel has been omitted in FIG. 8a for the sake of better illustration of the details.
- the ink pressure module receptacle 12 is designed to receive at least one ink pressure module 11.
- An ink printing module 11 has at least an ink tank and an ink jet print head.
- ink printing modules 11 for example, 1 ⁇ 2 inch ink cartridges from Hewlett Packart are suitable, which are equipped by Francotyp-Postalia GmbH with an additional memory chip.
- the ink pressure module receptacle 12 is arranged pivotably above the cleaning and sealing device 13 in the frame 10 about a rotation axis 121.
- a first stop 126 on the second wall panel 102 is reached by the ink pressure module receptacle 12 in the printing position.
- the ink-jet module receptacle 12 with two ink-printing modules 11 can be pivoted from the printing position into the spray-free position shown or into another position. Another position is, for example, a - not shown - Change position in which the ink pressure module receptacle 12 by more than 90 ° backwards and is pivoted. Only in the change position, the ink pressure modules 11 are interchangeable.
- the ink-jet module receptacle 12 To move the ink-jet module receptacle 12 into the change position, a longest time is needed relative to the other positions until the ink-pressure module receptacle 12 reaches a stop 127.
- the further stop 127 on the second wall sheet 102 of the frame 10 is arranged adjustable and lockable and is taken as the outermost position after the cleaning area.
- the movement space of the ink pressure module receptacle 12 lies within the interior of the frame 10 which is bounded laterally by the spacers 104, 105 for wall panels and downwards through the ink sump 133.
- the inkjet printing heads 110, 120 are concealed by the baffle plate 132 and are therefore shown in sections in FIG. 8b ,
- FIG. 8b shows a detail of the side view of the baffle plate according to the preferred embodiment.
- the baffle plate 132 is shown cut open.
- the movable impact element is a plate-shaped disk 1329 which is mounted centrally on the baffle plate bottom 1320. It is arranged so that the free spraying of the inkjet printing heads 110, 120 takes place near the edge of the disk.
- the axis of rotation 13295 of the motor 13294 of the first drive serves as a shaft for the plate-shaped disc 1329. It is envisaged that the disc also - not shown - interruptions (holes, slots) has to produce an air flow.
- the plate-shaped disc 1329 is rapidly rotated at least 800 revolutions per minute while free-spraying occurs.
- the method of ink ink module recording 12 from the printing position in the spray-free position on the baffle plate is a shortest Time required compared to the time required to reach one of the other positions.
- FIG. 9 shows a vertical cross section through the ink printing system with a side view from the left onto an ink print module receptacle 12 with two ink print heads in print position.
- the first wall panel has also been omitted in FIG. 9a for the sake of better illustration of the details.
- the ink printing system 1 has an ink print module receptacle 12 which can be pivoted in the frame 10.
- a rotary encoder 125 is connected to a microprocessor control (not shown).
- the transmission of the ink pressure module receptacle 12 is driven by a servomotor 124.
- the baffle plate 132 is rotatably mounted by means of pivot pins 1321 and 1327.
- a wheel 122 is rotatably mounted and on a side rocker of the baffle plate 132 is a leading edge 1323 is formed.
- the baffle plate 132 is connected to the frame 10 via a tension spring 1322, which biases the baffle plate 132, whereby the wheel 122 frictionally rests against the leading edge 1323.
- a fixing pin 13221 is mounted, which is connected to one end of the tension spring 1322.
- the wheel 122, the leading edge 1323 and the tension spring 1322 form a slotted guide for the baffle plate 132.
- the leading edge 1323 is formed on the left side rocker of the baffle plate 132.
- FIG. 10 is a vertical cross section through the ink printing system with side view from the left on an ink print module recording with two ink jet print heads in sealing position at the sealing station is Darge.
- the first wall panel was also omitted in FIG. 10 for the sake of better illustration of the details.
- the ink pressure module receptacle 12 is arranged between the first and second wall plate 102 of the frame and pivotable about the rotation axis 121. The latter lies above the rear spacers 104, 106 and near and above the (concealed) front spacers.
- the cleaning and sealing device 13 and a correspondingly adapted impact element are arranged below the ink pressure module receptacle 12.
- the cleaning and sealing device 13 is arranged vertically adjustable in the frame. Serve in particular between the rear end of the ink sump 133 and the aforementioned front spacers oblique longitudinal holes in the first and second wall panel 102 and an obliquely upward from the frame back bottom up to the middle of the wall panels of the frame movable carriage 137.
- the baffle plate 132 is due to over the Switzerlandstifft 13221 acting tension spring 1322 is rotated about the pivot 1321, 1327 and again assumes a same position, as in the free-spray position.
- the ink sump 133 below the cleaning and sealing device 13 is designed as a drawer.
- the ink pressure module receptacle with two ink pressure modules I, II motor driven and microprocessor-controlled either in a printing position, a spray-free position on the baffle or in different cleaning areas and in a sealing position is pivotable, with a predetermined height of the entire ink pressure system could be met.
- the baffle element can be used advantageously both in embodiments of the ink printing system with vertical and horizontal transport of print carriers or mail pieces and in different variants. Partial features of the variants can be suitably combined in variants used, which should not be executed individually.
- both the at least one inkjet print head and the impact element are moved into a minimally offset position during the free spraying, before or afterward.
- the servo motor 124 is controlled by the microprocessor control so that the baffle plate 132 is moved by adjusting the ink pressure module receptacle 12 by means of the second drive, that by means of the first drive, the plate-shaped disc 1329 is rapidly rotated during the free spraying and that also Wave of the servomotor 124 is moved further during the free spraying, so that the ink jet print heads are moved in the spray-free position relative to the baffle plate on. If, therefore, the inkjet printing heads are moved further by approximately 0.5 to 2 cm relative to the baffle plate, the useful life can be increased, for example, in comparison with the aforementioned first, second, third, fourth and fifth variants.
Landscapes
- Engineering & Computer Science (AREA)
- Computer Security & Cryptography (AREA)
- Physics & Mathematics (AREA)
- General Physics & Mathematics (AREA)
- Ink Jet (AREA)
- Application Of Or Painting With Fluid Materials (AREA)
Abstract
Description
- Die Erfindung betrifft ein Verfahren und Vorrichtung zum Freispritzen eines Tintendruckkopfes eines Tintendrucksystems, insbesondere in einer Frankier- und/oder Adressiermaschine oder in einem Postbearbeitungssystem.
- Einerseits sind Frankiermaschinen mit Tintenstrahl-Druckköpfen bekannt, siehe
EP 0 696 509 B1 undUS 5 806 994 , bei denen die Briefe waagerecht liegend transportiert werden und die Düsenflächen parallel dazu angeordnet sind. Bei diesen Maschinen werden die beim Druck wenig oder nicht benutzten Düsen freigespritzt, solange kein Brief vor dem Druckkopf vorliegt. Der Tintenverbrauch wird auf diese Weise reduziert. Die Brieftransporteinrichtung ist mit entsprechenden Ausnehmungen versehen und unterhalb derselben ein Auffangbehälter für die freigespritzte Tinte angeordnet. Allerdings ist diese Lösung nur für den Transport von waagerechten liegenden Briefen geeignet. - Andererseits sind auch Frankiermaschinen vom Typ Jetmail ® der Herstellerin Francotyp Postalia GmbH bekannt, bei der die Druckträger beziehungsweise Poststücke hochkant, aus Stabilitätsgründen über die Vertikale hinaus geneigt, mit Hilfe eines Transportbandes befördert werden, siehe hierzu
DE 196 05 014 C1 undDE 197 57 653 C2 . Ein Poststück, zum Beispiel ein gefülltes Briefkuvert liegt dabei hinter einer Klarsichtplatte an einer Führungsplatte an, in der ein Druckfenster vorgesehen und in welchem der Tintendruckkopf stationär angeordnet ist. Das Briefkuvert wird an dem Druckfenster beziehungsweise dem Tintendruckkopf vorbeigeführt und währenddessen auf der vom Betrachter abgewandten Seite bedruckt. - Das Problem der Tintendruckkopfreinigung und -abdichtung wird hierbei mittels einer Vorrichtung zur Reinigung eines Tintendruckkopfes gelöst, siehe
EP 0 799 135 B1 , bei der der Tintendruckkopf alternativ aus einer Druckposition in eine Reinigungsposition und/oder Dichtposition und wieder zurück schwenkbar befestigt ist und die Reinigungs- und Dichtvorrichtung linear verstellbar, auf den Tintendruckkopf zu und von diesem wieder weg, angeordnet ist. - Ergänzend dazu ist eine Vorrichtung zur Positionierung eines Tintendruckkopfes und einer Reinigungs- und Dichtvorrichtung bekannt, siehe
DE 197 26 642 C1 , bei der für die Verstellung des Tintendruckkopfes und der Reinigungs- und Dichtvorrichtung ein gemeinsames Getriebe vorgesehen ist, das von einem Motor angetrieben wird, der nur in einer Drehrichtung läuft. Der Tintendruckkopf, die Reinigungs- und Dichtvorrichtung und das gemeinsame Getriebe nebst Motor sind in einem gemeinsamen Rahmen befestigt und so zu einer kompakten Baugruppe zusammengefasst. Diese Baugruppe ist wiederum justierbar an der Transporteinrichtung befestigt. Der Tintendruckkopf ist aus der Druckposition in die Reinigungsposition und wieder zurück um mehr als 90° schwenkbar. Die Reinigungs- und Dichtvorrichtung ist unterhalb des Tintendruckkopfes linear höhenverstellbar angeordnet und während des Reinigungsvorganges an den nach unten geschwenkten Tintendruckkopf angedockt. Es wird demzufolge auch beim Freispritzen so verfahren. - Aus der
deutschen Offenlegungsschrift DE 10062012 A1 ist bereits eine Aufnahme für mindestens einen Tintendruckkopf bekannt, die drehbeweglich um eine Drehachse angeordnet ist, die parallel zur Transportrichtung von Poststücken liegt, und die motorangetrieben und mikroprozessorgesteuert wahlweise mindestens in eine Druckposition und eine Serviceposition schwenkbar ist. Eine Serviceposition an einer Dichtstation wird nach längeren Druckpausen u.a. zum Freispritzen angefahren. Nachteilig ist nicht nur ein zu langer Verfahrweg. Mit den vorstehend beschriebenen Lösungen ist der Poststücktransport während des Reinigungsprozesses unterbrochen. Wenn also ein Tintendruckkopf aus der Druckposition in die Reinigungsposition und wieder zurück um mehr als 90° geschwenkt werden muss, dann erfordert das eine gewisse Verstellzeit, in welcher weder frankiert noch freigespritzt werden kann. Bei einem Freispritzen in der Druckposition während des Transportes des Briefkuvertes würde entweder letzteres oder die Brieftransporteinrichtung, Klarsichtplatte und das Transportband merkbar verschmutzt werden. - Es wurde bereits im
US 6.481.827 B2 vorgeschlagen, das Gehäuse der Druckvorrichtung zur Aufnahme von Tintenspritzern entsprechend mit Tintenabsorbern auszubilden, um die Verschmutzung einzuschränken.
Bei schnell trocknenden Tinten tritt ein weiteres Problem auf. Beim Freispritzen von Tinte in ein Gehäuseteil bildet die eintrocknende Tinte nach kurzer Zeit Berge bzw. Stalagmiten aus, welchen den Düsen gegenüber liegen. Diese Stalagmiten können nach einiger Zeit bis zu den Düsen emporragen und somit weiteres Freispritzen verhindern bzw. einen Düsenausfall beim Freispritzen herbeiführen, wenn Düsen mit eingetrockneter Tinte kontaminiert werden. Ausfall der Maschine ist die Folge. - Es wurde bereits eine besondere Ausbildung eines Tintensumpfes im
US 6.644.778 B2 vorgeschlagen. Aber nur ein hinreichend tiefer Sumpf funktioniert im Prinzip gut. Leider ist eine solche Lösung bei einer aus Platzgründen reduzierten Höhe des Tintensumpfes nicht einsetzbar. - Aus der
US 6.322.196 B1 ist eine Tinten-Service-Station, bestehend aus einem Behälter mit einem Schwert und einer federnden Platte bekannt, auf welche anhaftende Tinte Stalagmiten bilden kann, bis das Schwert letzteren durchtrennt. Die federnde Platte kann am Angelpunkt abbrechen und hat deshalb nur eine geringe Lebensdauer. Beim undefinierten Abscheren eines Stalagmitens ist nicht sichergestellt, dass die abgescherten klebrigen Tintenreste in den Sumpf fallen. Sie können auch ungeplant nahe der Freispritzposition oder am Stalagmitenrest anhaften und dann die o.g. Probleme verursachen. Auch ein Abscheren/abschneiden der Stalagmiten mit einer Abscherkante, die sich relativ zum Tintensumpf bewegt, würde die Abscherkante verschmutzen. Alternativ kann der Sumpf relativ zur Abscherkante bewegt werden, jedoch das abgescherte und zunächst lose an der Abscherkante anhaftende Stalagmitenmaterial ist schwer in seiner späteren Bewegung zu kontrollieren. Deshalb ist es möglich, dass dieses Material in der Maschine vagabundiert und früher oder später an eine Stelle fällt, wo es mit den Druckkopfdüsen in Kontakt kommt und diese kontaminiert. Der Effekt verschlimmert sich, wenn das Trocknungsverhalten der Tintenreste nur ungenau bekannt oder variabel ist, etwa bei wechselnden Umweltbedingungen oder Verwendung unterschiedlicher Tinten, sowie beim Transport der Maschine. - Ein Sammelsystem für Abfalltinte ist aus der
US 2003/0052940 A1 bekannt und beinhaltet eine drehbare Scheibe in Form einer Untertasse, welche die vom Druckkopf beim Freispritzen ausgestoßenen Tintenreste aufnimmt und dann weiter gedreht wird. Auf der Scheibe bildet sich eine Abfalltintenschicht, welche sehr ungleichmäßig verteilt ist. - Der Erfindung liegt die Aufgabe zugrunde, ein Verfahren und eine Vorrichtung zum Freispritzen eines Tintendruckkopfes in einer Druckvorrichtung zu schaffen, die eine lange wartungsfreie Lebensdauer aufweist und die trotz eines in der Summe sehr häufigen Freispritzens, die oben genannten Nachteile der bekannten Lösungen "Abscheren" bzw. "tiefer Tintensumpf' vermeidet. Insbesondere soll die während des Freispritzens anfallende Abfalltinte gleichmäßiger verteilt werden.
- In einer Druckvorrichtung, insbesondere in einer Frankier- und/oder Adressiermaschine oder in einem Postbearbeitungssystem, in der die Druckträger bzw. Poststücke an einem während des Druckens feststehenden Tintendruckkopf vorbei transportiert werden und wobei der Tintendruckkopf hinter einer Führungsplatte stationär schwenkbar angeordnet ist, und mit der neben den üblichen Funktionen, wie Wischen und Abdichten, auch ein Freispritzen während des Transports der Druckträger bzw. Poststücke möglich ist, soll die Druckträger- bzw. Poststücktransporteinrichtung möglichst wenig verschmutzt werden.
- Die Aufgabe wird nach Anspruch 1 gelöst, mit einem Verfahren zum relativen Bewegen eines Prallelementes in einem flachen Raum oder in einer Ebene parallel zur Düsenfläche des mindestens einen Tintendruckkopfes während des Freispritzens, wobei während des Freispritzens die von dem Tintendruckkopf ausgestossenen Tintentropfen durch eine schnelle Drehbewegung einer Scheibe oder eines Prallelementes in ihrer Bewegung umgelenkt werden. Die Aufgabe wird außerdem mit einer Vorrichtung gemäß dem Anspruch 10 gelöst. Es ist vorgesehen, dass das Prallelement durch einen ersten Antrieb angetrieben wird und eine schnelle Bewegung um eine Achse zur Verteilung von Tintentröpfchen ausführt.
- Damit beim Freispritzen nicht ständig an derselben Stelle Abfalltinte auftrifft, sondern an einer Mehrzahl von Stellen, werden Abfalltintentropfen so umgelenkt, dass die Ablagerung großflächiger erfolgt, als dies bei direktem Spritzen auf ein Hindernis oder in eine Auffangwanne der Fall wäre.
- Hierdurch wird eine Stalagmitenbildung verhindert. Die Ablagerung kann auf einem Prallhindernis und einem luftdurchströmten Filterelement oder großräumig im Umfeld erfolgen.
- Ein Tintensumpf bzw. ein Gestell wird mit einem beweglichen Prallelement ausgerüstet, welches eine schnelldrehende Scheibe aufweist, auf welche in einer Freispritzposition Tinte freigespritzt wird. Der Erfindung liegen dabei folgende Überlegungen zugrunde:
- 1) Wenn ein Motor eine Tintenprallscheibe rasch dreht, dann wird
- a) auftreffende Tinte infolge Zentrifugalkraft nach außen weggeschleudert,
- b) die Auftreffpunkte der Tinte auf mehrere Stellen der Scheibe verteilt. Beides verhindert Stalagmitenbildung.
- 2) Wenn die angetriebene Scheibe auch noch Unterbrechungen (Löcher, Schlitze) aufweist - insbesondere kann es sich um einen handelsüblichen Lüfter handeln, auf dessen Propellerschaufeln die Tinte gespritzt wird - bildet sich eine Verteilung der Auftreffpunkte an mehreren Orten. Die Tintentröpfchen werden durch Zentrifugalkräfte weggeschleudert.
- 3) Nicht auf den Schaufeln des Lüfters auftreffende Tintenmengen werden in der Lüft verwirbelt und anderswo abgelagert, beispielsweise auf einem Rand des Prallelements
- Der mindestens eine Tintendruckkopf wird während des Freispritzens, davor oder danach in eine marginal verschobene Position bewegt. Durch die Vorrichtung zum Freispritzen eines Tintendruckkopfes in einer Druckvorrichtung sind der Tintendruckkopf und das Prallelement relativ zueinander frei bewegbar, bis eine Freispritzposition nahe der Druckposition erreicht ist.
- In Verbindung mit dem Freispritzen wird das Prallelement relativ zu mindestens einem Tintendruckkopf in einer Ebene parallel zur Düsenfläche des mindestens einen Tintendruckkopfes bewegt. Das Prallelement wird während des Freispritzens bewegt, um das Stalagmiten-Höhenwachstum zu verhindern. Es kann auch ein Bewegen beider, des Prallelements und des mindestens einen Tintendruckkopfes während des Freispritzens erfolgen.
- Es ist vorgesehen, dass ein Prallblech mit einem Prallelement ausgestattet ist, welches während des Freispritzens schnell bewegt wird, wobei die Bewegung durch einen ersten Antrieb bewirkt wird und wobei ein zweiter Antrieb, die Tintendruckmodulaufnahme und das Prallblech langsam bewegt. Es ist weiterhin vorgesehen, dass ein bewegliche Prallelement ein Teller oder eine Scheibe ist, die auf dem Prallblech drehbarer montiert ist und durch den ersten Antrieb angetrieben wird. Dabei wird der marginal vorhandene Platz nahe der Druckposition optimal ausgenutzt.
- Vorteilhafte Weiterbildungen der Erfindung sind in den Unteransprüchen gekennzeichnet bzw. werden nachstehend zusammen mit der Beschreibung der bevorzugten Ausführung der Erfindung anhand der Figuren näher dargestellt. Es zeigen:
- Fig. 1a,
- perspektivische Ansicht eines Tintendrucksystems von rechts hinten oben auf eine Druckmodulaufnahme mit zwei Tintendruckköpfen in Druckposition, nach der ersten Ausführungsform,
- Fig. 1b,
- perspektivische Ansicht eines Tintendrucksystems von rechts hinten oben auf eine Druckmodulaufnahme mit zwei Tintendruckköpfen in Freispritzposition, nach der ersten Ausführungsform,
- Fig. 2a,
- perspektivische Ansicht eines Tintendrucksystems auf eine Tintendruckmodulaufnahme mit zwei Tintendruckköpfen in Druckposition, nach einer zweiten Ausführungsform,
- Fig. 2b,
- perspektivische Ansicht eines Tintendrucksystems auf eine Tintendruckmodulaufnahme mit zwei Tintendruckköpfen in Freispritzposition, nach der zweiten Ausführungsform,
- Fig. 3a,
- Seitenansicht mit Querschnitt durch ein Prallelement 4 nach einer dritten Ausführungsform,
- Fig. 3b,
- Draufsicht auf ein Prallelement 4 der dritten Ausführungsform,
- Fig. 4a,
- Seitenansicht mit Querschnitt durch ein Prallelement 4 nach einer vierten Ausführungsform,
- Fig. 4b,
- Draufsicht auf ein Prallelement 4 der vierten Ausführungsform,
- Fig. 5a,
- perspektivische Ansicht des Gestells eines Tintendrucksystems mit Reinigungs- und Dichtvorrichtung von hinten links oben, nach der dritten, vierten und einer bevorzugten fünften Ausführungsform,
- Fig. 5b,
- perspektivische Ansicht eines Tintendrucksystems von hinten links oben, mit geöffneter Gehäuserückwand,
- Fig. 6,
- perspektivische Ansicht eines Prallbleches und dessen Anordnung am ersten Wandblech des Gestells, nach der bevorzugten Ausführungsform von hinten rechts oben,
- Fig. 7,
- gesprengte perspektivische Ansicht des Prallbleches, der Zugfeder und deren Befestigung am Prallblech, nach der bevorzugten Ausführungsform von hinten rechts oben,
- Fig. 8a,
- vertikaler Querschnitt durch das Tintendrucksystem mit Seitenansicht von links auf eine Tintendruckmodulaufnahme mit zwei Tintendruckköpfen in Freispritzposition am Prallblech,
- Fig. 8b,
- Detail der Seitenansicht des Prallbleches nach der bevorzugten Ausführungsform,
- Fig. 9,
- vertikaler Querschnitt durch das Tintendrucksystem mit Seitenansicht von links auf eine Tintendruckmodulaufnahme mit zwei Tintendruckköpfen in Druckposition,
- Fig. 10,
- vertikaler Querschnitt durch das Tintendrucksystem mit Seitenansicht von links auf eine Tintendruckmodulaufnahme mit zwei Tintendruckköpfen in Dichtposition an der Dichtstation.
- Eine Druck- bzw. Frankiermaschine hat gewöhnlich eine Transportvorrichtung zum Transport von Druckträgern an der Vorderseite. Beispielsweise erfolgt der Transport von auf der Kante stehenden Druckträgern bzw. Poststücken von links nach rechts während mindestens ein Tintendruckkopf in einer Druckposition fest positioniert ist. Hierzu sind Frankiermaschinen vom Typ Jetmail ® der Herstellerin Francotyp Postatlia GmbH aus
DE 196 05 014 C1 undDE 197 57 653 C2 bekannt, bei denen die Druckträger beziehungsweise Poststücke mit Hilfe eines Transportbandes befördert werden. - Die Fig. 1a zeigt eine perspektivische Ansicht eines Tinten-Drucksystems 1 von rechts hinten oben auf eine Druckmodulaufnahme 12 mit zwei Tintendruckköpfen in Druckposition, nach einer ersten Ausführungsform. Die Darstellung ist zur Vereinfachung und zum leichteren Verständnis teilweise schematisiert ausgeführt, d.h. die Transportvorrichtung, Chassis, Gestell und Gehäuse wurden nicht dargestellt. Die Düsenfläche der Tintendruckköpfe liegt bei der ersten Ausführungsform parallel zur zu bedruckenden Oberfläche eines Poststückes 9.
Jeder der beiden Tintendruckköpfe ist zum Beispiel in ein postalisches Druckmodul I bzw. II eingebaut. Derartige postalische Druckmodule enthalten einen Tintentank und einen zusätzlichen Speicherchip. Details zum Aufbau von solchen postalischen Druckmodule und deren Ansteuerung sind demDE 100 36 345 B4 entnehmbar.
Wenn auch gemäß Fig. 1a ein Tintendrucksystem 1 mit einer Druckmodulaufnahme 12 für zwei Druckmodule I, II gezeigt wurde, so kann ebenso eine modifizierte Druckmodulaufnahme für nur einen Druckmodul 11 oder mehrere der Druckmodule eingesetzt werden. Die Druckmodulaufnahme 12 ist um eine Drehachse 121 drehbar gelagert und kann von der gezeigten Druckposition in andere Positionen geschwenkt werden. Zwischen der Druckmodulaufnahme 12 und dem Tintensumpf 43 ist ein bewegliches Prallelement 4 angeordnet. Das bewegliche Prallelement ist nach der ersten Ausführungsform eine Scheibe 40, die mittig gelagert ist. Die Scheibe 40 liegt auf einer Sekante, welche den Drehkreis um die Drehachse 121 einerseits und andererseits den Tintensumpf 133 in einem stumpfen Winkel β schneidet. - Die Fig. 1b zeigt eine perspektivische Ansicht eines Tinten-Drucksystems 1 von rechts hinten oben auf eine Druckmodulaufnahme 12 mit zwei Tintendruckköpfen in Freispritzpostition. Die Freispritzpostition ist unweit der Druckposition gelegen, so dass dafür nur eine geringe Drehung der Druckmodulaufnahme 12 erforderlich ist. Dadurch ist die Freispritzpostition unweit der Druckposition viel schneller erreichbar, als eine Freispritzpostition nahe bzw. in der Reinigungs- und Dichtstation. Befindet sich die Druckmodulaufnahme 12 in die Freispritzpostition unweit der Druckposition geschwenkt, dann ist die Scheibe 40 annähernd parallel zur Düsenfläche der Tintendruckköpfe 110, 120 (gestrichelt gezeichnet) angeordnet. Der sich gegenüber der Druckposition ergebende komplementäre spitze Winkel α entspricht dem Drehwinkel um die Drehachse 121 bei Drehung in die Freispritzpostition. Die Scheibe 40 ist um eine Welle 41 drehbar gelagert und wird durch einen Motor 5 angetrieben. Der Motor 5 wirkt mit seiner Antriebsscheibe 6 indirekt über einen Riemen 7 auf die Scheibe 4 ein, welche sich in Drehrichtung (Pfeil) bewegt. Ab einer bestimmten Drehgeschwindigkeit werden die Tintentropfen durch Zentrifugalkräfte weggeschleudert. Die der Welle 41 am nächsten kommenden Tintentropfen spritzen auf die Scheibe 40 und verlaufen spiralförmig in eine von der Welle 41 zum Aussenrand der Scheibe fortführenden Richtung. Außerdem erfolgt das Freispritzen jedesmal auf eine andere Stelle der Scheibe. Durch das Verteilen der Tinte auf die Vielzahl von Stellen auf der Scheibe wird trotz sehr geringer Bauhöhe die kritische Stalagmitenbildung vermieden. Es gibt keine undefiniert in der Maschine vagabundierenden klebrigen abgescherten Stalagmitenreste. Die Tintenreste sind in einer dünnen Schicht auf der Scheibe und an deren Rand gebunden, so dass sie den Betrieb der Tintendruckköpfe nicht stören.
- Alternativ kann der Motor 5 mit seiner Antriebsscheibe 6 direkt über eine Reibwirkung eines Reibbelages oder über eine äußere Verzahnung auf die Scheibe 40 einwirken. An den Aussenrändern der Scheibe 40 und der Antriebsscheibe 6 sind dazu entsprechende Reibbeläge aufgebracht oder die Scheibe 40 und die Antriebsscheibe 6 werden mit einer äußeren Verzahnung hergestellt. Ein Riemen kann dann entfallen.
Vorzugweise wird eine Variante eingesetzt, wobei der Motor 5 des ersten Antriebes direkt mit der Achswelle 41 der Scheibe 40 mechanisch verbunden ist, was anhand der Figuren 3a, 3b, 4a, 4b und 8b noch erläutert wird. - Die Fig. 2a zeigt eine perspektivische Ansicht eines Tintendrucksystems 1 auf eine Druckmodulaufnahme 12 mit zwei Tintendruckköpfen in Druckposition, nach einer zweiten Ausführungsform mit horizontalem Transport von Druckträgern bzw. Poststücken 9. Wie bei der ersten ist auch bei der zweiten Ausführungsform die Scheibe 40 drehbar gelagert und wird durch einen Motor 5 angetrieben. Die Tintendruckköpfe weisen jeweils eine Düsenfläche 111 auf und sind wieder in den Druckmodulen I, II enthalten. Letztere weisen jeweils eine Kontaktfläche 112 auf, welche mit - nicht dargestellen - Kontakten in der Druckmodulaufnahme 12 in Kontakt treten, wenn die Druckmodule I, II in die Druckmodulaufnahme 12 eingesetzt werden. Die Düsenfläche der Tintendruckköpfe liegt auch bei der zweiten Ausführungsform wieder parallel zur Oberfläche eines Poststückes 9. Die Druckmodulaufnahme 12 ist wieder um eine Drehachse 121 drehbar gelagert und kann von der gezeigten Druckposition in andere Positionen geschwenkt werden. Zwischen der Druckmodulaufnahme 12 und dem Tintensumpf 43 ist wieder ein bewegliches Prallelement 4 angeordnet.
- Die Fig. 2b zeigt eine perspektivische Ansicht eines Tintendrucksystems 1 auf eine Druckmodulaufnahme 12 mit zwei Tintendruckköpfen in Freispritzposition, nach der zweiten Ausführungsform mit horizontalem Transport liegender Poststücke. Die Scheibe 40 ist wieder drehbar und annähernd parallel zur Düsenfläche der Tintendruckköpfe angeordnet und wird durch einen Motor 5 angetrieben. Der sich gegenüber der Druckposition ergebende komplementäre spitze Winkel γ entspricht dem Drehwinkel um die Drehachse 121 bei Drehung in die Freispritzpostition. Dabei sollen wieder auch alternative Antriebsmechanismen nicht ausgeschlossen werden, um die Drehbewegung der Scheibe 40 zu erzeugen.
- Die Fig. 3a zeigt eine Seitenansicht mit Querschnitt durch ein Prallelement 4* nach einer dritten Ausführungsform. Ein vorderer Rand 13201* sowie ein hinterer Rand 13202* eines Prallblechs sind in die gezeigte orthogonale Stellung zum Prallblechboden 1320* gebogen. Weiterhin vorhandene rechte und linke Seitenschwingen des Prallblechs sind aufgrund des Querschnittes nicht dargestellt. Auf dem Prall blech boden 1320* ist mittig ein Rotor 134* angeordnet, der zur Aufnahme von Tintenspritzern als Drehscheibe 1340* ausgebildet ist, aus welcher mindestens zwei zueinander gegenüberliegende Flügelblätter 1341* und 1345* orthogonal aufragen. Vorzugweise kommen vier Flügelblätter 1341*, 1343*, 1345* und 1347* und maximal acht Flügelblätter zum Einsatz, wobei die zusätzlichen 1342*, 1344*, 1346* und 1348* gestrichelt gezeichnet wurden. Ein Motor 13294* ist auf der den Tintenstrahldruckköpfen abgewandten Seite des Prallblechbodens 1320* befestigt und hat eine Welle 13295*, welche durch eine nicht gezeigte Öffnung im Prallblechboden 1320* hindurchragt und mit dem Rotor 134* mechanisch kraft- und formschlüssig verbunden ist.
- In der Fig. 3b ist die Draufsicht auf das Prallelement 4* nach der dritten Ausführungsform gezeigt. Die linke Seitenschwinge 13207* des Prallblechs und die rechte Seitenschwinge 13206* des Prallblechs sind geschnitten dargestellt und über den Prallblechboden 1320* fest miteinander verbunden. Der Prallblechboden 1320* wird außerdem durch den vorderen und hinteren Rand 13201* und 13202* des Prallblechs begrenzt. Die Drehscheibe 1340* weist die Flügelblätter 1341* bis 1348* auf.
- Die Fig. 4a zeigt eine Seitenansicht mit Querschnitt durch ein Prallelement 4' nach einer vierten Ausführungsform. Auf dem Prallblechboden 1320' ist mittig ein Rotor 134' angeordnet, der zur Verwirbelung von Tintenspritzern als Flügelrad ausgebildet ist. Im hinteren Rand 13202' des Prallblechs ist eine Öffnung 13200' eingearbeitet, welche zur Abführung von Luft mit verwirbelten Tintenspritzern bzw. von Tinte dient. Die Tinte wird von einem Tintensumpf 43' aufgefangen.
- Die Fig. 4b zeigt eine Draufsicht auf ein Prallelement 4' nach der vierten Ausführungsform, wobei das Prallelement 4' einen als Flügelrad ausgeformten Rotor 134' mit einer Vielzahl an Flügeln aufweist.
- Die Ausführungsform des Prallelements 4, 4*, 4' und insbesondere des Rotors 134 kann unterschiedlich von den gezeigten Ausführungsformen sein, wenn handelsübliche Lüfter mit einer flachen Bauform und einer Drehzahl von 800 bis 8000 Umdrehungen pro Minute eingesetzt werden. Die Wirkung der Fliehkraft auf einen Tintentropfen ist von dessen physikalischen Parametern (Masse, Viskosität, Antrocknungszeit) abhängig und kann durch Erhöhung der Umdrehungszahl vergrößert werden. Da unterschiedliche Tinten in Frankiermaschinen zum Tintenstrahldrucken eingesetzt werden, muß eine geeignete Umdrehungszahl empirisch bestimmt und eingestellt werden. Vom Frankiermaschinenhersteller wird die Verwendung von bestimmten Tinten zum Gebrauch beim Benutzer empfohlen. Jeder Lüfter erzeugt einen Luftstrom. Dadurch werden auch Tintenmengen in der Lüft verwirbelt und an anderer Stelle abgelagert, beispielsweise auf einem Rand des Prallelements.
- Die Fig. 5a zeigt eine perspektivische Ansicht des Gestells eines Tintendrucksystems mit Reinigungs- und Dichtvorrichtung von hinten links oben, nach der dritten, vierten und einer bevorzugten fünften Ausführungsform. Im unteren Teil des Gestells ist eine Reinigungs- und Dichtvorrichtung 13 für Tintendruckköpfe (110, 120 nicht gezeigt) eingebaut. Ein Tintendruckkopf und ein Tintentank sind jeweils ein Bestandteil eines Tintendruckmoduls (11 nicht gezeigt).
Der obere Teil des Gestells 10 ist ohne die innen einbaubaren Mittel zur Aufnahme zweier Tintendruckmodule I und II dargestellt. Ein erstes Wandblech 101 links im Gestell 10 und ein zweites Wandblech 102 in der Mitte des Gestells 10 sind über Abstandstücke 104, 105 miteinander verschraubt. Das zweite Wandblech 102 in der Mitte des Gestells 10 ist über Abstandstücke 106, 107 in einem kleinerem Abstand mit einem dritten Wandblech 103 rechts im Gestell 10 verschraubt. Das erste Wandblech 101 trägt mittig im oberen Teil einen nach links außen ragenden Zapfen 1013 zur Befestigung einer Zugfeder 1322. Das erste Wandblech 101 weist ein Bohrloch 1011 für einen Drehzapfen 1321 und ein kreisbogenteilförmiges Langloch 1010 für eine Gummihülse 1324 auf. In der Gummihülse 1324 steckt ein Befestigungsstift 13221 des Prallblechs 132 (nicht sichtbar), welches mit seinem Drehzapfen 1321 im Bohrloch 1011 drehbar gelagert ist. Die Zugfeder 1322 ist mit beiden Enden am Zapfen 1013 und am Befestigungsstift eingehängt.
Das Gestell 10 wird an einem - nicht gezeigten - Chassis über Befestigungsmittel 14 befestigt, bestehend aus einem lösbaren Zugstück 140 und zwei Zugeisen 141 bzw. 142. Das lösbare Zugstück 140 für zwei Zugeisen 141 bzw. 142 erstreckt sich auf der Gestellrückseite mit den Zapfen 1401 bzw. 1402 über das erste Wandblech 101 bzw. dritte Wandblech 103 hinaus bis zu den Zugeisen 141 bzw. 142, die auf der Außenseite der Wandbleche 101 bzw. 103 lose anliegen und an einem Ende je auf einem der Zapfen drehbar befestigt sind. Zur drehbaren Lagerung kommt beispielsweise je ein Loch am Ende des Zugeisens 141 bzw. 142 für die Zapfen 1401 bzw. 1402 und zur Befestigung je eine Sicherungsscheibe 1410 bzw. 1420 (nicht sichtbar) an den Zapfen zum Einsatz. An dem anderen Ende der Zugeisen 141 bzw. 142 ist jeweils ein Haken 1411 bzw. 1421 ausgebildet, der jeweils in eine Öse des Chassis (nicht gezeigt) einhaken kann. Eine Feststellschraube 109 in der Mitte des lösbaren Zugstücks 140 erlaubt ein leichteres Festziehen des Gestells 10 am Chassis beim Befestigen.
Zur Reinigungs- und Dichtvorrichtung 13 im unteren Teil des Gestells 10 gehören Mittel, welche auf einem Schlitten 137 befestigt sind. Der Schlitten 137 ist in einem zweiten Langloch 1012 des ersten Wandblechs links des Gestells und - nicht sichtbar - in einem dritten Langloch des zweiten Wandblechs in der Mitte des Gestells angeordnet und geradlinig verschiebbar. Beide Langlöcher erstrecken sich auf den jeweiligen Wandblechen von der Gestellrückseite unten bis wenigstens zur Gestellmitte. Anhand der Figur 10 wird nachfolgend erläutert, dass der Schlitten 137 von der in den Figuren 5, 8 und 9 gezeigten Ausgangsposition schräg nach oben bis zur Mitte des Gestells 10 verschoben wird, damit die zwei Tintendruckköpfe in Freispritzposition an einer Dichtstation der Reinigungs- und Dichtvorrichtung 13 anliegen. Zur Reinigungs- und Dichtvorrichtung 13 gehört das oben genannte aber nicht sichtbare Prallblech 132. - In der Fig. 5b ist eine perspektivische Ansicht eines Tintendrucksystems von hinten links oben, mit geöffneter Gehäuserückwand dargestellt. Das o.g. Gestell 10 ist formschlüssig an einem Chassis (nicht sichtbar) befestigt. Dabei wird Parallelität zwischen Transportrichtung und den Druckzeilen erreicht. Das Chassis trägt eine mit der Frankiermaschine Jetmail® vergleichbare Transporteinrichtung 2, die nicht sichtbar von einem auf der rechten Seite des Tintendrucksystems in Bodennahe angeordneten Motor angetrieben wird. Im Gestell 10 ist mindestens ein Tintendruckkopf stationär aber schwenkbar hinter einer Führungsplatte angeordnet, welche ein Druckfenster aufweist (nicht sichtbar). In der Druckposition ist der mindestens eine Tintendruckkopf im Druckfenster positioniert. Eine Freispritzposition ist so nahe der Druckposition angeordnet ist, so dass die Zeitdauer für das Verfahren des mindestens einen Tintendruckkopfes in die Freispritzposition bzw. wieder zurück in die Druckposition gegenüber den anderen Positionen am kürzesten ist. Auf der linken Seite des Tintendrucksystems ist eine Mikroprozessorsteuerung angeordnet. Das Tintendrucksystem ist zum Beispiel eine Frankiermaschine, die mit einer Plexiglasplatte 25 zum Berührungsschutz und mit einer Führungsplatte 22 für Poststücke ausgestattet ist, welche über die Vertikale hinaus geneigt sind, so dass die Poststücke an der Führungsplatte 22 anliegen.
- In der Fig. 6 ist eine perspektivische Ansicht eines Prallbleches 132 und dessen Anordnung am ersten Wandblech 101 des Gestells nach der bevorzugten Ausführungsform von hinten rechts oben dargestellt.
Im ersten Wandblech 101 ist ein Loch 1014 angeordnet, welches zur Aufnahme eines Zapfens bestimmt ist. Außerdem ist - nicht sichtbar - ein Loch im ersten Wandblech 101 angeordnet, welches zur drehbaren Aufnahme eines linken Drehzapfens 1321 einer linken Seitenschwinge 13207 des Prallblechs bestimmt ist. Eine rechte Seitenschwinge 13206 des Prallblechs und die linke Seitenschwinge 13207 des Prallblechs sind über einen Prallblechboden 1320 fest miteinander verbunden. Auf dem Prallblechboden 1320 ist mittig ein Drehteller 1329 angeordnet, der zur Aufnahme und zum Wegschleudern von Tintenspritzern durch Zentrifugalkräfte ausgebildet ist. - In der Fig. 7 ist eine gesprengte perspektivische Ansicht des Prallbleches, einer Zugfeder und deren Befestigung am Prallblech, nach der bevorzugten Ausführungsform von hinten rechts oben dargestellt, wobei das Gestell weggelassen wurde. Beispielsweise werden bei der Herstellung des Prallbleches 132 alle Teile aus einem Blechstück geformt und dabei die vorgenannten Seitenschwingen 13206 und 13207 und ein vorderer Rand 13201 sowie der hintere Rand 13202 des in die gezeigte orthogonale Stellung zum Prallblechboden 1320 gebogen. Die rechte Seitenschwinge 13206 des Prallblechs und die linke Seitenschwinge 13207 des Prallblechs weisen Drehzapfen 1327 bzw. 1221 am Drehpunkt der Schwingen auf. Die Schwingen sind bummerangartige Formteile mit einer nach innen gewölbten Kontur, die als Kulisse dienen kann. Eine nach oben weisenden Kante der linken Seitenschwinge 13207 des Prallblechs dient als Führungskante 1323. Ein Loch 13208 ist in der linken Seitenschwinge für den Befestigungsstift 13221 vorgesehen. Das Loch 13208 liegt nahe der Mitte der einen Hälfte der Schwinge, die der Drehachse am nächsten ist. Der Befestigungsstift 13221 dient zur Befestigung eines Endes der Zugfeder 1322. Die perspektivische Ansicht der Zugfeder 1322 und deren Befestigung am Prallblech ist abgesprengt dargestellt. Zur Befestigung des Befestigungsstiftes 13221 am Schenkel der linken Schwinge 13207 dient ein Gewinde im Loch 13208. Der Befestigungsstift 13221 ist von einer aufgesteckten Gummihülse 1324 umhüllt, welche geräuschdämpfend wirkt, wenn das Prallblech 132 in eine Endstellung gelangt.
- In Fig. 8a ist ein vertikaler Querschnitt durch das Tintendrucksystem mit Seitenansicht von links auf eine Tintendruckmodulaufnahme mit zwei Tintendruckköpfen in Freispritzposition am Prallblech dargestellt. Das erste Wandblech wurde in der Figur 8a aus Gründen der besseren Darstellung der Details weggelassen. Die Tintendruckmodulaufnahme 12 ist zur Aufnahme mindestens eines Tintendruckmoduls 11 ausgebildet. Ein Tintendruckmodul 11 hat mindestens einen Tintentank und einen Tintendruckkopf. Als Tintendruckmodule 11 sind zum Beispiel ½ Zoll-Tintenkartuschen der Firma Hewlett Packart geeignet, welche von Francotyp-Postalia GmbH mit einem zusätzlichen Speicherchip ausgestattet werden. Die Tintendruckmodulaufnahme 12 ist oberhalb der Reinigungs- und Dichtvorrichtung 13 im Rahmen 10 um eine Drehachse 121 schwenkbar angeordnet. Ein erster Anschlag 126 am zweiten Wandblech 102 wird von der Tintendruckmodulaufnahme 12 in der Druckposition erreicht. Die Tintendruckmodulaufnahme 12 mit zwei Tintendruckmodulen 11 ist aus der Druckposition in die dargestellte Freispritzposition oder in eine andere Positionen schwenkbar. Eine andere Position ist zum Beispiel eine - nicht gezeigte - Wechselposition, in der die Tintendruckmodulaufnahme 12 um mehr als 90° nach hinten oben und verschwenkt ist. Nur in der Wechselposition sind die Tintendruckmodule 11 austauschbar. Zum Verfahren der Tintendruckmodulaufnahme 12 in die Wechselposition wird relativ gegenüber den anderen Positionen eine längste Zeitdauer benötigt bis die Tintendruckmodulaufnahme 12 an einen Anschlag 127 gelangt. Der weitere Anschlag 127 am zweiten Wand blech 102 des Gestells 10 ist justierbar und feststellbar angeordnet und wird als äußerste Position nach dem Reinigungsbereich eingenommen. Der Bewegungsraum der Tintendruckmodulaufnahme 12 liegt innerhalb des durch die Abstandstücke 104, 105 für Wandbleche seitlich und durch den Tintensumpf 133 nach unten begrenzten Innenraumes des Gestells 10. Die Tintendruckköpfe 110, 120 werden durch das Prallblech 132 verdeckt und deshalb ausschnittsweise in der Fig. 8b dargestellt.
- In Fig. 8b ist ein Detail der Seitenansicht des Prallbleches nach der bevorzugten Ausführungsform dargestellt. Das Prallblech 132 ist aufgeschnitten gezeichnet. Das bewegliche Prallelement ist eine tellerförmige Scheibe 1329, die auf dem Prallblechboden 1320 mittig gelagert ist. Sie ist so angeordnet, dass das Freispritzen der Tintendruckköpfe 110, 120 nahe dem Rand der Scheibe erfolgt. Die Drehachse 13295 des Motors 13294 des ersten Antriebes dient als Welle für die tellerförmige Scheibe 1329. Es ist vorgesehen, dass die Scheibe auch noch - nicht gezeigte - Unterbrechungen (Löcher, Schlitze) aufweist, um einen Luftstrom zu erzeugen. Die tellerförmige Scheibe 1329 wird mindestens 800 Umdrehungen pro Minute schnell gedreht während ein Freispritzen erfolgt. Durch das Verteilen der Tinte auf die Vielzahl von Stellen auf der Scheibe wird trotz einer sehr geringen Bauhöhe die kritische Stalagmitenbildung vermieden. Es gibt keine undefiniert in der Maschine vagabundierenden klebrigen abgescherten Stalagmitenreste. Die Tintenreste sind wohldefiniert ortsfest und so dünn, dass sie nicht stören. Vorteilhaft wird zum Verfahren der Tintendruckmodulaufnahme 12 von der Druckposition in die Freispritzposition am Prallblech eine kürzeste Zeitdauer benötigt, gegenüber denjenigen Zeitdauer, welche zum Erreichen einer der anderen Positionen erforderlich ist.
- In Fig. 9 ist ein vertikaler Querschnitt durch das Tintendrucksystem mit Seitenansicht von links auf eine Tintendruckmodulaufnahme 12 mit zwei Tintendruckköpfen in Druckposition dargestellt. Das erste Wandblech wurde ebenfalls in der Figur 9a aus Gründen der besseren Darstellung der Details weggelassen. Das Tintendrucksystem 1 weist eine im Gestell 10 schwenkbare Tintendruckmodulaufnahme 12 auf. Für die Verstellung der Tintendruckmodulaufnahme 12 ist mindestens ein Stellmotor 124 sowie zur Rückmeldung ist ein Drehgeber 125 mit einer Mikroprozessorsteuerung verbunden (nicht gezeigt). Zur Einstellung der unterschiedlichen Funktionspositionen sind in - nicht gezeigter Weise - je ein Getriebe für die Tintendruckmodulaufnahme 12 mit den zwei Tintendruckmodulen 11 und für die Reinigungs- und Dichtvorrichtung 13 zwischen dem zweiten und dritten Wandblech 103 des Gestells 10 vorgesehen. Das Getriebe der Tintendruckmodulaufnahme 12 wird von einem Stellmotor 124 angetrieben. Am ersten Wandblech (nicht gezeigt) und am zweiten Wandblech 102 wird das Prallblech 132 mittels Drehzapfen 1321 und 1327 drehbar befestigt. An der Tintendruckmodulaufnahme 12 ist ein Rad 122 drehbar befestigt und an einer Seitenschwinge des Prallblechs 132 ist eine Führungskante 1323 angeformt ist. Das Prallblech 132 ist mit dem Gestell 10 über eine Zugfeder 1322 verbunden, welche das Prallblech 132 vorspannt, wodurch das Rad 122 kraftschlüssig an der Führungskante 1323 anliegt. Am Prallblech 132 ist ein Befestigungsstift 13221 montiert, der mit einem Ende der Zugfeder 1322 verbunden ist. Das Rad 122, die Führungskante 1323 und die Zugfeder 1322 bilden eine Kulissenführung für das Prallblech 132. Vorzugsweise wird die Führungskante 1323 auf der linken Seitenschwinge des Prallblechs 132 ausgebildet. Durch die Bewegung der Tintendruckmodulaufnahme 12 werden die Tintendruckköpfe in die Druckposition geschwenkt und das Prallblech 132 abgesenkt. Das geschieht entgegen der Wirkung der Zugfeder 1322, wobei das an der Tintendruckmodulaufnahme 12 montierte Rad 122 mit einer Führungskante 1323 der linken Seitenschwinge des Prallblechs 132 in Eingriff steht und zum frei schwingenden Ende der Schwinge verfahren wird, bis der Befestigungsstift 13221 an einen oberen Anschlag im Langloch 1010 gelangt, was in der Figur 5 dargestellt ist. Ein Einschub 1331 ist unterhalb der Reinigungs- und Dichtvorrichtung 13 für die Aufnahme eines Vlieses 13311 vorgesehen.
- In Fig. 10 ist ein vertikaler Querschnitt durch das Tintendrucksystem mit Seitenansicht von links auf eine Tintendruckmodulaufnahme mit zwei Tintendruckköpfen in Dichtposition an der Dichtstation darge-stellt. Zwischen dem ersten und zweiten Wandblech 102 des Gestells und zwischen dem zweiten und dritten Wandblech 103 des Gestells sind hintere Abstandsstücke 106, 104 angeordnet. Das erste Wandblech wurde aus Gründen der besseren Darstellung der Details ebenfalls auch in der Figur 10 weggelassen. Die Tintendruckmodulaufnahme 12 ist zwischen dem ersten und zweiten Wandblech 102 des Gestells angeordnet und um die Drehachse 121 schwenkbar. Letztere liegt oberhalb der hinteren Abstandsstücke 104, 106 und nahe und oberhalb der (verdeckten) vorderen Abstandsstücke. Es ist vorgesehen, dass die Reinigungs- und Dichtvorrichtung 13 sowie ein entsprechend angepasstes Prallelement, vorzugsweise ein Prallblech 132 mit einer tellerförmigen Scheibe 1329, unterhalb der Tintendruckmodulaufnahme 12 angeordnet sind. Die Reinigungs- und Dichtvorrichtung 13 ist im Rahmen höhenverstellbar angeordnet. Dazu dienen insbesondere zwischen dem hinteren Endes des Tintensumpfes 133 und den vorgenannten vorderen Abstandsstücken schräg verlaufende Längslöcher im ersten und zweiten Wandblech 102 und ein von der Gestellrückseite unten schräg nach oben zur Mitte der Wandbleche des Gestells verfahrbarer Schlitten 137. Das Prallblech 132 wird aufgrund der über den Befestigungsstifft 13221 einwirkenden Zugfeder 1322 um die Drehzapfen 1321, 1327 gedreht und nimmt wieder eine gleiche Position ein, wie in der Freispritzposition. Zum Verfahren der Tintendruckmodulaufnahme 12 von der Druckposition in die Dichtposition an der Dichtstation wird - gegenüber der Freispritzposition am Prallblech - eine längere Zeitdauer benötigt. Der Tintensumpf 133 unterhalb der Reinigungs- und Dichtvorrichtung 13 ist als Einschub ausgebildet.
Es ist besonders vorteilhaft, dass die Tintendruckmodulaufnahme mit zwei Tintendruckmodulen I, II motorangetrieben und mikroprozessorgesteuert wahlweise in eine Druckposition, eine Freispritzposition am Prallelement oder in verschiedene Reinigungsbereiche sowie in eine Dichtposition schwenkbar ist, wobei eine vorgegebene Bauhöhe des gesamten Tintendrucksystems eingehalten werden konnte. Damit konnte eine mit der Frankiermaschine Jetmail® gleiche Transporteinrichtung mit einer Führungsplatte für Poststücke eingesetzt werden, die eine lange wartungsfreie Lebensdauer aufweist und die trotz eines in der Summe sehr häufigen Freispritzens nicht verschmutzt. Es existieren auch zwei Positionen zum Freispritzen, nämlich eine an der Dichtstation und eine am Prallelement bzw. Prallblech. Die erste Freispritzposition an der Dichtstation wird nur nach längeren Druckpausen angefahren und die zweite Freispritzposition am Prallelement bzw. Prallblech wird nur nach kurzen Druckpausen angefahren. - Wie bereits mitgeteilt, ist das Prallelement sowohl in Ausführungsformen des Tintendrucksystems mit vertikalen als auch horizontalen Transport von Druckträgern bzw. Poststücken und in unterschiedlichen Varianten vorteilhaft einsetzbar. Teilmerkmale der Varianten können in geeigneter Weise kombiniert in Varianten zum Einsatz kommen, die nicht alle einzeln ausgeführt werden sollen.
- Es sollen als Lösung auch nicht die Varianten ausgeschlossen werden, nach denen der mindestens eine Tintendruckkopf während des Freispritzens, davor oder danach in eine minimal versetzte Position bewegt wird.
- Es sollen aber auch nicht die Varianten ausgeschlossen werden, nach denen beide der mindestens eine Tintendruckkopf und das Prallelement während des Freispritzens, davor oder danach in eine minimal versetzte Position bewegt werden. Es ist vorgesehen, dass der Stellmotor 124 von der Mikroprozessorsteuerung so angesteuert wird, dass das Prallblech 132 durch Verstellung der Tintendruckmodulaufnahme 12 mittels des zweiten Antriebes bewegt wird, dass mittels des ersten Antriebes die tellerförmige Scheibe 1329 während des Freispritzens schnell gedreht wird und dass außerdem die Welle des Stellmotors 124 während des Freispritzens weiterbewegt wird, so dass die Tintendruckköpfe in der Freispritzposition relativ zum Prallblech weiter verfahren werden. Wenn also die Tintendruckköpfe relativ zum Prallblech um ca. 0,5 bis 2 cm weiter verfahren werden, kann die Nutzungsdauer zum Beispiel gegenüber den vor genannten ersten, zweiten, dritten, vierten und fünften Varianten erhöht werden.
- Die Erfindung ist nicht auf die vorliegenden Ausführungsformen beschränkt. So können offensichtlich weitere andere Ausführungen der Erfindung entwickelt bzw. eingesetzt werden, die vom gleichen Grundgedanken der Erfindung ausgehend, die von den anliegenden Ansprüchen umfasst werden.
-
- 1
- Drucksystem
- 10
- Gestell
- 101
- erstes Wandblech links
- 102
- zweites Wandblech mitte
- 103
- drittes Wandblech rechts
- 104, 105, 106, 107
- Abstandstücke für Wandbleche
- 109
- Feststellschraube
- 1010
- kreisbogenteilförmiges Langloch für Gummihülse 1324
- 1011
- Sicherungsscheibe für Drehzapfen 1321
- 1012
- Langloch im Wandblech links für Schlitten 137
- 1013
- Zapfen für Zugfeder
- 1014
- Loch für den Zapfen 1013
- 11
- Tintendruckmodul I, II
- 110
- Tintendruckkopf
- 111
- Düsenfläche des Druckmoduls I, II
- 112
- Kontaktfläche des Druckmoduls I, II
- 12
- Aufnahme für Druckmodul I und II
- 120
- Tintendruckkopf
- 121
- Drehachse für Aufnahme 12
- 122
- Rad an Aufnahme 12
- 123
- Schneckengetriebe für Aufnahme 12
- 124
- Stellmotor für Aufnahme 12
- 125
- Drehgeber für Aufnahme 12
- 126
- Anschlag für Aufnahme 12 in Druckposition
- 127
- Anschlag für Aufnahme 12 in d. äußersten Wechselposition
- 128
- Gegenkontaktfläche der Aufnahme 12 für Kontaktflächen 112 der Druckmodule I, II
- 13
- Reinigungs- und Dichtvorrichtung
- 132
- Prallblech
- 1320
- Prallblechboden
- 13200'
- Öffnung im hinteren Rand des Prallblechbodens
- 13201
- vorderer Rand des Prallblechbodens
- 13202
- hinterer Rand des Prallblechbodens
- 13206
- rechte Seitenschwinge des Prallblechs
- 13207
- linke Seitenschwinge des Prallblechs
- 13208
- Loch in der linken Seitenschwinge für Befestigungsstift
- 13209
- Mittelteil in der c-förmigen Öffnung 13200 des Prallblechbodens
- 1321
- linker Drehzapfen für Prallblech 132
- 1322
- Zugfeder für Prallblech,
- 13221
- Befestigungsstift für Zugfeder,
- 1323
- Führungskante, Kulisse
- 1324
- Gummihülse
- 1327
- rechter Drehzapfen für Prallblech 132
- 1329
- Drehteller
- 13294
- Motor für einen ersten Antrieb
- 13295
- Welle des Motors
- 133
- Tintensumpf
- 1331
- Einschub, Aufnahme für Vlies
- 13311
- Vlies
- 134*, 134'
- Flügelrad
- 1340*
- Flügelradscheibe
- 1341*...1348*
- Flügel
- 137
- Schlitten
- 14
- Befestigungsmittel
- 140
- Zugstück für Zugeisen
- 141
- Zugeisen links
- 1410
- Sicherungsscheibe am Zapfen für Zugeisen links
- 1411
- Haken am Zugeisen
- 142
- Zugeisen rechts
- 2
- Transporteinrichtung
- 22
- Führungsplatte
- 221
- Druckfenster
- 25
- Plexiglasplatte
- 3
- Mikroprozessorsteuerung der Frankiermaschine
- 4, 4*, 4', 40
- Prallelement, Scheibe
- 41
- Welle
- 42
- Drehachse der Schwingen
- 43, 43'
- Tintensumpf,
- 46, 47,
- Schwingen
- 461, 471
- Lagerachse für Ab-/Aufwickelrolle
- 462
- Abwickelrolle für Bandfolie
- 464
- Bandfolie
- 465, 475
- Durchführungsschlitz für Bandfolie
- 466, 476
- Befestigungselement der Lagerachse
- 471
- Führungskante
- 472
- Aufwickelrolle für Bandfolie
- 5
- Motor
- 6
- Antriebsrad
- 61
- Antriebswelle
- 7
- Riemen
- 9
- Poststück, Druckträger,
Claims (18)
- Verfahren zum Freispritzen eines Tintendruckkopfes eines Tintendrucksystems (1), gekennzeichnet durch ein relatives Bewegen eines Prallelementes (4) in einem flachen Raum oder in einer Ebene parallel zur Düsenfläche des mindestens einen Tintendruckkopfes (110, 120) in Verbindung mit dem Freispritzen, wobei während des Freispritzens die von dem Tintendruckkopf ausgestossenen Tintentropfen durch eine schnelle Drehbewegung einer Scheibe (40) oder eines Prallelementes (4, 4*, 4') in ihrer Bewegung umgelenkt werden.
- Verfahren, nach Anspruch 1, dadurch gekennzeichnet, dass der mindestens eine Tintendruckkopf (110, 120) während des Freispritzens bewegt wird.
- Verfahren, nach Anspruch 1, dadurch gekennzeichnet, dass das Prallelement (4) während des Freispritzens bewegt wird.
- Verfahren, nach Anspruch 3, dadurch gekennzeichnet, dass das Prallelement (4) orthogogal zur Transportrichtung des Poststücks (9) bzw. Trägers bewegt wird.
- Verfahren, nach Anspruch 3, dadurch gekennzeichnet, dass das Prallelement (4) orthogogal zur Transportrichtung des Poststücks (9) bzw. Trägers geschwenkt und die Scheibe (40) in dem flachen Raum oder in der Ebene parallel zur Düsenfläche des mindestens einen Tintendruckkopfes (110, 120) gedreht wird.
- Verfahren, nach Anspruch 2, dadurch gekennzeichnet, dass zur Verstellung der Tintendruckmodulaufnahme (12) der Stellmotor (124) von einer Mikroprozessorsteuerung angesteuert wird, damit sich eine Welle des Stellmotors (124) während des Freispritzens weiterbewegt, so dass der mindestens eine Tintendruckkopf (110, 120) in der Freispritzposition relativ zum Prallblech weiter verfahren wird.
- Verfahren, nach Anspruch 1, dadurch gekennzeichnet, dass die Scheibe (40) so schnell gedreht wird, dassa) auftreffende Tinte infolge Zentrifugalkraft nach außen weggeschleudert undb) die Auftreffpunkte der Tinte auf mehrere Stellen der Scheibe verteilt wird.
- Verfahren, nach Anspruch 1, dadurch gekennzeichnet, dass die nicht auf die Scheibe (40) oder das Prallelement (4, 4*, 4') auftreffende Tintenmengen in der Lüft verwirbelt und großräumig im Umfeld abgelagert werden.
- Verfahren, nach Anspruch 1, dadurch gekennzeichnet, dass die Ablagerung von verwirbelten Tintenmengen großflächig erfolgt.
- Vorrichtung zum Freispritzen eines Tintendruckkopfes eines Tintendrucksystems (1), wobei mindestens ein Tintendruckkopf stationär aber schwenkbar hinter einer Führungsplatte in einem Druckfenster angeordnet ist, an der die Druckträger anliegend und mittels einer Transporteinrichtung entlanggeführt werden, und eine Reinigungs- und Dichtvorrichtung gleichfalls hinter der Führungsplatte verstellbar auf den Tintendruckkopf zu und von diesem wieder weg angeordnet ist, dadurch gekennzeichnet,- dass ein Prallelement (4) zwischen einer Reinigungs- und Dichtvorrichtung (13) und der Tintendruckmodulaufnahme (12) beweglich angeordnet ist, wobei das Prallelement (4) relativ beweglich zu einer Tintendruckmodulaufnahme (12) angeordnet ist und beim Freispritzen in einem flachen Raum oder in einer Ebene parallel zur Düsenfläche des mindestens einen Tintendruckkopfes (110, 120) positioniert wird, wobei das Prallelement (4) durch einen ersten Antrieb angetrieben wird und eine schnelle Bewegung um eine Achse zur Verteilung von Tintentröpfchen ausführt,- dass eine Tintendruckmodulaufnahme (12) für den mindestens einen Tintendruckkopf (110, 120) drehbeweglich um eine Drehachse (121) angeordnet ist, die parallel zur Transportrichtung von Poststücken (9) bzw. Trägern liegt sowie- dass die Tintendruckmodulaufnahme (12) durch einen zweiten Antrieb angetrieben und mikroprozessorgesteuert wahlweise mindestens in eine Druckposition und eine Freispritzposition an dem Prallelement (4) schwenkbar ist.
- Vorrichtung, nach Anspruch 10, dadurch gekennzeichnet, dass das Prallelement Bestandteil eines Prallblechs (132) ein drehbeweglicher Teller oder eine Scheibe ist, die auf dem Prallblech drehbarer montiert ist und durch den ersten Antrieb angetrieben wird, dass eine gemeinsamer zweiter Antrieb für die Bewegungen des Prallblechs (132) und der Tintendruckmodulaufnahme (12) vorgesehen ist, dass der mindestens eine Tintendruckkopf (110, 120) mittels der Tintendruckmodulaufnahme (12) aus der Druckposition in eine Freispritzposition an dem Prallblech (132) und in mindestens eine weitere Position und wieder zurück entsprechend schwenkbar ist und zugeordnete Anschläge für die Tintendruckmodulaufnahme (12) vorgesehen sind.
- Vorrichtung, nach Anspruch 10 bis 11, dadurch gekennzeich-net, dass an der Tintendruckmodulaufnahme (12) ein Rad (122) drehbar befestigt und an eine Seitenschwinge des Prallblechs (132) eine Führungskante (1323) angeformt ist und das Prallblech (132) über eine Zugfeder (1322) mit einem Gestell (10) verbunden ist und das Rad (122) kraftschlüssig an der Führungskante (1323) anliegt und mit dieser eine Kulissenführung für das Prallblech (132) bildet.
- Vorrichtung, nach Anspruch 12, dadurch gekennzeichnet, dass das Prallblech (132) mit einem Prallelement ausgestattet ist, dass das Prallelement (4) während des Freispritzens bewegt wird.
- Vorrichtung, nach Anspruch 12, dadurch gekennzeichnet, dass ein bewegliches Prallelement vorgesehen und auf dem Prallblech drehbarer montiert ist.
- Vorrichtung, nach einem der Ansprüche 10 bis 15, dadurch gekennzeichnet, dass ein Stellmotor (124) von einer Mikroprozessorsteuerung so angesteuert wird, dass das Prallblech (132) durch Verstellung der Tintendruckmodulaufnahme (12) bewegt wird, dass eine tellerförmige Scheibe (1329) durch einen ersten Antrieb schnell gedreht und dass außerdem die Welle des Stellmotors (124) während des Freispritzens weiterbewegt wird, so dass der mindestens eine Tintendruckkopf in der Freispritzposition relativ zum Prallblech weiter verfahren wird.
- Vorrichtung, nach Anspruch 11, dadurch gekennzeichnet, dass die angetriebene Scheibe bzw. das Prallelement Flügel oder Unterbrechungen in Form von Löchern oder Schlitzen aufweist.
- Vorrichtung, nach den Ansprüchen 11 und 16, dadurch gekenn-zeichnet, dass die angetriebene Scheibe bzw. das Prallelement ein handelsüblicher Lüfter ist, auf dessen Propellerschaufeln die Tinte gespritzt wird.
- Vorrichtung, nach Anspruch 11, dadurch gekennzeichnet, dass die Freispritzposition am Prallblech (132) so nahe der Druckposition angeordnet ist, so dass die Zeitdauer für das Verfahren des mindestens einen Tintendruckkopfes (110, 120) in die Freispritzposition bzw. wieder zurück in die Druckposition gegenüber den anderen Positionen am kürzesten ist.
Applications Claiming Priority (1)
| Application Number | Priority Date | Filing Date | Title |
|---|---|---|---|
| DE102005052151A DE102005052151B3 (de) | 2005-11-02 | 2005-11-02 | Vorrichtung zum Freispritzen eines Tintendruckkopfes |
Publications (2)
| Publication Number | Publication Date |
|---|---|
| EP1782955A1 true EP1782955A1 (de) | 2007-05-09 |
| EP1782955B1 EP1782955B1 (de) | 2012-01-25 |
Family
ID=37716050
Family Applications (1)
| Application Number | Title | Priority Date | Filing Date |
|---|---|---|---|
| EP06021927A Not-in-force EP1782955B1 (de) | 2005-11-02 | 2006-10-19 | Verfahren und Vorrichtung zum Freispritzen eines Tintendruckkopfes |
Country Status (4)
| Country | Link |
|---|---|
| US (1) | US7645021B2 (de) |
| EP (1) | EP1782955B1 (de) |
| AT (1) | ATE542674T1 (de) |
| DE (1) | DE102005052151B3 (de) |
Cited By (1)
| Publication number | Priority date | Publication date | Assignee | Title |
|---|---|---|---|---|
| DE102007035875B3 (de) * | 2007-07-31 | 2008-11-20 | Francotyp-Postalia Gmbh | Messanordnung und Messverfahren zur Ermittlung des Spiels einer Kartuschenschwenkeinheit |
Families Citing this family (5)
| Publication number | Priority date | Publication date | Assignee | Title |
|---|---|---|---|---|
| DE102007060735B4 (de) | 2007-12-17 | 2011-11-03 | Francotyp-Postalia Gmbh | Vorrichtung zum Freispritzen eines Tintenstrahldruckkopfes |
| GB2457694B (en) * | 2008-02-21 | 2012-09-26 | Snell Ltd | Method of Deriving an Audio-Visual Signature |
| DE202010015354U1 (de) | 2010-11-11 | 2011-02-10 | Francotyp-Postalia Gmbh | Modular aufgebautes Druckergerät mit einer entnehmbaren kastenförmigen Baueinheit |
| US8876252B2 (en) | 2011-05-02 | 2014-11-04 | Illinois Tool Works, Inc. | Solvent flushing for fluid jet device |
| EP3363639B1 (de) | 2017-02-17 | 2020-04-08 | Canon Kabushiki Kaisha | Tintenstrahldruckvorrichtung |
Citations (12)
| Publication number | Priority date | Publication date | Assignee | Title |
|---|---|---|---|---|
| EP0041706A2 (de) * | 1980-06-11 | 1981-12-16 | Siemens Aktiengesellschaft | Schwenkbare Tintenabweisblende für den Schreibkopf einer Tintenschreibeinrichtung |
| DE19605014C1 (de) | 1996-01-31 | 1997-03-13 | Francotyp Postalia Gmbh | Vorrichtung zum Bedrucken eines auf einer Kante stehenden Druckträgers |
| EP0696509B1 (de) | 1994-08-08 | 1998-09-02 | Neopost Industrie | Frankiermaschine mit einem Tintenstrahldruckkopf |
| DE19726642C1 (de) | 1997-06-18 | 1998-09-03 | Francotyp Postalia Gmbh | Vorrichtung zur Positionierung eines Tintendruckkopfes und einer Reinigungs- und Dichtvorrichtung |
| US5806994A (en) | 1997-10-15 | 1998-09-15 | Pitney Bowes Inc. | Mailing machine having ink jet printing and maintenance system |
| EP0799135B1 (de) | 1994-11-21 | 1999-03-17 | Techniku B.V. | Reinigungs- und abdichtungsstation für einen tintenstrahlkopf |
| DE20012946U1 (de) * | 2000-07-26 | 2000-09-21 | Rena Informationstech Gmbh | Tintenstrahldrucker, insbesondere zur Beschriftung von Versandstücken |
| US6481827B2 (en) | 2001-01-31 | 2002-11-19 | Hewlett-Packard Company | Modular ink absorbent system for inkjet spittoons |
| DE19757653C2 (de) | 1997-12-15 | 2003-07-17 | Francotyp Postalia Ag | Verfahren und postalisches Gerät mit einer Chipkarten-Schreib/Leseeinheit zum Nachladen von Änderungsdaten per Chipkarte |
| US6644778B2 (en) | 2000-02-23 | 2003-11-11 | Hewlett-Packard Development Company, L.P. | Stalagmite dissolving spittoon system for inkjet printheads |
| US20040109050A1 (en) * | 2002-08-17 | 2004-06-10 | Samsung Electronics Co., Ltd | Ink-jet image forming apparatus |
| EP1537998A1 (de) * | 2003-12-05 | 2005-06-08 | Océ-Technologies B.V. | Vorrichtung und Verfahren zum Handhaben von Tintentropfen |
Family Cites Families (7)
| Publication number | Priority date | Publication date | Assignee | Title |
|---|---|---|---|---|
| US5548309A (en) * | 1990-08-03 | 1996-08-20 | Canon Kabushiki Kaisha | Apparatus and method for wiping an ink jet recording head with control of relative speed between wiper and head |
| US5617124A (en) * | 1994-03-25 | 1997-04-01 | Hewlett-Packard Company | Self-cleaning service station for inkjet printing mechanisms |
| US5712668A (en) * | 1994-03-25 | 1998-01-27 | Hewlett-Packard Company | Rotary Multi-ridge capping system for inkjet printheads |
| DE19645303C1 (de) * | 1996-01-31 | 1997-12-11 | Francotyp Postalia Gmbh | Vorrichtung zum Bedrucken eines auf einer Kante stehenden Druckträgers |
| DE19726643C1 (de) * | 1997-06-18 | 1998-07-23 | Francotyp Postalia Gmbh | Vorrichtung zur Reinigung eines Tintendruckkopfes |
| US6322196B1 (en) * | 1999-12-23 | 2001-11-27 | Hewlett-Packard Company | Inkjet service station and method of using same |
| US6644779B2 (en) * | 2001-09-20 | 2003-11-11 | Lexmark International, Inc. | Rotating waste ink accumulation system |
-
2005
- 2005-11-02 DE DE102005052151A patent/DE102005052151B3/de not_active Expired - Fee Related
-
2006
- 2006-08-01 US US11/497,046 patent/US7645021B2/en not_active Expired - Fee Related
- 2006-10-19 EP EP06021927A patent/EP1782955B1/de not_active Not-in-force
- 2006-10-19 AT AT06021927T patent/ATE542674T1/de active
Patent Citations (13)
| Publication number | Priority date | Publication date | Assignee | Title |
|---|---|---|---|---|
| EP0041706A2 (de) * | 1980-06-11 | 1981-12-16 | Siemens Aktiengesellschaft | Schwenkbare Tintenabweisblende für den Schreibkopf einer Tintenschreibeinrichtung |
| EP0696509B1 (de) | 1994-08-08 | 1998-09-02 | Neopost Industrie | Frankiermaschine mit einem Tintenstrahldruckkopf |
| EP0799135B1 (de) | 1994-11-21 | 1999-03-17 | Techniku B.V. | Reinigungs- und abdichtungsstation für einen tintenstrahlkopf |
| DE19605014C1 (de) | 1996-01-31 | 1997-03-13 | Francotyp Postalia Gmbh | Vorrichtung zum Bedrucken eines auf einer Kante stehenden Druckträgers |
| DE19726642C1 (de) | 1997-06-18 | 1998-09-03 | Francotyp Postalia Gmbh | Vorrichtung zur Positionierung eines Tintendruckkopfes und einer Reinigungs- und Dichtvorrichtung |
| US5806994A (en) | 1997-10-15 | 1998-09-15 | Pitney Bowes Inc. | Mailing machine having ink jet printing and maintenance system |
| DE19757653C2 (de) | 1997-12-15 | 2003-07-17 | Francotyp Postalia Ag | Verfahren und postalisches Gerät mit einer Chipkarten-Schreib/Leseeinheit zum Nachladen von Änderungsdaten per Chipkarte |
| US6644778B2 (en) | 2000-02-23 | 2003-11-11 | Hewlett-Packard Development Company, L.P. | Stalagmite dissolving spittoon system for inkjet printheads |
| DE10062012A1 (de) | 2000-07-26 | 2002-02-14 | Rena Informationstech Gmbh | Tintenstrahldrucker, insbesondere zur Beschriftung von Versandstücken |
| DE20012946U1 (de) * | 2000-07-26 | 2000-09-21 | Rena Informationstech Gmbh | Tintenstrahldrucker, insbesondere zur Beschriftung von Versandstücken |
| US6481827B2 (en) | 2001-01-31 | 2002-11-19 | Hewlett-Packard Company | Modular ink absorbent system for inkjet spittoons |
| US20040109050A1 (en) * | 2002-08-17 | 2004-06-10 | Samsung Electronics Co., Ltd | Ink-jet image forming apparatus |
| EP1537998A1 (de) * | 2003-12-05 | 2005-06-08 | Océ-Technologies B.V. | Vorrichtung und Verfahren zum Handhaben von Tintentropfen |
Cited By (3)
| Publication number | Priority date | Publication date | Assignee | Title |
|---|---|---|---|---|
| DE102007035875B3 (de) * | 2007-07-31 | 2008-11-20 | Francotyp-Postalia Gmbh | Messanordnung und Messverfahren zur Ermittlung des Spiels einer Kartuschenschwenkeinheit |
| EP2020299A2 (de) | 2007-07-31 | 2009-02-04 | Francotyp-Postalia GmbH | Messanordnung und Messverfahren zur Ermittlung des Spiels einer Kartuschenschwenkeinheit |
| EP2020299A3 (de) * | 2007-07-31 | 2009-10-21 | Francotyp-Postalia GmbH | Messanordnung und Messverfahren zur Ermittlung des Spiels einer Kartuschenschwenkeinheit |
Also Published As
| Publication number | Publication date |
|---|---|
| DE102005052151B3 (de) | 2007-05-31 |
| ATE542674T1 (de) | 2012-02-15 |
| US7645021B2 (en) | 2010-01-12 |
| EP1782955B1 (de) | 2012-01-25 |
| US20070120886A1 (en) | 2007-05-31 |
Similar Documents
| Publication | Publication Date | Title |
|---|---|---|
| DE69102710T2 (de) | Wischer für Tintenstrahldruckkopf. | |
| DE19726643C1 (de) | Vorrichtung zur Reinigung eines Tintendruckkopfes | |
| DE69319065T2 (de) | Reinigungsvorrichtung mit Wischblatt für einen Farbstrahldruckkopf | |
| DE69800763T2 (de) | Tintenstrahlaufzeichnungsgerät und Verfahren zum Reinigen eines Tintenstrahlaufzeichnungskopfes | |
| DE69826206T2 (de) | Tintenstrahldrucker mit einer verbesserten Reinigungseinheit | |
| EP2862718B1 (de) | Behälterbehandlungsmaschine zur Bedruckung von Behältern | |
| DE69321783T2 (de) | Wischmechanismus für einen Tintenstrahlaufzeichnungskopf und damit versehener Aufzeichnungskopf | |
| DE69605409T2 (de) | Reinigungsfluidvorrichtung und verfahren für eine kontinuierlich druckende tintenstrahldüse | |
| DE602004005389T2 (de) | Tintenstrahldrucker mit von Tintenabsorbierungskörper versehenem Druckkopfholder | |
| EP2452824B1 (de) | Modular aufgebautes Druckergerät mit einer entnehmbaren kastenförmigen Baueinheit | |
| WO2011067339A1 (de) | Druckkopf-reinigungsvorrichtung | |
| EP2073173B1 (de) | Vorrichtung zum Wechseln von Tintenkartuschen | |
| EP1782955B1 (de) | Verfahren und Vorrichtung zum Freispritzen eines Tintendruckkopfes | |
| DE102007000708A1 (de) | Entlüfter mit eine vertikal verteilte Medienabschleuderung vorsehendem Schleuderteller | |
| DE102005052150B4 (de) | Vorrichtung zur Reinigung eines Tintendruckkopfes | |
| EP2065200A1 (de) | Vorrichtung zum Reinhalten eines Tintendruckkopfes | |
| EP2130679B2 (de) | Vorrichtung zur Reinigung von Wischelementen für einen Tintendruckkopf | |
| EP2452822B1 (de) | Vorrichtung zur Absenkung, Positionierung und Anhebung von Andruckelementen eines Druckergeräts | |
| DE102006053821A1 (de) | Druckeinrichtung mit Tintennebelabsaugung | |
| DE602004004011T2 (de) | Vorrichtung zur sofortigen Tintenstrahldüsenreinigung | |
| DE69819650T2 (de) | Tintenstrahldrucker mit Wartungsstationsanordnung | |
| EP2072263B1 (de) | Kombination aus einem Tintenstrahldruckkopf und einer Vorrichtung zum Freispritzen eines Tintenstrahldruckkopfes | |
| DE69508257T2 (de) | Tintenstrahldrucker | |
| EP1469998B1 (de) | Drucker für eine endlospapierbahn mit einer abschneidevorrichtung | |
| DE102008035679B4 (de) | Vorrichtung zur Reinigung von Wischelementen für einen Tintendruckkopf |
Legal Events
| Date | Code | Title | Description |
|---|---|---|---|
| PUAI | Public reference made under article 153(3) epc to a published international application that has entered the european phase |
Free format text: ORIGINAL CODE: 0009012 |
|
| AK | Designated contracting states |
Kind code of ref document: A1 Designated state(s): AT BE BG CH CY CZ DE DK EE ES FI FR GB GR HU IE IS IT LI LT LU LV MC NL PL PT RO SE SI SK TR |
|
| AX | Request for extension of the european patent |
Extension state: AL BA HR MK YU |
|
| 17P | Request for examination filed |
Effective date: 20070622 |
|
| AKX | Designation fees paid |
Designated state(s): AT BE BG CH CY CZ DE DK EE ES FI FR GB GR HU IE IS IT LI LT LU LV MC NL PL PT RO SE SI SK TR |
|
| 17Q | First examination report despatched |
Effective date: 20080520 |
|
| GRAP | Despatch of communication of intention to grant a patent |
Free format text: ORIGINAL CODE: EPIDOSNIGR1 |
|
| GRAS | Grant fee paid |
Free format text: ORIGINAL CODE: EPIDOSNIGR3 |
|
| GRAA | (expected) grant |
Free format text: ORIGINAL CODE: 0009210 |
|
| AK | Designated contracting states |
Kind code of ref document: B1 Designated state(s): AT BE BG CH CY CZ DE DK EE ES FI FR GB GR HU IE IS IT LI LT LU LV MC NL PL PT RO SE SI SK TR |
|
| REG | Reference to a national code |
Ref country code: GB Ref legal event code: FG4D Free format text: NOT ENGLISH |
|
| REG | Reference to a national code |
Ref country code: CH Ref legal event code: EP |
|
| REG | Reference to a national code |
Ref country code: AT Ref legal event code: REF Ref document number: 542674 Country of ref document: AT Kind code of ref document: T Effective date: 20120215 |
|
| REG | Reference to a national code |
Ref country code: IE Ref legal event code: FG4D |
|
| REG | Reference to a national code |
Ref country code: DE Ref legal event code: R096 Ref document number: 502006010910 Country of ref document: DE Effective date: 20120322 |
|
| REG | Reference to a national code |
Ref country code: SE Ref legal event code: TRGR |
|
| REG | Reference to a national code |
Ref country code: NL Ref legal event code: T3 |
|
| LTIE | Lt: invalidation of european patent or patent extension |
Effective date: 20120125 |
|
| PG25 | Lapsed in a contracting state [announced via postgrant information from national office to epo] |
Ref country code: IS Free format text: LAPSE BECAUSE OF FAILURE TO SUBMIT A TRANSLATION OF THE DESCRIPTION OR TO PAY THE FEE WITHIN THE PRESCRIBED TIME-LIMIT Effective date: 20120525 Ref country code: LT Free format text: LAPSE BECAUSE OF FAILURE TO SUBMIT A TRANSLATION OF THE DESCRIPTION OR TO PAY THE FEE WITHIN THE PRESCRIBED TIME-LIMIT Effective date: 20120125 Ref country code: BG Free format text: LAPSE BECAUSE OF FAILURE TO SUBMIT A TRANSLATION OF THE DESCRIPTION OR TO PAY THE FEE WITHIN THE PRESCRIBED TIME-LIMIT Effective date: 20120425 |
|
| REG | Reference to a national code |
Ref country code: IE Ref legal event code: FD4D |
|
| PG25 | Lapsed in a contracting state [announced via postgrant information from national office to epo] |
Ref country code: LV Free format text: LAPSE BECAUSE OF FAILURE TO SUBMIT A TRANSLATION OF THE DESCRIPTION OR TO PAY THE FEE WITHIN THE PRESCRIBED TIME-LIMIT Effective date: 20120125 Ref country code: GR Free format text: LAPSE BECAUSE OF FAILURE TO SUBMIT A TRANSLATION OF THE DESCRIPTION OR TO PAY THE FEE WITHIN THE PRESCRIBED TIME-LIMIT Effective date: 20120426 Ref country code: PT Free format text: LAPSE BECAUSE OF FAILURE TO SUBMIT A TRANSLATION OF THE DESCRIPTION OR TO PAY THE FEE WITHIN THE PRESCRIBED TIME-LIMIT Effective date: 20120525 Ref country code: FI Free format text: LAPSE BECAUSE OF FAILURE TO SUBMIT A TRANSLATION OF THE DESCRIPTION OR TO PAY THE FEE WITHIN THE PRESCRIBED TIME-LIMIT Effective date: 20120125 Ref country code: PL Free format text: LAPSE BECAUSE OF FAILURE TO SUBMIT A TRANSLATION OF THE DESCRIPTION OR TO PAY THE FEE WITHIN THE PRESCRIBED TIME-LIMIT Effective date: 20120125 |
|
| PG25 | Lapsed in a contracting state [announced via postgrant information from national office to epo] |
Ref country code: CY Free format text: LAPSE BECAUSE OF FAILURE TO SUBMIT A TRANSLATION OF THE DESCRIPTION OR TO PAY THE FEE WITHIN THE PRESCRIBED TIME-LIMIT Effective date: 20120125 |
|
| PG25 | Lapsed in a contracting state [announced via postgrant information from national office to epo] |
Ref country code: RO Free format text: LAPSE BECAUSE OF FAILURE TO SUBMIT A TRANSLATION OF THE DESCRIPTION OR TO PAY THE FEE WITHIN THE PRESCRIBED TIME-LIMIT Effective date: 20120125 Ref country code: DK Free format text: LAPSE BECAUSE OF FAILURE TO SUBMIT A TRANSLATION OF THE DESCRIPTION OR TO PAY THE FEE WITHIN THE PRESCRIBED TIME-LIMIT Effective date: 20120125 Ref country code: EE Free format text: LAPSE BECAUSE OF FAILURE TO SUBMIT A TRANSLATION OF THE DESCRIPTION OR TO PAY THE FEE WITHIN THE PRESCRIBED TIME-LIMIT Effective date: 20120125 Ref country code: SI Free format text: LAPSE BECAUSE OF FAILURE TO SUBMIT A TRANSLATION OF THE DESCRIPTION OR TO PAY THE FEE WITHIN THE PRESCRIBED TIME-LIMIT Effective date: 20120125 Ref country code: IE Free format text: LAPSE BECAUSE OF FAILURE TO SUBMIT A TRANSLATION OF THE DESCRIPTION OR TO PAY THE FEE WITHIN THE PRESCRIBED TIME-LIMIT Effective date: 20120125 Ref country code: CZ Free format text: LAPSE BECAUSE OF FAILURE TO SUBMIT A TRANSLATION OF THE DESCRIPTION OR TO PAY THE FEE WITHIN THE PRESCRIBED TIME-LIMIT Effective date: 20120125 |
|
| PG25 | Lapsed in a contracting state [announced via postgrant information from national office to epo] |
Ref country code: SK Free format text: LAPSE BECAUSE OF FAILURE TO SUBMIT A TRANSLATION OF THE DESCRIPTION OR TO PAY THE FEE WITHIN THE PRESCRIBED TIME-LIMIT Effective date: 20120125 |
|
| PLBE | No opposition filed within time limit |
Free format text: ORIGINAL CODE: 0009261 |
|
| STAA | Information on the status of an ep patent application or granted ep patent |
Free format text: STATUS: NO OPPOSITION FILED WITHIN TIME LIMIT |
|
| 26N | No opposition filed |
Effective date: 20121026 |
|
| REG | Reference to a national code |
Ref country code: DE Ref legal event code: R097 Ref document number: 502006010910 Country of ref document: DE Effective date: 20121026 |
|
| BERE | Be: lapsed |
Owner name: FRANCOTYP-POSTALIA G.M.B.H. Effective date: 20121031 |
|
| PG25 | Lapsed in a contracting state [announced via postgrant information from national office to epo] |
Ref country code: ES Free format text: LAPSE BECAUSE OF FAILURE TO SUBMIT A TRANSLATION OF THE DESCRIPTION OR TO PAY THE FEE WITHIN THE PRESCRIBED TIME-LIMIT Effective date: 20120506 |
|
| PG25 | Lapsed in a contracting state [announced via postgrant information from national office to epo] |
Ref country code: MC Free format text: LAPSE BECAUSE OF NON-PAYMENT OF DUE FEES Effective date: 20121031 |
|
| PG25 | Lapsed in a contracting state [announced via postgrant information from national office to epo] |
Ref country code: BE Free format text: LAPSE BECAUSE OF NON-PAYMENT OF DUE FEES Effective date: 20121031 |
|
| PG25 | Lapsed in a contracting state [announced via postgrant information from national office to epo] |
Ref country code: TR Free format text: LAPSE BECAUSE OF FAILURE TO SUBMIT A TRANSLATION OF THE DESCRIPTION OR TO PAY THE FEE WITHIN THE PRESCRIBED TIME-LIMIT Effective date: 20120125 |
|
| PG25 | Lapsed in a contracting state [announced via postgrant information from national office to epo] |
Ref country code: LU Free format text: LAPSE BECAUSE OF NON-PAYMENT OF DUE FEES Effective date: 20121019 |
|
| PG25 | Lapsed in a contracting state [announced via postgrant information from national office to epo] |
Ref country code: HU Free format text: LAPSE BECAUSE OF FAILURE TO SUBMIT A TRANSLATION OF THE DESCRIPTION OR TO PAY THE FEE WITHIN THE PRESCRIBED TIME-LIMIT Effective date: 20061019 |
|
| REG | Reference to a national code |
Ref country code: DE Ref legal event code: R081 Ref document number: 502006010910 Country of ref document: DE Owner name: FRANCOTYP-POSTALIA GMBH, DE Free format text: FORMER OWNER: FRANCOTYP-POSTALIA GMBH, 16547 BIRKENWERDER, DE Effective date: 20150330 Ref country code: DE Ref legal event code: R081 Ref document number: 502006010910 Country of ref document: DE Owner name: FRANCOTYP-POSTALIA GMBH, DE Free format text: FORMER OWNER: FRANCOTYP-POSTALIA GMBH, 16547 BIRKENWERDER, DE Effective date: 20120130 |
|
| REG | Reference to a national code |
Ref country code: FR Ref legal event code: PLFP Year of fee payment: 10 |
|
| REG | Reference to a national code |
Ref country code: FR Ref legal event code: PLFP Year of fee payment: 11 |
|
| REG | Reference to a national code |
Ref country code: FR Ref legal event code: PLFP Year of fee payment: 12 |
|
| PGFP | Annual fee paid to national office [announced via postgrant information from national office to epo] |
Ref country code: FR Payment date: 20171024 Year of fee payment: 12 Ref country code: DE Payment date: 20170906 Year of fee payment: 12 |
|
| PGFP | Annual fee paid to national office [announced via postgrant information from national office to epo] |
Ref country code: CH Payment date: 20171019 Year of fee payment: 12 Ref country code: GB Payment date: 20171019 Year of fee payment: 12 Ref country code: NL Payment date: 20171019 Year of fee payment: 12 Ref country code: IT Payment date: 20171023 Year of fee payment: 12 Ref country code: AT Payment date: 20171020 Year of fee payment: 12 Ref country code: SE Payment date: 20171019 Year of fee payment: 12 |
|
| REG | Reference to a national code |
Ref country code: DE Ref legal event code: R119 Ref document number: 502006010910 Country of ref document: DE |
|
| REG | Reference to a national code |
Ref country code: SE Ref legal event code: EUG |
|
| REG | Reference to a national code |
Ref country code: CH Ref legal event code: PL |
|
| REG | Reference to a national code |
Ref country code: NL Ref legal event code: MM Effective date: 20181101 |
|
| REG | Reference to a national code |
Ref country code: AT Ref legal event code: MM01 Ref document number: 542674 Country of ref document: AT Kind code of ref document: T Effective date: 20181019 |
|
| GBPC | Gb: european patent ceased through non-payment of renewal fee |
Effective date: 20181019 |
|
| PG25 | Lapsed in a contracting state [announced via postgrant information from national office to epo] |
Ref country code: DE Free format text: LAPSE BECAUSE OF NON-PAYMENT OF DUE FEES Effective date: 20190501 Ref country code: NL Free format text: LAPSE BECAUSE OF NON-PAYMENT OF DUE FEES Effective date: 20181101 Ref country code: SE Free format text: LAPSE BECAUSE OF NON-PAYMENT OF DUE FEES Effective date: 20181020 |
|
| PG25 | Lapsed in a contracting state [announced via postgrant information from national office to epo] |
Ref country code: CH Free format text: LAPSE BECAUSE OF NON-PAYMENT OF DUE FEES Effective date: 20181031 Ref country code: FR Free format text: LAPSE BECAUSE OF NON-PAYMENT OF DUE FEES Effective date: 20181031 Ref country code: LI Free format text: LAPSE BECAUSE OF NON-PAYMENT OF DUE FEES Effective date: 20181031 |
|
| PG25 | Lapsed in a contracting state [announced via postgrant information from national office to epo] |
Ref country code: IT Free format text: LAPSE BECAUSE OF NON-PAYMENT OF DUE FEES Effective date: 20181019 Ref country code: GB Free format text: LAPSE BECAUSE OF NON-PAYMENT OF DUE FEES Effective date: 20181019 Ref country code: AT Free format text: LAPSE BECAUSE OF NON-PAYMENT OF DUE FEES Effective date: 20181019 |
