EP1780903A1 - Electronic device, transmission system and method for determining connection condition - Google Patents

Electronic device, transmission system and method for determining connection condition Download PDF

Info

Publication number
EP1780903A1
EP1780903A1 EP06122939A EP06122939A EP1780903A1 EP 1780903 A1 EP1780903 A1 EP 1780903A1 EP 06122939 A EP06122939 A EP 06122939A EP 06122939 A EP06122939 A EP 06122939A EP 1780903 A1 EP1780903 A1 EP 1780903A1
Authority
EP
European Patent Office
Prior art keywords
condition
power supply
connector
voltage
supply switch
Prior art date
Legal status (The legal status is an assumption and is not a legal conclusion. Google has not performed a legal analysis and makes no representation as to the accuracy of the status listed.)
Withdrawn
Application number
EP06122939A
Other languages
German (de)
English (en)
French (fr)
Inventor
Takashi c/o Sony Corporation Takano
Current Assignee (The listed assignees may be inaccurate. Google has not performed a legal analysis and makes no representation or warranty as to the accuracy of the list.)
Sony Corp
Original Assignee
Sony Corp
Priority date (The priority date is an assumption and is not a legal conclusion. Google has not performed a legal analysis and makes no representation as to the accuracy of the date listed.)
Filing date
Publication date
Application filed by Sony Corp filed Critical Sony Corp
Publication of EP1780903A1 publication Critical patent/EP1780903A1/en
Withdrawn legal-status Critical Current

Links

Images

Classifications

    • HELECTRICITY
    • H04ELECTRIC COMMUNICATION TECHNIQUE
    • H04BTRANSMISSION
    • H04B3/00Line transmission systems
    • H04B3/54Systems for transmission via power distribution lines
    • H04B3/548Systems for transmission via power distribution lines the power on the line being DC
    • HELECTRICITY
    • H04ELECTRIC COMMUNICATION TECHNIQUE
    • H04BTRANSMISSION
    • H04B2203/00Indexing scheme relating to line transmission systems
    • H04B2203/54Aspects of powerline communications not already covered by H04B3/54 and its subgroups
    • H04B2203/5462Systems for power line communications
    • H04B2203/547Systems for power line communications via DC power distribution

Definitions

  • the present invention contains subject matter related to Japanese Patent Application JP 2005-311620 filed in the Japanese Patent Office on October 26, 2005, the entire contents of which being incorporated herein by reference.
  • the present invention relates to an electronic device equipped with a connector for connecting an external device so as to supply, through the connector, the external device with a signal on which voltage is superposed; a transmission system for transmitting an output signal corresponding to an input signal from any signal transmission sections with which the external device and the electronic device are provided; and a method for determining a connection condition between the connector of the electronic device and the external device.
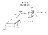
  • FIG. 1 shows an infrared optical transmission apparatus 200A as related art.
  • This infrared optical transmission apparatus 200A is equipped with an infrared optical transmission section 201 which is configured, for example, with an infrared light-emitting diode etc. so as to output an infrared signal SIR and also with a connector, not shown in FIG. 1, for connecting an infrared optical transmission unit 300 having an infrared optical transmission section 301.
  • a connector (plug) 303 which is connected to an end of a connection cable 302 that is in turn connected to the infrared optical transmission unit 300, is connected to a connector (jack) of the infrared optical transmission apparatus 200A
  • a modulated RF signal on which a DC power supply voltage is superposed, can be supplied from the infrared optical transmission apparatus 200A to the infrared optical transmission unit 300 and an infrared signal SIR that corresponds to the modulated RF signal can be output from the infrared optical transmission section 301.
  • FIG. 2 shows circuit configurations of the infrared optical transmission apparatus 200A and the infrared optical transmission unit 300.
  • An output side of the regulator 202 is connected to a collector of an NPN driver transistor 204 (1), whose emitter is grounded, through a series circuit constituted of infrared light-emitting diodes 203 (1, 1) through 203 (n, 1).
  • the output side of the regulator 202 is also connected to a collector of an NPN driver transistor 204 (m), whose emitter is grounded, through a series circuit constituted of infrared light-emitting diodes 203 (1, m) through 203 (n, m).
  • the n times m number of infrared light-emitting diodes 203 (1, 1) through 203 (n, m) constitute the infrared optical transmission section 201.
  • An amplifier 205 receives and amplifies a modulated RF signal MRF obtained from a modulation circuit, not shown. An output side of this amplifier 205 is connected to a base of each of the transistors 204 (1) through 204 (m).
  • the modulated RF signal MRF is obtained, for example, by performing digital modulation on a carrier wave with audio data, image data or the like, and produced so as to have a constant amplitude.
  • An amplifier 206 also receives and amplifies the modulated RF signal MRF obtained from the modulation circuit, not shown.
  • An output side of this amplifier 206 is connected to a connector (jack) 209 through a series circuit constituted of an output resistor 207 and a DC cut-off capacitor 208. Further, the output side of the regulator 202 described above is connected to the connector 209 via a RF cut-off inductor 210.
  • a stabilized DC power supply voltage DC2 obtained from the regulator 202 is supplied as power to the infrared optical transmission section 201.
  • the modulated RF signal MRF obtained from the modulation circuit is amplified by an amplifier 205 and then supplied as a drive signal to the base of each of the transistors 204 (1) through 204 (m). Accordingly, in response to the modulated RF signal MRF, the diodes 203 (1, 1) through 203 (n, m) emit light, so that an infrared signal SIR corresponding to the modulated RF signal MRF can be output from the infrared optical transmission section 201.
  • the modulated RF signal MRF obtained from the modulation circuit is amplified by the amplifier 206 and then supplied to the connector 209 through the series circuit constituted of the output resistor 207 and the DC cut-off capacitor 208. Further, the stabilized DC power supply voltage DC2 obtained from the regulator 202 is supplied to the connector 209 through the RF cut-off inductor 210. Accordingly, the modulated RF signal MRF on which the DC power supply voltage DC2 is superposed can be supplied to the connector 209.
  • connection cable 302 that is opposite to the end thereof to which the connector 303 has been connected is connected to one end of an RF cut-off inductor 304.
  • the other end of this RF cut-off inductor 304 is connected to a collector of an NPN driver transistor 306 (1), whose emitter is grounded, through a series circuit constituted of infrared light-emitting diodes 305 (1, 1) through 305 (n, 1).
  • This other end of the RF cut-off inductor 304 is further connected to a collector of an NPN driver transistor 306 (m), whose emitter is grounded, through a series circuit constituted of infrared light-emitting diodes 305 (1, m) through 305 (n, m).
  • n times m number of infrared light-emitting diodes 305 (1, 1) through 305 (n, m) constitute the infrared optical transmission section 301.
  • connection cable 302 that is opposite to the end thereof to which the connector 303 has been connected is grounded through a series circuit constituted of a DC cut-off capacitor 307 and an input resistor 308.
  • a node between the capacitor 307 and the input resistor 308 is connected to a base of each of the transistors 306 (1) through 306 (m) through an amplifier 309.
  • the connector (plug) 303 When the connector (plug) 303 is connected to the connector (jack) 209 of the infrared optical transmission apparatus 200A, the end of the connection cable 302 that is opposite to the end thereof to which the connector 303 has been connected is supplied with the modulated RF signal MRF on which DC power supply voltage DC2 is superposed. For this reason, the DC power supply voltage DC2 appears at the other end of the RF cut-off inductor 304. This DC power supply voltage DC2 is supplied as power to the infrared optical transmission section 301.
  • the node between the DC cut-off capacitor 307 and the input resistor 308 is supplied with the modulated RF signal MRF.
  • This modulated RF signal MRF is amplified by the amplifier 309 and then supplied as a drive signal to the base of each of the transistors 306 (1) through 306 (m).
  • the diodes 305 (1, 1) through 305 (n, m) emit light in response to the modulated RF signal MRF, so that an infrared signal SIR corresponding to the modulated RF signal MRF can be output from the infrared optical transmission section 301.
  • FIG. 3 shows another infrared optical transmission apparatus 200B as related art.
  • This infrared optical transmission apparatus 200B is equipped with a connector, not shown in FIG. 3, for connecting the infrared optical transmission unit 300 but, in contrast to the infrared optical transmission apparatus 200A described above, the infrared optical transmission apparatus 200B is not equipped with an infrared optical transmission section for outputting an infrared signal SIR.
  • connection cable 302 is connected to the infrared optical transmission unit 300 while the connector (plug) 303 that is connected to the end of the connection cable is connected to a connector (jack) of the infrared optical transmission apparatus 200B.
  • a modulated RF signal on which a DC power supply voltage can be superposed is supplied to the infrared optical transmission unit 300 from the infrared optical transmission apparatus 200B. This gives rise to a condition such that an infrared signal SIR corresponding to the modulated RF signal can be output from the infrared optical transmission section 301.
  • FIG. 4 shows circuit configurations of the infrared optical transmission apparatus 200B and the infrared optical transmission unit 300.
  • This infrared optical transmission apparatus 200B has the same configuration as that of the infrared optical transmission apparatus 200A described above except the infrared light-emitting diodes 203 (1, 1) through 203 (n, m), the transistors 204 (1) through 204 (m), and the amplifier 205.
  • the modulated RF signal MRF obtained by a modulation circuit, not shown, is amplified by the amplifier 206, and then supplied to the connector 209 through a series circuit constituted of the output resistor 207 and the DC cut-off capacitor 208. Further, the stabilized DC power supply voltage DC2 obtained from the regulator 202 is supplied to the connector 209 by way of the RF cut-off inductor 210. Accordingly, the connector 209 is provided with a modulated RF signal MRF on which the DC power supply voltage DC2 is superposed.
  • the infrared optical transmission system 300 has the same circuit configuration as the above-described configuration. Therefore, if the connector 303 is connected to the connector 209 of the infrared optical transmission system 200B, the end of the connection cable 302 that is opposite to the end thereof to which the connector 303 is connected is supplied with the modulated RF signal RFM on which the DC power supply voltage DC2 is superposed. Therefore, an infrared signal SIR corresponding to the modulated RF signal MRF is output from the infrared optical transmission section 301.
  • Japanese Patent Application Publication No. Hei 8-288909 has disclosed an apparatus for converting a video signal or an audio signal into an optical signal and transmitting it by means of a space, in which dissipation power can be saved by driving light-emitting means only when it is necessary for an optical signal to be transmitted. For example, if an AV pin plug is connected to an output terminal, a signal reproduced from a VTR block is output to outside through the AV pin plug, and at such a time, a microcomputer supplies an infrared transmission modulator and a light-emitting section with a power supply control signal that turns off the drive voltage.
  • an infrared signal SIR that corresponds to the modulated RF signal MRF is output from the infrared optical transmission section 201, thereby dissipating power wastefully, or accelerating deterioration in the infrared optical transmission section 201.
  • the attachment and detachment of the AV pin plug is detected mechanically. This may prevent an electrical connection from being detected certainty.
  • the microcomputer may supply the infrared transmission modulator and the light-emitting section with a control signal that turns off the drive voltage.
  • this Japanese publication has not disclosed how a DC power supply voltage to a connector which is provided with a modulated RF signal on which a DC power supply voltage is superposed can be controlled on the basis of whether or not the infrared optical transmission unit is connected to the connector.
  • an electronic device including a first signal path that supplies an input signal, a first power supply path that supplies a voltage, and a connector that transmits to an external device the input signal on which the voltage has been superposed.
  • the connector is supplied with the input signal by way of the first input path and supplied with the voltage by way of the power supply path.
  • the electronic device also includes a first power supply switch inserted into the first power supply path and an amplitude detector that detects at the connector an amplitude of the input signal on which the voltage has been superposed.
  • the electronic device further includes a control section that determines on the basis of a detection output from the amplitude detector, which at least a connection condition of the external device to the connector is a first condition in which the external device is not connected to the connector or a second condition in which the external device is connected to the connector. On the basis of the connection condition, the control section controls the first power supply switch to perform any one of turning on and off the first power supply switch.
  • a connector for connecting an external device (a transmission unit) is provided.
  • the connector is supplied with an input signal through a first signal path.
  • the connector is also supplied with a voltage through a first power supply path.
  • a first power supply switch is inserted into this first power supply path.
  • An amplitude of a signal at the connector is detected. On the basis of an output of this amplitude that has been detected, it is at least determined which one of two connection conditions has been reached. This is, in a first condition, an external device is not connected to the connector, and in a second condition, it is connected to the connector. Since the output that is detected in the first condition is of a higher level than that in a second condition, by comparing the detected output with a predetermined threshold value, it is possible to determine whether the first or the second condition has been reached.
  • a first power supply switch is turned on. Therefore, the connector is provided with a modulated RF signal on which a DC power supply voltage is superposed, so that an output signal that corresponds to an input signal can be provided from a first signal transmission section in the external device that is connected to this connector.
  • the short-circuit protection circuit is equipped with, for example, a regulator for obtaining a voltage.
  • a third condition On the basis of a detected output of an amplitude of a signal that appears at the connector, it is further determined whether or not a third condition has been reached in which the connector has been short-circuited.
  • a detected output is 0, so that by comparing this detected output with a predetermined threshold value, it is possible to determine whether the third condition has been reached.
  • the first power supply switch is turned off. Accordingly, even when the connector has been short-circuited in a condition where an external device is connected to the connector, this connector immediately comes to be provided with no voltage, thereby preventing operation of the short-circuit protection circuit or destruction of, or failure such as burnout in the RF cut-off inductor or the printed circuit board pattern form occurring.
  • a warning of short-circuit problem is given.
  • This notification is made by use of a display, by means of methods such as the production of a voice from a speaker, by the light emission from a light-emitting element, and by production of a buzzer sound. This allows a user to be easily apprised of the short-circuit problem in the connector, and to take any remedial actions.
  • the electronic device further has a second signal transmission section, a second signal path for supplying an input signal to this second signal transmission section, a second power supply path for supplying a voltage to the second signal transmission section, and a second power supply switch inserted into this second power supply path.
  • the second power supply switch is turned on in the first condition and turned off in the second condition.
  • an output signal that corresponds to an input signal is output from the second signal transmission section that is built in an electric device.
  • the output signal that corresponds to the input signal is output from the first signal transmission section in this external device, and no signal is output from the first signal transmission section built in the electronic device. This avoids the occurrence of a situation of wasteful power dissipation in which output signals are simultaneously output from the first signal transmission section in the external device and from the second signal transmission section that is built in the electronic device.
  • FIG. 5 shows a configuration of an infrared optical transmission apparatus 100A according to the first embodiment.
  • An output side of the regulator 102 is connected to a collector of an NPN driver transistor 104(1), whose emitter is grounded, through a series circuit constituted of infrared light-emitting diodes 103 (1, 1) through 103 (n, 1).
  • the output side of the regulator 102 is also connected to a collector of an NPN driver transistor 104(m), whose emitter is grounded, through a series circuit constituted of infrared light-emitting diodes 103(1, m) through 103(n, m).
  • a power supply switch 106 is inserted into a power supply path 105 for supplying the DC power supply voltage DC2 from the regulator 102 to the infrared optical transmission section 101. It is to be noted that the power supply path 105 constitutes a second power supply path, and that the power supply switch 106 constitutes a second power supply switch.
  • An amplifier 107 receives and amplifies a modulated RF signal MRF obtained from a modulation circuit, not shown. An output side of this amplifier 107 is connected to a base of each of the transistors 104(1) through 104(m). It is to be noted that the modulated RF signal MRF is obtained, for example, by performing digital modulation on a carrier wave by using audio data or image data, and produced so as to have a constant amplitude.
  • a signal path into which this amplifier 107 is inserted constitutes a second signal path for supplying the modulated RF signal MRF to the infrared optical transmission section 101.
  • An amplifier 108 receives and amplifies the modulated RF signal MRF obtained from the modulation circuit, not shown.
  • An output side of this amplifier 108 is connected to a connector (jack) 111 through a series circuit constituted of an output resistor 109 and a DC cut-off capacitor 110.
  • a signal path into which the amplifier 108, the output resistor 109, and the DC cut-off capacitor 110 are inserted constitutes a first signal path that supplies the modulated RF signal MRF to the connector 111.
  • the output side of the regulator 202 described above is connected to the connector 111 by way of a power supply switch 112 and an RF cut-off inductor 113.
  • the power supply switch 112 constitutes a first power supply switch
  • a power supply path 114 into which the power supply switch 112 and the RF cut-off inductor 113 are inserted constitutes a first power supply path for supplying a DC power supply voltage DC2 to the connector 111.
  • the connector 111 is connected through a DC cut-off capacitor 121 to an input side of a series circuit constituted of an impedance converter 122, an amplifier 123, and an RF detector 124.
  • the DC cut-off capacitor 121 constitutes a filter for extracting only the modulated RF signal MRF to be output to the connector 111.
  • the series circuit constituted of the impedance converter 122, the amplifier 123, and the RF detector 124 constitutes an amplitude detection section that detects an amplitude of the modulated RF signal MRF.
  • the impedance converter 122 has a high level of impedance on its input side and a low level of impedance on its output side. Since the input side is higher in terms of impedance, it is possible to detect an amplitude of the modulated RF signal MRF without affecting this modulated RF signal MRF.
  • the amplifier 123 amplifies an amplitude of the modulated RF signal MRF that has been converted by the impedance converter 122 to a low impedance signal.
  • the RF detector 124 detects the modulated RF signal MRF that has been amplified by the amplifier 123, so as to output a DC voltage VD that is proportional to the amplitude.
  • an output side of the RF detector 124 is connected to positive input terminals of comparators 125 and 126.
  • a negative input terminal of the comparator 125 is supplied with a reference voltage Vth1.
  • a value of this reference voltage Vth1 is set to an intermediate value of the following two values. These two values are respectively a value of an output DC voltage VD of the RF detector 124 in a condition (condition A) where an infrared optical transmission unit is not connected to the connector 111, and a value of the output DC voltage VD of the RF detector 124 in a condition (condition B) where the infrared optical transmission unit is connected to the connector 111.
  • a output CMP1 of this comparator 125 indicates a high level "H” if the value of the output DC voltage VD of the RF detector 124 is greater than a value of the reference voltage Vth1 and conversely, indicates a low level “L” if the value of the output DC voltage VD of the RF detector 124 is not greater than the value of the reference voltage Vth1. It is thus possible, by utilizing the output of the comparator 125, to determine which condition A or B has been reached.
  • a negative input terminal of the comparator 126 is supplied with a reference voltage Vth2.
  • This reference voltage Vth2 is set to an intermediate value of the following two values. These two values are respectively a value of the output DC voltage VD of the RF detector 124 in condition (condition B) where the infrared optical transmission unit is connected to the connector 111, and a value of the output DC voltage VD of the RF detector 124 in a condition (condition C) where the connector 111 is short-circuited.
  • An output CMP2 of this comparator 126 indicates a high level "H” if the value of the output DC voltage VD of the RF detector 124 is greater than a value of a reference voltage Vth2 and conversely, indicates a low level “L” if the value of the output DC voltage VD of the RF detector 124 is not greater than the value of the reference voltage Vth2. It is thus possible, by utilizing the output of the comparator 126, to determine whether or not the condition C has been reached.
  • the infrared optical transmission apparatus 100A has a system controller 127.
  • This system controller 127 constitutes a control section.
  • the system controller 127 receives the outputs CMP1 and CMP2 of the comparators 125 and 126 described above.
  • This system controller 127 controls the power supply switches 106 and 112 on the basis of outputs CMP1 and CMP2 of the comparators 125 and 126 to turn on or off each of the power supply switches 106 and 112.
  • the power supply switch 106 is turned on and the power supply switch 112 is turned off. If the output CMP1 of the comparator 125 indicates a low level “L” and the output CMP2 of the power supply switch 126 indicates a high level "H”, the power supply switch 106 is turned off, and the power supply switch 112 is turned on. If the outputs CMP1 and CMP2 of the comparators 125 and 126 both indicate low levels "L”, the power supply switch 106 is maintained in its pre-short-circuit condition and the power supply switch 112 is turned off.
  • the system controller 127 controls a video system so that a warning of a short-circuit problem can be displayed on a screen.
  • connection cable 152 opposite to an end thereof to which a connector (plug) 153 is connected is connected to one end of an RF cut-off inductor 154.
  • the other end of this RF cut-off inductor 154 is connected to a collector of an NPN driver transistor 156 (1), whose emitter is grounded, through a series circuit constituted of infrared light-emitting diodes 155(1, 1) through 155(n, 1).
  • the other end of the RF cut-off inductor 154 is also connected to a collector of an NPN driver transistor 156 (m), whose emitter is grounded, through a series circuit constituted of infrared light-emitting diodes 155(1, m) through 155(n, m).
  • n times m number of infrared light-emitting diodes 155(1, 1) through 155(n, m) constitute an infrared optical transmission section 151.
  • connection cable 152 opposite to the end thereof to which the connector 153 is connected is also grounded through a series circuit constituted of a DC cut-off capacitor 157 and an input resistor 158.
  • a node between the capacitor 157 and the input resistor 158 is connected to the base of each of the transistors 156(1) through 156(m) through an amplifier 159.
  • the connector (plug) 153 When the connector (plug) 153 is connected to the connector (jack) 111 of the infrared optical transmission apparatus 100A, the end of the connection cable 152 opposite to the end thereof to which the connector 153 is connected is supplied with the modulated RF signal MRF on which the DC power supply voltage DC2 is superposed. Therefore, the DC power supply voltage DC2 appears at the other end of the RF cut-off inductor 154. This DC power supply voltage DC2 is supplied as power to the infrared optical transmission section 151.
  • the node between the DC cut-off capacitor 157 and the input resistor 158 is supplied with the modulated RF signal MRF.
  • This modulated RF signal MRF is amplified by the amplifier 159 and then supplied as a drive signal to the base of each of the transistors 156(1) through 156(m).
  • the diodes 155 (1, 1) through 155(n, m) emit light in response to the modulated RF signal MRF, so that an infrared signal SIR corresponding to the modulated RF signal MRF can be output from the infrared optical transmission section 151.
  • Step ST1 an operation of the infrared optical transmission apparatus 100A starts in Step ST1.
  • Step ST2 the amplitude detection section detects an amplitude of the modulated RF signal MRF at the connector 111.
  • Step ST3 it is determined which is a connection condition of the external device, namely, the infrared optical transmission unit 150, to the connector 111 on the basis of the detected amplitude.
  • condition A a connection condition where the infrared optical transmission unit 150 is connected to the connector 111 is determined as the connection condition of the external device at step ST 4 will be described.
  • the connector 111 when an amplitude of the modulated RF signal MRF at the output side of the amplifier 108 is Vpp, the connector 111 is provided with an amplitude Vpp of the modulated RF signal MRF; the impedance converter 122 provides an output amplitude of Vpp; the amplifier 123 provides an output amplitude of GVpp (where G is a voltage gain of the amplifier 123); and the RF detector 124 provides voltage of KGVpp (where K is a detection/conversion efficiency factor of the RF detector 124) as its output DC voltage VD.
  • the reference voltage Vth1 of the comparator 125 is set to (1/2) ⁇ ⁇ (Ro+2Ri)/(Ro+Ri) ⁇ ⁇ KGVpp
  • the reference voltage Vth2 of the comparator 126 is set to (1/2) ⁇ ⁇ Ri/(Ro+Ri) ⁇ ⁇ KGVpp. Accordingly, the outputs CMP1 and CMP2 of the respective comparators 125 and 126 both indicate high levels "H”.
  • the system controller 127 determines that the infrared optical transmission unit 150 is not connected to the connector 111 (condition A), to turn on the power supply switch 106 and to turn off the power supply switch 112.
  • the power supply DC voltage DC2 obtained from the regulator 102 is supplied as power to the infrared optical transmission section 101 through the power supply switch 106.
  • the modulated RF signal MRF obtained from the modulation circuit is amplified by the amplifier 107 and then supplied as a drive signal to the base of each of the transistors 104(1) through 104(m). Accordingly, the diodes 104(1, 1) through 103(n, m) emit light in response to the modulated RF signal MRF, so that an infrared signal SIR corresponding to the modulated RF signal MRF can be output from the built-in infrared optical transmission section 101.
  • the modulated RF signal obtained from the modulation circuit is also amplified by the amplifier 108 and then supplied to the connector 111 through a series circuit constituted of the output resistor 109 and the DC cut-off capacitor 110.
  • the power supply switch 112 is turned off, so that the power supply DC voltage DC2 obtained by the regulator 102 is accordingly not supplied to the connector 111.
  • step ST 7 the operation then ends.
  • condition B a connection condition where the infrared optical transmission unit 150 is connected to the connector 111 is determined as the connection condition of the external device at step ST 5 will be described.
  • the connector 111 when an amplitude of the modulated RF signal MRF at the output side of the amplifier 108 is Vpp, the connector 111 is provided with an amplitude of ⁇ Ri/(Ro+Ri) ⁇ ⁇ Vpp of the modulated RF signal MRF; the impedance converter 122 provides an output amplitude of ⁇ Ri/(Ro+Ri) ⁇ ⁇ Vpp; the amplifier 123 provides an output amplitude of ⁇ Ri/(Ro+Ri) ⁇ ⁇ GVpp; and the RF detector 124 provides voltage of ⁇ Ri/(Ro+Ri) ⁇ ⁇ KGVpp as its output DC voltage VD.
  • the reference voltage Vth1 of the comparator 125 is set to (1/2) ⁇ ⁇ (Ro+2Ri)/(Ro+Ri) ⁇ ⁇ KGVpp and the reference voltage Vth2 of the comparator 126 is set to (1/2) ⁇ ⁇ Ri/(Ro+Ri) ⁇ ⁇ KGVpp. Accordingly, an output CMP1 of the comparator 125 indicates a low level "L” and an output CMP2 of the comparator 126 indicates a high level "H”.
  • the system controller 127 determines that the infrared optical transmission unit 150 is connected to the connector 111 (condition B), to turn off the power supply switch 106 and to turn on the power supply switch 112.
  • the power supply DC voltage DC2 obtained from the regulator 102 is supplied to the connector 111 through the power supply switch 112 and the RF cut-off inductor 113.
  • the modulated RF signal MRF obtained from the modulation circuit is amplified by the amplifier 108 and then supplied to the connector 111 through the series circuit constituted of the output resistor 109 and the DC cut-off capacitor 110. Accordingly, the connector 111 is provided with the modulated RF signal MRF on which the power supply DC voltage DC2 is superposed.
  • the modulated RF signal MRF appears on which the power supply DC voltage DC2 is superposed. This enables an infrared signal SIR corresponding to the modulated RF signal MRF to be output from the infrared optical transmission section 151 in the infrared optical transmission unit 150 connected to this connector 111.
  • the power supply switch 106 is turned off, so that the power supply DC voltage DC2 obtained from the regulator 102 is not supplied to the built-in infrared optical transmission section 101. Therefore, none of the diodes 103(1, 1) through 103(n, m) emits light, and an infrared signal SIR corresponding to the modulated RF signal MRF is not output.
  • condition C a connection condition where the connector 111 has been short-circuited is determined as the connection condition of the external device at step ST 6
  • the connector 111 when an amplitude of the modulated RF signal MRF at the output side of the amplifier 108 is Vpp, the connector 111 is provided with an amplitude of zero of the modulated RF signal MRF; the impedance converter 122 provides an output amplitude of zero; the amplifier 123 provides an output amplitude of zero; and the RF detector 124 provides voltage of zero as its output DC voltage VD.
  • the reference voltage Vth1 of the comparator 125 is set to (1/2) ⁇ ⁇ (Ro+2Ri)/(Ro+Ri) ⁇ ⁇ KGVpp and the reference voltage Vth2 of the comparator 126 is set to (1/2) ⁇ ⁇ (Ri/(Ro+Ri) ⁇ KGVpp. Accordingly, the outputs CMP1 and CMP2 of the respective comparators 125 and 126 both indicate low levels "L".
  • the system controller 127 determines that the connector 111 has been short-circuited (condition C), to hold the power supply switch 106 in the pre-short-circuit condition and to turn off the power supply switch 112.
  • the power supply DC voltage DC2 obtained from the regulator 102 is not supplied to the connector 111.
  • the modulated RF signal MRF obtained from the modulation circuit is amplified by the amplifier 108, and then supplied to the connector 111 through the series circuit constituted of the output resistor 109 and the DC cut-off capacitor 110.
  • the power supply switch 106 is maintained in the pre-short-circuit condition thereof, so that if the power supply switch 106 is turned on in a condition (condition A) where the infrared optical transmission unit 150 is not connected, the power supply switch 106 is held in an on-state even after the connector 111 has been short-circuited. Further, if the power supply switch 106 is turned off in a condition (condition B) where the infrared optical transmission unit 150 is connected, the power supply switch 106 is held in an off-state even after the connector 111 has been short-circuited.
  • the system controller 127 controls the video system so as to enable a warning of a short-circuit problem to be displayed on a screen at step ST8 shown in FIG. 6B.
  • FIG. 7 shows a summary of operations of the circuits in the various conditions described above.
  • FIG. 8 shows changes in outputs CMP1 and CMP2 of the comparators 125, 126 and the turning on and off of the power supply switches 112, 106 in response to changes between condition A and condition B.
  • FIG. 9 shows changes in outputs CMP1 and CMP2 of the comparators 125, 126 and the turning on and off of the power supply switches 112, 106 in response to changes between condition A and condition B.
  • the power supply switch 112 is turned off, so that the power supply DC voltage DC2 is not output to the connector 111. Therefore, even if this connector has been short-circuited, a power supply DC voltage is not output to the connector 111, and an operation of the short-circuit protection circuit in the regulator 102 or the destruction of, or a failure such as burnout in the RF cut-off inductor 110 or the printed circuit board pattern do not occur.
  • the power supply switch 106 is turned off.
  • An infrared signal SIR corresponding to the modulated RF signal is not be output from the built-in infrared optical transmission section 101. This avoids a wasteful dissipation situation of electric power from occurring, specifically a situation where the infrared signal SIR is output not only from the infrared optical transmission section 151 in the infrared optical transmission unit 150 but also from the built-in infrared optical transmission section 101.
  • the power supply switch 112 is turned off and the power supply DC voltage DC2 is accordingly not output to the connector 111. Therefore, even when this connector 111 has been short-circuited in a condition where the infrared optical transmission unit 150 is connected to the connector 111, the connector 111 will not immediately be provided with the power supply DC voltage DC2. This avoids form occurring an operation of the short-circuit protection circuit in the regulator 102, or the destruction of, or a failure such as burnout in the RF cut-off inductor 110 or the printed circuit board pattern.
  • the video system is controlled so as to enable a warning of a short-circuit problem to be displayed on the screen. It thus becomes possible for a user to learn easily about a short-circuit problem, and to take any remedial action thereto.
  • FIG. 10 shows a configuration of an infrared optical transmission apparatus 100B according to the second embodiment.
  • This infrared optical transmission apparatus 100B is identical to the infrared optical transmission apparatus 100A described above, except the infrared light-emitting diodes 103(1, 1) through 103(n, m), the transistors 104(1) through 104(m), the power supply switch 106, and the amplifier 107.
  • condition A An operation in a condition (condition A) where the infrared optical transmission unit 150 is connected to the connector 111 will be described.
  • the connector 111 when an amplitude of the modulated RF signal MRF at an output side of the amplifier 108 is Vpp, the connector 111 is provided with the amplitude of Vpp of the modulated RF signal MRF; the impedance converter 122 provides an output amplitude of Vpp; the amplifier 123 provides an output amplitude of GVpp (where G is a voltage gain of the amplifier 123); and the RF detector 124 provides voltage KGVpp as its output DC voltage VD (where K is a detection/conversion efficiency factor of the RF detector 124).
  • the reference voltage Vth1 of the comparator 125 is set to (1/2) ⁇ ⁇ (Ro+2Ri)/(Ro+Ri) ⁇ ⁇ KGVpp and the reference voltage Vth2 of the comparator 126 is set to (1/2) ⁇ ⁇ Ri/ (Ro+Ri) ⁇ ⁇ KGVpp. Accordingly, the outputs CMP1 and CMP2 of the respective comparators 125 and 126 both indicate high levels "H".
  • the system controller 127 determines that the infrared optical transmission unit 150 is not connected to the connector 111 (condition A) to turn off the power supply switch 112.
  • the power supply DC voltage DC2 obtained from the regulator 102 is not supplied to the connector 111.
  • the modulated RF signal MRF obtained from the modulation circuit is amplified by the amplifier 108, and then supplied to the connector 111 through the series circuit constituted of the output resistor 109 and the DC cut-off capacitor 110.
  • condition B an operation in a condition (condition B) where the infrared optical transmission unit 150 is connected to the connector 111 will be described.
  • the connector 111 when an amplitude of the modulated RF signal MRF at the output side of the amplifier 108 is Vpp, the connector 111 is provided with an amplitude of ⁇ (Ri/(Ro+Ri) ⁇ ⁇ Vpp of the modulated RF signal MRF; the impedance converter 122 provides an output amplitude of ⁇ Ri/(Ro+Ri) ⁇ ⁇ Vpp; the amplifier 123 provides an output amplitude of ⁇ Ri/(Ro+Ri) ⁇ ⁇ GVpp; and the RF detector 124 provides voltage of ⁇ Ri/(Ro+Ri) ⁇ ⁇ KGVpp as its output DC voltage VD.
  • the reference voltage Vth1 of the comparator 125 is set to (1/2) ⁇ ⁇ (Ro+2Ri)/(Ro+Ri) ⁇ ⁇ KGVpp and the reference voltage Vth2 of the comparator 126 is set to (1/2) ⁇ ⁇ Ri/(Ro+Ri) ⁇ ⁇ KGVpp. Accordingly, the output CMP1 of the comparator 125 indicates a low level "L” and the output CMP2 of the comparator 126 indicates a high level "H”. The system controller 127 then determines that the infrared optical transmission unit 150 is connected to the connector 111 (condition B) to turn on the power supply switch 112.
  • the power supply DC voltage DC2 obtained from the regulator 102 is supplied to the connector 111 through the power supply switch 112 and the RF cut-off inductor 113.
  • the modulated RF signal MRF obtained from the modulation circuit, not shown, is amplified by the amplifier 108 and then supplied to the connector 111 through the series circuit constituted of the output resistor 109 and the DC cut-off capacitor 110. Accordingly, the connector 111 is provided with the modulated RF signal MRF on which the power supply DC voltage DC2 is superposed.
  • the modulated RF signal MRF appears on which the power supply DC voltage DC2 is superposed, so that an infrared signal SIR corresponding to the modulated RF signal MRF is output from the infrared optical transmission section 151 in the infrared optical transmission unit 150 connected to this connector 111.
  • condition C where the connector 111 has been short-circuited
  • the connector 111 when an amplitude of the modulated RF signal MRF at the output side of the amplifier 108 is Vpp, the connector 111 is provided with an amplitude of zero of the modulated RF signal MRF; the impedance converter 122 provides an output amplitude of zero; the amplifier 123 provides an output amplitude of zero; and the RF detector 124 provides voltage of zero as its output DC voltage VD.
  • the reference voltage Vth1 of the comparator 125 is set to (1/2) ⁇ ⁇ (Ro+2Ri)/(Ro+Ri) ⁇ ⁇ KGVpp and the reference voltage Vth2 of the comparator 126 is set to (1/2) ⁇ ⁇ Ri/(Ro+Ri) ⁇ ⁇ KGVpp. Accordingly, the outputs CMP1 and CMP2 of the respective comparator 125 and 126 both indicate low levels "L". The system controller 127 then determines that the connector 111 has been short-circuited (condition C) to turn off the power supply switch 112.
  • the power supply DC voltage DC2 obtained from the regulator 102 is not supplied to the connector 111.
  • the modulated RF signal MRF obtained from the modulation circuit is amplified by the amplifier 108, and then supplied to the connector 111 through the series circuit constituted of the output resistor 109 and the DC cut-off capacitor 110.
  • the system controller 127 controls the video system so as to enable a warning of a short-circuit problem to be displayed on a screen.
  • the power supply switch 112 is turned off, so that the power supply DC voltage DC2 is accordingly not output to the connector 111. Therefore, even when this connector has been short-circuited, a power supply DC voltage is not output to the connector 111. This avoids an operation of the short-circuit protection circuit in the regulator 102, or the destruction of, or a failure such as burnout in the RF cut-off inductor 110 or the printed circuit board pattern from occurring.
  • the power supply switch 112 is turned off, so that the power supply DC voltage DC2 is accordingly not output to the connector 111. Accordingly, even when the connector 111 has been short-circuited in a condition where the infrared optical transmission unit 150 is connected to this connector, the connector 111 immediately reaches a situation in which it is not provided with the power supply DC voltage DC2. This avoids an operation of the short-circuit protection circuit in the regulator 1102, or of the destruction of, or failure such as burnout in the RF cut-off inductor 110 or the printed circuit board pattern from occurring.
  • the video system is controlled so as to enable a warning of a short-circuit problem to be displayed on the screen. It thus becomes possible for a user to learn easily about a short-circuit problem, and to take any remedial action thereto.
  • a warning of a short-circuit problem is displayed on the screen
  • the present invention can also be applied to an embodiment for notifying a user of a short-circuit problem by using other types of notification section.
  • a warning of a short-circuit problem can be notified by the production of a sound output from a speaker, the emission of light from a light-emitting element, or the generation of a buzzer sound.
  • connection information to the effect that the infrared optical transmission unit 150 is connected to the connector 111 can be applied to functions and signal processing in the device by means of the system controller 127.
  • the connection information described above can be recognized as a selection of the surrounds, and changes made to the functions and signal-processing in the device.
  • the embodiments of the present invention in circumstances where the optical transmission unit is not connected, the occurrence can be avoided of an operation of a short-circuit protection circuit, or of the destruction of, or a failure such as burnout in the RF cut-off inductor or a printed circuit board pattern, resulting from short-circuiting of the connector.
  • the embodiments of invention can be applied to an infrared optical transmission apparatus equipped with a connector for connecting an infrared optical transmission unit.

Landscapes

  • Engineering & Computer Science (AREA)
  • Power Engineering (AREA)
  • Computer Networks & Wireless Communication (AREA)
  • Signal Processing (AREA)
  • Optical Communication System (AREA)
  • Selective Calling Equipment (AREA)
EP06122939A 2005-10-26 2006-10-25 Electronic device, transmission system and method for determining connection condition Withdrawn EP1780903A1 (en)

Applications Claiming Priority (1)

Application Number Priority Date Filing Date Title
JP2005311620A JP4508080B2 (ja) 2005-10-26 2005-10-26 電子機器、送信システム及び接続状態判定方法

Publications (1)

Publication Number Publication Date
EP1780903A1 true EP1780903A1 (en) 2007-05-02

Family

ID=37708143

Family Applications (1)

Application Number Title Priority Date Filing Date
EP06122939A Withdrawn EP1780903A1 (en) 2005-10-26 2006-10-25 Electronic device, transmission system and method for determining connection condition

Country Status (4)

Country Link
US (1) US7271597B2 (enExample)
EP (1) EP1780903A1 (enExample)
JP (1) JP4508080B2 (enExample)
CN (1) CN1992560B (enExample)

Cited By (2)

* Cited by examiner, † Cited by third party
Publication number Priority date Publication date Assignee Title
WO2009056916A1 (en) * 2007-10-31 2009-05-07 Sony Ericsson Mobile Communications Ab Electronic device utilizing impedance and/or resistance identification to identify an accessory device
WO2022005449A1 (en) * 2020-06-29 2022-01-06 Google Llc Enhanced edge detect power line communication

Families Citing this family (7)

* Cited by examiner, † Cited by third party
Publication number Priority date Publication date Assignee Title
JP5006699B2 (ja) * 2007-05-29 2012-08-22 ルネサスエレクトロニクス株式会社 半導体装置
DE102007046636B4 (de) * 2007-09-27 2011-05-05 Lear Corporation Gmbh Verfahren und Vorrichtung zur Übertragung von Audiosignalen zu den Sendedioden einer Audiosignalinfrarotsendeeinheit
CN101769977A (zh) * 2008-12-30 2010-07-07 鸿富锦精密工业(深圳)有限公司 连接器检测系统
JP4852631B2 (ja) * 2009-06-28 2012-01-11 株式会社沖データ 通信装置及びその接続制御方法
CN102033187A (zh) * 2009-10-06 2011-04-27 株式会社东芝 连接器连接状态的检测装置和检测方法以及图像形成装置
CN103368606A (zh) * 2012-03-31 2013-10-23 青岛海信日立空调系统有限公司 电力载波通信电路及其保护方法
CN116338528A (zh) * 2021-12-23 2023-06-27 神讯电脑(昆山)有限公司 扩展坞连接器检测装置

Citations (2)

* Cited by examiner, † Cited by third party
Publication number Priority date Publication date Assignee Title
US20020118023A1 (en) 2001-02-28 2002-08-29 Ewalt John E. Detection of devices on a local area network
EP1372270A1 (en) 2001-02-27 2003-12-17 Sekisuijushi Co., Ltd Two-wire power transmitting/receiving device and its method

Family Cites Families (10)

* Cited by examiner, † Cited by third party
Publication number Priority date Publication date Assignee Title
US4764984A (en) * 1986-08-18 1988-08-16 Ibm Corporation Fluorescent sensors for infrared free-space links in data communication systems
JP3155310B2 (ja) * 1991-09-26 2001-04-09 アジレント・テクノロジー株式会社 コンタクトチェック機能付二端子回路素子測定装置および被測定対象のコンタクトチェック方法
FI109496B (fi) * 1992-08-18 2002-08-15 Nokia Corp Laitteisto ja menetelmä digitaalisen infrapunavälitteisen tiedonsiirron järjestämiseksi radiopuhelinlaitteen perusosan ja toisen laitteen välillä
CN1161093A (zh) * 1994-10-19 1997-10-01 美国3M公司 外围设备接口模块用节能装置
JPH08288909A (ja) * 1995-04-14 1996-11-01 Sony Corp 光信号伝送装置
US6104198A (en) * 1997-05-20 2000-08-15 Zen Licensing Group Llp Testing the integrity of an electrical connection to a device using an onboard controllable signal source
KR20010029628A (ko) * 1999-09-24 2001-04-06 가츠노리 이카케 교류 전원 접지측 검출장치
JP2002315186A (ja) * 2001-04-18 2002-10-25 Takata Corp コネクタの誤接続検出方法
JP4058952B2 (ja) * 2002-01-30 2008-03-12 住友電装株式会社 導通検査ユニット及びそれを用いた導通検査装置
US7034662B2 (en) * 2003-09-15 2006-04-25 Rockwell Automation Technologies, Inc. Multi-function integrated automation cable system and method

Patent Citations (2)

* Cited by examiner, † Cited by third party
Publication number Priority date Publication date Assignee Title
EP1372270A1 (en) 2001-02-27 2003-12-17 Sekisuijushi Co., Ltd Two-wire power transmitting/receiving device and its method
US20020118023A1 (en) 2001-02-28 2002-08-29 Ewalt John E. Detection of devices on a local area network

Cited By (6)

* Cited by examiner, † Cited by third party
Publication number Priority date Publication date Assignee Title
WO2009056916A1 (en) * 2007-10-31 2009-05-07 Sony Ericsson Mobile Communications Ab Electronic device utilizing impedance and/or resistance identification to identify an accessory device
CN101425048B (zh) * 2007-10-31 2010-10-27 索尼爱立信移动通讯有限公司 以阻抗和/或电阻识别来识别附件设备的电子设备和方法
US7948246B2 (en) 2007-10-31 2011-05-24 Sony Ericsson Mobile Communications Ab Electronic device utilizing impedance and/or resistance identification to identify an accessory device
WO2022005449A1 (en) * 2020-06-29 2022-01-06 Google Llc Enhanced edge detect power line communication
EP4156532A1 (en) * 2020-06-29 2023-03-29 Google LLC Enhanced edge detect power line communication
US12028127B2 (en) 2020-06-29 2024-07-02 Google Llc Enhanced edge detect power line communication

Also Published As

Publication number Publication date
JP4508080B2 (ja) 2010-07-21
CN1992560A (zh) 2007-07-04
CN1992560B (zh) 2011-02-02
JP2007124136A (ja) 2007-05-17
US7271597B2 (en) 2007-09-18
US20070091516A1 (en) 2007-04-26

Similar Documents

Publication Publication Date Title
US20110243270A1 (en) Method and apparatus of sharing signal transmission port between different signal processing operations
US7271597B2 (en) Electronic device, transmission system, and method for determining connection condition
US7092533B1 (en) BTL amplifier apparatus
US11381687B2 (en) Information processing apparatus and control method therefor
US20100266140A1 (en) Voice input/output automatic switching circuit used in hand-held microphone with speaker of communication device such as transceiver
US7167654B2 (en) Optoelectronic transceiver with power voltage supply detection
JPH09331017A (ja) 過電流保護装置
US12108144B2 (en) Image pickup apparatus, accessory, control method of image pickup apparatus, control method of accessory, and storage medium
US12578630B2 (en) Electronic apparatus and its control method, and accessory and its control method
US9401821B2 (en) Powered device, power supply system, and operation mode selection method
JP2000092346A (ja) 映像出力装置
US20180102659A1 (en) Vehicle electrical apparatus with protection and detection mechanism for reverse power connection
US9258064B2 (en) Light emission circuit
US20120056611A1 (en) Connection detection circuit
US20060020722A1 (en) Circuit of a serial communication port pair
JP2643830B2 (ja) 監視カメラ装置
US20220345614A1 (en) Electronic apparatus, its control method, accessory, its control method, system, and storage medium
JP4815645B2 (ja) 電子回路および増幅装置
JPH11215692A (ja) ポータブル電子機器
JP2003243711A (ja) リモコン送信機用赤外線発光ダイオード駆動回路
JP3632906B2 (ja) 信号検知回路及びそれを用いた画像表示装置
JP2627594B2 (ja) リモートコントロール信号伝送装置
JP3407892B2 (ja) 入力信号識別装置
JPH10268852A (ja) 映像表示装置および情報信号の出力制御方法
KR100237852B1 (ko) 페데스털 레벨 제어에 의한 셀프 래스팅 회로 및 방법

Legal Events

Date Code Title Description
PUAI Public reference made under article 153(3) epc to a published international application that has entered the european phase

Free format text: ORIGINAL CODE: 0009012

AK Designated contracting states

Kind code of ref document: A1

Designated state(s): AT BE BG CH CY CZ DE DK EE ES FI FR GB GR HU IE IS IT LI LT LU LV MC NL PL PT RO SE SI SK TR

AX Request for extension of the european patent

Extension state: AL BA HR MK YU

17P Request for examination filed

Effective date: 20071002

17Q First examination report despatched

Effective date: 20071115

AKX Designation fees paid

Designated state(s): DE FR GB

STAA Information on the status of an ep patent application or granted ep patent

Free format text: STATUS: THE APPLICATION IS DEEMED TO BE WITHDRAWN

18D Application deemed to be withdrawn

Effective date: 20130503