EP1641701B1 - Method and arrangement for modernizing an elevator - Google Patents
Method and arrangement for modernizing an elevator Download PDFInfo
- Publication number
- EP1641701B1 EP1641701B1 EP04729906A EP04729906A EP1641701B1 EP 1641701 B1 EP1641701 B1 EP 1641701B1 EP 04729906 A EP04729906 A EP 04729906A EP 04729906 A EP04729906 A EP 04729906A EP 1641701 B1 EP1641701 B1 EP 1641701B1
- Authority
- EP
- European Patent Office
- Prior art keywords
- suspension
- diverting
- elevator
- rope
- pulleys
- Prior art date
- Legal status (The legal status is an assumption and is not a legal conclusion. Google has not performed a legal analysis and makes no representation as to the accuracy of the status listed.)
- Expired - Lifetime
Links
- 238000000034 method Methods 0.000 title claims abstract description 10
- 239000000725 suspension Substances 0.000 claims abstract description 57
- 238000009434 installation Methods 0.000 claims description 10
- 238000012512 characterization method Methods 0.000 description 2
- 229910000831 Steel Inorganic materials 0.000 description 1
- 238000005452 bending Methods 0.000 description 1
- 238000010276 construction Methods 0.000 description 1
- 230000005611 electricity Effects 0.000 description 1
- 231100001261 hazardous Toxicity 0.000 description 1
- 238000004519 manufacturing process Methods 0.000 description 1
- 229920002635 polyurethane Polymers 0.000 description 1
- 239000004814 polyurethane Substances 0.000 description 1
- 230000002787 reinforcement Effects 0.000 description 1
- 239000010959 steel Substances 0.000 description 1
Images
Classifications
-
- B—PERFORMING OPERATIONS; TRANSPORTING
- B66—HOISTING; LIFTING; HAULING
- B66B—ELEVATORS; ESCALATORS OR MOVING WALKWAYS
- B66B19/00—Mining-hoist operation
- B66B19/007—Mining-hoist operation method for modernisation of elevators
-
- B—PERFORMING OPERATIONS; TRANSPORTING
- B66—HOISTING; LIFTING; HAULING
- B66B—ELEVATORS; ESCALATORS OR MOVING WALKWAYS
- B66B11/00—Main component parts of lifts in, or associated with, buildings or other structures
- B66B11/0065—Roping
- B66B11/008—Roping with hoisting rope or cable operated by frictional engagement with a winding drum or sheave
Definitions
- the present invention relates to a method as defined in the preamble of claim 1 for modernizing the hoisting function of an elevator and to a modernization arrangement as defined in the preamble of claim 5.
- WO 99/43589 discloses an elevator suspended using flat belts wherein relatively small belt bending diameters on the drive sheave and diverting pulleys are achieved. Problems with this solution, however, are a limited layout solution, placement of components in the elevator shaft and alignment of the diverting pulleys. Moreover, the alignment of the polyurethane-coated belts used, which have a load-bearing steel component inside them, is problematic e.g. in a situation where the car is tilted. In an elevator implemented in this manner, at least the machine and/or the structures on which it is secured in place must be fairly massive to avoid undesirable vibrations.
- the WO 02/26611 discloses an elevator having a car and a counterweight which are suspended with a 4:1 ratio whereby the drive machine of that elevator is located in the elevator shaft between the path of the elevator car and the shaft wall.
- the object of the present invention is to.overcome the above-mentioned drawbacks and to reduce the size and weight of an elevator machine by providing an economical and simple-and-easy-to-implement possibility of using drive and diverting pulleys of a smaller diameter by changing the elevator suspension in connection with modernization into a 4:1 suspension arrangement.
- the inventive concept can be applied by replacing 1:1 or 2:2 suspension with suspension other than 4:1, e.g. with 6:1 suspension.
- the invention also aims at reducing the consumption of electric energy.
- the method of the invention for modernizing the hoisting function of an elevator is characterized by what is disclosed in the characterization part of claim 1, and the modernization arrangement of the invention is characterized by what is disclosed in the characterization part of claim 5.
- Other embodiments of the invention are characterized by what is disclosed in the other claims.
- the primary sphere of application of the invention is in elevators designed for the transportation of people and/or freight.
- the elevator solution of the invention uses ropes that are thinner than those used before in elevators to be modernized, preferably substantially thin ropes having a diameter of e.g. about 4 mm or even less. This allows a definite reduction in the size of the traction sheave and diverting pulleys.
- Fig. 1 presents a typical elevator suspension solution 1 according to the invention, wherein an earlier 1:1 suspension has been changed to a 4:1 suspension by using openings 16a and 16b ready made in the machine room floor 15.
- the elevator hoisting machine is connected via a traction sheave 10 to a set of hoisting ropes, consisting of mutually parallel hoisting ropes 4 of e.g. substantially round cross-section and supporting the counterweight 3 and elevator car 2 moving along their tracks, i.e. guide rails.
- a traction sheave 10 to a set of hoisting ropes, consisting of mutually parallel hoisting ropes 4 of e.g. substantially round cross-section and supporting the counterweight 3 and elevator car 2 moving along their tracks, i.e. guide rails.
- the parallel hoisting ropes 4 is shown in the figure.
- the parallel hoisting ropes 4 are attached by their first end to a fixed starting point 5 in the machine room above the elevator shaft, from where the hoisting ropes go downwards through an opening 16a in the machine room floor 15 towards a first diverting pulley 6 connected to the counterweight 3 and disposed e.g. on the top of the counterweight 3. From diverting pulley 6, the elevator hoisting ropes go upwards to a second corresponding diverting pulley 7 disposed in the machine room above the elevator shaft. The ropes going upwards are passed through the opening 16a in the machine room floor 15.
- the ropes 4 go again downwards through the opening 16a to a second diverting pulley 8 which is mounted on the top of the counterweight 3 and which is of the same size with the first diverting pulley 6 and is placed right beside the latter, both diverting pulleys 6 and 8 being mounted on the same shaft so as to be freely rotatable with respect to each other and so that diverting pulley 8 and the first diverting pulley 6 rotate about the common shaft in opposite directions in such manner that the mutual circumferential speed of the parallel diverting pulleys of the elevator with 4:1 suspension is 2:1, in other words, the circumferential speed of one of the parallel diverting pulleys is twice that of the other.
- the hoisting ropes 4 go upwards through the opening 16a in the machine room floor to a diverting pulley 9 mounted on the elevator machine in the machine room. Thus, the ropes 4 are passed four times through opening 16a.
- the hoisting ropes 4 pass over the traction sheave 10 and go again downwards into the elevator shaft from the machine room through a second opening 16b in the machine room floor 15.
- the horizontal distance between the ropes passed over diverting pulley 9 and the traction sheave 10 is adjusted by means of the diverting pulley 9 to adapt it to the horizontal distance between the openings 16a and 16b.
- From the traction sheave 10 the hoisting ropes 4 go downwards to a first diverting pulley 11 placed on the top of the elevator car 2, and having passed around this diverting pulley the ropes go up again through the opening 16b in the machine room floor 15 to a diverting pulley 12 placed in the machine room.
- the hoisting ropes 4 go again downwards through opening 16b to a second diverting pulley 13 placed on the top of the elevator car 2, which diverting pulley is of the same size with the first diverting pulley 11 and is placed right beside the latter, both diverting pulleys 11 and 13 being mounted on the same shaft so as to be freely rotatable with respect to each other and so that diverting pulley 13 and the first diverting pulley 11 rotate about the common shaft in opposite directions in such manner that the mutual circumferential speed of the parallel diverting pulleys of the elevator with 4:1 suspension is 2:1, in other words, the circumferential speed of one of the parallel diverting pulleys is twice that of the other.
- the hoisting ropes 4 go upwards again through the same opening 16b in the machine room floor to a fixed anchorage 14 in the machine room.
- the ropes 4 are passed four times through opening 16b as well.
- the fixed points 5 and 14, diverting pulleys 7 and 12 and the traction sheave 10 and diverting pulley 9 have to be so disposed that the hoisting ropes running in different directions through the holes 16a and 16b will not hinder each other's passage.
- the above-mentioned devices are additionally so disposed that the openings 16a and 16b ready made in the machine room floor 15 and designed for 1:1 suspension will be sufficient for all the required rope passages through the floor.
- rope anchorages 5 and 14 and diverting pulleys 7 and 12 are placed mutually on the same adjusting element 17, which is secured by its lower end vertically to the machine room floor and by its upper end to the supporting arm 21 supporting the diverting pulley 7, 12.
- adjusting element 17 In the lower part of the adjusting element 17 is a substantially horizontal projection which extends over the opening 16a, 16b and which contains the fixing points 5, 14 of the ends of the hoisting ropes 4.
- Each diverting pulley 7, 12 is separately suspended on a horizontal beam 18 comprised in the bed-plate structure in the machine room in such manner that the supporting shaft 21 of each diverting pulley is freely rotatable about its center axis in relation to the horizontal beam 18.
- Fig. 2 presents a typical elevator suspension solution 1 according to a preferred embodiment of the invention, which differs from the solution illustrated in Fig. 1 in that the diverting pulleys 7 and 12 are disposed in the upper part of the elevator shaft immediately below the floor of the machine room.
- the diverting pulleys 7 and 12 are separately suspended on the horizontal beam 18 of the bed-plate structure in the machine room in such manner that the supporting shaft 21 of each diverting pulley is freely rotatable about its center axis in relation to the horizontal beam 18.
- the difference to the solution according to Fig. 1 is that the supporting shafts 21 of the diverting pulleys have a length extending from the horizontal beam 18 to a level below the machine room floor. This solution allows better space utilization in the openings 16a and 16b because it is now unnecessary to pass the hoisting ropes 4 four times through the openings. Two passes suffice.
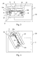
- Fig. 3 presents a diagrammatic top view of an elevator with the elevator hoisting ropes installed as in Fig. 1 through openings 16a and 16b in the floor of a machine room placed above the elevator shaft.
- the layout solution for the elevator in the elevator shaft 20 is an elevator car 2 with a counterweight 3 installed substantially centrically behind it.
- the bed-plate 19 is substantially on the same line with the line of mutual alignment of the elevator car and counterweight, and it is so mounted that the horizontal beams 18 placed transversely at each end of the bed-plate structure 19 are above the openings 16a and 16b ready made in the machine room floor.
- Placed in each opening 16a, 16b is one adjusting element 17, which rests by its rear part vertically on the machine room floor 15 at the very edge of the opening.
- the adjusting element 17 is rotated in the horizontal plane on its base about the center axis of the diverting pulley supporting shaft 21 going through the horizontal beam 18 so as to allow both the diverting pulleys 7, 12 and the rope anchorages 5, 14 to be set to a desired position relative to the opening 16a, 16b. After this rotation has been performed, the adjusting elements 17 are locked in place, and for these devices this is all that is needed for lead-through of the hoisting ropes.
- the hoisting ropes running over the traction sheave 10 and diverting pulley 9 are passed through in the traditional manner, yet taking the positions of the diverting pulleys 7, 12 and rope anchorages 5, 14 into account.
- Fig. 4 is a diagrammatic representation of a suspension arrangement wherein the elevator counterweight 3 is placed on one side of the elevator car 2 instead of behind it.
- the adjusting elements 17 can be rotated in roughly the same way as in the solution illustrated in Fig. 3 , but it is obvious that the angles of rotation may be different due to the mutual positions of the openings 16a and 16b and the elevator car 2 and counterweight 3.
- Fig. 5 presents a side view of the suspension of the diverting pulley 7, 12 and the rope anchorage 5, 14 in conjunction with it.
- the supporting shaft 21 of the diverting pulley 7, 12 is locked to the horizontal beam 18 of the bed-plate arrangement 19 by means of a locking element 22 in such manner that at least during installation the supporting shaft 21 can be rotated about its center axis.
- both the rope anchorage 5, 14 and the diverting pulley 7, 12 are rotated by the angle or rotation to their new position.
- Fig. 6 presents a side view of a suspension arrangement corresponding to Fig. 5 , but in this case the supporting shaft 21 of the diverting pulley 7, 12 is longer and extends from the horizontal beam 18 to a level below the machine room floor, the supporting shaft 21 being disposed to extend through the opening 16a, 16b.
- the modernization according to the solution described above is carried out in major steps e.g. as follows. After the earlier components have been removed from the machine room, the location and size of the openings 16a and 16b in the machine room floor are checked with respect to the new layout. If the openings are somewhat incorrectly located or if they are too small, the openings will be enlarged as appropriate. Next, a check is performed to ensure that the bed-plate 19 is correctly positioned, and the bed-plate 19 is provided with horizontal beams 18 placed at either end of it, substantially above the openings 16a and 16b, the horizontal beams being provided with one or more holes ready made to allow the supporting shaft 21 of the diverting pulley 7, 12 to be passed through the beam.
- the adjusting element 17 can be mounted in position by placing the adjusting element in a notch possibly provided for it at the edge of the opening 16a, 16b, and the supporting shaft 21 of the diverting pulley 7, 12, which is secured to the horizontal bracket in the upper part of the adjusting element, is inserted through the hole in the horizontal beam 18 and locked vertically to the horizontal beam 18 by means of a locking element 22.
- the adjusting element 17 is rotated horizontally to a provisionally correct angle, thereby turning both the plane of rotation of the diverting pulley 7, 12 and the rope anchorage 5, 14 simultaneously to the desired position so that their mutual positions remain continuously the same.
- the hoisting ropes After the hoisting ropes have been secured, it is additionally necessary to check that the adjusting element 17 is in a position such that the ropes running through the openings 16a and 16b do not touch each other and that the mutual positions and angles of inclination of the ropes are as optimal as possible.
- the shape, size, disposition and direction of the plane of rotation of the aggregates of diverting pulleys 6, 8 and 11, 13 to be installed in connection with the elevator car 2 and counterweight 3 may vary from those described above.
- the diverting pulleys may also be disposed at the sides or in the lower part of or under the counterweight and elevator car.
- the plane of rotation of the diverting pulleys on the top of the counterweight may be turned through 90o, in which case the diverting pulley aggregate consisting of small and narrow diverting pulleys 6 and 8 rotating freely and independently from each other is narrow and takes up very little space above the counterweight.
- the diverting pulleys 11 and 13 on the elevator car may be oriented either in the same direction with the car frame or transversely to it.
- This solution provides the advantage that a 4:1 suspension arrangement can be achieved without reducing the size of the safety spaces.
- Suspension arrangements with other than 4:1 ratio can also be implemented quite easily.
- even values of the car suspension ratio are quite simple to implement. For example, by increasing the number of diverting pulleys on the car to three, a 6:1 suspension ratio is obtained, while four diverting pulleys will give a suspension ratio of 8:1 and five diverting pulleys a suspension ratio of 10:1.
- the parallel diverting pulleys 6 and 8 connected to the counterweight 3 and the parallel diverting pulleys 11 and 13 connected to the elevator car 2 may rotate either in the same direction or in opposite directions relative to each other, depending on the arrangement of the ropes and diverting pulleys.
Landscapes
- Engineering & Computer Science (AREA)
- Civil Engineering (AREA)
- Mechanical Engineering (AREA)
- Structural Engineering (AREA)
- Lift-Guide Devices, And Elevator Ropes And Cables (AREA)
- Types And Forms Of Lifts (AREA)
Applications Claiming Priority (2)
| Application Number | Priority Date | Filing Date | Title |
|---|---|---|---|
| FI20030974A FI20030974A0 (fi) | 2003-06-30 | 2003-06-30 | Menetelmä hissin nostotoiminnon modernisoimiseksi ja modernisointijärjestely |
| PCT/FI2004/000257 WO2005000729A1 (en) | 2003-06-30 | 2004-04-28 | Method and arrangement for modernizing an elevator |
Publications (2)
| Publication Number | Publication Date |
|---|---|
| EP1641701A1 EP1641701A1 (en) | 2006-04-05 |
| EP1641701B1 true EP1641701B1 (en) | 2012-03-07 |
Family
ID=8566325
Family Applications (1)
| Application Number | Title | Priority Date | Filing Date |
|---|---|---|---|
| EP04729906A Expired - Lifetime EP1641701B1 (en) | 2003-06-30 | 2004-04-28 | Method and arrangement for modernizing an elevator |
Country Status (7)
| Country | Link |
|---|---|
| EP (1) | EP1641701B1 (enExample) |
| JP (1) | JP5122135B2 (enExample) |
| AT (1) | ATE548314T1 (enExample) |
| DK (1) | DK1641701T3 (enExample) |
| ES (1) | ES2379785T3 (enExample) |
| FI (1) | FI20030974A0 (enExample) |
| WO (1) | WO2005000729A1 (enExample) |
Cited By (3)
| Publication number | Priority date | Publication date | Assignee | Title |
|---|---|---|---|---|
| US9919900B2 (en) | 2013-11-25 | 2018-03-20 | Otis Elevator Company | Bedplate for elevator system |
| US10850945B2 (en) | 2014-05-14 | 2020-12-01 | Otis Elevator Company | Traction geared machine for elevator |
| US11203511B2 (en) | 2017-10-27 | 2021-12-21 | Otis Elevator Company | Traction system for elevator and elevator system |
Families Citing this family (9)
| Publication number | Priority date | Publication date | Assignee | Title |
|---|---|---|---|---|
| US8448323B2 (en) * | 2010-10-15 | 2013-05-28 | Kone Corporation | Method for modernizing an elevator |
| JP2012144329A (ja) * | 2011-01-12 | 2012-08-02 | Toshiba Elevator Co Ltd | エレベータの製造方法及びエレベータ |
| CN102134037A (zh) * | 2011-04-14 | 2011-07-27 | 广东菱王电梯有限公司 | 4∶1小机房载货电梯的对重布置 |
| EP2724970B1 (en) * | 2011-06-23 | 2015-11-18 | Mitsubishi Electric Corporation | Elevator and method for repairing elevator |
| KR101636194B1 (ko) | 2012-06-18 | 2016-07-04 | 미쓰비시덴키 가부시키가이샤 | 엘리베이터, 및 엘리베이터의 개수 방법 |
| KR101464494B1 (ko) * | 2013-08-30 | 2014-11-25 | 현대엘리베이터 주식회사 | 엘리베이터의 기계실 이동장치 |
| JP6358115B2 (ja) * | 2015-02-02 | 2018-07-18 | 三菱電機ビルテクノサービス株式会社 | エレベータ装置 |
| CN110844743B (zh) * | 2018-08-21 | 2022-07-12 | 奥的斯电梯公司 | 跃层电梯和跃层方法 |
| CN210214472U (zh) * | 2019-09-05 | 2020-03-31 | 歌拉瑞电梯股份有限公司 | 一种曳引系统上置的建筑施工用复绕式井道升降机 |
Family Cites Families (7)
| Publication number | Priority date | Publication date | Assignee | Title |
|---|---|---|---|---|
| JPS63154578A (ja) * | 1986-12-16 | 1988-06-27 | Canon Inc | シ−ト整合装置 |
| FI111622B (fi) * | 1999-01-27 | 2003-08-29 | Kone Corp | Vetopyörähissi ja taittopyörän käyttö |
| JP3820336B2 (ja) * | 2000-02-04 | 2006-09-13 | 株式会社日立ビルシステム | エレベータの改修方法 |
| JP2001302138A (ja) * | 2000-04-14 | 2001-10-31 | Mitsubishi Electric Corp | エレベーターの主索装置 |
| JP3797873B2 (ja) * | 2000-05-18 | 2006-07-19 | 株式会社日立ビルシステム | エレベータ装置 |
| DK1326797T4 (da) * | 2000-09-27 | 2010-04-06 | Inventio Ag | Elevator med i elevatorskakten foroven på siden anbragt drivenhed |
| WO2002072460A1 (en) * | 2001-03-14 | 2002-09-19 | Hitachi, Ltd. | Method for renewing elevator |
-
2003
- 2003-06-30 FI FI20030974A patent/FI20030974A0/fi unknown
-
2004
- 2004-04-28 AT AT04729906T patent/ATE548314T1/de active
- 2004-04-28 ES ES04729906T patent/ES2379785T3/es not_active Expired - Lifetime
- 2004-04-28 EP EP04729906A patent/EP1641701B1/en not_active Expired - Lifetime
- 2004-04-28 WO PCT/FI2004/000257 patent/WO2005000729A1/en not_active Ceased
- 2004-04-28 DK DK04729906.0T patent/DK1641701T3/da active
- 2004-04-28 JP JP2006518242A patent/JP5122135B2/ja not_active Expired - Fee Related
Cited By (3)
| Publication number | Priority date | Publication date | Assignee | Title |
|---|---|---|---|---|
| US9919900B2 (en) | 2013-11-25 | 2018-03-20 | Otis Elevator Company | Bedplate for elevator system |
| US10850945B2 (en) | 2014-05-14 | 2020-12-01 | Otis Elevator Company | Traction geared machine for elevator |
| US11203511B2 (en) | 2017-10-27 | 2021-12-21 | Otis Elevator Company | Traction system for elevator and elevator system |
Also Published As
| Publication number | Publication date |
|---|---|
| DK1641701T3 (da) | 2012-04-10 |
| ATE548314T1 (de) | 2012-03-15 |
| FI20030974A0 (fi) | 2003-06-30 |
| ES2379785T3 (es) | 2012-05-03 |
| EP1641701A1 (en) | 2006-04-05 |
| JP5122135B2 (ja) | 2013-01-16 |
| JP2007514622A (ja) | 2007-06-07 |
| WO2005000729A1 (en) | 2005-01-06 |
Similar Documents
| Publication | Publication Date | Title |
|---|---|---|
| EP1353869B1 (en) | Elevator | |
| EP0710618B2 (en) | Traction sheave elevator | |
| EP0749931B1 (en) | Traction sheave elevator | |
| EP1641701B1 (en) | Method and arrangement for modernizing an elevator | |
| CA2813888C (en) | Method for modernizing an elevator | |
| EP2391568B1 (en) | Elevator system | |
| US20110108366A1 (en) | Elevator apparatus | |
| EP1641698B1 (en) | A method for modernising an elevator | |
| EP1685057B1 (en) | Elevator pulley arrangement | |
| EP1564177B1 (en) | Elevator equipment | |
| EP1568644B9 (en) | Elevator equipment | |
| US20060231346A1 (en) | Elevator system | |
| WO2006010785A1 (en) | Mounting base for an elevator machine | |
| KR20210008685A (ko) | 엘리베이터 장치 및 엘리베이터 개수방법 | |
| KR101014215B1 (ko) | 엘리베이터를 구성하기 위한 방법 및 엘리베이터 배송을위한 시스템 | |
| US20050087398A1 (en) | Method for making an elevator and system for elevator delivery | |
| EP1795484B1 (en) | Elevator apparatus | |
| US20160257530A1 (en) | Diverting pulley adapter | |
| KR100688362B1 (ko) | 엘리베이터의 구동장치 | |
| EP1514828B1 (en) | Elevator with pulley assembly | |
| KR100356523B1 (ko) | 엘리베이터 시스템 | |
| HK1081507B (en) | Method for making an elevator and system for elevator delivery | |
| HK1184771B (en) | Method for modernizing an elevator | |
| HK1110571B (en) | Elevator device | |
| HK1110571A1 (zh) | 电梯设备 |
Legal Events
| Date | Code | Title | Description |
|---|---|---|---|
| PUAI | Public reference made under article 153(3) epc to a published international application that has entered the european phase |
Free format text: ORIGINAL CODE: 0009012 |
|
| 17P | Request for examination filed |
Effective date: 20060125 |
|
| AK | Designated contracting states |
Kind code of ref document: A1 Designated state(s): AT BE BG CH CY CZ DE DK EE ES FI FR GB GR HU IE IT LI LU MC NL PL PT RO SE SI SK TR |
|
| AX | Request for extension of the european patent |
Extension state: AL HR LT LV MK |
|
| 17Q | First examination report despatched |
Effective date: 20100216 |
|
| RIC1 | Information provided on ipc code assigned before grant |
Ipc: B66B 11/00 20060101AFI20110825BHEP |
|
| GRAP | Despatch of communication of intention to grant a patent |
Free format text: ORIGINAL CODE: EPIDOSNIGR1 |
|
| RIC1 | Information provided on ipc code assigned before grant |
Ipc: B66B 19/00 20060101AFI20110908BHEP Ipc: B66B 11/00 20060101ALI20110908BHEP |
|
| GRAS | Grant fee paid |
Free format text: ORIGINAL CODE: EPIDOSNIGR3 |
|
| GRAA | (expected) grant |
Free format text: ORIGINAL CODE: 0009210 |
|
| AK | Designated contracting states |
Kind code of ref document: B1 Designated state(s): AT BE BG CH CY CZ DE DK EE ES FI FR GB GR HU IE IT LI LU MC NL PL PT RO SE SI SK TR |
|
| AX | Request for extension of the european patent |
Extension state: AL HR LT LV MK |
|
| REG | Reference to a national code |
Ref country code: GB Ref legal event code: FG4D |
|
| REG | Reference to a national code |
Ref country code: CH Ref legal event code: EP Ref country code: AT Ref legal event code: REF Ref document number: 548314 Country of ref document: AT Kind code of ref document: T Effective date: 20120315 |
|
| REG | Reference to a national code |
Ref country code: DK Ref legal event code: T3 |
|
| REG | Reference to a national code |
Ref country code: IE Ref legal event code: FG4D |
|
| REG | Reference to a national code |
Ref country code: ES Ref legal event code: FG2A Ref document number: 2379785 Country of ref document: ES Kind code of ref document: T3 Effective date: 20120503 Ref country code: DE Ref legal event code: R096 Ref document number: 602004036806 Country of ref document: DE Effective date: 20120503 |
|
| REG | Reference to a national code |
Ref country code: NL Ref legal event code: T3 |
|
| REG | Reference to a national code |
Ref country code: SE Ref legal event code: TRGR |
|
| LTLA | Lt: lapse of european patent or patent extension | ||
| PG25 | Lapsed in a contracting state [announced via postgrant information from national office to epo] |
Ref country code: GR Free format text: LAPSE BECAUSE OF FAILURE TO SUBMIT A TRANSLATION OF THE DESCRIPTION OR TO PAY THE FEE WITHIN THE PRESCRIBED TIME-LIMIT Effective date: 20120608 |
|
| PG25 | Lapsed in a contracting state [announced via postgrant information from national office to epo] |
Ref country code: CY Free format text: LAPSE BECAUSE OF FAILURE TO SUBMIT A TRANSLATION OF THE DESCRIPTION OR TO PAY THE FEE WITHIN THE PRESCRIBED TIME-LIMIT Effective date: 20120307 |
|
| PG25 | Lapsed in a contracting state [announced via postgrant information from national office to epo] |
Ref country code: PL Free format text: LAPSE BECAUSE OF FAILURE TO SUBMIT A TRANSLATION OF THE DESCRIPTION OR TO PAY THE FEE WITHIN THE PRESCRIBED TIME-LIMIT Effective date: 20120307 Ref country code: EE Free format text: LAPSE BECAUSE OF FAILURE TO SUBMIT A TRANSLATION OF THE DESCRIPTION OR TO PAY THE FEE WITHIN THE PRESCRIBED TIME-LIMIT Effective date: 20120307 Ref country code: RO Free format text: LAPSE BECAUSE OF FAILURE TO SUBMIT A TRANSLATION OF THE DESCRIPTION OR TO PAY THE FEE WITHIN THE PRESCRIBED TIME-LIMIT Effective date: 20120307 Ref country code: SI Free format text: LAPSE BECAUSE OF FAILURE TO SUBMIT A TRANSLATION OF THE DESCRIPTION OR TO PAY THE FEE WITHIN THE PRESCRIBED TIME-LIMIT Effective date: 20120307 |
|
| PG25 | Lapsed in a contracting state [announced via postgrant information from national office to epo] |
Ref country code: MC Free format text: LAPSE BECAUSE OF NON-PAYMENT OF DUE FEES Effective date: 20120430 Ref country code: SK Free format text: LAPSE BECAUSE OF FAILURE TO SUBMIT A TRANSLATION OF THE DESCRIPTION OR TO PAY THE FEE WITHIN THE PRESCRIBED TIME-LIMIT Effective date: 20120307 Ref country code: PT Free format text: LAPSE BECAUSE OF FAILURE TO SUBMIT A TRANSLATION OF THE DESCRIPTION OR TO PAY THE FEE WITHIN THE PRESCRIBED TIME-LIMIT Effective date: 20120709 |
|
| PLBE | No opposition filed within time limit |
Free format text: ORIGINAL CODE: 0009261 |
|
| STAA | Information on the status of an ep patent application or granted ep patent |
Free format text: STATUS: NO OPPOSITION FILED WITHIN TIME LIMIT |
|
| 26N | No opposition filed |
Effective date: 20121210 |
|
| REG | Reference to a national code |
Ref country code: DE Ref legal event code: R097 Ref document number: 602004036806 Country of ref document: DE Effective date: 20121210 |
|
| PG25 | Lapsed in a contracting state [announced via postgrant information from national office to epo] |
Ref country code: BG Free format text: LAPSE BECAUSE OF FAILURE TO SUBMIT A TRANSLATION OF THE DESCRIPTION OR TO PAY THE FEE WITHIN THE PRESCRIBED TIME-LIMIT Effective date: 20120607 |
|
| PG25 | Lapsed in a contracting state [announced via postgrant information from national office to epo] |
Ref country code: TR Free format text: LAPSE BECAUSE OF FAILURE TO SUBMIT A TRANSLATION OF THE DESCRIPTION OR TO PAY THE FEE WITHIN THE PRESCRIBED TIME-LIMIT Effective date: 20120307 |
|
| PG25 | Lapsed in a contracting state [announced via postgrant information from national office to epo] |
Ref country code: LU Free format text: LAPSE BECAUSE OF NON-PAYMENT OF DUE FEES Effective date: 20120428 |
|
| PG25 | Lapsed in a contracting state [announced via postgrant information from national office to epo] |
Ref country code: FI Free format text: LAPSE BECAUSE OF FAILURE TO SUBMIT A TRANSLATION OF THE DESCRIPTION OR TO PAY THE FEE WITHIN THE PRESCRIBED TIME-LIMIT Effective date: 20120307 |
|
| PG25 | Lapsed in a contracting state [announced via postgrant information from national office to epo] |
Ref country code: HU Free format text: LAPSE BECAUSE OF FAILURE TO SUBMIT A TRANSLATION OF THE DESCRIPTION OR TO PAY THE FEE WITHIN THE PRESCRIBED TIME-LIMIT Effective date: 20040428 |
|
| REG | Reference to a national code |
Ref country code: FR Ref legal event code: PLFP Year of fee payment: 13 |
|
| REG | Reference to a national code |
Ref country code: FR Ref legal event code: PLFP Year of fee payment: 14 |
|
| REG | Reference to a national code |
Ref country code: FR Ref legal event code: PLFP Year of fee payment: 15 |
|
| PGFP | Annual fee paid to national office [announced via postgrant information from national office to epo] |
Ref country code: CZ Payment date: 20180322 Year of fee payment: 15 |
|
| PGFP | Annual fee paid to national office [announced via postgrant information from national office to epo] |
Ref country code: NL Payment date: 20180418 Year of fee payment: 15 |
|
| PGFP | Annual fee paid to national office [announced via postgrant information from national office to epo] |
Ref country code: DE Payment date: 20180420 Year of fee payment: 15 Ref country code: DK Payment date: 20180418 Year of fee payment: 15 Ref country code: IE Payment date: 20180424 Year of fee payment: 15 Ref country code: CH Payment date: 20180419 Year of fee payment: 15 Ref country code: ES Payment date: 20180525 Year of fee payment: 15 |
|
| PGFP | Annual fee paid to national office [announced via postgrant information from national office to epo] |
Ref country code: IT Payment date: 20180420 Year of fee payment: 15 Ref country code: FR Payment date: 20180420 Year of fee payment: 15 Ref country code: AT Payment date: 20180419 Year of fee payment: 15 Ref country code: BE Payment date: 20180418 Year of fee payment: 15 |
|
| PGFP | Annual fee paid to national office [announced via postgrant information from national office to epo] |
Ref country code: SE Payment date: 20180418 Year of fee payment: 15 |
|
| PGFP | Annual fee paid to national office [announced via postgrant information from national office to epo] |
Ref country code: GB Payment date: 20180418 Year of fee payment: 15 |
|
| REG | Reference to a national code |
Ref country code: DE Ref legal event code: R119 Ref document number: 602004036806 Country of ref document: DE |
|
| REG | Reference to a national code |
Ref country code: CH Ref legal event code: PL |
|
| REG | Reference to a national code |
Ref country code: DK Ref legal event code: EBP Effective date: 20190430 |
|
| REG | Reference to a national code |
Ref country code: SE Ref legal event code: EUG |
|
| REG | Reference to a national code |
Ref country code: NL Ref legal event code: MM Effective date: 20190501 |
|
| REG | Reference to a national code |
Ref country code: AT Ref legal event code: MM01 Ref document number: 548314 Country of ref document: AT Kind code of ref document: T Effective date: 20190428 |
|
| REG | Reference to a national code |
Ref country code: BE Ref legal event code: MM Effective date: 20190430 |
|
| GBPC | Gb: european patent ceased through non-payment of renewal fee |
Effective date: 20190428 |
|
| PG25 | Lapsed in a contracting state [announced via postgrant information from national office to epo] |
Ref country code: AT Free format text: LAPSE BECAUSE OF NON-PAYMENT OF DUE FEES Effective date: 20190428 Ref country code: DE Free format text: LAPSE BECAUSE OF NON-PAYMENT OF DUE FEES Effective date: 20191101 Ref country code: GB Free format text: LAPSE BECAUSE OF NON-PAYMENT OF DUE FEES Effective date: 20190428 Ref country code: NL Free format text: LAPSE BECAUSE OF NON-PAYMENT OF DUE FEES Effective date: 20190501 Ref country code: LI Free format text: LAPSE BECAUSE OF NON-PAYMENT OF DUE FEES Effective date: 20190430 Ref country code: CH Free format text: LAPSE BECAUSE OF NON-PAYMENT OF DUE FEES Effective date: 20190430 Ref country code: SE Free format text: LAPSE BECAUSE OF NON-PAYMENT OF DUE FEES Effective date: 20190429 Ref country code: CZ Free format text: LAPSE BECAUSE OF NON-PAYMENT OF DUE FEES Effective date: 20190428 |
|
| PG25 | Lapsed in a contracting state [announced via postgrant information from national office to epo] |
Ref country code: BE Free format text: LAPSE BECAUSE OF NON-PAYMENT OF DUE FEES Effective date: 20190430 |
|
| PG25 | Lapsed in a contracting state [announced via postgrant information from national office to epo] |
Ref country code: IT Free format text: LAPSE BECAUSE OF NON-PAYMENT OF DUE FEES Effective date: 20190428 Ref country code: IE Free format text: LAPSE BECAUSE OF NON-PAYMENT OF DUE FEES Effective date: 20190428 Ref country code: DK Free format text: LAPSE BECAUSE OF NON-PAYMENT OF DUE FEES Effective date: 20190430 |
|
| PG25 | Lapsed in a contracting state [announced via postgrant information from national office to epo] |
Ref country code: FR Free format text: LAPSE BECAUSE OF NON-PAYMENT OF DUE FEES Effective date: 20190430 |
|
| REG | Reference to a national code |
Ref country code: ES Ref legal event code: FD2A Effective date: 20200901 |
|
| PG25 | Lapsed in a contracting state [announced via postgrant information from national office to epo] |
Ref country code: ES Free format text: LAPSE BECAUSE OF NON-PAYMENT OF DUE FEES Effective date: 20190429 |