EP1580313B1 - Lave-linge - Google Patents
Lave-linge Download PDFInfo
- Publication number
- EP1580313B1 EP1580313B1 EP03774027A EP03774027A EP1580313B1 EP 1580313 B1 EP1580313 B1 EP 1580313B1 EP 03774027 A EP03774027 A EP 03774027A EP 03774027 A EP03774027 A EP 03774027A EP 1580313 B1 EP1580313 B1 EP 1580313B1
- Authority
- EP
- European Patent Office
- Prior art keywords
- water
- metal ions
- laundry
- period
- electrodes
- Prior art date
- Legal status (The legal status is an assumption and is not a legal conclusion. Google has not performed a legal analysis and makes no representation as to the accuracy of the status listed.)
- Expired - Lifetime
Links
- XLYOFNOQVPJJNP-UHFFFAOYSA-N water Substances O XLYOFNOQVPJJNP-UHFFFAOYSA-N 0.000 claims abstract description 299
- 229910021645 metal ion Inorganic materials 0.000 claims abstract description 135
- 238000005406 washing Methods 0.000 claims abstract description 95
- 150000002500 ions Chemical class 0.000 claims abstract description 53
- 239000003795 chemical substances by application Substances 0.000 claims description 59
- 238000000034 method Methods 0.000 claims description 53
- 230000008569 process Effects 0.000 claims description 50
- 230000000845 anti-microbial effect Effects 0.000 claims description 19
- 238000010828 elution Methods 0.000 claims description 13
- 238000010412 laundry washing Methods 0.000 claims description 13
- 238000001035 drying Methods 0.000 abstract description 2
- 239000004902 Softening Agent Substances 0.000 description 34
- 238000003892 spreading Methods 0.000 description 29
- 230000007480 spreading Effects 0.000 description 29
- 238000011144 upstream manufacturing Methods 0.000 description 17
- 239000002184 metal Substances 0.000 description 16
- 229910052751 metal Inorganic materials 0.000 description 16
- 238000007792 addition Methods 0.000 description 15
- 239000003599 detergent Substances 0.000 description 14
- 239000000126 substance Substances 0.000 description 14
- 238000013019 agitation Methods 0.000 description 13
- 229910052709 silver Inorganic materials 0.000 description 12
- 239000004332 silver Substances 0.000 description 12
- 239000008237 rinsing water Substances 0.000 description 11
- BQCADISMDOOEFD-UHFFFAOYSA-N Silver Chemical compound [Ag] BQCADISMDOOEFD-UHFFFAOYSA-N 0.000 description 8
- 230000007246 mechanism Effects 0.000 description 8
- 230000000694 effects Effects 0.000 description 7
- 239000004744 fabric Substances 0.000 description 7
- 239000000057 synthetic resin Substances 0.000 description 7
- 229920003002 synthetic resin Polymers 0.000 description 7
- 238000001514 detection method Methods 0.000 description 6
- 238000009826 distribution Methods 0.000 description 6
- 230000001954 sterilising effect Effects 0.000 description 6
- 238000004140 cleaning Methods 0.000 description 5
- -1 silver ions Chemical class 0.000 description 5
- RYGMFSIKBFXOCR-UHFFFAOYSA-N Copper Chemical compound [Cu] RYGMFSIKBFXOCR-UHFFFAOYSA-N 0.000 description 4
- 230000008859 change Effects 0.000 description 4
- 239000010949 copper Substances 0.000 description 4
- 230000007423 decrease Effects 0.000 description 4
- 239000000463 material Substances 0.000 description 4
- 238000002360 preparation method Methods 0.000 description 4
- 238000007789 sealing Methods 0.000 description 4
- 239000004753 textile Substances 0.000 description 4
- 241000894006 Bacteria Species 0.000 description 3
- JPVYNHNXODAKFH-UHFFFAOYSA-N Cu2+ Chemical compound [Cu+2] JPVYNHNXODAKFH-UHFFFAOYSA-N 0.000 description 3
- FOIXSVOLVBLSDH-UHFFFAOYSA-N Silver ion Chemical compound [Ag+] FOIXSVOLVBLSDH-UHFFFAOYSA-N 0.000 description 3
- 229910001431 copper ion Inorganic materials 0.000 description 3
- 230000001877 deodorizing effect Effects 0.000 description 3
- 230000005611 electricity Effects 0.000 description 3
- 229910001316 Ag alloy Inorganic materials 0.000 description 2
- 229910000881 Cu alloy Inorganic materials 0.000 description 2
- HCHKCACWOHOZIP-UHFFFAOYSA-N Zinc Chemical compound [Zn] HCHKCACWOHOZIP-UHFFFAOYSA-N 0.000 description 2
- 238000009833 condensation Methods 0.000 description 2
- 230000005494 condensation Effects 0.000 description 2
- 238000010276 construction Methods 0.000 description 2
- 229910052802 copper Inorganic materials 0.000 description 2
- 230000003247 decreasing effect Effects 0.000 description 2
- 238000011049 filling Methods 0.000 description 2
- 238000009434 installation Methods 0.000 description 2
- 239000007788 liquid Substances 0.000 description 2
- 238000005192 partition Methods 0.000 description 2
- 238000003860 storage Methods 0.000 description 2
- 239000000725 suspension Substances 0.000 description 2
- 229910052725 zinc Inorganic materials 0.000 description 2
- 239000011701 zinc Substances 0.000 description 2
- 229910021536 Zeolite Inorganic materials 0.000 description 1
- PTFCDOFLOPIGGS-UHFFFAOYSA-N Zinc dication Chemical compound [Zn+2] PTFCDOFLOPIGGS-UHFFFAOYSA-N 0.000 description 1
- 239000002250 absorbent Substances 0.000 description 1
- 230000001133 acceleration Effects 0.000 description 1
- 230000000843 anti-fungal effect Effects 0.000 description 1
- 229940121375 antifungal agent Drugs 0.000 description 1
- 239000003990 capacitor Substances 0.000 description 1
- 239000000969 carrier Substances 0.000 description 1
- 150000001875 compounds Chemical class 0.000 description 1
- 230000007797 corrosion Effects 0.000 description 1
- 238000005260 corrosion Methods 0.000 description 1
- 238000010586 diagram Methods 0.000 description 1
- HNPSIPDUKPIQMN-UHFFFAOYSA-N dioxosilane;oxo(oxoalumanyloxy)alumane Chemical compound O=[Si]=O.O=[Al]O[Al]=O HNPSIPDUKPIQMN-UHFFFAOYSA-N 0.000 description 1
- 230000005684 electric field Effects 0.000 description 1
- 239000012530 fluid Substances 0.000 description 1
- 239000013505 freshwater Substances 0.000 description 1
- 239000012535 impurity Substances 0.000 description 1
- 239000011810 insulating material Substances 0.000 description 1
- 239000012774 insulation material Substances 0.000 description 1
- 230000007257 malfunction Effects 0.000 description 1
- 238000004519 manufacturing process Methods 0.000 description 1
- 150000002739 metals Chemical class 0.000 description 1
- 238000012986 modification Methods 0.000 description 1
- 230000004048 modification Effects 0.000 description 1
- 208000029278 non-syndromic brachydactyly of fingers Diseases 0.000 description 1
- 230000002093 peripheral effect Effects 0.000 description 1
- 238000003825 pressing Methods 0.000 description 1
- 238000011084 recovery Methods 0.000 description 1
- 230000035939 shock Effects 0.000 description 1
- 239000007787 solid Substances 0.000 description 1
- 238000009955 starching Methods 0.000 description 1
- 239000008399 tap water Substances 0.000 description 1
- 235000020679 tap water Nutrition 0.000 description 1
- 239000010457 zeolite Substances 0.000 description 1
Images
Classifications
-
- D—TEXTILES; PAPER
- D06—TREATMENT OF TEXTILES OR THE LIKE; LAUNDERING; FLEXIBLE MATERIALS NOT OTHERWISE PROVIDED FOR
- D06F—LAUNDERING, DRYING, IRONING, PRESSING OR FOLDING TEXTILE ARTICLES
- D06F35/00—Washing machines, apparatus, or methods not otherwise provided for
- D06F35/003—Washing machines, apparatus, or methods not otherwise provided for using electrochemical cells
-
- D—TEXTILES; PAPER
- D06—TREATMENT OF TEXTILES OR THE LIKE; LAUNDERING; FLEXIBLE MATERIALS NOT OTHERWISE PROVIDED FOR
- D06F—LAUNDERING, DRYING, IRONING, PRESSING OR FOLDING TEXTILE ARTICLES
- D06F33/00—Control of operations performed in washing machines or washer-dryers
- D06F33/30—Control of washing machines characterised by the purpose or target of the control
- D06F33/32—Control of operational steps, e.g. optimisation or improvement of operational steps depending on the condition of the laundry
- D06F33/38—Control of operational steps, e.g. optimisation or improvement of operational steps depending on the condition of the laundry of rinsing
-
- D—TEXTILES; PAPER
- D06—TREATMENT OF TEXTILES OR THE LIKE; LAUNDERING; FLEXIBLE MATERIALS NOT OTHERWISE PROVIDED FOR
- D06F—LAUNDERING, DRYING, IRONING, PRESSING OR FOLDING TEXTILE ARTICLES
- D06F33/00—Control of operations performed in washing machines or washer-dryers
- D06F33/30—Control of washing machines characterised by the purpose or target of the control
- D06F33/48—Preventing or reducing imbalance or noise
-
- D—TEXTILES; PAPER
- D06—TREATMENT OF TEXTILES OR THE LIKE; LAUNDERING; FLEXIBLE MATERIALS NOT OTHERWISE PROVIDED FOR
- D06F—LAUNDERING, DRYING, IRONING, PRESSING OR FOLDING TEXTILE ARTICLES
- D06F35/00—Washing machines, apparatus, or methods not otherwise provided for
- D06F35/005—Methods for washing, rinsing or spin-drying
- D06F35/008—Methods for washing, rinsing or spin-drying for disinfecting the tub or the drum
-
- D—TEXTILES; PAPER
- D06—TREATMENT OF TEXTILES OR THE LIKE; LAUNDERING; FLEXIBLE MATERIALS NOT OTHERWISE PROVIDED FOR
- D06F—LAUNDERING, DRYING, IRONING, PRESSING OR FOLDING TEXTILE ARTICLES
- D06F2103/00—Parameters monitored or detected for the control of domestic laundry washing machines, washer-dryers or laundry dryers
- D06F2103/02—Characteristics of laundry or load
- D06F2103/04—Quantity, e.g. weight or variation of weight
-
- D—TEXTILES; PAPER
- D06—TREATMENT OF TEXTILES OR THE LIKE; LAUNDERING; FLEXIBLE MATERIALS NOT OTHERWISE PROVIDED FOR
- D06F—LAUNDERING, DRYING, IRONING, PRESSING OR FOLDING TEXTILE ARTICLES
- D06F2103/00—Parameters monitored or detected for the control of domestic laundry washing machines, washer-dryers or laundry dryers
- D06F2103/02—Characteristics of laundry or load
- D06F2103/06—Type or material
-
- D—TEXTILES; PAPER
- D06—TREATMENT OF TEXTILES OR THE LIKE; LAUNDERING; FLEXIBLE MATERIALS NOT OTHERWISE PROVIDED FOR
- D06F—LAUNDERING, DRYING, IRONING, PRESSING OR FOLDING TEXTILE ARTICLES
- D06F2103/00—Parameters monitored or detected for the control of domestic laundry washing machines, washer-dryers or laundry dryers
- D06F2103/26—Imbalance; Noise level
-
- D—TEXTILES; PAPER
- D06—TREATMENT OF TEXTILES OR THE LIKE; LAUNDERING; FLEXIBLE MATERIALS NOT OTHERWISE PROVIDED FOR
- D06F—LAUNDERING, DRYING, IRONING, PRESSING OR FOLDING TEXTILE ARTICLES
- D06F2105/00—Systems or parameters controlled or affected by the control systems of washing machines, washer-dryers or laundry dryers
- D06F2105/58—Indications or alarms to the control system or to the user
Definitions
- the present invention relates to a washer that is capable of sterilizing laundry and each portion of a washer such as a washing tub and the like by using metal ions exerting a sterilizing effect. Especially, it relates to a washer furnished with an ion eluting unit that produces metal ions by applying a voltage between electrodes.
- Japanese Utility Model Laid-Open No. H5-74487 discloses an electric washer furnished with an ion generator that generates metal ions, such as silver ions or copper ions that exert a sterilizing effect.
- Japanese Patent Application Laid-Open No. 2000-93691 discloses a washer that generates an electric field with which to sterilize cleaning fluid.
- Japanese Patent Application Laid-Open No. 2001-276484 discloses a washer furnished with a silver ion adding unit that adds silver ions to cleaning water.
- An object of the present invention is to provide a washer that is capable of adding antimicrobial metal ions into water in a predetermined process in a laundry washing session, and is capable of letting the metal ions fully exert their antimicrobial effect.
- a washer which, in a final rinsing process in a laundry washing session, is capable of adding antimicrobial metal ions, and capable of adding washing treatment agent, to water inside a washing tub so as to attach to laundry, wherein the final rinsing process includes either a first powerful swirl period, a second powerful swirl period, and a mild swirl period, or a first powerful swirl period, a second powerful swirl period, and a still period, the mild swirl period or still period comes after the first powerful swirl period, and the second powerful swirl period comes after the mild swirl period or still period, and a duration of the final rinsing process in a case where the metal ions are added is longer than the duration of the final rinsing process in a case where the metal ions arc not added but the washing treatment agent is added.
- the water into which the metal ions have been added is agitated by mild swirl or placed at a standstill after said water is agitated by powerful swirl for a predetermined period.
- the metal ions can be mixed uniformly in the water and spread to every corner of the laundry.
- the metal ions are attached to the surface of the laundry, and the motor load is reduced, thereby damage to laundry cloth is alleviated and unnecessary electricity consumption is avoided.
- a ratio between durations of the first powerful swirl period and the mild swirl period or between durations of the first powerful swirl period and the still period is constant, regardless of a volume of water in the washing tub and/or an amount of laundry.
- a ratio between durations of the first powerful swirl period and the mild swirl period or between durations of the first powerful swirl period and the still period varies in accordance with a volume of water in the washing tub and/or an amount of laundry.
- metal ions are generated by using an ion eluting unit that elutes metal ions by applying a voltage between electrodes.
- Fig. 1 is a vertical sectional view showing the overall construction of a washer 1.
- the washer 1 is of an automatic type, and has a cabinet 10.
- the box-shaped cabinet 10 is formed of metal or synthetic resin, and has openings at its top and bottom.
- the top opening of the cabinet 10 is covered with a top plate 11, which is formed of synthetic resin and is fixed to the cabinet 10 with screws.
- front and rear of the washer 1 point leftward and rightward, respectively.
- a rear portion of a top surface of the top plate 11 is covered with a back panel 12, which is formed of synthetic resin and is fixed to the cabinet 10 or the top plate 11 with screws.
- the bottom opening of the cabinet 10 is covered with a base 13, which is formed of synthetic resin and is fixed to the cabinet 10 with screws. None of the screws mentioned thus far are shown in the figure.
- Feet 14a and 14b for supporting the cabinet 10 on a floor are disposed at the four corners of the base 13.
- the rear feet 14b are fixed feet integrally formed with the base 13.
- the front feet 14a are height-adjustable screw feet, and turning them levels the washer 1.
- the top plate 11 has a laundry inlet opening 15 through which laundry is put in a washing tub described later.
- the laundry inlet opening 15 is covered with a lid 16 from above.
- the lid 16 is coupled to the top plate 11 with a hinge 17 so as to be pivotable in a vertical plane.
- a water tub 20 and a washing tub 30 that serves also as a squeezing tub are disposed inside the cabinet 10. Both the water tub 20 and the washing tub 30 are shaped in a cylindrical cup open at its top, and the two tubs are arranged concentrically with their axes vertical and with the washing tub 30 placed inside the water tub 20.
- the water tub 20 is suspended from the cabinet 10 with suspension members 21.
- the suspension members 21 connect a lower outer surface of the water tub 20 to four inner corners of the cabinet 10, and support the water tub 20 in such a way that it can swing in a horizontal plane.
- the washing tub 30 has a circumferential wall that widens upward with a gentle taper.
- This circumferential wall has a plurality of drain holes 31 formed in a ring-shaped arrangement around its topmost portion, and has, other than these drain holes, no opening that permits passage of liquid.
- the washing tub 30 is of so-called "holeless" type.
- a ring-shaped balancer 32 is attached to a rim of the top opening of the washing tub 30 to suppress vibration produced by the washing tub 30 when it rotates at high speed for squeezing of laundry.
- a pulsator 33 is disposed to produce a current of washing or rinsing water inside the tub 30.
- the water tub 20 has a drive unit 40 fitted to its bottom surface from below.
- the drive unit 40 includes a motor 41, a clutch mechanism 42, and a brake mechanism 43, and has a squeezing spindle 44 and a pulsator spindle 45 protruding from its center upward.
- the squeezing spindle 44 and the pulsator spindle 45 form a double-spindle structure, with the pulsator spindle 45 placed inside the squeezing spindle 44.
- the two spindles both penetrate the water tub 20.
- the squeezing spindle 44 is then connected to the washing tub 30 so as to support it.
- the pulsator spindle 45 further penetrates the washing tub 30, and is then connected to the pulsator 33 to support it. Sealing members for preventing leakage of water are disposed between the squeezing spindle 44 and the water tub 20 and between the squeezing spindle 44 and the pulsator spindle 45.
- a water feed valve 50 which is operated electro-magnetically, is disposed inside a space below the back panel 12.
- the water feed valve 50 has a connection pipe 51 that penetrates the back panel 12 to extend upward.
- a water feed hose (not shown) through which to supply clean water such as tap water to the washer is connected to the connection pipe 51.
- the water feed valve 50 feeds water to a water feed mouth 53 in a shape of container that is placed above the inside of the water tub 20.
- the water feed mouth 53 has a structure as shown in Fig. 2 .
- Fig. 2 is a schematic vertical sectional view of the water feed mouth 53.
- the water feed mouth 53 has an opening in its front, and through the opening, a drawer 53a is inserted.
- the drawer 53a has its interior divided into a plurality of sections (the embodiment of the present has two sections, that is, a left-hand section and a right-hand section).
- the left-hand section is a detergent chamber 54 that serves as a storage space for detergent.
- the right-hand section is a treatment agent chamber 55 that serves as a storage space for treatment agent for laundry washing.
- a bottom of the detergent chamber 54 is provided with a water outlet 54a which is open toward an inside of the water feed mouth 53.
- a siphon 57 is disposed in the treatment agent chamber 55.
- the water feed mouth 53 has, below the bottom of the drawer 53a, a water outlet 56 through which water is fed into the washing tub 30.
- the siphon 57 is composed of an inner pipe 57a that extends vertically upward from a bottom surface of the treatment agent chamber 55 and a cap-shaped outer pipe 57b with which the inner pipe 57a is capped. Between the inner pipe 57a and the outer pipe 57b is left a gap that permits passage of water.
- the inner pipe 57a at its bottom, is open to a bottom of the water feed mouth 53.
- a predetermined gap is kept between a bottom end of the outer pipe 57b and a bottom surface of the treatment agent chamber 55 so as to serve as a water inlet.
- a principle of siphon works to cause water to flow through the siphon 57 out of the treatment agent chamber 55 and then drop to the bottom of the water feed mouth 53, water is then poured into the washing tub 30 through the water outlet 56.
- the water feed valve 50 is composed of a main water feed valve 50a and a sub water feed valve 50b.
- the main water feed valve 50a allows relatively large flow of water
- the sub water feed valve 50b allows relatively small flow of water. Setting the flow of water large or small is achieved by making the internal structure of the main water feed valve 50a and that of the sub water feed valve 50b be different from each other, or by making the internal structures of both valves same and combining them with flow-limiting members having different throttling ratio.
- the connection pipe 51 is shared between the main and sub water feed valves 50a and 50b.
- the main water feed valve 50a is connected to an opening in a ceiling of the water feed mouth 53 by way of a main water feed passage 52a. This opening is open toward the detergent chamber 54, so that a large amount of water flow from the main water feed valve 50a is poured into the detergent chamber 54 through the main water feed passage 52a.
- the sub water feed valve 50b is connected to the opening in the ceiling of the water feed mouth 53 by way of a sub water feed passage 52b. This opening is open toward the treatment agent chamber 55, so that a small amount of water flow from the sub water feed valve 50b is poured into the treatment agent chamber 55 through the sub water feed passage 52b. That is, a passage that runs from the main water feed valve 50a through the detergent chamber 54 to the washing tub 30 is separate from a passage that runs from the sub water feed valve 50b through the treatment agent chamber 55 to the whashing tub 30.
- a drain hose 60 through which water is drained out of the water tub 20 and the washing tub 30. Water flows into the drain hose 60 from drain pipes 61 and 62.
- the drain pipe 61 is connected to a rather peripheral portion of the bottom surface of the water tub 20, and the drain pipe 62 is connected to a rather central portion of the bottom surface of the water tub 20.
- a ring-shaped partition wall 63 Inside the water tub 20, on its bottom surface, there is fixed a ring-shaped partition wall 63 in such a way as to enclose the portion of the water tub 20 where the drain pipe 62 is connected to it.
- the partition wall 63 is fitted with a circular sealing member 64 at its top.
- the sealing member 64 is kept in contact with a circumferential surface of a disk fixed to an outer bottom surface of the washing tub 30 so as to form a separate drain space 66 between the water tub 20 and the washing tub 30.
- the drain space 66 communicates with an interior of the washing tub 30 through a drain outlet 67 formed in the bottom of the washing tub 30.
- the drain pipe 62 is provided with a drain valve 68 that is operated electro-magnetically. In a portion of the drain pipe 62, on the upstream side of the drain valve 68, an air trap 69 is disposed. A lead pipe 70 extends from the air trap 69. The lead pipe 70 is, at its top end, connected to a water level switch 71.
- a controller 80 is disposed in a front portion of the cabinet 10, beneath the top plate 11.
- the controller 80 receives instructions from users via an operation/display panel 81 disposed on the top surface of the top plate 11, and sends operation commands to the drive unit 40, the water feed valve 50, and the drain valve 68.
- the controller 80 also sends display commands to the operation/display panel 81.
- the controller 80 includes a drive circuit for driving an ion eluting unit described later.
- the lid 16 is opened, and laundry is put into the washing tub 30 through the laundry inlet opening 15.
- the drawer 53a is pulled out from the water feed mouth 53 and a detergent is put in the detergent chamber 54 in the drawer 53a.
- a treatment agent (softening agent) is put in the treatment agent chamber 55.
- the treatment agent (softening agent) can be put there in the middle of a laundry washing session, or may not be put when unnecessary.
- the drawer 53a is pushed back into the water feed mouth 53.
- the lid 16 is closed, and a desired course of laundry washing is selected by operating a group of operation buttons on the operation/display panel 81. By pressing a start button subsequently, a session of laundry washing is executed according to the flow charts shown in Figs. 10 through 13 .
- Fig. 10 is a flow chart showing the entire session of laundry washing.
- step S201 laundry washing is started at a previously set time. Whether a timer-started operation is selected or not is checked. If a timer-started operation is selected, the flow proceeds to step S206; if not, the flow proceeds to step S202.
- step S206 whether the operation start time has come or not is checked. If the operation start time has come, the flow proceeds to step S202.
- step S202 whether a washing process is selected or not is checked. If a washing process is selected, the flow proceeds to S300. How the washing process in step S300 is executed will be described later with reference to the flow chart shown in Fig. 11 . On completion of the washing process, the flow proceeds to step S203. If no washing process is selected, the flow proceeds directly from step S202 to step S203.
- step S203 whether a rinsing process is selected or not is checked. If a rinsing process is selected, the flow proceeds to S400. How the rinsing process in step S400 is executed will be described later with reference to the flow chart shown in Fig.12 .
- the rinsing process is repeated three times, and each step of the process is shown with a step number with a suffix number added such as "S400-1,” “S400-2" and "S400-3.” The number of times of the rinsing process is set at users' discretion. In this case, "S400-3" is a final rinsing process.
- step S204 On completion of the rinsing process, the flow proceeds to step S204. If no rinsing process is selected, the flow proceeds directly from step S203 to step S204.
- step S204 whether a squeezing process is selected or not is checked. If a squeezing process is selected, the flow proceeds to S500. How the squeezing process in step S500 is executed will be described later with reference to the flow chart shown in Fig. 13 . On completion of the squeezing process, the flow proceeds to step S205. If no squeezing process is selected, the flow proceeds directly from step S204 to step S205.
- step S205 termination of operation of the controller 80, in particular a processing unit (microcomputer) therein, is automatically executed in accordance with a predetermined procedure.
- the completion of laundry washing session is indicated by sounding an operation-completion beep.
- the washer 1 goes back into a stand-by state in preparation for a new session of laundry washing.
- Fig. 11 is a flow chart of the washing process.
- step S301 the water level inside the washing tub 30 as sensed by the water level switch 71 starts being monitored.
- step S302 whether laundry amount sensing is selected or not is checked. If laundry amount sensing is selected, the flow proceeds to step S308; if not, the flow proceeds directly from step S302 to S303.
- step S308 the amount of laundry is measured on the basis of load of rotation of the pulsator 33. On completion of laundry amount sensing, the flow proceeds to step S303.
- step S303 the main water feed valve 50a is opened, and water is poured into the washing tub 30 through the water feed mouth 53. Since the main water feed valve 50a is set for large flow of water, water fills the washing tub 30 rapidly. The detergent agent put into the detergent chamber 54 is completely washed away by the large flow of water and mixed with it, and enters the washing tub 30. The drain valve 68 remains closed. When the water level switch 71 detects the set water level, the main water feed valve 50a is closed. The flow then proceeds to step S304.
- step S304 a preparatory operation is performed.
- the pulsator 33 is rotated repeatedly in forward and then reverse directions to agitate the laundry and water so that the laundry is fully dipped in water. This permits the laundry to absorb an ample amount of water, and permits air trapped in many parts of the laundry to escape. If, as a result of the preparatory operation, the water level as detected by the water level switch 71 becomes lower than at the beginning, then, in step S305, the main water feed valve 50a is opened to supply additional water to recover the set water level.
- step S305 When, in step S305, the set water level is stably obtained, the flow proceeds to step S306.
- the motor 41 rotates the pulsator 33 in a predetermined pattern so as to produce, in the washing tub 30, a main current of water for washing. With this main current of water, the laundry is washed.
- the squeezing spindle 44 remains braked by the brake mechanism 43 so that, even when the washing water and the laundry move, the washing tub 30 does not rotate.
- step S307 the pulsator 33 is rotated repeatedly in the forward and then reverse directions at short time intervals. This permits the laundry to loosen, and thereby permits it to spread evenly in the washing tub 30. This is done in preparation for squeezing rotation of the washing tub 30.
- step S500 the squeezing process is executed, of which a description will be given later with reference to the flow chart shown in Fig. 13 .
- step S401 the main water feed valve 50a is opened, and water is supplied up to the set water level.
- step S402 a preparatory operation is performed. During the preparatory operation performed in step S402, laundry getting attached to the washing tub 30 in step S500 (squeezing process) is separated, soaked into water so that the laundry thoroughly absorbs water.
- step S404 After recovering the set water level in step S403, the flow then proceeds to step S404.
- the motor 41 rotates the pulsator 33 in a predetermined pattern so as to produce, in the washing tub 30, a main current of water for rinsing. With this main current of water, the laundry is rinsed.
- the squeezing spindle 44 remains braked by the brake mechanism 43 so that, even when the rinsing water and the laundry move, the washing tub 30 does not rotate.
- step S406 the pulsator 33 is rotated repeatedly in the forward and then reverse directions at short time intervals. This permits the laundry to loosen, and thereby permits it to spread evenly in the washing tub 30. This is done in preparation for squeezing rotation.
- rinsing is assumed to be performed with rinsing water stored in the washing tub 30. This is called “rinsing with stored water.” It is, however, also possible to perform rinsing with always replenishing fresh water, which is called “rinsing with pouring water,” or to perform rinsing with water kept supplied from the water feed mouth 53 while the washing tub 30 is rotated at a low speed, which is called “shower rinsing.”
- step S501 the drain valve 68 is opened.
- the washing water in the washing tub 30 is drained through the drain space 66.
- the drain valve 68 remains open during the squeezing process.
- the clutch mechanism 42 and the brake mechanism 43 are switched over.
- the timing for switching over of the clutch mechanism 42 and the brake mechanism 43 is either before or at the same time of starting of draining of water.
- the motor 41 now rotates the squeezing spindle 44. This causes the washing tub 30 to start squeezing rotation.
- the pulsator 33 rotates together with the washing tub 30.
- the washing tub 30 When the washing tub 30 rotates at a high speed, the laundry is pressed against the inner circumferential wall of the washing tub 30 by the centrifugal force.
- the washing water present in the laundry also gathers on the inner surface of the circumferential wall of the washing tub 30, and, since the washing tub 30 widens upward in a tapered shape as described earlier, the washing water driven by the centrifugal force rises along the inner surface of the washing tub 30.
- the washing water reaches the top end of the washing tub 30, it is drained through the drain holes 31.
- the washing water that has exited from the drain holes 31 hits the inner surface of the water tub 20, and then flows down along the inner surface of the water tub 20 to the bottom of the water tub 20.
- the washing water is then drained out of the cabinet 10 through the drain pipe 61 and then through the drain hose 60.
- step S504 the supply of electric power to the motor 41 is stopped and termination operation is done for stopping.
- the washer 1 is furnished with an ion eluting unit 100.
- the ion eluting unit 100 is connected to the downstream side of the main water feed pipe 52a.
- Fig 3 is a partial top view indicating the layout of the ion eluting unit 100 and the water feed mouth 53.
- the ion eluting unit 100 is connected directly to the main water feed valve 50a and the water feed mouth 53 on both ends.
- the ion eluting unit 100 independently composes the entire main water feed passage 52a.
- the sub water feed passage 52b is constructed by connecting the pipe, which protrudes from the water feed mouth 53, to the sub water feed valve 50b with a hose.
- the water feed valve 50, the ion eluting unit 100 and the water feed mouth 53 are arranged in line with front-to-rear axis of the washer 1. However, in an actual washer, they are not arranged in that way but arranged in line with left-to-right axis of the washer 1.
- Fig. 4 through Fig. 8 shows the structure of the ion eluting unit.
- Fig. 4 is a top view.
- Fig. 5 is a vertical sectional view taken along line A-A shown in Fig. 4 .
- Fig. 6 is also a vertical sectional view taken along line B-B shown in Fig. 4 .
- Fig. 7 is a horizontal sectional view.
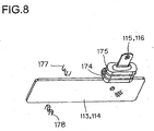
- Fig. 8 is a perspective view of an electrode.
- the ion eluting unit 100 has a casing 110 formed of transparent or translucent, colorless or colored synthetic resin or opaque synthetic resin.
- the casing 110 is composed of a casing body 110a having an opening at the top and a lid 110b which closes the opening at the top. (See Fig. 5 .)
- the casing 110a is shaped as long and narrow, containing a water inlet 111 at one end of the longitudinal direction and a water outlet 112 at the other end.
- the water inlet 111 and the water outlet 112 are pipe-shaped. Cross-sectional area of the water outlet 112 is smaller than that of the water inlet 111.
- the casing 110 is arranged with its longitudinal direction being horizontal.
- the casing body 110a arranged horizontally in this way has a bottom which inclines gradually toward the water outlet 112. (See Fig. 5 .)
- the water outlet 112 is located at the lowest level in an internal space of the casing 110.
- the lid 110b is fixed to the casing body 110a with four screws 170. (See Fig. 4 .) A seal ring 171 is inserted between the casing body 10a and the lid 110b. (See Fig. 5 .)
- two plate electrodes 113 and 114 are arranged so as to be parallel to the water current flowing from the water inlet 111 toward the water outlet 112, facing each other.
- a predetermined voltage is applied to the electrodes 113 and 114 with the casing 110 filled with water, metal ions of the metal of which the electrodes 113 and 114 are formed are eluted from whichever of them is at the anode side at the moment.
- the electrodes 113 and 114 may be so constructed that plates of silver each measuring 2 cm x 5 cm and about 1 mm thick are arranged about 5 mm apart from each other.
- Material of the electrodes 113 and 114 is not limited to silver. Any metal can be the material as long as it is a source for aitimicrobial metal ions. Other than silver, copper, an alloy of silver and copper, zinc or the like can be selected. Silver ions eluted from a silver electrode, copper ions eluted from a copper electrode and zinc ions eluted from a zinc electrode show an excellent sterilizing effect, even on mold. From an alloy of silver and copper, silver and copper ions can be eluted simultaneously.
- the ion eluting unit 100 it is possible to select either elution or non-elution by whether a voltage is applied or not. Moreover, an amount of elution of metal ions can be controlled by controlling electric current or the time for applying a voltage. Compared with a method of eluting metal ions from zeolite or other metal ion carriers, it is convenient because it is possible to electrically select whether the metal ions are added or not and to electrically adjust the concentration of the metal ions.
- the electrodes 113 and 114 are not arranged completely in parallel. In the plane view, they are arranged to be tapered, having the space between them become narrower from the upstream toward the downstream along the water current flowing through the inside of the casing 110, in other words, from the water inlet 111 toward the water outlet 112. (See Fig. 7 .)
- the plan-view shape of the casing body 110a is also narrowed from one end having the water inlet 111 to the other end having the water outlet 112. Namely, the cross-sectional area in the internal space of the casing 110 gradually decreases from the upstream side toward the downstream side.
- the electrodes 113 and 114 have both rectangular profile, and terminals 115 and 116 are provided thereto respectively.
- the terminals 115 and 116 are disposed at portions inside of the edges of the electrodes 113 and 114 on the upstream side, hanging down from the lower edge of the electrodes 113 and 114 respectively.
- the electrode 113 and the terminal 115 are formed integrally from the same metal, and the electrode 114 and the terminal 116 are formed integrally from the same metal.
- the electrodes 115 and 116 are led to the bottom of the casing body 110a through a hole formed in a bottom wall of the casing body 110a. Where the terminals 115 and 116 protrude out of the casing 110a, as shown in an enlarged figure in Fig. 6 , a watertight seal 172 is installed.
- the watertight seal 172 forms a double sealing construction together with a second sleeve 175 described later so as to prevent water from leaking from this portion.
- an insulating wall 173, which isolates the terminals 115 and 116, is integrally formed. (See Fig. 6 .)
- the terminal 115 and 116 are connected to a drive circuit within the controller 80 by way of a cable (not shown).
- a sleeve made of insulation material.
- Two types of sleeves are used.
- One sleeve 174 is made of synthetic resin and engaged into the roots of the terminals 115 and 116.
- a part of the first sleeve 174 spreads to one side of the electrodes 113 and 114, forming projections on the side of these portions and fitting these projections to the through holes made in the electrodes 113 and 114. This helps prevent the electrodes 113 and 114 from coming out of the sleeve 174.
- the second sleeve 175 is made of soft rubber and fills the gap between the first sleeve 174 and the bottom wall of the casing body 110a, thus preventing water from leaking through the gap between the second sleeve 175 and the casing body 110a and through the gaps between the second sleeve 175 and the electrodes 113 and 114.
- the terminals 115 and 116 are located on the upstream side of the electrodes 113 and 114.
- the upstream sides of the electrodes 113 and 114 are supported by the first sleeve 174, which is engaged to the terminals 115 and 116.
- a support 176 in a shape of a fork is formed so as to fit to the position of the first sleeve 174. (See Fig. 6 .)
- This support 176 catches the upper edge of the first sleeve 174 and becomes a rigid support, together with the second sleeve 175 filling the gap between the first sleeve 174 and the casing body 110a.
- the fork-shaped support 176 catches the electrodes 113 and 114 with long and short fingers, by which the electrodes 113 and 114 can maintain an appropriate space between each other on the side of the lid 110b.
- the downstream sides of the electrodes 113 and 114 are also supported by the support formed on the inner surface of the casing 110.
- a fork-shaped support 177 rises from the bottom surface of the casing body 110a.
- a fork-shaped support 178 hangs down from the ceiling of the lid 110b to face the support 177. (See Figs. 5 and 8 .)
- the electrodes 113 and 114 are caught by the supports 177 and 178 at the lower and upper edges on the downstream side respectively so as not to move.
- the electrodes 113 and 114 are so arranged that the surfaces opposite to the surfaces that are facing each other keep a space from the inner surface of the casing 110. Moreover, as shown in Fig. 5 , the electrodes 113 and 114 are so arranged as to keep a space between their upper and lower edges and the inner surface of the casing 110. (Portions which are in contact with the supports 176, 177 and 178 are exceptions.) Additionally, as shown in either of Fig. 7 and Fig. 5 , a space is made between the upstream and downstream side edges of the electrodes 113 and 114 and the inner surface of the casing 110.
- the electrodes 113 and 114 are constructed in such a manner that the surfaces opposite to the surfaces that are facing each other are attached firmly to the inner wall of the casing 110.
- a strainer of a metal mesh is mounted on the upstream side of the electrodes 113 and 114. As shown in Fig. 2 , a strainer 180 is placed in the connection pipe 51.
- the strainer 180 is for the purpose of preventing foreign objects from intruding into the water feed valve 50, and it also serves as an upstream strainer of the ion eluting unit 100.
- a strainer of a metal mesh 181 is mounted to the downstream side of the electrodes 113 and 114.
- the strainer 181 prevents broken pieces of the electrodes 113 and 114 from flowing out when they are thinned out and broken due to being used for a long time.
- the water outlet 112 can be selected as a site for mounting the strainer 181, for example.
- strainers 180 and 181 are not limited to the above. As long as the conditions of mounting on "the upstream side of the electrode” and on “the downstream side of the electrode” are satisfied, they can be placed at any location in the water feed passage.
- the strainers 180 and 181 are removable so that foreign objects they catch can be removed or substances contributing to clogging can be cleared of.
- Fig. 9 shows the drive circuit 120 for the ion eluting unit 100.
- a transformer 122 is connected to commercially distributed electric power 121 so as to step down 100 V to a predetermined voltage.
- the output voltage of the transformer 122 is rectified by a full-wave rectifier circuit 123, and is then formed into a constant voltage by a constant voltage circuit 124.
- To the constant voltage circuit 124 is connected a constant current circuit 125.
- the constant current circuit 125 operates in such a way as to supply a constant current to the electrode drive circuit 150 described later without being influenced by variation in the resistance through the electrode drive circuit 150.
- a rectifying diode 126 To the commercially distributed electric power 121 is also connected, in parallel with the transformer 122, a rectifying diode 126.
- the output voltage of the rectifying diode 126 is smoothed by a capacitor 127, is then formed into a constant voltage by a constant voltage circuit 128, and is then supplied to a microcomputer 130.
- the microcomputer 130 controls the starting of a triac 129 connected between one end of the primary coil of the transformer 122 and the commercially distributed electric power 121.
- the electrode drive circuit 150 is composed of NPN-type transistors Q1 to Q4, diodes D1 and D2, and resistors R1 to R7. These are interconnected as shown in the figure.
- the transistor Q1 and the diode D1 form a photocoupler 151
- the transistor Q2 and the diode D2 form a photocoupler 152.
- the diodes D1 and D2 are photodiodes
- the transistors Q1 and Q2 are phototransistors.
- the microcomputer 130 feeds a high-level voltage to a line L1 and a low-level voltage (or zero voltage, namely, "off") to a line L2. Then, the diode D2 turns on, and this causes the transistor Q2 to turn on. When the transistor Q2 turns on, a current flows through the resistors R3, R4, and R7, and this causes a bias to be applied to the base of the transistor Q3. Thus, the transistor Q3 turns on.
- the diode D1 is off, and thus the transistors Q1 is off, and accordingly the transistor Q4 is off.
- a current flows from the anode-side electrode 113 to the cathode-side electrode 114.
- metal ions as positively-charged ions together with negatively-charged ions.
- the electrode 113 which is at the anode side in Fig. 9 , wears off, while the electrode 114, which is at the cathode side, collects impurities in water in the form of scales deposited on it. This degrades the performance of the ion eluting unit 100.
- the electrode drive circuit 150 can be operated in a compulsory electrode-cleaning mode.
- the microcomputer 130 switches modes of control so as to invert the voltage applied between the lines L1 and L2 and thereby reverse the current that flows between the electrodes 113 and 114.
- the transistors Q1 and Q4 are on, and the transistors Q2 and Q3 are off.
- the microcomputer 130 has a counter capability, and switches modes of control as described above every time a predetermined count is reached.
- the constant current circuit 125 raises its output voltage to compensate for the decrease.
- the ion eluting unit 100 eventually reaches the end of its service life.
- the current that flows between the electrodes 113 and 114 of the ion eluting unit 100 is monitored on the basis of the voltage that it produces across the resistor R7.
- a current detection circuit 160 detects it.
- the fact that the minimum current has been detected is transmitted from a photodiode D3, which is a part of a photocoupler 163, through a phototransistor Q5 to the microcomputer 130.
- the microcomputer 130 drives, by way of a line L3, a warning indicator 131 to make it indicate a predetermined warning.
- the warning indicator 131 is provided in the operation/display panel 81 or in the controller 80.
- a current detection circuit 161 that detects the current being larger than a predetermined maximum current.
- the microcomputer 130 drives the warning indicator 131.
- a voltage detection circuit 162 detects it, and the microcomputer 130 likewise drives the warning indicator 131.
- the metal ions generated by the ion eluting unit 100 are poured into the washing tub in the following manner.
- Fig. 14 is a flow chart showing the sequence of the final rinsing.
- the flow proceeds to step S420.
- step 420 whether addition of the treatment material is selected or not is checked.
- the flow proceeds to step S421. If not, the flow proceeds to step S401 in Fig. 12 , and the final rinsing is executed in the same manner as in the previous rinsing processes.
- step S421 whether the treatment materials to be added are two types, that is metal ions and a softening agent, or not, is checked.
- metal ions and a softening agent are two types, that is metal ions and a softening agent, or not.
- step S422 both of the main water feed valve 50a and the sub water feed valve 50b are opened, and water flows into both of the main water feed passage 52a and the sub water feed passage 52b.
- Step S422 is a process for elution of metal ions.
- a predetermined amount of water which is set to be more than the volume of water set for the sub water feed valve 50b, is flowing, filling the internal space of the ion eluting unit 100.
- the drive circuit 120 applies a voltage between the electrodes 113 and 114, so that ions of the metal of which they are formed are eluted into the water.
- the metal forming the electrodes 113 and 114 is silver, reaction of Ag ⁇ Ag + + e - occurs on the anode side and silver ions Ag + are eluted into the water.
- the electric current flowing between the electrodes 113 and 114 is direct current. Water to which the metal ions are added flows into the detergent chamber 54 and then is poured into the washing tub 30 from the water outlet 54a by way of the water outlet 56.
- the main water feed valve 50a continues supplying water and stops water supply when the water level in the washing tub 30 reaches the set level.
- step S422 metal ions and a treatment agent (softening agent) are added simultaneously.
- this does not necessarily mean that the time during which a treatment agent (softening agent) is poured into the washing tub through an effect of a siphon completely overlaps the time while the ion eluting unit 100 is generating metal ions. Either of the above time may be shifted to be earlier or later than the other.
- the treatment agent (softening agent) may be added. The point is that it is sufficient so long as the addition of metal ions and the addition of a treatment agent (softening agent) are executed respectively in one sequence.
- the terminal 115 is formed to the electrode 113 integrally and the terminal 116 is formed to the electrode 114 integrally, from the same metal. Therefore, different from a case where different metals are connected, potential difference does not occur between the electrodes and terminals, thus preventing corrosion from occurring. Additionally, being formed integrally simplifies the manufacturing process.
- the space between the electrodes 113 and 114 is set to be in a tapered manner, becoming narrower from the upstream side toward the downstream side. This makes the electrodes 113 and 114 be in line with the flow of water, and the electrodes 113 and 114 are more likely not generating vibration, thereby even when they wear off and are thinned, they hardly are chipped off. Moreover, there is no concern for excessive deformation of electrodes that might result in a short circuit.
- the electrodes 113 and 114 are supported in a manner that a space is made between them and the inner surface of the casing 110. This helps prevent a metal layer from growing from the electrodes 113 and 114 to the inner surface of the casing 110 and causing a short circuit between electrodes.
- the terminals 115 and 116 are formed integrally to the electrodes 113 and 114 respectively, the electrodes 113 and 114 are eventually depleted as a result of use. However, the terminals 115 and 116 should be kept from depletion. In an embodiment of the present, the portions of the terminals 115 and 116 located inside the casing 110 are protected by the sleeves 174 and 175 made of insulating material, and are guarded from depletion caused by electric conduction. This helps prevent such situation as the terminals 115 and 116 are broken in midway of their use.
- the portions where the terminals 115 and 116 are formed are rather deep inside from the edge on the upstream side.
- the electrodes 113 and 114 wear off, starting at a portion where the space between them has become narrow.
- depletion occurs at the edge portion.
- the terminals 115 and 116 are located in the upstream side of the electrodes 113 and 114, they are not completely at the edges, but at rather deep inside portions from the edges. Therefore, it is not necessary to be concerned about a situation that the depletion starting at the edge of an electrode reaches the terminal to cause a breakage of the terminal at its root.
- the electrodes 113 and 114 are supported by the first sleeve 174 and the support 176 on their upstream sides.
- the downstream sides of the electrodes 113 and 114 are supported by the supports 177 and 178. Since they are supported rigidly on both upstream side and downstream side in this way, the electrodes 113 and 114 do not vibrate although they are in the water current. As a result, the electrodes 113 and 114 do not get broken due to vibration.
- the terminals 115 and 116 go through the bottom wall of the casing body 110a to be protruded downward. Therefore, although the external surface of the casing 110 is subjected to dew concentration because steam gets contact with the casing 110a (When warm water in a bath tub is used for washing, steam is easy to intrude into the interior of the washer 1.) or because the casing 110 is cooled down by feeding of water, the water from dew condensation flows down the cables connected to the terminals 115 and 116 and does not stay on the border between the terminals 115 and 116 and the casing 110. Therefore, no situation is developed in which a short circuit occurs between the terminals 115 and 116 due to the water caused by dew condensation.
- the casing body 110a is arranged with the longitudinal direction on the horizontal line, it is easy to make it constructed in a manner that the terminals 115 and 116 formed on the sides of the electrodes 113 and 114 protrude downward through the bottom wall of the casing body 110a
- the cross-sectional area of the water outlet 112 of the ion eluting unit 100 is smaller than that of the water inlet 111 and has larger resistance to the flow of water than the water inlet 111. This makes water entering the casing 110 through the water inlet 111 fill the interior of the casing 110 without causing stagnant air and soak the electrodes 113 and 114 completely. Therefore, such situation as the electrodes 113 and 114 have portions that are unrelated to the generation of metal ions but remain un-melted does not occur.
- the cross-sectional area of the water outlet 112 is smaller than that of the water inlet 111 but also the cross-sectional area of the inner space of the casing 110 is gradually decreasing from the upstream side toward the downstream side. This makes generation of turbulence or air bubble inside the casing 110 be reduced, thereby making water flow smoothly. Also, this prevents the electrodes partially not melted by the existence of air bubble. The metal ions come off the electrodes 113 and 114 quickly and do not go back to the electrodes 113 and 114, thus increasing the efficiency of ion elution.
- the ion eluting unit 100 is arranged in the main water feed passage 52a for a large volume of flow where a large amount of water flows. This permits the metal ions to be carried out of the casing 110 quickly and prevents them from going back to the electrodes 113 and 114, thus increasing the efficiency of ion elution.
- the water outlet 112 is placed at the lowest level in the inner space of the casing 110. Therefore, when feeding of water to the ion eluting unit 100 is stopped, all the water in the ion eluting unit 100 flows out through the water outlet 112. In consequence, no such a case occurs as water remaining in the casing 110 is frozen when it is cold and the ion eluting unit 100 fails or breaks.
- a strainer 180 is placed on the upstream side of the electrodes 113 and 114. This makes it possible that although solid foreign object exists in water fed to the ion eluting unit 100, the foreign object is caught by the strainer 180, which prevents it from reaching the electrodes 113 and 114. Consequently, a foreign object does not damage the electrodes 113 and 114, nor cause a short circuit between the electrodes to cause an excessive electric current or to lead to metal ion generation shortage.
- a strainer 181 is placed on the downstream sides of the electrodes 113 and 114. If the electrodes 113 and 114 are depleted and become fragile due to a long-time use and get broken into pieces and the broken pieces flow, the strainer 181 catches these broken pieces so as to prevent them from flowing toward the downstream from that point. As a result, broken pieces of the electrodes 113 and 114 do not damage an object on the downstream side.
- Both of the strainers 180 and 181 do not have to be placed. When it is determined that no installation of a strainer causes a problem, one or both of them can be abolished.
- step S423 the rinsing water to which the metal ions and the treatment agent (softening agent) are added is agitated by a powerful water flow (powerful swirl) and thus promotes contact of the laundry with the metal ions and attachment of the treatment agent (softening agent) to the laundry.
- a powerful water flow powerful swirl
- the metal ions and the treatment agent can be melted uniformly in water and spread to every corner of the laundry.
- the flow proceeds to step S424.
- step S424 the situation is completely changed. Agitation is executed by weak water flow (mild swirl). Its aimed purpose is to make the metal ions attached to the surface of laundry to exert their effect. As long as there is a water flow although it is mild, there is no possibility of users' misunderstanding that the operation of the washer 1 has been over. Therefore, agitation is executed mildly. However, if there is a method to make users realize that the rinsing process is still in progress, for example, by displaying an indication on the operation/display panel 81 to evocate the users' attention, it is permissible to stop agitation and place the water at a standstill.
- agitation for ensuring is executed again with using a powerful water flow (powerful swirl). This helps distribute the metal ions to the portions of laundry where the metal ions have not been spread and make them attached firmly.
- step S405 the flow proceeds to step S406.
- step S406 the pulsator 33 rotates repeatedly in the forward and then reverse directions at short time intervals. This permits the laundry to loosen, and thereby permits it to spread evenly in the washing tub 30. This is done in preparation for squeezing rotation.
- Fig. 15 is a sequence chart showing performance of each constituting element from step S422 to step S406.
- step S423 powerful swirl
- step S424 mimild swirl
- step S425 powerful swirl
- step S406 even spreading of laundry.
- Total time from step S423 to step 406 is ten minutes.
- the mild swirl period may be replaced with a still period.
- step S425 powerful swirl
- step S406 even spreading of the laundry
- Step S423 Powerful swirl
- Step S424 Motor swirl
- Step 425 Powerful swirl
- Step S406 Electrospreading of laundry
- the total time of the process becomes longer, compared with a case where the metal ions are not added. Since the metal ions require a certain amount of time to be thoroughly attached to laundry, the above program is contrived. Thereby the metal ions can be attached sufficiently to the laundry and exert the expected sterilizing effect.
- Distribution of the time for step S423 (powerful swirl) and the time for step S424 (mild swirl) may set to be constant despite the volume of water inside the washing tub 30 and/or the amount of laundry. This makes control programming easy.
- Distribution of the time for step S423 (powerful swirl) and the time for step S424 (mild swirl) may vary in accordance with the volume of water inside the washing tub 30 and/or the amount of laundry. This makes it possible to set the ratio of the powerful swirl period versus the mild swirl period in accordance with the volume of water and the amount of laundry, thus alleviating damage to cloth and preventing unnecessary consumption of electric power.
- metal ions and a treatment agent softening agent
- a treatment agent softening agent
- the rinsing time is shortened compared with the case that the metal ions and the treating agent (softening agent) are separately added for separate processes of rinsing, leading to the promotion of household efficiency, although the efficacy of addition of resistance to microbes is reduced slightly.
- metal ions are added to the washing tub 30 from the main water feed passage 52a through the detergent chamber 54.
- the treatment agent (softening agent) is added to the washing tub 30 from the treatment agent chamber 55. Since the passage for adding the metal ions to the rinsing water is thus separated from the passage for adding the treatment agent to the rinsing water, the metal ions and the treatment agent (softening agent) do not get in contact with each other until they meet in the washing tub 30. Consequently, the metal ions do not change into chemical components by getting contact with the treatment agent (softening agent) of high concentration and lose their antimicrobial effect
- the final rinsing is assumed to be performed with rinsing water stored in the washing tub 30. However, it is also possible to perform the final rinsing by water being poured, namely, in the manner of "rinsing with pouring water.” In this case, the poured water contains metal ions.
- Either of the addition of the metal ions, the first treatment substance, and the addition of a treatment agent (softening agent), the second treatment substance, is optional. It is possible not to carry out either of the additions or both of the additions. When both additions are not to be executed, the flow proceeds from step S420 to step S401, and this has already been described. From now on, addition of either of the two types of treatment substances will be described.
- step S421 when the treatment substance to be added is not both of the two types, the metal ions and the softening agent, it means that only one of them is selected for addition. In this case, the flow proceeds to step S426.
- step S426 whether the treatment substance to be added is metal ion or not is checked. When it is determined to be metal ions, the flow proceeds to step S427; if not, the flow proceeds to step S428.
- step S427 the main water feed valve 50a is opened and water flows into the main water feed passage 52a.
- the sub water feed valve 50b is not opened.
- the drive circuit 120 applies a voltage between the electrodes 113 and 114, which elutes ions of the metal composing the electrodes into the water.
- a predetermined amount of water containing metal ions has been poured into the washing tub 30, and a predetermined concentration of metal ions in the rinsing water can be obtained by adding water containing no metal to a set water level
- application of a voltage to the electrodes 113 and 114 is stopped.
- the main water feed valve 50a continues to feed water until the water level inside the washing tub 30 reaches the set level.
- step S427 the flow proceeds to step S423.
- step S424 the flow proceeds from S423 (powerful swirl) to step S424 (mild swirl) and then to step S425 (powerful swirl) and to step S406 (even spreading of laundry.)
- the mild swirl period can be replaced with a still period.
- step S426 the treatment substance to be added is not metal ions, then the treatment substance is treatment agent (softening agent). In this case, the flow proceeds to step 428.
- both the main water feed valve 50a and the sub water feed valve 50b are opened and water is fed to both of the main water feed passage 52a and the sub water feed passage 52b.
- the ion eluting unit 100 is not operated and metal ions are not generated.
- the sub water feed valve 50 b is closed.
- the main water feed valve 50a continues to feed water and stops feeding when the water level inside the washing tub 30 reaches a set level.
- step S428 the flow proceeds to step S423.
- step S423 powerful whirl
- step S424 mimild swirl
- step S425 powerful swirl
- step S406 even spreading of the laundry.
- the mild swirl period can be replaced with a still period.
- each of the steps from the powerful whirl to the mild swirl and then to the powerful whirl is to be taken to ensure that the treatment substance is attached to the laundry.
- the step-time distribution is adjusted to fit the type of treatment substance.
- step S4208 In case of a treatment agent (softening agent), it does not take a long time to attach to the laundry, unlike the case of the metal ions. Therefore, it is possible that after step S428, only step S423 (powerful whirl) and step S406 (even spreading of laundry) are taken and step S423 (powerful whirl) can be finished within a short time such as two minutes, for example.
- step S406 When laundry cannot be spread evenly in step S406, the washer 1 vibrates heavily during the subsequent squeezing process. Vibration resulted from uneven spreading of laundry is detected by physical detection means such as touch sensor, shock sensor, acceleration sensor and the like or by software analyzing the voltage versus current pattern of the motor 41.
- Fig. 16 is a sequence chart showing the performance of each element in the process of rinsing for correcting uneven spreading of laundry.
- water supply is finished, water is agitated hard in agitation 1 period to change the arrangement of the laundry.
- agitation 2 period agitation is executed little by little at short time intervals to spread the laundry evenly so as to prepare for re-start of squeezing rotation.
- the time distribution for example, is 2 minutes and 5 seconds for supply of water, one minute for agitation 1 and 30 seconds for agitation 2.
- the motor 41 repeats ON (turning in forward direction), OFF, ON (turning in reverse direction) and OFF cyclically.
- the ratio of ON time versus OFF time differs, depending on volume of water and/or amount of laundry. For example, the ratio of time (ON/OFF) during operation at a rated load is as follows (unit is second). Agitation 1: 1.9/0,7 Agitation 2: 0.9/0.4
- the first "different countermeasure” is "to feed water containing metal ions to carry out rinsing for correcting uneven spreading of laundry.” In this way, in case where rinsing is performed for correcting uneven spreading of laundry with flesh water being fed, since the metal ions are added to the water, the effect of antimicrobial treatment on the laundry does not fade away.
- the amount metal ions to be added is smaller than that in the preceding processes. In this way, it is not necessary to replenish smaller than that in the preceding processes. In this way, it is not necessary to replenish an unnecessarily large amount of metal ions to the laundry, which has once been treated with the metal ions, and thus it is possible to restrain the consumption of metal ions.
- the second "different countermeasure” is "to feed water containing no metal ions and agitate it to perform rinsing for correcting uneven spreading of laundry, with indication and/or notification that water being poured contains no metal ions.”
- the third "different countermeasure” is "to stop the squeezing rotation with the fact that uneven spreading of laundry is detected being indicated and/or notified.”
- the metal which is the source of the metal ions namely the electrodes 113 and 114, is consumed in a short time.
- this configuration by adapting a countermeasure to correct uneven spreading of laundry without using water containing metal ions, it is possible to restrain the depletion of the electrodes 113 and 114.
- constant current circuit 125 of the drive circuit 120 controls the voltage, so that the current flowing between the electrodes 113 and 114 is constant. By this, the amount of eluted metal ions per unit time becomes constant.
- the amount of eluted metal ions per unit time is constant, it is possible to control the concentration of metal ions in the washing tub 30 by controlling the volume of water flowing through the ion eluting unit 100 and the time of metal ion elution, thereby the expected concentration of metal ions is easily achieved.
- the current flowing between the electrodes 113 and 114 is direct current. If the current is alternating current, the following phenomenon occurs. Namely, when the metal ions are silver ions, for example, the silver ions that have once been eluted go back to the electrodes by reverse reaction, i.e. Ag + + e - ⁇ Ag, when the polarity of the electrodes is reversed. However, in case of direct current, such phenomenon does not occur.
- the electrodes 113 and 114 On either one of the electrodes 113 and 114, if it acts as a cathode, scale is deposited. When direct current continues to flow without reversing the polarity and, as a result, the amount of scale deposit become larger, the current is subjected to be restricted, and the metal ion elution does not proceed at the predetermined rate. Moreover, a phenomenon of "one-sided depletion," in which only one electrode being used as an anode is consumed at a rate faster than the other. Therefore, the polarity of the electrodes 113 and 114 is reversed cyclically.
- the electrodes 113 and 114 Being used for metal ion elution, the electrodes 113 and 114 are gradually depleted, resulting in drop in metal ion elution rate. When they are used for a long time, the metal ion elution rate becomes unstable and the predetermined metal ion elution rate is not obtained. Therefore, the ion eluting unit 100 is made replaceable, and when the duration of electrodes 113 and 114 expires, it can be replaced with a new unit. Moreover, users are notified, through the operation/display panel 81, the fact that the duration of electrodes 113 and 114 almost expires and therefore appropriate countermeasures, for example, replacement of the ion eluting unit 100, should be adapted.
- the present invention may be applied to any other type of washer than the one taken up in the embodiment described above; that is, the present invention is applicable to all types of washer, such as those having horizontal drums (e.g. tumbler type), those having slanted drums, those which function also as dryers, and those with two separated tubs.
- washer such as those having horizontal drums (e.g. tumbler type), those having slanted drums, those which function also as dryers, and those with two separated tubs.
- the present invention finds wide application in washers wherein exploitation of the antimicrobial effect of metal ions on textile is attempted, regardless of whether they are for household use or for industrial use.
Landscapes
- Engineering & Computer Science (AREA)
- Textile Engineering (AREA)
- Chemical & Material Sciences (AREA)
- Chemical Kinetics & Catalysis (AREA)
- Electrochemistry (AREA)
- Detail Structures Of Washing Machines And Dryers (AREA)
- Control Of Washing Machine And Dryer (AREA)
- Detergent Compositions (AREA)
Abstract
Claims (4)
- Machine à laver (1), laquelle, lors d'un processus de rinçage final dans une session de lavage de linge, est capable d'ajouter des ions métalliques antimicrobiens, et d'ajouter un agent de traitement de lavage, à verser dans une cuve de lavage (30) de manière à le fixer au linge,
caractérisée en ce que
le processus de rinçage final comprend
une première période de tourbillonnement puissant (S423), une seconde période de tourbillonnement puissant (S425), et une période de tourbillonnement faible (S424), ou
une première période de tourbillonnement puissant (S423), une seconde période de tourbillonnement puissant (S425), et une période d'immobilité (S424),
la période de tourbillonnement faible ou la période d'immobilité (S424) vient après la première période de tourbillonnement puissant (S423), et la seconde période de tourbillonnement puissant (S425) vient après la période de tourbillonnement faible ou la période d'immobilité (S424), et
la durée du processus de rinçage final, dans un cas dans lequel les ions métalliques sont ajoutés (S422, S427), est plus longue que la durée du processus de rinçage final dans un cas dans lequel les ions métalliques ne sont pas ajoutés mais l'agent de traitement de lavage est ajouté (S428). - Machine à laver conformément à la revendication 1,
dans lequel un rapport entre la durée de la première période de tourbillonnement puissant (S423) et la durée de la période de tourbillonnement faible (S424) ou entre la durée de la première période de tourbillonnement puissant (S423) et la durée de la période d'immobilité (S424) est constant, quel que soit le volume d'eau que contient la cuve de lavage (30) et/ou la quantité de linge. - Machine à laver conformément à la revendication 1,
dans lequel un rapport entre la durée de la première période de tourbillonnement puissant (S423) et la durée de la période de tourbillonnement faible (S424), ou entre la durée de la première période de tourbillonnement puissant (S423) et une période d'immobilité (S424), varie en fonction d'un volume d'eau que contient la cuve de lavage (30) et/ou une quantité de linge. - Machine à laver conformément à l'une des revendications 1 à 3,
dans lequel les ions métalliques sont générés par une unité d'élution d'ions (100) qui élue des ions métalliques par application d'une tension entre des électrodes.
Priority Applications (1)
| Application Number | Priority Date | Filing Date | Title |
|---|---|---|---|
| EP09000028A EP2050855B1 (fr) | 2002-11-19 | 2003-11-14 | Lave-linge avec une unité d'élution d'ions |
Applications Claiming Priority (3)
| Application Number | Priority Date | Filing Date | Title |
|---|---|---|---|
| JP2002335778A JP4017504B2 (ja) | 2002-11-19 | 2002-11-19 | 洗濯機 |
| JP2002335778 | 2002-11-19 | ||
| PCT/JP2003/014549 WO2004046447A1 (fr) | 2002-11-19 | 2003-11-14 | Unite d'elution ionique et son dispositif |
Related Child Applications (2)
| Application Number | Title | Priority Date | Filing Date |
|---|---|---|---|
| EP09000028A Division EP2050855B1 (fr) | 2002-11-19 | 2003-11-14 | Lave-linge avec une unité d'élution d'ions |
| EP09000028.2 Division-Into | 2009-01-05 |
Publications (3)
| Publication Number | Publication Date |
|---|---|
| EP1580313A1 EP1580313A1 (fr) | 2005-09-28 |
| EP1580313A4 EP1580313A4 (fr) | 2007-12-26 |
| EP1580313B1 true EP1580313B1 (fr) | 2011-12-21 |
Family
ID=32321783
Family Applications (2)
| Application Number | Title | Priority Date | Filing Date |
|---|---|---|---|
| EP03774027A Expired - Lifetime EP1580313B1 (fr) | 2002-11-19 | 2003-11-14 | Lave-linge |
| EP09000028A Expired - Lifetime EP2050855B1 (fr) | 2002-11-19 | 2003-11-14 | Lave-linge avec une unité d'élution d'ions |
Family Applications After (1)
| Application Number | Title | Priority Date | Filing Date |
|---|---|---|---|
| EP09000028A Expired - Lifetime EP2050855B1 (fr) | 2002-11-19 | 2003-11-14 | Lave-linge avec une unité d'élution d'ions |
Country Status (10)
| Country | Link |
|---|---|
| US (1) | US20060130533A1 (fr) |
| EP (2) | EP1580313B1 (fr) |
| JP (1) | JP4017504B2 (fr) |
| KR (2) | KR20050075428A (fr) |
| CN (2) | CN100519899C (fr) |
| AU (1) | AU2003284554B9 (fr) |
| ES (2) | ES2377061T3 (fr) |
| MY (2) | MY137523A (fr) |
| TW (1) | TWI254757B (fr) |
| WO (1) | WO2004046447A1 (fr) |
Cited By (2)
| Publication number | Priority date | Publication date | Assignee | Title |
|---|---|---|---|---|
| US11578453B2 (en) | 2020-03-26 | 2023-02-14 | Haier Us Appliance Solutions, Inc. | Fault detection for a water level detection system of a washing machine appliance |
| US11639571B2 (en) | 2020-03-27 | 2023-05-02 | Haier Us Appliance Solutions, Inc. | System and method for determining dry load weight within a washing machine appliance |
Families Citing this family (21)
| Publication number | Priority date | Publication date | Assignee | Title |
|---|---|---|---|---|
| JP2004321320A (ja) * | 2003-04-22 | 2004-11-18 | Sharp Corp | 洗濯機 |
| JP2005087712A (ja) | 2003-08-08 | 2005-04-07 | Sharp Corp | 給水装置、給水方法、給水装置を備えた撒水装置、および給水装置を備えた洗濯機 |
| JP3714945B1 (ja) * | 2004-07-27 | 2005-11-09 | シャープ株式会社 | 金属イオン溶出ユニット及びこれを備えた電気機器 |
| EP1785518A1 (fr) * | 2005-11-15 | 2007-05-16 | Electrolux Home Products Corporation N.V. | Machine à laver domestique avec capabilité de traitement bactéricide |
| JP4816275B2 (ja) * | 2006-06-13 | 2011-11-16 | パナソニック電工株式会社 | 静電霧化装置 |
| JP4483856B2 (ja) * | 2006-11-20 | 2010-06-16 | パナソニック株式会社 | 電解ミスト発生装置とそれを用いた洗濯機 |
| JP4483857B2 (ja) * | 2006-11-20 | 2010-06-16 | パナソニック株式会社 | 電解ミスト発生装置とそれを用いた洗濯機 |
| KR101192001B1 (ko) * | 2007-04-06 | 2012-10-18 | 삼성전자주식회사 | 세탁기 |
| KR101455802B1 (ko) * | 2007-11-20 | 2014-10-28 | 엘지전자 주식회사 | 세탁물 처리기기의 전극센서 및 상기 전극센서를 포함하는세탁물 처리기기 |
| US8695381B2 (en) * | 2008-03-28 | 2014-04-15 | Electrolux Home Products, Inc. | Laundering device vibration control |
| KR101059564B1 (ko) * | 2008-12-02 | 2011-08-26 | 삼성전자주식회사 | 연수화 장치 및 이를 구비한 세탁기 |
| CN102168357A (zh) * | 2010-02-28 | 2011-08-31 | 钟益富 | 银离子供给装置和使用该装置的洗衣机 |
| KR20140145326A (ko) * | 2013-06-13 | 2014-12-23 | 삼성전자주식회사 | 세탁기 및 그 제어방법 |
| US11618696B2 (en) | 2013-08-15 | 2023-04-04 | Applied Silver, Inc. | Antimicrobial batch dilution system |
| US10640403B2 (en) | 2013-08-15 | 2020-05-05 | Applied Silver, Inc. | Antimicrobial batch dilution system |
| US10000881B2 (en) | 2013-12-06 | 2018-06-19 | Applied Silver, Inc. | Method for antimicrobial fabric application |
| US20170050870A1 (en) | 2015-08-21 | 2017-02-23 | Applied Silver, Inc. | Systems And Processes For Treating Textiles With An Antimicrobial Agent |
| IT201600094671A1 (it) * | 2016-09-21 | 2018-03-21 | Bolton Manitoba S P A | Metodo ottimizzato di lavaggio in lavatrice |
| WO2018160708A1 (fr) | 2017-03-01 | 2018-09-07 | Applied Silver, Inc. | Systèmes et procédés pour traiter des textiles avec un agent antimicrobien |
| CN110904617A (zh) * | 2018-09-13 | 2020-03-24 | 青岛海尔洗衣机有限公司 | 一种洗衣机的控制方法 |
| CN116837604B (zh) * | 2022-03-25 | 2025-01-24 | 无锡小天鹅电器有限公司 | 投放装置以及衣物处理设备 |
Family Cites Families (22)
| Publication number | Priority date | Publication date | Assignee | Title |
|---|---|---|---|---|
| JPS5796686A (en) * | 1981-10-14 | 1982-06-16 | Matsushita Electric Industrial Co Ltd | Driving device for washing machine |
| CH662804A5 (en) * | 1985-01-31 | 1987-10-30 | Paul Mueller | Apparatus for the silver treatment of fresh water or utility water for sterilising the water |
| JPH0397497A (ja) * | 1989-09-11 | 1991-04-23 | Matsushita Electric Ind Co Ltd | 洗濯機 |
| JP3032338B2 (ja) | 1991-09-13 | 2000-04-17 | 松下電器産業株式会社 | 非水電解液二次電池 |
| JPH0574487U (ja) | 1992-03-09 | 1993-10-12 | 山田 金十 | 殺菌装置付き電気洗濯機 |
| JPH06269592A (ja) * | 1993-03-17 | 1994-09-27 | Toshiba Corp | 洗濯機 |
| CA2142687A1 (fr) * | 1994-02-22 | 1995-08-23 | Dale E. Mueller | Methode de rincage dans une machine a laver a axe vertical |
| JP3170140B2 (ja) * | 1994-04-18 | 2001-05-28 | 株式会社東芝 | 脱水兼用洗濯機 |
| US5887456A (en) * | 1995-08-30 | 1999-03-30 | Sharp Kabushiki Kaisha | Drum type drying/washing machine |
| ES2146130B1 (es) * | 1995-12-27 | 2001-02-16 | Fagor S Coop | Metodo de lavado de ropa en una lavadora domestica. |
| US5782109A (en) * | 1996-05-06 | 1998-07-21 | Ecolab Inc. | Dispenser |
| JP3316427B2 (ja) * | 1997-07-23 | 2002-08-19 | 三洋電機株式会社 | 遠心脱水装置 |
| JP2000093691A (ja) | 1998-07-24 | 2000-04-04 | Mitsubishi Electric Corp | 電界による殺菌機能を備えた洗濯機 |
| JP2001170392A (ja) * | 1999-12-21 | 2001-06-26 | Toshiba Corp | 洗濯機 |
| GB0006506D0 (en) * | 2000-03-18 | 2000-05-10 | Notetry Ltd | Laundry appliance |
| JP2001276484A (ja) * | 2000-03-30 | 2001-10-09 | Toto Ltd | 洗濯機 |
| US6401284B1 (en) * | 2000-04-04 | 2002-06-11 | Lg Electronics Inc. | Method for controlling washing during spinning in tilt-type washing machine for attenuation of vibration |
| JP2002113288A (ja) * | 2000-10-12 | 2002-04-16 | Mitsubishi Rayon Co Ltd | 洗濯方法及び洗濯機 |
| KR100392798B1 (ko) * | 2000-11-16 | 2003-07-28 | (주)에코에이드 | 기능수 세탁기 |
| US7127767B2 (en) * | 2002-05-09 | 2006-10-31 | Whirlpool Corporation | Time-varying agitator oscillations in an automatic washer |
| JP4010887B2 (ja) * | 2002-06-26 | 2007-11-21 | シャープ株式会社 | 洗濯機 |
| JP2004105692A (ja) * | 2002-07-26 | 2004-04-08 | Sharp Corp | 洗濯機 |
-
2002
- 2002-11-19 JP JP2002335778A patent/JP4017504B2/ja not_active Expired - Fee Related
-
2003
- 2003-11-14 CN CNB200380108978XA patent/CN100519899C/zh not_active Expired - Fee Related
- 2003-11-14 EP EP03774027A patent/EP1580313B1/fr not_active Expired - Lifetime
- 2003-11-14 KR KR1020057008898A patent/KR20050075428A/ko not_active Ceased
- 2003-11-14 KR KR1020067022786A patent/KR100873545B1/ko not_active Expired - Fee Related
- 2003-11-14 CN CN200810179580XA patent/CN101481862B/zh not_active Expired - Lifetime
- 2003-11-14 AU AU2003284554A patent/AU2003284554B9/en not_active Ceased
- 2003-11-14 EP EP09000028A patent/EP2050855B1/fr not_active Expired - Lifetime
- 2003-11-14 ES ES03774027T patent/ES2377061T3/es not_active Expired - Lifetime
- 2003-11-14 US US10/535,247 patent/US20060130533A1/en not_active Abandoned
- 2003-11-14 WO PCT/JP2003/014549 patent/WO2004046447A1/fr not_active Ceased
- 2003-11-14 ES ES09000028T patent/ES2398868T3/es not_active Expired - Lifetime
- 2003-11-18 MY MYPI20034419A patent/MY137523A/en unknown
- 2003-11-18 MY MYPI20071908A patent/MY149233A/en unknown
- 2003-11-19 TW TW092132410A patent/TWI254757B/zh not_active IP Right Cessation
Cited By (2)
| Publication number | Priority date | Publication date | Assignee | Title |
|---|---|---|---|---|
| US11578453B2 (en) | 2020-03-26 | 2023-02-14 | Haier Us Appliance Solutions, Inc. | Fault detection for a water level detection system of a washing machine appliance |
| US11639571B2 (en) | 2020-03-27 | 2023-05-02 | Haier Us Appliance Solutions, Inc. | System and method for determining dry load weight within a washing machine appliance |
Also Published As
| Publication number | Publication date |
|---|---|
| AU2003284554B9 (en) | 2008-08-14 |
| MY137523A (en) | 2009-02-27 |
| KR20060116261A (ko) | 2006-11-14 |
| CN101481862A (zh) | 2009-07-15 |
| EP2050855A1 (fr) | 2009-04-22 |
| TWI254757B (en) | 2006-05-11 |
| EP2050855B1 (fr) | 2012-12-26 |
| CN100519899C (zh) | 2009-07-29 |
| MY149233A (en) | 2013-07-31 |
| TW200422472A (en) | 2004-11-01 |
| ES2377061T3 (es) | 2012-03-22 |
| KR100873545B1 (ko) | 2008-12-11 |
| KR20050075428A (ko) | 2005-07-20 |
| WO2004046447A1 (fr) | 2004-06-03 |
| JP4017504B2 (ja) | 2007-12-05 |
| AU2003284554A1 (en) | 2004-06-15 |
| CN101481862B (zh) | 2012-07-18 |
| AU2003284554B2 (en) | 2008-07-17 |
| EP1580313A4 (fr) | 2007-12-26 |
| CN1738938A (zh) | 2006-02-22 |
| EP1580313A1 (fr) | 2005-09-28 |
| JP2004166938A (ja) | 2004-06-17 |
| US20060130533A1 (en) | 2006-06-22 |
| ES2398868T3 (es) | 2013-03-22 |
Similar Documents
| Publication | Publication Date | Title |
|---|---|---|
| EP1580313B1 (fr) | Lave-linge | |
| EP1566361B1 (fr) | Méthode d'elution d'ions | |
| AU2003275627B2 (en) | Ion eluting unit and device loaded with same | |
| JP2005065746A (ja) | 洗濯機 | |
| JP4010887B2 (ja) | 洗濯機 | |
| JP3638018B1 (ja) | 洗濯機 | |
| JP4024257B2 (ja) | 洗濯機 | |
| AU2007231905B2 (en) | Ion eluting unit and device provided with same | |
| JP2004248861A (ja) | イオン溶出ユニット、イオン溶出ユニットを搭載した機器、及びイオン溶出ユニットを搭載した洗濯機 | |
| JP3957617B2 (ja) | 洗濯機 | |
| JP3963793B2 (ja) | イオン溶出ユニット及びこれを搭載した洗濯機 | |
| JP2004216199A (ja) | イオン溶出ユニット、イオン溶出ユニットを搭載した機器、及びイオン溶出ユニットを搭載した洗濯機 |
Legal Events
| Date | Code | Title | Description |
|---|---|---|---|
| PUAI | Public reference made under article 153(3) epc to a published international application that has entered the european phase |
Free format text: ORIGINAL CODE: 0009012 |
|
| 17P | Request for examination filed |
Effective date: 20050608 |
|
| AK | Designated contracting states |
Kind code of ref document: A1 Designated state(s): AT BE BG CH CY CZ DE DK EE ES FI FR GB GR HU IE IT LI LU MC NL PT RO SE SI SK TR |
|
| AX | Request for extension of the european patent |
Extension state: AL LT LV MK |
|
| DAX | Request for extension of the european patent (deleted) | ||
| RBV | Designated contracting states (corrected) |
Designated state(s): DE ES IT SE |
|
| A4 | Supplementary search report drawn up and despatched |
Effective date: 20071122 |
|
| RIC1 | Information provided on ipc code assigned before grant |
Ipc: D06F 39/08 20060101ALI20071116BHEP Ipc: D06F 37/20 20060101ALI20071116BHEP Ipc: D06F 35/00 20060101ALI20071116BHEP Ipc: D06F 33/02 20060101AFI20071116BHEP |
|
| 17Q | First examination report despatched |
Effective date: 20080619 |
|
| GRAP | Despatch of communication of intention to grant a patent |
Free format text: ORIGINAL CODE: EPIDOSNIGR1 |
|
| RTI1 | Title (correction) |
Free format text: WASHER |
|
| GRAS | Grant fee paid |
Free format text: ORIGINAL CODE: EPIDOSNIGR3 |
|
| GRAA | (expected) grant |
Free format text: ORIGINAL CODE: 0009210 |
|
| AK | Designated contracting states |
Kind code of ref document: B1 Designated state(s): DE ES IT SE |
|
| REG | Reference to a national code |
Ref country code: DE Ref legal event code: R096 Ref document number: 60339497 Country of ref document: DE Effective date: 20120223 |
|
| REG | Reference to a national code |
Ref country code: ES Ref legal event code: FG2A Ref document number: 2377061 Country of ref document: ES Kind code of ref document: T3 Effective date: 20120322 |
|
| REG | Reference to a national code |
Ref country code: SE Ref legal event code: TRGR |
|
| PLBE | No opposition filed within time limit |
Free format text: ORIGINAL CODE: 0009261 |
|
| STAA | Information on the status of an ep patent application or granted ep patent |
Free format text: STATUS: NO OPPOSITION FILED WITHIN TIME LIMIT |
|
| 26N | No opposition filed |
Effective date: 20120924 |
|
| REG | Reference to a national code |
Ref country code: DE Ref legal event code: R097 Ref document number: 60339497 Country of ref document: DE Effective date: 20120924 |
|
| PGFP | Annual fee paid to national office [announced via postgrant information from national office to epo] |
Ref country code: DE Payment date: 20121107 Year of fee payment: 10 |
|
| PGFP | Annual fee paid to national office [announced via postgrant information from national office to epo] |
Ref country code: IT Payment date: 20121110 Year of fee payment: 10 Ref country code: SE Payment date: 20121113 Year of fee payment: 10 Ref country code: ES Payment date: 20121212 Year of fee payment: 10 |
|
| REG | Reference to a national code |
Ref country code: DE Ref legal event code: R119 Ref document number: 60339497 Country of ref document: DE |
|
| REG | Reference to a national code |
Ref country code: SE Ref legal event code: EUG |
|
| PG25 | Lapsed in a contracting state [announced via postgrant information from national office to epo] |
Ref country code: SE Free format text: LAPSE BECAUSE OF NON-PAYMENT OF DUE FEES Effective date: 20131115 Ref country code: DE Free format text: LAPSE BECAUSE OF NON-PAYMENT OF DUE FEES Effective date: 20140603 Ref country code: IT Free format text: LAPSE BECAUSE OF NON-PAYMENT OF DUE FEES Effective date: 20131114 |
|
| REG | Reference to a national code |
Ref country code: DE Ref legal event code: R119 Ref document number: 60339497 Country of ref document: DE Effective date: 20140603 |
|
| REG | Reference to a national code |
Ref country code: ES Ref legal event code: FD2A Effective date: 20150709 |
|
| PG25 | Lapsed in a contracting state [announced via postgrant information from national office to epo] |
Ref country code: ES Free format text: LAPSE BECAUSE OF NON-PAYMENT OF DUE FEES Effective date: 20131115 |