EP1575708B1 - Zerkleinerungsmaschine für material beliebiger art, z. b. abfall oder holz - Google Patents
Zerkleinerungsmaschine für material beliebiger art, z. b. abfall oder holz Download PDFInfo
- Publication number
- EP1575708B1 EP1575708B1 EP03775058A EP03775058A EP1575708B1 EP 1575708 B1 EP1575708 B1 EP 1575708B1 EP 03775058 A EP03775058 A EP 03775058A EP 03775058 A EP03775058 A EP 03775058A EP 1575708 B1 EP1575708 B1 EP 1575708B1
- Authority
- EP
- European Patent Office
- Prior art keywords
- cutting
- tools
- comminution
- shaft
- rigid
- Prior art date
- Legal status (The legal status is an assumption and is not a legal conclusion. Google has not performed a legal analysis and makes no representation as to the accuracy of the status listed.)
- Expired - Lifetime
Links
- 239000000463 material Substances 0.000 title claims abstract description 63
- 239000002023 wood Substances 0.000 title claims description 7
- 239000002699 waste material Substances 0.000 title claims description 5
- 238000005520 cutting process Methods 0.000 claims abstract description 122
- 238000000034 method Methods 0.000 claims abstract description 14
- 230000008569 process Effects 0.000 claims abstract description 14
- 230000000694 effects Effects 0.000 claims abstract description 9
- 239000010782 bulky waste Substances 0.000 claims description 6
- 230000009471 action Effects 0.000 claims description 5
- 239000010791 domestic waste Substances 0.000 claims description 4
- 239000010815 organic waste Substances 0.000 claims description 3
- 229910000831 Steel Inorganic materials 0.000 claims 2
- 239000010959 steel Substances 0.000 claims 2
- WYTGDNHDOZPMIW-RCBQFDQVSA-N alstonine Natural products C1=CC2=C3C=CC=CC3=NC2=C2N1C[C@H]1[C@H](C)OC=C(C(=O)OC)[C@H]1C2 WYTGDNHDOZPMIW-RCBQFDQVSA-N 0.000 claims 1
- 239000010813 municipal solid waste Substances 0.000 claims 1
- 238000010008 shearing Methods 0.000 claims 1
- 206010041953 Staring Diseases 0.000 description 11
- 241001295925 Gegenes Species 0.000 description 5
- 238000007789 sealing Methods 0.000 description 5
- 238000005265 energy consumption Methods 0.000 description 4
- 230000005540 biological transmission Effects 0.000 description 2
- 230000000875 corresponding effect Effects 0.000 description 2
- 230000002349 favourable effect Effects 0.000 description 2
- 230000003993 interaction Effects 0.000 description 2
- 238000012423 maintenance Methods 0.000 description 2
- 238000004519 manufacturing process Methods 0.000 description 2
- 230000008439 repair process Effects 0.000 description 2
- 238000003860 storage Methods 0.000 description 2
- 230000000712 assembly Effects 0.000 description 1
- 238000000429 assembly Methods 0.000 description 1
- 230000004927 fusion Effects 0.000 description 1
- 230000001976 improved effect Effects 0.000 description 1
- 230000006872 improvement Effects 0.000 description 1
- 239000002655 kraft paper Substances 0.000 description 1
- 230000004048 modification Effects 0.000 description 1
- 238000012986 modification Methods 0.000 description 1
- 239000004033 plastic Substances 0.000 description 1
- 239000002985 plastic film Substances 0.000 description 1
- 229920006255 plastic film Polymers 0.000 description 1
- 230000009467 reduction Effects 0.000 description 1
- 210000002023 somite Anatomy 0.000 description 1
- 230000003319 supportive effect Effects 0.000 description 1
Images
Classifications
-
- B—PERFORMING OPERATIONS; TRANSPORTING
- B02—CRUSHING, PULVERISING, OR DISINTEGRATING; PREPARATORY TREATMENT OF GRAIN FOR MILLING
- B02C—CRUSHING, PULVERISING, OR DISINTEGRATING IN GENERAL; MILLING GRAIN
- B02C18/00—Disintegrating by knives or other cutting or tearing members which chop material into fragments
- B02C18/06—Disintegrating by knives or other cutting or tearing members which chop material into fragments with rotating knives
- B02C18/16—Details
- B02C18/18—Knives; Mountings thereof
- B02C18/182—Disc-shaped knives
-
- B—PERFORMING OPERATIONS; TRANSPORTING
- B02—CRUSHING, PULVERISING, OR DISINTEGRATING; PREPARATORY TREATMENT OF GRAIN FOR MILLING
- B02C—CRUSHING, PULVERISING, OR DISINTEGRATING IN GENERAL; MILLING GRAIN
- B02C18/00—Disintegrating by knives or other cutting or tearing members which chop material into fragments
- B02C18/06—Disintegrating by knives or other cutting or tearing members which chop material into fragments with rotating knives
- B02C18/14—Disintegrating by knives or other cutting or tearing members which chop material into fragments with rotating knives within horizontal containers
- B02C18/142—Disintegrating by knives or other cutting or tearing members which chop material into fragments with rotating knives within horizontal containers with two or more inter-engaging rotatable cutter assemblies
-
- B—PERFORMING OPERATIONS; TRANSPORTING
- B02—CRUSHING, PULVERISING, OR DISINTEGRATING; PREPARATORY TREATMENT OF GRAIN FOR MILLING
- B02C—CRUSHING, PULVERISING, OR DISINTEGRATING IN GENERAL; MILLING GRAIN
- B02C18/00—Disintegrating by knives or other cutting or tearing members which chop material into fragments
- B02C18/06—Disintegrating by knives or other cutting or tearing members which chop material into fragments with rotating knives
- B02C18/16—Details
- B02C18/18—Knives; Mountings thereof
- B02C2018/188—Stationary counter-knives; Mountings thereof
Definitions
- the invention relates to a crushing machine for material of any kind, for. B. waste, such as household waste and bulky waste or wood, comprising a housing provided in a receptacle for the material, at least one driven shaft, are provided on the crushing tools and arranged in the housing rigid cutting tools as counter tools for crushing tools for crushing the material with the in the preamble of claim 1 specified features.
- waste such as household waste and bulky waste or wood
- the comminution tools are known to consist of U-shaped knives lying in a plane perpendicular to the axis of rotation of the shafts and uniformly along and around two substantially parallel and horizontal shafts driven by a motor which can drive the shafts in opposite directions and which have a mutual distance which is slightly greater than twice the distance between the radial outside point of a blade and the axis of rotation.
- the drive devices are provided between the motor and the shafts.
- the material is fed to the knives through a shaft arranged above the knives.
- These knives cooperate with knives fixedly mounted between the shafts on a portion of the frame of the material shredding device as the shafts rotate in opposite directions, thereby moving the cut edge of the sheets at the top of the fixed knives towards each other.
- the mutual distance between the two waves a fixed distance.
- the drive means also comprise, as previously known, a suitable transmission for each of the two shafts, a hydraulic motor with adjustable rotational speeds for operating each shaft, an adjustable pump for supplying each hydraulic motor and transmission through which the motor operates the pumps, which transmits the flow reversing the hydraulic motors to rotate each shaft individually forward and backward in accordance with a predetermined sequence.
- each knife comprises two successively arranged and substantially U-shaped blades, that the radially outer and front parts of the two leaves, seen in the direction of rotation of the cutting movement of the knife are constructed as substantially tangentially oriented wedges, that the distance between the axis of rotation and the wedge of the front blade is shorter than the distance between the axis of rotation and the wedge of the succeeding blade and that the radially outer contour of the succeeding blade substantially a segment of a spiral line around the axis of rotation corresponds.
- the fixed knives are formed by a prior art cutting table fixed to the bottom of a funnel with at least one set; arranged parallel lower knife, which are separated from each other by openings through the table.
- At least one rotatable shaft of a drive unit is provided, which shaft is arranged above the cutting table in a direction which extends perpendicular to the lower blades.
- each knife being provided with a number of teeth and extending partially downwardly into each of its openings in the table.
- Each opening is wider than the associated upper knife, which is also located near one of the lower knives in the associated opening.
- the lower knives extend in a direction intersecting the axis of the shaft or a region around it, it being assumed for this embodiment that according to DK 169 378 a cutting table is already known whose plane already extends below the shaft.
- a set of several blades is arranged on each side of the shaft, the arrangement of which form a V or an inverted V to each other.
- the respective cutting edges may be curved or wave-shaped.
- the crushing tools are offset in the axial direction on the shaft to each other or arranged at a different radial distance, and accordingly the teeth are arranged on the rigid cutting tools, which cutters run as a so-called slab.
- the shaft has discs on which the comminution tools are arranged or formed. These crushing tools work, meshing with the teeth between the spaced-apart rigid cutting tools of the slab.
- the shaft cheap and dismantle, it has on both sides pins, which are detachably connected to the shaft and possibly form a storage area.
- the connection can be designed so that it takes place by means of flanges.
- the housing is made double-walled on the end faces, and between them is a labyrinthine sealing against material outlet provided with a shaft plate provided, which may be conveniently formed by the flanges.
- the cutting contours of the serrated teeth of the rigid cutting tools can be formed by wear elements z. B. are interchangeable.
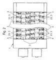
- a shredder according to the invention for household waste, bulky waste or wood consists of a housing 1 with two shafts 2 driven in opposite directions.
- Discs 2.1 are arranged on the shafts 2 and have comminuting tools 3.
- These comminution tools are arranged at a distance from each other on the shafts 2 in such a way that, in cooperation with rigid cutting tools 4, which run in the axial direction of the shafts 2 as a slab, they operate in a parallel offset and crush a material 5 fed in via a receptacle 1.2 in a cutting manner.
- the comminuting tools 3 have, in each case a direction of rotation of the shafts 2 and in their cross section, two cutting areas 3.1, 3.2, which are designed such that the stability of the comminution tools 3 is not jeopardized.
- An inner cutting area 3.1 detects more material to be comminuted 5 and acts with a relatively small lever arm and an outer cutting area 3.2 detects less material to be shredded 5 and acts with a relatively large lever arm.
- the contours 3.3 of said cutting areas 3.1, 3.2 in the direction of the axes of the shafts 2 each describe a concentric arc around the shafts 2.
- the rigid cutting tools 4 have a plurality of saw-toothed teeth 4.2.
- two mutually perpendicular tooth flanks 4.3 of the teeth 4.2 cooperate with at least one of the cutting areas 3.1, 3.2 in such a way that the respective material 5 is always clamped and notched and cut in its entirety by the available edges of the cutting edges.
- the comminution tools 3 are arranged radially offset relative to one another on the shafts 2 in the axial direction. Not shown in the figures, the possibility that the crushing tools 3 in a different angular position on the shaft 2, ie axially in the cutting profile, z. B. tapered, are arranged. Accordingly, the teeth 4.2 of the axially extending as a slab rigid cutting tools 4 are to be arranged.
- the housing 1 is designed according to Figure 1 at the end faces with a double wall 1.1, in which the pins 2.2 or ends of the shaft 2 have a sealing disc 2.4, which forms a sealing labyrinth with the double wall 1.1.
- the sealing disc 2.4 is formed by the flanges 2.3.
- a crushing machine according to the invention can optimally meet the increased requirements for the comminution of material of the described types, to which means are provided, which detects the gradient of a parameter of the comminution machine and as a reference variable for the control of the comminution machine is used.
Landscapes
- Engineering & Computer Science (AREA)
- Food Science & Technology (AREA)
- Crushing And Pulverization Processes (AREA)
- Debarking, Splitting, And Disintegration Of Timber (AREA)
- Disintegrating Or Milling (AREA)
- Finish Polishing, Edge Sharpening, And Grinding By Specific Grinding Devices (AREA)
- Shovels (AREA)
- Polysaccharides And Polysaccharide Derivatives (AREA)
Description
- Die Erfindung betrifft eine Zerkleinerungsmaschine für Material beliebiger Art, z. B. Abfall, wie Hausmüll und Sperrmüll oder Holz, aufweisend eine in einem Gehäuse vorgesehene Aufnahme für das Material, mindestens eine angetriebene Welle, auf der Zerkleinerungswerkzeuge vorgesehen sind und im Gehäuse angeordnete starre Schneidwerkzeuge als Gegenwerkzeuge für die Zerkleinerungswerkzeuge zur Zerkleinerung des Materials, mit den im Oberbegriff des Anspruchs 1 angegebenen Merkmalen.
- Derartige Zerkleinerungsmaschinen sind unter der Bezeichnung "Zerreißer" bekannt geworden.
- Nach der Zusammenschau des Standes der Technik lässt sich für die eingangs nur gattungsmäßig umrissene Zerkleinerungsmaschine eine Vorrichtung zusammenstellen, die nachstehend beschriebene Merkmalsgruppen aufweist.
- Entsprechend der EP 0 521 081 B1 sind bekannterweise die Zerkleinerungswerkzeuge aus U-förmigen Messern gebildet, die in einer zur Drehachse für die Wellen senkrechten Ebene liegen und die gleichmäßig entlang und rund um zwei im wesentlichen parallele und horizontale Wellen, die von einem Motor angetrieben werden, der die Wellen in entgegengesetzten Richtungen antreiben kann, und die einen gegenseitigen Abstand aufweisen, der etwas größer als der doppelte Abstand zwischen dem radialen Außenpunkt eines Messers und der Drehachse ist, angeordnet sind. Die Antriebsvorrichtungen sind zwischen dem Motor und den Wellen vorgesehen.
- Das Material wird den Messern durch einen über den Messern angeordneten Schacht zugeführt. Diese Messer arbeiten mit zwischen den Wellen auf einem Teil des Rahmens der Vorrichtung zur Materialzerkleinerung feststehend angebrachten Messern zusammen, wenn die Wellen in entgegengesetzten Richtungen rotieren, wodurch die Schnittkante der Blätter an der Oberseite der feststehenden Messer aufeinander zu bewegt werden.
- Dazu ist, wie auch aus älterem Stand der Technik vorbekannt, der gegenseitige Abstand zwischen den zwei Wellen ein fester Abstand.
- Die Antriebseinrichtungen umfassen ebenfalls in vorbekannter Weise ein geeignetes Getriebe für jede der zwei Wellen, einen hydraulischen Motor mit einstellbaren Rotationsgeschwindigkeiten zum Betreiben jeder Welle, eine einstellbare Pumpe zum Versorgen jedes hydraulischen Motors und Getriebes, durch die der Motor die Pumpen betreibt, die den Fluss durch die hydraulischen Motoren umzukehren vermögen, um jede Welle individuell vorwärts und rückwärts gemäß einer vorbestimmten Sequenz zu drehen.
- Als wesentlich ist nun der Erfindung gemäß der EP 0 521 081 B1 zu entnehmen, dass jedes Messer zwei hintereinander angeordnete und im wesentlichen U-förmige Blätter umfasst, dass die radial äußeren und vorderen Teile der zwei Blätter, in der Rotationsrichtung der Schneidebewegung der Messer gesehen, als im wesentlichen tangential orientierte Keile gebaut sind, dass der Abstand zwischen der Rotationsachse und dem Keil des vorderen Blatts kürzer als der Abstand zwischen der Rotationsachse und dem Keil des nachfolgenden Blatts ist und dass die radial äußere Kontur des nachfolgenden Blatts im wesentlichen einem Segment einer spiralförmigen Linie um die Rotationsachse entspricht.
- Hierzu können in funktioneller Kombination die Merkmale der gattungsgleichen Zerkleinerungsmaschine entsprechend der EP 0 928 222 B1 ergänzt werden, um eine funktionierende Einheit zu erhalten.
- Demzufolge sind die feststehenden Messer durch einen vorbekannten Schneidtisch gebildet, der am Boden eines Trichters mit wenigstens einem Satz fixierter; paralleler unterer Messer angeordnet ist, welche voneinander durch Öffnungen durch den Tisch getrennt sind.
- Weiterhin ist in bekannter Art wenigstens eine drehbare Welle einer Antriebseinheit vorgesehen, welche Welle über dem Schneidtisch in einer Richtung angeordnet ist, die sich senkrecht zu den unteren Messern erstreckt.
- Schließlich sind bekannterweise eine Anzahl von scheibenförmigen oberen Messern vorhanden, die an der Welle befestigt sind, von denen jedes Messer mit einer Anzahl von Zähnen versehen ist und die sich teilweise nach unten in jede ihrer Öffnungen des Tischs erstreckt. Jede Öffnung ist breiter als das zugehörige obere Messer, welches außerdem nahe einem der unteren Messer in der zugehörigen Öffnung angeordnet ist.
- Nach der dort offenbarten Erfindung ist es wesentlich, dass die unteren Messer sich in eine Richtung erstrecken, die die Achse der Welle oder einen Bereich um diese herum schneidet, wobei zu dieser Ausführung davon ausgegangen wird, dass gemäß DK 169 378 schon ein Schneidtisch bekannt ist, dessen Ebene sich schon unterhalb der Welle erstreckt.
- Dabei ist auf jeder Seite der Welle ein Satz mehrer Messer angeordnet, deren Anordnung zueinander ein V oder ein umgekehrtes V bilden.
- Die jeweiligen Schneidkanten können gewölbt oder wellenförmig ausgeführt sein.
- Durch die konstruktive Verbesserung nach der EP 0 928 222 B1 des in Messer aufgeteilten Schneidtisches, in dem die Ebene des Schneidtisches die Achse der Welle schneidet, soll mit einem vorteilhaften Schneidwinkel von ca. 90° das Material zerkleinert werden.
- Eine nach dem dokumentierten Stand der Technik so zusammengestellte und vorstehend beschriebene Zerkleinerungsmaschine für Materialien, wie organischen Abfall, sperrigen Abfall oder dergleichen weist trotz bewährter Funktion noch Nachteile auf, die insbesondere darin bestehen, dass
- die auf der Welle angebrachten Zerkleinerungswerkzeuge in ihrer Stabilität gefährdet sind,
- der Zerkleinerungsprozess durch die feststehenden Messer in seiner Effektivität begrenzt ist,
- der Durchsatz infolge der das Material wegdrückenden Wirkung der Form der Zerkleinerungswerkzeuge auf der Welle im Zusammenspiel mit den feststehenden Messern nicht steigerbar ist und
- der Energieverbrauch der Maschine relativ hoch ist.
- Die Erfindung stellt sich die Aufgabe, eine Zerkleinerungsmaschine für Material beliebiger Art, z. B. Abfall, wie Hausmüll und Sperrmüll oder Holz, insbesondere organischer Abfall, sperriger Abfall, wie Kühlschränke, Reifen, Möbel, Teppiche, Matratzen, Baumstümpfe, Abbruchholz oder dergleichen Materialien zu schaffen, die umfasst
- eine in einem Gehäuse vorgesehene Aufnahme für das Material,
- mindestens eine Welle, auf der Zerkleinerungswerkzeuge angeordnet sind,
- im Gehäuse angebrachte starre Schneidwerkzeuge, deren Schneidkanten in ihrer Verlängerung gerade nicht die Achse der Welle oder einen Bereich um die Achse herum schneiden, gegen welche starren Schneidwerkzeuge die Zerkleinerungswerkzeuge der Welle das aufgegebene Material schneiden.
Damit soll im Zusammenspiel der in beiden Drehrichtungen wirkenden Zerkleinerungswerkzeuge mit den starren Schneidwerkzeugen der Abfall stets differenziert erfasst, gefördert und fixiert gegen die starren Schneidwerkzeuge mit spezifisch geringen Kräften zerkleinert werden.
Einerseits muss die Zerkleinerungsmaschine für die Herstellung, den Betrieb, die Wartung und Reparatur in dafür geeignete Baugruppen gestaltet werden und andererseits für die Bedingungen des Zerkleinerungsprozesses steuerbar sein.
Im Ergebnis der zu lösenden Aufgabe sind - die Stabilität der Zerkleinerungswerkzeuge der Welle zu erhöhen,
- der Zerkleinerungsgrad durch konstruktive Veränderung der starren Schneidwerkzeuge zu steigern,
- die Durchsatzleistung der Maschine zu erhöhen,
- der Energieverbrauch der Maschine zu senken,
- die Zerkleinerbarkeit von insbesondere duktileren, nicht sprödbrüchigen Materialien wie z. B. Plastik und Plastikfolien zu fördern und
- das im Aufnahmebereich vorliegende und direkt zu zerkleinernde Material den verfügbaren Schneidgeometrien vollständig zuzuführen
- Erfindungsgemäß wird dies dadurch gelöst, dass
- a) die Zerkleinerungswerkzeuge in jeweils einer Drehrichtung der Welle und in deren Querschnitt gesehen mindestens zwei Schneidenbereiche aufweist, von denen mindestens ein innerer Schneidenbereich mehr zu zerkleinerndes Material erfassen und zerkleinern kann und dafür einen relativ kleinen Hebelarm besitzt, sowie mindestens ein äußerer Schneidenbereich weniger zu zerkleinerndes Material erfassen und zerkleinern kann und dafür einen relativ großen Hebelarm besitzt, wobei die Schneidenkonturen beider Schneidenbereiche in Richtung der Achse der Welle einen Kreisbogen um die Achse der Welle bilden,
- b) die starren Schneidwerkzeuge mehrere sägeartig angeordnete Zähne aufweisen und somit zwei im Winkel zueinander stehende Zahnflanken der Zähne mit einem der Schneidenbereiche zusammenarbeiten,
- c) in jeder beginnenden wirksamen Schneidstellung eine, eine erste Querschneide bildende Spitze der Zerkleinerungswerkzeuge gegen eine, eine zweite Querschneide bildende Spitze eines Zahnes der starren Schneidwerkzeuge parallelversetzt und vorbeischneidend gerichtet ist, wodurch die neben der zwischen dem Schneidenbereichen der Zerkleinerungswerkzeuge und den Schneidkanten der starren Schneidwerkzeuge erzeugten Schneidkräfte eine zusätzliche sowie parallel zur Achse der Welle gerichtete Brechkante mit auf das Material parallelversetzter Kerbwirkung und spezifisch hoch wirkender Kraft erhalten ist und
- d) das Material unter aggressiver Teilnahme der Zähne der starren Schneidwerkzeuge einem aktiven und zusätzlichen Zerkleinerungsvorgang unterworfen ist.
- In weiterer Ausbildung der Erfindung sind die Zerkleinerungswerkzeuge in axialer Richtung auf der Welle zueinander versetzt oder in einem unterschiedlichen radialen Abstand angeordnet, wobei dementsprechend auch die Zähne auf den starren Schneidwerkzeugen angeordnet sind, welche Schneidwerkzeuge als sogenannte Bramme verlaufen.
- Des weiteren weist die Welle Scheiben auf, an denen die Zerkleinerungswerkzeuge angeordnet oder ausgebildet sind. Diese Zerkleinerungswerkzeuge arbeiten, und zwar zwischen die auf Abstand angeordneten starren Schneidwerkzeuge der Bramme kämmend, mit den Zähnen zusammen.
- Um die Welle günstig montieren und demontieren zu können, weist sie an beiden Seiten Zapfen auf, die lösbar mit der Welle verbunden sind und ggf. einen Lagerbereich bilden. Dabei kann die Verbindung so gestaltet werden, dass sie mittels Flansche erfolgt.
- Das Gehäuse ist an den Stirnseiten doppelwandig ausgeführt, und dazwischen ist gegen Materialaustritt labyrinthartig dichtend eine mit der Welle verbundene Scheibe vorgesehen, die zweckmäßigerweise durch die Flansche gebildet sein kann.
- Die Schneidkonturen der sägeartig gestalteten Zähne der starren Schneidwerkzeuge können durch Verschleißelemente gebildet werden, die z. B. auswechselbar sind.
- In Unterstützung der sich aus den erfindungsgemäßen Wirkungen ergebenden Vorteile, wie z. B.
- Steigerung des Zerkleinerungsgrades,
- Erhöhung der Durchsatzleistung und
- Senkung des Energieverbrauchs
- Die Erfindung wird an einem Ausführungsbeispiel nachstehend näher erläutert. In den Zeichnungen zeigen:
- Fig. 1
- eine längstgeschnittene Seitenansicht der Zerkleinerungsmaschine,
- Fig. 2
- eine Draufsicht nach Figur 1,
- Fig. 3
- den Querschnitt entsprechend den Figuren 1 und 2 in vereinfachter Darstellung der erfindungswesentlichen Merkmale der Phasen des Wirkungsprinzips der Erfindung zwischen den Zerkleinerungswerkzeugen und den starren Schneidwerkzeugen in der Arbeitsphase des aufgegebenen und noch nicht zerkleinerten Materials,
- Fig. 4:
- den Querschnitt analog zu Figur 3 in der Arbeitsphase des begonnenen Zerkleinerungsprozesses und
- Fig. 5:
- den Querschnitt analog zu den Figuren 3 und 4 in der Arbeitsphase der weiteren Zerkleinerung.
- Eine erfindungsgemäße Zerkleinerungsmaschine für Hausmüll, Sperrmüll oder Holz besteht gemäß den Figuren 1 und 2 aus einem Gehäuse 1 mit zwei darin gelagerten, gegenläufig angetriebenen Wellen 2. Auf den Wellen 2 sind Scheiben 2.1 angeordnet, die Zerkleinerungswerkzeuge 3 aufweisen. Diese Zerkleinerungswerkzeuge sind so mit Abstand zueinander auf den Wellen 2 gereiht, dass sie in Zusammenwirkung mit starren Schneidwerkzeugen 4, die in axialer Richtung der Wellen 2 als Bramme verlaufen, parallelversetzt arbeiten und ein über eine Aufnahme 1.2 aufgegebenes Material 5 schneidend zerkleinern.
- Gegenüber dem bekannten Stand der Technik ist es für die technische Anforderung an die Zerkleinerungsmaschine wesentlich, dass gedachte Verlängerungen der Schneidkanten 4.1 (Figuren 3 bis 5) der starren Schneidwerkzeuge 4 nicht die Achse der Wellen 2 oder Bereiche um die Achse herum schneiden.
- Diese Anforderung zielt darauf ab, dass im Zusammenspiel der Zerkleinerungswerkzeuge 3 mit den starren Schneidwerkzeugen 4 das Material 5 differenziert erfasst, gefördert und fixiert gegen die starren Schneidwerkzeuge 4 mit spezifisch geringen Kräften zerkleinert werden kann. Das heißt, dass der Wirkungsgrad der Zerkleinerungsmaschine hinsichtlich des Zerkleinerungsprozesses im Vergleich zu den herkömmlichen Zerreißem wesentlich gesteigert wird.
- Entsprechend den Figuren 3 bis 5 weisen die Zerkleinerungswerkzeuge 3 in jeweils eine Drehrichtung der Wellen 2 und in deren Querschnitt gesehen zwei Schneidenbereiche 3.1, 3.2 auf, die so gestaltet sind, dass die Stabilität der Zerkleinerungswerkzeuge 3 nicht gefährdet ist.
- Ein innerer Schneidenbereich 3.1 erfasst mehr zu zerkleinerndes Material 5 und wirkt mit einem relativ kleinen Hebelarm sowie ein äußerer Schneidenbereich 3.2 erfasst weniger zu zerkleinerndes Material 5 und wirkt mit einem relativ großen Hebelarm. Dabei beschreiben die Konturen 3.3 besagter Schneidenbereiche 3.1, 3.2 in Richtung der Achsen der Wellen 2 jeweils einen konzentrischen Kreisbogen um die Wellen 2.
- Im Ansatz ist mit dieser konstruktiven Ausführung die Voraussetzung gegeben, die verfügbaren Kräfte wirksamer als bisher für den Zerkleinerungsprozess des jeweiligen Materials und differenzierter einzusetzen.
- In funktioneller Korrespondenz dazu weisen die starren Schneidwerkzeuge 4 mehrere sägeartig angeordnete Zähne 4.2 auf. Somit arbeiten zwei im Winkel zueinander stehende Zahnflanken 4.3 der Zähne 4.2 mit mindestens einem der Schneidenbereiche 3.1, 3.2 derart zusammen, dass das jeweilige Material 5 stets eingeklemmt und von den verfügbaren Kanten der Schneiden allumfassend eingekerbt und geschnitten wird.
- Funktionell mit diesem Effekt verschmelzend kommt hinzu, dass in jeder beginnenden, wirksam werdenden Schneidstellung eine, eine jeweils erste Querschneide 3.4 bildende Spitze der Zerkleinerungswerkzeuge 3 gegen eine, eine jeweils zweite Querschneide 4.4 bildende Spitze eines Zahnes 4.2 der starren Schneidwerkzeuge 4 parallelversetzt und vorbeischneidend gerichtet ist. Dadurch erhalten die neben den zwischen den Schneidenbereichen 3.1, 3.2 der Zerkleinerungswerkzeuge 3 und den Schneidkanten 4.1 der starren Schneidwerkzeuge 4 erzeugten bzw. wirkenden Schneidkräfte eine zusätzliche sowie parallel zur Achse der Welle 2 gerichtete Brechkante mit auf das jeweilige Stück Material 5 parallel versetzter Kerbwirkung und spezifisch hoch wirkender Kraft.
- Diese Merkmalskombination unterwirft das Material 5 somit unter aggressiver Teilnahme der Zähne 4.2 der starren Schneidwerkzeuge 4 einem aktiven und zusätzlichen Zerkleinerungsvorgang.
- Schlüssig zu den erhöht gestellten Anforderungen und zur gestellten erfindungsgemäßen Aufgabe wird diese Zerkleinerungsmaschine den in der Zerkleinerungspraxis der eingangs umrissenen Arten von Material 5 besser gerecht, indem
- die Stabilität der Zerkleinerungswerkzeuge 3 erhöht,
- der Zerkleinerungsgrad und die Durchsatzleistung gesteigert,
- der Energieverbrauch gesenkt
- Aus den Figuren 3 bis 5 sind in drei dargestellten Phasen die verbesserten Wirkungen der erfindungsgemäßen Zerkleinerungsmaschine zu entnehmen:
- Entsprechend Figur 3 ist schematisch dargestellt, wie die mit unterschiedlichen Hebelarmen wirkenden Schneidenbereiche 3.1, 3.2 das Material 5 in unterschiedlichen Volumina erfassen und auf den starren Schneidwerkzeugen 4 zwischen die Zahnflanken 4.3 so verteilen können, dass die Zerkleinerung optimal vorbereitet ist.
- Mit der Figur 4 wird deutlich wie in funktioneller Verschmelzung einerseits der Wirkungen der Schneidenbereiche 3.1, 3.2 gegen die Schneidkanten 4.1 das in den Zahnflanken 4.3 eingeklemmte Material 5 geschnitten und andererseits den korrespondierenden Wirkungen der ersten Querschneiden 3.4 mit den zweiten Querschneiden 4.4 und dem zusätzlichen Brechkanteneffekt ausgesetzt ist.
- Schließlich zeigt Figur 5 insbesondere die Phase, in der die äußeren Schneidenbereiche 3.2 mit dem großen Hebelarm und dem weniger erfassten Material 5 gegen die starren Schneidwerkzeuge 4 wirken.
- Unter Beibehaltung des erfindungsgemäßen Wirkprinzips und dieses weiter unterstützend sind gemäß den Figuren 1 und 2 die Zerkleinerungswerkzeuge 3 in axialer Richtung auf den Wellen 2 radial zueinander versetzt angeordnet. Nicht in den Figuren dargestellt ist die Möglichkeit, dass die Zerkleinerungswerkzeuge 3 in einer unterschiedlichen Winkelstellung auf der Welle 2, d. h. axial im Schneidprofil, z. B. konisch verlaufend, angeordnet sind. Dementsprechend sind auch die Zähne 4.2 der axial als Bramme verlaufenden starren Schneidwerkzeuge 4 anzuordnen.
- Die technologisch günstige Ausführung für die Herstellung, den Betrieb, die Wartung und Reparatur der erfindungsgemäßen Zerkleinerungsmaschine wird mit den in der Figur 1 weiter dargestellten Merkmalen erreicht. Dazu weisen die Wellen 2 Zapfen 2.2 mit einem Lagerbereich an den Enden auf. Die Verbindung zwischen den Zapfen 2.2 und der Welle 2 erfolgt mittels Flansche 2.3.
- Für den Betrieb in der Praxis ist es zur Unterstützung einer optimalen Zerkleinerung und Zuverlässigkeit der Zerkleinerungsmaschine wichtig, dass kein Material 5 durch gegeneinander abzudichtende Bauteile dringt. Deshalb ist das Gehäuse 1 gemäß Figur 1 an den Stirnseiten mit einer Doppelwand 1.1 ausgeführt, in der die Zapfen 2.2 oder Enden der Welle 2 eine Dichtscheibe 2.4 aufweisen, die mit der Doppelwand 1.1 ein dichtendes Labyrinth bildet. Technologisch vorteilhaft wird die Dichtscheibe 2.4 durch die Flansche 2.3 gebildet.
- Zur Schonung der starren Schneidwerkzeuge 4 gegen Verschleiß ist es günstig, wie in den Figuren 3 bis 5 angedeutet, die Schneidenkonturen 4.5 mit Verschleißelementen 4.6 auszurüsten.
- In der Gesamtheit der beanspruchten Merkmale kann eine erfindungsgemäß ausgeführte Zerkleinerungsmaschine die gestiegenen Anforderungen an die Zerkleinerung von Material der beschriebenen Arten optimal erfüllen, wobei dazu auch Mittel vorgesehen sind, mit denen der Gradient eines Parameters der Zerkleinerungsmaschine erfasst und als eine Führungsgröße für die Steuerung der Zerkleinerungsmaschine verwendet wird.
-
- 1 =
- Gehäuse
- 1.1 =
- Doppelwand
- 1.2 =
- Aufnahme für Material
- 2 =
- Welle
- 2.1 =
- Scheibe
- 2.2 =
- Zapfen
- 2.3. =
- Flansch
- 2.4 =
- Dichtscheibe
- 3 =
- Zerkleinerungswerkzeug
- 3.1 =
- innerer Schneidenbereich, kleiner Hebelarm
- 3.2 =
- äußerer Schneidenbereich, großer Hebelarm
- 3.3 =
- Kontur
- 3.4 =
- erste Querschneide
- 4 =
- starres Schneidwerkzeug
- 4.1 =
- Schneidkante
- 4.2 =
- Zahn
- 4.3 =
- Zahnflanke
- 4.4 =
- zweite Querschneide
- 4.5 =
- Schneidenkontur
- 4.6 =
- Verschleißelement
- 5 =
- Material
Claims (12)
- Zerkleinerungsmaschine für Material beliebiger Art, z. B. Abfall, wie Hausmüll, Sperrmüll oder Holz, insbesondere organischer Abfall oder sperriger Abfall, wie Kühlschränke, Reifen, Möbel, Teppiche, Matratzen, Baumstümpfe, Abbruchholz oder dergleichen Material, umfassend- eine in einem Gehäuse (1) vorgesehene Aufnahme für das Material (5),- mindestens eine im Gehäuse (1) gelagerte in beiden Richtungen antreibbare Welle (2), auf der Zerkleinerungswerkzeuge (3) angeordnet sind,- im Gehäuse angebrachte starre Schneidwerkzeuge (4), deren Schneidkanten (4.1) in ihrer Verlängerung nicht die Achse der Welle (2) oder einen Bereich um die Achse herum schneiden, gegen welche starren Schneidwerkzeuge (4) die Zerkleinerungswerkzeuge der Welle (2) das aufgegebene Material (5) zerkleinern, wobeiim Zusammenspiel der Zerkleinerungswerkzeuge (3) der Welle (2) mit den starren Schneidwerkzeugen (4) das Material (5) differenziert erfasst, gefördert und fixiert gegen die starren Schneidwerkzeuge (4) mit spezifisch geringen Kräften zerkleinert wird,
dadurch gekennzeichnet, dassa) die Zerkleinerungswerkzeuge (3) in jeweils eine Drehrichtung der Welle (2) und in deren Querschnitt gesehen mindestens zwei Schneidenbereiche (3.1, 3.2) aufweist, von denen mindestens ein innerer Schneidebereich (3.1) mehr zu zerkleinerndes Material (5) erfassen und zerkleinern kann und dafür einen relativ kleinen Hebelarm besitzt sowie mindestens ein äußerer Schneidenbereich (3.2) weniger zu zerkleinerndes Material (5) erfassen und zerkleinern kann und dafür einen relativ großen Hebelarm besitzt, wobei die Konturen (3.3) beider Schneidenbereiche (3.1, 3.2) in Richtung der Achse der Welle (2) einen Kreisbogen um die Achse der Welle (2) bilden,b) die starren Schneidwerkzeuge (4) mehrere sägeartig angeordnete Zähne (4.2) aufweisen und somit zwei im Winkel zueinander stehende Zahnflanken (4.3) der Zähne (4.2) mit einem der Schneidenbereiche (3.1, 3.2) schneidend zusammenarbeiten,c) in jeder beginnenden wirksamen Schneidstellung eine, eine erste Querschneide (3.4) bildende Spitze der Zerkleinerungswerkzeuge (3) gegen eine, eine zweite Querschneide (4.4) bildende Spitze eines Zahnes (4.2) der starren Schneidwerkzeuge (4) parallel versetzt und vorbeischneidend gerichtet ist, wodurch die neben der zwischen den Schneidenbereichen (3.1, 3.2) der Zerkleinerungswerkzeuge (3) und den Schneidkanten (4.1) der starren Schneidwerkzeuge (4) erzeugten Schneidkräfte eine zusätzliche sowie parallel zur Achse der Welle (2) gerichtete Brechkante mit auf das Material (5) parallel versetzter Kerbwirkung und spezifisch hoch wirkende Kraft erhalten undd) das Material (5) unter aggressiver Teilnahme der Zähne (4.2) der starren Schneidwerkzeuge (4) einem aktiven und zusätzlichen Zerkleinerungsvorgang unterworfen ist. - Zerkleinerungsmaschine nach Anspruch 1, dadurch gekennzeichnet, dass die Zerkleinerungswerkzeuge (3) in axialer Richtung auf der Welle (2) in ihrer Winkelposition zueinander versetzt sind.
- Zerkleinerungsmaschine nach Anspruch 1 oder 2, dadurch gekennzeichnet, dass die Zerkleinerungswerkzeuge (3) in einem unterschiedlichen radialen Abstand zur Achse der Welle (2) angeordnet sind.
- Zerkleinerungsmaschine nach einem der Ansprüche 1 bis 3, dadurch gekennzeichnet, dass die Zähne (4.2) der starren Schneidwerkzeuge (4) in ihrer Schneidenkontur (4.5) parallel versetzt sich in axialer Richtung als Bramme erstrecken und in jeder beginnenden Schneidstellung jeweils mindestens eine der ersten Querschneiden (3.4) gegen jeweils mindestens eine der zweiten Querschneiden (4.4) parallel versetzt schneidend gerichtet ist.
- Zerkleinerungsmaschine nach einem der Ansprüche 1 bis 4, dadurch gekennzeichnet, dass die Welle (2) Scheiben (2.1) aufweist, an denen die Zerkleinerungswerkzeuge (3) angeordnet oder ausgebildet sind, die zwischen die auf Abstand der sich auf der Bramme erstreckenden starren Schneidwerkzeuge (4) kämmend und gegen diese schneidend wirken.
- Zerkleinerungsmaschine nach einem der Ansprüche 1 bis 5, dadurch gekennzeichnet, dass die Welle (2) Zapfen (2.2) aufweist, die lösbar mit der Welle (2) verbunden sind.
- Zerkleinerungsmaschine nach einem der Ansprüche 1 bis 6, dadurch gekennzeichnet, dass die Zapfen (2.2) einen Lagerbereich bilden.
- Zerkleinerungsmaschine nach einem der Ansprüche 1 bis 7, dadurch gekennzeichnet, dass die Verbindung zwischen Zapfen (2.2) und Welle (2) mittels Flansche (2.3) erfolgt.
- Zerkleinerungsmaschine nach einem der Ansprüche 1 bis 8, dadurch gekennzeichnet, dass das Gehäuse (1) an den Stirnseiten als Doppelwand (1.1) ausgebildet ist, in deren Zwischenraum eine mit der Welle (2) verbundene Dichtscheibe (2.4) vorgesehen und dadurch eine Art Labyrinthdichtung gebildet ist.
- Zerkleinerungsmaschine nach einem der Ansprüche 1 bis 9, dadurch gekennzeichnet, dass die Dichtscheibe (2.4) durch die Flansche (2.3) gebildet ist.
- Zerkleinerungsmaschine nach einem der Ansprüche 1 bis 10, dadurch gekennzeichnet, dass Schneidenkonturen (4.5) der starren Schneidwerkzeuge (4) durch Verschleißelemente (4.6) verstärkt sind.
- Zerkleinerungsmaschine nach einem der Ansprüche 1 bis 11, dadurch gekennzeichnet, dass Mittel zur Optimierung des Zerkleinerungsprozesses vorgesehen sind, mit denen der Gradient eines Parameters des Zerkleinerungsprozesses oder der Zerkleinerungsmaschine erfasst und als eine Führungsgröße für eine Steuerung der Zerkleinerungsmaschine verwendet wird.
Applications Claiming Priority (3)
| Application Number | Priority Date | Filing Date | Title |
|---|---|---|---|
| DE10247281A DE10247281B3 (de) | 2002-10-10 | 2002-10-10 | Zerkleinerungsmaschine für Material beliebiger Art, z.B. Abfall oder Holz |
| DE10247281 | 2002-10-10 | ||
| PCT/DE2003/003375 WO2004035215A1 (de) | 2002-10-10 | 2003-10-09 | Zerkleinerungsmascine für material beliebiger art, z. b. abfall oder holz |
Publications (2)
| Publication Number | Publication Date |
|---|---|
| EP1575708A1 EP1575708A1 (de) | 2005-09-21 |
| EP1575708B1 true EP1575708B1 (de) | 2007-02-28 |
Family
ID=31197627
Family Applications (1)
| Application Number | Title | Priority Date | Filing Date |
|---|---|---|---|
| EP03775058A Expired - Lifetime EP1575708B1 (de) | 2002-10-10 | 2003-10-09 | Zerkleinerungsmaschine für material beliebiger art, z. b. abfall oder holz |
Country Status (12)
| Country | Link |
|---|---|
| US (1) | US7237739B2 (de) |
| EP (1) | EP1575708B1 (de) |
| JP (1) | JP4213120B2 (de) |
| AT (1) | ATE355130T1 (de) |
| AU (1) | AU2003283187A1 (de) |
| CA (1) | CA2501376C (de) |
| DE (2) | DE10247281B3 (de) |
| DK (1) | DK1575708T3 (de) |
| ES (1) | ES2283839T3 (de) |
| GB (1) | GB2410908A (de) |
| NO (1) | NO330393B1 (de) |
| WO (1) | WO2004035215A1 (de) |
Cited By (1)
| Publication number | Priority date | Publication date | Assignee | Title |
|---|---|---|---|---|
| DE102008052490A1 (de) | 2008-10-21 | 2010-04-22 | Metso Lindemann Gmbh | Anordnung zur axialen Abstützung einer Welle einer Arbeitsmaschine |
Families Citing this family (10)
| Publication number | Priority date | Publication date | Assignee | Title |
|---|---|---|---|---|
| DK176582B1 (da) | 2005-06-22 | 2008-10-06 | M & J Ind As | Findelingsmaskine |
| IS2409B (is) * | 2005-11-11 | 2008-10-15 | Örn Jensson Guðmundur | Búnaður til þess að skera niður |
| DE202010005584U1 (de) * | 2010-06-08 | 2011-11-03 | Amni Maschinenbau Gmbh | Zerkleinerungsmaschine |
| DE102011001925A1 (de) * | 2011-04-08 | 2012-10-11 | Wincor Nixdorf International Gmbh | Vorrichtung zum Kompaktieren von Behältnissen |
| DE102011119615B4 (de) * | 2011-11-29 | 2014-05-22 | Schenck Process Gmbh | Klumpenbrecher und Verfahren zum Brechen von in einem Schüttgutstrom enthaltenen Klumpen |
| EP2679308B1 (de) * | 2012-06-29 | 2014-09-10 | Vujadinovic, Borislav | Pulverisierungsvorrichtung zum Pulverisieren eines Grundmaterials, z.B. Pellets |
| CN103191811B (zh) * | 2013-04-16 | 2016-07-06 | 上海绿环机械有限公司 | 一种粉碎装置及带粉碎装置的垃圾压缩机 |
| DE102014108607A1 (de) * | 2014-06-18 | 2015-12-24 | Betek Gmbh & Co. Kg | Gegenschneide |
| DE202017002006U1 (de) | 2017-04-15 | 2017-04-26 | Bernhard Elbers | Behältnisverdichter |
| DE102018108300B4 (de) | 2017-08-09 | 2024-01-11 | Hermann Schwelling | Lageranordnung sowie damit ausgestattete Bearbeitungs-Vorrichtung |
Family Cites Families (6)
| Publication number | Priority date | Publication date | Assignee | Title |
|---|---|---|---|---|
| DK169378B1 (da) * | 1990-03-21 | 1994-10-17 | Separation A S Niro | Apparat til neddeling af materiale |
| FR2703928B1 (fr) * | 1993-04-16 | 1995-06-23 | Caruelle | Appareil pour fragmenter des objets solides. |
| EP0928222B2 (de) * | 1995-09-12 | 2007-03-21 | M&J Industries A/S | Zerkleinerungsvorrichtung |
| EP1072314A1 (de) * | 1999-07-22 | 2001-01-31 | Sté Moditec | Form des aktiven Teils eines Messers für einen Messerbrecher |
| JP2002045720A (ja) * | 2000-08-02 | 2002-02-12 | Tezuka:Kk | 2軸破砕機 |
| US20030230657A1 (en) * | 2002-06-14 | 2003-12-18 | John Dorscht | Primary reduction apparatus |
-
2002
- 2002-10-10 DE DE10247281A patent/DE10247281B3/de not_active Expired - Fee Related
-
2003
- 2003-10-09 CA CA 2501376 patent/CA2501376C/en not_active Expired - Fee Related
- 2003-10-09 DE DE50306699T patent/DE50306699D1/de not_active Expired - Lifetime
- 2003-10-09 EP EP03775058A patent/EP1575708B1/de not_active Expired - Lifetime
- 2003-10-09 AU AU2003283187A patent/AU2003283187A1/en not_active Abandoned
- 2003-10-09 GB GB0507770A patent/GB2410908A/en not_active Withdrawn
- 2003-10-09 AT AT03775058T patent/ATE355130T1/de active
- 2003-10-09 DK DK03775058T patent/DK1575708T3/da active
- 2003-10-09 JP JP2004543961A patent/JP4213120B2/ja not_active Expired - Fee Related
- 2003-10-09 ES ES03775058T patent/ES2283839T3/es not_active Expired - Lifetime
- 2003-10-09 US US10/530,923 patent/US7237739B2/en not_active Expired - Fee Related
- 2003-10-09 WO PCT/DE2003/003375 patent/WO2004035215A1/de not_active Ceased
-
2005
- 2005-04-28 NO NO20052079A patent/NO330393B1/no not_active IP Right Cessation
Cited By (2)
| Publication number | Priority date | Publication date | Assignee | Title |
|---|---|---|---|---|
| DE102008052490A1 (de) | 2008-10-21 | 2010-04-22 | Metso Lindemann Gmbh | Anordnung zur axialen Abstützung einer Welle einer Arbeitsmaschine |
| EP2180200A1 (de) | 2008-10-21 | 2010-04-28 | Metso Lindemann GmbH | Anordnung zur axialen Abstützung einer Welle einer Arbeitsmaschine |
Also Published As
| Publication number | Publication date |
|---|---|
| CA2501376C (en) | 2008-08-05 |
| AU2003283187A1 (en) | 2004-05-04 |
| US7237739B2 (en) | 2007-07-03 |
| ES2283839T3 (es) | 2007-11-01 |
| WO2004035215A1 (de) | 2004-04-29 |
| DE10247281B3 (de) | 2004-03-04 |
| JP2006507920A (ja) | 2006-03-09 |
| NO330393B1 (no) | 2011-04-04 |
| GB2410908A (en) | 2005-08-17 |
| DE50306699D1 (de) | 2007-04-12 |
| US20060065769A1 (en) | 2006-03-30 |
| GB0507770D0 (en) | 2005-05-25 |
| NO20052079L (no) | 2005-04-28 |
| ATE355130T1 (de) | 2006-03-15 |
| EP1575708A1 (de) | 2005-09-21 |
| CA2501376A1 (en) | 2004-04-29 |
| DK1575708T3 (da) | 2007-06-25 |
| JP4213120B2 (ja) | 2009-01-21 |
Similar Documents
| Publication | Publication Date | Title |
|---|---|---|
| DE69608918T3 (de) | Zerkleinerungsvorrichtung | |
| EP1731223B1 (de) | Zerkleinerungsvorrichtung | |
| EP1575708B1 (de) | Zerkleinerungsmaschine für material beliebiger art, z. b. abfall oder holz | |
| EP2666542A1 (de) | Zerkleinerer mit schnell wechselbarer Messerwelle | |
| DE102019108306A1 (de) | Schneidmühle zum schneidenden Zerkleinern von Proben | |
| DE8807794U1 (de) | Häcksel- und Schnitzelmaschine | |
| DE3221431C2 (de) | ||
| EP1497032B1 (de) | Zerkleinerungsvorrichtung | |
| EP2374544B1 (de) | Vorrichtung zum Zerkleinern von kompostierbarem Material | |
| EP0124138B1 (de) | Verfahren und Vorrichtung zur Zerkleinerung von Pflanzengut | |
| DE2502665A1 (de) | Abfallzerkleinerungsvorrichtung | |
| EP2255882A1 (de) | Zerkleinerungsmaschine und Werkzeug zum Einsatz in einer Zerkleinerungsmaschine | |
| DE102015005859B4 (de) | Scheibenhacker zum Zerkleinern von stückigem Aufgabegut, insbesondere von Holz | |
| EP2394743A1 (de) | Zerkleinerungsmaschine | |
| DE7818838U1 (de) | Maschine zum zerkleinern von abfallstoffen | |
| DE102012204330B3 (de) | Zerkleinerungswerkzeug, Zerkleinerungswalze und Zerkleinerungsvorrichtung | |
| WO2018050809A1 (de) | Hackrotor für eine zerkleinerungsvorrichtung, insbesondere einen hacker | |
| DE4328687A1 (de) | Nach dem Rotationsscheren-Prinzip arbeitender Shredder | |
| DE10048886C2 (de) | Vorrichtung zum Zerkleinern von Aufgabegut mit einem um eine Drehachse rotierenden Zerkleinerungssystem | |
| DE4444977A1 (de) | Zerkleinerungswerk, insbesondere für Hächsler zum Zerkleinern von Garten-/oder holzigem Abfall | |
| AT406354B (de) | Zerkleinerungsvorrichtung | |
| DE2827544A1 (de) | Zerkleinerungsanlage | |
| DE4240444C2 (de) | Rotorschere zum Zerkleinern von insbesondere sperrigen Abfällen | |
| DE9415955U1 (de) | Zerkleinerungsvorrichtung | |
| DE102011015749A1 (de) | Rotor für eine Zerkleinerungsmaschine und Zerkleinerungseinheit mit einem solchen |
Legal Events
| Date | Code | Title | Description |
|---|---|---|---|
| PUAI | Public reference made under article 153(3) epc to a published international application that has entered the european phase |
Free format text: ORIGINAL CODE: 0009012 |
|
| 17P | Request for examination filed |
Effective date: 20050510 |
|
| AK | Designated contracting states |
Kind code of ref document: A1 Designated state(s): AT BE BG CH CY CZ DE DK EE ES FI FR GB GR HU IE IT LI LU MC NL PT RO SE SI SK TR |
|
| AX | Request for extension of the european patent |
Extension state: AL LT LV MK |
|
| GRAP | Despatch of communication of intention to grant a patent |
Free format text: ORIGINAL CODE: EPIDOSNIGR1 |
|
| DAX | Request for extension of the european patent (deleted) | ||
| GRAS | Grant fee paid |
Free format text: ORIGINAL CODE: EPIDOSNIGR3 |
|
| RIN1 | Information on inventor provided before grant (corrected) |
Inventor name: KOCK, BERNHARD |
|
| GRAA | (expected) grant |
Free format text: ORIGINAL CODE: 0009210 |
|
| AK | Designated contracting states |
Kind code of ref document: B1 Designated state(s): AT BE BG CH CY CZ DE DK EE ES FI FR GB GR HU IE IT LI LU MC NL PT RO SE SI SK TR |
|
| PG25 | Lapsed in a contracting state [announced via postgrant information from national office to epo] |
Ref country code: SI Free format text: LAPSE BECAUSE OF FAILURE TO SUBMIT A TRANSLATION OF THE DESCRIPTION OR TO PAY THE FEE WITHIN THE PRESCRIBED TIME-LIMIT Effective date: 20070228 Ref country code: IE Free format text: LAPSE BECAUSE OF FAILURE TO SUBMIT A TRANSLATION OF THE DESCRIPTION OR TO PAY THE FEE WITHIN THE PRESCRIBED TIME-LIMIT Effective date: 20070228 |
|
| REG | Reference to a national code |
Ref country code: GB Ref legal event code: FG4D Free format text: NOT ENGLISH |
|
| REG | Reference to a national code |
Ref country code: CH Ref legal event code: EP |
|
| REF | Corresponds to: |
Ref document number: 50306699 Country of ref document: DE Date of ref document: 20070412 Kind code of ref document: P |
|
| REG | Reference to a national code |
Ref country code: IE Ref legal event code: FG4D Free format text: LANGUAGE OF EP DOCUMENT: GERMAN |
|
| REG | Reference to a national code |
Ref country code: SE Ref legal event code: TRGR |
|
| REG | Reference to a national code |
Ref country code: CH Ref legal event code: NV Representative=s name: HANS RUDOLF GACHNANG PATENTANWALT |
|
| PG25 | Lapsed in a contracting state [announced via postgrant information from national office to epo] |
Ref country code: BG Free format text: LAPSE BECAUSE OF EXPIRATION OF PROTECTION Effective date: 20070529 |
|
| REG | Reference to a national code |
Ref country code: DK Ref legal event code: T3 |
|
| PG25 | Lapsed in a contracting state [announced via postgrant information from national office to epo] |
Ref country code: PT Free format text: LAPSE BECAUSE OF FAILURE TO SUBMIT A TRANSLATION OF THE DESCRIPTION OR TO PAY THE FEE WITHIN THE PRESCRIBED TIME-LIMIT Effective date: 20070730 |
|
| ET | Fr: translation filed | ||
| GBV | Gb: ep patent (uk) treated as always having been void in accordance with gb section 77(7)/1977 [no translation filed] |
Effective date: 20070228 |
|
| REG | Reference to a national code |
Ref country code: IE Ref legal event code: FD4D |
|
| REG | Reference to a national code |
Ref country code: ES Ref legal event code: FG2A Ref document number: 2283839 Country of ref document: ES Kind code of ref document: T3 |
|
| PG25 | Lapsed in a contracting state [announced via postgrant information from national office to epo] |
Ref country code: GB Free format text: LAPSE BECAUSE OF FAILURE TO SUBMIT A TRANSLATION OF THE DESCRIPTION OR TO PAY THE FEE WITHIN THE PRESCRIBED TIME-LIMIT Effective date: 20070228 Ref country code: SK Free format text: LAPSE BECAUSE OF FAILURE TO SUBMIT A TRANSLATION OF THE DESCRIPTION OR TO PAY THE FEE WITHIN THE PRESCRIBED TIME-LIMIT Effective date: 20070228 |
|
| PG25 | Lapsed in a contracting state [announced via postgrant information from national office to epo] |
Ref country code: RO Free format text: LAPSE BECAUSE OF FAILURE TO SUBMIT A TRANSLATION OF THE DESCRIPTION OR TO PAY THE FEE WITHIN THE PRESCRIBED TIME-LIMIT Effective date: 20070228 Ref country code: CZ Free format text: LAPSE BECAUSE OF FAILURE TO SUBMIT A TRANSLATION OF THE DESCRIPTION OR TO PAY THE FEE WITHIN THE PRESCRIBED TIME-LIMIT Effective date: 20070228 |
|
| PLBE | No opposition filed within time limit |
Free format text: ORIGINAL CODE: 0009261 |
|
| STAA | Information on the status of an ep patent application or granted ep patent |
Free format text: STATUS: NO OPPOSITION FILED WITHIN TIME LIMIT |
|
| 26N | No opposition filed |
Effective date: 20071129 |
|
| PG25 | Lapsed in a contracting state [announced via postgrant information from national office to epo] |
Ref country code: GR Free format text: LAPSE BECAUSE OF FAILURE TO SUBMIT A TRANSLATION OF THE DESCRIPTION OR TO PAY THE FEE WITHIN THE PRESCRIBED TIME-LIMIT Effective date: 20070529 |
|
| PG25 | Lapsed in a contracting state [announced via postgrant information from national office to epo] |
Ref country code: MC Free format text: LAPSE BECAUSE OF NON-PAYMENT OF DUE FEES Effective date: 20071031 |
|
| PG25 | Lapsed in a contracting state [announced via postgrant information from national office to epo] |
Ref country code: EE Free format text: LAPSE BECAUSE OF FAILURE TO SUBMIT A TRANSLATION OF THE DESCRIPTION OR TO PAY THE FEE WITHIN THE PRESCRIBED TIME-LIMIT Effective date: 20070228 |
|
| PG25 | Lapsed in a contracting state [announced via postgrant information from national office to epo] |
Ref country code: CY Free format text: LAPSE BECAUSE OF FAILURE TO SUBMIT A TRANSLATION OF THE DESCRIPTION OR TO PAY THE FEE WITHIN THE PRESCRIBED TIME-LIMIT Effective date: 20070228 |
|
| PG25 | Lapsed in a contracting state [announced via postgrant information from national office to epo] |
Ref country code: HU Free format text: LAPSE BECAUSE OF FAILURE TO SUBMIT A TRANSLATION OF THE DESCRIPTION OR TO PAY THE FEE WITHIN THE PRESCRIBED TIME-LIMIT Effective date: 20070901 Ref country code: TR Free format text: LAPSE BECAUSE OF FAILURE TO SUBMIT A TRANSLATION OF THE DESCRIPTION OR TO PAY THE FEE WITHIN THE PRESCRIBED TIME-LIMIT Effective date: 20070228 |
|
| PGFP | Annual fee paid to national office [announced via postgrant information from national office to epo] |
Ref country code: LU Payment date: 20121024 Year of fee payment: 10 |
|
| PGFP | Annual fee paid to national office [announced via postgrant information from national office to epo] |
Ref country code: DK Payment date: 20121025 Year of fee payment: 10 |
|
| PGFP | Annual fee paid to national office [announced via postgrant information from national office to epo] |
Ref country code: FR Payment date: 20121113 Year of fee payment: 10 Ref country code: FI Payment date: 20121022 Year of fee payment: 10 Ref country code: DE Payment date: 20121013 Year of fee payment: 10 Ref country code: CH Payment date: 20121024 Year of fee payment: 10 Ref country code: BE Payment date: 20121022 Year of fee payment: 10 |
|
| PGFP | Annual fee paid to national office [announced via postgrant information from national office to epo] |
Ref country code: SE Payment date: 20121024 Year of fee payment: 10 Ref country code: ES Payment date: 20121023 Year of fee payment: 10 Ref country code: IT Payment date: 20121025 Year of fee payment: 10 |
|
| PGFP | Annual fee paid to national office [announced via postgrant information from national office to epo] |
Ref country code: NL Payment date: 20121018 Year of fee payment: 10 Ref country code: AT Payment date: 20121022 Year of fee payment: 10 |
|
| REG | Reference to a national code |
Ref country code: CH Ref legal event code: NV Representative=s name: GACHNANG AG PATENTANWAELTE, CH |
|
| BERE | Be: lapsed |
Owner name: METSO LINDEMANN G.M.B.H. Effective date: 20131031 |
|
| REG | Reference to a national code |
Ref country code: NL Ref legal event code: V1 Effective date: 20140501 |
|
| REG | Reference to a national code |
Ref country code: DK Ref legal event code: EBP Effective date: 20131031 |
|
| REG | Reference to a national code |
Ref country code: CH Ref legal event code: PL |
|
| REG | Reference to a national code |
Ref country code: SE Ref legal event code: EUG |
|
| REG | Reference to a national code |
Ref country code: AT Ref legal event code: MM01 Ref document number: 355130 Country of ref document: AT Kind code of ref document: T Effective date: 20131009 |
|
| PG25 | Lapsed in a contracting state [announced via postgrant information from national office to epo] |
Ref country code: CH Free format text: LAPSE BECAUSE OF NON-PAYMENT OF DUE FEES Effective date: 20131031 Ref country code: LI Free format text: LAPSE BECAUSE OF NON-PAYMENT OF DUE FEES Effective date: 20131031 |
|
| REG | Reference to a national code |
Ref country code: FR Ref legal event code: ST Effective date: 20140630 |
|
| REG | Reference to a national code |
Ref country code: DE Ref legal event code: R119 Ref document number: 50306699 Country of ref document: DE Effective date: 20140501 |
|
| PG25 | Lapsed in a contracting state [announced via postgrant information from national office to epo] |
Ref country code: SE Free format text: LAPSE BECAUSE OF NON-PAYMENT OF DUE FEES Effective date: 20131010 Ref country code: FI Free format text: LAPSE BECAUSE OF NON-PAYMENT OF DUE FEES Effective date: 20131009 Ref country code: DE Free format text: LAPSE BECAUSE OF NON-PAYMENT OF DUE FEES Effective date: 20140501 Ref country code: FR Free format text: LAPSE BECAUSE OF NON-PAYMENT OF DUE FEES Effective date: 20131031 Ref country code: NL Free format text: LAPSE BECAUSE OF NON-PAYMENT OF DUE FEES Effective date: 20140501 Ref country code: AT Free format text: LAPSE BECAUSE OF NON-PAYMENT OF DUE FEES Effective date: 20131009 Ref country code: IT Free format text: LAPSE BECAUSE OF NON-PAYMENT OF DUE FEES Effective date: 20131009 |
|
| PG25 | Lapsed in a contracting state [announced via postgrant information from national office to epo] |
Ref country code: BE Free format text: LAPSE BECAUSE OF NON-PAYMENT OF DUE FEES Effective date: 20131031 |
|
| PG25 | Lapsed in a contracting state [announced via postgrant information from national office to epo] |
Ref country code: DK Free format text: LAPSE BECAUSE OF NON-PAYMENT OF DUE FEES Effective date: 20131031 |
|
| REG | Reference to a national code |
Ref country code: ES Ref legal event code: FD2A Effective date: 20150709 |
|
| PG25 | Lapsed in a contracting state [announced via postgrant information from national office to epo] |
Ref country code: LU Free format text: LAPSE BECAUSE OF NON-PAYMENT OF DUE FEES Effective date: 20131009 Ref country code: ES Free format text: LAPSE BECAUSE OF NON-PAYMENT OF DUE FEES Effective date: 20131010 |