EP1535860A1 - Valve à basculement à débits indépendants - Google Patents

Valve à basculement à débits indépendants Download PDF

Info

Publication number
EP1535860A1
EP1535860A1 EP04292631A EP04292631A EP1535860A1 EP 1535860 A1 EP1535860 A1 EP 1535860A1 EP 04292631 A EP04292631 A EP 04292631A EP 04292631 A EP04292631 A EP 04292631A EP 1535860 A1 EP1535860 A1 EP 1535860A1
Authority
EP
European Patent Office
Prior art keywords
valve
opening
product
passage
closing
Prior art date
Legal status (The legal status is an assumption and is not a legal conclusion. Google has not performed a legal analysis and makes no representation as to the accuracy of the status listed.)
Granted
Application number
EP04292631A
Other languages
German (de)
English (en)
Other versions
EP1535860B1 (fr
Inventor
Jean-Pierre Yquel
Current Assignee (The listed assignees may be inaccurate. Google has not performed a legal analysis and makes no representation or warranty as to the accuracy of the list.)
LOreal SA
Original Assignee
LOreal SA
Priority date (The priority date is an assumption and is not a legal conclusion. Google has not performed a legal analysis and makes no representation as to the accuracy of the date listed.)
Filing date
Publication date
Application filed by LOreal SA filed Critical LOreal SA
Publication of EP1535860A1 publication Critical patent/EP1535860A1/fr
Application granted granted Critical
Publication of EP1535860B1 publication Critical patent/EP1535860B1/fr
Anticipated expiration legal-status Critical
Expired - Lifetime legal-status Critical Current

Links

Images

Classifications

    • BPERFORMING OPERATIONS; TRANSPORTING
    • B65CONVEYING; PACKING; STORING; HANDLING THIN OR FILAMENTARY MATERIAL
    • B65DCONTAINERS FOR STORAGE OR TRANSPORT OF ARTICLES OR MATERIALS, e.g. BAGS, BARRELS, BOTTLES, BOXES, CANS, CARTONS, CRATES, DRUMS, JARS, TANKS, HOPPERS, FORWARDING CONTAINERS; ACCESSORIES, CLOSURES, OR FITTINGS THEREFOR; PACKAGING ELEMENTS; PACKAGES
    • B65D83/00Containers or packages with special means for dispensing contents
    • B65D83/14Containers for dispensing liquid or semi-liquid contents by internal gaseous pressure, i.e. aerosol containers comprising propellant
    • B65D83/44Valves specially adapted for the discharge of contents; Regulating devices
    • B65D83/48Lift valves, e.g. operated by push action
    • BPERFORMING OPERATIONS; TRANSPORTING
    • B65CONVEYING; PACKING; STORING; HANDLING THIN OR FILAMENTARY MATERIAL
    • B65DCONTAINERS FOR STORAGE OR TRANSPORT OF ARTICLES OR MATERIALS, e.g. BAGS, BARRELS, BOTTLES, BOXES, CANS, CARTONS, CRATES, DRUMS, JARS, TANKS, HOPPERS, FORWARDING CONTAINERS; ACCESSORIES, CLOSURES, OR FITTINGS THEREFOR; PACKAGING ELEMENTS; PACKAGES
    • B65D83/00Containers or packages with special means for dispensing contents
    • B65D83/14Containers for dispensing liquid or semi-liquid contents by internal gaseous pressure, i.e. aerosol containers comprising propellant
    • B65D83/44Valves specially adapted for the discharge of contents; Regulating devices
    • B65D83/46Tilt valves

Definitions

  • the present invention relates to a valve for equipping a container pressurized.
  • Such valves are used in particular in the field of cosmetics for the distribution of hair products (lacquers, styling sprays, etc.) of personal hygiene products, make-up products, or protection products against the harmful effects of the sun.
  • valves in a most common configuration, include a Valve body having an opening / closing member thereon in the form of a valve stem, a portion of which emerges outside the body of valve.
  • the valve stem is able to slide sealingly in engagement with a sealing element in the form of an annular seal.
  • the other end of the channel opens radially via an inlet orifice, or several inlet ports arranged in the same axial position.
  • the (or) orifice (s) of entry is (are) opposite of the sealing element.
  • valve sink In response to an actuation command, the valve sinks axially, and the inlet port (s) of the valve stem is (are) placed in communication with the pressurized product inside the valve body.
  • the product is then conveyed via the valve stem and the passage passing through the actuating member, towards the dispensing orifice. In the case of a multi-port valve of entry, these are put in communication simultaneously with the body of valve.
  • valves besides actuating in response to axial movement, can be actuated in response to a force exerted laterally on the rod of valve. Such valves are called "tilting".
  • the opening / closing element does not emerge not outside the valve body. In this case, a portion of the organ actuation is engaged inside the valve body, and control opening or closing the valve.
  • valve in a different configuration is described for example in the FR 2 725 182.
  • the valve body is crossed by a purge port for distribution, together with the product, or separate, from propellant.
  • the actuation control causes a movement of the opening / closing element, and its passage from one position closing at an open position in which the product is dispensed according to a specific and unique flow rate.
  • the first type of valve it is the section of the (or) orifice (s) of entry, and / or their number, which partly determines the output rate.
  • a valve of type of that described in document FR 2 725 182, mentioned above it is the depth and / or the width, and / or the number of grooves formed on the internal surface of the valve body.
  • Variable flow valves are described in US-A-3,292,827, US-A-3,195,569 and US-B-6,296,155. Because of their configuration, both positions at different rates are very close to each other. In particular, two flows are obtained by transmitting to the valve stem a force according to a same direction, more precisely by more or less the valve stem.
  • US 4,139,128 discloses a variable flow tilt valve.
  • This valve comprises a valve stem traversed by a channel opening, on the one hand, on an outlet of the product and, on the other hand, on a passage product inlet delimited between two parts of the valve stem.
  • this passage is put into communication with the pressurized product inside the valve body.
  • the two parts of the valve stem that delineate the passage the product inlet are separated from each other so as to enlarge the passage. Again, the two flows obtained are not clearly distinct.
  • valve adapted to distribute a product at different rates, depending on the characteristics spraying, clearly distinguishing movements actuator for dispensing the product at different rates.
  • valve of the type tilting for dispensing a product contained in a container said valve having a longitudinal axis and comprising a aperture / closing element fit, in response to a first command actuation, to move from a closed position to a first opening position in which the product under pressure is distributed according to a first rate via a first pass, and which, in response to a second actuation control different from the first, is able to move from the closed position to a second open position in which the product is distributed at a second rate, different from the first, via a second passage, the second passage being closed in the first open position and the first passage being closed in the second open position.
  • the open / close element can move parallel to the X axis (y X-axis) in response to the first actuation command and deviate from the X axis in response to the second actuation command. So, the movement to move the opening / closing element to distribute the product at a first rate is relatively different from that for distribute the product at the second rate. Indeed, when the element opening / closing is directly accessible by the user, the first flow is achieved by toggling the open / close element while the second flow is obtained by pushing it down which allows the user to easily differentiate the two flows.
  • both flow rates can also be easily identified by identifying for example two distinct surfaces on the push button, a first surface for transmitting to the element opening / closing a movement laterally to the X axis, and a second surface for transmitting to the opening / closing element a movement parallel to the X axis, including along the X axis.
  • the product in a first open position, is distributed in a relatively low flow rate, in the form of a lacquer. In a second open position, the product is distributed at a higher rate, in the form of a spray.
  • the same device can then be used for both modes of distribution.
  • the opening / closing element can be traversed by an axial channel opening, on the one hand, outside the valve body via an outlet port and being able to open, on the other hand, inside the valve body via the first and second passages.
  • the axial channel may comprise a necking situated axially between the first passage and the second pass.
  • the opening / closing element may consist of a valve stem, one of which portion emerges outside a valve body.
  • the opening / closing element may alternatively be a rod integral with a member external to the valve, in particular of an actuating member of the valve.
  • the valve may comprise a sealing element, in particular in the form of a annular seal disposed within said valve body, the first passage opening laterally opposite said sealing member, in the position of closing.
  • the first passage can lead to the inside of the valve body in the first open position.
  • the valve may further comprise a nacelle provided with a suitable lip, in closing position, coming to rest on the sealing element, the nacelle further comprising a bottom bearing on one end of the element opening / closing in the closed position so as to close the second passage.
  • the nacelle may include a pin able to be housed in the second passage to seal it tightly, especially in the closed position of the valve.
  • the bottom of the nacelle may include a flat seal suitable for coming in sealing support on the end of the opening / closing element.
  • the end of the opening / closing element is able to move away from the bottom of the nacelle when the opening / closing element is in the second position opening so as to clear the second passage.
  • a device for packaging and distribution of a product in particular cosmetics, device comprising a pressurized container containing the product to be dispensed, and equipped with a valve according to the present invention.
  • the product can be pressurized with compressed or liquefied gas.
  • the gas propellant may be in contact with or separated from the product by a piston or a flexible pouch inside which the product is arranged.
  • the device may further comprise a member for actuating the valve and dispensing the product under pressure via at least one orifice of distribution located for example inside a nozzle, in particular a nozzle to swirling effect.
  • the actuating member may be integral with the opening / closing element.
  • the actuating member may comprise two separate bearing surfaces for the actuation of the valve, a first bearing surface allowing axially moving the opening / closing element and a second surface support for laterally displacing the opening / closing element.
  • the first bearing surface may for example be a surface passing through a plane substantially perpendicular to the X axis.
  • the second bearing surface may for example pass in a plane parallel to the X axis or a surface passing in a plane substantially perpendicular to the X axis formed remotely of the X axis and which does not contain it.
  • the device according to the invention can advantageously be used for packaging and dispensing under pressure of a cosmetic product, in particular a hair product, a personal care product, a product make-up, skin care product or protective product against the harmful effects of the sun.
  • the device 100 is intended to distribute a composition, in particular capillary, through a dispensing orifice 31.
  • the head of distribution 30 comprises two bearing surfaces 32 and 33 for the actuation of the valve.
  • a removable cap 40 covers the head of distribution 30.
  • valve 10 is mounted on a cup 60, which is dug on a rolled edge of a container Aluminum 20. The latter is only partially represented.
  • the valve 10, of longitudinal axis X, comprises a cylindrical valve body 11 one end of which ends with an axial chimney 12 on which is forcibly mounted a dip tube 50.
  • valve body 11 is closed by the valve holder cup 60, sealing at the closure being provided by an annular seal 13.
  • a annular ring 11a formed inside the valve body 11 in the vicinity cup 60 is sealingly applied against the inner surface of the seal 13, thus ensuring both a holding in position thereof and the seal required.
  • Inside the annular seal 13 slides axially a valve stem 14 of which a portion 14a emerges outside the valve body.
  • the valve stem 14 is traversed axially by a channel 18, one end of which opens out of the valve body via an axial orifice 18a.
  • the channel 18, in the vicinity of its other end opens radially via an orifice 18b which, in the closed position of the valve, is in sealing engagement against the inner edge of the annular seal 13.
  • the channel 18 opens, at the second end 14b of the valve stem through a frustoconical shaped orifice 18c formed in the X axis.
  • the lower end 14b of the valve stem 14 is located inside the body valve 11.
  • a nacelle 15 having a bottom 15b surrounded by a lip 15a device is mounted inside the valve body, the bottom 15b being provided, in its middle, a frustoconical pin 15c.
  • the nacelle 15 is formed in the extension of a rod portion 15d.
  • a spring 16 surrounds the 15d rod portion and, in the absence of stress exerted on the valve stem, constrains the free end of the annular lip 15a in sealing engagement against the seal 13.
  • An annular space 17 is then delimited by the nacelle 15, the lip 15a and the annular seal 13.
  • the pin 15c comes to fit in the hole 18c of the valve stem so as to close it waterproof.
  • the rod 14 is also pushed outwardly of the valve body by the spring, via the nacelle which bears on the end lower 14b of the stem. However, the rod 14 is held integral with the body of valve due to the presence of an annular ring 19 formed on the rod to near its lower end 14b, the rod 19 abutting against the annular seal 13.
  • the pin 15c makes it easier to position the rod 14 with respect to the nacelle 15.
  • a dispensing head 30 in the form of a pushbutton.
  • the dispensing head 30 is crossed by a passage 34 one end of which is in communication with the channel 18 of the valve stem.
  • the other end of the passage 34 opens, via a dispensing orifice 31, delimited, for example, by a vortex channel nozzle (which is not shown in detail).
  • the dispensing head has a first bearing surface 32 formed to distance from the X axis and which makes it possible to actuate the valve by tilting.
  • the head of distribution comprises a second bearing surface 33, passing through the X axis of the valve stem and preferably perpendicular to this axis X, which allows to actuate the valve by axial depression.
  • the valve stem By exerting a force F 1 on the surface 33 of the dispensing head (FIG. 4), the valve stem penetrates axially by a distance such that the orifice 18b is no longer opposite the annular seal 13. against, the bottom 15b of the nacelle remains in abutment on the lower end 14b of the valve stem so that the orifice 18c remains closed sealingly by the pin 15c.
  • the annular lip 15a moves away from the seal 13 over its entire circumference so that the product rushes into the channel 18 of the valve stem through the orifice 18b. It is then dispensed via the dispensing orifice 31, for example in the form of a spray, at a first rate determined by the section of the orifice 18b which is smaller than that of the channel 18.
  • the product contained in the valve body then engulfs in the channel 18 of the valve stem 14 only through the orifice 18c. It goes up in the passage 34 of the dispensing head 30 and leaves in the form of a cloud of fine droplets, via the orifice 31 at a second flow rate, different from the first and which is determined by the section of the second orifice 18c.
  • the second flow rate is determined by this section, regardless of the angle of inclination of the 14.
  • the channel 18 has a narrowing 118 located axially between the first passage 18b and the second passage 18c whereas the orifice 18c may have a relatively large section, as shown in Figure 6.
  • the second flow is then determined by the shrink 118. We then have a better control of the second flow.
  • the spring 16 causes the raising of the nacelle 15 and the valve stem 14 in its position of the figure 3. The distribution of the product stops.
  • the bottom 15b of the nacelle can be devoid of picot.
  • the bottom is then only constituted by a surface plane which bears on the end 14b of the rod to close the orifice 18c.
  • provision can be made for the bottom of the nacelle is provided with a flat gasket 15e, for example a gasket elastomer which improves the sealing of the orifice 18c.
  • valve that has just been described may also make it possible to distribute the produced in a third rate. Indeed, it suffices to push the valve stem 14 and switch it once it is depressed so as to clear the two orifices 18b and 18c. The product can then be distributed in a third rate, different from the first two.
  • the element opening / closing is a rod 214 secured to the pushbutton 230.
  • the rod 214 can be made separately and welded push button, for example.

Landscapes

  • Chemical & Material Sciences (AREA)
  • Dispersion Chemistry (AREA)
  • Engineering & Computer Science (AREA)
  • Mechanical Engineering (AREA)
  • Containers And Packaging Bodies Having A Special Means To Remove Contents (AREA)
  • Nozzles (AREA)
  • Check Valves (AREA)
  • Sliding Valves (AREA)

Abstract

La présente invention concerne une valve (10 ; 210) de type à basculement pour la distribution d'un produit contenu dans un récipient pressurisé (20 ; 220), ladite valve comportant un axe longitudinal X et comprenant un élément d'ouverture/fermeture (14 ; 214) apte, en réponse à une première commande d'actionnement, à se déplacer d'une position de fermeture à une première position d'ouverture dans laquelle le produit sous pression est distribué selon un premier débit via un premier passage (18b ; 218b), et qui, en réponse à une seconde commande d'actionnement différente de la première, est apte à se déplacer de la position de fermeture à une seconde position d'ouverture dans laquelle le produit est distribué selon un second débit, différent du premier, via un second passage (18c ; 218c), le second passage (18c ; 218c) étant obturé dans la première position d'ouverture et le premier passage (18b ; 218b) étant obturé dans la seconde position d'ouverture.

Description

La présente invention concerne une valve destinée à équiper un récipient pressurisé. De telles valves sont utilisées notamment dans le domaine de la cosmétique pour la distribution de produits capillaires (laques, sprays coiffants, etc...) de produits d'hygiène corporelle, de produits de maquillage, ou de produits de protection contre les effets néfastes du soleil.
De telles valves, selon une configuration la plus répandue, comprennent un corps de valve à l'intérieur duquel est monté un élément d'ouverture/fermeture sous forme d'une tige de valve dont une partie émerge à l'extérieur du corps de valve. La tige de valve est apte à coulisser de manière étanche en engagement avec un élément d'étanchéité sous forme d'un joint annulaire.
La tige de valve est traversée par un canal axial dont une extrémité débouche axialement à l'extérieur du corps de valve, et est destinée à être mise en communication avec un passage traversant un organe d'actionnement de la valve comportant au moins un orifice de sortie.
L'autre extrémité du canal débouche radialement via un orifice d'entrée, ou plusieurs orifices d'entrée disposés selon la même position axiale.
En position fermée de la valve, le (ou les) orifice(s) d'entrée est (sont) en regard de l'élément d'étanchéité.
En réponse à une commande d'actionnement, la valve s'enfonce axialement, et le (ou les) orifice(s) d'entrée de la tige de valve est (sont) mis en communication avec le produit pressurisé à l'intérieur du corps de valve. Le produit est alors acheminé, via la tige de valve et le passage traversant l'organe d'actionnement, vers l'orifice de distribution. Dans le cas d'une valve à plusieurs orifices d'entrée, ceux-ci sont mis en communication simultanément avec le corps de valve.
Lorsque cesse la commande d'actionnement, un ressort contenu à l'intérieur du corps de valve rappelle la tige de valve en position de fermeture. La distribution du produit s'interrompt.
Certaines valves, outre l'actionnement en réponse à un mouvement axial, peuvent être actionnées en réponse à une force exercée latéralement à la tige de valve. De telles valves sont dites "à basculement".
Pour certaines valves, dites "femelles" l'élément d'ouverture/fermeture n'émerge pas à l'extérieur du corps de valve. Dans ce cas, une portion de l'organe d'actionnement est engagée à l'intérieur du corps de valve, et commande l'ouverture ou la fermeture de la valve.
Une valve selon une configuration différente est décrite par exemple dans le brevet FR 2 725 182. Dans ce document, le corps de valve est traversé par un orifice de purge pour la distribution, conjointe avec le produit, ou séparée, de gaz propulseur.
Pour toutes ces valves connues, la commande d'actionnement provoque un mouvement de l'élément d'ouverture/fermeture, et son passage d'une position de fermeture à une position d'ouverture dans laquelle le produit est distribué selon un débit déterminé et unique.
Pour le premier type de valve, c'est la section du (ou des) orifice(s) d'entrée, et/ou leur nombre, qui détermine en partie le débit de sortie. Pour une valve du type de celle décrite dans le document FR 2 725 182, mentionné ci-avant, c'est la profondeur et/ou la largeur, et/ou le nombre de rainures ménagées sur la surface interne du corps de valve.
Ainsi, dans le domaine des produits de coiffage, pour une laque, on utilise un récipient équipé d'une valve permettant un premier débit. Quand il s'agit de pulvériser le produit sous forme d'un spray, on utilise un autre récipient équipé d'une autre valve permettant un second débit, supérieur au premier.
Deux dispositifs distincts sont donc requis lorsque l'utilisatrice veut pouvoir choisir entre deux modes de pulvérisation différents d'un même produit.
Des valves à débit variable sont décrites dans les documents US-A-3,292,827, US-A-3,195,569 et US-B-6,296,155. De par leur configuration, les deux positions à débits différents sont très proches l'une de l'autre. En particulier, les deux débits sont obtenus en transmettant à la tige de valve une force selon une même direction, plus précisément par enfoncement plus ou moins important de la tige de valve.
Le document US 4,139,128 décrit une valve à basculement à débit variable. Cette valve comporte une tige de valve traversée par un canal débouchant, d'une part, sur un orifice de sortie du produit et, d'autre part, sur un passage d'entrée du produit délimité entre deux parties de la tige de valve. Lorsque l'on enfonce axialement la tige de valve, ce passage est mis en communication avec le produit pressurisé à l'intérieur du corps de valve. Lorsque l'on bascule la tige de valve, les deux parties de la tige de valve qui délimitent le passage d'entrée du produit s'écartent l'une de l'autre de manière à agrandir le passage. Là encore, les deux débits obtenus ne sont pas clairement distincts.
Aussi, est-ce un des objets de l'invention que de réaliser une valve apte à distribuer un produit selon des débits différents, en fonction des caractéristiques de pulvérisation recherchées, en distinguant clairement les mouvements d'actionnement permettant de distribuer le produit selon les débits différents.
C'est un autre objet de l'invention que de réaliser un dispositif qui soit simple et économique à réaliser.
D'autres objets encore apparaítront dans la description détaillée qui suit.
Selon l'invention, ces objets peuvent être atteints en réalisant une valve de type à basculement pour la distribution d'un produit contenu dans un récipient pressurisé, ladite valve comportant un axe longitudinal et comprenant un élément d'ouverture/fermeture apte, en réponse à une première commande d'actionnement, à se déplacer d'une position de fermeture à une première position d'ouverture dans laquelle le produit sous pression est distribué selon un premier débit via un premier passage, et qui, en réponse à une seconde commande d'actionnement différente de la première, est apte à se déplacer de la position de fermeture à une seconde position d'ouverture dans laquelle le produit est distribué selon un second débit, différent du premier, via un second passage, le second passage étant obturé dans la première position d'ouverture et le premier passage étant obturé dans la seconde position d'ouverture.
Ainsi, en utilisant deux passages distincts dont l'un seulement est ouvert à la fois, on peut parfaitement différencier les deux débits.
L'élément d'ouverture/fermeture peut se déplacer parallèlement à l'axe X (y compris selon l'axe X) en réponse à la première commande d'actionnement et s'écarter de l'axe X en réponse à la seconde commande d'actionnement. Ainsi, le mouvement pour déplacer l'élément d'ouverture/fermeture afin de distribuer le produit selon un premier débit est relativement différent de celui pour distribuer le produit selon le second débit. En effet, lorsque l'élément d'ouverture/fermeture est directement accessible par l'utilisateur, le premier débit est obtenu en basculant l'élément d'ouverture/fermeture alors que le second débit est obtenu en l'enfonçant ce qui permet à l'utilisateur de facilement différencier les deux débits. Dans le cas où l'élément d'ouverture/fermeture est surmonté d'un organe d'actionnement, par exemple d'un bouton-poussoir, les deux débits peuvent également être facilement identifiés en identifiant par exemple deux surfaces distinctes sur le bouton-poussoir, une première surface permettant de transmettre à l'élément d'ouverture/fermeture un mouvement latéralement à l'axe X, et une seconde surface permettant de transmettre à l'élément d'ouverture/fermeture un mouvement parallèlement à l'axe X, y compris selon l'axe X.
Ainsi, dans le cas par exemple d'un produit de coiffage, dans une première position d'ouverture, le produit est distribué selon un relativement faible débit, sous forme d'une laque. Dans une seconde position d'ouverture, le produit est distribué selon un débit plus important, sous forme d'un spray. Le même dispositif peut alors être utilisé pour les deux modes de distribution.
L'élément d'ouverture/fermeture peut être traversé par un canal axial débouchant, d'une part, à l'extérieur du corps de valve via un orifice de sortie et étant apte à déboucher, d'autre part, à l'intérieur du corps de valve via le premier et le second passages.
Le canal axial peut comporter un rétreint situé axialement entre le premier passage et le second passage.
L'élément d'ouverture/fermeture peut être constitué d'une tige de valve dont une portion émerge à l'extérieur d'un corps de valve.
L'élément d'ouverture/fermeture peut alternativement être une tige solidaire d'un organe extérieur à la valve, notamment d'un organe d'actionnement de la valve.
La valve peut comporter un élément d'étanchéité, notamment sous forme d'un joint annulaire, disposé à l'intérieur dudit corps de valve, le premier passage débouchant latéralement en regard dudit élément d'étanchéité, en position de fermeture.
Le premier passage peut déboucher à l'intérieur du corps de valve dans la première position d'ouverture.
La valve peut en outre comporter une nacelle munie d'une lèvre apte, en position de fermeture, à venir en appui sur l'élément d'étanchéité, la nacelle comportant en outre un fond venant en appui sur une extrémité de l'élément d'ouverture/fermeture en position de fermeture de manière à obturer le second passage.
La nacelle peut comporter un picot apte à se loger dans le second passage pour l'obturer de manière étanche, notamment en position de fermeture de la valve.
Alternativement, le fond de la nacelle peut comporter un joint plat apte à venir en appui étanche sur l'extrémité de l'élément d'ouverture/fermeture.
L'extrémité de l'élément d'ouverture/fermeture est apte à s'écarter du fond de la nacelle lorsque l'élément d'ouverture/fermeture est dans la seconde position d'ouverture de manière à dégager le second passage.
Selon un autre aspect de l'invention, on réalise un dispositif pour le conditionnement et la distribution d'un produit, notamment cosmétique, le dispositif comprenant un récipient pressurisé contenant le produit à distribuer, et équipé d'une valve selon la présente invention.
Le produit peut être pressurisé au moyen d'un gaz comprimé ou liquéfié. Le gaz propulseur peut être au contact du produit ou séparé de ce dernier par un piston ou une poche souple à l'intérieur de laquelle est disposé le produit.
Le dispositif peut en outre comprendre un organe pour l'actionnement de la valve et la distribution du produit sous pression via au moins un orifice de distribution situé par exemple à l'intérieur d'une buse, notamment une buse à effet tourbillonnaire.
L'organe d'actionnement peut être solidaire de l'élément d'ouverture/fermeture.
L'organe d'actionnement peut comporter deux surfaces d'appui distinctes pour l'actionnement de la valve, une première surface d'appui permettant de déplacer axialement l'élément d'ouverture/fermeture et une seconde surface d'appui permettant de déplacer latéralement l'élément d'ouverture/fermeture. La première surface d'appui peut par exemple être une surface passant dans un plan sensiblement perpendiculaire à l'axe X. La seconde surface d'appui peut par exemple passer dans un plan parallèle à l'axe X ou encore une surface passant dans un plan sensiblement perpendiculaire à l'axe X formée à distance de l'axe X et qui ne le contient pas.
Le dispositif selon l'invention peut être utilisé avantageusement pour le conditionnement et la distribution sous pression d'un produit cosmétique, notamment d'un produit capillaire, d'un produit d'hygiène corporelle, d'un produit de maquillage, d'un produit de soin de la peau ou d'un produit de protection contre les effets néfastes du soleil.
L'invention consiste, mis à part les dispositions exposées ci-dessus, en un certain nombre d'autres dispositions qui seront explicitées ci-après, à propos d'exemples de réalisation non limitatifs, décrits en référence aux figures annexées, parmi lesquelles :
  • la figure 1 illustre une vue d'ensemble d'un premier mode de réalisation d'un dispositif de conditionnement et de distribution selon l'invention ;
  • la figure 2 représente une vue éclatée du dispositif illustré à la figure 1 ;
  • les figures 3 à 5 représentent en coupe partielle le dispositif illustré à la figure 1 dans différentes positions ;
  • les figures 6 et 7 représentent des variantes de réalisation du premier mode de réalisation du dispositif selon l'invention ; et
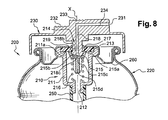
  • la figure 8 représente un second mode de réalisation d'un dispositif de conditionnement et de distribution selon l'invention.
Le dispositif 100 représenté dans son ensemble à la figure 1 comprend un récipient cylindrique 20, notamment en aluminium ou en fer blanc, surmonté d'une tête 30 pour l'actionnement d'une valve 10, qui sera décrite en détail ultérieurement. Le dispositif 100 est prévu pour distribuer une composition, notamment capillaire, au travers d'un orifice de distribution 31. La tête de distribution 30 comprend deux surfaces d'appui 32 et 33 destinées à l'actionnement de la valve. Un capuchon amovible 40 recouvre la tête de distribution 30.
Comme on le voit plus en détail sur les figures 3 à 5, la valve 10 est montée sur une coupelle 60, laquelle est dudgeonnée sur un bord roulé d'un récipient en aluminium 20. Ce dernier n'est représenté que partiellement.
La valve 10, d'axe longitudinal X, comprend un corps de valve cylindrique 11 dont une extrémité se termine par une cheminée axiale 12 sur laquelle est monté à force un tube plongeur 50.
L'autre extrémité du corps de valve 11 est fermée par la coupelle porte-valve 60, l'étanchéité à la fermeture étant assurée par un joint annulaire 13. Une couronne annulaire 11a formée à l'intérieur du corps de valve 11 au voisinage de la coupelle 60 s'applique de manière étanche contre la surface intérieure du joint 13, assurant ainsi à la fois un maintien en position de celui-ci et l'étanchéité requise. A l'intérieur du joint annulaire 13 coulisse axialement une tige de valve 14 dont une portion 14a émerge à l'extérieur du corps de valve.
La tige de valve 14 est traversée axialement par un canal 18 dont une extrémité débouche à l'extérieur du corps de valve via un orifice axial 18a. Le canal 18, au voisinage de son autre extrémité débouche radialement via un orifice 18b qui, en position de fermeture de la valve, est en engagement étanche contre le bord interne du joint annulaire 13. Enfin, le canal 18 débouche, à la seconde extrémité 14b de la tige de valve par un orifice 18c de forme tronconique, formé dans l'axe X.
L'extrémité inférieure 14b de la tige de valve 14 est située à l'intérieur du corps de valve 11. Une nacelle 15 comportant un fond 15b entouré d'une lèvre périphérique 15a est montée à l'intérieur du corps de valve, le fond 15b étant pourvu, en son milieu, d'un picot 15c tronconique. La nacelle 15 est formée dans le prolongement d'une portion de tige 15d. Un ressort 16 entoure la portion de tige 15d et, en l'absence de contrainte s'exerçant sur la tige de valve, contraint l'extrémité libre de la lèvre annulaire 15a en appui étanche contre le joint 13. Un espace annulaire 17 est alors délimité par la nacelle 15, la lèvre 15a et le joint annulaire 13. En outre, dans cette position, le picot 15c vient se loger dans l'orifice 18c de la tige de valve de manière à l'obturer de manière étanche. La tige 14 est également poussée vers l'extérieur du corps de valve par le ressort, par l'intermédiaire de la nacelle qui est en appui sur l'extrémité inférieure 14b de la tige. Toutefois, la tige 14 est maintenue solidaire du corps de valve grâce à la présence d'un jonc annulaire 19 formée sur la tige à proximité de son extrémité inférieure 14b, le jonc 19 venant en butée contre le joint annulaire 13.
Outre le fait d'améliorer l'étanchéité de la fermeture de l'orifice 18c, le picot 15c permet de faciliter le positionnement de la tige 14 par rapport à la nacelle 15.
Comme il apparaít sur les figures 3 et 5, sur la partie émergente 14a de la tige de valve 14, est montée à force une tête de distribution 30 sous forme d'un bouton poussoir. La tête de distribution 30 est traversée par un passage 34 dont une extrémité est en communication avec le canal 18 de la tige de valve. L'autre extrémité du passage 34 débouche, via un orifice de distribution 31, délimité, par exemple, par une buse à canaux tourbillonnaires (qui n'est pas représentée de façon détaillée).
La tête de distribution comporte une première surface d'appui 32 formée à distance de l'axe X et qui permet d'actionner la valve par basculement. La tête de distribution comporte une deuxième surface d'appui 33, passant par l'axe X de la tige de valve et de préférence perpendiculaire à cet axe X, qui permet d'actionner la valve par enfoncement axial.
En exerçant une force F1 sur la surface 33 de la tête de distribution (figure 4), la tige de valve s'enfonce axialement d'une distance telle que l'orifice 18b n'est plus en regard du joint annulaire 13. Par contre, le fond 15b de la nacelle reste en appui sur l'extrémité inférieure 14b de la tige de valve de sorte que l'orifice 18c reste obturé de manière étanche par le picot 15c. La lèvre annulaire 15a s'écarte du joint 13, sur toute sa circonférence si bien que le produit s'engouffre dans le canal 18 de la tige de valve par l'orifice 18b. Il est alors distribué, via l'orifice de distribution 31, par exemple sous forme d'un spray, selon un premier débit déterminé par la section de l'orifice 18b qui est inférieure à celle du canal 18.
En exerçant une force F2 sur la surface 32 de la tête de distribution (figure 5), une force latérale est transmise à la tige de valve 14 de sorte qu'elle est basculée relativement à l'axe X. La lèvre annulaire 15a s'écarte du joint 13, suivant une certaine étendue angulaire, ce qui permet d'établir une communication entre l'intérieur du corps de valve et l'espace annulaire 17. En outre, l'extrémité inférieure 14b de la tige s'écarte du fond 15b de la nacelle et le picot 15c dégage l'orifice 18c de sorte que la communication est établie entre l'intérieur du corps de valve et l'intérieur de la tige 14, via l'orifice 18c. Dans cette position de la tige de valve, l'orifice 18b reste en regard du joint 13. Le produit contenu dans le corps de valve s'engouffre alors dans le canal 18 de la tige de valve 14 uniquement par l'orifice 18c. Il remonte dans le passage 34 de la tête de distribution 30 et sort sous forme d'un nuage de fines gouttelettes, via l'orifice 31 selon un second débit, différent du premier et qui est déterminé par la section du second orifice 18c.
En outre, en choisissant un orifice 18c de section relativement faible, le second débit est déterminé par cette section, quel que soit l'angle d'inclinaison de la tige 14. Alternativement, le canal 18 comporte un rétreint 118 situé axialement entre le premier passage 18b et le second passage 18c alors que l'orifice 18c peut avoir une section relativement importante, comme on l'a représenté à la figure 6. Le second débit est alors déterminé par le rétreint 118. On a alors une meilleure maítrise du second débit.
Depuis l'une ou l'autre des positions d'actionnement de la figure 4 ou 5, en relâchant la pression sur la tête de distribution, le ressort 16 provoque la remontée de la nacelle 15 et de la tige de valve 14 dans sa position de la figure 3. La distribution du produit s'interrompt.
Selon une variante non représentée, le fond 15b de la nacelle peut être dépourvu de picot. Le fond est alors uniquement constitué par une surface plane qui vient en appui sur l'extrémité 14b de la tige pour obturer l'orifice 18c.
Selon une variante représentée en partie à la figure 7, on peut prévoir que le fond de la nacelle est pourvu d'un joint plat 15e, par exemple un joint en élastomère qui améliore la fermeture étanche de l'orifice 18c.
La valve qui vient d'être décrite peut également permettre de distribuer le produit selon un troisième débit. En effet, il suffit d'enfoncer la tige de valve 14 et de la basculer une fois qu'elle est enfoncée de manière à dégager les deux orifices 18b et 18c. Le produit peut alors être distribué selon un troisième débit, différent des deux premiers.
Selon un deuxième mode de réalisation illustré à la figure 8, l'élément d'ouverture/fermeture est une tige 214 solidaire du bouton-poussoir 230. Elle peut être obtenue de moulage à partir d'une seule pièce avec le bouton poussoir. Alternativement, la tige 214 peut être réalisée séparément et soudée au bouton poussoir, par exemple.
Dans la description détaillée qui précède, il a été fait référence à des modes de réalisation préférés de l'invention. Il est évident que des variantes peuvent y être apportées sans s'écarter de l'invention telle que revendiquée ci-après.

Claims (17)

  1. Valve (10 ; 210) de type à basculement pour la distribution d'un produit contenu dans un récipient pressurisé (20 ; 220), ladite valve comportant un axe longitudinal X et comprenant un élément d'ouverture/fermeture (14 ; 214) apte, en réponse à une première commande d'actionnement, à se déplacer d'une position de fermeture à une première position d'ouverture dans laquelle le produit sous pression est distribué selon un premier débit via un premier passage (18b ; 218b), et qui, en réponse à une seconde commande d'actionnement différente de la première, est apte à se déplacer de la position de fermeture à une seconde position d'ouverture dans laquelle le produit est distribué selon un second débit, différent du premier, via un second passage (18c ; 218c), le second passage (18c ; 218c) étant obturé dans la première position d'ouverture et le premier passage (18b ; 218b) étant obturé dans la seconde position d'ouverture.
  2. Valve selon la revendication 1, caractérisée en ce que l'élément d'ouverture/fermeture (14 ; 214) se déplace parallèlement à l'axe X en réponse à la première commande d'actionnement et s'écarte de l'axe X en réponse à la seconde commande d'actionnement.
  3. Valve selon l'une quelconque des revendications 1 ou 2, caractérisée en ce que l'élément d'ouverture/fermeture (14 ; 214) est traversé par un canal axial (18) débouchant, d'une part, à l'extérieur du corps de valve via un orifice de sortie (18a) et étant apte à déboucher, d'autre part, à l'intérieur du corps de valve via le premier et le second passages (18b) et (18c).
  4. Valve selon la revendication précédente, caractérisée en ce que le canal axial (18) comporte un rétreint (118) situé axialement entre le premier passage (18b) et le second passage (18c).
  5. Valve selon l'une quelconque des revendications précédentes, caractérisée en ce que l'élément d'ouverture/fermeture (14) est constitué d'une tige de valve dont une portion (14a) émerge à l'extérieur d'un corps de valve (11).
  6. Valve selon l'une quelconque des revendications 1 à 4, caractérisée en ce que l'élément d'ouverture/fermeture (214) est une tige solidaire d'un organe extérieur à la valve, notamment d'un organe d'actionnement (230) de la valve.
  7. Valve selon l'une quelconque des revendications précédentes, caractérisée en ce qu'elle comporte un élément d'étanchéité (13), notamment sous forme d'un joint annulaire, disposé à l'intérieur dudit corps de valve (11), le premier passage (18b) débouchant latéralement en regard dudit élément d'étanchéité (13), en position de fermeture.
  8. Valve selon la revendication 7, caractérisée en ce que le premier passage (18b) débouche à l'intérieur du corps de valve (11) dans la première position d'ouverture.
  9. Valve selon l'une quelconque des revendications précédentes, caractérisée en ce qu'elle comporte en outre une nacelle (15) munie d'une lèvre (15a) apte, en position de fermeture, à venir en appui sur l'élément d'étanchéité (13), la nacelle (15) comportant en outre un fond (15b) venant en appui sur une extrémité (14b) de l'élément d'ouverture/fermeture en position de fermeture de manière à obturer le second passage (18c).
  10. Valve selon la revendication 9, caractérisée en ce que la nacelle (15) comporte un picot (15c) apte à se loger dans le second passage (18c) pour l'obturer de manière étanche, notamment en position de fermeture.
  11. Valve selon la revendication 9, caractérisée en ce que le fond (15b) de la nacelle (15) comporte un joint plat (15e) apte à venir en appui étanche sur l'extrémité (14b) de l'élément d'ouverture/fermeture (14).
  12. Valve selon l'une quelconque des revendications 9 à 11, caractérisée en ce que l'extrémité (14b) de l'élément d'ouverture/fermeture est apte à s'écarter du fond (15b) de la nacelle lorsque l'élément d'ouverture/fermeture (14) est dans la seconde position d'ouverture de manière à dégager le second passage (18c).
  13. Dispositif (100 ; 200) pour le conditionnement et la distribution d'un produit, notamment cosmétique, le dispositif comprenant un récipient pressurisé (20 ; 220) contenant le produit à distribuer, et équipé d'une valve (10 ; 210) selon l'une quelconque des revendications qui précèdent.
  14. Dispositif selon la revendication 13, caractérisé en ce qu'il comprend en outre un organe pour l'actionnement (30 ; 230) de la valve et la distribution du produit sous pression via au moins un orifice de distribution (31 ; 231) situé par exemple à l'intérieur d'une buse, notamment une buse à effet tourbillonnaire.
  15. Dispositif selon la revendication précédente, caractérisé en ce que l'organe d'actionnement (200) est solidaire de l'élément d'ouverture/fermeture (214).
  16. Dispositif selon l'une quelconque des revendications 14 ou 15, caractérisé en ce que l'organe d'actionnement comporte deux surfaces d'appui distinctes (32, 33 ; 232, 233) pour l'actionnement de la valve, une première surface d'appui (32 ; 232) permettant de déplacer latéralement l'élément d'ouverture/fermeture et une seconde surface d'appui (33 ; 233) permettant de déplacer axialement l'élément d'ouverture/fermeture.
  17. Utilisation d'un dispositif (100 ; 200) selon l'une quelconque des revendications 13 à 16 pour le conditionnement et la distribution sous pression d'un produit cosmétique, notamment d'un produit capillaire, d'un produit d'hygiène corporelle, d'un produit de maquillage, d'un produit de soin de la peau ou d'un produit de protection contre les effets néfastes du soleil.
EP04292631A 2003-11-25 2004-11-05 Valve à basculement à débits indépendants Expired - Lifetime EP1535860B1 (fr)

Applications Claiming Priority (2)

Application Number Priority Date Filing Date Title
FR0350898 2003-11-25
FR0350898A FR2862623B1 (fr) 2003-11-25 2003-11-25 Valve a basculement a debits independants

Publications (2)

Publication Number Publication Date
EP1535860A1 true EP1535860A1 (fr) 2005-06-01
EP1535860B1 EP1535860B1 (fr) 2006-10-25

Family

ID=34451742

Family Applications (1)

Application Number Title Priority Date Filing Date
EP04292631A Expired - Lifetime EP1535860B1 (fr) 2003-11-25 2004-11-05 Valve à basculement à débits indépendants

Country Status (6)

Country Link
EP (1) EP1535860B1 (fr)
JP (1) JP4094003B2 (fr)
AT (1) ATE343532T1 (fr)
DE (1) DE602004002918T2 (fr)
ES (1) ES2274399T3 (fr)
FR (1) FR2862623B1 (fr)

Cited By (3)

* Cited by examiner, † Cited by third party
Publication number Priority date Publication date Assignee Title
US9662285B2 (en) 2014-03-13 2017-05-30 The Procter & Gamble Company Aerosol antiperspirant compositions, products and methods
US10076489B2 (en) 2012-09-14 2018-09-18 The Procter & Gamble Company Aerosol antiperspirant compositions, products and methods
US10076474B2 (en) 2014-03-13 2018-09-18 The Procter & Gamble Company Aerosol antiperspirant compositions, products and methods

Families Citing this family (4)

* Cited by examiner, † Cited by third party
Publication number Priority date Publication date Assignee Title
JP5189411B2 (ja) * 2008-05-30 2013-04-24 株式会社マンダム エアゾール容器用バルブ、該バルブを備えたエアゾール容器、該エアゾール容器に内容物が充填されたエアゾール製品
JP6416515B2 (ja) * 2014-04-03 2018-10-31 株式会社ダイゾー 吐出容器
AU2015390917A1 (en) 2015-04-06 2017-10-12 S.C. Johnson & Son, Inc. Dispensing systems
WO2023080095A1 (fr) * 2021-11-08 2023-05-11 株式会社三谷バルブ Mécanisme d'éjection de contenus et produit aérosol équipé de ce mécanisme pour éjecter des contenus

Citations (4)

* Cited by examiner, † Cited by third party
Publication number Priority date Publication date Assignee Title
US3404863A (en) * 1966-06-24 1968-10-08 Derek B. Green Aerosol valve assembly
US3795350A (en) * 1972-10-16 1974-03-05 Scovill Manufacturing Co Aerosol valve having selectable flow rate
US4139128A (en) * 1976-06-10 1979-02-13 Seaquist Valve Co., A Division Of Pittway Corporation Variable spray valve assembly
DE10121425A1 (de) * 2001-05-02 2002-11-07 Wella Ag Ventil für einen Druckgasbehälter

Patent Citations (4)

* Cited by examiner, † Cited by third party
Publication number Priority date Publication date Assignee Title
US3404863A (en) * 1966-06-24 1968-10-08 Derek B. Green Aerosol valve assembly
US3795350A (en) * 1972-10-16 1974-03-05 Scovill Manufacturing Co Aerosol valve having selectable flow rate
US4139128A (en) * 1976-06-10 1979-02-13 Seaquist Valve Co., A Division Of Pittway Corporation Variable spray valve assembly
DE10121425A1 (de) * 2001-05-02 2002-11-07 Wella Ag Ventil für einen Druckgasbehälter

Cited By (4)

* Cited by examiner, † Cited by third party
Publication number Priority date Publication date Assignee Title
US10076489B2 (en) 2012-09-14 2018-09-18 The Procter & Gamble Company Aerosol antiperspirant compositions, products and methods
US10076490B2 (en) 2012-09-14 2018-09-18 The Procter & Gamble Company Aerosol antiperspirant compositions, products and methods
US9662285B2 (en) 2014-03-13 2017-05-30 The Procter & Gamble Company Aerosol antiperspirant compositions, products and methods
US10076474B2 (en) 2014-03-13 2018-09-18 The Procter & Gamble Company Aerosol antiperspirant compositions, products and methods

Also Published As

Publication number Publication date
JP2005154013A (ja) 2005-06-16
JP4094003B2 (ja) 2008-06-04
FR2862623A1 (fr) 2005-05-27
DE602004002918T2 (de) 2007-04-26
DE602004002918D1 (de) 2006-12-07
ES2274399T3 (es) 2007-05-16
FR2862623B1 (fr) 2006-01-20
ATE343532T1 (de) 2006-11-15
EP1535860B1 (fr) 2006-10-25

Similar Documents

Publication Publication Date Title
CA2368052C (fr) Dispositif pressurise equipe d'une valve a basculement
EP1035038B9 (fr) Ensemble pour le conditionnement et la distribution sous pression d'un produit, notamment cosmétique
EP0734969B1 (fr) Distibuteur aérosol à deux buses de pulvérisation
EP1291293A1 (fr) Valve à débit variable et récipient équipeé d'une telle valve
EP1048590B1 (fr) Dispositif pour l'actionnement d'un organe de distribution, notamment d'une valve, et ensemble équipé du dispositif d'actionnement selon l'invention
EP1205403B1 (fr) Dispositif de conditionnement et de distribution sous pression d'un produit
EP1288142B1 (fr) Dispositif pour le conditionnement et la distribution sous pression d'un produit
EP0245172A1 (fr) Conditionnement pour deux récipients pressurisés
EP0688609B1 (fr) Pompe manuelle à précompression pour la pulvérisation d'un liquide et ensemble de distribution équipé d'une telle pompe
CA2363285A1 (fr) Tete de distribution nettoyable, et distributeur ainsi equipe
EP0939039A1 (fr) Tête de distribution d'un produit et ensemble de distribution sous pression équipé de cette tête
CA2163483C (fr) Pompe manuelle a precompression pour la pulverisation d'un liquide et ensemble de distribution equipe d'une telle pompe
EP1535860B1 (fr) Valve à basculement à débits indépendants
EP1302246B1 (fr) Dispositif de pulvérisation d'au moins un produit sur un support, notamment un support kératinique tel que la peau
FR2925032A1 (fr) Valve pour recipient sous pression de stockage et de distribution de produit et recipient pourvu d'une telle valve
EP1400465B1 (fr) Valve à basculement à débit variable et récipient équipé d'une telle valve
FR2814727A1 (fr) Valve destinee a equiper un dispositif pour la distribution sous pression d'un produit, et dispositif ainsi equipe
EP0863089B1 (fr) Tête de distribution et distributeur équipé d'une telle tête
EP1616632B1 (fr) Pompe permettant de distribuer un produit dans differéntes position et récipient pour celle-lui
FR2808258A1 (fr) Recipient aerosol equipe d'une valve amelioree
FR2835812A1 (fr) Dispositif de distribution protege contre un fonctionnement accidentel
FR2814726A1 (fr) Valve destinee a equiper un dispositif pour la distribution sous pression d'un produit, et dispositif ainsi equipe
FR2876677A1 (fr) Dispositif de distribution d'un produit cosmetique

Legal Events

Date Code Title Description
PUAI Public reference made under article 153(3) epc to a published international application that has entered the european phase

Free format text: ORIGINAL CODE: 0009012

AK Designated contracting states

Kind code of ref document: A1

Designated state(s): AT BE BG CH CY CZ DE DK EE ES FI FR GB GR HU IE IS IT LI LU MC NL PL PT RO SE SI SK TR

AX Request for extension of the european patent

Extension state: AL HR LT LV MK YU

17P Request for examination filed

Effective date: 20051201

AKX Designation fees paid

Designated state(s): AT BE BG CH CY CZ DE DK EE ES FI FR GB GR HU IE IS IT LI LU MC NL PL PT RO SE SI SK TR

GRAP Despatch of communication of intention to grant a patent

Free format text: ORIGINAL CODE: EPIDOSNIGR1

GRAS Grant fee paid

Free format text: ORIGINAL CODE: EPIDOSNIGR3

GRAA (expected) grant

Free format text: ORIGINAL CODE: 0009210

AK Designated contracting states

Kind code of ref document: B1

Designated state(s): AT BE BG CH CY CZ DE DK EE ES FI FR GB GR HU IE IS IT LI LU MC NL PL PT RO SE SI SK TR

PG25 Lapsed in a contracting state [announced via postgrant information from national office to epo]

Ref country code: IT

Free format text: LAPSE BECAUSE OF FAILURE TO SUBMIT A TRANSLATION OF THE DESCRIPTION OR TO PAY THE FEE WITHIN THE PRESCRIBED TIME-LIMIT;WARNING: LAPSES OF ITALIAN PATENTS WITH EFFECTIVE DATE BEFORE 2007 MAY HAVE OCCURRED AT ANY TIME BEFORE 2007. THE CORRECT EFFECTIVE DATE MAY BE DIFFERENT FROM THE ONE RECORDED.

Effective date: 20061025

Ref country code: CZ

Free format text: LAPSE BECAUSE OF FAILURE TO SUBMIT A TRANSLATION OF THE DESCRIPTION OR TO PAY THE FEE WITHIN THE PRESCRIBED TIME-LIMIT

Effective date: 20061025

Ref country code: PL

Free format text: LAPSE BECAUSE OF FAILURE TO SUBMIT A TRANSLATION OF THE DESCRIPTION OR TO PAY THE FEE WITHIN THE PRESCRIBED TIME-LIMIT

Effective date: 20061025

Ref country code: AT

Free format text: LAPSE BECAUSE OF FAILURE TO SUBMIT A TRANSLATION OF THE DESCRIPTION OR TO PAY THE FEE WITHIN THE PRESCRIBED TIME-LIMIT

Effective date: 20061025

Ref country code: FI

Free format text: LAPSE BECAUSE OF FAILURE TO SUBMIT A TRANSLATION OF THE DESCRIPTION OR TO PAY THE FEE WITHIN THE PRESCRIBED TIME-LIMIT

Effective date: 20061025

Ref country code: NL

Free format text: LAPSE BECAUSE OF FAILURE TO SUBMIT A TRANSLATION OF THE DESCRIPTION OR TO PAY THE FEE WITHIN THE PRESCRIBED TIME-LIMIT

Effective date: 20061025

Ref country code: SI

Free format text: LAPSE BECAUSE OF FAILURE TO SUBMIT A TRANSLATION OF THE DESCRIPTION OR TO PAY THE FEE WITHIN THE PRESCRIBED TIME-LIMIT

Effective date: 20061025

Ref country code: SK

Free format text: LAPSE BECAUSE OF FAILURE TO SUBMIT A TRANSLATION OF THE DESCRIPTION OR TO PAY THE FEE WITHIN THE PRESCRIBED TIME-LIMIT

Effective date: 20061025

Ref country code: RO

Free format text: LAPSE BECAUSE OF FAILURE TO SUBMIT A TRANSLATION OF THE DESCRIPTION OR TO PAY THE FEE WITHIN THE PRESCRIBED TIME-LIMIT

Effective date: 20061025

Ref country code: IE

Free format text: LAPSE BECAUSE OF FAILURE TO SUBMIT A TRANSLATION OF THE DESCRIPTION OR TO PAY THE FEE WITHIN THE PRESCRIBED TIME-LIMIT

Effective date: 20061025

REG Reference to a national code

Ref country code: GB

Ref legal event code: FG4D

Free format text: NOT ENGLISH

REG Reference to a national code

Ref country code: CH

Ref legal event code: EP

REG Reference to a national code

Ref country code: IE

Ref legal event code: FG4D

Free format text: LANGUAGE OF EP DOCUMENT: FRENCH

PG25 Lapsed in a contracting state [announced via postgrant information from national office to epo]

Ref country code: MC

Free format text: LAPSE BECAUSE OF NON-PAYMENT OF DUE FEES

Effective date: 20061130

Ref country code: BE

Free format text: LAPSE BECAUSE OF NON-PAYMENT OF DUE FEES

Effective date: 20061130

REF Corresponds to:

Ref document number: 602004002918

Country of ref document: DE

Date of ref document: 20061207

Kind code of ref document: P

PG25 Lapsed in a contracting state [announced via postgrant information from national office to epo]

Ref country code: SE

Free format text: LAPSE BECAUSE OF FAILURE TO SUBMIT A TRANSLATION OF THE DESCRIPTION OR TO PAY THE FEE WITHIN THE PRESCRIBED TIME-LIMIT

Effective date: 20070125

Ref country code: DK

Free format text: LAPSE BECAUSE OF FAILURE TO SUBMIT A TRANSLATION OF THE DESCRIPTION OR TO PAY THE FEE WITHIN THE PRESCRIBED TIME-LIMIT

Effective date: 20070125

Ref country code: BG

Free format text: LAPSE BECAUSE OF FAILURE TO SUBMIT A TRANSLATION OF THE DESCRIPTION OR TO PAY THE FEE WITHIN THE PRESCRIBED TIME-LIMIT

Effective date: 20070125

GBT Gb: translation of ep patent filed (gb section 77(6)(a)/1977)

Effective date: 20070108

PG25 Lapsed in a contracting state [announced via postgrant information from national office to epo]

Ref country code: IS

Free format text: LAPSE BECAUSE OF FAILURE TO SUBMIT A TRANSLATION OF THE DESCRIPTION OR TO PAY THE FEE WITHIN THE PRESCRIBED TIME-LIMIT

Effective date: 20070225

PG25 Lapsed in a contracting state [announced via postgrant information from national office to epo]

Ref country code: PT

Free format text: LAPSE BECAUSE OF FAILURE TO SUBMIT A TRANSLATION OF THE DESCRIPTION OR TO PAY THE FEE WITHIN THE PRESCRIBED TIME-LIMIT

Effective date: 20070326

NLV1 Nl: lapsed or annulled due to failure to fulfill the requirements of art. 29p and 29m of the patents act
REG Reference to a national code

Ref country code: ES

Ref legal event code: FG2A

Ref document number: 2274399

Country of ref document: ES

Kind code of ref document: T3

REG Reference to a national code

Ref country code: IE

Ref legal event code: FD4D

PLBE No opposition filed within time limit

Free format text: ORIGINAL CODE: 0009261

STAA Information on the status of an ep patent application or granted ep patent

Free format text: STATUS: NO OPPOSITION FILED WITHIN TIME LIMIT

26N No opposition filed

Effective date: 20070726

BERE Be: lapsed

Owner name: L'OREAL

Effective date: 20061130

PG25 Lapsed in a contracting state [announced via postgrant information from national office to epo]

Ref country code: GR

Free format text: LAPSE BECAUSE OF FAILURE TO SUBMIT A TRANSLATION OF THE DESCRIPTION OR TO PAY THE FEE WITHIN THE PRESCRIBED TIME-LIMIT

Effective date: 20070126

PG25 Lapsed in a contracting state [announced via postgrant information from national office to epo]

Ref country code: EE

Free format text: LAPSE BECAUSE OF FAILURE TO SUBMIT A TRANSLATION OF THE DESCRIPTION OR TO PAY THE FEE WITHIN THE PRESCRIBED TIME-LIMIT

Effective date: 20061025

PG25 Lapsed in a contracting state [announced via postgrant information from national office to epo]

Ref country code: HU

Free format text: LAPSE BECAUSE OF FAILURE TO SUBMIT A TRANSLATION OF THE DESCRIPTION OR TO PAY THE FEE WITHIN THE PRESCRIBED TIME-LIMIT

Effective date: 20070426

Ref country code: LU

Free format text: LAPSE BECAUSE OF NON-PAYMENT OF DUE FEES

Effective date: 20061105

Ref country code: TR

Free format text: LAPSE BECAUSE OF FAILURE TO SUBMIT A TRANSLATION OF THE DESCRIPTION OR TO PAY THE FEE WITHIN THE PRESCRIBED TIME-LIMIT

Effective date: 20061025

PG25 Lapsed in a contracting state [announced via postgrant information from national office to epo]

Ref country code: CY

Free format text: LAPSE BECAUSE OF FAILURE TO SUBMIT A TRANSLATION OF THE DESCRIPTION OR TO PAY THE FEE WITHIN THE PRESCRIBED TIME-LIMIT

Effective date: 20061025

REG Reference to a national code

Ref country code: CH

Ref legal event code: PL

PG25 Lapsed in a contracting state [announced via postgrant information from national office to epo]

Ref country code: CH

Free format text: LAPSE BECAUSE OF NON-PAYMENT OF DUE FEES

Effective date: 20081130

Ref country code: LI

Free format text: LAPSE BECAUSE OF NON-PAYMENT OF DUE FEES

Effective date: 20081130

PGFP Annual fee paid to national office [announced via postgrant information from national office to epo]

Ref country code: FR

Payment date: 20131108

Year of fee payment: 10

Ref country code: GB

Payment date: 20131030

Year of fee payment: 10

Ref country code: DE

Payment date: 20131030

Year of fee payment: 10

PGFP Annual fee paid to national office [announced via postgrant information from national office to epo]

Ref country code: ES

Payment date: 20131011

Year of fee payment: 10

Ref country code: IT

Payment date: 20131119

Year of fee payment: 10

REG Reference to a national code

Ref country code: DE

Ref legal event code: R119

Ref document number: 602004002918

Country of ref document: DE

GBPC Gb: european patent ceased through non-payment of renewal fee

Effective date: 20141105

REG Reference to a national code

Ref country code: FR

Ref legal event code: ST

Effective date: 20150731

PG25 Lapsed in a contracting state [announced via postgrant information from national office to epo]

Ref country code: GB

Free format text: LAPSE BECAUSE OF NON-PAYMENT OF DUE FEES

Effective date: 20141105

Ref country code: DE

Free format text: LAPSE BECAUSE OF NON-PAYMENT OF DUE FEES

Effective date: 20150602

PG25 Lapsed in a contracting state [announced via postgrant information from national office to epo]

Ref country code: FR

Free format text: LAPSE BECAUSE OF NON-PAYMENT OF DUE FEES

Effective date: 20141201

REG Reference to a national code

Ref country code: ES

Ref legal event code: FD2A

Effective date: 20151230

PG25 Lapsed in a contracting state [announced via postgrant information from national office to epo]

Ref country code: IT

Free format text: LAPSE BECAUSE OF NON-PAYMENT OF DUE FEES

Effective date: 20141105

PG25 Lapsed in a contracting state [announced via postgrant information from national office to epo]

Ref country code: ES

Free format text: LAPSE BECAUSE OF NON-PAYMENT OF DUE FEES

Effective date: 20141106