EP1530266A2 - Steckeraufnahmeverbinder - Google Patents

Steckeraufnahmeverbinder Download PDF

Info

Publication number
EP1530266A2
EP1530266A2 EP04256876A EP04256876A EP1530266A2 EP 1530266 A2 EP1530266 A2 EP 1530266A2 EP 04256876 A EP04256876 A EP 04256876A EP 04256876 A EP04256876 A EP 04256876A EP 1530266 A2 EP1530266 A2 EP 1530266A2
Authority
EP
European Patent Office
Prior art keywords
socket
header
contact
connector
depth direction
Prior art date
Legal status (The legal status is an assumption and is not a legal conclusion. Google has not performed a legal analysis and makes no representation as to the accuracy of the status listed.)
Granted
Application number
EP04256876A
Other languages
English (en)
French (fr)
Other versions
EP1530266A3 (de
EP1530266B1 (de
Inventor
Ryo Osaka Engineering Ctr. Moriwake
Hideaki Osaka Engineering Ctr. Horiuchi
Shohei Osaka Engineering Ctr. Takatsuki
Current Assignee (The listed assignees may be inaccurate. Google has not performed a legal analysis and makes no representation or warranty as to the accuracy of the list.)
JST Mfg Co Ltd
Original Assignee
JST Mfg Co Ltd
Priority date (The priority date is an assumption and is not a legal conclusion. Google has not performed a legal analysis and makes no representation as to the accuracy of the date listed.)
Filing date
Publication date
Application filed by JST Mfg Co Ltd filed Critical JST Mfg Co Ltd
Publication of EP1530266A2 publication Critical patent/EP1530266A2/de
Publication of EP1530266A3 publication Critical patent/EP1530266A3/de
Application granted granted Critical
Publication of EP1530266B1 publication Critical patent/EP1530266B1/de
Anticipated expiration legal-status Critical
Expired - Lifetime legal-status Critical Current

Links

Images

Classifications

    • HELECTRICITY
    • H01ELECTRIC ELEMENTS
    • H01RELECTRICALLY-CONDUCTIVE CONNECTIONS; STRUCTURAL ASSOCIATIONS OF A PLURALITY OF MUTUALLY-INSULATED ELECTRICAL CONNECTING ELEMENTS; COUPLING DEVICES; CURRENT COLLECTORS
    • H01R13/00Details of coupling devices of the kinds covered by groups H01R12/70 or H01R24/00 - H01R33/00
    • H01R13/58Means for relieving strain on wire connection, e.g. cord grip, for avoiding loosening of connections between wires and terminals within a coupling device terminating a cable
    • HELECTRICITY
    • H01ELECTRIC ELEMENTS
    • H01RELECTRICALLY-CONDUCTIVE CONNECTIONS; STRUCTURAL ASSOCIATIONS OF A PLURALITY OF MUTUALLY-INSULATED ELECTRICAL CONNECTING ELEMENTS; COUPLING DEVICES; CURRENT COLLECTORS
    • H01R13/00Details of coupling devices of the kinds covered by groups H01R12/70 or H01R24/00 - H01R33/00
    • H01R13/02Contact members
    • H01R13/10Sockets for co-operation with pins or blades
    • H01R13/11Resilient sockets
    • H01R13/112Resilient sockets forked sockets having two legs
    • HELECTRICITY
    • H01ELECTRIC ELEMENTS
    • H01RELECTRICALLY-CONDUCTIVE CONNECTIONS; STRUCTURAL ASSOCIATIONS OF A PLURALITY OF MUTUALLY-INSULATED ELECTRICAL CONNECTING ELEMENTS; COUPLING DEVICES; CURRENT COLLECTORS
    • H01R13/00Details of coupling devices of the kinds covered by groups H01R12/70 or H01R24/00 - H01R33/00
    • H01R13/58Means for relieving strain on wire connection, e.g. cord grip, for avoiding loosening of connections between wires and terminals within a coupling device terminating a cable
    • H01R13/582Means for relieving strain on wire connection, e.g. cord grip, for avoiding loosening of connections between wires and terminals within a coupling device terminating a cable the cable being clamped between assembled parts of the housing
    • HELECTRICITY
    • H01ELECTRIC ELEMENTS
    • H01RELECTRICALLY-CONDUCTIVE CONNECTIONS; STRUCTURAL ASSOCIATIONS OF A PLURALITY OF MUTUALLY-INSULATED ELECTRICAL CONNECTING ELEMENTS; COUPLING DEVICES; CURRENT COLLECTORS
    • H01R4/00Electrically-conductive connections between two or more conductive members in direct contact, i.e. touching one another; Means for effecting or maintaining such contact; Electrically-conductive connections having two or more spaced connecting locations for conductors and using contact members penetrating insulation
    • H01R4/24Connections using contact members penetrating or cutting insulation or cable strands
    • H01R4/2416Connections using contact members penetrating or cutting insulation or cable strands the contact members having insulation-cutting edges, e.g. of tuning fork type
    • H01R4/2445Connections using contact members penetrating or cutting insulation or cable strands the contact members having insulation-cutting edges, e.g. of tuning fork type the contact members having additional means acting on the insulation or the wire, e.g. additional insulation penetrating means, strain relief means or wire cutting knives
    • H01R4/245Connections using contact members penetrating or cutting insulation or cable strands the contact members having insulation-cutting edges, e.g. of tuning fork type the contact members having additional means acting on the insulation or the wire, e.g. additional insulation penetrating means, strain relief means or wire cutting knives the additional means having two or more slotted flat portions
    • H01R4/2454Connections using contact members penetrating or cutting insulation or cable strands the contact members having insulation-cutting edges, e.g. of tuning fork type the contact members having additional means acting on the insulation or the wire, e.g. additional insulation penetrating means, strain relief means or wire cutting knives the additional means having two or more slotted flat portions forming a U-shape with slotted branches

Definitions

  • the present invention relates to socket connectors for connection to a header connector mounted on a surface of an object for mounting such as printed circuit board.
  • Japanese Patent Publication 3262732 discloses an insulation displacement connector that comprises contacts to which wires are connected by insulation displacement connection and an insulative housing wherein contact receiving chambers that isolate and receive contacts individually are separated from each other individually by partition walls, the top part and the rear end part of the contact receiving chamber are open for inserting the wire into it, and strain reliefs or fitting-on parts for the wire are provided on the partition wall parts on both sides of the rear end of the opening.
  • the height of the socket connector from the printed circuit board will get higher, preventing reduction in the height of the connection structure between the header connector and the socket connector.
  • Embodiments of the present invention can realize a reduction in the height of the connection structure between a header connector and a socket connector by enclosing the connecting part of each socket contact and a wire by means of the socket housing and an object for mounting such as a printed circuit board and providing each socket contact with an insulation barrel so as to increase the strength against wire pulling-about and in turn to eliminate the need of providing strain reliefs.
  • Embodiments of the present invention can also provide other wire holding means so as to increase the strength against wire pulling-out as high as possible.
  • a socket connector comprising, when a depth direction, a width direction and a height direction all being perpendicular to each other are assumed, a socket housing that is provided with a wire insertion groove, which is concaved in a bottom face being one end face in the height direction toward a top face being the other end and extended up to an end face on the front side in the depth direction, and a receiving concaved part, which is located on the rear side in the depth direction of the wire insertion groove, is interconnected with the wire insertion groove and opened to the bottom face and into which a header contact of a counterpart header connector being mounted on a surface of an object for mounting is to be inserted, and a socket contact that is inserted into the wire insertion groove and provided with a contacting part being located at the rear end in the depth direction and set in the receiving concaved part to contact the header contact, an insulation barrel being located at the front end in the depth direction, being a plate piece rising substantially in the height direction and being to grip an insulation of
  • the header contact When this socket connector is connected to the header connector that is provided on a surface of an object for mounting, the header contact will be inserted into the receiving concaved part of the socket connector, and the header contact will contact the socket contact. In that case, as the socket contact is inserted into the wire insertion groove, the strength of coupling between the socket contact and the socket housing is high.
  • the strength against pulling-about of the wire is enhanced by enclosing the connecting part between the socket contact and the wire by means of the socket housing and an object for mounting and also by providing the socket contact with an insulation barrel, hence there is no need of providing strain reliefs, and in turn, reduction in the height of the connection structure between the header connector and the socket connector can be realized.
  • the strength against pulling-out of the wire can be enhanced by the insulation barrel.
  • the reliability of the connection between the slot and the conductor of the wire can be enhanced.
  • the socket housing may be provided, at the opening of the wire insertion groove on the bottom face side, with protruding parts that protrude inward in the width direction to grip together with the bottom face of the wire insertion groove, with a contact pressure, the socket contact that is inserted into from the front in the depth direction.
  • the socket contact may be provided with fitting-on pieces that rise substantially in the height direction from both ends in the width direction, and faces constituting the wire insertion groove of the socket housing may be provided with catching parts that catch the fitting-on pieces so as to prevent the socket contact from shifting frontward in the depth direction.
  • the catching parts receive the fitting-on parts to prevent the socket contact from shifting frontward in the depth direction, the strength against pulling-out of the wire can be enhanced.
  • the top face of the socket housing can be made free of any hole, reduction in the thickness of the socket housing can be made.
  • the socket connector of the present invention may be so arranged that the header connector comprises a header housing that is provided with a receiving chamber that penetrates the header housing from a top face being one end face in the height direction to a bottom face being the other end face and extends up to an end face at the front in the depth direction, and a header contact of a blade type that is provided in the header housing so that a contacting part being formed into a plate facing in the width direction protrudes from the rear in the depth direction into the receiving chamber, a protruding part that fits into the receiving chamber is formed at the rear end in the depth direction of the socket housing, the protruding part is provided with a receiving concaved part in such a way that the receiving concaved part opens to the bottom face and an end face at the rear in the depth direction, and the contacting part of the socket contact is so arranged that the contacting part contacts an end face in the thickness direction of the header contact.
  • the protruding part of the socket housing will fit into the receiving chamber of the header housing, the bottom face of the socket housing will contact the object for mounting that is exposed to the receiving chamber of the header housing, and the wire insertion groove will be blocked by the object for mounting.
  • Fig. 1 through Fig. 7 show a socket connector 100 being an embodiment according to the present invention.
  • a depth direction, a width direction and a height direction all being perpendicular to each other are assumed, and these directions are used for description.
  • the left-right direction of the diagram is the depth direction
  • the left of the diagram is the rear in the depth direction
  • the right is the front in the depth direction.
  • a direction perpendicular to the paper plane of the diagram is the height direction
  • the top-bottom direction of the diagram is the width direction.
  • the socket connector 100 comprises a socket housing 110 that is made of an insulative material, and socket contacts 120 that are made of a conductive material and provided in the socket housing 110.
  • a counterpart header connector 200 comprises a header housing 210 that is made of an insulative material and header contacts 220 that are made of a conductive material and provided in the header housing 210.
  • the socket connector 100 and the header connector 200 are of a two-pole type, and are provided with two contacts 120, two contacts 220, respectively, the contacts being arranged side by side; however, the number of poles of the socket connector and the header connector according to the present invention is not limited by it.
  • the header connector 200 is mounted on a surface of an object for mounting P.
  • the object for mounting P is an object that has a plane surface facing in the height direction and also has conductors being to be connected with the header contacts 220.
  • This object for mounting P includes, for example, printed circuit board, flat flexible cable such as FFC (flexible flat cable) and FPC (flexible printed circuit), and casing of electronic equipment.
  • the printed circuit board means a board wherein a conductor pattern that is needed for connecting components is formed by printing according to the circuit design on the surface of an insulative board or on the surface and inside thereof.
  • an example is an insulator wherein conductors are formed on its surface by MID (molded interconnection device) technology that forms conductive plated layers.
  • the object for mounting P is a printed circuit board, and the header connector 200 is mounted on the surface of the printed circuit board being the object for mounting P.
  • the socket housing 110 is provided with wire insertion grooves 115 that are concaved in the bottom face 111 being one end face in the height direction toward the top face 112 being the other end face and extended up to an end face 113 on the front side in the depth direction.
  • Receiving concaved parts 116 which is interconnected with the wire insertion grooves 115 and opened to the bottom face 111 and into which the header contacts 220 of the header connector 200 are to be inserted, are provided on the rear side in the depth direction of the wire insertion grooves 115 of the socket housing 110.
  • the socket contacts 120 are inserted into the above-mentioned wire insertion grooves 115. This inserting is effected by, for example, so setting the dimensions that the socket contact 120 fits tight in the wire insertion groove 115.
  • the socket contact 120 is formed by bending a plate material of a certain configuration into a box, and its main constituent members are a bottom wall facing in the height direction and side walls facing in the width direction and rising from both ends in the width direction of the bottom wall.
  • the socket contact according to the present invention is not limited to such a configuration.
  • a contacting part 121 that is set in the receiving concaved part 116 and is to contact the header contact 220 is provided.
  • the contacting part 121 is formed by a plate piece that extends rearward in the depth direction from the bottom wall and substantially faces in the height direction, and the top end of the plate is bifurcated in the width direction and formed into a so-called a fork shape, and when seen in the height direction, it is shaped approximately into a U-shape as a whole.
  • the contacting part of the socket contact of the present invention is not limited to such a configuration.
  • an insulation barrel 122 for gripping the insulation of the wire W is provided at the front end in the depth direction of the socket contact 120. This insulation barrel 122 is formed, in the socket contact 120, by a plate piece that rises substantially in the height direction.
  • the direction of the plate piece is not limited, but here it faces substantially in the width direction.
  • the insulation is gripped by bending this plate piece inward in the width direction and pressing the insulation of the wire W.
  • the number of this plate piece may be one, two or more.
  • the insulation barrel 122 comprises two plate pieces that rise from both ends in the width direction of the bottom wall substantially in the height direction and face substantially in the width direction.
  • the socket contact 120 there is a plate that rises substantially in the height direction between the contacting part 121 and the insulation barrel 122.
  • the direction that this plate piece faces in is not limited, but here it faces in the depth direction.
  • the edge of the end in the height direction of this plate piece is concaved in an approximate U-shape, and the edges of this concaved part are made sharp, and a slot 123 is formed by the periphery of this edge, and it is arranged to break the insulation of a wire W to make a connection with the conductor that is present inside the insulation.
  • the plate piece of the slot 123 rises from the bottom wall in the height direction.
  • this socket connector 100 is so arranged that when the terminal end of the wire W extending in the depth direction is pressed into the wire insertion groove 115 in the height direction to achieve insulation displacement connection with the slot 123, the insulation of the wire W is gripped by the insulation barrel 122 and the socket connector 100 is connected to the header connector 200 that is mounted on the object for mounting P, the wire insertion groove 115 of the socket housing 110 will be blocked by the object for mounting P.
  • the opening of the wire insertion groove 115 on the bottom face side of the socket housing 110 is provided with protruding parts 117 that protrude inward in the width direction, and it is so arranged that the socket contact 120 that is inserted into from the front in the depth direction is gripped with a contact pressure between these protruding parts 117 and the bottom face 115a of the wire insertion groove 115.
  • the side walls of the socket contact 120 are held tight with a contact pressure by the protruding parts 117 and the bottom face 115a of the wire insertion groove 115.
  • the socket contact 120 is provided with fitting-on pieces 124 that rise substantially in the height direction from both sides in the width direction.
  • the faces that constitute the wire insertion groove 115 of the socket housing 110 are provided with catching parts 118 that catch the fitting-on pieces 124 so as to prevent the socket contact 120 from shifting frontward in the depth direction.
  • the fitting-on pieces 124 face substantially in the width direction and rise from both ends in the width direction of the bottom wall in the height direction.
  • the catching part 118 is provided by concaving the side face 115b of the wire insertion groove 115 outward in the width direction.
  • the socket contact 120 is inserted into the wire insertion groove 115, then the fitting-on pieces 124 are bent a little outward in the width direction to fit the fitting-on pieces 124 into the catching parts 118.
  • the socket contact 120 is made to move frontward in the depth direction, its fitting-on pieces 124 will hit on faces of the catching parts 118, the faces facing rearward and being located on the front side in the depth direction, and the socket contact 120 will be prevented from shifting.
  • the fitting-on pieces 124 may be so provided that they are tilted a little outward in the width direction, and when the socket contact 120 is inserted into the wire insertion groove 115, the fitting-on pieces 124 will be deformed elastically so as to fit the fitting-on pieces 124 into the catching parts 118.
  • This socket connector 100 is connected to a header connector 200.
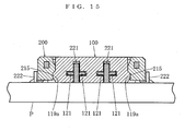
  • the header housing 210 is provided with a receiving chamber 214 that penetrates it from a top face 211 being one end face in the height direction to a bottom face 212 being the other end face and also extends up to an end face 213 at the front side in the depth direction.
  • the header contact 220 is of a blade type and has a contacting part 221 that is formed into a plate facing in the width direction.
  • the header contacts 220 are provided in the header housing 210 in such a way that their contacting parts 221 protrude from the rear in the depth direction into the receiving chamber 214.
  • the header contact 220 is provided with a connecting part 222 in such a way that the connecting part 222 comes out of the bottom face 212 or its periphery of the header housing 210.
  • the connecting part 222 is mounted by soldering, etc. onto an object for mounting P.
  • the connecting part 222 may be soldered onto the surface of the object for mounting P or it may be inserted into a hole that is formed in the object for mounting P and then soldered. It does not matter whether this hole is through the object for mounting P or not.
  • a protruding part 119 which fits into the receiving chamber 214, is formed at the rear end in the depth direction of the socket housing 110, and the protruding part 119 is provided with receiving concaved parts 116 in such a way that the receiving concaved parts 116 open to the bottom face 111 and the end face 114 at the rear in the depth direction, and they are so arranged that the contacting parts 121 of the socket contact 120 contact the contacting part 221 of the header contact 220 from both sides in the thickness direction in a nipping manner.
  • the width of the receiving chamber 214 is narrowed at a location that is close to the end face 213 at the front in the depth direction of the header housing 210 to form a neck part.
  • the header housing 210 is provided with fitting-on parts that protrude inward in the width direction to form this neck part, and these fitting-on parts prevent the socket connector 100 from coming off frontward in the depth direction.
  • the protruding part 119 of the socket housing 110 and the constituent walls of the receiving chamber 214 of the header housing 210 are provided with locking mechanisms that enhance the strength of engagement when the protruding part 119 is fitted into the receiving chamber 214.
  • the constituent walls of the receiving chamber 214 are provided with concaved parts or locking parts 215, and the protruding part 119 is provided with projecting parts or locking parts 119a so that when the protruding part 119 is fitted into the receiving chamber 214, the locking parts will engage together through the use of their flexibility.
  • the protruding part 119 may be provided with concaved parts and the constituent walls of the receiving chamber 214 may be provided with projecting parts.
  • the socket connector 100 of this embodiment When this socket connector 100 is connected to the header connector 200 that is provided on a surface of an object for mounting P, the header contacts 220 will be inserted into the receiving concaved parts 116 of the socket connector 100, and the header contacts 220 will contact the socket contacts 120. In that case, as the socket contact 120 is inserted into the wire insertion groove 115, the strength of coupling between the socket contact 120 and the socket housing 110 is high.
  • the insulation barrels 122 of the socket contacts 120 grip the insulations of the wires W, the pulling-about forces of the wires W will be received by the insulation barrels 122 and will not reach the slots 123; thus the strength against pulling-about of wires W is enhanced. As a result, there is no need of providing strain reliefs, and reduction in the height of the connection structure of the header connector 200 and the socket connector 100 is realized. Furthermore, as the insulation barrels 122 of the socket contacts 120 grip the insulations of wires W, as shown in Fig. 14, the pulling-out forces Ft of the wires W will be received by the insulating barrels 122 and will not reach the slots 123, and the strength against pulling-out of the wires W is enhanced.
  • the present invention includes an embodiment of a socket connector wherein the wire insertion grooves are open on one side in the height direction and the socket contact is not restrained in the height direction near the wire insertion grooves.
  • the socket housing 110 is provided, at the openings of the wire insertion grooves 115 on the bottom face side, with protruding parts 117 that protrude inward in the width direction to grip together with the bottom faces 115a of the wire insertion grooves 115, with contact pressure, the socket contacts 120 that are inserted into from the front in the depth direction.
  • the present invention includes an embodiment of a socket connector wherein a fitting-on piece and a catching part are not provided.
  • the socket contacts 120 are provided with fitting-on pieces 124 that rise substantially in the height direction from both ends in the width direction, and the faces constituting the wire insertion grooves 115 of the socket housing 110 are provided with catching parts 118 that catch the fitting-on pieces 124 so as to prevent the socket contacts 120 from shifting frontward in the depth direction.
  • the catching parts 118 catch the fitting-on pieces 124 and the socket contacts 120 are prevented from shifting frontward in the depth direction, the strength against pulling-out of the wires W is enhanced.
  • the present invention includes embodiments of a socket connector and a header connector, wherein they are arranged so that when the socket connector is connected to the header connector that is mounted on a surface of an object for mounting, the wire insertion grooves of the socket housing are blocked by the object for mounting.
  • the header connector 200 comprises the header connector 210 that is provided with the receiving chamber 214 that penetrates the header housing 210 from the top face 211 being one end face in the height direction to the bottom face 212 being the other end face and extends up to the end face 213 at the front in the depth direction, and header contacts 220 of a blade type that are provided in the header housing 210 so that the contacting parts 221 being formed into plates facing in the width direction protrude from the rear in the depth direction into the receiving chamber 214, the protruding part 119 that fits into the receiving chamber 214 is formed at the rear end in the depth direction of the socket housing 110, the protruding part 119 is provided with receiving concaved parts 116 in such a way that the receiving concaved parts 116 open to the bottom face 111 and the end face 114 at the rear in the depth direction, and the contacting parts 121 of the socket contacts 120 are so arranged that the contacting parts 121 contact the end faces in the thickness
  • the protruding part 119 of the socket housing 110 will fit into the receiving chamber 214 of the header housing 210, the bottom face 111 of the socket housing 110 will contact the object for mounting P that is exposed to the receiving chamber 214 of the header housing 210, and the wire insertion grooves 115 will be blocked by the object for mounting P.
  • the socket connector 100 fits into the head connector 200 in the height direction by using its protruding part 119, there is no need of providing the object for mounting P with an open space for shifting the socket connector 100 at the time of fitting, hence the mounting area is reduced.
  • This is advantageous when the header connector 200 is mounted on a surface of an object for mounting P, the surface having densely mounted components, and the socket connector 100 is to be connected to it.
  • the header connector 200 when the header connector 200 is mounted on a surface of an object for mounting P, the surface having densely mounted components, and the socket connector 100 is to be fitted into it, the required operation will be pushing the socket connector 100 in the height direction, hence its workability will be significantly improved in comparison with an operation of pushing it in a direction perpendicular to the height direction, such as the depth direction or the width direction.
  • the wires W of the socket connector 100 are led out of the socket housing 110 in a direction that crosses the height direction, even if, for example, a casing or the like is placed to oppose to the surface of the object for mounting P, the wires will hardly contact the casing.
  • the loads that are exerted to the wires W are reduced and the state of connection is stabilized, and furthermore, the height of the connection structure of both the connectors 100, 200 is reduced.
  • the contacting part 121 of the socket contact 120 is formed into a so-called fork shape and the contacting part 121 contacts the contacting part 221 of the header contact 220 by nipping it from both sides in the thickness direction thereof, the socket contact 120 will contact the header contact 220 at two points, enhancing the reliability of the connection.
  • the contacting part 121 is formed into a so-called fork shape, the contacting part 121 can be formed of a plate material, and this promotes reduction in the thickness of the socket connector 100.
  • the present invention includes embodiments wherein features of the embodiments described above are combined.

Landscapes

  • Coupling Device And Connection With Printed Circuit (AREA)
  • Connections By Means Of Piercing Elements, Nuts, Or Screws (AREA)
  • Multi-Conductor Connections (AREA)
  • Details Of Connecting Devices For Male And Female Coupling (AREA)
EP04256876A 2003-11-07 2004-11-05 Steckeraufnahmeverbinder Expired - Lifetime EP1530266B1 (de)

Applications Claiming Priority (2)

Application Number Priority Date Filing Date Title
JP2003379198 2003-11-07
JP2003379198 2003-11-07

Publications (3)

Publication Number Publication Date
EP1530266A2 true EP1530266A2 (de) 2005-05-11
EP1530266A3 EP1530266A3 (de) 2007-03-07
EP1530266B1 EP1530266B1 (de) 2008-12-31

Family

ID=34431373

Family Applications (1)

Application Number Title Priority Date Filing Date
EP04256876A Expired - Lifetime EP1530266B1 (de) 2003-11-07 2004-11-05 Steckeraufnahmeverbinder

Country Status (4)

Country Link
EP (1) EP1530266B1 (de)
KR (1) KR101085478B1 (de)
CN (1) CN100452558C (de)
TW (1) TW200527766A (de)

Families Citing this family (4)

* Cited by examiner, † Cited by third party
Publication number Priority date Publication date Assignee Title
JP6251500B2 (ja) * 2013-06-27 2017-12-20 日本圧着端子製造株式会社 コネクタ
KR101533913B1 (ko) * 2014-02-13 2015-07-06 주식회사 연호전자 터미널이 구비된 커넥터
JP6406705B2 (ja) * 2015-02-03 2018-10-17 日本圧着端子製造株式会社 コンタクト、リセプタクル及びコネクタ
CN107834268B (zh) * 2017-10-25 2019-05-21 安徽江淮汽车集团股份有限公司 一种汽车插件

Family Cites Families (3)

* Cited by examiner, † Cited by third party
Publication number Priority date Publication date Assignee Title
JPH0878107A (ja) * 1994-09-02 1996-03-22 Nippon Tanshi Kk 兼用取付形のプリント基板用コネクタ
JPH10154535A (ja) 1996-11-26 1998-06-09 Sumitomo Wiring Syst Ltd 圧接型端子金具
JP3386783B2 (ja) * 2000-07-14 2003-03-17 日本圧着端子製造株式会社 電気コネクタ及びソケットコネクタ

Also Published As

Publication number Publication date
CN100452558C (zh) 2009-01-14
EP1530266A3 (de) 2007-03-07
KR20050044269A (ko) 2005-05-12
KR101085478B1 (ko) 2011-11-21
EP1530266B1 (de) 2008-12-31
TW200527766A (en) 2005-08-16
CN1614827A (zh) 2005-05-11

Similar Documents

Publication Publication Date Title
US8556648B2 (en) Cable assembly with an outer cover having a movable lid
US9735503B2 (en) Connector for receiving and electrically connecting with a cable
US7878843B2 (en) Cable assembly having hold-down arrangement
US6808410B1 (en) Cable connector assembly having pulling mechanism
JP5654505B2 (ja) コネクタ装置
CN100541931C (zh) 基板安装型接插件
KR20050085717A (ko) 가요성 케이블 전기 커넥터
US7029334B2 (en) Multi way connector
US6739903B1 (en) Connector structure
US6238238B1 (en) Electrical connector with reinforced actuator
US6957975B2 (en) Plug connector housing with locking mechanism and plug connector having such housing
CN108736249B (zh) 带有锁定机构的电连接器
EP1530266B1 (de) Steckeraufnahmeverbinder
CN107230885A (zh) 带锁定机构的连接器
EP1530264A2 (de) Kontakthülse
EP1530262A2 (de) Mehrfache Verbindungseinrichtung
US6705885B1 (en) Cable end connector assembly having pull mechanism
JP2005158730A (ja) ソケットコネクタ
US20040102083A1 (en) Receptacle connector with latch arms and plug connector to be connected thereto
US6565389B1 (en) Connector of a thin type
JP4490791B2 (ja) ソケットコネクタ
JP4602050B2 (ja) マルチ接続形ヘッダーコネクタ並びにこれに接続する縦積形ソケットコネクタ及び横置形ソケットコネクタ
EP3408896B1 (de) Element zur sicherstellung der ergonomischen anschlussposition
JP2017216103A (ja) 電気コネクタ
CN218770148U (zh) 电连接器

Legal Events

Date Code Title Description
PUAI Public reference made under article 153(3) epc to a published international application that has entered the european phase

Free format text: ORIGINAL CODE: 0009012

AK Designated contracting states

Kind code of ref document: A2

Designated state(s): AT BE BG CH CY CZ DE DK EE ES FI FR GB GR HU IE IS IT LI LU MC NL PL PT RO SE SI SK TR

AX Request for extension of the european patent

Extension state: AL HR LT LV MK YU

PUAL Search report despatched

Free format text: ORIGINAL CODE: 0009013

AK Designated contracting states

Kind code of ref document: A3

Designated state(s): AT BE BG CH CY CZ DE DK EE ES FI FR GB GR HU IE IS IT LI LU MC NL PL PT RO SE SI SK TR

AX Request for extension of the european patent

Extension state: AL HR LT LV MK YU

17P Request for examination filed

Effective date: 20070820

AKX Designation fees paid

Designated state(s): GB

REG Reference to a national code

Ref country code: DE

Ref legal event code: 8566

GRAP Despatch of communication of intention to grant a patent

Free format text: ORIGINAL CODE: EPIDOSNIGR1

GRAS Grant fee paid

Free format text: ORIGINAL CODE: EPIDOSNIGR3

GRAS Grant fee paid

Free format text: ORIGINAL CODE: EPIDOSNIGR3

RIN1 Information on inventor provided before grant (corrected)

Inventor name: TAKATSUKI, SHOHEI,OSAKA ENGINEERING CTR.

Inventor name: HORIUCHI, HIDEAKI,OSAKA ENGINEERING CTR.

Inventor name: MORIWAKE, RYO,OSAKA ENGINEERING CTR.

GRAA (expected) grant

Free format text: ORIGINAL CODE: 0009210

AK Designated contracting states

Kind code of ref document: B1

Designated state(s): GB

REG Reference to a national code

Ref country code: GB

Ref legal event code: FG4D

PLBE No opposition filed within time limit

Free format text: ORIGINAL CODE: 0009261

STAA Information on the status of an ep patent application or granted ep patent

Free format text: STATUS: NO OPPOSITION FILED WITHIN TIME LIMIT

26N No opposition filed

Effective date: 20091001

PGFP Annual fee paid to national office [announced via postgrant information from national office to epo]

Ref country code: GB

Payment date: 20101115

Year of fee payment: 7

GBPC Gb: european patent ceased through non-payment of renewal fee

Effective date: 20111105

PG25 Lapsed in a contracting state [announced via postgrant information from national office to epo]

Ref country code: GB

Free format text: LAPSE BECAUSE OF NON-PAYMENT OF DUE FEES

Effective date: 20111105