EP1525144B1 - Druckregulierventil - Google Patents

Druckregulierventil Download PDF

Info

Publication number
EP1525144B1
EP1525144B1 EP03761560A EP03761560A EP1525144B1 EP 1525144 B1 EP1525144 B1 EP 1525144B1 EP 03761560 A EP03761560 A EP 03761560A EP 03761560 A EP03761560 A EP 03761560A EP 1525144 B1 EP1525144 B1 EP 1525144B1
Authority
EP
European Patent Office
Prior art keywords
pressure
piston
valve
sealing
regulating valve
Prior art date
Legal status (The legal status is an assumption and is not a legal conclusion. Google has not performed a legal analysis and makes no representation as to the accuracy of the status listed.)
Expired - Lifetime
Application number
EP03761560A
Other languages
English (en)
French (fr)
Other versions
EP1525144A1 (de
Inventor
Heinz Schneider
Current Assignee (The listed assignees may be inaccurate. Google has not performed a legal analysis and makes no representation or warranty as to the accuracy of the list.)
Thomas GmbH
Original Assignee
Thomas GmbH
Priority date (The priority date is an assumption and is not a legal conclusion. Google has not performed a legal analysis and makes no representation as to the accuracy of the date listed.)
Filing date
Publication date
Application filed by Thomas GmbH filed Critical Thomas GmbH
Publication of EP1525144A1 publication Critical patent/EP1525144A1/de
Application granted granted Critical
Publication of EP1525144B1 publication Critical patent/EP1525144B1/de
Anticipated expiration legal-status Critical
Expired - Lifetime legal-status Critical Current

Links

Images

Classifications

    • BPERFORMING OPERATIONS; TRANSPORTING
    • B65CONVEYING; PACKING; STORING; HANDLING THIN OR FILAMENTARY MATERIAL
    • B65DCONTAINERS FOR STORAGE OR TRANSPORT OF ARTICLES OR MATERIALS, e.g. BAGS, BARRELS, BOTTLES, BOXES, CANS, CARTONS, CRATES, DRUMS, JARS, TANKS, HOPPERS, FORWARDING CONTAINERS; ACCESSORIES, CLOSURES, OR FITTINGS THEREFOR; PACKAGING ELEMENTS; PACKAGES
    • B65D83/00Containers or packages with special means for dispensing contents
    • B65D83/14Containers for dispensing liquid or semi-liquid contents by internal gaseous pressure, i.e. aerosol containers comprising propellant
    • B65D83/44Valves specially adapted for the discharge of contents; Regulating devices
    • B65D83/52Metering valves; Metering devices
    • YGENERAL TAGGING OF NEW TECHNOLOGICAL DEVELOPMENTS; GENERAL TAGGING OF CROSS-SECTIONAL TECHNOLOGIES SPANNING OVER SEVERAL SECTIONS OF THE IPC; TECHNICAL SUBJECTS COVERED BY FORMER USPC CROSS-REFERENCE ART COLLECTIONS [XRACs] AND DIGESTS
    • Y10TECHNICAL SUBJECTS COVERED BY FORMER USPC
    • Y10TTECHNICAL SUBJECTS COVERED BY FORMER US CLASSIFICATION
    • Y10T137/00Fluid handling
    • Y10T137/7722Line condition change responsive valves
    • Y10T137/7781With separate connected fluid reactor surface
    • Y10T137/7793With opening bias [e.g., pressure regulator]
    • Y10T137/7808Apertured reactor surface surrounds flow line
    • YGENERAL TAGGING OF NEW TECHNOLOGICAL DEVELOPMENTS; GENERAL TAGGING OF CROSS-SECTIONAL TECHNOLOGIES SPANNING OVER SEVERAL SECTIONS OF THE IPC; TECHNICAL SUBJECTS COVERED BY FORMER USPC CROSS-REFERENCE ART COLLECTIONS [XRACs] AND DIGESTS
    • Y10TECHNICAL SUBJECTS COVERED BY FORMER USPC
    • Y10TTECHNICAL SUBJECTS COVERED BY FORMER US CLASSIFICATION
    • Y10T137/00Fluid handling
    • Y10T137/8593Systems
    • Y10T137/86928Sequentially progressive opening or closing of plural valves
    • Y10T137/87016Lost motion
    • Y10T137/8704First valve actuates second valve

Definitions

  • the present invention is concerned with a pressure regulating valve for use in an aerosol spray can with a Spray valve, wherein the pressure regulating a in the with compressed gas filled can interior pressure level prevailing lowers to a standard pressure level on which the Spray valve works, the pressure regulating valve in one Housing guided control piston having between a in a pressure-regulating chamber acting on the piston surface pressure and a restoring force is maintained in equilibrium, and between the control piston and the housing a sealing point is provided, which at a pressure in the pressure control chamber is closed above the control pressure levels.
  • Such pressure regulating valves are aerosol spray cans needed, which work without propellant, d. H. chemical aerosol propellants, where it is the abandonment of such propellant gases necessary, the aerosol can to a much higher To fill pressure, for example 10 bar. Because the spray valves working at a certain lower pressure level, like also in previously used aerosol spray cans with LPG filling, and as complete as possible emptying of the If it is necessary, it is necessary a pressure regulating valve insert, which is connected upstream of the spray valve and the internal pressure of the can suitable for the spray valve Pressure of z. B. 3 bar lowers.
  • Pressure regulating valves of The type described above are, for example, in the WO 01/09009 A1, EP 0 931 734 A1 and in WO 01/96208 A1 described. All described in these publications Pressure reducing valves have the disadvantage that the initial very high dose pressure on an axial surface of the piston element works, even in cases where only that comparatively small shaft end of the piston with the high Pressure is applied, a not inconsiderable axial force arises on the piston element. Any the dose internal pressure remain constant, one could correct this disturbance easily. However, since the internal dose pressure with increasing emptying the content continuously decreases, so does the Size of the disturbing force, so that the disturbance no longer without more can be compensated.
  • the object of the present invention is a Pressure regulating valve of the type described above to the effect to improve that with the smallest possible volume of construction higher control accuracy with different internal pressure of the can is reached.
  • a Sealing is provided, which is a free, from the pressure control chamber opposite end of the piston against the can internal pressure and seals against the control pressure, so that on Axial surfaces at the free end of the piston acting pressures independently from the pressure level of the can contents.
  • the sealing point in a central region of the control piston is provided, preferably at this point has an annular groove.
  • the sealing point simply with the help of a for example radially in the Ring groove projecting O-ring or annular disc-shaped sealing element be formed.
  • the connection between the sealing point and the pressure regulating chamber is preferably via Openings in the piston, for example by a transverse bore starting from the sealing point and an axial bore, the the transverse bore connects to the pressure control chamber.
  • the piston skirt on both sides of the sealing point against the housing is sealed, with a first seal on one side is provided as part of the seal of the free end.
  • the arrangement of the sealing point in the middle region of the control piston offers the advantage that to both. Pages a simple one Sealing of the gap between the piston and the housing against the inside of the can is possible.
  • a seal ensures that the pressure-regulating chamber is sealed by the internal pressure of the can is while the first seal for sealing a closed Chamber ensures, in which next to the free end the piston preferably also arranged the return spring is, for example, as a coil spring or as a compressed gas spring can be trained.
  • the return spring is, for example, as a coil spring or as a compressed gas spring can be trained.
  • the piston diameter seen from the sealing point in both axial directions is executed differently.
  • Piston and housing diameter are of course in the respective sections designed to match each other.
  • the cylindrical housing with two parts or different inner diameters adapted to the piston diameters having, between the two parts the sealing element, preferably with a ring ridge or - protrusion to reach a linear sealing point with at least one part.
  • the sealing element between the two housing parts is safe and clamped pressure-tight.
  • the sealing of the movable piston to the housing takes place preferably by means of O-rings, which are in grooves in the housing or the piston are arranged.
  • the grooves wider than the respective O-ring are formed, wherein the width of the Grooves is selected in a particularly preferred embodiment such that the O-ring in the adjustment of the piston substantially frictionless on the groove bottom and the opposite Sealing surface of the piston outside or the inside of the housing unrolls.
  • This embodiment can be due to the substantially rotationally symmetrical housing parts particularly inexpensive While it is also conceivable in principle, the Seal with a molded or attached to the housing Connecting the nozzle with the inside of the can.
  • the provision of a throttle point between the pressure control chamber and the spray valve hereby can regulate pressure between the chamber and the spray valve be further reduced.
  • the pressure regulating valve described above can be used as a separate Unit be formed and for example via a nozzle, a socket or the like. Have, with the help of which / it directly or via a pipe or hose piece with a nozzle of a spray valve is connectable.
  • Such Training allows a conventional aerosol spray can simply by connecting the pressure regulating valve on for mounting usually a riser provided anyway Convert the nozzle of the spray valve, where necessary only to adapt the can body to the increased pressure conditions is.
  • an aerosol spray can with a spray valve and a pressure reducing valve upstream of this one of the embodiments described above and a valve unit for installation in an aerosol spray can, which consists of a Spray valve and a pressure reducing valve of the previously described Art is designed as a ready to install unit.
  • Another innovation which also with other pressure regulating valves can be used, provides that at the output end of the pressure regulating valve to the spray valve a pressure filling valve is provided, which is above a predetermined Limit pressure in the space between the spray valve and the Pressure reducing valve a cross section for filling the aerosol can releases. Because at least a significant part of the filling the can through the valves should be made to shortening the filling process is the use of such Pressure relief valve useful, since most pressure regulating valves at a pressurization from the outside no cross-section release or overloaded individual sealing elements become.
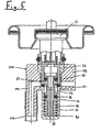
  • Fig. 1 is a combined unit 10 of a spray valve 12 and a pressure regulating valve 14.
  • the spray valve 12 corresponds in its constructive internal structure conventional spray valves and is therefore not closer in detail shown.
  • the unit is connected to the spray valve 12 in known manner sealed by a sealing washer 16 preassembled on a valve plate 18, the following with Help of a sealing ring 20 on a can body (not shown) is fastened sealed.
  • the spray valve has a spray valve housing 22, in which a stem 24 having an end 26 and a through hole is displaceable against the load of a compression spring 28.
  • the Spray valve housing 22 has an intermediate wall 30 with a Through opening 32, the spray valve 12 from the pressure regulating valve 14 separates.
  • a pressure relief valve 34 is provided which is substantially from one in an annular groove 36 in the outer wall the Sprühventilgepuruses 22 biased arranged annular Sealing element 38 is made, wherein in the bottom of the annular groove 36 at least one or more circumferentially arranged Passage openings 40 are provided.
  • the pressure fill valve 34 has the function when filling the aerosol can in the assembled state with the help of an overpressure of for example, 12 bar, which is open with spray valve 12 of is applied externally, so that in the Sprühventilgephase 22nd this overpressure is applied, a direct fumigation of the inside of the can to allow, since the pressure regulating valve 14 at a such high pressure in the area of the spray valve housing 22 is closed is.
  • the high filling pressure acts via the passage openings 40 on the annular sealing element 38 and lifts this due to the resulting pressure forces easily, so that the compressed gas past the sealing element 38 into the inside of the can can flow (see Fig. 7).
  • Figs. 2 and 3 are other alternatives with an elastic, annular Sealing element shown.
  • Fig. 2 is at the same annular Sealing element 38 with a circular cross-section a Annular groove 42 provided in the outer periphery of the Sprühventilgeophuses, whose flanks are formed tapered, so that a surface contact of the sealing element 38 on the flanks this groove 42 results.
  • at least one passage opening 40 provided by which compressed gas during filling can flow.
  • FIG. 3 an embodiment is shown, in which in the outer wall of the Sprühventilgepuruses 22 again an annular groove 44 is provided, which is similar the embodiment shown in Fig. 1 is a rectangular Has cross-section, but is made wider to a as an annular flat gasket with rectangular cross-section trained to receive 46 sealing element. Number and Execution of the passage openings 40 correspond to the in Fig. 1 embodiment shown.
  • the spray valve housing 22 has on its front side a extending from the intermediate wall 30 ring extension 48, the one part of a hollow cylinder 50 of the pressure regulating valve 14 forms, in which a control piston 52 movably guided is, which will be discussed later.
  • the Ring extension 48 has at least one transverse opening at the free end 54, through which the contents of the can flow during emptying can, as will be discussed later.
  • annular extension 48 On the annular extension 48 sits a cup-shaped inner housing 56. Its cylinder wall consists of a first, at a bottom 58 subsequent cylindrical wall portion 60, the inner diameter of the diameter of the control piston 52nd is adapted, a second cylindrical wall portion 62, the inner diameter of the outer diameter of the ring extension 48 is adapted and one between the two wall sections 60, 62 paragraph 64. Between paragraph 64 and the annular end surface of the annular extension 48 is an annular sealing member 66 and 67 is provided, which the Ring extension against the second cylindrical wall portion 62nd pressure-tight closes and projects into the cylinder 50, where it in cooperation with a sealing edge 68, 69 of the control piston 52 defines the sealing point of the pressure regulating valve 14.
  • a sealing element 67 which in the closed state under minor elastic expansion with the annular outer surface 69 of the piston 52 sealingly cooperates while in the right half of the illustration in Fig. 1, a corner 68 of the Piston 52 with an axial end face 70 of the sealing element 66 sealingly cooperates, wherein the annular sealing element 66 in this case a little further radially inward into the Cylinder bore 50 protrudes than in the case of the annular Sealing element 67.
  • the cylindrical wall portion 62 has its periphery further at least one recess 72, the in the assembled position with an associated transverse opening 54 are aligned.
  • the diameter of the cylinder bore can be in the range of the second wall portion larger than in the region of be executed first wall portion, wherein the outer diameter of the piston are then also stepped accordingly.
  • the sealing element is in the closed position substantially axially between the housing and jammed the shoulder of the piston, whereby u. U. mechanically less stressed.
  • the control piston 52 In through the ring process 48 and the first cylindrical Wall portion 60 of the inner housing 56 formed cylinder bore 50, the control piston is movably guided.
  • the control piston 52 has a lower shaft portion 74, which in the first cylindrical wall portion 60 is guided, and a upper shaft portion 76, which is guided in the annular extension 48 is.
  • the two shaft portions 74, 76 are in the range the sealing point by an annular groove 78 in the control piston 52nd separated, with at least one transverse opening 80 and a central bore 82 in the upper shaft portion 76, the annular groove 78 is in communication with a pressure control chamber 84, the again via the passage opening 32 in the intermediate wall 30th is connected to the interior of the Sprühventilgephinuses 22.
  • a first seal 86 in the form of an O-ring is seated in a corresponding annular groove 88 in the lower shaft portion 74th and seals it against the first cylindrical wall portion 60 of the inner housing 56 from.
  • a piston extension 92 the connects the lower shaft portion 74, limits the stroke of the control piston 52, in which it rests against the bottom 58 of the inner housing 56 applies. In this way it is prevented that the annular sealing element 66 through the corner 68 of the upper Shank portion 56 is sheared off, for example, when a compressed gas filling in the pressure regulating chamber 84 a considerable Overpressure prevails, for example 12 bar.
  • a second seal 94 in the form of an O-ring sits in one Ring groove 96 in the upper shaft portion 56 of the piston and seals this against the inner wall of the ring extension 48.
  • Both annular grooves 88, 96 in the shaft sections 74, 76 can wider than the sealing rings 86, 94 received therein be, so that they are no in the movement of the piston Sliding movement on the inner surfaces of the cylinder bore 50, but perform a rolling motion. This is considerably less friction and improves the control accuracy of the pressure regulating valve 14th
  • a cup-shaped Outer housing 98 mounted, which the inner housing 56th in the region of the cylindrical wall portion 60 and the bottom 58 surrounds with clearance, with the outer case in the bottom a nozzle 100 having a through hole 102, on which a riser 104 is placed.
  • FIG. 5 shows a further embodiment of a unit 110 shown from a spray valve 12 and a pressure regulating valve 14, wherein compared to the previously described embodiment identical components with the same reference numerals are provided.
  • a cup-shaped outer casing 98 a ring attachment 112 with an integrally formed Stub 114 mounted on the inner housing 56, on which a riser 116 is attached.
  • Such a solution can u. U. still claim less volume than that in Fig. 1st and 4 shown solution.
  • FIG. 6 is an arrangement of a pressure regulating valve 200th shown with the aid of which a spray valve 202 for a propellant-free Aerosol spray can retrofitted with overpressure filling can be.
  • the spray valve 202 sits in a known Way in a valve plate 204, wherein a housing 206 of the Spray valve 202 with a nozzle 208 for placing a Connecting tube or hose 210 is formed.
  • the pressure regulating valve 200 has an upper housing part 212, which is connected to a nozzle 214 for connecting to the Connecting pipe 210 is provided, whose central through hole 216 is connected to the pressure control chamber 84.
  • Upper housing part 212 is also the pressure filling valve 34th formed, with only the passage openings 40 accordingly extended to the central through-hole 216 of the housing part 212 are executed.
  • the housing part instead of a neck 214, the housing part also with a sleeve-like male part Be provided directly to the nozzle 208 of the Spray valve 202 can be placed. Otherwise corresponds the pressure fill valve 200 shown in FIGS. 1 and 4 Embodiment and also works in the corresponding Wise.
  • Fig. 6 offers the advantage that the previously used in propellant-filled aerosol cans Spray valves continue to be used with their valve plates can, where appropriate, only an adjustment to the higher Pressure level is required. This allows existing production facilities used cost-effectively without conversion and it will be in a simple assembly process the pressure regulating valve 200 simply upstream of the spray valve 202.
  • Fig. 8 is another embodiment of a pressure regulating valve 300, which in its function substantially corresponds to the pressure relief valve 10 shown in FIG. 6, however, in which a piston 352 compared to the previously described embodiment upside down, d. H. With below, the inlet port 302 facing pressure control chamber 384th is trained.
  • the passage opening 304 is above a Axial bore 306 in a housing insert 308 with a transverse opening 354 in conjunction, through which the can contents at from the sealing element 366 released sealing point via a Transverse opening 380 and a central bore 382 in the pressure control chamber 384 can flow.
  • the pressure control chamber 384 is again via a throttle bore 385, for another Can provide pressure reduction, and one laterally between the Housing insert 308 and the valve housing 398 extending Connecting passage 399 with the outlet side 316 in conjunction, the to the downstream spray valve (not shown in Fig. 8) leads.
  • a seal 386 pressure tight sealed chamber 389 seated compression spring 390 in turn displaces the control piston 352 at a control pressure undershot pressure in the control chamber 384 in the in Fig. 8 illustrated open position.
  • a possibility for overpressure fumigation similar to those described above Embodiments, is conceivable and by an accordingly adapted housing form easily realized.
  • Fig. 9 is a longitudinal section of another pressure regulating valve 400 shown in its construction of the in Figs. 1 and 7 shown embodiment is very similar, which is why functionally equivalent Components have been given the same reference numerals are. Again, a positive pressure gassing in the upper area be provided of the valve housing.
  • a first difference of the pressure regulating valve of FIG. 9 is that instead of an annular disc-shaped sealing element an O-ring 466 is used as a sealing element.
  • This O-ring 466 is in turn between the cup-shaped Inner housing 56 and an upper housing part 412 (similar to the Embodiment of FIG. 6) clamped, wherein the inner housing 56 and the upper housing part 412 each have an annular projection 401, 403, which are for a linear Make sealing contact with the sealing element 466, which is under many conditions of use as cheaper compared to one has proved flat system.
  • Such a ring projection is also when using a ring-shaped sealing element advantageous.
  • an O-ring-shaped sealing element 466 the deformations in the axial direction lower and it is a more accurate one with regard to the position of the piston Sealing possible.
  • the upper housing part 412 in turn has one or a plurality of radial passage openings 454, which when open Sealing point according to FIG. 9 an outflow of the contents of the can through the openings 80, 82 in the pressure control chamber 84 and continue through a throttle bore 485, which is another Pressure reduction when flowing ensures in the through hole 216 to the spray valve (not shown).
  • the piston 452 in the in Fig. 10 in which the sealing point passes through Cooperation of the sealing element 466 with a sealing flank 468 of the piston sealingly cooperates, so that the can contents no longer through the holes 80, 82 in the pressure control chamber 84 can flow.
  • the sealing element 466 In the embodiment shown in Fig. 10 is otherwise radially outside of the sealing element 466 also in the region of the radial transverse openings 454 a Wall 455 provided which the sealing element 466 in this Area radially stabilized.
  • a spacer sleeve 491 provided with the help of which the preload of the return spring 90 is adjustable, d. H. depending on the height of the spacer sleeve 491 can also be the control characteristics of the pressure regulating valve 400.
  • FIGS. 8, 9 and 10 300, 400 a Pressure regulating valve are similar for an arrangement Fig. 6, wherein the pressure regulating valve 300 or 400 with Help a hose or nozzle upstream of a spray valve becomes.
  • FIGS. 8, 9 and 10 common Special feature continues to be that for sealing of the piston 452 relative to the housing parts 56, 412 used Sealing rings 86, 94 are disposed in grooves 488 and 496, respectively, which are wider than the sealing rings 86, 94 so that they themselves can roll on an axial movement of the piston 452 and not just to be moved in a purely sliding manner. This can be done reduce the friction losses in the piston movement, which in turn the control accuracy benefits. This feature is of course, in the other described embodiments can be used advantageously.

Landscapes

  • Chemical & Material Sciences (AREA)
  • Dispersion Chemistry (AREA)
  • Engineering & Computer Science (AREA)
  • Mechanical Engineering (AREA)
  • Containers And Packaging Bodies Having A Special Means To Remove Contents (AREA)
  • Safety Valves (AREA)
  • Nozzles (AREA)
  • Fluid-Pressure Circuits (AREA)
  • Magnetically Actuated Valves (AREA)
  • Valves And Accessory Devices For Braking Systems (AREA)

Description

Die vorliegende Erfindung befaßt sich mit einem Druckregulierventil zum Einsatz in einer Aerosolsprühdose mit einem Sprühventil, wobei das Druckregulierventil ein in dem mit komprimiertem Gas befüllten Doseninneren herrschendes Druckniveau auf ein Regeldruckniveau absenkt, auf welchem das Sprühventil arbeitet, das Druckregulierventil einen in einem Gehäuse geführten Regelkolben aufweist, der zwischen einem in einer Druckregelkammer auf die Kolbenfläche wirkenden Druck und einer Rückstellkraft im Gleichgewicht gehalten ist, und zwischen dem Regelkolben und dem Gehäuse eine Dichtstelle vorgesehen ist, die bei einem Druck in der Druckregelkammer oberhalb des Regeldruckniveaus verschlossen ist.
Derartige Druckregulierventile werden bei Aerosolsprühdosen benötigt, die ohne Treibgas arbeiten, d. h. chemische Aerosol-Treibmittel, wobei es der Verzicht auf solche Treibgase notwendig macht, die Aerosoldose auf einen deutlich höheren Druck zu befüllen, beispielsweise 10 bar. Da die Sprühventile auf einem bestimmten niedrigeren Druckniveau arbeiten, wie auch bei bisher verwendeten Aerosolsprühdosen mit Treibgasbefüllung, und eine möglichst vollständige Restentleerung der Dose gegeben sein soll, ist es notwendig ein Druckregulierventil einzusetzen, das dem Sprühventil vorgeschaltet wird und den Doseninnendruck auf den für das Sprühventil geeigneten Druck von z. B. 3 bar absenkt. Druckregulierventile der eingangs beschriebenen Art sind beispielsweise in der WO 01/09009 A1, der EP 0 931 734 A1 und in der WO 01/96208 A1 beschrieben. Alle in diesen Druckschriften beschriebenen Druckreduzierventile haben den Nachteil, daß der anfänglich sehr hohe Doseninnendruck auf eine Axialfläche des Kolbenelements wirkt, wobei selbst in den Fällen, in denen nur das vergleichsweise kleine Schaftende des Kolbens mit dem hohen Druck beaufschlagt ist, eine nicht unbeträchtliche Axialkraft auf das Kolbenelement entsteht. Würde der Doseninnendruck konstant bleiben, könnte man diese Störkraft leicht korrigieren. Da jedoch der Doseninnendruck bei zunehmender Entleerung des Inhaltes kontinuierlich abnimmt, verändert sich auch die Größe der Störkraft, so daß die Störgröße nicht mehr ohne weiteres kompensiert werden kann. Letztlich führt dies dazu, daß der Regeldruck des Druckregulierventils sich abhängig vom noch bestehenden Fülldruck der Aerosolsprühdose verändert, was unerwünscht ist, da hierdurch das Sprühventil nicht mehr optimal arbeiten kann. Einen Ausgleich kann man zwar dadurch schaffen, daß man die Kolbenfläche im Bereich der Druckregelkammer möglichst groß wählt, so daß die axiale Stirnfläche beispielsweise des Kolbenschaftes als Störgröße weniger ins Gewicht fällt, dies bedingt jedoch eine erhebliche Zunahme des Bauvolumens des Druckreduzierventils, was auf Kosten des maximal möglichen Doseninhaltes geht. Je kleiner die Kolbenfläche in der Druckregelkammer jedoch gewählt wird, desto größer ist die Abweichung des Regeldruckes zwischen dem Anfangszustand und dem nahezu völlig entleerten Zustand.
Die Aufgabe der vorliegenden Erfindung besteht darin, ein Druckregulierventil der eingangs beschriebenen Art dahingehend zu verbessern, daß bei möglichst kleinem Bauvolumen eine höhere Regelgenauigkeit bei unterschiedlichem Doseninnendruck erreicht wird.
Erfindungsgemäß wird die Aufgabe dadurch gelöst, daß bei einem Druckregulierventil der eingangs beschriebenen Art eine Abdichtung vorgesehen ist, die ein freies, von der Druckregelkammer abgewandtes Ende des Kolbens gegen den Doseninnendruck und gegen den Regeldruck abdichtet, so daß die auf Axialflächen am freien Ende des Kolbens wirkenden Drücke unabhängig vom Druckniveau des Doseninhaltes sind.
Durch die Abschirmung auch des bislang dem Doseninnendruck ausgesetzten freien Endes des Regelkolbens wird die sich in Abhängigkeit vom Befüllungsgrad und damit dem Doseninnendruck verändernde Störkraft eliminiert, so daß der Regeldruck des Druckregulierventils nicht mehr vom augenblicklich bestehenden Doseninnendruck abhängt. Darüber hinaus kann der Kolbendurchmesser klein gehalten werden, da aufgrund des abgeschirmten freien Endes die Genauigkeit des Ventils nicht mehr von der Größe der Kolbenfläche in der Druckregelkammer abhängt, sondern mit einer kleineren Fläche und einer entsprechend darauf abgestimmten Rückstellkraft gearbeitet werden kann, die z. B. durch eine Feder oder ein Gasdruckpolster erzeugt wird. Hierdurch verringert sich der Bauraum des Druckregulierventils, d. h. es steht mehr Doseninhalt zur Befüllung zur Verfügung.
In einer bevorzugten Ausführungsform der Erfindung ist vorgesehen, daß die Dichtstelle in einem mittleren Bereich des Regelkolbens vorgesehen ist, der an dieser Stelle vorzugsweise eine Ringnut aufweist. Auf diese Weise läßt sich eine einfache Abschirmung des freien Endes erreichen, beispielsweise mit Hilfe eines Dichtringes als erster Dichtung, der den Spalt zwischen dem Kolben und dem ihn umgebenden Gehäuse verschließt. Andererseits kann bei dieser Anordnung die Dichtstelle einfach mit Hilfe eines beispielsweise radial in die Ringnut ragenden O-ring- oder ringscheibenförmigen Dichtelements ausgebildet werden. Die Verbindung zwischen der Dichtstelle und der Druckregelkammer erfolgt vorzugsweise über Öffnungen in dem Kolben, beispielsweise durch eine Querbohrung von der Dichtstelle ausgehend und eine Axialbohrung, die die Querbohrung mit der Druckregelkammer verbindet.
In bevorzugter Weiterbildung der Erfindung ist vorgesehen, daß der Kolbenschaft beidseitig der Dichtstelle gegen das Gehäuse abgedichtet ist, wobei auf einer Seite eine erste Dichtung als Teil der Abdichtung des freien Endes vorgesehen ist. Die Anordnung der Dichtstelle im mittleren Bereich des Regelkolbens bietet den Vorteil, daß zu beiden. Seiten eine einfache Abdichtung des Spaltes zwischen Kolben und Gehäuse gegen den Doseninnendruck möglich ist. Eine Dichtung sorgt dafür, daß die Druckregelkammer von dem Doseninnendruck abgedichtet ist, während die erste Dichtung für die Abdichtung einer geschlossenen Kammer sorgt, in welcher neben dem freien Ende des Kolbens vorzugsweise auch die Rückstellfeder angeordnet ist, die beispielsweise als Schraubenfeder oder als Druckgasfeder ausgebildet sein kann. Mit Hilfe von in der Länge unterschiedlichen Distanzhülsen oder -scheiben kann die Vorspannkraft der Feder bei im übrigen unverändertem Druckregulierventil leicht eingestellt werden.
Vorzugsweise ist weiterhin vorgesehen, daß der Kolbendurchmesser von der Dichtstelle aus gesehen in beiden Axialrichtungen unterschiedlich ausgeführt ist. Hierdurch wird die Möglichkeit geschaffen, in weiterer bevorzugter Ausführungsform der Erfindung mit dem zuvor bereits erwähnten O-ring- oder ringscheibenförmigen Dichtelement die Dichtstelle auszubilden, wobei das Dichtelement an dem Kolben oder dem Gehäuse festgelegt ist und mit einem Absatz, der durch den Durchmesserunterschied gebildet sein kann, am Gehäuse bzw. dem Kolben abdichtend zusammenwirkt, wenn der Druck in der Druckregelkammer das Regeldruckniveau übersteigt. Kolben- und Gehäusedurchmesser sind selbstverständlich in den jeweiligen Abschnitten zueinander passend ausgeführt.
In einer noch weiteren bevorzugten Ausführungsform ist vorgesehen, daß das zylindrische Gehäuse zwei Teile mit gleichen oder unterschiedlichen, den Kolbendurchmessern angepaßten Innendurchmessern aufweist, wobei zwischen den beiden Teilen das Dichtelement, vorzugsweise mit einem Ringgrat oder - vorsprung zum Erreichen einer linienförmigen Dichtstelle mit wenigstens einem Teil, festgelegt ist. Bei dieser Variante wird das Dichtelement zwischen den beiden Gehäuseteilen sicher und druckdicht verklemmt.
Die Abdichtung des beweglichen Kolbens zu dem Gehäuse erfolgt vorzugsweise mit Hilfe von O-Ringen, die in Nuten im Gehäuse oder dem Kolben angeordnet sind. In weiterer bevorzugter Ausgestaltung ist dabei vorgesehen, daß die Nuten breiter als der jeweilige O-Ring ausgebildet sind, wobei die Breite der Nuten in besonders bevorzugter Ausbildung derart gewählt ist, daß der O-Ring im Verstellbereich des Kolbens im wesentlichen reibungsfrei auf dem Nutgrund und der gegenüberliegenden Dichtfläche der Kolbenaußenseite bzw. der Gehäuseinnenseite abrollt. Gegenüber einer gleitenden Ringdichtung bietet eine derartige Ausbildung den Vorteil, daß die Reibungskräfte beim Verstellen des Kolbens wesentlich geringer sind, so daß die zur Druckregelung notwendige Beweglichkeit des Kolbens mit geringeren Reibkräften erreicht wird, wodurch wiederum das Regelergebnis positiv beeinflußt wird.
In einer weiteren bevorzugten Ausführungsform der Erfindung ist das Gehäuseteil zur Aufnahme des freien Endes des Kolbens von einem becherförmigen Gehäuseteil umgeben, das einen Teil der Verbindung des Doseninneren mit der Dichtstelle bildet. Diese Ausführungsform läßt sich aufgrund der im wesentlichen rotationssymmetrischen Gehäuseteile besonders kostengünstig fertigen, während es grundsätzlich auch vorstellbar ist, die Dichtstelle mit einem am Gehäuse angeformten oder angebrachten Stutzen mit dem Doseninneren zu verbinden.
Vorteilhaft kann auch das Vorsehen einer Drosselstelle zwischen der Druckregelkammer und dem Sprühventil sein. Hierdurch kann der Regeldruck zwischen der Kammer und dem Sprühventil weiter reduziert werden.
Das zuvor beschriebene Druckregulierventil kann als separate Einheit ausgebildet sein und beispielsweise über einen Stutzen, eine Steckhülse oder dgl. verfügen, mit Hilfe dessen/derer es unmittelbar oder über ein Rohr- oder Schlauchstück mit einem Stutzen eines Sprühventils verbindbar ist. Eine derartige Ausbildung erlaubt es, eine herkömmliche Aerosolsprühdose durch einfaches Vorschalten des Druckregulierventils am zur Anbringung üblicherweise eines Steigrohres ohnehin vorgesehenen Stutzen des Sprühventils umzurüsten, wobei ggf. lediglich der Dosenkörper den erhöhten Druckverhältnissen anzupassen ist. Gegenstand der vorliegenden Erfindung sind jedoch in gleicher Weise auch eine Aerosolsprühdose mit einem Sprühventil und einem diesem vorgeschalteten Druckminderventil in einer der zuvor beschriebenen Ausführungen sowie eine Ventileinheit zum Einbau in eine Aerosolsprühdose, die aus einem Sprühventil und einem Druckminderventil der zuvor beschriebenen Art als montagefertige Einheit ausgebildet ist.
Eine weitere Neuerung, die auch bei anderen Druckregulierventilen zum Einsatz kommen kann, sieht vor, daß am Ausgangsende des Druckregulierventils zum Sprühventil ein Überdruckfüllventil vorgesehen ist, das oberhalb eines vorbestimmten Grenzdruckes in dem Raum zwischen dem Sprühventil und dem Druckminderventil einen Querschnitt zum Befüllen der Aerosoldose freigibt. Da zumindest ein erheblicher Teil der Befüllung der Dose durch die Ventile vorgenommen werden soll, um den Füllvorgang zu verkürzen, ist der Einsatz eines solchen Überdruckfüllventils sinnvoll, da die meisten Druckregulierventile bei einer Druckbeaufschlagung von außen keinen Querschnitt freigeben oder einzelne Dichtelemente überbeansprucht werden.
Nachfolgend wird anhand der beigefügten Zeichnungen näher auf Ausführungsbeispiele der Erfindung eingegangen. Es zeigen:
Fig. 1
einen Längsschnitt einer kombinierten Einheit aus einem Sprühventil und einem Druckregulierventil für eine Aerosolsprühdose;
Fig. 2
eine Einzelheit einer alternativen Ausführungsform eines Ventils der Einheit nach Fig. 1 zur Überdruckbefüllung;
Fig. 3
eine Einzelheit einer weiteren Ausführungsform des Ventils zur Überdruckbefüllung;
Fig. 4
einen Längsschnitt der Einheit nach Fig. 1 mit geöffnetem Ventilquerschnitt des Druckregulierventils;
Fig. 5
einen Längsschnitt einer weiteren Ausführungsform einer Einheit aus Sprühventil und Druckregulierventil;
Fig. 6
einen Längsschnitt eines Ventilbereichs einer Aerosolsprühdose mit getrennt ausgeführtem Sprühventil und Druckregulierventil;
Fig. 7
einen Längsschnitt der Einheit nach Fig. 1 mit geöffnetem Überdruckfüllventil.
Fig. 8
einen Längsschnitt einer weiteren Ausführungsform eines Druckregulierventils;
Fig. 9
einen Längsschnitt einer noch weiteren Ausführungsform eines Druckregulierventils in der geöffneten Stellung;
Fig.10
einen Längsschnitt eines Druckregulierventils im geschlossenen Zustand, das i. w. dem Druckregulierventil aus Fig. 9 entspricht.
In Fig. 1 ist eine kombinierte Einheit 10 aus einem Sprühventil 12 und einem Druckregulierventil 14 gezeigt. Das Sprühventil 12 entspricht in seinem konstruktiven inneren Aufbau herkömmlichen Sprühventilen und ist daher nicht näher im Detail gezeigt. Die Einheit ist mit dem Sprühventil 12 in an sich bekannter Weise mittels einer Dichtscheibe 16 abgedichtet an einem Ventilteller 18 vormontiert, der nachfolgend mit Hilfe eines Dichtrings 20 an einem Dosenkörper (nicht gezeigt) abgedichtet befestigt wird.
Das Sprühventil besitzt ein Sprühventilgehäuse 22, in welchem ein Stem 24 mit ein einem Ende 26 und einer Durchgangsöffnung gegen die Last einer Druckfeder 28 verschieblich ist. Das Sprühventilgehäuse 22 besitzt eine Zwischenwand 30 mit einer Durchgangsöffnung 32, die das Sprühventil 12 von dem Druckregulierventil 14 trennt. In der Wandung des Sprühventilgehäuses 22 ist ein Überdruckfüllventil 34 vorgesehen, das im wesentlichen aus einem in einer Ringnut 36 in der Außenwandung des Sprühventilgehäuses 22 vorgespannt angeordneten ringförmigen Dichtelement 38 besteht, wobei im Boden der Ringnut 36 wenigstens eine oder mehrere über den Umfang angeordnete Durchtrittsöffnungen 40 vorgesehen sind. Das Überdruckfüllventil 34 hat die Funktion, bei einer Befüllung der Aerosoldose im montierten Zustand mit Hilfe eines Überdruckes von beispielsweise 12 bar, der bei geöffnetem Sprühventil 12 von außen aufgebracht wird, so daß in dem Sprühventilgehäuse 22 dieser Überdruck anliegt, eine direkte Begasung des Doseninneren zu ermöglichen, da das Druckregulierventil 14 bei einem derart hohen Druck im Bereich des Sprühventilgehäuses 22 geschlossen ist. Der hohe Fülldruck wirkt über die Durchtrittsöffnungen 40 auf das ringförmige Dichtelement 38 und hebt dieses infolge der entstehenden Druckkräfte leicht an, so daß das komprimierte Gas an dem Dichtelement 38 vorbei in das Doseninnere strömen kann (s. Fig 7). Nach Beenden des Füllvorganges wird die Druckbeaufschlagung beendet und das ringförmige Dichtelement 38 legt sich infolge seiner Eigenelastizität und insbesondere unter dem nun auf ihn wirkenden Doseninnendruck fest an den Durchtrittsöffnungen 40 an, so daß diese dauerhaft verschlossen sind und der Druck in dem Sprühventilgehäuse 22 auf ein gewünschtes Druckniveau abfallen kann.
Als Überdruckfüllventil kann in diesem Bereich grundsätzlich jegliche Art von Ventil Verwendung finden, die gezeigte Ausführungsform mit einem ringförmigen Dichtelement läßt sich jedoch besonders einfach realisieren. In Fig. 2 und 3 sind weitere Alternativen mit einem elastischen, ringförmigen Dichtelement dargestellt. In Fig. 2 ist bei gleichem ringförmigem Dichtelement 38 mit kreisförmigem Querschnitt eine Ringnut 42 im Außenumfang des Sprühventilgehäuses vorgesehen, deren Flanken schräg zulaufend ausgebildet sind, so daß sich eine flächigere Anlage des Dichtelements 38 an den Flanken dieser Nut 42 ergibt. Wiederum ist wenigstens eine Durchtrittsöffnung 40 vorgesehen, durch welche Druckgas beim Befüllen strömen kann. In Fig. 3 ist eine Ausführungsform gezeigt, bei welcher in der Außenwandung des Sprühventilgehäuses 22 wiederum eine Ringnut 44 vorgesehen ist, die ähnlich der in Fig. 1 gezeigten Ausführungsform einen rechteckigen Querschnitt besitzt, jedoch breiter ausgeführt ist, um ein als ringförmige Flachdichtung mit rechteckigem Querschnitt ausgebildetes Dichtelement 46 aufnehmen zu können. Zahl und Ausführung der Durchtrittsöffnungen 40 entsprechen der in Fig. 1 gezeigten Ausführungsform.
Das Sprühventilgehäuse 22 besitzt an seiner Stirnseite einen sich von der Zwischenwand 30 erstreckenden Ringfortsatz 48, der einen Teil eines Hohlzylinders 50 des Druckregulierventils 14 bildet, in welchem ein Regelkolben 52 beweglich geführt ist, auf den später noch näher eingegangen wird. Der Ringfortsatz 48 besitzt am freien Ende wenigstens eine Queröffnung 54, durch welche der Doseninhalt beim Entleeren strömen kann, worauf später noch näher eingegangen wird.
Auf dem Ringfortsatz 48 sitzt ein becherförmiges Innengehäuse 56. Dessen Zylinderwandung besteht aus einem ersten, sich an einen Boden 58 anschließenden zylindrischen Wandabschnitt 60, dessen Innendurchmesser dem Durchmesser des Regelkolbens 52 angepaßt ist, einem zweiten zylindrischen Wandabschnitt 62, dessen Innendurchmesser dem Außendurchmesser des Ringfortsatzes 48 angepaßt ist und einem zwischen den beiden Wandabschnitten 60, 62 liegenden Absatz 64. Zwischen dem Absatz 64 und der ringförmigen Stirnfläche des Ringfortsatzes 48 ist ein ringförmiges Dichtelement 66 bzw. 67 vorgesehen, das den Ringfortsatz gegen den zweiten zylindrischen Wandabschnitt 62 druckdicht verschließt und in den Zylinder 50 ragt, wobei es im Zusammenwirken mit einer Dichtflanke 68, 69 des Regelkolbens 52 die Dichtstelle des Druckregulierventils 14 definiert. In der linken Hälfte der Darstellung ist ein Dichtelement 67 dargestellt, das im Schließzustand unter geringfügiger elastischer Aufweitung mit der ringförmigen Außenfläche 69 des Kolbens 52 abdichtend zusammenwirkt, während in der rechten Hälfte der Darstellung in Fig. 1 eine Ecke 68 des Kolbens 52 mit einer axialen Stirnfläche 70 des Dichtelements 66 abdichtend zusammenwirkt, wobei das ringförmige Dichtelement 66 in diesem Fall etwas weiter radial nach innen in die Zylinderbohrung 50 vorsteht als im Falle des ringförmigen Dichtelements 67. Der zylindrische Wandabschnitt 62 weist auf seinem Umfang ferner wenigstens eine Aussparung 72 auf, die in der montierten Stellung mit einer zugehörigen Queröffnung 54 fluchten. Der Durchmesser der Zylinderbohrung kann im Bereich des zweiten Wandabschnittes größer als im Bereich des ersten Wandabschnittes ausgeführt sein, wobei die Außendurchmesser des Kolbens dann ebenfalls entsprechend gestuft sind. Bei einer solchen Ausführungsform wird das Dichtelement in der Schließstellung im wesentlichen axial zwischen dem Gehäuse und dem Absatz des Kolbens verklemmt, wodurch es u. U. mechanisch weniger stark beansprucht ist.
In der durch den Ringfortsatz 48 und den ersten zylindrischen Wandabschnitt 60 des Innengehäuses 56 gebildeten Zylinderbohrung 50 ist der Regelkolben beweglich geführt. Der Regelkolben 52 weist einen unteren Schaftabschnitt 74, der in dem ersten zylindrischen Wandabschnitt 60 geführt ist, und einen oberen Schaftabschnitt 76 auf, der in dem Ringfortsatz 48 geführt ist. Die beiden Schaftabschnitte 74, 76 sind im Bereich der Dichtstelle durch eine Ringnut 78 in dem Regelkolben 52 getrennt, wobei über wenigstens eine Queröffnung 80 und eine mittige Bohrung 82 im oberen Schaftabschnitt 76 die Ringnut 78 mit einer Druckregelkammer 84 in Verbindung steht, die wiederum über die Durchgangsöffnung 32 in der Zwischenwand 30 mit dem Inneren des Sprühventilgehäuses 22 verbunden ist.
Eine erste Dichtung 86 in der Form eines O-Rings sitzt in einer entsprechenden Ringnut 88 im unteren Schaftabschnitt 74 und dichtet diesen gegen den ersten zylindrischen Wandabschnitt 60 des Innengehäuses 56 ab. Hierdurch entsteht zwischen dem unteren Schaftabschnitt 74, dem ersten zylindrischen Wandabschnitt und dem Boden 58 des Innengehäuses 56 eine druckdicht abgeschlossene Kammer 89, in welcher eine Rückstellfeder 90 angeordnet ist, die eine definierte Rückstellkraft auf den Kolben 52 ausübt. Ein Kolbenfortsatz 92, der an dem unteren Schaftabschnitt 74 anschließt, begrenzt den Hubweg des Regelkolbens 52, in dem er sich am Boden 58 des Innengehäuses 56 anlegt. Auf diese Weise wird verhindert, daß das ringförmige Dichtelement 66 durch die Ecke 68 des oberen Schaftabschnitts 56 abgeschert wird, wenn beispielsweise bei einer Druckgasbefüllung in der Druckregelkammer 84 ein erheblicher Überdruck herrscht, beispielsweise 12 bar.
Eine zweite Dichtung 94 in Form eines O-Rings sitzt in einer Ringnut 96 im oberen Schaftabschnitt 56 des Kolbens und dichtet diesen gegen die Innenwandung des Ringfortsatzes 48 ab. Beide Ringnuten 88, 96 in den Schaftabschnitten 74, 76 können breiter als die darin aufgenommenen Dichtringe 86, 94 ausgebildet sein, so daß diese bei der Bewegung des Kolbens keine Gleitbewegung an den Innenflächen der Zylinderbohrung 50, sondern eine Rollbewegung ausführen. Diese ist erheblich reibungsärmer und verbessert die Regelgenauigkeit des Druckregulierventils 14.
Auf der Außenwandung des Innengehäuses 56 ist ein becherförmiges Außengehäuse 98 aufgesetzt, welches das Innengehäuse 56 im Bereich des zylindrischen Wandabschnittes 60 und des Bodens 58 mit Abstand umgibt, wobei das Außengehäuse im Boden einen Stutzen 100 mit einer Durchgangsbohrung 102 aufweist, auf welchen ein Steigrohr 104 aufgesetzt ist.
Bei der in Fig. 1 gezeigten Ruhestellung ist im montierten Zustand nach einer Druckbefüllung des Aerosolbehältnisses die Dichtstelle durch das Zusammenwirken der Außenfläche 69 bzw. der Ecke 68 des oberen Schaftabschnittes 76 des Kolbens im Zusammenwirken mit dem jeweils vorgesehenen ringförmigen Dichtelement 66 oder 67 verschlossen, und auch das Sprühventil 12 ist abgedichtet. Dies bedeutet, daß im Doseninneren, im Steigrohr 104, in der Durchgangbohrung 102, zwischen dem Innengehäuse 56 und dem Außengehäuse 98 sowie in den Aussparungen 72 und den Queröffnungen 54 das Fülldruckniveau von beispielsweise 10 bar herrscht. Stromabwärts der Dichtstelle herrscht nach einmaligem Betätigen des Sprühventils 12 in der Ringnut 78, der Queröffnung 80, der mittigen Bohrung 82, der Druckregelkammer 84 und dem Inneren des Sprühventilgehäuses 22 der gewünschte Regeldruck von beispielsweise 3 bar, wobei die Rückstellfeder 90 in der Kammer 89 komprimiert ist und sich der Kolbenfortsatz 92 bei dem gezeigten Ausführungsbeispiel am Boden 58, was nicht zwingend der Fall sein muß, angelegt hat. Der Regeldruck wirkt in der Druckregelkammer auf die axiale Stirnfläche des Regelkolbens 52, während sich im mittleren Bereich die Wirkung des Druckes auf die sich gegenüberliegenden Axialflächen der beiden Schaftabschnitte 74, 76 des Kolbens 52 aufhebt.
Erfolgt eine Entnahme von Doseninhalt durch Betätigen des Sprühventils 12 sinkt der Druck u. a. in der Druckregelkammer 84 ab, d. h. die auf den Kolben 52 entgegen der Rückstellfeder 90 wirkenden Axialkräfte nehmen ab. Dadurch ist die Rückstellfeder 90 ggf. im Zusammenwirken mit einem in der Kammer 89 bestehenden Überdruck in der Lage, den Kolben in Richtung der in Fig. 4 gezeigten Endstellung zu bewegen, wobei allerdings die in Fig. 4 gezeigte, durch einen Ringanschlag 106 am oberen Schaftabschnitt 76 durch Anlage an der Zwischenwand 30 begrenzte Endstellung in der Regel nur bei sehr starker Entnahme oder bereits sehr stark abgesenktem Druckniveau im Doseninneren erreicht wird. Der Ringanschlag kann zur Vermeidung einer großflächigen Anlage, die Einfluß auf das Regelverhalten haben könnte, mit einer Schräge, d. h. einem linienförmigen Kontaktbereich, oder Punkten bzw. Warzen für eine punktuelle Anlage versehen sein. In jedem Fall wird die Dichtfläche 68, 69 des oberen Schaftabschnitts 76 vom jeweiligen Dichtelement 66, 67 abgehoben, so daß sich zwischen den Queröffnungen 54 und der Ringnut 78 ein Querschnitt öffnet, durch den der Doseninhalt zum Sprühventil gelangen kann. Nach dem Verschließen des Sprühventils sorgt das Regeldruckniveau u. a. in der Druckregelkammer 84 dafür, daß der Kolben 52 wieder in seine in Fig. 1 gezeigte Stellung gelangt und damit wiederum eine Abdichtung der unter dem Regeldruckniveau stehenden Bereiche von dem höheren Druckniveau im Doseninneren erreicht wird. Damit wird sichergestellt, daß das Sprühventil 12 immer auf einem nahezu konstanten Druckniveau von beispielsweise 3 bar arbeiten kann, während sich das Druckniveau im Doseninneren von anfänglich beispielsweise 10 oder 12 bar kontinuierlich verringert. Hierdurch wird ein vorteilhaftes Zerstäuben des Aerosols beim Ausbringen aus dem Sprühkopf (nicht gezeigt) erreicht. Da keine Axialfläche des Kolbens 52 dem im Doseninneren vorherrschenden Druck ausgesetzt ist, entsteht keine vom Füllgrad der Dose abhängige Störkraft, so daß eine besonders hohe Regelgenauigkeit erreicht wird, ohne daß ein besonders großer Außenumfang des Druckregulierventils 40 notwendig wäre. Die Volumenverluste durch das im Vergleich zu Aerosoldosen mit Treibgasbefüllung zusätzlich anzuordnende Druckregulierventil 14 werden daher minimiert. Die Einzelteile der gezeigten Einheit 10 können in an sich bekannter und geeigneter Weise verrastet, verpreßt, verklebt oder verschweißt sein.
In Fig. 5 ist eine weitere Ausführungsform einer Einheit 110 aus einem Sprühventil 12 und einem Druckregulierventil 14 gezeigt, wobei im Vergleich zu der zuvor beschriebenen Ausführungsform gleich ausgebildete Bauteile mit gleichen Bezugszeichen versehen sind. Im Unterschied zu der zuvor beschriebenen Ausführungsform ist anstelle eines becherförmigen Außengehäuses 98 ein Ringaufsatz 112 mit einem angeformten Stutzen 114 auf dem Innengehäuse 56 angebracht, an welchem ein Steigrohr 116 befestigt ist. Eine solche Lösung kann u. U. noch weniger Bauvolumen beanspruchen, als die in Fig. 1 und 4 gezeigte Lösung.
In Fig. 6 ist eine Anordnung eines Druckregulierventils 200 gezeigt, mit Hilfe dessen ein Sprühventil 202 für eine treibgaslose Aerosolsprühdose mit Überdruckbefüllung nachgerüstet werden kann. Das Sprühventil 202 sitzt dabei in bekannter Weise in einem Ventilteller 204, wobei ein Gehäuse 206 des Sprühventils 202 mit einem Stutzen 208 zum Aufsetzen eines Verbindungsrohres oder -schlauches 210 ausgebildet ist. Üblicherweise reicht ein dort anzubringendes Steigrohr bis zur tiefsten Stelle des Bodens der Aerosolsprühdose, im vorliegenden Fall dient das Rohr jedoch lediglich dazu, das Sprühventil 202 mit dem Druckregulierventil 200 zu verbinden. Hierzu weist das Druckregulierventil 200 ein oberes Gehäuseteil 212 auf, das mit einem Stutzen 214 zum Verbinden mit dem Verbindungsrohr 210 versehen ist, dessen mittige Durchgangsbohrung 216 mit der Druckregelkammer 84 verbunden ist. In dem oberen Gehäuseteil 212 ist auch das Überdruckfüllventil 34 ausgebildet, wobei lediglich die Durchtrittsöffnungen 40 entsprechend verlängert bis zur mittigen Durchgangsbohrung 216 des Gehäuseteils 212 ausgeführt sind. Anstelle eines Stutzens 214 kann das Gehäuseteil auch mit einem hülsenartigen Steckteil versehen sein, das unmittelbar auf den Stutzen 208 des Sprühventils 202 aufgesetzt werden kann. Im übrigen entspricht das Überdruckfüllventil 200 der in Fig. 1 und 4 gezeigten Ausführungsform und arbeitet auch in entsprechender Weise.
Die in Fig. 6 gezeigte Lösung bietet den Vorteil, daß die bisher bei treibgasbefüllten Aerosolsprühdosen eingesetzten Sprühventile mit ihren Ventiltellern weiter verwendet werden können, wobei ggf. lediglich eine Anpassung an das höhere Druckniveau erforderlich ist. Dadurch können vorhandene Produktionsanlagen ohne Umstellung kostengünstig weiter eingesetzt werden und es wird in einem einfachen Montagevorgang das Druckregulierventil 200 dem Sprühventil 202 einfach vorgeschaltet.
In Fig. 8 ist eine weitere Ausführungsform eines Druckregulierventils 300 gezeigt, das in seiner Funktion im wesentlichen dem in Fig. 6 gezeigten Überdruckventil 10 entspricht, bei welchem jedoch ein Kolben 352 im Vergleich zu der zuvor beschriebenen Ausführungsform auf dem Kopf stehend, d. h. mit unten, dem Einlaßstutzen 302 zugewandter Druckregelkammer 384 ausgebildet ist. Die Durchtrittsöffnung 304 steht über eine Axialbohrung 306 in einem Gehäuseeinsatz 308 mit einer Queröffnung 354 in Verbindung, durch welche der Doseninhalt bei von dem Dichtelement 366 freigegebener Dichtstelle über eine Queröffnung 380 und eine mittige Bohrung 382 in die Druckregelkammer 384 strömen kann. Die Druckregelkammer 384 steht wiederum über eine Drosselbohrung 385, die für eine weitere Druckminderung sorgen kann, und einen seitlich zwischen dem Gehäuseeinsatz 308 und dem Ventilgehäuse 398 verlaufenden Verbindungskanal 399 mit der Auslaßseite 316 in Verbindung, die zum nachgeschalteten Sprühventil (in Fig. 8 nicht gezeigt) führt. Eine in einer mit Hilfe einer Dichtung 386 druckdicht abgeschlossenen Kammer 389 sitzende Druckfeder 390 verlagert wiederum den Regelkolben 352 bei einem den Regeldruck unterschreitenden Druck in der Regelkammer 384 in die in Fig. 8 dargestellte geöffnete Stellung. Auch eine Möglichkeit zur Überdruckbegasung, ähnlich den zuvor beschriebenen Ausführungsformen, ist denkbar und durch eine entsprechend angepaßte Gehäuseform leicht realisierbar.
In Fig. 9 ist ein Längsschnitt eines weiteren Druckregulierventils 400 gezeigt, das in seinem Aufbau der in Fig. 1 und 7 gezeigten Ausführungsform sehr ähnelt, weshalb für funktionsgleiche Bauteile auch gleiche Bezugszeichen vergeben worden sind. Wiederum kann eine Überdruckbegasung im oberen Bereich des Ventilgehäuses vorgesehen sein.
Ein erster Unterschied des Druckregulierventils nach Fig. 9 besteht darin, daß anstelle eines ringscheibenförmigen Dichtelements ein O-Ring als Dichtelement 466 Verwendung findet. Dieser O-Ring 466 ist wiederum zwischen dem becherförmigen Innengehäuse 56 und einem oberen Gehäuseteil 412 (ähnlich der Ausführungsform gemäß Fig. 6) eingeklemmt, wobei das Innengehäuse 56 und das obere Gehäuseteil 412 jeweils einen Ringvorsprung 401, 403 aufweisen, die für einen linienförmigen Dichtkontakt mit dem Dichtelement 466 sorgen, der sich unter vielen Einsatzbedingungen als günstiger im Vergleich zu einer flächigen Anlage erwiesen hat. Ein solcher Ringvorsprung ist auch beim Einsatz eines ringscheibenförmigen Dichtelements von Vorteil. Im übrigen sind bei einem O-ringförmigen Dichtelement 466 die Verformungen in axialer Richtung geringer und es ist mit Hinblick auf die Lage des Kolbens eine genauere Abdichtung möglich.
Das obere Gehäuseteil 412 verfügt wiederum über eine oder mehrere radiale Durchgangsöffnungen 454, die bei geöffneter Dichtstelle gemäß Fig. 9 ein Ausströmen des Doseninhaltes durch die Öffnungen 80, 82 in die Druckregelkammer 84 und weiter durch eine Drosselbohrung 485, die für eine weitere Druckminderung beim Ausströmen sorgt, in die Durchgangsbohrung 216 zum Sprühventil (nicht gezeigt) hin ermöglicht.
Sobald der Druck in der Druckregelkammer 84 wiederum das Schaltniveau erreicht hat, wird der Kolben 452 in die in Fig. 10 gezeigte Stellung bewegt, in welcher die Dichtstelle durch Zusammenwirken des Dichtelements 466 mit einer Dichtflanke 468 des Kolbens abdichtend zusammenwirkt, so daß der Doseninhalt nicht mehr durch die Bohrungen 80, 82 in die Druckregelkammer 84 einströmen kann. Bei der in Fig. 10 gezeigten Ausführungsform ist im übrigen radial außerhalb des Dichtelements 466 auch im Bereich der radialen Queröffnungen 454 eine Wandung 455 vorgesehen, die das Dichtelement 466 in diesem Bereich radial stabilisiert.
Weiterhin ist bei der in Fig. 9 und 10 gezeigten Ausführungsform 400 des Druckregelventils in der druckdicht abgeschlossenen Kammer 89 eine Distanzhülse 491 vorgesehen, mit Hilfe derer die Vorlast der Rückstellfeder 90 regulierbar ist, d. h. je nach Höhe der Distanzhülse 491 läßt sich auch die Regelcharakteristik des Druckregulierventils 400 beeinflussen.
Die in Fig. 8, 9 und 10 gezeigten Varianten 300, 400 eines Druckregulierventils eignen sich für eine Anordnung ähnlich Fig. 6, bei welcher das Druckregulierventil 300 oder 400 mit Hilfe eines Schlauchs oder Stutzens einem Sprühventil vorgeschaltet wird.
Eine den Ausführungsformen gemäß Fig. 8, 9 und 10 gemeinsame Besonderheit besteht weiterhin darin, daß die zum Abdichten des Kolbens 452 gegenüber den Gehäuseteilen 56, 412 verwendeten Dichtringe 86, 94 in Nuten 488 bzw. 496 angeordnet sind, die breiter als die Dichtringe 86, 94 sind, so daß diese sich bei einer Axialbewegung des Kolbens 452 abrollen können und nicht nur rein gleitend bewegt werden. Hierdurch lassen sich die Reibungsverluste bei der Kolbenbewegung mindern, was wiederum der Regelgenauigkeit zugute kommt. Dieses Merkmal ist selbstverständlich auch bei den anderen beschriebenen Ausführungsformen vorteilhaft einsetzbar.
Abwandlungen der gezeigten Druckregulierventile sind ohne weiteres denkbar, insbesondere auch im Hinblick auf die Lage der Dichtstelle und die Ausbildung des Kolbens, wobei darauf zu achten ist, daß keine Axialflächen des Druckregelkolbens mit dem erhöhten, mit fortschreitender Entleerung des Doseninhaltes abnehmenden Doseninnendruck beaufschlagt werden.

Claims (12)

  1. Druckregulierventil zum Einsatz in einer Aerosolsprühdose mit einem Sprühventil (12; 202), wobei das Druckregulierventil (14; 200) ein in dem mit komprimiertem Gas befüllten Doseninneren herrschendes Druckniveau auf ein Regeldruckniveau absenkt, auf welchem das Sprühventil (12; 202) arbeitet, das Druckregulierventil (14; 200) einen in einem Gehäuse (48, 60) geführten Regelkolben (52) aufweist, der zwischen einem in einer Druckregelkammer (84) auf die Kolbenfläche wirkenden Druck und einer Rückstellkraft im Gleichgewicht gehalten ist, und zwischen dem Regelkolben (52) und dem Gehäuse (48, 60) eine Dichtstelle (66, 68; 67, 69) vorgesehen ist, die bei einem Druck in der Druckregelkammer (84) oberhalb des Regeldruckniveaus verschlossen ist, dadurch gekennzeichnet, daß eine Abdichtung (86, 66; 67) vorgesehen ist, die ein freies, von der Druckregelkammer (84) abgewandtes Ende des Kolbens (52, 74) gegen den Doseninnendruck und den Regeldruck abdichtet, so daß die auf Axialflächen am freien Ende des Kolbens (52) wirkenden Drücke unabhängig vom Niveau des Doseninnendrucks sind.
  2. Druckregulierventil nach Anspruch 1, dadurch gekennzeichnet, daß die Dichtstelle (66, 68; 67, 69) in einem mittleren Bereich des Regelkolbens (52) vorgesehen ist, der an dieser Stelle vorzugsweise eine Ringnut (78) aufweist und die Druckregelkammer (84) über Öffnungen (80, 82) in dem Kolben (52) mit der Dichtstelle (66, 68; 67, 69) in Verbindung steht.
  3. Druckregulierventil nach Anspruch 2, dadurch gekennzeichnet, daß der Kolbenschaft (52, 74, 76) beidseitig der Dichtstelle (66, 68; 67, 69) gegen das zylindrische Gehäuse (48, 60) abgedichtet ist, wobei auf einer Seite der Dichtstelle eine erste Dichtung (86) als Teil der Abdichtung des freien Endes vorgesehen ist und vorzugsweise die Abdichtung des Kolbenschaftes (74, 76) gegen das zylindrische Gehäuse (48, 60) mit O-Ringen (86, 94) erfolgt, die in Nuten (88, 96) angeordnet sind, die breiter als der jeweilige O-Ring (86, 94) ausgebildet sind, so daß die Breite der Nuten (88, 96) derart gewählt ist, daß der O-Ring (86, 94) im Verstellbereich des Kolbens (52) im wesentlichen reibungsfrei auf dem Nutgrund und der gegenüberliegenden Dichtfläche der Kolbenaußenseiten bzw. der Zylinderinnenseiten (48, 60) abrollt.
  4. Druckregulierventil nach einem der vorhergehenden Ansprüche, dadurch gekennzeichnet, daß die Rückstellkraft durch eine Rückstellfeder (90) aufgebaut ist, die in einer geschlossenen Kammer (89) angeordnet ist, die durch die erste Dichtung (86) abgedichtet ist, wobei vorzugsweise in der geschlossenen Kammer (89) eine Distanzhülse oder -scheibe (491) zur Einstellung der Federvorspannkraft anordenbar ist und/oder zwischen Kolben (52) und Gehäuse (30, 58) wenigstens in einer Bewegungsrichtung ein Axialanschlag (92, 106) zur Begrenzung der,Beweglichkeit des Kolbens (52) vorgesehen ist.
  5. Druckregulierventil nach einem der vorhergehenden Ansprüche, dadurch gekennzeichnet, daß im Bereich der Dichtstelle ein ringscheibenförmiges (66; 67) oder O-ringförmiges (466) Dichtelement vorgesehen ist, das an dem Kolben oder dem Gehäuse (48; 56, 64) festgelegt ist und mit einem Absatz (68; 468) oder einer Fläche (69) am Gehäuse bzw. dem Kolben (52, 76) abdichtend zusammenwirkt, wenn der Druck in der Druckregelkammer (84) das Regeldruckniveau übersteigt.
  6. Druckregulierventil nach Anspruch 5, dadurch gekennzeichnet, daß das zylindrische Gehäuse (50) zwei Teile (48, 60) aufweist, zwischen denen das Dichtelement (66; 67; 466) festgelegt ist, wobei bei in beiden Axialrichtungen von der Dichtstelle (66. 68; 67, 69) aus gesehen unterschiedlich ausgeführten Kolbendurchmessern die Innendurchmesser der Teile (48, 60) den Kolbendurchmessern angepaßt sind und vorzugsweise im Kontaktbereich mit dem Dichtelement (466) an wenigstens einem der beiden das Dichtelement (466) festlegenden Teile (56, 412) ein ringförmiger schmaler Grat oder Vorsprung (401, 403) zum Erreichen einer linienförmigen Abdichtung vorgesehen ist.
  7. Druckregulierventil nach Anspruch 5 oder 6, dadurch gekennzeichnet, daß das O-ring- oder ringscheibenförmige Dichtelement (66; 67; 466) radial nach innen in die Ringnut (78) in dem Kolben (52) vorsteht.
  8. Druckregulierventil nach einem der vorhergehenden Ansprüche, dadurch gekennzeichnet, daß das Gehäuseteil (56, 60) zur Aufnahme des freien Endes (74, 92) des Kolbens von einem becherförmigen Gehäuseteil (98) umgeben ist, das einen Teil der Verbindung des Doseninneren mit der Dichtstelle (66, 68; 67, 69) bildet oder die Dichtstelle (66, 68; 67, 69) mit einem am Gehäuse (112) angeformten oder angebrachten Stutzen (114) mit dem Doseninneren verbunden ist.
  9. Druckregulierventil nach einem der vorhergehenden Ansprüche, dadurch gekennzeichnet, daß es über einen Stutzen (214), eine Steckhülse oder dgl. verfügt, mit Hilfe derer es unmittelbar oder unter Verwendung eines Schlauch- oder Rohrstückes (210) mit einem Stutzen (208) eines Sprühventils (202) verbindbar ist, wobei vorzugsweise an seiner Ausgangsseite zum Sprühventil (12; 202) ein Überdruckventil (34), das oberhalb eines vorbestimmten Grenzdruckes einen Querschnitt zum Begasen der Aerosoldose freigibt, und/oder zwischen der Druckregelkammer (84) und dem Sprühventil (12; 202) eine Drosselstelle (385; 485) vorgesehen ist.
  10. Druckreduzierventil nach einem vorhergehenden Ansprüche, dadurch gekennzeichnet, daß die Druckregelkammer (84) auf der dem Sprühventil (12; 202) abgewandten Seite des Kolbens liegt und ein seitlich an dem Kolben vorbei geführter Verbindungskanal (399) die Druckregelkammer (84) mit dem Sprühventil (12; 202) verbindet.
  11. Aerosoldose mit einem Sprühventil (12; 202) und einem diesem vorgeschalteten Druckregulierventil (14; 200) nach einem der vorhergehenden Ansprüche.
  12. Ventileinheit zum Einbau in eine Aerosolsprühdose, dadurch gekennzeichnet, daß ein Sprühventil (12) und ein Druckregulierventil (14) nach einem der Ansprüche 1 bis 17 als montagefertige Einheit (10) ausgebildet sind.
EP03761560A 2002-06-28 2003-06-30 Druckregulierventil Expired - Lifetime EP1525144B1 (de)

Applications Claiming Priority (3)

Application Number Priority Date Filing Date Title
DE2002129185 DE10229185A1 (de) 2002-06-28 2002-06-28 Druckregulierventil
DE10229185 2002-06-28
PCT/EP2003/006917 WO2004002853A1 (de) 2002-06-28 2003-06-30 Druckregulierventil

Publications (2)

Publication Number Publication Date
EP1525144A1 EP1525144A1 (de) 2005-04-27
EP1525144B1 true EP1525144B1 (de) 2005-12-14

Family

ID=29795987

Family Applications (1)

Application Number Title Priority Date Filing Date
EP03761560A Expired - Lifetime EP1525144B1 (de) 2002-06-28 2003-06-30 Druckregulierventil

Country Status (12)

Country Link
US (1) US7494075B2 (de)
EP (1) EP1525144B1 (de)
JP (1) JP2005531468A (de)
CN (1) CN100460291C (de)
AT (1) ATE312775T1 (de)
AU (1) AU2003258500A1 (de)
CA (1) CA2511747A1 (de)
DE (2) DE10229185A1 (de)
ES (1) ES2253704T3 (de)
MX (1) MXPA04012794A (de)
RU (1) RU2329929C2 (de)
WO (1) WO2004002853A1 (de)

Families Citing this family (18)

* Cited by examiner, † Cited by third party
Publication number Priority date Publication date Assignee Title
US7278590B1 (en) 1992-02-24 2007-10-09 Homax Products, Inc. Systems and methods for applying texture material to ceiling surfaces
US7677420B1 (en) 2004-07-02 2010-03-16 Homax Products, Inc. Aerosol spray texture apparatus for a particulate containing material
US7487893B1 (en) 2004-10-08 2009-02-10 Homax Products, Inc. Aerosol systems and methods for dispensing texture material
AU2007100166A4 (en) * 2007-03-02 2007-03-29 Magnum Manufacturing Pty Ltd Valve for aerosol containers
US8344056B1 (en) 2007-04-04 2013-01-01 Homax Products, Inc. Aerosol dispensing systems, methods, and compositions for repairing interior structure surfaces
US9382060B1 (en) 2007-04-05 2016-07-05 Homax Products, Inc. Spray texture material compositions, systems, and methods with accelerated dry times
GB0719257D0 (en) * 2007-10-04 2007-11-14 3M Innovative Properties Co Metered dose dispenser
DE102008018561A1 (de) * 2008-03-01 2009-09-03 Daimler Ag Sicherheitsventil für einen Druckgasspeicher
GB201012154D0 (en) 2010-07-20 2010-09-01 Linde Ag Closure device
US9248457B2 (en) 2011-07-29 2016-02-02 Homax Products, Inc. Systems and methods for dispensing texture material using dual flow adjustment
US9156042B2 (en) 2011-07-29 2015-10-13 Homax Products, Inc. Systems and methods for dispensing texture material using dual flow adjustment
US9156602B1 (en) 2012-05-17 2015-10-13 Homax Products, Inc. Actuators for dispensers for texture material
US9435120B2 (en) 2013-03-13 2016-09-06 Homax Products, Inc. Acoustic ceiling popcorn texture materials, systems, and methods
CA2859537C (en) 2013-08-19 2019-10-29 Homax Products, Inc. Ceiling texture materials, systems, and methods
CN103612835B (zh) * 2013-12-03 2015-09-09 北京北机机电工业有限责任公司 阀体结构及设置该阀体结构的粉剂瓶
CN103742472B (zh) * 2013-12-30 2017-01-04 邱金全 一种调温调压阀
USD787326S1 (en) 2014-12-09 2017-05-23 Ppg Architectural Finishes, Inc. Cap with actuator
RU172106U1 (ru) * 2016-10-27 2017-06-28 Иван Михайлович Ликстанов Устройство для выдачи предварительно дозированного количества вещества, находящегося в суспендированном виде

Family Cites Families (19)

* Cited by examiner, † Cited by third party
Publication number Priority date Publication date Assignee Title
DE1183732B (de) * 1963-07-15 1964-12-17 Wieden & Co G M B H Fuellventil fuer Gasfeuerzeuge
GB1115926A (en) * 1964-06-03 1968-06-06 Honorio Sanjuan Nadal Improvements in aerosol valves
US3378205A (en) * 1966-05-31 1968-04-16 Du Pont Aerosol valve for comestibles
US3666148A (en) * 1969-10-13 1972-05-30 Gillette Co Aerosol valve with safety relief device
GB1527224A (en) * 1975-09-17 1978-10-04 Metal Box Co Ltd Device for producing a jet or spray of liquid
FR2502732B1 (fr) * 1981-03-30 1985-08-30 Valois Sa Valve doseuse a position inversee pour recipient d'aerosol
IN174351B (de) * 1988-03-08 1994-11-12 British Tech Group
DE8811811U1 (de) * 1988-09-17 1988-10-27 Ophardt Product Hermann Ophardt, 4174 Issum Kolbenpumpe zum Dosieren fließfähiger Substanzen
CA2009657A1 (en) * 1989-02-27 1990-08-27 Simon Arieh Valve for aerosol container
US5011047A (en) * 1990-09-05 1991-04-30 I.P.R.S. Dispensing apparatus
FR2670139B1 (fr) * 1992-01-15 1993-12-24 Valois Valve doseuse utilisable en position inversee.
US5458289A (en) * 1993-03-01 1995-10-17 Bespak Plc Liquid dispensing apparatus with reduced clogging
DE19725688A1 (de) * 1997-06-18 1998-12-24 Wella Ag Ventileinrichtung
US6039306A (en) * 1998-01-07 2000-03-21 Precision Valve Corporation Aerosol valve
FR2774077B1 (fr) * 1998-01-23 2000-04-07 Oreal Valve a regulation de debit de sortie, et recipient equipe d'une telle valve
NL1012754C2 (nl) * 1999-07-30 2001-02-01 Presstech N V Drukcontrole-inrichting.
DE10029228A1 (de) * 2000-06-14 2002-01-03 Thomas Gmbh Aerosoldose mit Druckreduzierventil
US6394364B1 (en) * 2000-09-29 2002-05-28 Robert Henry Abplanalp Aerosol spray dispenser
US6880733B2 (en) * 2001-04-11 2005-04-19 Jin-Ha Park Aerosol valve assembly and aerosol vessel

Also Published As

Publication number Publication date
CN100460291C (zh) 2009-02-11
US7494075B2 (en) 2009-02-24
CN1665729A (zh) 2005-09-07
WO2004002853A1 (de) 2004-01-08
US20050205133A1 (en) 2005-09-22
RU2005102005A (ru) 2005-07-10
ATE312775T1 (de) 2005-12-15
AU2003258500A1 (en) 2004-01-19
CA2511747A1 (en) 2004-01-08
EP1525144A1 (de) 2005-04-27
MXPA04012794A (es) 2005-03-31
JP2005531468A (ja) 2005-10-20
ES2253704T3 (es) 2006-06-01
DE50301948D1 (de) 2006-01-19
RU2329929C2 (ru) 2008-07-27
DE10229185A1 (de) 2004-02-05

Similar Documents

Publication Publication Date Title
EP1525144B1 (de) Druckregulierventil
EP0241880B1 (de) Steuerventil mit einem Druckausgleichsstift und einem die Verbindung zwischen einem Einlass und einem Auslass steuernden Hauptventilteil
DE3107775C2 (de)
DE4310232C2 (de) Notabschaltventil mit Regulator
DE3616438A1 (de) Hydropneumatische verstelleinheit
EP0258812A1 (de) Stufenlos blockierbare Verstelleinrichtung
EP1851098B1 (de) Kombinierter federspeicher- und betriebsbremszylinder mit einer beatmungseinrichtung
DE2704754A1 (de) Ventilanordnung
DE3803988C2 (de) Hydraulisch schaltbares Wegeventil, vorzugsweise für hydraulische Ausbausysteme u. dgl.
EP0901577B1 (de) Manuell betätigbares hydraulisches vorsteuergerät
DE3311816C1 (de) Druckbegrenzungsventil fuer Druckluftbremsanlagen von Kraftfahrzeugen
EP0222858B1 (de) Rohrtrenner
EP0846904A1 (de) Ventilanordnung mit direkt betätigtem Ventilkörper
DE4234037C2 (de) Ventilanordnung, insbesondere für mobile Arbeitsgeräte
DE19954874A1 (de) Sitzventilsteuerung mit Dichtelement, welches eine verbesserte Lastabweichungssteuerung vorsieht
EP1657470B1 (de) Hydropneumatisches Federelement für Kraftfahrzeuge, insbesondere Kettenfahrzeuge
EP0624746B1 (de) Sperrventil
EP4085209A1 (de) Ventil mit einem rückflussverhinderer
DE4001197C2 (de) Sitzventil
DE10048933A1 (de) Ventil zum Steuern von Flüssigkeiten
DE19541051A1 (de) Zweistufiger Gasdruckregler
EP0845601A1 (de) Startventil
EP0745042A1 (de) Hilfskraftlenkung für kraftfahrzeuge
DE4414189A1 (de) Druckregler
DE19641028A1 (de) Lastabhängig steuerbare Bremskraftregeleinrichtung

Legal Events

Date Code Title Description
PUAI Public reference made under article 153(3) epc to a published international application that has entered the european phase

Free format text: ORIGINAL CODE: 0009012

17P Request for examination filed

Effective date: 20050114

AK Designated contracting states

Kind code of ref document: A1

Designated state(s): AT BE BG CH CY CZ DE DK EE ES FI FR GB GR HU IE IT LI LU MC NL PT RO SE SI SK TR

AX Request for extension of the european patent

Extension state: AL LT LV MK

GRAP Despatch of communication of intention to grant a patent

Free format text: ORIGINAL CODE: EPIDOSNIGR1

GRAS Grant fee paid

Free format text: ORIGINAL CODE: EPIDOSNIGR3

DAX Request for extension of the european patent (deleted)
GRAA (expected) grant

Free format text: ORIGINAL CODE: 0009210

AK Designated contracting states

Kind code of ref document: B1

Designated state(s): AT BE BG CH CY CZ DE DK EE ES FI FR GB GR HU IE IT LI LU MC NL PT RO SE SI SK TR

PG25 Lapsed in a contracting state [announced via postgrant information from national office to epo]

Ref country code: SK

Free format text: LAPSE BECAUSE OF FAILURE TO SUBMIT A TRANSLATION OF THE DESCRIPTION OR TO PAY THE FEE WITHIN THE PRESCRIBED TIME-LIMIT

Effective date: 20051214

Ref country code: CZ

Free format text: LAPSE BECAUSE OF FAILURE TO SUBMIT A TRANSLATION OF THE DESCRIPTION OR TO PAY THE FEE WITHIN THE PRESCRIBED TIME-LIMIT

Effective date: 20051214

Ref country code: FI

Free format text: LAPSE BECAUSE OF FAILURE TO SUBMIT A TRANSLATION OF THE DESCRIPTION OR TO PAY THE FEE WITHIN THE PRESCRIBED TIME-LIMIT

Effective date: 20051214

Ref country code: RO

Free format text: LAPSE BECAUSE OF FAILURE TO SUBMIT A TRANSLATION OF THE DESCRIPTION OR TO PAY THE FEE WITHIN THE PRESCRIBED TIME-LIMIT

Effective date: 20051214

Ref country code: SI

Free format text: LAPSE BECAUSE OF FAILURE TO SUBMIT A TRANSLATION OF THE DESCRIPTION OR TO PAY THE FEE WITHIN THE PRESCRIBED TIME-LIMIT

Effective date: 20051214

Ref country code: IE

Free format text: LAPSE BECAUSE OF FAILURE TO SUBMIT A TRANSLATION OF THE DESCRIPTION OR TO PAY THE FEE WITHIN THE PRESCRIBED TIME-LIMIT

Effective date: 20051214

REG Reference to a national code

Ref country code: GB

Ref legal event code: FG4D

Free format text: NOT ENGLISH

REG Reference to a national code

Ref country code: CH

Ref legal event code: EP

REG Reference to a national code

Ref country code: IE

Ref legal event code: FG4D

Free format text: LANGUAGE OF EP DOCUMENT: GERMAN

REF Corresponds to:

Ref document number: 50301948

Country of ref document: DE

Date of ref document: 20060119

Kind code of ref document: P

PG25 Lapsed in a contracting state [announced via postgrant information from national office to epo]

Ref country code: DK

Free format text: LAPSE BECAUSE OF FAILURE TO SUBMIT A TRANSLATION OF THE DESCRIPTION OR TO PAY THE FEE WITHIN THE PRESCRIBED TIME-LIMIT

Effective date: 20060314

Ref country code: BG

Free format text: LAPSE BECAUSE OF FAILURE TO SUBMIT A TRANSLATION OF THE DESCRIPTION OR TO PAY THE FEE WITHIN THE PRESCRIBED TIME-LIMIT

Effective date: 20060314

Ref country code: SE

Free format text: LAPSE BECAUSE OF FAILURE TO SUBMIT A TRANSLATION OF THE DESCRIPTION OR TO PAY THE FEE WITHIN THE PRESCRIBED TIME-LIMIT

Effective date: 20060314

Ref country code: GR

Free format text: LAPSE BECAUSE OF FAILURE TO SUBMIT A TRANSLATION OF THE DESCRIPTION OR TO PAY THE FEE WITHIN THE PRESCRIBED TIME-LIMIT

Effective date: 20060314

GBT Gb: translation of ep patent filed (gb section 77(6)(a)/1977)

Effective date: 20060317

PG25 Lapsed in a contracting state [announced via postgrant information from national office to epo]

Ref country code: PT

Free format text: LAPSE BECAUSE OF FAILURE TO SUBMIT A TRANSLATION OF THE DESCRIPTION OR TO PAY THE FEE WITHIN THE PRESCRIBED TIME-LIMIT

Effective date: 20060515

REG Reference to a national code

Ref country code: ES

Ref legal event code: FG2A

Ref document number: 2253704

Country of ref document: ES

Kind code of ref document: T3

PGFP Annual fee paid to national office [announced via postgrant information from national office to epo]

Ref country code: BE

Payment date: 20060613

Year of fee payment: 4

PG25 Lapsed in a contracting state [announced via postgrant information from national office to epo]

Ref country code: HU

Free format text: LAPSE BECAUSE OF FAILURE TO SUBMIT A TRANSLATION OF THE DESCRIPTION OR TO PAY THE FEE WITHIN THE PRESCRIBED TIME-LIMIT

Effective date: 20060615

PGFP Annual fee paid to national office [announced via postgrant information from national office to epo]

Ref country code: ES

Payment date: 20060619

Year of fee payment: 4

PGFP Annual fee paid to national office [announced via postgrant information from national office to epo]

Ref country code: FR

Payment date: 20060629

Year of fee payment: 4

PG25 Lapsed in a contracting state [announced via postgrant information from national office to epo]

Ref country code: MC

Free format text: LAPSE BECAUSE OF NON-PAYMENT OF DUE FEES

Effective date: 20060630

PGFP Annual fee paid to national office [announced via postgrant information from national office to epo]

Ref country code: IT

Payment date: 20060630

Year of fee payment: 4

REG Reference to a national code

Ref country code: IE

Ref legal event code: FD4D

ET Fr: translation filed
PGFP Annual fee paid to national office [announced via postgrant information from national office to epo]

Ref country code: DE

Payment date: 20060819

Year of fee payment: 4

PLBE No opposition filed within time limit

Free format text: ORIGINAL CODE: 0009261

STAA Information on the status of an ep patent application or granted ep patent

Free format text: STATUS: NO OPPOSITION FILED WITHIN TIME LIMIT

26N No opposition filed

Effective date: 20060915

PG25 Lapsed in a contracting state [announced via postgrant information from national office to epo]

Ref country code: AT

Free format text: LAPSE BECAUSE OF NON-PAYMENT OF DUE FEES

Effective date: 20060630

BERE Be: lapsed

Owner name: *THOMAS G.M.B.H.

Effective date: 20070630

REG Reference to a national code

Ref country code: CH

Ref legal event code: PL

GBPC Gb: european patent ceased through non-payment of renewal fee

Effective date: 20070630

NLV4 Nl: lapsed or anulled due to non-payment of the annual fee

Effective date: 20080101

PG25 Lapsed in a contracting state [announced via postgrant information from national office to epo]

Ref country code: BE

Free format text: LAPSE BECAUSE OF NON-PAYMENT OF DUE FEES

Effective date: 20070630

REG Reference to a national code

Ref country code: FR

Ref legal event code: ST

Effective date: 20080229

PG25 Lapsed in a contracting state [announced via postgrant information from national office to epo]

Ref country code: DE

Free format text: LAPSE BECAUSE OF NON-PAYMENT OF DUE FEES

Effective date: 20080101

Ref country code: NL

Free format text: LAPSE BECAUSE OF NON-PAYMENT OF DUE FEES

Effective date: 20080101

Ref country code: LI

Free format text: LAPSE BECAUSE OF NON-PAYMENT OF DUE FEES

Effective date: 20070630

Ref country code: CH

Free format text: LAPSE BECAUSE OF NON-PAYMENT OF DUE FEES

Effective date: 20070630

PG25 Lapsed in a contracting state [announced via postgrant information from national office to epo]

Ref country code: GB

Free format text: LAPSE BECAUSE OF NON-PAYMENT OF DUE FEES

Effective date: 20070630

PG25 Lapsed in a contracting state [announced via postgrant information from national office to epo]

Ref country code: EE

Free format text: LAPSE BECAUSE OF FAILURE TO SUBMIT A TRANSLATION OF THE DESCRIPTION OR TO PAY THE FEE WITHIN THE PRESCRIBED TIME-LIMIT

Effective date: 20051214

PG25 Lapsed in a contracting state [announced via postgrant information from national office to epo]

Ref country code: TR

Free format text: LAPSE BECAUSE OF FAILURE TO SUBMIT A TRANSLATION OF THE DESCRIPTION OR TO PAY THE FEE WITHIN THE PRESCRIBED TIME-LIMIT

Effective date: 20051214

Ref country code: LU

Free format text: LAPSE BECAUSE OF NON-PAYMENT OF DUE FEES

Effective date: 20060630

REG Reference to a national code

Ref country code: ES

Ref legal event code: FD2A

Effective date: 20070702

PG25 Lapsed in a contracting state [announced via postgrant information from national office to epo]

Ref country code: FR

Free format text: LAPSE BECAUSE OF NON-PAYMENT OF DUE FEES

Effective date: 20070702

PG25 Lapsed in a contracting state [announced via postgrant information from national office to epo]

Ref country code: ES

Free format text: LAPSE BECAUSE OF NON-PAYMENT OF DUE FEES

Effective date: 20070702

PG25 Lapsed in a contracting state [announced via postgrant information from national office to epo]

Ref country code: CY

Free format text: LAPSE BECAUSE OF FAILURE TO SUBMIT A TRANSLATION OF THE DESCRIPTION OR TO PAY THE FEE WITHIN THE PRESCRIBED TIME-LIMIT

Effective date: 20051214

PG25 Lapsed in a contracting state [announced via postgrant information from national office to epo]

Ref country code: IT

Free format text: LAPSE BECAUSE OF NON-PAYMENT OF DUE FEES

Effective date: 20070630