EP1463018B1 - Vorrichtung zur audiovisuellen Präsentation von Ton und Bild - Google Patents
Vorrichtung zur audiovisuellen Präsentation von Ton und Bild Download PDFInfo
- Publication number
- EP1463018B1 EP1463018B1 EP04006253A EP04006253A EP1463018B1 EP 1463018 B1 EP1463018 B1 EP 1463018B1 EP 04006253 A EP04006253 A EP 04006253A EP 04006253 A EP04006253 A EP 04006253A EP 1463018 B1 EP1463018 B1 EP 1463018B1
- Authority
- EP
- European Patent Office
- Prior art keywords
- monitor
- movement
- memory
- screen
- control unit
- Prior art date
- Legal status (The legal status is an assumption and is not a legal conclusion. Google has not performed a legal analysis and makes no representation as to the accuracy of the status listed.)
- Expired - Lifetime
Links
Images
Classifications
-
- G—PHYSICS
- G09—EDUCATION; CRYPTOGRAPHY; DISPLAY; ADVERTISING; SEALS
- G09F—DISPLAYING; ADVERTISING; SIGNS; LABELS OR NAME-PLATES; SEALS
- G09F27/00—Combined visual and audible advertising or displaying, e.g. for public address
Definitions
- the present invention relates to a device for audiovisual presentation of sound and image, in particular for advertising purposes, with a memory and a screen for displaying image information from the memory.
- the invention provides a completely novel audiovisual presentation device in which picture and sound contents are tuned to the movement of the display medium, the screen.
- the advertised product is thus always present and offers a highly efficient advertising platform. Since the display medium in the form of the screen according to the invention represents the actor of the presentation, it attracts the attention of the public concerned, be it professionals or end users, to an extent that is not feasible by the previous audiovisual presentation device with static screen through the long-standing habituation effect ,
- the screen drive unit comprises a rotary drive for rotating the screen from an axis perpendicular to the screen, preferably around the screen center, so that this presentation medium can be correlated with the image information and optionally the sound information.
- the movement in this case the Rotational motion of the screen is replicated to the representation of image and / or sound on the screen.
- a modification of the image information read from the image memory takes place as a function of the screen movement or position, in particular by disassembling and reassembling or synthesizing the decomposed image content as a function of the screen movement.
- the image information displayed on it is subdivided into image segments, which are moved apart during a further rotation of the screen and are reassembled to the original image during a subsequent movement of the screen.
- This dynamic image design as a function of the screen movement represents a novel form of presentation that draws a viewer involuntarily into the action on the screen.
- the screen may attractively follow the ride of a skier or a bob by simulating the rhythmic motion of this sports device through an angular limited rotation of the screen in a clockwise and counterclockwise direction.
- the rotary drive provided for the rotary movement of the screen preferably comprises a low-friction rotary bearing in order to be able to realize a screen rotation in the most arbitrary speed, acceleration and direction possible.
- a rotary transformer for the transmitted between the control unit and the screen signals or data and / or its Power provided.
- the signal or data transmission can alternatively be made without contact.
- the correlation between screen movement and image information is implemented by implementing a control loop for the synchronization of screen movement and image information.
- control loop for a dynamic synchronization of the screen movement is designed with the image information such that in addition to a constant speed of this movement (for example, rotational movement) whose acceleration and deceleration are freely definable.
- control loop provides bidirectional data transmission between the screen drive unit and the control unit with constant comparison of the actual value of the image information with the target value of the screen movement and the actual value of the screen movement with the target value of the image information in front.
- control loop according to the invention is preferably realized in the form of a programmable software.
- control loop or the control unit preferably with the involvement of a computer, especially a personal computer.
- image and possibly the sound information is stored in a memory of the computer as well as the motion data for the screen drive.
- a content player (or a data player) acted upon by the contents of the memory is implemented, above all, as software, which stores the image and, if appropriate, audio data stored in the memory of the computer and the movement data on the basis of timeline data (clock data or time code data) plays, which are also stored in memory.
- the computer preferably implements a motion player (eg, as software) that communicates bidirectionally with the output of the content player and the screen drive unit based on a common trigger signal for memory, content player, and motion player.
- a motion player eg, as software
- the sound information is included in the control of the screen drive by computer.
- the moving screen according to the invention does not present a safety risk
- safety information is exchanged between the drive unit and / or screen and control unit, especially with respect to maximum speed, acceleration and safety distance to the environment, the drive unit possibly being stopped when the maximum values are exceeded becomes.
- the screen is preferably a matrix display, especially a plasma or LCD display.
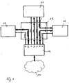
- the audiovisual presentation device shown in Fig. 1 comprises a screen 10, preferably in the form of a matrix display, such as a plasma or LCD display, a drive unit 11 for moving the matrix display 10, a control unit 12 for controlling the movement of the Screen 10 via the drive unit 11 and an audio unit 13 for reproducing sound information.
- Sound and image information as well as movement data are stored, preferably in digital format, in a memory 14, which is in data communication with the control unit 12, as indicated by an arrow, which starts from the memory 14 and points to the control unit 12.
- the control unit 12 communicates with the screen 10, the drive unit 11 and the audio unit 13 as indicated by arrows, partly in two-way communication, and the entirety of these communication means is schematically summarized as the central communication unit 15 in FIG.
- the communication terminals of the control unit 12 are designated A, B, C, D, E, F, K and form the starting point or end point of the arrows used in FIG. 1 to designate the communication.
- A denotes a communication line from the control unit 12 to the audio unit 13, and this communication line is for transmitting a warning signal from the control unit 12 to the audio unit 13.
- This warning signal is generated in the control unit 12 together with a fault message signal, which emanates from the screen 10 and is transmitted via the communication line K to the control unit 12.
- An audio signal is transmitted from the memory 14 to the audio unit 13 via the communication line B through the control unit 12.
- a non-stop actuation signal is transmitted from the control unit 12 to the drive unit 11 via the communication line C.
- An action signal is transmitted from the control unit 12 to the drive unit 11 via the communication line D.
- a reaction signal corresponding to this action is transmitted from the drive unit 11 to the control unit 12 via the communication line E.
- a video signal is transmitted to the screen 10 via the communication line F from the control unit 12 (originating from the memory 14).
- Another communication line L exists, starting from the drive unit 11 to the screen 10 and schematically represents the movement, which transmits the drive unit 11 to the screen 10.
- the audiovisual presentation device shown schematically in Fig. 1 is used to move the screen 10 via the drive unit 11 in response to the image information stored in the image memory and vice versa for transmitting the screen movement via the drive unit 11 to the control unit 12, to modify in this way image and / or sound data or audio data depending on the screen movement, for example, to break into segments and then put together again depending on the further course of motion of the screen 10 to a coherent image.
- the control unit 12 in the form of a computer preferably a personal computer is realized, which contains the data memory 14 in the form of a hard disk drive.
- the data memory 14 is connected to an intermediate unit, which in the present case is designated as a content player (data playback unit) 16.
- This content player 16 has three outputs, a first of which is connected to a motion player, in the present case a rotary player 17.
- the connection between rotation player 17 and content player 16 is a bidirectional connection.
- the second output of the content player 16 is connected to a graphics card 18 and the third output of the content player 16 is connected to a sound card 19.
- the rotary player 17 has a bidirectional output, which is connected to a preferably external controller 20, which in turn is connected on the output side to an electric motor 21 of the drive unit 11.
- the controller 20 as well as the motor 21 is integrated into the drive unit 11, which is otherwise in drive connection with the screen 10, in the present embodiment to rotate about a vertical axis passing through its center.
- Signals between the electric motor 21 and the screen 10 are transmitted, for example via a rotary transformer or contactless.
- the power supply for the screen 10 is also transmitted from a rotary transformer or the rotary transformer for signal transmission from the electric motor 21 to the screen 10.
- Corresponding image information passes from the graphics card 18 to the screen 10.
- the output of the sound card 19 is connected to an external power amplifier or a power amplifier 22, which drives a sound transducer 23 on the output side.
- the output stage 22 is integrated in the sound transducer 23.
- the memory 14 contains rotation data supplied to a rotation section 24 (in the general case a moving section) of the content player 16. Similarly, image data contained in the memory 14 is supplied to an image portion 25 of the content player 16. Video data is supplied to a corresponding video section 26 of the content player 16. The image data and the video data supplied to the image section 25 and the video section 26 of the content player 16 are image information including still image information (25) and moving image information (26). Audio data contained in the memory 14 is supplied to a sound section 27 of the content player. Data from the image portion 25 and video portion 26 are respectively supplied to the graphics card 18 and data from the sound portion 27 are supplied to the sound card 19.
- the memory 14 also stores timeline data (timing data) supplied to a timeline 28 in the content player 16 and for synchronizing the data of the content player with each other and with the rotary player 17 and the external motor 21 and the Screen 10 (its position) are used, as explained in more detail below.
- timeline data timing data supplied to a timeline 28 in the content player 16 and for synchronizing the data of the content player with each other and with the rotary player 17 and the external motor 21 and the Screen 10 (its position) are used, as explained in more detail below.
- initialization signals are supplied from the memory via an initialization signal line 29 to the content player 16, the rotary player 17 and the controller 20.
- the rotation player 17 is connected to a limit value memory 30 which holds maximum values for the rotation signals supplied to the electric motor 21 by the rotary player 17 via the controller 20, which maximum values are always compared with the actual values of the rotation player 17 and optionally used to block its output signals in order to prevent unwanted movement or movement conditions of the screen 10, which is set in rotation by the motor 11.
- the device according to the invention shown in FIG. 2 is in particular designed to dynamically synchronize its hardware components. Since, due to the objective of controlling screen motion and image information for the screen in favor of a highly efficient advertising platform, conventional distribution of image (and sound) contents as well as control signals to the drive unit is sufficient 11, because the temporal play behavior depends on some factors of the hardware components, such as resolution (in particular of the screen), different data formats and the like, and because a temporal prediction can not be made. For this reason, a control loop is implemented which dynamically synchronizes image content and motion, in this case rotational movement of the screen.
- This control loop as shown in FIG. 2, has a bidirectional structure. That is, it is constantly compared both the actual value of the image content with the target value of the rotational movement and, conversely, the actual value of the rotational movement with the target value of the image content.
- the control loop consists essentially of the players 16 and 17 and the control unit 12 of FIG. 2.
- the drive action, ie the angular velocity, the acceleration, the deceleration and the direction of rotation of the electric motor 21 and thus of the screen 10 are transmitted from the rotation player to the motor control, and the reaction (the angular position) is simultaneously reported back to the rotation player in this way.
- any rotation of the screen 10 by the rotation data stored in the memory 14 can be dependent on the image information stored in this memory (image data and / or video data).
- the rotational movement of the screen 10 for modifying the image information can be used.
Landscapes
- Physics & Mathematics (AREA)
- General Physics & Mathematics (AREA)
- Engineering & Computer Science (AREA)
- Theoretical Computer Science (AREA)
- Controls And Circuits For Display Device (AREA)
- Electrically Operated Instructional Devices (AREA)
- Stereophonic System (AREA)
Applications Claiming Priority (2)
| Application Number | Priority Date | Filing Date | Title |
|---|---|---|---|
| DE10313023 | 2003-03-24 | ||
| DE10313023A DE10313023B4 (de) | 2003-03-24 | 2003-03-24 | Vorrichtung zur audiovisuellen Präsentation von Ton und Bild |
Publications (3)
| Publication Number | Publication Date |
|---|---|
| EP1463018A2 EP1463018A2 (de) | 2004-09-29 |
| EP1463018A3 EP1463018A3 (de) | 2004-12-15 |
| EP1463018B1 true EP1463018B1 (de) | 2007-07-25 |
Family
ID=32798065
Family Applications (1)
| Application Number | Title | Priority Date | Filing Date |
|---|---|---|---|
| EP04006253A Expired - Lifetime EP1463018B1 (de) | 2003-03-24 | 2004-03-16 | Vorrichtung zur audiovisuellen Präsentation von Ton und Bild |
Country Status (8)
| Country | Link |
|---|---|
| US (1) | US7129963B2 (enExample) |
| EP (1) | EP1463018B1 (enExample) |
| JP (2) | JP5234555B2 (enExample) |
| CN (1) | CN1542712B (enExample) |
| AT (1) | ATE368273T1 (enExample) |
| DE (2) | DE10313023B4 (enExample) |
| DK (1) | DK1463018T3 (enExample) |
| ES (1) | ES2291763T3 (enExample) |
Families Citing this family (8)
| Publication number | Priority date | Publication date | Assignee | Title |
|---|---|---|---|---|
| DE102006020979B3 (de) * | 2006-05-05 | 2007-10-18 | Karin Stumm-Tippe | Vorrichtung zur Darstellung von Bildinformation |
| KR101055530B1 (ko) * | 2008-03-28 | 2011-08-08 | 삼성메디슨 주식회사 | 터치스크린 일체형 디스플레이부를 포함하는 초음파 시스템 |
| US20100295782A1 (en) | 2009-05-21 | 2010-11-25 | Yehuda Binder | System and method for control based on face ore hand gesture detection |
| DE202010010562U1 (de) | 2010-07-23 | 2011-10-24 | GTG Gesellschaft für Technologie und Gestaltung mbH | Anzeigevorrichtung |
| CN104506919B (zh) * | 2014-12-26 | 2018-08-31 | 上海昭宁信息科技有限公司 | 显示内容与显示屏运动的同步方法及其系统 |
| CN104486683A (zh) * | 2014-12-26 | 2015-04-01 | 上海智物信息技术有限公司 | 视频编辑方法及其装置 |
| CN104506917A (zh) * | 2014-12-26 | 2015-04-08 | 上海智物信息技术有限公司 | 显示屏的运动控制方法及其系统 |
| US10945706B2 (en) | 2017-05-05 | 2021-03-16 | Biim Ultrasound As | Hand held ultrasound probe |
Family Cites Families (21)
| Publication number | Priority date | Publication date | Assignee | Title |
|---|---|---|---|---|
| GB8718119D0 (en) * | 1987-07-30 | 1987-09-03 | Yuen Kwok Tung | Display device |
| JPH0820852B2 (ja) * | 1987-12-22 | 1996-03-04 | 株式会社タカラ | Led表示装置 |
| KR940007012Y1 (ko) * | 1991-01-31 | 1994-10-07 | 삼성전자 주식회사 | 영상표시기 회전장치 |
| JP3254314B2 (ja) * | 1993-10-01 | 2002-02-04 | 三菱電機株式会社 | 表示装置 |
| DE19642267A1 (de) * | 1995-10-11 | 1998-05-14 | Phat Chon Dipl Ing Chau | Mobilität eines Rechners |
| US5986634A (en) * | 1996-12-11 | 1999-11-16 | Silicon Light Machines | Display/monitor with orientation dependent rotatable image |
| US5973664A (en) * | 1998-03-19 | 1999-10-26 | Portrait Displays, Inc. | Parameterized image orientation for computer displays |
| JP3574751B2 (ja) * | 1998-10-30 | 2004-10-06 | 日本電信電話株式会社 | 三次元表示方法および装置 |
| KR100312486B1 (ko) * | 1998-11-13 | 2002-02-28 | 구자홍 | 영상표시기기의자동회전장치와그회전방법 |
| DE29910085U1 (de) * | 1999-06-10 | 1999-09-09 | Frenzel, Hans-Holger, 63743 Aschaffenburg | Interaktive Informationsstation mit Bildschirm, Eingabemöglichkeit und Stellvorrichtungen |
| DE19960544A1 (de) * | 1999-12-15 | 2001-07-26 | Infineon Technologies Ag | Steuerbares Objekt und System zum Steuern eines derartigen Objekts |
| JP3727516B2 (ja) * | 2000-07-13 | 2005-12-14 | 株式会社日立製作所 | 画像表示装置及びそれに用いる制御回路 |
| CA2371983A1 (en) * | 2001-02-15 | 2002-08-15 | Julian Bowron | Flip display screen and methods of using same |
| US6784855B2 (en) * | 2001-02-15 | 2004-08-31 | Microsoft Corporation | Methods and systems for a portable, interactive display device for use with a computer |
| US6931596B2 (en) * | 2001-03-05 | 2005-08-16 | Koninklijke Philips Electronics N.V. | Automatic positioning of display depending upon the viewer's location |
| JP2002311845A (ja) * | 2001-04-16 | 2002-10-25 | Fujitsu Ltd | 表示装置 |
| DE10206120A1 (de) * | 2002-02-14 | 2003-09-04 | Adsec Comp | Monitorsystemanordnung |
| US20030202003A1 (en) * | 2002-04-25 | 2003-10-30 | George Marmaropoulos | Method and apparatus for enhanced user interface display systems |
| US7542052B2 (en) * | 2002-05-31 | 2009-06-02 | Hewlett-Packard Development Company, L.P. | System and method of switching viewing orientations of a display |
| US7952569B2 (en) * | 2002-08-08 | 2011-05-31 | Hewlett-Packard Development Company, L.P. | System and method of switching between multiple viewing modes in a multi-head computer system |
| US6891920B1 (en) * | 2002-11-29 | 2005-05-10 | Fischer Imaging Corporation | Automated background processing mammographic image data |
-
2003
- 2003-03-24 DE DE10313023A patent/DE10313023B4/de not_active Expired - Fee Related
-
2004
- 2004-03-16 AT AT04006253T patent/ATE368273T1/de active
- 2004-03-16 DE DE502004004406T patent/DE502004004406D1/de not_active Expired - Lifetime
- 2004-03-16 EP EP04006253A patent/EP1463018B1/de not_active Expired - Lifetime
- 2004-03-16 DK DK04006253T patent/DK1463018T3/da active
- 2004-03-16 ES ES04006253T patent/ES2291763T3/es not_active Expired - Lifetime
- 2004-03-23 US US10/806,600 patent/US7129963B2/en not_active Expired - Fee Related
- 2004-03-24 CN CN2004100315582A patent/CN1542712B/zh not_active Expired - Fee Related
- 2004-03-24 JP JP2004086365A patent/JP5234555B2/ja not_active Expired - Fee Related
-
2011
- 2011-03-24 JP JP2011066355A patent/JP2011145700A/ja active Pending
Also Published As
| Publication number | Publication date |
|---|---|
| US20040189596A1 (en) | 2004-09-30 |
| DE10313023A1 (de) | 2004-10-21 |
| DE10313023B4 (de) | 2006-02-23 |
| ATE368273T1 (de) | 2007-08-15 |
| EP1463018A3 (de) | 2004-12-15 |
| DE502004004406D1 (de) | 2007-09-06 |
| US7129963B2 (en) | 2006-10-31 |
| EP1463018A2 (de) | 2004-09-29 |
| JP2011145700A (ja) | 2011-07-28 |
| CN1542712B (zh) | 2012-07-04 |
| JP5234555B2 (ja) | 2013-07-10 |
| ES2291763T3 (es) | 2008-03-01 |
| JP2004287445A (ja) | 2004-10-14 |
| DK1463018T3 (da) | 2007-11-26 |
| CN1542712A (zh) | 2004-11-03 |
Similar Documents
| Publication | Publication Date | Title |
|---|---|---|
| DE60216286T2 (de) | Verbessertes fernsehen mit angepasstem inhalt | |
| US5526480A (en) | Time domain scroll bar for multimedia presentations in a data processing system | |
| US8948572B2 (en) | Systems and methods for generating a composite video based on a plurality of video streams using a frame schedular | |
| DE69630579T2 (de) | Personalisierung einer interaktiven unterhaltung | |
| CN102547248B (zh) | 多路实时监控单视频文件录制方法 | |
| US8437409B2 (en) | System and method for capturing, editing, searching, and delivering multi-media content | |
| EP1463018B1 (de) | Vorrichtung zur audiovisuellen Präsentation von Ton und Bild | |
| EP0943362A3 (en) | Image processing method, video game apparatus and storage medium | |
| JP2020129375A5 (enExample) | ||
| EP1018117A1 (de) | Audio-player und verfahren zur steuerung von audio-daten durch den audio-player | |
| DE20314171U1 (de) | Vorrichtung zur audiovisuellen Präsentation von Ton und Bild | |
| US20020158895A1 (en) | Method of and a system for distributing interactive audiovisual works in a server and client system | |
| CN104506919A (zh) | 显示内容与显示屏运动的同步方法及其系统 | |
| JPWO2003065311A1 (ja) | データ生成装置、データ再生装置、データ処理システムおよびそれらの方法 | |
| DE102004028079A1 (de) | Festplattenaufzeichnungsgerät | |
| DE202007009526U1 (de) | Verkaufs- und/oder Präsentationssystem | |
| WO2009092126A1 (de) | Interaktive multimedia-präsentationsvorrichtung | |
| Parker-Starbuck | The play-within-the-film-within-the-play's the thing: re-transmitting analogue bodies in the Wooster Group's Hamlet | |
| DE112020000591T5 (de) | Informationsverarbeitungsvorrichtung, informationsverarbeitungsverfahren und aufzeichnungsmedium, in dem ein programm geschrieben ist | |
| Bretz | Communication media: Properties and uses | |
| Kummer | Historiography and Documentary Techniques in Let It Be (1970) and The Beatles: Get Back (2021) | |
| DE112007000660T5 (de) | Verfahren zum Erweitern einer auf einem Medium enthaltenen Geschichte | |
| Kuwahara et al. | Proposal for a theatre optique simulated experience application | |
| EP1189443B1 (de) | Verfahren und Vorrichtung zur Steuerung von Interaktivität von Elementen einer Videosequenz | |
| Wilder | Deucetopia? Mapping spatio-temporalities in HBO’s The Deuce |
Legal Events
| Date | Code | Title | Description |
|---|---|---|---|
| PUAI | Public reference made under article 153(3) epc to a published international application that has entered the european phase |
Free format text: ORIGINAL CODE: 0009012 |
|
| AK | Designated contracting states |
Kind code of ref document: A2 Designated state(s): AT BE BG CH CY CZ DE DK EE ES FI FR GB GR HU IE IT LI LU MC NL PL PT RO SE SI SK TR |
|
| AX | Request for extension of the european patent |
Extension state: AL LT LV MK |
|
| PUAL | Search report despatched |
Free format text: ORIGINAL CODE: 0009013 |
|
| AK | Designated contracting states |
Kind code of ref document: A3 Designated state(s): AT BE BG CH CY CZ DE DK EE ES FI FR GB GR HU IE IT LI LU MC NL PL PT RO SE SI SK TR |
|
| AX | Request for extension of the european patent |
Extension state: AL LT LV MK |
|
| 17P | Request for examination filed |
Effective date: 20050614 |
|
| AKX | Designation fees paid |
Designated state(s): AT BE BG CH CY CZ DE DK EE ES FI FR GB GR HU IE IT LI LU MC NL PL PT RO SE SI SK TR |
|
| AXX | Extension fees paid |
Extension state: LV Payment date: 20050614 |
|
| GRAP | Despatch of communication of intention to grant a patent |
Free format text: ORIGINAL CODE: EPIDOSNIGR1 |
|
| GRAS | Grant fee paid |
Free format text: ORIGINAL CODE: EPIDOSNIGR3 |
|
| GRAA | (expected) grant |
Free format text: ORIGINAL CODE: 0009210 |
|
| AK | Designated contracting states |
Kind code of ref document: B1 Designated state(s): AT BE BG CH CY CZ DE DK EE ES FI FR GB GR HU IE IT LI LU MC NL PL PT RO SE SI SK TR |
|
| AX | Request for extension of the european patent |
Extension state: LV |
|
| REG | Reference to a national code |
Ref country code: GB Ref legal event code: FG4D Free format text: NOT ENGLISH |
|
| REG | Reference to a national code |
Ref country code: CH Ref legal event code: EP |
|
| REG | Reference to a national code |
Ref country code: IE Ref legal event code: FG4D Free format text: LANGUAGE OF EP DOCUMENT: GERMAN |
|
| REF | Corresponds to: |
Ref document number: 502004004406 Country of ref document: DE Date of ref document: 20070906 Kind code of ref document: P |
|
| REG | Reference to a national code |
Ref country code: SE Ref legal event code: TRGR |
|
| REG | Reference to a national code |
Ref country code: DK Ref legal event code: T3 |
|
| GBT | Gb: translation of ep patent filed (gb section 77(6)(a)/1977) |
Effective date: 20071101 |
|
| REG | Reference to a national code |
Ref country code: CH Ref legal event code: NV Representative=s name: E. BLUM & CO. AG PATENT- UND MARKENANWAELTE VSP |
|
| PG25 | Lapsed in a contracting state [announced via postgrant information from national office to epo] |
Ref country code: BG Free format text: LAPSE BECAUSE OF FAILURE TO SUBMIT A TRANSLATION OF THE DESCRIPTION OR TO PAY THE FEE WITHIN THE PRESCRIBED TIME-LIMIT Effective date: 20071025 Ref country code: PT Free format text: LAPSE BECAUSE OF FAILURE TO SUBMIT A TRANSLATION OF THE DESCRIPTION OR TO PAY THE FEE WITHIN THE PRESCRIBED TIME-LIMIT Effective date: 20071226 |
|
| ET | Fr: translation filed | ||
| PG25 | Lapsed in a contracting state [announced via postgrant information from national office to epo] |
Ref country code: PL Free format text: LAPSE BECAUSE OF FAILURE TO SUBMIT A TRANSLATION OF THE DESCRIPTION OR TO PAY THE FEE WITHIN THE PRESCRIBED TIME-LIMIT Effective date: 20070725 |
|
| REG | Reference to a national code |
Ref country code: ES Ref legal event code: FG2A Ref document number: 2291763 Country of ref document: ES Kind code of ref document: T3 |
|
| REG | Reference to a national code |
Ref country code: IE Ref legal event code: FD4D |
|
| PG25 | Lapsed in a contracting state [announced via postgrant information from national office to epo] |
Ref country code: GR Free format text: LAPSE BECAUSE OF FAILURE TO SUBMIT A TRANSLATION OF THE DESCRIPTION OR TO PAY THE FEE WITHIN THE PRESCRIBED TIME-LIMIT Effective date: 20071026 |
|
| PG25 | Lapsed in a contracting state [announced via postgrant information from national office to epo] |
Ref country code: IE Free format text: LAPSE BECAUSE OF FAILURE TO SUBMIT A TRANSLATION OF THE DESCRIPTION OR TO PAY THE FEE WITHIN THE PRESCRIBED TIME-LIMIT Effective date: 20070725 Ref country code: SK Free format text: LAPSE BECAUSE OF FAILURE TO SUBMIT A TRANSLATION OF THE DESCRIPTION OR TO PAY THE FEE WITHIN THE PRESCRIBED TIME-LIMIT Effective date: 20070725 |
|
| PLBE | No opposition filed within time limit |
Free format text: ORIGINAL CODE: 0009261 |
|
| STAA | Information on the status of an ep patent application or granted ep patent |
Free format text: STATUS: NO OPPOSITION FILED WITHIN TIME LIMIT |
|
| PG25 | Lapsed in a contracting state [announced via postgrant information from national office to epo] |
Ref country code: RO Free format text: LAPSE BECAUSE OF FAILURE TO SUBMIT A TRANSLATION OF THE DESCRIPTION OR TO PAY THE FEE WITHIN THE PRESCRIBED TIME-LIMIT Effective date: 20070725 |
|
| 26N | No opposition filed |
Effective date: 20080428 |
|
| PG25 | Lapsed in a contracting state [announced via postgrant information from national office to epo] |
Ref country code: MC Free format text: LAPSE BECAUSE OF NON-PAYMENT OF DUE FEES Effective date: 20080331 |
|
| PG25 | Lapsed in a contracting state [announced via postgrant information from national office to epo] |
Ref country code: EE Free format text: LAPSE BECAUSE OF FAILURE TO SUBMIT A TRANSLATION OF THE DESCRIPTION OR TO PAY THE FEE WITHIN THE PRESCRIBED TIME-LIMIT Effective date: 20070725 |
|
| PG25 | Lapsed in a contracting state [announced via postgrant information from national office to epo] |
Ref country code: SI Free format text: LAPSE BECAUSE OF FAILURE TO SUBMIT A TRANSLATION OF THE DESCRIPTION OR TO PAY THE FEE WITHIN THE PRESCRIBED TIME-LIMIT Effective date: 20070725 |
|
| PG25 | Lapsed in a contracting state [announced via postgrant information from national office to epo] |
Ref country code: CY Free format text: LAPSE BECAUSE OF FAILURE TO SUBMIT A TRANSLATION OF THE DESCRIPTION OR TO PAY THE FEE WITHIN THE PRESCRIBED TIME-LIMIT Effective date: 20070725 |
|
| PGFP | Annual fee paid to national office [announced via postgrant information from national office to epo] |
Ref country code: BE Payment date: 20090330 Year of fee payment: 6 |
|
| PG25 | Lapsed in a contracting state [announced via postgrant information from national office to epo] |
Ref country code: HU Free format text: LAPSE BECAUSE OF FAILURE TO SUBMIT A TRANSLATION OF THE DESCRIPTION OR TO PAY THE FEE WITHIN THE PRESCRIBED TIME-LIMIT Effective date: 20080126 Ref country code: LU Free format text: LAPSE BECAUSE OF NON-PAYMENT OF DUE FEES Effective date: 20080316 |
|
| BERE | Be: lapsed |
Owner name: GTG G.- FUR ELEKTRONISCHE GERATE MBH Effective date: 20100331 |
|
| PG25 | Lapsed in a contracting state [announced via postgrant information from national office to epo] |
Ref country code: BE Free format text: LAPSE BECAUSE OF NON-PAYMENT OF DUE FEES Effective date: 20100331 |
|
| PG25 | Lapsed in a contracting state [announced via postgrant information from national office to epo] |
Ref country code: IT Free format text: LAPSE BECAUSE OF NON-PAYMENT OF DUE FEES Effective date: 20100316 |
|
| REG | Reference to a national code |
Ref country code: DE Ref legal event code: R082 Ref document number: 502004004406 Country of ref document: DE Representative=s name: HEISSE KURSAWE EVERSHEDS RECHTSANWAELTE PATENT, DE |
|
| REG | Reference to a national code |
Ref country code: CH Ref legal event code: PFA Owner name: GTG GMBH, DE Free format text: FORMER OWNER: GTG GESELLSCHAFT FUER ELEKTRONISCHE GERAETE MBH, DE |
|
| REG | Reference to a national code |
Ref country code: DE Ref legal event code: R082 Ref document number: 502004004406 Country of ref document: DE Representative=s name: HEISSE KURSAWE EVERSHEDS RECHTSANWAELTE PATENT, DE |
|
| PGFP | Annual fee paid to national office [announced via postgrant information from national office to epo] |
Ref country code: CZ Payment date: 20130220 Year of fee payment: 10 Ref country code: CH Payment date: 20130322 Year of fee payment: 10 Ref country code: FI Payment date: 20130313 Year of fee payment: 10 Ref country code: DK Payment date: 20130320 Year of fee payment: 10 |
|
| REG | Reference to a national code |
Ref country code: DE Ref legal event code: R082 Ref document number: 502004004406 Country of ref document: DE Representative=s name: HEISSE KURSAWE EVERSHEDS RECHTSANWAELTE PATENT, DE Effective date: 20130319 Ref country code: DE Ref legal event code: R081 Ref document number: 502004004406 Country of ref document: DE Owner name: GTG GMBH, DE Free format text: FORMER OWNER: GTG GESELLSCHAFT FUER TECHNOLOGIE UND GESTALTUNG MBH, 82152 PLANEGG, DE Effective date: 20130319 Ref country code: DE Ref legal event code: R082 Ref document number: 502004004406 Country of ref document: DE Representative=s name: HEISSE KURSAWE EVERSHEDS RECHTSANWAELTE PATENT, DE Effective date: 20120416 |
|
| REG | Reference to a national code |
Ref country code: ES Ref legal event code: PC2A Owner name: GTG GMBH Effective date: 20130506 |
|
| PGFP | Annual fee paid to national office [announced via postgrant information from national office to epo] |
Ref country code: NL Payment date: 20130320 Year of fee payment: 10 |
|
| REG | Reference to a national code |
Ref country code: AT Ref legal event code: HC Ref document number: 368273 Country of ref document: AT Kind code of ref document: T Owner name: GTG GMBH, DE Effective date: 20130506 |
|
| REG | Reference to a national code |
Ref country code: NL Ref legal event code: TD Effective date: 20130607 |
|
| REG | Reference to a national code |
Ref country code: FR Ref legal event code: CD Owner name: GTG GMBH Effective date: 20130605 Ref country code: FR Ref legal event code: CJ Effective date: 20130605 |
|
| REG | Reference to a national code |
Ref country code: DK Ref legal event code: EBP Effective date: 20140331 |
|
| REG | Reference to a national code |
Ref country code: NL Ref legal event code: V1 Effective date: 20141001 |
|
| PG25 | Lapsed in a contracting state [announced via postgrant information from national office to epo] |
Ref country code: FI Free format text: LAPSE BECAUSE OF NON-PAYMENT OF DUE FEES Effective date: 20140316 Ref country code: CZ Free format text: LAPSE BECAUSE OF NON-PAYMENT OF DUE FEES Effective date: 20140316 |
|
| REG | Reference to a national code |
Ref country code: CH Ref legal event code: PL |
|
| PG25 | Lapsed in a contracting state [announced via postgrant information from national office to epo] |
Ref country code: CH Free format text: LAPSE BECAUSE OF NON-PAYMENT OF DUE FEES Effective date: 20140331 Ref country code: LI Free format text: LAPSE BECAUSE OF NON-PAYMENT OF DUE FEES Effective date: 20140331 |
|
| PG25 | Lapsed in a contracting state [announced via postgrant information from national office to epo] |
Ref country code: NL Free format text: LAPSE BECAUSE OF NON-PAYMENT OF DUE FEES Effective date: 20141001 |
|
| REG | Reference to a national code |
Ref country code: FR Ref legal event code: PLFP Year of fee payment: 12 |
|
| PG25 | Lapsed in a contracting state [announced via postgrant information from national office to epo] |
Ref country code: DK Free format text: LAPSE BECAUSE OF NON-PAYMENT OF DUE FEES Effective date: 20140331 |
|
| PGFP | Annual fee paid to national office [announced via postgrant information from national office to epo] |
Ref country code: AT Payment date: 20150401 Year of fee payment: 12 Ref country code: SE Payment date: 20150330 Year of fee payment: 12 |
|
| PGFP | Annual fee paid to national office [announced via postgrant information from national office to epo] |
Ref country code: DE Payment date: 20150410 Year of fee payment: 12 Ref country code: ES Payment date: 20150427 Year of fee payment: 12 Ref country code: GB Payment date: 20150420 Year of fee payment: 12 |
|
| PGFP | Annual fee paid to national office [announced via postgrant information from national office to epo] |
Ref country code: IT Payment date: 20150331 Year of fee payment: 12 Ref country code: FR Payment date: 20150330 Year of fee payment: 12 |
|
| REG | Reference to a national code |
Ref country code: DE Ref legal event code: R119 Ref document number: 502004004406 Country of ref document: DE |
|
| REG | Reference to a national code |
Ref country code: SE Ref legal event code: EUG |
|
| REG | Reference to a national code |
Ref country code: AT Ref legal event code: MM01 Ref document number: 368273 Country of ref document: AT Kind code of ref document: T Effective date: 20160316 |
|
| GBPC | Gb: european patent ceased through non-payment of renewal fee |
Effective date: 20160316 |
|
| PG25 | Lapsed in a contracting state [announced via postgrant information from national office to epo] |
Ref country code: SE Free format text: LAPSE BECAUSE OF NON-PAYMENT OF DUE FEES Effective date: 20160317 |
|
| REG | Reference to a national code |
Ref country code: FR Ref legal event code: ST Effective date: 20161130 |
|
| PG25 | Lapsed in a contracting state [announced via postgrant information from national office to epo] |
Ref country code: GB Free format text: LAPSE BECAUSE OF NON-PAYMENT OF DUE FEES Effective date: 20160316 Ref country code: DE Free format text: LAPSE BECAUSE OF NON-PAYMENT OF DUE FEES Effective date: 20161001 Ref country code: FR Free format text: LAPSE BECAUSE OF NON-PAYMENT OF DUE FEES Effective date: 20160331 |
|
| PG25 | Lapsed in a contracting state [announced via postgrant information from national office to epo] |
Ref country code: IT Free format text: LAPSE BECAUSE OF NON-PAYMENT OF DUE FEES Effective date: 20160316 Ref country code: AT Free format text: LAPSE BECAUSE OF NON-PAYMENT OF DUE FEES Effective date: 20160316 |
|
| REG | Reference to a national code |
Ref country code: ES Ref legal event code: FD2A Effective date: 20170427 |
|
| PGFP | Annual fee paid to national office [announced via postgrant information from national office to epo] |
Ref country code: TR Payment date: 20170316 Year of fee payment: 14 |
|
| PG25 | Lapsed in a contracting state [announced via postgrant information from national office to epo] |
Ref country code: ES Free format text: LAPSE BECAUSE OF NON-PAYMENT OF DUE FEES Effective date: 20160317 |
|
| PG25 | Lapsed in a contracting state [announced via postgrant information from national office to epo] |
Ref country code: TR Free format text: LAPSE BECAUSE OF NON-PAYMENT OF DUE FEES Effective date: 20180316 |