EP1452130A2 - Datenspeicher, Datenerfassungsgerät für biologische Daten, und ein Datensender - Google Patents

Datenspeicher, Datenerfassungsgerät für biologische Daten, und ein Datensender Download PDF

Info

Publication number
EP1452130A2
EP1452130A2 EP04003030A EP04003030A EP1452130A2 EP 1452130 A2 EP1452130 A2 EP 1452130A2 EP 04003030 A EP04003030 A EP 04003030A EP 04003030 A EP04003030 A EP 04003030A EP 1452130 A2 EP1452130 A2 EP 1452130A2
Authority
EP
European Patent Office
Prior art keywords
data
storage device
biological
biological data
main unit
Prior art date
Legal status (The legal status is an assumption and is not a legal conclusion. Google has not performed a legal analysis and makes no representation as to the accuracy of the status listed.)
Granted
Application number
EP04003030A
Other languages
English (en)
French (fr)
Other versions
EP1452130A3 (de
EP1452130B1 (de
Inventor
Masaki Yoshizawa
Yuichi Miyashita
Current Assignee (The listed assignees may be inaccurate. Google has not performed a legal analysis and makes no representation or warranty as to the accuracy of the list.)
Tanita Corp
Original Assignee
Tanita Corp
Priority date (The priority date is an assumption and is not a legal conclusion. Google has not performed a legal analysis and makes no representation as to the accuracy of the date listed.)
Filing date
Publication date
Priority claimed from JP2003052410A external-priority patent/JP2004261255A/ja
Priority claimed from JP2003186271A external-priority patent/JP2005018696A/ja
Application filed by Tanita Corp filed Critical Tanita Corp
Priority to EP05002507A priority Critical patent/EP1529486A3/de
Publication of EP1452130A2 publication Critical patent/EP1452130A2/de
Publication of EP1452130A3 publication Critical patent/EP1452130A3/de
Application granted granted Critical
Publication of EP1452130B1 publication Critical patent/EP1452130B1/de
Anticipated expiration legal-status Critical
Expired - Lifetime legal-status Critical Current

Links

Images

Classifications

    • GPHYSICS
    • G16INFORMATION AND COMMUNICATION TECHNOLOGY [ICT] SPECIALLY ADAPTED FOR SPECIFIC APPLICATION FIELDS
    • G16HHEALTHCARE INFORMATICS, i.e. INFORMATION AND COMMUNICATION TECHNOLOGY [ICT] SPECIALLY ADAPTED FOR THE HANDLING OR PROCESSING OF MEDICAL OR HEALTHCARE DATA
    • G16H10/00ICT specially adapted for the handling or processing of patient-related medical or healthcare data
    • G16H10/60ICT specially adapted for the handling or processing of patient-related medical or healthcare data for patient-specific data, e.g. for electronic patient records
    • G16H10/65ICT specially adapted for the handling or processing of patient-related medical or healthcare data for patient-specific data, e.g. for electronic patient records stored on portable record carriers, e.g. on smartcards, RFID tags or CD
    • AHUMAN NECESSITIES
    • A61MEDICAL OR VETERINARY SCIENCE; HYGIENE
    • A61BDIAGNOSIS; SURGERY; IDENTIFICATION
    • A61B5/00Measuring for diagnostic purposes; Identification of persons
    • A61B5/0002Remote monitoring of patients using telemetry, e.g. transmission of vital signals via a communication network
    • AHUMAN NECESSITIES
    • A61MEDICAL OR VETERINARY SCIENCE; HYGIENE
    • A61BDIAGNOSIS; SURGERY; IDENTIFICATION
    • A61B5/00Measuring for diagnostic purposes; Identification of persons
    • A61B5/117Identification of persons
    • GPHYSICS
    • G16INFORMATION AND COMMUNICATION TECHNOLOGY [ICT] SPECIALLY ADAPTED FOR SPECIFIC APPLICATION FIELDS
    • G16ZINFORMATION AND COMMUNICATION TECHNOLOGY [ICT] SPECIALLY ADAPTED FOR SPECIFIC APPLICATION FIELDS, NOT OTHERWISE PROVIDED FOR
    • G16Z99/00Subject matter not provided for in other main groups of this subclass

Definitions

  • the present invention relates to a biological data acquiring apparatus for acquiring biological data of a user, particularly, to a storage device for a biological data acquiring apparatus and an biological data acquiring apparatus using the storage device.
  • the present invention relates to a data transmitter which carries out data transmission with a host device via a connection terminal which accommodates a predetermined data transmission standard, a storage device having the data transmitter, and a biological data acquiring apparatus using the storage device having the data transmitter.
  • a variety of biological data acquiring apparatuses for acquiring biological data of a user such as a body weight, a body fat percentage, a pulse and the number of steps have been developed and actually employed.
  • These biological data acquiring apparatuses include one which directly measures a body weight as biological data of a user in a manner similar to a scale and one which acquires desired biological data such as a body fat percentage, a body water percentage, a visceral fat level, a muscle mass, a bone density and a basal metabolic rate by performing computations based on a body weight and a bioelectrical impedance value which are measured biological data of a user and biological data such as a height, age and sex which are input by the user (refer to Patent Publications 1 and 2, for example).
  • a system which acquires biological data such as the number of steps or a waking pace of a user by use of a body motion sensor and a computation unit which are incorporated in the main body of a pedometer, transmits the biological data to a personal computer by use of a communication cable or an optical communication unit, and performs computations based on the biological data and other biological data input in the personal computer such as the height, body weight, age and sex of the user so as to acquire biological data such as a consumed calorie and a history of change thereof (refer to Patent Publication 3).
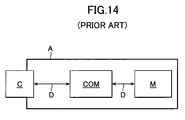
  • USB Universal Serial Bus
  • the conventional USB memory A has a USB terminal C for connecting to a USB terminal (not shown) of a host device and incorporates a data storing memory M such as a flash memory or EEPROM and a microprocessor COM for controlling and processing of a data signal to be transmitted and storing of data in the memory M.
  • a data storing memory M such as a flash memory or EEPROM
  • a microprocessor COM for controlling and processing of a data signal to be transmitted and storing of data in the memory M.
  • the above conventional biological data acquiring apparatus has the following problems in an attempt to acquire desired biological data by transmitting biological data to a data processing terminal such as a personal computer and storing the biological data in the data processing terminal or performing computations in the data processing terminal.
  • the biological data acquiring apparatus when the biological data acquiring apparatus is connected to the data processing terminal by use of a cable or the like so as to transmit the biological data to the data processing terminal, they must be placed within such an area that the cable can reach both the apparatus and the terminal.
  • both the apparatus and the terminal are generally used in a stationary position (i.e., the stationary devices) as in the case where biological data is transmitted from a scale or such a body fat monitor as disclosed in the above Japanese Patent Publication No. 5-49050 to a so-called desktop type personal computer, a sufficiently long cable must be used or one of the devices must be moved to a position close to the other device upon transmission and reception of the biological data.
  • the biological data acquiring apparatus is connected to the data processing terminal in a wireless manner through optical communication such as infrared radiation, communication cannot be made when an object exists between communication units provided to the biological data acquiring apparatus and the data processing terminal.
  • the positions of the devices are limited or the devices must be moved. Accordingly, the wireless connection is also not suitable for the stationary devices.
  • an electric wave is used for carrying out the wireless connection, communication is still possible even if an object of a certain size exists, so that the above problems regarding the positions and moving of the devices are nearly completely solved.
  • communication units using electric waves are expensive, the biological data acquiring apparatus and the data processing terminal become expensive. Further, since such communication units consume a large quantity of electric currents, the useful life of a battery used in the biological data acquiring apparatus which is often battery-driven is short, and running costs are high.
  • USB transmission data transmission based on the USB standard
  • USB transmission although it is possible to send and/or receive data signals at high speed, it has a problem that a CPU of relatively high performance must be provided in a host device so as to perform data signal processing.
  • the above USB memory can be used easily in a device incorporating a high-performance CPU such as a personal computer, and when the USB memory is used in a device without a high-performance CPU such as a biological data acquiring apparatus, a high-performance CPU must be installed in the device so as to enable the USB transmission.
  • installation of the high-performance CPU in a device such as the biological data acquiring apparatus causes a significant increase in costs and is therefore unpractical.
  • USB memory in order to use the above USB memory in a device equipped with an inexpensive CPU such as the biological data acquiring apparatus, it is conceivable to use data transmission based on a standard such as RS-232C or data transmission based on a standard set in advance between the device and the USB memory, either of which does not require as high-performance of a CPU as the USB standard does (hereinafter collectively referred to as "serial transmission"), for data transmission between the device and the USB memory.
  • serial transmission data transmission based on a standard such as RS-232C or data transmission based on a standard set in advance between the device and the USB memory, either of which does not require as high-performance of a CPU as the USB standard does (hereinafter collectively referred to as "serial transmission"), for data transmission between the device and the USB memory.
  • serial transmission a connection terminal for serial transmission must be additionally provided in the USB memory.
  • the circuit configuration of the USB memory becomes complicated, thereby increasing the possibility of malfunctions by noises such as static electricity and electromagnetic waves, and the costs of components are also increased due to an increase in the number of components, thereby increasing the possibility of occurrences of production failures, resulting in an increase in production costs.
  • USB memory is used as a part of a biological data acquiring apparatus so as to send biological data to a data processing terminal such as a personal computer, but when a data transmitter which accommodates a predetermined data transmission standard is desired to be connected to a host device which has no data transmission capability to accommodate the predetermined data transmission standard.
  • An object of the present invention is to provide a storage device for a biological data acquiring apparatus which makes possible transmission of biological data from the biological data acquiring apparatus to a data processing terminal without use of a cable, infrared radiation, electric wave or the like when the biological data is to be transmitted from the biological data acquiring apparatus to the data processing terminal and computations are to be performed in the data processing terminal based on the biological data so as to eventually acquire desired biological data, and which can be implemented at a relatively low cost.
  • Another object of the present invention is to provide a biological data acquiring apparatus which can transmit biological data to a data processing terminal without use of a cable, infrared radiation, electric wave or the like when the biological data is to be transmitted from the biological data acquiring apparatus to the data processing terminal and computations are to be performed in the data processing terminal based on the biological data so as to eventually acquire desired biological data, and which can be implemented at a relatively low cost.
  • Still another object of the present invention is to provide a data transmitter which carries out data transmission with a host device via a connection terminal which accommodates a predetermined data transmission standard, wherein the data transmission can be carried out even with a host device which does not accommodate the predetermined data transmission standard without increasing the number of the connection terminal; a storage device having such a data transmitter; and a biological data acquiring apparatus using such a storage device.
  • a storage device for a biological data acquiring apparatus is independent and detachable from the main unit of the biological data acquiring apparatus which incorporates biological data acquiring means for acquiring biological data and has biological data storing means for storing the biological data acquired by the biological data acquiring means.
  • the storage device of the present invention has program software for performing computations based on the biological data stored in the biological data storing means.
  • the storage device of the present invention has program software for performing computations based on the biological data stored in the biological data storing means and an operation element for executing the program software.
  • the storage device of the present invention has a data transmitter which carries out data transmission with a host device via a connection terminal that accommodates a predetermined data transmission standard and which comprises data signal processing means for processing a number of different data signals including a data signal that accommodates the predetermined data transmission standard and data signal selecting means for selecting a data signal to be processed by the data signal processing means.
  • the data signal selecting means selects the data signal based on a given identification signal transmitted from the host device.
  • the predetermined data transmission standard is the USB standard.
  • the main unit of the biological data acquiring apparatus using the storage device of the present invention is stationary.
  • a biological data acquiring apparatus comprises a main unit and a storage device, wherein the main unit incorporates biological data acquiring means for acquiring biological data, and the storage device is independent and detachable from the main unit and has biological data storing means for storing the biological data acquired by the biological data acquiring means.
  • the storage device has program software for performing computations based on the biological data stored in the biological data storing means.
  • the storage device in the biological data acquiring apparatus of the present invention has program software for performing computations based on the biological data stored in the biological data storing means and an operation element for executing the program software.
  • the storage device has a data transmitter which carries out data transmission with a host device via a connection terminal that accommodates a predetermined data transmission standard and which comprises data signal processing means for processing a number of different data signals including a data signal that accommodates the predetermined data transmission standard and data signal selecting means for selecting a data signal to be processed by the data signal processing means.
  • the data signal selecting means selects the data signal based on a given identification signal transmitted from the host device.
  • the predetermined data transmission standard is the USB standard.
  • the main unit of the biological data acquiring apparatus of the present invention is stationary.
  • a data transmitter is a data transmitter which carries out data transmission with a host device via a connection terminal that accommodates a predetermined data transmission standard and which comprises data signal processing means for processing a number of different data signals including a data signal that accommodates the predetermined data transmission standard and data signal selecting means for selecting a data signal to be processed by the data signal processing means.
  • the data signal selecting means selects the data signal based on a given identification signal transmitted from the host device. Further, the predetermined data transmission standard is the USB standard.
  • a storage device is a storage device comprising the data transmitter according to the above present invention and a memory for storing data.
  • a biological data acquiring apparatus is a biological data acquiring apparatus comprising a main unit which incorporates biological data acquiring means for acquiring biological data and a storage device which is independent from the main unit and detachable from the main unit via a terminal for data transmission and comprises the data transmitter according to the above present invention and a memory for storing the biological data acquired by the main unit.
  • the storage device has program software for performing computations based on the biological data stored in the memory.
  • the storage device in the biological data acquiring apparatus of the present invention has program software for performing computations based on the biological data stored in the memory and an operation element for executing the program software.
  • the main unit of the biological data acquiring apparatus of the present invention is stationary.
  • a storage device 1 for a biological data acquiring apparatus according to the present invention is shown.
  • a biological data acquiring apparatus 10 according to the present invention which uses the storage device 1 is shown.
  • Fig. 3 is a schematic diagram showing the constitutions of electronic circuit boards incorporated in the biological data acquiring apparatus 10.
  • Figs. 4 and 5 are flowcharts showing steps in acquiring biological data by use of the biological data acquiring apparatus 10 and sending the acquired biological data to the data processing terminal 30.
  • the storage device 1 is an improved version of a so-called USB memory which has already been commercially available in various forms as an external memory for a personal computer having a terminal which meets the universal serial bus (USB) standard.
  • the storage device 1 has a size and a shape which are nearly the same as those of a chewing gum package. As shown in Fig. 1, it has a connection terminal 2 for the main unit 11 of the biological data acquiring apparatus 10, at one end in its longitudinal direction, and has a connection terminal 3 for the data processing terminal 30, at the other end.
  • the connection terminal 3 is a male USB terminal and can be easily connected to a variety of data processing terminals having female USB terminals.
  • connection terminal 3 may also be a female USB terminal or a terminal of different standard and shape from the USB standard.
  • connection terminal 2 may also be a USB terminal, or the connection terminals 2 and 3 may be combined into one connection terminal which connects the storage device 1 to the main unit 11 and the data processing terminal 30.
  • the main unit 11 of the biological data acquiring apparatus 10 is an improved version of a so-called scale with a body fat monitor which has already been commercially available in various forms as a stationary apparatus which calculates a body fat percentage, a body water percentage, a visceral fat level, a muscle mass, a bone density, a basal metabolic rate and the like (hereinafter generically and simply referred to as "body fat percentage" in the present embodiment) by measuring the body weight and biological impedance value of a user.
  • its top surface 11a serves as a scale platform for measuring a body weight which uses a straining member (i.e., loadcell) 12 (refer to Fig. 3).
  • operation switches 13 which are used by a user to enter a date and time of measurement and biological data (hereinafter generically referred to as "personal data" in the present embodiment) such as a height, age and sex, electrodes 14 which make contact with the bottoms of the feet of a user so as to measure a biological impedance value, a liquid crystal display 15 for displaying the results of measurements and calculations, and a mounting section 16 to which the storage device 1 is attached.
  • personal data such as a height, age and sex
  • electrodes 14 which make contact with the bottoms of the feet of a user so as to measure a biological impedance value
  • liquid crystal display 15 for displaying the results of measurements and calculations
  • mounting section 16 to which the storage device 1 is attached.
  • the electrodes 14 comprise electrodes 14a and 14b which make contact with the bottom of the left foot of a user and electrodes 14c and 14d which make contact with the bottom of the right foot of the user.
  • a feeble electric current can be passed between both feet by use of the electrodes 14a and 14c which make contact with the toe sides of both feet, and an impedance value between both feet can be measured by use of the electrodes 14b and 14d which make contact with the heel sides of both feet.
  • the mounting section 16 for the storage device 1 is formed.
  • the mounting section 16 is formed as a cavity 16b having an openable/closable cover 16a with a sufficient size in which the storage device 1 can be set in a laid position.
  • a connection terminal 29 (refer to Fig. 3) which corresponds to the connection terminal 2 of the storage device 1.
  • the storage device 1 can be attached and removed more easily than when the mounting section 16 is formed on the side or rear surface of the main unit 11. Further, when the mounting section 16 has the foregoing structure that the storage device 1 can be set therein in a laid position, the storage device 1 can be prevented from sticking out from the top surface 11a at the time of its attachment without increasing the thickness of the main unit 11 so much, thereby making it difficult to occur that a user mistakenly steps on the storage device 1 and breaks it. Further, with the openable/closable cover 16a, the possibility of occurrence of such a breakage is further reduced to a significant degree.
  • the position and shape of the mounting section 16 are not limited to those in the present embodiment and may be any appropriate position and shape according to the sizes and other features of the storage device 1 and main unit 11.
  • a biological data acquiring apparatus is in existence, into which the operation switches 13 and the liquid crystal display 15 have been installed as units detachable or independent from the main unit 11.
  • the mounting section 16 may be formed in the unit.
  • the biological data acquiring apparatus 10 incorporates electronic circuit boards having the constitutions shown in Fig. 3.
  • Aboard 4 which is incorporated in the storage device 1 has the connection terminal 2, the connection terminal 3, a flash memory 5 as biological data storing means, and a microprocessor 6.
  • the microprocessor 6 comprises a ROM which stores program software for writing biological data in the flash memory 5, reading biological data from the flash memory 5 and performing calculations of the biological data, a CPU and a RAM as operation elements for executing the program software, and other elements.
  • the storage device 1 is supplied with electric power from the main unit 11 when connected to the main unit 11 or from the data processing terminal 30 when connected to the data processing terminal 30.
  • the biological data storing means may be any rewritable storage medium capable of holding data. Therefore, for example, an EEPROM can be used in place of the flash memory 5.
  • a board 20 which is incorporated in the main unit 11 has a microprocessor 21 which comprises a CPU, a ROM and a RAM for measuring and calculating the body weight and body fat percentage of a user.
  • a scale circuit 22 which is connected to the straining member 12 for measuring a body weight
  • an input circuit 23 which is connected to the operation switches 13 for inputting personal data
  • an impedance circuit 24 which is connected to the electrodes 14 for measuring a bioelectrical impedance
  • a display circuit 25 which is connected to the liquid crystal display 15 for displaying measured or calculated biological data such as a body weight and a body fat percentage
  • an EEPROM 26 which stores measured or calculated biological data
  • an electric power source circuit 28 which is connected to a battery 27 for driving the biological data acquiring apparatus 10, and a connection terminal 29 which corresponds to the connection terminal 2 of the storage device 1 are connected.
  • the data processing terminal 30 shown in Fig. 2 is a so-called desktop personal computer in the present embodiment. It has an USB-standard-based connection terminal 31 for connecting to an external peripheral device and can be easily connected with the connection terminal 3 of the storage device 1 accordingly.
  • a program software for not only accumulating various data acquired by the biological data acquiring apparatus 10 such as personal data, body weight data and a body fat percentage continuously but also displaying histories of changes of the data as graphs on a monitor (hereinafter referred to as "history management software" in the present embodiment) is installed.
  • program software to be installed in the data processing terminal 30 is not limited to such history management software.
  • the user operates the operation switches 13 so as to input personal data (S200).
  • the personal data is sent to the microprocessor 21 via the input circuit 23 and stored in the RAM of the microprocessor 21 temporarily. It is also possible that the personal data is stored in the EEPROM 26 together with a personal number set for each user and the user causes the microprocessor 21 to retrieve the personal data from the EEPROM 26 simply by entering the personal number through the operation switches 13 on the next measurement.
  • the strain of the straining member 12 is input into the microprocessor 21 via the scale circuit 22 so as to measure a body weight (S300).
  • an electric current value detected by the electrodes 14 is input into the microprocessor 21 via the impedance circuit 24 so as to measure a bioelectrical impedance value (S400).
  • this program software includes a regression formula for calculating a body fat percentage based on the personal data, the body weight data and the bioelectrical impedance value (hereinafter referred to as "regression operation software" in the present example).
  • the microprocessor 21 displays the body weight data measured in S300 and the data such as the body fat percentage calculated in S500 on the liquid crystal display 15 via the display circuit 25 (S600).
  • the storage device 1 is set in the mounting section 16 and the connection terminal 2 is connected to the connection terminal 29, predetermined biological data to be described later is stored in the flash memory 5 as the biological data storing means which is incorporated in the storage device 1 (S700).
  • the microprocessor 21 of the main unit 11 sends a data writing command to the storage device 1 and also starts transmission of biological data to be described later.
  • the microprocessor 6 of the storage device 1 Upon receipt of the data writing command (S710), the microprocessor 6 of the storage device 1 writes and stores the biological data sent from the main unit 11 in the flash memory 5 sequentially (S720).
  • the biological data sent from the main unit 11 to the storage device 1 and stored in the flash memory 5 are the personal data input in S200, the body weight data measured in S300 and the bioelectrical impedance value measured in S400.
  • the data of the body fat percentage calculated in S500 is however not stored in the flash memory 5 so as to reduce the capacity of the flash memory 5.
  • the user removes, from the main unit 11, the storage device 1 which is independent and detachable from the main unit 11 (S900), carries the storage device 1 to where the data processing terminal 30 is placed, and connects the connection terminal 3 to the connection terminal 31 of the data processing terminal 30 (S1000). Then, for example, when the history management software installed in the data processing terminal 30 is activated, the personal data, the body weight data and the data of the body fat percentage are sent out from the storage device 1 to the data processing terminal 30 (S1100).
  • the data processing terminal 30 sends a data reading command to the storage device 1.
  • the microprocessor 6 of the storage device 1 reads out the personal data, body weight data and bioelectrical impedance value stored in the flash memory 5 (S1120) and executes program software stored in the ROM so as to calculate the body fat percentage (S1130).
  • the program software executed above is the same as the regression operation software stored in the microprocessor 21 of the main unit 11.
  • the personal data, the body weight data and the data of the body fat percentage are sent from the connection terminal 3 to the data processing terminal 30 (S1140).
  • the storage device 1 of the biological data acquiring apparatus 10 in the present embodiment is independent and detachable from the main unit 11 and has the flash memory 5 for storing the personal data, body weight data and bioelectrical impedance value which are acquired by means of the straining member 12, the operation switches 13, the electrodes 14 and the microprocessor 21, those being incorporated in the main unit 11.
  • the storage device 1 can be removed from the main unit 11 with the personal data, body weight data and bioelectrical impedance value stored in the flash memory 5.
  • the storage device 1 can be connected to the data processing terminal 30 so as to send the personal data and body weight data stored in the flash memory 5 to the data processing terminal 30.
  • the biological data acquiring apparatus 10 in the present embodiment comprises the main unit 11 and the storage device 1; the main unit incorporating the straining member 12, the operation switches 13, the electrodes 14 and the microprocessor 21, for acquiring the personal data, the body weight data and the data of the body fat percentage; while, the storage device 1 being independent and detachable from the main unit 11 and having the flash memory 5 for storing the personal data, body weight data and bioelectrical impedance value which are acquired by the main unit 11.
  • the biological data acquiring apparatus 10 therefore enables the storage device 1 to be removed from the main unit 11 with the personal data, body weight data and bioelectrical impedance value stored in the flash memory 5. Further, the storage device 1 can be connected to the data processing terminal 30 so as to send the personal data and body weight data stored in the flash memory 5 to the data processing terminal 30.
  • the storage device 1 has the microprocessor 6 which comprises the ROM containing the regression operation software for calculating the body fat percentage based on the personal data, body weight data and bioelectrical impedance value stored in the flash memory 5, and the CPU and RAM for executing the regression operation software.
  • the microprocessor 6 comprises the ROM containing the regression operation software for calculating the body fat percentage based on the personal data, body weight data and bioelectrical impedance value stored in the flash memory 5, and the CPU and RAM for executing the regression operation software.
  • main unit 11 is an improved version of a stationary scale with a body fat monitor, there is no need to move the main unit 11 when the personal data, the body weight data and the data of the body fat percentage are sent to the data processing terminal 30, thereby making the biological data acquiring apparatus 10 easy to use.
  • the microprocessor 6 which stores and further executes the regression operation software is included in the storage device 1.
  • the storage device 1 merely stores such regression operation software and the data processing terminal 30 actually executes the software.
  • the storage device 1 is connected to the data processing terminal 30 so as to send the personal data, body weight data and bioelectrical impedance value thereto and subsequently the data processing terminal 30 accesses and executes the regression operation software stored in the storage device 1 by utilizing the data and the value, so as to receive the data of the calculated body fat percentage from the storage device 1.
  • the regression operation software is executed only by the microprocessor 21 of the main unit 11 and the data of the calculated body fat percentage is also stored in the flash memory 5 of the storage device 1. In this case as well, it is possible to send the personal data, the body weight data and the data of the body fat percentage to the data processing terminal 30 by use of the storage device 1.
  • the constitutions of the storage device and biological data acquiring apparatus to which the present invention is applied do not have to be limited to descriptions in the present embodiment, and various modifications can be made on the constitutions, as has been described accordingly together with the description of the embodiment.
  • the present invention is not limited to an apparatus which measures bioelectrical impedance between the bottoms of both feet of a user as in the embodiment and can also be widely applied to apparatuses which measure bioelectrical impedance between both hands, between a hand and a foot or between other specific body parts of a user.
  • the present invention is not limited to a biological data acquiring apparatus of the type which measures the body weight or bioelectrical impedance of a user as in the present embodiment and can also be widely applied, for example, to an apparatus which measures or calculates a thickness of fat or a bone density by use of the ultrasonic wave or the like as well as to various known apparatuses for acquiring biological data, e.g., a blood pressure meter, a pulse meter, a pedometer and a consumed calorie meter. Further, it is needless to say that the present invention can be widely applied to portable biological data acquiring apparatuses, in addition to stationary biological data acquiring apparatuses.
  • Fig. 6 shows an external view of a biological data acquiring apparatus 40 as a suitable embodiment of the present invention together with a data processing terminal 60.
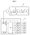
  • Fig. 7 is a schematic diagram showing the circuit configuration of the biological data acquiring apparatus 40.
  • Figs. 8 to 13 are flowcharts showing a control program which is executed in the biological data acquiring apparatus 40 and diagrams showing signals on data buses at the time of execution of the control program.
  • the biological data acquiring apparatus 40 comprises a main unit 41 and a storage device 71 which is detachable from the main unit 41.
  • the biological data acquiring apparatus 40 can send biological data acquired in the main unit 41, such as a body fat percentage (mass), a body water percentage (level), a visceral fat level, a muscle mass (percentage), a leg muscle mass (percentage), a bone mass, a bone density and a basal metabolic rate (hereinafter generically and simply referred to as "body fat percentage" in the present embodiment), to the data processing terminal 60 by use of the storage device 71 as indicated by the dotted lines.
  • body fat percentage body fat percentage
  • the storage device 71 is an improved version of a conventional USB memory which has already been commercially available in various forms as an external memory for a personal computer having a terminal which meets the USB standard.
  • the storage device 71 has a size and a shape which are nearly the same as those of a chewing gum package. It has a male USB terminal 72 at one end in its longitudinal direction and can be easily connected, via the USB terminal 72, to the main unit 41 and the data processing terminal 60 which have a female USB terminal 61.
  • the storage device 1 carries data between the main unit 41 and the data processing terminal 60 which serve as host devices.
  • the main unit 41 is an improved version of a so-called scale with a body fat monitor which has already been commercially available in various forms as a stationary apparatus which calculates the body fat percentage by measuring the body weight and bioelectrical impedance value of a user.
  • Its top surface 41a serves as a scale platform for measuring a body weight which uses a straining member 42 (refer to Fig. 7).
  • operation switches 43 which are used by a user to enter a date and time of measurement and biological data such as a height, age and sex (hereinafter generically referred to as "personal data" in the present example), electrodes 44 which make contact with the bottoms of the feet of a user so as to measure a bioelectrical impedance value, a liquid crystal display 45 for displaying the results of measurements and calculations, and a mounting section 46 to which the storage device 71 is attached.
  • the electrodes 44 comprise electrodes 44a and 44b which make contact with the bottom of the left foot of a user and electrodes 44c and 44d which make contact with the bottom of the right foot of the user.
  • a feeble electric current is passed between both feet by use of the electrodes 44a and 44c which make contact with the toe sides of both feet, a potential difference (voltage) between both feet is measured by use of the electrodes 44b and 44d which make contact with the heel sides of both feet, and bioelectrical impedance can be determined from these electric current value and voltage value.
  • the mounting section 46 for the storage device 71 is formed.
  • the mounting section 46 is is formed as a cavity 46b having an openable/closable cover 46a with a sufficient size in which the storage device 71 can be set in a laid position.
  • a female USB terminal 51 (refer to Fig. 7) which corresponds to the USB terminal 72 of the storage device 71.
  • the storage device 71 can be attached and removed more easily than when the mounting section 46 is formed on the side or rear surface of the main unit 41. Further, when the mounting section 46 has the foregoing structure that the storage device 71 can be set therein in a laid position, the storage device 71 can be prevented from sticking out from the top surface 41a at the time of its attachment without increasing the thickness of the main unit 41 so much, thereby making it difficult to occur that a user mistakenly steps on the storage device 71 and breaks it. Further, with the openable/closable cover 46a, the possibility of occurrence of such a breakage is further reduced to a significant degree.
  • the position and shape of the mounting section 46 are not limited to those in the present embodiment and may be any appropriate position and shape according to the sizes and other features of the storage device 71 and main unit 41.
  • a biological data acquiring apparatus is in existence, into which the operation switches 13 and the liquid crystal display 45 have been installed as units detachable or independent from the main unit 41.
  • the mounting section 46 may be formed in the unit.
  • the biological data acquiring apparatus 40 (storage device 71 and main unit 41) has a circuit configuration as shown in Fig. 7 therein.
  • the storage device 71 has the USB terminal 72, an analog switch 73 which is used to select a data signal to be transmitted between the storage device 71 and the main unit 41 or data processing terminal 60 which is a host device, a microprocessor 74 for implementing control associated with processing or storing of the data signal, and an EEPROM 75 for storing data.
  • the EEPROM 75 may be any rewritable storage medium capable of holding data such as a nonvolatile memory, and a flash memory may be used, for example.
  • the USB terminal 72 is connected to the analog switch 73 via a data bus D1.
  • the analog switch 73 is connected to the microprocessor 74 via a data bus D2 which is used for USB transmission, a data bus D3 which is used for serial transmission and a control signal bus C1 for transmitting a signal for switching between the data buses D2 and D3.
  • the microprocessor 74 is connected to the EEPROM 75 via a data bus D4.
  • the analog switch 73, the microprocessor 74 and the EEPROM 75 are connected to the USB terminal 72 via an electric power supply line.
  • the storage device 71 operates by receiving electric power from the host device via the USB terminal 72, as in the case of many conventionally known devices which meet the USB standard such as the above conventional USB memory.
  • the data buses D1 to D4 are indicated by bidirectional arrows for brevity.
  • the data buses D1 to D4 are each constituted by an up data line D+ and a down data line D-.
  • the data line D+ of the data bus D2 is connected to the ground side
  • the data line D- of the data bus D2 is connected to the electric power supply side (electric power supply line)
  • the data lines D+ and D- of the data bus D3 are connected to the ground side.
  • the data bus D2 is used for USB transmission
  • the data bus D3 is used for serial transmission.
  • the control signal bus C1 is constituted by an appropriate number of signal lines corresponding to the number of connection ports of the analog switch 73.
  • the microprocessor 74 processes a data signal conforming to the USB standard (hereinafter simply referred to as "USB signal”) and a data signal conforming to a standard preset between the storage device 71 and the main unit 41 (hereinafter simply referred to as “serial signal”). Further, the microprocessor 74 executes a control program which will be described later with referring to Figs. 8 to 11 so as to output a control signal to the analog switch 73 via the control signal bus C1, thereby connecting the data bus D1 selectively to the data bus D2 or D3. That is, the microprocessor 74 constitutes data signal processing means, and the microprocessor 74 and the analog switch 73 constitute data signal selecting means. These data signal processing means and data signal selecting means and the above USB terminal constitute a data transmitter.
  • USB signal a data signal conforming to the USB standard
  • serial signal data signal conforming to a standard preset between the storage device 71 and the main unit 41
  • the main unit 41 has a microprocessor 50 which comprises a CPU, a ROM and a RAM, for measuring or calculating the body weight and body fat percentage of a user.
  • a microprocessor 50 which comprises a CPU, a ROM and a RAM, for measuring or calculating the body weight and body fat percentage of a user.
  • the USB terminal 51 which corresponds to the USB terminal 72 of the storage device 71 is connected via a data bus D5.
  • a scale circuit 52 which is connected to the above straining member 42, an input circuit 53 which is connected to the above operation switches 43, an impedance circuit 54 which is connected to the above electrodes 44, a display circuit 55 which is connected to the above liquid crystal display 45, an EEPROM 56 which stores biological data such as input personal data and a calculated body fat percentage, and an electric power source circuit 58 which is connected to a battery 57 for driving the biological data acquiring apparatus 40 are also connected to the microprocessor 50 via respective data buses or control signal buses.
  • USB terminal 51 is connected to the electric power source circuit 58 via an electric power supply line V1.
  • the microprocessor 50, the EEPROM 56 and the above circuits are also connected to the electric power source circuit 58 via respective electric power supply lines.
  • the electric power source circuit 58 keeps the electric power supply line V1 and the battery 57 disconnected from each other under normal circumstances and connects one to the other upon receipt of a control signal from the microprocessor 50.
  • the microprocessor 50 calculates a body fat percentage based on a body weight measured by the straining member 42 and the scale circuit 52, personal data input by the operation switches 43 and the input circuit 53, and bioelectrical impedance measured by the electrodes 44 and the impedance circuit 54. That is, the microprocessor 50, the straining member 42 and the scale circuit 52, the operation switches 43 and the input circuit 53, and the electrodes 44 and the impedance circuit 54 all together constitute biological data acquiring means incorporated in the main unit 41.
  • the processing capacity of the CPU constituting the microprocessor 50 is not as high as that of a CPU incorporated in a personal computer or the like. Therefore, the CPU does not accommodate USB transmission and relies on the above serial transmission using the serial signals in transmitting data to the storage device 71.
  • the data processing terminal 60 shown in Fig. 6 is a so-called desktop personal computer which accommodates USB transmission. It has a female USB terminal 61. Further, history management program software for displaying histories of changes of biological data as graphs on a monitor is also installed in the data processing terminal 60. By the program software, the personal data, the body weight data and the data of the body fat percentage which are acquired in the main unit 41 of the biological data acquiring apparatus 40 are USB-transmitted from the storage device 71 to the data processing terminal 60, whereby histories of changes of these biological data can be managed.
  • the acquired biological data are serial-transmitted from the main unit 41 to the storage device 71 and stored in the EEPROM 75 (as indicated by the dotted line SERIAL in Fig. 6). Further, when the storage device 71 is connected to the data processing terminal 60, the biological data stored in the EEPROM 75 are USB-transmitted to the data processing terminal 60 (as indicated by the dotted line USB in Fig. 6).
  • Fig. 8 is a flowchart showing a first example of a control program (hereinafter referred to as "first program") which is executed by the microprocessor 74 of the storage device 71 when the storage device 71 is connected to the main unit 41 or the data processing terminal 60 which is a host device.
  • Fig. 9 is a diagram showing a signal in the data bus D1 at the time of execution of the control program in Fig. 8.
  • the data bus D5 of the main unit 41 also shows a signal similar to that of Fig. 9.
  • the first program is executed in the microprocessor 74 at the start of energization of the storage device 1. That is, when a connection confirmation process to be described later is conducted in the main body 41 to which the storage device 71 is being connected, when the storage device 71 is connected to the data processing terminal 60 whose power is on or when the data processing terminal 60 is turned on with the storage device 71 being connected to the terminal 60, electric power is supplied to the storage device 71 from the main unit 41 or the data processing terminal 60 via the USB terminal 72, and control in accordance with the flowchart of Fig. 8. is implemented.
  • the microprocessor 74 selects and activates a USB transmission mode, regardless of whether the storage device 71 is being connected to the main unit 41 or the data processing terminal 60. That is, the microprocessor 74 transmits a switching signal to the analog switch 73 via the control signal bus C1 so as to connect the data bus D1 to the data bus D2 which accommodates USB transmission. As a result, the data buses D1 and D2 are connected to each other, and the data line D- of the data bus D1 is pulled up to the Hi level as indicated by a solid line in Fig. 9, and USB transmission becomes possible.
  • a waiting time of 100 ms is set so as to remove chattering CH at the moment when the USB terminal 72 is connected to the USB terminal of the host device.
  • the waiting time may be any duration of time as long as it is sufficient to remove the chattering.
  • the waiting time is not limited to 100 ms and may be preset to time of given length.
  • the bus reset signal RS is an identification signal for confirming connection which is transmitted from the host device upon connection in the USB standard. That is, when the storage device 71 is connected to the data processing terminal 60, the bus reset signal RS is received, and the data line D- becomes the Low level over 50 ms (or 10 ms when a USB hub intervenes) (as indicated by a solid line in Fig. 9).
  • the microprocessor 74 determines that the storage device 71 is connected to the data processing terminal 60 and proceeds to STEP S7 by skipping subsequent STEPS S3 to S6. Meanwhile, when the reception of the bus reset signal RS is not confirmed, the microprocessor 74 proceeds to STEP S3.
  • STEP S3 it is determined whether time to wait for the reception of the bus reset signal RS has been elapsed. Timing of transmission of the bus reset signal RS from the host device becomes slightly earlier or later than it should be depending on the loaded condition of the device or other conditions. Thus, in the present example, a waiting time of 80 ms is set. As a matter of course, the waiting time may be set as appropriate.
  • the microprocessor 74 returns to STEP S2 and confirms the reception of the bus reset signal RS again.
  • STEP S2 and STEP S3 are repeated until the bus reset signal RS is confirmed in STEP S2 or passage of the waiting time of 80 ms is confirmed in STEP S3. Meanwhile, when it has been confirmed in STEP S3 that the waiting time of 80 ms has been elapsed, the microprocessor 74 proceeds to STEP S4.
  • the USB transmission mode is switched to a serial transmission mode. That is, when the bus reset signal RS is not received within the waiting time in STEP S3, the microprocessor 74 determines that the storage device 71 is connected to the main unit 41 (that is, a device which does not accommodate USB transmission) and transmits a switching signal to the analog switch 73 via the control signal bus C1 so as to connect the data bus D1 to the data bus D3 which accommodates serial transmission. As a result, the data buses D1 and D3 are connected to each other, and the data line D- is pulled down to the Low level as indicated by a dotted line in Fig. 9, and serial transmission becomes possible. Thereafter, the microprocessor 74 proceeds to STEP S5.
  • the command pulse PL is an identification signal for confirming connection which is preset to be transmitted from the main unit 41 to the storage device 71 in executing a connection confirmation process to be described later. Therefore, when the reception of the command pulse PL has been confirmed, the microprocessor 74 determines that the storage device 71 is connected to the main unit 41 and proceeds to STEP S6. Meanwhile, when the command pulse PL is not confirmed, it implies that the storage device 71 is in such an abnormal state that its power is on without being connected to either the main unit 41 or the data processing terminal 60 (for example, contact failure of the data bus for the USB terminal 72). Hence, the microprocessor 74 repeats STEP S5 until the command pulse PS is confirmed.
  • the microprocessor 74 transmits a reply command pulse PL' which is preset in conformity to the command pulse PL to the main unit 41. Thereby, the microprocessor 50 of the main unit 41 also confirms connection of the storage device 71. Then, the microprocessor 74 proceeds to STEP S7.
  • STEP S7 data is transmitted between the storage device 71 and the main unit 41 or the data processing terminal 60 in accordance with the transmission mode selected by STEPS S1 to S4. That is, when the storage device 71 is connected to the main unit 41 and the serial transmission mode is selected, the microprocessor 74 receives serial signals from the main unit 41 as biological data via the USB terminal 72, the data bus D1, the analog switch 73 and the data bus D3 and stores the data in the EEPROM 75 via the data bus D4.
  • the microprocessor 74 reads out biological data from the EEPROM 75 via the data bus D4 and transmits to the data processing terminal 60 as the USB signals via the data bus D2, the analog switch 73, the data bus D1 and the USB terminal 72.
  • Fig. 10 is a flowchart showing a second example of the control program (hereinafter referred to as "second program") which is executed by the microprocessor 74 of the storage device 71 when the storage device 71 is connected to the host device.
  • Fig. 11 is a diagram showing a signal in the data bus D1 at the time of execution of the control program in Fig. 10.
  • the microprocessor 74 selects and activates a serial transmission mode in STEP S1' after the start of energization. That is, the data buses D1 and D3 are connected to each other via the analog switch 73, the data line D- becomes the Low level as indicated by a solid line in Fig. 11, and serial transmission becomes possible. Further, in STEP S1' as well, a waiting time of 100 ms is set so as to remove chattering CH.
  • STEP S3' it is determined whether time to wait for the reception of the command pulse PL has been elapsed.
  • a waiting time of 50 ms is set.
  • the microprocessor 74 returns to STEP S2' and confirms the reception of the command pulse PL again.
  • STEP S2' and STEP S3' are repeated until the command pulse PL is confirmed in STEP S2' or passage of the waiting time of 50 ms is confirmed in STEP S3'.
  • the microprocessor 74 proceeds to STEP S4'.
  • command pulse PL is transmitted from not the data processing terminal 60 such as a personal computer which has a high load change rate but the main unit 41 which is a device with a relatively stable load, timing of its transmission can be relatively stable as compared with timing of transmission of the bus reset signal RS.
  • the serial transmission mode is switched to a USB transmission mode. That is, when the command pulse PL is not received within the waiting time in STEP S3', the microprocessor 74 determines that the storage device 71 is not connected to the main unit 41 and transmits a control signal to the analog switch 73 so as to connect the data bus D1 to the data bus D2 which is used for USB transmission. As a result, the data line D- of the data bus D1 is pulled up to the Hi level as indicated by a dotted line in Fig. 11, and serial transmission becomes possible. Thereafter, the microprocessor 74 proceeds to STEP S5'.
  • STEP S5' reception of the bus reset signal RS is confirmed.
  • the microprocessor 74 can determine that the storage device 71 is connected to the data processing terminal 60 and then proceeds to STEP S7'. Meanwhile, when the bus reset signal RS is not confirmed, it implies that the storage device 71 is in such an abnormal state that its power is on without being connected to either the main unit 41 or the data processing terminal 60 (for example, contact failure of the data bus for the USB terminal 72). Thus, the microprocessor 74 repeats STEP S5' until the bus reset signal RS is confirmed.
  • STEP S7' data is transmitted between the storage device 71 and the main unit 41 or the data processing terminal 60 in accordance with the transmission mode selected by STEPS S1' to S4'. A detailed description of the data transmission will be omitted because STEP S7' is similar to STEP S7 of the first program.
  • the storage device 71 may misrecognize that it is connected to the main unit 41.
  • the second program although it must be preset to transmit a given command pulse PL from the main unit 41, the timing of transmission of the pulse is stable, so that the possibility of occurrence of the above misrecognition can be reduced.
  • Fig. 12 shows the main routine of a control program which is executed by the microprocessor 50 of the main unit 41.
  • a control program is executed after a predetermined initialization process.
  • STEP S10 the process of confirming connection of the storage device 71 is performed. In this process, it is confirmed whether the storage device 71 is connected to the main unit 41 correctly and data can be transmitted from the main unit 41 to the storage device 71, and if the data transmission is possible, a connection flag is set, while if the data transmission is not possible, the connection flag is cleared. This connection confirmation process will be further described later.
  • the user operates the operation switches 43 so as to input personal data.
  • the personal data is sent to the microprocessor 50 via the input circuit 53 and stored in the RAM of the microprocessor 50 temporarily. It is also possible that the personal data is stored in the EEPROM 56 together with a personal number set for each user and the user causes the microprocessor 50 to retrieve the personal data from the EEPROM 56 simply by entering the personal number through the operation switches 43 on the next measurement.
  • STEP S30 when the user stands on the main unit 41 with the bottoms of both feet in contact with the electrodes 44, the strain of the straining member 42 is input into the microprocessor 50 via the scale circuit 52 so as to measure a body weight. Further, in STEP S40, a voltage value detected by the electrodes 44 is input into the microprocessor 50 via the impedance circuit 54 so as to measure bioelectrical impedance.
  • STEP S50 the body fat percentage of the user are calculated based on the personal data input in STEP S20, the body weight data measured in STEP S30 and the bioelectrical impedance measured in STEP S40.
  • the processes of STEPS S20 to S50 are similar to those carried out by a conventionally known scale with a body fat monitor.
  • STEP S70 the state of the connection flag which has been set or cleared in STEP S10 and STEP S60 is determined.
  • the microprocessor 50 proceeds to STEP S80, while when the connection flag is cleared, the microprocessor 50 skips STEP S80 and proceeds to STEP S90.
  • STEP S80 the biological data acquired in STEPS S20 to S50 are serial-transmitted to the storage device 71.
  • STEP S90 the biological data acquired in STEPS S20 to S50 are displayed on the liquid crystal display 45.
  • This display process is also similar to that carried out by the conventionally known scale with a body fat monitor. Thereafter, the main unit 41 is turned off, whereby the whole control process is completed.
  • connection confirmation process which is carried out in STEP S10 and STEP S60 will be described with referring to the flowchart in Fig. 13 which shows the subroutine of the connection confirmation process.
  • the microprocessor 50 controls the electric power source circuit 58 so as to connect the electric power supply line V1 to the battery 57.
  • the electric power of the battery 57 is supplied from the electric power source circuit 58 to the storage device 71 via the electric power supply line V1, the USB terminal 51 and the USB terminal 72.
  • energization of the storage device 71 is initiated.
  • a predetermined waiting time is set so as to remove the above chattering CH.
  • This waiting time desirably corresponds to the waiting time set for the storage device 71. That is, when the storage device 71 uses the above first program, the predetermined waiting time is desirably at least the sum of 80 ms and 100 ms (i.e. 180 ms), which are respectively set in STEP S3 and S1 of the first program, and is set at 200 ms, for example. Meanwhile, when the storage device 71 uses the above second program, the predetermined waiting time is desirably not shorter than the waiting time of 100 ms which is set in STEP S1' of the second program and is set at 120 ms, for example. After the thus set waiting time is elapsed, the microprocessor 50 proceeds to STEP S12.
  • the microprocessor 50 transmits the command pulse PL for confirming connection to the USB terminal 51 via the data bus D5.
  • the command pulse PL from the USB terminal 51 is received by the microprocessor 74 of the storage device 71 via the USB terminal 72.
  • the microprocessor 50 confirms reception of the reply command pulse PL' from the storage device 71.
  • the reply command pulse PL' is set to be transmitted by the storage device 71 when the storage device 71 receives the command pulse PL (STEP S6 in Fig. 8 or STEP S6' in Fig. 10).
  • the microprocessor 50 determines that the storage device 71 is connected to the main unit 41 and proceeds to STEP S14. Meanwhile, when the reply command pulse PL' is not confirmed, the microprocessor 50 proceeds to STEP S15.
  • the microprocessor 50 sets the connection flag and displays a mark or the like which indicates connection of the storage device 71 on the display 45. Then, the microprocessor 50 terminates the subroutine and returns to the main routine.
  • STEP S15 it is determined whether time to wait for the reception of the reply command pulse PL' has been elapsed.
  • This waiting time may be set as appropriate, but in the present embodiment, it is set as 50 ms from transmission of the command pulse PL in STEP S12.
  • the microprocessor 50 returns to STEP S13 and confirms the reception of the reply command pulse PL' again.
  • STEP S13 and STEP S15 are repeated until the reply command pulse PL' is confirmed in STEP S13 or passage of the waiting time of 50 ms is confirmed in STEP S15.
  • the microprocessor 50 determines that the storage device 71 is not connected to the main unit 41 and proceeds to STEP S16.
  • STEP S16 the microprocessor 50 clears the connection flag and displays a mark or the like which indicates non-connection of the storage device 71 on the display 45. Then, the microprocessor 50 proceeds to STEP S17.
  • the microprocessor 50 controls the electric power source circuit 58 so as to disconnect the electric power supply line V1 from the battery 57. Thereafter, the microprocessor 50 terminates the subroutine and returns to the main routine.
  • connection confirmation process is included in the main routine of the control program in the present embodiment and is executed either by turning on the main unit 41 or by completing calculation of the body fat percentage. However, only either one of these conditions may be taken as the condition for starting the execution of the process.
  • the process may be a subroutine which can interrupt the main routine at the user's option. That is, the process can be, for example, an interrupt subroutine which is executed when a user presses down a special switch among the operation switches 43 of the main unit 41 which is provided specifically for directing transmission of data to the storage device 71.
  • use of the data transmitter of the present invention is not limited to a part of the storage device incorporating the memory for data storage, and the data transmitter can be widely used in devices which need to conduct data transmissions corresponding to different data transmission capacities with multiple host devices having the data transmission capacities.
  • standards for the connection terminals and data transmissions are not limited to USB, and a variety of other standards including RS-232C, RS-422 and IEEE1394 can also be used. Further, 3 or more transmission standards can be used.
  • switching of a software-based logic gate or a mechanical switching device operated directly by a user may also be used in addition to the analog switch.
  • the storage device of the present invention is not limited to a part of the biological data acquiring apparatus.
  • the storage device can be widely used as a general-purpose storage device incorporating a memory for data storage.
  • the biological data acquiring apparatus of the present invention is not limited to an apparatus which measures bioelectrical impedance between the bottoms of both feet of a user and can be widely used as an apparatus which measures bioelectrical impedance between both hands, between a hand and a foot or between other specific parts of a user.
  • the biological data acquiring apparatus of the present invention is not limited to a biological data acquiring apparatus of the type which measures the body weight or bioelectrical impedance of a user and can be widely used, for example, as an apparatus which measures or calculates a thickness of fat or a bone density by use of ultrasonic wave or the like or various other known apparatuses for acquiring biological data such as a blood pressure meter, a pulse meter, a pedometer and a consumed calorie meter.
  • the biological data acquiring apparatus of the present invention is not limited to a stationary biological data acquiring apparatus and can be widely used as a portable biological data acquiring apparatus as well.
  • the storage device for a biological data acquiring apparatus is independent and detachable from the main unit of the biological data acquiring apparatus that incorporates biological data acquiring means for acquiring biological data and has biological data storing means for storing the biological data acquired by the biological data acquiring means.
  • the storage device can be detached from the main unit of the biological data acquiring apparatus with the biological data stored in the biological data storing means and can be connected to a data processing terminal so as to transmit the stored biological data to the data processing terminal. Further, by accumulating the biological data in the data processing terminal or performing computations in the data processing terminal, desired biological data which are difficult to acquire by the biological data acquiring apparatus alone can be acquired.
  • the above storage device has program software for performing computations based on the biological data stored in the above biological data storing means
  • the program software can be executed in the data processing terminal when the storage device is connected to the data processing terminal.
  • the above storage device has program software for performing computations based on the biological data stored in the above biological data storing means and an operation element for executing the program software
  • the program software can be executed in the storage device, and biological data resulting from the execution of the software can be transmitted to the data processing terminal.
  • the need to store all biological data in the biological data storing means is obviated, and the storage capacity of the biological data storing means can be kept small, thereby making the storage device relatively inexpensive.
  • the storage device when the above storage device has a data transmitter which carries out data transmission with a host device via a connection terminal that accommodates a predetermined data transmission standard and which comprises data signal processing means for processing a number of different data signals including a data signal that accommodates the above predetermined data transmission standard and data signal selecting means for selecting a data signal to be processed by the data signal processing means, the storage device can be used between a host device (data processing terminal) which accommodates the above predetermined data transmission standard and a host device (biological data acquiring apparatus) which does not accommodate the standard, without increasing the number of the connection terminal.
  • the above data signal selecting means selects the data signal based on a given identification signal transmitted from the host device
  • selection of the data signal can be made simply by connecting the storage device to the host device.
  • the storage device can be used easily.
  • the storage device can also conduct data transmission with a host device which does not accommodate the USB standard by use of a data transmitter which accommodates the widely prevalent USB standard.
  • the usability of the biological data acquiring apparatus can be improved because there is no need to move the main unit in transmitting biological data to the data processing terminal.
  • the biological data acquiring apparatus comprises a main unit which incorporates biological data acquiring means for acquiring biological data and a storage device which is independent and detachable from the main unit and has biological data storing means for storing the biological data acquired by the above biological data acquiring means.
  • the storage device can be detached from the main unit with the biological data stored in the biological data storing means and can be connected to a data processing terminal so as to transmit the stored biological data to the data processing terminal. Further, by accumulating the biological data in the data processing terminal or performing computations in the data processing terminal, desired biological data which are difficult to acquire by the biological data acquiring apparatus alone can be acquired.
  • the above storage device has program software for performing computations based on the biological data stored in the above biological data storing means
  • the program software can be executed in the data processing terminal when the storage device is connected to the data processing terminal.
  • the above storage device has program software for performing computations based on the biological data stored in the above biological data storing means and an operation element for executing the program software
  • the program software can be executed in the storage device, and biological data resulting from the execution of the software can be transmitted to the data processing terminal.
  • the need to store all biological data in the biological data storing means is obviated, and the storage capacity of the biological data storing means can be kept small, thereby making the biological data acquiring apparatus relatively inexpensive.
  • the above storage device has a data transmitter which carries out data transmission with a host device via a connection terminal that accommodates a predetermined data transmission standard and which comprises data signal processing means for processing a number of different data signals including a data signal that accommodates the above predetermined data transmission standard and data signal selecting means for selecting a data signal to be processed by the data signal processing means
  • data transmission can be carried out between the data processing terminal which accommodates the above predetermined data transmission standard and the biological data acquiring apparatus which does not accommodate the standard by use of the storage device, without increasing the number of the connection terminal of the storage device.
  • the above data signal selecting means selects the data signal based on a given identification signal transmitted from the host device
  • selection of the data signal can be made simply by connecting the storage device to the host device.
  • the storage device can be used easily.
  • the storage device can also conduct data transmission with a host device which does not accommodate the USB standard by use of a data transmitter which accommodates the widely prevalent USB standard.
  • the biological data acquiring apparatus can be of good usability because there is no need to move the main unit in transmitting biological data to the data processing terminal.
  • the data transmitter according to the present invention is a data transmitter which carries out data transmission with a host device via a connection terminal that accommodates a predetermined data transmission standard and which comprises data signal processing means for processing a number of different data signals including a data signal that accommodates the predetermined data transmission standard and data signal selecting means for selecting a data signal to be processed by the data signal processing means.
  • the data transmitter can carry out data transmission by selecting a data signal of the predetermined data transmission standard when the host device accommodates the standard and by selecting a data signal of other standard when the host device does not accommodate the predetermined data transmission standard, without increasing the number of the connection terminal.
  • the above data signal selecting means selects the data signal based on a given identification signal transmitted from the host device, selection of the data signal can be made simply by connecting the data transmitter to the host device. Thus, the data transmitter can be used easily.
  • the above predetermined data transmission standard is the USB standard
  • data transmission can be carried out with a host device which does not accommodate the USB standard by use of the data transmitter which accommodates the widely prevalent USB standard.
  • the storage device comprises the above data transmitter according to the present invention and a memory for storing data.
  • the storage device can be used between a host device which accommodates the above predetermined data transmission standard and a host device which does not accommodate the standard, without increasing the number of the connection terminal.
  • the biological data acquiring apparatus is a biological data acquiring apparatus comprising a main unit which incorporates biological data acquiring means for acquiring biological data and a storage device which is independent from the main unit and detachable from the main unit via a terminal for data transmission and comprises the data transmitter according to the present invention and a memory for storing the biological data acquired by the above main unit.
  • data transmission can be carried out between the data processing terminal which accommodates the above predetermined data transmission standard and the biological data acquiring apparatus which does not accommodate the standard by use of the storage device, without increasing the number of the connection terminal of the storage device.
  • the program software can be executed in the data processing terminal when the storage device is connected to the data processing terminal.
  • the need to store all biological data in the memory is obviated, and the storage capacity of the memory can be kept small, thereby making the biological data acquiring apparatus relatively inexpensive.
  • the above storage device has program software for performing computations based on the biological data stored in the above memory and an operation element for executing the program software
  • the program software can be executed in the storage device, and biological data resulting from the execution of the software can be transmitted to the data processing terminal.
  • the need to store all biological data in the memory is obviated, and the storage capacity of the memory can be kept small, thereby making the biological data acquiring apparatus relatively inexpensive.
  • the biological data acquiring apparatus can be of good usability because there is no need to move the main unit in transmitting biological data to the data processing terminal.

Landscapes

  • Health & Medical Sciences (AREA)
  • Life Sciences & Earth Sciences (AREA)
  • Engineering & Computer Science (AREA)
  • Medical Informatics (AREA)
  • Public Health (AREA)
  • General Health & Medical Sciences (AREA)
  • Molecular Biology (AREA)
  • Physics & Mathematics (AREA)
  • Heart & Thoracic Surgery (AREA)
  • Pathology (AREA)
  • Biophysics (AREA)
  • Surgery (AREA)
  • Animal Behavior & Ethology (AREA)
  • Biomedical Technology (AREA)
  • Veterinary Medicine (AREA)
  • Computer Networks & Wireless Communication (AREA)
  • Epidemiology (AREA)
  • Primary Health Care (AREA)
  • Measurement And Recording Of Electrical Phenomena And Electrical Characteristics Of The Living Body (AREA)
  • Measuring And Recording Apparatus For Diagnosis (AREA)
EP04003030A 2003-02-28 2004-02-11 Datenspeicher Expired - Lifetime EP1452130B1 (de)

Priority Applications (1)

Application Number Priority Date Filing Date Title
EP05002507A EP1529486A3 (de) 2003-02-28 2004-02-11 Datenspeicher, Datenerfassungsgerät für biologische Daten, und ein Datensender

Applications Claiming Priority (4)

Application Number Priority Date Filing Date Title
JP2003052410A JP2004261255A (ja) 2003-02-28 2003-02-28 生体情報取得装置用の記憶装置、及びこれを用いた生体情報取得装置
JP2003052410 2003-02-28
JP2003186271 2003-06-30
JP2003186271A JP2005018696A (ja) 2003-06-30 2003-06-30 データ伝送装置、データ伝送装置搭載の記憶装置、及びデータ伝送装置搭載の記憶装置を備えた生体情報取得装置

Related Child Applications (1)

Application Number Title Priority Date Filing Date
EP05002507A Division EP1529486A3 (de) 2003-02-28 2004-02-11 Datenspeicher, Datenerfassungsgerät für biologische Daten, und ein Datensender

Publications (3)

Publication Number Publication Date
EP1452130A2 true EP1452130A2 (de) 2004-09-01
EP1452130A3 EP1452130A3 (de) 2004-10-13
EP1452130B1 EP1452130B1 (de) 2008-08-06

Family

ID=32775237

Family Applications (2)

Application Number Title Priority Date Filing Date
EP05002507A Withdrawn EP1529486A3 (de) 2003-02-28 2004-02-11 Datenspeicher, Datenerfassungsgerät für biologische Daten, und ein Datensender
EP04003030A Expired - Lifetime EP1452130B1 (de) 2003-02-28 2004-02-11 Datenspeicher

Family Applications Before (1)

Application Number Title Priority Date Filing Date
EP05002507A Withdrawn EP1529486A3 (de) 2003-02-28 2004-02-11 Datenspeicher, Datenerfassungsgerät für biologische Daten, und ein Datensender

Country Status (4)

Country Link
US (1) US20040199777A1 (de)
EP (2) EP1529486A3 (de)
CN (2) CN1300669C (de)
DE (1) DE602004015520D1 (de)

Families Citing this family (7)

* Cited by examiner, † Cited by third party
Publication number Priority date Publication date Assignee Title
TWM294919U (en) * 2005-06-17 2006-08-01 Genesys Logic Inc Integrated portable medical detecting device
DE102006002851B4 (de) * 2006-01-19 2015-02-19 Beurer Gmbh Vorrichtung zum Überwachen der körperlichen Fitness
JP4234163B2 (ja) * 2006-09-06 2009-03-04 株式会社タニタ 体組成指標推定システム
CN100485698C (zh) * 2007-09-13 2009-05-06 蔡传忠 家用个人电子健康管理装置
GB201010674D0 (en) * 2010-06-24 2010-08-11 Avin Electronics Ltd Power control module
CN104318075A (zh) * 2014-10-10 2015-01-28 常州大学 一种基于云网络的远程注意力集中度对抗系统
WO2023163720A1 (en) * 2022-02-28 2023-08-31 Ko Harvey Wayne Handheld breast cancer probe and bioimpedance detection method

Family Cites Families (21)

* Cited by examiner, † Cited by third party
Publication number Priority date Publication date Assignee Title
US77077A (en) * 1868-04-21 Ira morse
US198024A (en) * 1877-12-11 Improvement in hat-boxes
DE69840972D1 (de) * 1997-02-14 2009-08-27 Canon Kk Vorrichtung, System und Verfahren zur Datenübertragung und Vorrichtung zur Bildverarbeitung
JP3104646B2 (ja) * 1997-06-04 2000-10-30 ソニー株式会社 外部記憶装置
US6476825B1 (en) * 1998-05-13 2002-11-05 Clemens Croy Hand-held video viewer and remote control device
US6625790B1 (en) * 1998-07-08 2003-09-23 Microsoft Corporation Method and apparatus for detecting the type of interface to which a peripheral device is connected
US6117077A (en) * 1999-01-22 2000-09-12 Del Mar Medical Systems, Llc Long-term, ambulatory physiological recorder
US6454708B1 (en) * 1999-04-15 2002-09-24 Nexan Limited Portable remote patient telemonitoring system using a memory card or smart card
CN100381979C (zh) * 2000-04-11 2008-04-16 姚立和 多接口存储卡及其转换模块
TW587929B (en) * 2000-05-31 2004-05-21 Matsushita Electric Industrial Co Ltd Medical checkup network system
US6699188B2 (en) * 2000-06-22 2004-03-02 Guidance Interactive Technologies Interactive reward devices and methods
US6494830B1 (en) * 2000-06-22 2002-12-17 Guidance Interactive Technologies, Inc. Handheld controller for monitoring/using medical parameters
JP2002041247A (ja) * 2000-07-28 2002-02-08 Nec Corp コンピュータシステムおよびusbメモリ装置
US7039391B2 (en) * 2000-11-28 2006-05-02 Xanboo, Inc. Method and system for communicating with a wireless device
US20020147035A1 (en) * 2001-04-10 2002-10-10 Den-Tsai Su Multifunctional battery box of a mobile telephone
JP2003005874A (ja) * 2001-06-20 2003-01-08 Canon Inc カードインターフェイス
JP2003010112A (ja) * 2001-06-28 2003-01-14 Olympus Optical Co Ltd 内視鏡システム
GB2377574A (en) * 2001-07-12 2003-01-15 Graeme Roy Smith Modular software/firmware definable video server
US20030034897A1 (en) * 2001-08-20 2003-02-20 Shamoon Charles G. Thermostat and remote control apparatus
CN1372221A (zh) * 2002-03-14 2002-10-02 山连根 保障驾驶学员培训质量的方法和车载驾驶信息记录器
US20030126593A1 (en) * 2002-11-04 2003-07-03 Mault James R. Interactive physiological monitoring system

Also Published As

Publication number Publication date
CN1661541A (zh) 2005-08-31
EP1452130A3 (de) 2004-10-13
EP1529486A2 (de) 2005-05-11
US20040199777A1 (en) 2004-10-07
EP1529486A3 (de) 2005-10-05
CN1525302A (zh) 2004-09-01
CN1300669C (zh) 2007-02-14
EP1452130B1 (de) 2008-08-06
CN1322409C (zh) 2007-06-20
DE602004015520D1 (de) 2008-09-18

Similar Documents

Publication Publication Date Title
US20060079739A1 (en) Multifunctional portable medical measurement device and display method thereof
US6191557B1 (en) Dual-mode fuel gauge for display in battery-powered equipment
US20100198032A1 (en) Portable handheld medical diagnostic device having a mezzanine circuit board with a universal connection interface
US8072341B2 (en) Detachable battery status alarm and battery detector thereof
JP4090373B2 (ja) 小型電気機器
KR20190022215A (ko) 모드 스위칭을 제공하는 전자 장치 및 저장 매체
EP1452130A2 (de) Datenspeicher, Datenerfassungsgerät für biologische Daten, und ein Datensender
EP3378382B1 (de) Tragbare komplexe sensorvorrichtung zur messung mehrerer biometrischer informationen und messverfahren
US20240172939A1 (en) Portable complex sensor device for measuring multiple items of biometric information, and measurement method
US20050203351A1 (en) Biological data acquiring apparatus and storage device for biological data acquiring apparatus
JP2005018696A (ja) データ伝送装置、データ伝送装置搭載の記憶装置、及びデータ伝送装置搭載の記憶装置を備えた生体情報取得装置
EP1987763A2 (de) System und Verfahren zum Messen und Anzeigen von Gesundheitsinformationen
JP4955437B2 (ja) 生化学測定器の状態を表示できる生化学測定器スタンド
JP2004261255A (ja) 生体情報取得装置用の記憶装置、及びこれを用いた生体情報取得装置
US20230115904A1 (en) A modular accessory device for a transmitter device
JP3437397B2 (ja) 情報処理装置、電池パックおよび電池パックの電池残量算出方法
JP4364666B2 (ja) 生体情報取得装置
JP2004286473A (ja) 小型電気機器
JP2016134064A (ja) 通信システム、リーダライタ側情報通信装置、及びタグ側情報通信装置
JP2000306186A (ja) 携帯型測定装置および測定情報処理システム
KR200267249Y1 (ko) 휴대용 체지방측정기
JP2003024292A (ja) セパレート型光通信生体計測装置
JP2005295174A (ja) 送信システム
KR20020092122A (ko) 체지방 측정방법 및 그 장치
JP2005046253A (ja) 生体計測装置

Legal Events

Date Code Title Description
PUAI Public reference made under article 153(3) epc to a published international application that has entered the european phase

Free format text: ORIGINAL CODE: 0009012

PUAL Search report despatched

Free format text: ORIGINAL CODE: 0009013

17P Request for examination filed

Effective date: 20040211

AK Designated contracting states

Kind code of ref document: A2

Designated state(s): AT BE BG CH CY CZ DE DK EE ES FI FR GB GR HU IE IT LI LU MC NL PT RO SE SI SK TR

AX Request for extension of the european patent

Extension state: AL LT LV MK

RIC1 Information provided on ipc code assigned before grant

Ipc: 7A 61B 5/00 A

Ipc: 7G 06F 159/00 B

Ipc: 7A 61B 5/117 B

Ipc: 7G 06F 19/00 B

AK Designated contracting states

Kind code of ref document: A3

Designated state(s): AT BE BG CH CY CZ DE DK EE ES FI FR GB GR HU IE IT LI LU MC NL PT RO SE SI SK TR

AX Request for extension of the european patent

Extension state: AL LT LV MK

AKX Designation fees paid

Designated state(s): DE FR GB

17Q First examination report despatched

Effective date: 20050624

17Q First examination report despatched

Effective date: 20050624

GRAP Despatch of communication of intention to grant a patent

Free format text: ORIGINAL CODE: EPIDOSNIGR1

RIC1 Information provided on ipc code assigned before grant

Ipc: A61B 5/00 20060101AFI20080306BHEP

Ipc: G06F 19/00 20060101ALI20080306BHEP

Ipc: A61B 5/117 20060101ALI20080306BHEP

RTI1 Title (correction)

Free format text: STORAGE DEVICE

GRAS Grant fee paid

Free format text: ORIGINAL CODE: EPIDOSNIGR3

GRAA (expected) grant

Free format text: ORIGINAL CODE: 0009210

AK Designated contracting states

Kind code of ref document: B1

Designated state(s): DE FR GB

REG Reference to a national code

Ref country code: GB

Ref legal event code: FG4D

REF Corresponds to:

Ref document number: 602004015520

Country of ref document: DE

Date of ref document: 20080918

Kind code of ref document: P

PLBE No opposition filed within time limit

Free format text: ORIGINAL CODE: 0009261

STAA Information on the status of an ep patent application or granted ep patent

Free format text: STATUS: NO OPPOSITION FILED WITHIN TIME LIMIT

26N No opposition filed

Effective date: 20090507

REG Reference to a national code

Ref country code: FR

Ref legal event code: PLFP

Year of fee payment: 13

PGFP Annual fee paid to national office [announced via postgrant information from national office to epo]

Ref country code: DE

Payment date: 20160202

Year of fee payment: 13

PGFP Annual fee paid to national office [announced via postgrant information from national office to epo]

Ref country code: GB

Payment date: 20160210

Year of fee payment: 13

Ref country code: FR

Payment date: 20160108

Year of fee payment: 13

REG Reference to a national code

Ref country code: DE

Ref legal event code: R119

Ref document number: 602004015520

Country of ref document: DE

GBPC Gb: european patent ceased through non-payment of renewal fee

Effective date: 20170211

REG Reference to a national code

Ref country code: FR

Ref legal event code: ST

Effective date: 20171031

PG25 Lapsed in a contracting state [announced via postgrant information from national office to epo]

Ref country code: FR

Free format text: LAPSE BECAUSE OF NON-PAYMENT OF DUE FEES

Effective date: 20170228

Ref country code: DE

Free format text: LAPSE BECAUSE OF NON-PAYMENT OF DUE FEES

Effective date: 20170901

PG25 Lapsed in a contracting state [announced via postgrant information from national office to epo]

Ref country code: GB

Free format text: LAPSE BECAUSE OF NON-PAYMENT OF DUE FEES

Effective date: 20170211