EP1395753B1 - Hochdruckpumpe für ein kraftstoffsystem einer brennkraftmaschine - Google Patents
Hochdruckpumpe für ein kraftstoffsystem einer brennkraftmaschine Download PDFInfo
- Publication number
- EP1395753B1 EP1395753B1 EP02747167A EP02747167A EP1395753B1 EP 1395753 B1 EP1395753 B1 EP 1395753B1 EP 02747167 A EP02747167 A EP 02747167A EP 02747167 A EP02747167 A EP 02747167A EP 1395753 B1 EP1395753 B1 EP 1395753B1
- Authority
- EP
- European Patent Office
- Prior art keywords
- piston
- bearing
- fluid connection
- shaft
- fuel
- Prior art date
- Legal status (The legal status is an assumption and is not a legal conclusion. Google has not performed a legal analysis and makes no representation as to the accuracy of the status listed.)
- Expired - Lifetime
Links
- 239000000446 fuel Substances 0.000 title claims description 62
- 238000002485 combustion reaction Methods 0.000 title claims description 17
- 239000012530 fluid Substances 0.000 claims description 47
- 230000002706 hydrostatic effect Effects 0.000 claims description 32
- 239000002828 fuel tank Substances 0.000 claims description 2
- 238000002347 injection Methods 0.000 claims 1
- 239000007924 injection Substances 0.000 claims 1
- 230000001105 regulatory effect Effects 0.000 description 5
- 230000006835 compression Effects 0.000 description 3
- 238000007906 compression Methods 0.000 description 3
- 238000011161 development Methods 0.000 description 3
- 238000004519 manufacturing process Methods 0.000 description 3
- 239000000314 lubricant Substances 0.000 description 2
- 230000015572 biosynthetic process Effects 0.000 description 1
- 238000004891 communication Methods 0.000 description 1
- 238000013461 design Methods 0.000 description 1
- 238000010586 diagram Methods 0.000 description 1
- 238000012423 maintenance Methods 0.000 description 1
- 238000005086 pumping Methods 0.000 description 1
- 230000002123 temporal effect Effects 0.000 description 1
- 238000012549 training Methods 0.000 description 1
- 238000011144 upstream manufacturing Methods 0.000 description 1
Images
Classifications
-
- F—MECHANICAL ENGINEERING; LIGHTING; HEATING; WEAPONS; BLASTING
- F02—COMBUSTION ENGINES; HOT-GAS OR COMBUSTION-PRODUCT ENGINE PLANTS
- F02M—SUPPLYING COMBUSTION ENGINES IN GENERAL WITH COMBUSTIBLE MIXTURES OR CONSTITUENTS THEREOF
- F02M63/00—Other fuel-injection apparatus having pertinent characteristics not provided for in groups F02M39/00 - F02M57/00 or F02M67/00; Details, component parts, or accessories of fuel-injection apparatus, not provided for in, or of interest apart from, the apparatus of groups F02M39/00 - F02M61/00 or F02M67/00; Combination of fuel pump with other devices, e.g. lubricating oil pump
- F02M63/02—Fuel-injection apparatus having several injectors fed by a common pumping element, or having several pumping elements feeding a common injector; Fuel-injection apparatus having provisions for cutting-out pumps, pumping elements, or injectors; Fuel-injection apparatus having provisions for variably interconnecting pumping elements and injectors alternatively
- F02M63/0225—Fuel-injection apparatus having a common rail feeding several injectors ; Means for varying pressure in common rails; Pumps feeding common rails
-
- F—MECHANICAL ENGINEERING; LIGHTING; HEATING; WEAPONS; BLASTING
- F02—COMBUSTION ENGINES; HOT-GAS OR COMBUSTION-PRODUCT ENGINE PLANTS
- F02M—SUPPLYING COMBUSTION ENGINES IN GENERAL WITH COMBUSTIBLE MIXTURES OR CONSTITUENTS THEREOF
- F02M59/00—Pumps specially adapted for fuel-injection and not provided for in groups F02M39/00 -F02M57/00, e.g. rotary cylinder-block type of pumps
- F02M59/02—Pumps specially adapted for fuel-injection and not provided for in groups F02M39/00 -F02M57/00, e.g. rotary cylinder-block type of pumps of reciprocating-piston or reciprocating-cylinder type
- F02M59/04—Pumps specially adapted for fuel-injection and not provided for in groups F02M39/00 -F02M57/00, e.g. rotary cylinder-block type of pumps of reciprocating-piston or reciprocating-cylinder type characterised by special arrangement of cylinders with respect to piston-driving shaft, e.g. arranged parallel to that shaft or swash-plate type pumps
- F02M59/06—Pumps specially adapted for fuel-injection and not provided for in groups F02M39/00 -F02M57/00, e.g. rotary cylinder-block type of pumps of reciprocating-piston or reciprocating-cylinder type characterised by special arrangement of cylinders with respect to piston-driving shaft, e.g. arranged parallel to that shaft or swash-plate type pumps with cylinders arranged radially to driving shaft, e.g. in V or star arrangement
-
- F—MECHANICAL ENGINEERING; LIGHTING; HEATING; WEAPONS; BLASTING
- F02—COMBUSTION ENGINES; HOT-GAS OR COMBUSTION-PRODUCT ENGINE PLANTS
- F02M—SUPPLYING COMBUSTION ENGINES IN GENERAL WITH COMBUSTIBLE MIXTURES OR CONSTITUENTS THEREOF
- F02M59/00—Pumps specially adapted for fuel-injection and not provided for in groups F02M39/00 -F02M57/00, e.g. rotary cylinder-block type of pumps
- F02M59/02—Pumps specially adapted for fuel-injection and not provided for in groups F02M39/00 -F02M57/00, e.g. rotary cylinder-block type of pumps of reciprocating-piston or reciprocating-cylinder type
- F02M59/10—Pumps specially adapted for fuel-injection and not provided for in groups F02M39/00 -F02M57/00, e.g. rotary cylinder-block type of pumps of reciprocating-piston or reciprocating-cylinder type characterised by the piston-drive
- F02M59/102—Mechanical drive, e.g. tappets or cams
-
- F—MECHANICAL ENGINEERING; LIGHTING; HEATING; WEAPONS; BLASTING
- F04—POSITIVE - DISPLACEMENT MACHINES FOR LIQUIDS; PUMPS FOR LIQUIDS OR ELASTIC FLUIDS
- F04B—POSITIVE-DISPLACEMENT MACHINES FOR LIQUIDS; PUMPS
- F04B1/00—Multi-cylinder machines or pumps characterised by number or arrangement of cylinders
- F04B1/04—Multi-cylinder machines or pumps characterised by number or arrangement of cylinders having cylinders in star- or fan-arrangement
- F04B1/0404—Details or component parts
-
- F—MECHANICAL ENGINEERING; LIGHTING; HEATING; WEAPONS; BLASTING
- F04—POSITIVE - DISPLACEMENT MACHINES FOR LIQUIDS; PUMPS FOR LIQUIDS OR ELASTIC FLUIDS
- F04B—POSITIVE-DISPLACEMENT MACHINES FOR LIQUIDS; PUMPS
- F04B1/00—Multi-cylinder machines or pumps characterised by number or arrangement of cylinders
- F04B1/04—Multi-cylinder machines or pumps characterised by number or arrangement of cylinders having cylinders in star- or fan-arrangement
- F04B1/0404—Details or component parts
- F04B1/0413—Cams
-
- F—MECHANICAL ENGINEERING; LIGHTING; HEATING; WEAPONS; BLASTING
- F04—POSITIVE - DISPLACEMENT MACHINES FOR LIQUIDS; PUMPS FOR LIQUIDS OR ELASTIC FLUIDS
- F04B—POSITIVE-DISPLACEMENT MACHINES FOR LIQUIDS; PUMPS
- F04B49/00—Control, e.g. of pump delivery, or pump pressure of, or safety measures for, machines, pumps, or pumping installations, not otherwise provided for, or of interest apart from, groups F04B1/00 - F04B47/00
- F04B49/22—Control, e.g. of pump delivery, or pump pressure of, or safety measures for, machines, pumps, or pumping installations, not otherwise provided for, or of interest apart from, groups F04B1/00 - F04B47/00 by means of valves
-
- F—MECHANICAL ENGINEERING; LIGHTING; HEATING; WEAPONS; BLASTING
- F04—POSITIVE - DISPLACEMENT MACHINES FOR LIQUIDS; PUMPS FOR LIQUIDS OR ELASTIC FLUIDS
- F04B—POSITIVE-DISPLACEMENT MACHINES FOR LIQUIDS; PUMPS
- F04B53/00—Component parts, details or accessories not provided for in, or of interest apart from, groups F04B1/00 - F04B23/00 or F04B39/00 - F04B47/00
- F04B53/18—Lubricating
-
- F—MECHANICAL ENGINEERING; LIGHTING; HEATING; WEAPONS; BLASTING
- F02—COMBUSTION ENGINES; HOT-GAS OR COMBUSTION-PRODUCT ENGINE PLANTS
- F02M—SUPPLYING COMBUSTION ENGINES IN GENERAL WITH COMBUSTIBLE MIXTURES OR CONSTITUENTS THEREOF
- F02M2200/00—Details of fuel-injection apparatus, not otherwise provided for
- F02M2200/31—Fuel-injection apparatus having hydraulic pressure fluctuations damping elements
- F02M2200/315—Fuel-injection apparatus having hydraulic pressure fluctuations damping elements for damping fuel pressure fluctuations
-
- F—MECHANICAL ENGINEERING; LIGHTING; HEATING; WEAPONS; BLASTING
- F02—COMBUSTION ENGINES; HOT-GAS OR COMBUSTION-PRODUCT ENGINE PLANTS
- F02M—SUPPLYING COMBUSTION ENGINES IN GENERAL WITH COMBUSTIBLE MIXTURES OR CONSTITUENTS THEREOF
- F02M59/00—Pumps specially adapted for fuel-injection and not provided for in groups F02M39/00 -F02M57/00, e.g. rotary cylinder-block type of pumps
- F02M59/02—Pumps specially adapted for fuel-injection and not provided for in groups F02M39/00 -F02M57/00, e.g. rotary cylinder-block type of pumps of reciprocating-piston or reciprocating-cylinder type
Definitions
- the present invention initially relates to a piston pump, in particular a high pressure pump for a fuel system of an internal combustion engine, with a housing, with at least one piston defining a working space, with a drive shaft which is held in the housing via at least one shaft bearing and which has at least one crank portion , And with a piston bearing, via which the piston is supported at least indirectly on the crank portion of the drive shaft, wherein between relatively movable parts of at least one of the bearings, a hydrostatic bearing is present, which is connected via a fluid connection to the working space.
- Such a piston pump is known as a radial piston pump from DE 197 05 205 A1.
- a race is placed on the eccentric portion of a drive shaft. This has a flat contact surface on which a sliding shoe of an axially reciprocating piston rests. Between the contact surface of the race and the shoe a relief chamber is present, which via axial holes in the shoe and in the piston with a from the Piston limited work space is connected.
- the piston performs a delivery stroke, the pressure in the working chamber increases, which is transmitted through the bore in the piston on the discharge chamber and in this way leads to a reduction in the contact force between the shoe and race.
- the discharge chamber so a hydrostatic bearing is created. As a result, the friction and wear between the shoe and race is reduced.
- the present invention therefore has the object, a piston pump of the type mentioned in such a way that it has a better efficiency.
- the period during which fluid flows from the working space into the hydrostatic bearing can be limited to the necessary extent.
- the leakage amount of fluid during operation of the piston pump is reduced, without the friction between relatively movable parts of a bearing of the piston pump would be increased to an undesirable extent.
- the efficiency of the piston pump is increased, without the life of the piston pump is limited.
- any time points can be selected at which the hydrostatic bearing is connected to the working space or to which the connection is interrupted. This allows a reduction in the amount of fluid used for hydrostatic storage.
- the switching valve is the quantity control valve of the piston pump.
- the outlet of the piston pump is usually short-circuited with its inlet toward the end of a delivery stroke, thus limiting the amount of fluid actually delivered.
- hardly any fluid is lost for the hydrostatic bearing, because for that only that fluid is used, which is not to reach the actual outlet of the piston pump anyway to limit the flow rate, but is returned to its inlet.
- the piston pump according to the invention then builds when the device, which can interrupt the fluid connection temporarily, is housed in the piston. But it is also possible to accommodate them in the housing of the piston pump. In this case, the device is more accessible for maintenance purposes, for example.
- the hydrostatic bearing may comprise a chamber which is limited in the azimuthal direction. As a result, the volume of the chamber and thus ultimately the required amount of fluid for the formation of a hydrostatic bearing is reduced.
- the piston pump according to the invention can be designed as a single and multi-cylinder piston pump.
- the angular range over which the chamber extends in the azimuthal direction is preferably less than 360 ° / 2x number of pistons.
- the length and also the width of the chamber creates the optimum hydrostatic bearing for the individual application.
- the fluid connection is connected to a pressure damper.
- This can be used as compression volume, bellows, diaphragm accumulator or similar. be executed.
- a pressure damper By such a pressure damper, the time profile of the fluid flow, which flows from the working space to the chamber, can be designed.
- the device which can temporarily interrupt the fluid connection is the quantity control valve of the piston pump. When this quantity control valve is opened towards the end of the delivery stroke, there is a sudden pressure increase in the fluid connection and thus also in the chamber. By such a pressure damper, this pressure increase can be somewhat flattened.
- the fluid connection to the chamber in the shaft bearing may include a flow channel in the housing, an annular groove in a bearing shell or shaft connected thereto, a radial bore in the shaft connected to the annular groove, an axial bore in the shaft connected thereto and one connected thereto include radial bore in the shaft, which opens into the chamber in the shaft bearing.
- Such holes are easy to incorporate, which facilitates the production of the fluid connection.
- the invention also relates to a fuel system for an internal combustion engine, comprising a fuel tank, a fuel pump which delivers into a fuel rail, and at least one fuel injector connected to the fuel rail and the fuel directly into the combustion chamber of an internal combustion engine injects.
- the invention proposes that the fuel pump is formed in the above manner.
- part of the invention is also an internal combustion engine with at least one combustion chamber, in which the fuel is injected directly.
- an internal combustion engine is advantageously provided with a fuel system of the above type.
- a fuel system as a whole carries the reference numeral 10. It is part of an internal combustion engine 11 comprises a fuel reservoir 12, from which an electric fuel pump 14 conveys the fuel into a fuel line 16. This leads to an inlet 18 of a generally designated 20 high-pressure fuel pump, which is driven by a crankshaft, not shown, of the internal combustion engine 11.
- a fuel reservoir 12 from which an electric fuel pump 14 conveys the fuel into a fuel line 16.
- a crankshaft not shown
- a fuel line (not numbered) leads to a fuel rail 24, commonly referred to as a "rail".
- a fuel rail 24 To the fuel rail 24 a plurality of fuel injectors 26 are connected. These are high-pressure injectors or injectors. The latter are attached to the engine block (not shown) of an internal combustion engine (not shown) and inject the fuel directly into combustion chambers 28 a.
- the pressure in the fuel rail 24 is detected by a pressure sensor 30, which supplies a corresponding signal to a control and regulating device 32. This, in turn, is on the output side in a manner to be shown in more detail the high-pressure fuel pump 20 is connected.
- the high-pressure fuel pump 20 is a radial piston pump with three radially arranged cylinders. In principle, the high pressure fuel pump 20 is constructed as follows:
- a flow channel 34 leads via a check valve 36 to a branch point 38.
- the check valve 36 opens inwards and thus keeps pressure surges away from the fuel line 16 and the electric fuel pump 14.
- flow channels branch off to the individual cylinders 40a, 40b and 40c.
- the cylinders 40a-40c are constructed identically. For reasons of illustration, the reference numerals are entered only for one cylinder.
- Each cylinder 40a-40c has on the input side via a check valve 42, a pump unit 44 and a check valve 46 arranged downstream of the pump unit 44. Downstream of the check valves 46, the flow channels of the individual cylinders 40a-40c again come together at a collection point 48. From there, a flow channel 50 leads via a further check valve 52 to the outlet 22 of the high-pressure fuel pump 20.
- a flow channel 54 branches off from the flow channel 50, in which a switching valve 56 is arranged.
- This is an electrically operated two / two-way valve, which is open in its rest position 58 and is closed in its actuated position 60.
- the switching valve 56 is controlled by the control and regulating device 32.
- the flow channel 54 leads from the switching valve 56 to a hydrostatic bearing 62, which is explained in detail below.
- a pressure damper 66 Downstream of the switching valve 56 branches off from the flow channel 54 from a flow channel 64, which ultimately between the Check valve 36 and the branch point 38 opens into the flow channel 34.
- a pressure damper 66 In the flow channel 64, a pressure damper 66 is arranged, which in the present case is a spring / piston accumulator. However, the design of the pressure damper 66 as a compression volume, bellows, diaphragm accumulator, etc. is also possible. Upstream of the pressure damper 66 there is a first flow restrictor 68 in the flow channel 64, and downstream of the pressure damper 66 a further flow restrictor 70.
- FIGS. 2-4 The exact configuration of the high-pressure fuel pump 20 can be seen in FIGS. 2-4. It should be noted that in this sectional plane, only one cylinder 40 is shown and individual channels, etc. are not visible.
- the high-pressure fuel pump 20 includes a housing 72.
- a blind hole-like recess 74 is present, the longitudinal axis in Fig. 2 is horizontal.
- a further recess 76 is introduced into the housing 72, which extends vertically in Fig. 2 and from the upper edge of the housing 72 extends into the horizontal recess 74 into it.
- a drive shaft 78 is received in the horizontal recess 74. This is connected to the crankshaft (not shown) of the internal combustion engine.
- the drive shaft 78 is mounted in the region of its two longitudinal ends in each case by a bearing in the housing 72.
- the left-hand bearing in FIG. 2 bears the reference numeral 80.
- the horizontal recess 74 is sealed to the outside by a shaft seal 82.
- the right end of the drive shaft 78 is mounted in a hollow cylindrical bearing shell 84, which forms a shaft bearing.
- the drive shaft 78 Approximately in its axial center, the drive shaft 78 has an eccentric portion 86, on which a race 88 is placed.
- the vertical recess 76 is at the top by a Lid 90 closed.
- a guide sleeve 92 is inserted in the recess 76.
- a piston 94 is guided axially displaceable.
- a foot 96 is welded at the bottom in Fig. 2 end of the piston 94.
- a compression spring 98 is tensioned. By this the foot 96 and thus ultimately the piston 94 is acted upon against the race 88.
- the race 88 thus forms for the piston 94 relative to the drive shaft 78, a piston bearing (without reference numerals).
- a working space 100 is formed. In these opens in Fig. 2 coming from the left that flow channel in which the check valve 42 is arranged. In Fig. 2 to the right of the working space 100 that flow channel runs in which the check valve 46 is arranged. Neither the branching point 38 nor the collecting point 48 are visible in the sectional plane shown in FIG.
- the working space 100 and the piston 94 are part of the pumping unit 44 of the illustrated cylinder 40.
- the hydrostatic bearing 62 is constructed as follows:
- the flow channel 54 leads to the horizontal recess 74. Via a bore 102 in the bearing shell 84, the flow channel 54 is continued up to an annular groove 104 on the inside of the bearing shell 84. At the same axial height as the annular groove 104, a radial bore 106 is introduced into the drive shaft 78, which opens into an axial bore 108 in the drive shaft 78. This continues into the eccentric portion 86 of the drive shaft 78 continues.
- a radial bore 110 leads outwardly to a recess (without reference numeral) on the outer circumferential surface of the drive shaft 78.
- This recess extends, as can be seen in Fig. 3, in azimuthal Direction over an angular range of approximately 60 ° (in Figure 3, for purposes of illustration, only the shaft 78 and the bearing shell 84 are shown; in an embodiment, not shown, the angle is less than 60 °).
- a chamber 112 is formed, in the manner to be explained, a hydrostatic counterforce is generated to the forces resulting from the piston 94.
- the high pressure fuel pump 20 operates as follows:
- the control and regulating device 32 then controls the switching valve 56 so that this opens.
- the fluid communication between the working space 100 and the chambers 112 and 116 of the hydrostatic bearing 62 open.
- This increases the pressure in the chambers 112 and 116, creating a hydrostatic counterforce between the bearing shell 84 and the drive shaft 78 (shaft bearing) and on the other hand between the race 88 and drive shaft 78 (piston bearing) in the desired direction.
- the switching valve 56 is closed again by the control and regulating device 32, whereby the fluid connection between the working chamber 100 and the two chambers 112 and 116 is interrupted again.
- closing the switching valve 56 does not immediately stop the hydrostatic drag generated in the chambers 112 and 116. On the one hand, it takes a certain amount of time until the fluid has flowed away on the one hand through the gap between the drive shaft 78 and the bearing shell 84 and on the other hand between the drive shaft 78 and the race 88.
- the pressure damper 66 acts as a pressure accumulator, which still promotes a certain amount of fluid into the chambers 112 and 116 even when the switching valve 56 is closed.
- the time course of the hydrostatic counterforce generated by the pressure build-up in the chambers 112 and 116 is adjusted on the one hand by the width and the azimuthal angular extent of the chambers 112 and 116 and on the other hand by the properties of the pressure damper 66 and the two flow restrictors 68 and 70.
- the azimuthal angular extent of the chambers 112 and 116 is, as already mentioned, a maximum of 60 °, in each case in a multi-cylinder pump a maximum of 360 ° / 2 x number of cylinders, with three cylinders here so 60 °. This angular extension results from the following considerations:
- the force vector resulting from the pressure load of the pistons of the cylinders 40a to 40c in the present three-cylinder high-pressure pump 20 varies in a range of approximately 60 °, depending The beginning of the area is again offset by about 60 ° in the direction of rotation (arrow 121 in FIGS. 4 and 5) to a co-rotating axis 122 pointing in the eccentric direction. Within the said angular range of the force vector rotates synchronously with the drive shaft 78 about its longitudinal axis.
- the discharge is effected by the hydrostatic force on the piston bearing (race 88 and shaft 78) in the region of the chamber 116 and the shaft bearing (bearing shell 84 and shaft 78) offset by 180 ° in the region of the chamber 112th
- FIGS. 6 and 7 show a second exemplary embodiment of a high-pressure fuel pump 20.
- Such parts, elements and regions, which have equivalent functions to parts, elements and regions already described above bear the same reference numerals and are not explained again in detail.
- an axially extending groove 120 is still present in the inside of the bearing shell 84. This leads from the space present on the right of the bearing shell 84 to the space left in the recess 74 from the bearing shell 84.
- the groove 120 prevents pressure from building up over the leakage between the drive shaft 78 and the bearing shell 84 at the front end, which is unacceptably high could cause axial forces on the drive shaft 78.
- the left of the bearing shell 84 existing space of the horizontal recess 74 is connected in a manner not shown here with the inlet 18 of the high-pressure fuel pump 20.
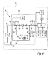
- FIG. 8 shows a further exemplary embodiment of a high-pressure fuel pump. Again, bear such components and areas whose function is equivalent to corresponding components and areas of the preceding figures, the same reference numerals and are not explained again in detail.
- FIG. 8 shows a 1-cylinder piston pump 20 shown.
- the chamber 116 is formed in a range of about 60 ° on both sides of the eccentric axis 122. So it has approximately twice the angular extent as the corresponding chamber in the previous embodiments. Further, it is arranged offset from the previous embodiments by 90 ° counter to the direction of rotation of the drive shaft 78.
- the chamber 112 is offset from the chamber 116 by 180 °, that is arranged with its central axis opposite to the eccentric axis 122.
- the force vector acts in this 1-cylinder fuel pump 20 only in the direction of the cylinder axis, which coincides with the eccentric axis 122 as shown in FIG. 11 at top dead center.
Landscapes
- Engineering & Computer Science (AREA)
- Mechanical Engineering (AREA)
- General Engineering & Computer Science (AREA)
- Chemical & Material Sciences (AREA)
- Combustion & Propulsion (AREA)
- Reciprocating Pumps (AREA)
- Details Of Reciprocating Pumps (AREA)
Description
- Die vorliegende Erfindung betrifft zunächst eine Kolbenpumpe, insbesondere Hochdruckpumpe für ein Kraftstoffsystem einer Brennkraftmaschine, mit einem Gehäuse, mit mindestens einem Kolben, der einen Arbeitsraum begrenzt, mit einer Antriebswelle, die über mindestens ein Wellenlager in dem Gehäuse gehalten ist und die mindestens einen Kurbelabschnitt aufweist, und mit einem Kolbenlager, über welches sich der Kolben wenigstens mittelbar am Kurbelabschnitt der Antriebswelle abstützt, wobei zwischen relativ zueinander beweglichen Teilen mindestens eines der Lager eine hydrostatische Lagerung vorhanden ist, die über eine Fluidverbindung an den Arbeitsraum angeschlossen ist.
- Eine derartige Kolbenpumpe ist als Radialkolbenpumpe aus der DE 197 05 205 A1 bekannt. Bei dieser Radialkolbenpumpe ist auf den Exzenterabschnitt einer Antriebswelle ein Laufring aufgesetzt. Dieser weist eine ebene Kontaktfläche auf, an der ein Gleitschuh eines axial hin und her beweglichen Kolbens aufliegt. Zwischen der Kontaktfläche des Laufrings und dem Gleitschuh ist eine Entlastungskammer vorhanden, welche über axiale Bohrungen im Gleitschuh sowie im Kolben mit einem vom Kolben begrenzten Arbeitsraum verbunden ist. Wenn der Kolben einen Förderhub ausführt, steigt der Druck im Arbeitsraum, was sich durch die Bohrung im Kolben auf die Entlastungskammer überträgt und auf diese Weise zu einer Verringerung der Kontaktkraft zwischen Gleitschuh und Laufring führt. Durch die Entlastungskammer wird also ein hydrostatisches Lager geschaffen. Hierdurch wird die Reibung und der Verschleiß zwischen Gleitschuh und Laufring vermindert.
- Bekannt ist ferner aus der US 5 944 493 eine Radialkolbenpumpe, bei der der Zylinder über ein Rückschlagventil und einen Stromregler mit dem Kolben lager verbunden ist. In der DE 199 00 564 A1 ist ein Common-Rail-System gezeigt, bei dem von einem von einer Vorförderpumpe zu einer Hochdruckpumpe geförderter Kraftstoffstrom ein Schmierstoffstrom abgezweigt wird. der Druck des Schmierstoffstroms wird durch ein Druckregelventil eingestellt.
- Die vorliegende Erfindung hat daher Aufgabe, eine Kolbenpumpe der eingangs genannten Art so weiterzubilden, dass sie einen besseren Wirkungsgrad aufweist.
- Diese Aufgabe wird bei einer Kolbenpumpe der eingangs genannten Art dadurch gelöst, dass in der Fluidverbindung zwischen dem Arbeitsraum und der hydrostatischen Lagerung ein Schaltventil vorhanden ist, welche die Fluidverbindung zeitweise unterbrechen kann.
- Erfindungsgemäß wurde erkannt, dass es im Bereich der Kammer zwischen den relativ zueinander beweglichen Teilen zu einer Leckage kommt, d.h. es gelangt Fluid, welches von der Kolbenpumpe gefördert werden soll, als Leckagefluid über die hydrostatische Lagerung zurück beispielsweise zum Einlass der Kolbenpumpe. Durch diese Leckage wird der Wirkungsgrad der Kolbenpumpe beeinträchtigt. Weiterhin wurde erkannt, dass eine Entlastung eines Lagers nicht zu allen Zeitpunkten während eines Arbeitstaktes der Kolbenpumpe erforderlich ist. Im Grunde ist eine Entlastung der aneinander liegenden und relativ zueinander beweglichen Lagerteile nur zu jenen Zeitpunkten sinnvoll, zu denen diese beiden Teile mit relativ hoher Kraft gegeneinander gedrückt werden. Im Falle einer Kolbenpumpe ist dies im Wesentlichen während des Förderhubs der Fall.
- Indem erfindungsgemäß in der Fluidverbindung zwischen dem Arbeitsraum und der hydrostatischen Lagerung eine Einrichtung vorhanden ist, welche die Fluidverbindung zeitweise unterbrechen kann, kann der Zeitraum, zu dem Fluid vom Arbeitsraum in die hydrostatische Lagerung strömt, auf den notwendigen Umfang beschränkt werden. Hierdurch wird die Leckagemenge an Fluid während des Betriebs der Kolbenpumpe vermindert, ohne dass die Reibung zwischen relativ zueinander beweglichen Teilen eines Lagers der Kolbenpumpe in unerwünschtem Umfange erhöht würde. Somit wird letztlich der Wirkungsgrad der Kolbenpumpe erhöht, ohne dass die Lebensdauer der Kolbenpumpe eingeschränkt wird.
- Dank des Schaltventils können beliebige Zeitpunkte gewählt werden, zu denen die hydrostatische Lagerung mit dem Arbeitsraum verbunden wird bzw. zu denen die Verbindung unterbrochen wird. Dieses gestattet eine Reduktion der für die hydrostatische Lagerung verwendeten Fluidmenge.
- Besonders vorteilhafte Ausgestaltungen der erfindungsgemäßen Kolbenpumpe sind in Unteransprüchen angegeben.
- So wird beispielsweise vorgeschlagen, dass das Schaltventil das Mengensteuerventil der Kolbenpumpe ist. Mit einem solchen Mengensteuerventil wird üblicherweise gegen Ende eines Förderhubs der Auslass der Kolbenpumpe mit ihrem Einlass kurz geschlossen und so die Menge des effektiv geförderten Fluids begrenzt. Bei dieser Weiterbildung geht kaum Fluid für die hydrostatische Lagerung verloren, da für diese ausschließlich jenes Fluid verwendet wird, welches zur Begrenzung der Fördermenge ohnehin nicht zum eigentlichen Auslass der Kolbenpumpe gelangen soll, sondern zu ihrem Einlass zurückgeleitet wird.
- Relativ klein baut die erfindungsgemäße Kolbenpumpe dann, wenn die Einrichtung, welche die Fluidverbindung zeitweise unterbrechen kann, im Kolben untergebracht ist. Möglich ist aber auch ihre Unterbringung im Gehäuse der Kolbenpumpe. In diesem Fall ist die Einrichtung beispielsweise für Wartungszwecke besser zugänglich.
- Aufgrund der erheblich verringerten Fluidmenge, welche bei der erfindungsgemäßen Kolbenpumpe für die Erzeugung eines hydrostatischen Lagers erforderlich ist, können mehrere, gegebenenfalls auch alle hoch belasteten Lager in der Kolbenpumpe mit einem solchen hydrostatischen Lager ausgebildet werden. Dem wird durch jene Weiterbildung Rechnung getragen, bei welcher im Kolbenlager und im Wellenlager jeweils mindestens ein hydrostatisches Lager vorhanden ist.
- Das hydrostatische Lager kann eine Kammer umfassen, welche in azimutaler Richtung begrenzt ist. Hierdurch wird das Volumen der Kammer und somit letztlich die für die Bildung eines hydrostatischen Lagers erforderliche Fluidmenge reduziert.
- Eine solche Begrenzung der Kammer führt zu keiner wesentlichen Erhöhung der Lager-Reibungskräfte, da die hydrostatische Lagerung nur in Richtung der Kraftspitzen wirken muss. Diese treten naturgemäß vorwiegend dann auf, wenn sich der Kolben im Bereich seines oberen Totpunktes befindet, das im Arbeitsraum eingeschlossene Fluid also maximal komprimiert ist.
- Die erfindungsgemäße Kolbenpumpe kann als Ein- und Mehrzylinder-Kolbenpumpe ausgebildet sein. Der Winkelbereich, über den sich die Kammer in azimutaler Richtung erstreckt, ist dabei vorzugsweise kleiner als 360°/2xAnzahl der Kolben.
- Durch die Länge und auch durch die Breite der Kammer wird das zu dem individuellen Anwendungsfall optimale hydrostatische Lager geschaffen.
- Eine andere Weiterbildung ist dadurch gekennzeichnet, dass die Fluidverbindung mit einem Druckdämpfer verbunden ist. Dieser kann als Kompressionsvolumen, Federbalg, Membranspeicher o.ä. ausgeführt sein. Durch einen solchen Druckdämpfer kann der zeitliche Verlauf des Fluidstromes, welcher vom Arbeitsraum zur Kammer strömt, gestaltet werden. Dies ist insbesondere dann von Vorteil, wenn die Einrichtung, welche die Fluidverbindung zeitweise unterbrechen kann, das Mengensteuerventil der Kolbenpumpe ist. Wenn dieses Mengensteuerventil gegen Ende des Förderhubes geöffnet wird, kommt es zu einer schlagartigen Druckerhöhung in der Fluidverbindung und somit auch in der Kammer. Durch einen solchen Druckdämpfer kann dieser Druckanstieg etwas abgeflacht werden.
- In gleiche Richtung zielt jene Weiterbildung, bei welcher zwischen der Fluidverbindung und dem Druckdämpfer mindestens eine Strömungsdrossel vorhanden ist. Durch eine solche Strömungsdrossel wird der zeitliche Druckgradient in der Fluidverbindung beispielsweise bei Verwendung eines Überdruckventils oder auch eines Schaltventils verringert und der Druckanstieg zeitlich etwas gestreckt. Die hydrostatische Lagerung steht somit über einen längeren Zeitraum zur Verfügung als die Fluidverbindung zwischen Kammer und Arbeitsraum geöffnet ist.
- Die Fluidverbindung zur Kammer im Wellenlager kann einen Strömungskanal im Gehäuse, eine mit diesem verbundene Ringnut in einer Lagerschale oder in der Welle, eine mit der Ringnut verbundene radiale Bohrung in der Welle, eine mit dieser verbundene axiale Bohrung in der Welle und eine mit dieser verbundene radiale Bohrung in der Welle umfassen, welche in die Kammer im Wellenlager mündet. Solche Bohrungen sind einfach einzubringen, was die Herstellung der Fluidverbindung erleichtert.
- Gleiches gilt auch für jene Fluidverbindung, welche zur Kammer im Kolbenlager führt und welche eine von der axialen Bohrung in der Welle abgehende radiale Bohrung umfasst, welche in die Kammer im Kolbenlager mündet.
- Die Erfindung betrifft auch ein Kraftstoffsystem für eine Brennkraftmaschine, mit einem Kraftstoffbehälter, einer Kraftstoffpumpe, welche in eine Kraftstoff-Sammelleitung fördert, und mit mindestens einer Kraftstoff-Einspritzvorrichtung, die an die Kraftstoff-Sammelleitung angeschlossen ist und den Kraftstoff direkt in den Brennraum einer Brennkraftmaschine einspritzt.
- Um den Wirkungsgrad eines solchen Kraftstoffsystems zu erhöhen, wird erfindungsgemäß vorgeschlagen, dass die Kraftstoffpumpe in der obigen Art ausgebildet ist.
- Ferner ist Teil der Erfindung auch eine Brennkraftmaschine mit mindestens einem Brennraum, in den der Kraftstoff direkt eingespritzt wird. Eine solche Brennkraftmaschine ist vorteilhafterweise mit einem Kraftstoffsystem der obigen Art versehen.
- Nachfolgend werden Ausführungsbeispiele der Erfindung unter Bezugnahme auf die beiliegende Zeichnung im Detail erläutert. In der Zeichnung zeigen:
- Fig. 1:
- eine schematische Prinzipdarstellung eines Kraftstoffsystems mit einem ersten Ausführungsbeispiel einer Kraftstoffpumpe;
- Fig. 2:
- eine teilweise geschnittene Darstellung der Kraftstoffpumpe von Fig. 1;
- Fig. 3:
- einen Schnitt längs der Linie III-III von Fig. 2;
- Fig. 4:
- einen Schnitt längs der Linie IV-IV von Fig. 2;
- Fig. 5:
- eine Darstellung des Winkelbereichs eines Kraftvektors der Kraftstoffpumpe von Fig. 2 bezogen auf die Längsachse einer Antriebswelle;
- Fig. 6:
- eine Darstellung ähnlich Fig. 1 eines Kraftstoffsystems mit einem zweiten Ausführungsbeispiel einer Kraftstoffpumpe;
- Fig. 7:
- eine Darstellung ähnlich Fig. 2 der Kraftstoffpumpe von Fig. 6;
- Fig. 8:
- eine Darstellung ähnlich Fig. 1 eines Kraftstoffsystems mit einem dritten Ausführungsbeispiel einer Kraftstoffpumpe;
- Fig. 9:
- eine Darstellung analog zu Fig. 3 des entsprechenden Bereichs der Kraftstoffpumpe von Fig. 8;
- Fig. 10:
- eine Darstellung analog zu Fig. 4 des entsprechenden Bereichs der Kraftstoffpumpe von Fig. 8; und
- Fig. 11:
- eine Darstellung des Winkelbereichs eines Kraftvektors der Kraftstoffpumpe von Fig. 8 bezogen auf die Längsachse einer Antriebswelle;
- In Fig. 1 trägt ein Kraftstoffsystem insgesamt das Bezugszeichen 10. Es ist Teil einer Brennkraftmaschine 11 umfasst einen Kraftstoff-Vorratsbehälter 12, aus dem eine elektrische Kraftstoffpumpe 14 den Kraftstoff in eine Kraftstoffleitung 16 fördert. Diese führt zu einem Einlass 18 einer insgesamt mit 20 bezeichneten Hochdruck-Kraftstoffpumpe, welche von einer nicht dargestellten Kurbelwelle der Brennkraftmaschine 11 angetrieben wird. Auf deren genauen Aufbau wird weiter unten im Detail eingegangen.
- Von einem Auslass 22 führt eine Kraftstoffleitung (ohne Bezugszeichen) zu einer Kraftstoff-Sammelleitung 24, die gemeinhin auch als "Rail" bezeichnet wird. An die Kraftstoff-Sammelleitung 24 sind mehrere Kraftstoff-Einspritzvorrichtungen 26 angeschlossen. Bei diesen handelt es sich um Hochdruck-Einspritzventile bzw. Injektoren. Letztere sind am Motorblock (nicht dargestellt) einer Brennkraftmaschine (nicht dargestellt) befestigt und spritzen den Kraftstoff direkt in Brennräume 28 ein.
- Der Druck in der Kraftstoff-Sammelleitung 24 wird von einem Drucksensor 30 erfasst, der ein entsprechendes Signal an ein Steuer- und Regelgerät 32 liefert. Dieses wiederum ist ausgangsseitig in noch näher darzustellender Art und Weise mit der Hochdruck-Kraftstoffpumpe 20 verbunden. Bei der Hochdruck-Kraftstoffpumpe 20 handelt es sich um eine Radialkolbenpumpe mit drei sternförmig angeordneten Zylindern. Prinzipiell ist die Hochdruck-Kraftstoffpumpe 20 folgendermaßen aufgebaut:
- Vom Einlass 18 führt ein Strömungskanal 34 über ein Rückschlagventil 36 zu einer Verzweigungsstelle 38. Das Rückschlagventil 36 öffnet nach innen und hält so Druckstöße von der Kraftstoffleitung 16 und der elektrischen Kraftstoffpumpe 14 fern. Von der Verzweigungsstelle 38 zweigen Strömungskanäle zu den einzelnen Zylindern 40a, 40b und 40c ab. Die Zylinder 40a - 40c sind identisch aufgebaut. Aus Darstellungsgründen sind die Bezugszeichen nur für einen Zylinder eingetragen.
- Jeder Zylinder 40a - 40c verfügt eingangsseitig über ein Rückschlagventil 42, eine Pumpeinheit 44 und ein stromabwärts der Pumpeinheit 44 angeordnetes Rückschlagventil 46. Stromabwärts von den Rückschlagventilen 46 kommen die Strömungskanäle der einzelnen Zylinder 40a - 40c wieder an einem Sammelpunkt 48 zusammen. Von dort führt ein Strömungskanal 50 über ein weiteres Rückschlagventil 52 zum Auslass 22 der Hochdruck-Kraftstoffpumpe 20.
- Zwischen dem Sammelpunkt 48 und dem Rückschlagventil 52 zweigt vom Strömungskanal 50 ein Strömungskanal 54 ab, in dem ein Schaltventil 56 angeordnet ist. Bei diesem handelt es sich um ein elektrisch betätigtes Zwei/Zwei-Schaltventil, welches in seiner Ruheposition 58 geöffnet ist und in seiner betätigten Stellung 60 geschlossen ist. Das Schaltventil 56 wird vom Steuer- und Regelgerät 32 angesteuert. Der Strömungskanal 54 führt vom Schaltventil 56 zu einer hydrostatischen Lagerung 62, welche im Detail weiter unten erläutert ist.
- Stromabwärts von dem Schaltventil 56 zweigt vom Strömungskanal 54 ein Strömungskanal 64 ab, der letztlich zwischen dem Rückschlagventil 36 und der Verzweigungsstelle 38 in den Strömungskanal 34 mündet. Im Strömungskanal 64 ist ein Druckdämpfer 66 angeordnet, bei dem es sich vorliegend um einen Feder/Kolbenspeicher handelt. Möglich ist aber auch die Ausbildung des Druckdämpfers 66 als Kompressionsvolumen, Federbalg, Membranspeicher usw.. Stromaufwärts vom Druckdämpfer 66 ist eine erste Strömungsdrossel 68 im Strömungskanal 64 vorhanden, und stromabwärts des Druckdämpfers 66 eine weitere Strömungsdrossel 70.
- Die genaue Ausgestaltung der Hochdruck-Kraftstoffpumpe 20 kann den Fig. 2 - 4 entnommen werden. Dabei sei darauf hingewiesen, dass in dieser Schnittebene nur ein Zylinder 40 dargestellt ist und einzelne Kanäle etc. nicht sichtbar sind.
- Die Hochdruck-Kraftstoffpumpe 20 umfasst ein Gehäuse 72. In diesem ist eine sacklochartige Ausnehmung 74 vorhanden, deren Längsachse in Fig. 2 horizontal verläuft. Ferner ist in das Gehäuse 72 eine weitere Ausnehmung 76 eingebracht, die in Fig. 2 vertikal verläuft und vom oberen Rand des Gehäuses 72 bis in die horizontale Ausnehmung 74 hinein verläuft. In der horizontalen Ausnehmung 74 ist eine Antriebswelle 78 aufgenommen. Diese ist mit der Kurbelwelle (nicht dargestellt) der Brennkraftmaschine verbunden.
- Die Antriebswelle 78 ist im Bereich ihrer beiden Längsenden jeweils durch ein Lager im Gehäuse 72 gelagert. Das in Fig. 2 linke Lager trägt das Bezugszeichen 80. In Fig. 2 rechts vom Lager 80 ist die horizontale Ausnehmung 74 nach außen hin durch eine Wellendichtung 82 abgedichtet. Das rechte Ende der Antriebswelle 78 ist in einer hohlzylindrischen Lagerschale 84 gelagert, die ein Wellenlager bildet. In etwa in ihrer axialen Mitte weist die Antriebswelle 78 einen Exzenterabschnitt 86 auf, auf den ein Laufring 88 aufgesetzt ist.
- Die vertikale Ausnehmung 76 ist nach oben hin durch einen Deckel 90 verschlossen. In die Ausnehmung 76 ist eine Führungshülse 92 eingesetzt. In dieser wiederum ist ein Kolben 94 axial verschieblich geführt. An das in Fig. 2 untere Ende des Kolbens 94 ist ein Fuß 96 angeschweißt. Zwischen dem Fuß 96 und der Führungshülse 92 ist eine Druckfeder 98 gespannt. Durch diese wird der Fuß 96 und somit letztlich der Kolben 94 gegen den Laufring 88 beaufschlagt. Der Laufring 88 bildet somit für den Kolben 94 gegenüber der Antriebswelle 78 ein Kolbenlager (ohne Bezugszeichen).
- In Fig. 2 oberhalb des Kolbens 94 ist ein Arbeitsraum 100 gebildet. In diesen mündet in Fig. 2 von links kommend jener Strömungskanal, in dem das Rückschlagventil 42 angeordnet ist. In Fig. 2 rechts vom Arbeitsraum 100 verläuft jener Strömungskanal, in dem das Rückschlagventil 46 angeordnet ist. Weder die Verzweigungsstelle 38 noch der Sammelpunkt 48 sind in der in Fig. 2 dargestellten Schnittebene sichtbar. Der Arbeitsraum 100 und der Kolben 94 sind Teil der Pumpeinheit 44 des dargestellten Zylinders 40.
- Die hydrostatische Lagerung 62 ist folgendermaßen aufgebaut:
- Vom Schaltventil 56 führt der Strömungskanal 54 bis zur horizontalen Ausnehmung 74. Über eine Bohrung 102 in der Lagerschale 84 wird der Strömungskanal 54 bis zu einer Ringnut 104 auf der Innenseite der Lagerschale 84 fortgeführt. Auf der gleichen axialen Höhe wie die Ringnut 104 ist in die Antriebswelle 78 eine radiale Bohrung 106 eingebracht, die in eine axiale Bohrung 108 in der Antriebswelle 78 mündet. Diese setzt sich bis in den Exzenterabschnitt 86 der Antriebswelle 78 fort.
- Von der axialen Bohrung 108 führt eine radiale Bohrung 110 nach außen zu einer Ausnehmung (ohne Bezugszeichen) auf der äußeren Mantelfläche der Antriebswelle 78. Diese Ausnehmung verläuft, wie aus Fig. 3 ersichtlich ist, in azimutaler Richtung über einen Winkelbereich von ungefähr 60° (in Figur 3 sind aus Darstellungsgründen nur die Welle 78 und die Lagerschale 84 dargestellt; in einem nicht dargestellten Ausführungsbeispiel ist der Winkel kleiner als 60°). Durch sie wird eine Kammer 112 gebildet, in der auf noch zu erläuternde Art und Weise eine hydrostatische Gegenkraft zu den vom Kolben 94 herrührenden Kräften erzeugt wird.
- In gleicher Art und Weise, jedoch um 180° versetzt, zweigt von der axialen Bohrung 108 im Bereich des Exzenterabschnitts 86 eine radiale Bohrung 114 nach außen ab, die in analoger Weise in eine Kammer 116 mündet. Auch diese Kammer 116 verläuft, wie aus Fig. 4 ersichtlich ist, in azimutaler Richtung über einen Winkelbereich von ungefähr 60° (in einem nicht dargestellten Ausführungsbeispiel ist dieser Winkel kleiner als 60°). Auch hier ist in Figur 4 aus Gründen der besseren Darstellung nur die Welle 86 und der Laufring 88 gezeigt.
- Die Hochdruck-Kraftstoffpumpe 20 arbeitet folgendermaßen:
- Aufgrund des Exzenterabschnitts 86 wird eine Drehung der Antriebswelle 78 in eine axiale Hin-und-Her-Bewegung des Kolbens 94 umgesetzt. Das Schaltventil 56 wird vom Steuer- und Regelgerät 32 so angesteuert, dass es während eines Förderhubs des Kolbens 94, wenn sich dieser also nach oben bewegt, zunächst geschlossen ist. Hierdurch erhöht sich der Druck des im Arbeitsraum 100 eingeschlossenen Fluids erheblich. Über den Strömungskanal 50, welcher in Fig. 2 nicht sichtbar ist, gelangt das komprimierte Fluid aus dem Arbeitsraum 100 in die Kraftstoff-Sammelleitung 24. Wenn der gewünschte Druck in der Kraftstoff-Sammelleitung 24 erreicht ist, wird dies vom Drucksensor 30 erfasst.
- Das Steuer- und Regelgerät 32 steuert dann das Schaltventil 56 so an, dass dieses öffnet. Somit wird die Fluidverbindung zwischen dem Arbeitsraum 100 und den Kammern 112 und 116 der hydrostatischen Lagerung 62 geöffnet. Dies erhöht den Druck in den Kammern 112 und 116, wodurch eine hydrostatische Gegenkraft zwischen Lagerschale 84 und Antriebswelle 78 (Wellenlager) und andererseits zwischen Laufring 88 und Antriebswelle 78 (Kolbenlager) in der gewünschten Richtung geschaffen wird. Am Ende des Förderhubs wird das Schaltventil 56 vom Steuer- und Regelgerät 32 wieder geschlossen, wodurch die Fluidverbindung zwischen Arbeitsraum 100 und den beiden Kammern 112 und 116 wieder unterbrochen ist.
- Durch das Schließen des Schaltventils 56 wird die hydrostatische Gegenkraft, die in den Kammern 112 und 116 erzeugt wird, jedoch nicht sofort beendet. Zum einen dauert es eine gewisse Zeit, bis einerseits durch den Spalt zwischen der Antriebswelle 78 und der Lagerschale 84 und andererseits zwischen der Antriebswelle 78 und dem Laufring 88 das Fluid abgeströmt ist. Zum anderen wirkt der Druckdämpfer 66 als Druckspeicher, der auch bei geschlossenem Schaltventil 56 noch eine gewisse Fluidmenge in die Kammern 112 und 116 fördert.
- Der zeitliche Verlauf der durch den Druckaufbau in den Kammern 112 und 116 erzeugten hydrostatischen Gegenkraft wird einerseits durch die Breite und die azimutale Winkelerstreckung der Kammern 112 und 116 und andererseits durch die Eigenschaften des Druckdämpfers 66 und der beiden Strömungsdrosseln 68 und 70 eingestellt. Die azimutale Winkelerstreckung der Kammern 112 und 116 ist dabei, wie bereits erwähnt, maximal 60°, in jedem Falle bei einer mehrzylindrigen Pumpe maximal 360° / 2 x Anzahl der Zylinder, bei drei Zylindern hier also 60°. Diese Winkelerstreckung ergibt sich aus folgenden Überlegungen:
- Wie aus Fig. 5 ersichtlich ist, variiert der aus der Druckbelastung der Kolben der Zylinder 40a bis 40c resultierende Kraftvektor bei der vorliegenden Drei-Zylinder-Hochdruckpumpe 20 in einem Bereich von ungefähr 60°, abhängig von der Winkelposition der Antriebswelle 78. Der Beginn des Bereichs ist wiederum um ca. 60° in Drehrichtung (Pfeil 121 in den Figuren 4 und 5) zu einer in Exzenterrichtung zeigenden mitrotierenden Achse 122 versetzt. Innerhalb des besagten Winkelbereichs rotiert der Kraftvektor synchron mit der Antriebswelle 78 um deren Längsachse. Ausgehend von dieser Belastung erfolgt die Entlastung durch die hydrostatische Kraft am Kolbenlager (Laufring 88 und Welle 78) im Bereich der Kammer 116 und am Wellenlager (Lagerschale 84 und Welle 78) um 180° hierzu versetzt im Bereich der Kammer 112.
- Bei dem in den Figuren 1 bis 5 dargestellten Ausführungsbeispiel wird der Wirkungsgrad der Pumpe 10 durch die hydrostatischen Lager 62 kaum beeinträchtigt, da für deren Erzeugung Fluid verwendet wird, welches ohnehin zur Drucksteuerung durch das Schaltventil 56 verwendet wird. Eine zusätzlich Leckage für die hydrostatische Lagerung ist also nicht vorhanden.
- In den Fig. 6 und 7 ist ein zweites Ausführungsbeispiel einer Hochdruck-Kraftstoffpumpe 20 dargestellt. Solche Teile, Elemente und Bereiche, welche äquivalente Funktionen zu bereits oben beschriebenen Teilen, Elementen und Bereichen aufweisen, tragen die gleichen Bezugszeichen und sind nicht nochmals im Detail erläutert.
- Im Gegensatz zu dem oben beschriebenen Ausführungsbeispiel ist in der Fluidverbindung 54 zwischen dem Arbeitsraum 100 und den Kammern 112 und 116 kein Schaltventil, sondern ein Überdruckventil 118 angeordnet. Dieses gibt die Fluidverbindung 54 erst dann frei, wenn der Druck im Arbeitsraum 100 einen gewissen Grenzwert überschreitet. Die hydrostatische Gegenkraft wird also erst oberhalb des Öffnungsdrucks des Überdruckventils 118 voll wirksam.
- Der Vorteil ist, dass - ohne die Notwendigkeit einer elektrischen Ansteuerung - bei geringen Drücken im Arbeitsraum 100 kein Fluid über die Kammern 112 und 116 und die entsprechenden Lagerspalte zwischen Antriebswelle 78 und Lagerschale 84 einerseits und zwischen Antriebswelle 78 und Laufring 88 andererseits als Leckage auftritt, was einen höheren volumetrischen Wirkungsgrad der Kraftstoff-Hochdruckpumpe 20 zur Folge hat. Im oberen Druckbereich tritt zwar eine höhere Leckage auf, die jedoch bezogen auf den Gesamtwirkungsgrad aufgrund der geringeren Lagerbelastung und dem damit höheren mechanischen Wirkungsgrad mindestens kompensiert wird. Unabhängig vom Wirkungsgrad ergibt sich auf jeden Fall eine deutlich bessere Standzeit der Hochdruck-Kraftstoffpumpe 20.
- Zusätzlich zu dem ersten Ausführungsbeispiel ist in der Innenseite der Lagerschale 84 noch eine axial verlaufende Nut 120 vorhanden. Diese führt von dem rechts von der Lagerschale 84 vorhandenen Raum zu dem links von der Lagerschale 84 vorhandenen Raum in der Ausnehmung 74. Durch die Nut 120 wird vermieden, dass über die Leckage zwischen Antriebswelle 78 und Lagerschale 84 stirnseitig ein Druckaufbau erfolgt, der unzulässig hohe Axialkräfte auf die Antriebswelle 78 verursachen könnte. Der links von der Lagerschale 84 vorhandene Raum der horizontalen Ausnehmung 74 ist auf hier nicht näher dargestellte Art und Weise mit dem Einlass 18 der Hochdruck-Kraftstoffpumpe 20 verbunden.
- In Figur 8 ist ein weiteres Ausführungsbeispiel einer Hochdruck-Kraftstoffpumpe dargestellt. Auch hier tragen solche Komponenten und Bereiche, deren Funktion äquivalent zu entsprechenden Komponenten und Bereichen der vorhergehenden Figuren ist, die gleichen Bezugszeichen und sind nicht nochmals im Detail erläutert.
- Im Gegensatz zu den in den Figuren 1 und 6 dargestellten Ausführungsbeispielen ist in Figur 8 eine 1-Zylinder-Kolbenpumpe 20 dargestellt. Dies führt unter anderem auch zu einer anderen Ausrichtung der Kammern 112 und 116, wie aus den Figuren 9 und 10 ersichtlich ist. Danach ist die Kammer 116 in einem Bereich von ungefähr 60° zu beiden Seiten der Exzenterachse 122 ausgebildet. Sie hat also in etwa die doppelte Winkelerstreckung als die entsprechende Kammer in den vorhergehenden Ausführungsbeispielen. Ferner ist sie gegenüber den vorhergehenden Ausführungsbeispielen um 90° entgegen der Drehrichtung der Antriebswelle 78 versetzt angeordnet. Die Kammer 112 ist zur Kammer 116 um 180° versetzt, also mit ihrer Mittelachse entgegengesetzt zur Exzenterachse 122 angeordnet. Der Kraftvektor wirkt bei dieser 1-Zylinder-Kraftstoffpumpe 20 immer nur in Richtung der Zylinderachse, die wie in Figur 11 dargestellt im oberen Totpunkt mit der Exzenterachse 122 zusammenfällt.
Claims (12)
- Kolbenpumpe, insbesondere Hochdruckpumpe (20) für ein Kraftstoffsystem (10) einer Brennkraftmaschine, mit einem Gehäuse (72), mit mindestens einem Kolben (94), der einen Arbeitsraum (100) begrenzt, mit einer Antriebswelle (78), die über mindestens ein Wellenlager in dem Gehäuse (72) gehalten ist und die mindestens einen Kurbelabschnitt (86) aufweist, und mit einem Kolbenlager, über welches sich der Kolben (94) wenigstens mittelbar am Kurbelabschnitt (86) der Welle (78) abstützt, wobei zwischen relativ zueinander beweglichen Teilen mindestens eines der Lager eine hydrostatische Lagerung (62) vorhanden ist, die über eine Fluidverbindung an den Arbeitsraum (100) angeschlossen ist, wobei in der Fluidverbindung zwischen dem Arbeitsraum (100) und der hydrostatischen Lagerung (62) eine Einrichtung (56; 118) vorhanden ist, welche die Fluidverbindung zeitweise unterbrechen kann, dadurch gekennzeichnet, dass die Einrichtung, welche die Fluidverbindung zeitweise unterbrechen kann, ein Schaltventil (56) umfasst.
- Kolbenpumpe (20) nach Anspruch 1, dadurch gekennzeichnet, dass das Schaltventil das Mengensteuerventil (56) der Kolbenpumpe ist.
- Kolbenpumpe (20) nach einem der Ansprüche 1 oder 2, dadurch gekennzeichnet, dass die Einrichtung, welche die Fluidverbindung zeitweise unterbrechen kann, im Kolben (94) untergebracht ist.
- Kolbenpumpe (20) nach einem der vorhergehenden Ansprüche, dadurch gekennzeichnet, dass die Einrichtung (56; 118), welche die Fluidverbindung zeitweise unterbrechen kann, im Gehäuse (72) untergebracht ist.
- Kolbenpumpe (20) nach einem der vorhergehenden Ansprüche, dadurch gekennzeichnet, dass im Kolbenlager und im Wellenlager jeweils mindestens eine hydrostatische Lagerung (62) vorhanden ist.
- Kolbenpumpe (20) nach einem der vorhergehenden Ansprüche, dadurch gekennzeichnet, dass die hydrostatische Lagerung (62) jeweils mindestens eine Kammer (112, 116) umfasst, welche in azimutaler Richtung begrenzt ist.
- Kolbenpumpe (20) nach Anspruch 8, dadurch gekennzeichnet, dass sie eine Mehrzahl von radial verteilten Kolben (94) aufweist, dass der Winkelbereich, über den sich die Kammer (112, 116) in azimutaler Richtung erstreckt, gleich oder kleiner als 360° / 2 x Anzahl der Kolben (94) ist, und dass dieser Bereich ca. 60° in Drehrichtung zu einer in Exzenterrichtung zeigenden mitrotierenden Achse (122) versetzt ist.
- Kolbenpumpe (20) nach einem der vorhergehenden Ansprüche, dadurch gekennzeichnet, dass die Fluidverbindung mit einem Druckdämpfer (66) verbunden ist.
- Kolbenpumpe (20) nach Anspruch 8, nach einem der vorhergehenden Ansprüche, dadurch gekennzeichnet, dass zwischen der Fluidverbindung und dem Druckdämpfer (66) mindestens eine Strömungsdrossel (68) vorhanden ist.
- Kolbenpumpe (20) nach einem der Ansprüche 6 bis 9, dadurch gekennzeichnet, dass die Fluidverbindung zur Kammer (112) im Wellenlager einen Strömungskanal (54) im Gehäuse (72), eine mit diesem verbundene Ringnut (104) in einer Lagerschale (84) oder in der Welle, eine mit der Ringnut (104) verbundene radiale Bohrung (106) in der Welle (78), eine mit dieser verbundene axiale Bohrung (108) in der Welle (78), und eine mit dieser verbundene radiale Bohrung (110) in der Welle (78) umfasst, welche in die Kammer (112) im Wellenlager mündet.
- Kolbenpumpe (20) nach Anspruch 10, dadurch gekennzeichnet, dass die Fluidverbindung zur Kammer (116) im Kolbenlager eine von der axialen Bohrung (108) in der Welle (78) abgehende radiale Bohrung (114) umfasst, welche in die Kammer (116) im Kolbenlager mündet.
- Kraftstoffsystem (10) für eine Brennkraftmaschine (11), mit einem Kraftstoffbehälter (12), einer Kraftstoffpumpe (20), welche in eine Kraftstoff-Sammelleitung (24) fördert, und mit mindestens einer Kraftstoff-Einspritzvorrichtung (26), die an die Kraftstoff-Sammelleitung (24) angeschlossen ist und den Kraftstoff direkt in den Brennraum (28) der Brennkraftmaschine (11) einspritzt, dadurch gekennzeichnet, dass die Hochdruck-Kraftstoffpumpe (20) nach einem der Ansprüche 1 bis 11 ausgebildet ist.
Applications Claiming Priority (5)
| Application Number | Priority Date | Filing Date | Title |
|---|---|---|---|
| DE10125784 | 2001-05-26 | ||
| DE10125784 | 2001-05-26 | ||
| DE10213625A DE10213625A1 (de) | 2001-05-26 | 2002-03-27 | Kolbenpumpe, insbesondere Hochdruckpumpe für ein Kraftstoffsystem einer Brennkraftmaschine, sowie Kraftstoffsystem und Brennkraftmaschine |
| DE10213625 | 2002-03-27 | ||
| PCT/DE2002/001888 WO2002097268A1 (de) | 2001-05-26 | 2002-05-24 | Hochdruckpumpe für ein kraftstoffsystem einer brennkraftmaschine |
Publications (2)
| Publication Number | Publication Date |
|---|---|
| EP1395753A1 EP1395753A1 (de) | 2004-03-10 |
| EP1395753B1 true EP1395753B1 (de) | 2006-08-23 |
Family
ID=26009411
Family Applications (1)
| Application Number | Title | Priority Date | Filing Date |
|---|---|---|---|
| EP02747167A Expired - Lifetime EP1395753B1 (de) | 2001-05-26 | 2002-05-24 | Hochdruckpumpe für ein kraftstoffsystem einer brennkraftmaschine |
Country Status (4)
| Country | Link |
|---|---|
| US (1) | US6889665B2 (de) |
| EP (1) | EP1395753B1 (de) |
| DE (1) | DE50207940D1 (de) |
| WO (1) | WO2002097268A1 (de) |
Families Citing this family (11)
| Publication number | Priority date | Publication date | Assignee | Title |
|---|---|---|---|---|
| CN100392241C (zh) * | 2003-02-11 | 2008-06-04 | 甘瑟-许德罗玛格股份公司 | 高压泵 |
| KR100992818B1 (ko) | 2004-12-17 | 2010-11-08 | 현대자동차주식회사 | 엔진의 크랭크 오프셋 장치 |
| US20060159572A1 (en) * | 2005-01-18 | 2006-07-20 | Malcolm Higgins | Pilot injection pump |
| DE102005027851A1 (de) * | 2005-06-16 | 2006-12-21 | Robert Bosch Gmbh | Kraftstoffeinspritzsystem für eine Brennkraftmaschine |
| JP4415929B2 (ja) | 2005-11-16 | 2010-02-17 | 株式会社日立製作所 | 高圧燃料供給ポンプ |
| FR2903456B1 (fr) * | 2006-07-07 | 2008-10-17 | Siemens Automotive Hydraulics | Pompe transfert a plusieurs pistons |
| SE530565C2 (sv) * | 2006-11-10 | 2008-07-08 | Scania Cv Ab | Bränslepumpanordning |
| DE102011089399A1 (de) * | 2011-12-21 | 2013-06-27 | Robert Bosch Gmbh | Pumpe, insbesondere Kraftstoffhochdruckpumpe für eine Kraftstoffeinspritzeinrichtung |
| US20130312706A1 (en) * | 2012-05-23 | 2013-11-28 | Christopher J. Salvador | Fuel system having flow-disruption reducer |
| JP6162078B2 (ja) * | 2014-06-17 | 2017-07-12 | 愛三工業株式会社 | 燃料供給装置 |
| JP6369194B2 (ja) * | 2014-07-23 | 2018-08-08 | 株式会社ジェイテクト | 電動ポンプユニット |
Family Cites Families (16)
| Publication number | Priority date | Publication date | Assignee | Title |
|---|---|---|---|---|
| DE1653388B2 (de) | 1967-10-21 | 1975-04-24 | Robert Bosch Gmbh, 7000 Stuttgart | Hydraulische Arbeitsmaschine |
| NL7015670A (de) * | 1970-10-07 | 1972-04-11 | ||
| DE2141282A1 (de) * | 1971-08-18 | 1973-03-01 | Bosch Gmbh Robert | Hydrostatisches getriebe mit innerer leistungsverzweigung |
| US3828657A (en) * | 1972-06-29 | 1974-08-13 | Fmc Corp | Piston for swash plate pump |
| US3975993A (en) * | 1974-04-22 | 1976-08-24 | Commercial Shearing, Inc. | Piston-rod unit for hydraulic machines |
| US4581980A (en) * | 1984-05-23 | 1986-04-15 | Brueninghaus Hydraulik Gmbh | Hydrostatic axial piston machine with swivelling inclined disc |
| US5634777A (en) * | 1990-06-29 | 1997-06-03 | Albertin; Marc S. | Radial piston fluid machine and/or adjustable rotor |
| DK137393D0 (da) | 1993-12-08 | 1993-12-08 | Danfoss As | Hydraulisk stempelmaskine |
| US5931644A (en) * | 1995-03-30 | 1999-08-03 | Caterpillar Inc. | Precision demand axial piston pump with spring bias means for reducing cavitation |
| DE19705205A1 (de) | 1997-02-12 | 1998-08-13 | Bosch Gmbh Robert | Kolbenpumpe |
| JP3849825B2 (ja) * | 1997-10-20 | 2006-11-22 | カヤバ工業株式会社 | アキシャルピストンポンプ |
| DE19920168A1 (de) | 1998-05-16 | 1999-11-18 | Luk Automobiltech Gmbh & Co Kg | Radialkolbenpumpe |
| JP2000186649A (ja) * | 1998-12-24 | 2000-07-04 | Isuzu Motors Ltd | 吐出量可変制御型高圧燃料ポンプ |
| DE19900564C2 (de) * | 1999-01-09 | 2003-09-18 | Bosch Gmbh Robert | Common-Rail-System |
| US6866025B1 (en) * | 1999-11-18 | 2005-03-15 | Siemens Vdo Automotive Corp. | High pressure fuel pump delivery control by piston deactivation |
| US6460510B1 (en) * | 2000-05-30 | 2002-10-08 | Robert H. Breeden | Pump assembly and method |
-
2002
- 2002-05-24 EP EP02747167A patent/EP1395753B1/de not_active Expired - Lifetime
- 2002-05-24 US US10/333,715 patent/US6889665B2/en not_active Expired - Fee Related
- 2002-05-24 WO PCT/DE2002/001888 patent/WO2002097268A1/de not_active Ceased
- 2002-05-24 DE DE50207940T patent/DE50207940D1/de not_active Expired - Lifetime
Also Published As
| Publication number | Publication date |
|---|---|
| US6889665B2 (en) | 2005-05-10 |
| DE50207940D1 (de) | 2006-10-05 |
| US20040047746A1 (en) | 2004-03-11 |
| EP1395753A1 (de) | 2004-03-10 |
| WO2002097268A1 (de) | 2002-12-05 |
Similar Documents
| Publication | Publication Date | Title |
|---|---|---|
| DE102004013307B4 (de) | Kraftstoffhochdruckpumpe mit einem Druckbegrenzungsventil | |
| DE102009006909B4 (de) | Axialkolbenmaschine mit reduzierter Stelldruckpulsation | |
| EP1201913B1 (de) | Kraftstoffhochdruckpumpe mit veränderlicher Fördermenge | |
| DE69724695T2 (de) | Radialkolbenpumpe | |
| DE10139054C1 (de) | Verfahren, Computerprogramm, Steuer- und/oder Regelgerät sowie Kraftstoffsystem für eine Brennkraftmaschine, insbesondere mit Direkteinspritzung | |
| WO2012104236A2 (de) | Pumpeneinheit für eine hochdruckpumpe | |
| EP1395753B1 (de) | Hochdruckpumpe für ein kraftstoffsystem einer brennkraftmaschine | |
| DE10118884A1 (de) | Hochdruck-Kraftstoffpumpe für ein Kraftstoffsystem einer direkteinspritzenden Brennkraftmaschine, Kraftstoffsystem sowie Brennkraftmaschine | |
| DE10350018A1 (de) | Anschlussplatte für eine Axialkolbenpumpe | |
| EP1403509B1 (de) | Druckbegrenzungseinrichtung sowie Kraftstoffsystem mit einer solchen Druckbegrenzungseinrichtung | |
| EP1561028B1 (de) | Kraftstoffhochdruckpumpe mit kugelventil im niederdruck-einlass | |
| EP1379784A1 (de) | Einstempel-einspritzpumpe für ein common-rail-kraftstoffeinspritzsystem | |
| EP2795095A1 (de) | Pumpe, insbesondere kraftstoffhochdruckpumpe für eine kraftstoffeinspritzeinrichtung | |
| DE10139055A1 (de) | Verfahren, Computerprogramm, Steuer- und/oder Regelgerät sowie Kraftstoffsystem für eine Brennkraftmaschine | |
| DE10213625A1 (de) | Kolbenpumpe, insbesondere Hochdruckpumpe für ein Kraftstoffsystem einer Brennkraftmaschine, sowie Kraftstoffsystem und Brennkraftmaschine | |
| WO1992008051A1 (de) | Kolbenpumpe, insbesondere radialkolbenpumpe | |
| DE102012215671A1 (de) | Kraftstoffzufuhrpumpe | |
| EP1394403B1 (de) | Kraftstoffsystem für eine Brennkraftmaschine | |
| EP0757173A2 (de) | Kraftstoffeinspritzsystem | |
| AT521269B1 (de) | Hydraulisches Steuerventil für eine längenverstellbare Pleuelstange mit zwei Steuerdruckräumen | |
| DE10138362A1 (de) | Einstempel-Einspritzpumpe für ein Common-Rail-Kraftstoffeinspritzsystem | |
| WO1989011035A1 (fr) | Pompe a piston plongeur | |
| DE10216205B4 (de) | Kraftstoffhochdruckpumpe mit Fördermengenregelung | |
| DE10210300B4 (de) | Pumpenelement für eine Hochdruckpumpe und Hochdruckpumpe mit steuerbarer Fördermenge | |
| DE10108007A1 (de) | Hubkolbenmaschine |
Legal Events
| Date | Code | Title | Description |
|---|---|---|---|
| PUAI | Public reference made under article 153(3) epc to a published international application that has entered the european phase |
Free format text: ORIGINAL CODE: 0009012 |
|
| 17P | Request for examination filed |
Effective date: 20031229 |
|
| AK | Designated contracting states |
Kind code of ref document: A1 Designated state(s): AT BE CH CY DE DK ES FI FR GB GR IE IT LI LU MC NL PT SE TR |
|
| 17Q | First examination report despatched |
Effective date: 20050511 |
|
| GRAP | Despatch of communication of intention to grant a patent |
Free format text: ORIGINAL CODE: EPIDOSNIGR1 |
|
| GRAS | Grant fee paid |
Free format text: ORIGINAL CODE: EPIDOSNIGR3 |
|
| GRAA | (expected) grant |
Free format text: ORIGINAL CODE: 0009210 |
|
| AK | Designated contracting states |
Kind code of ref document: B1 Designated state(s): DE FR GB IT TR |
|
| PG25 | Lapsed in a contracting state [announced via postgrant information from national office to epo] |
Ref country code: IT Free format text: LAPSE BECAUSE OF FAILURE TO SUBMIT A TRANSLATION OF THE DESCRIPTION OR TO PAY THE FEE WITHIN THE PRESCRIBED TIME-LIMIT;WARNING: LAPSES OF ITALIAN PATENTS WITH EFFECTIVE DATE BEFORE 2007 MAY HAVE OCCURRED AT ANY TIME BEFORE 2007. THE CORRECT EFFECTIVE DATE MAY BE DIFFERENT FROM THE ONE RECORDED. Effective date: 20060823 Ref country code: GB Free format text: LAPSE BECAUSE OF FAILURE TO SUBMIT A TRANSLATION OF THE DESCRIPTION OR TO PAY THE FEE WITHIN THE PRESCRIBED TIME-LIMIT Effective date: 20060823 |
|
| REG | Reference to a national code |
Ref country code: GB Ref legal event code: FG4D Free format text: NOT ENGLISH |
|
| REF | Corresponds to: |
Ref document number: 50207940 Country of ref document: DE Date of ref document: 20061005 Kind code of ref document: P |
|
| GBV | Gb: ep patent (uk) treated as always having been void in accordance with gb section 77(7)/1977 [no translation filed] |
Effective date: 20060823 |
|
| EN | Fr: translation not filed | ||
| PLBE | No opposition filed within time limit |
Free format text: ORIGINAL CODE: 0009261 |
|
| STAA | Information on the status of an ep patent application or granted ep patent |
Free format text: STATUS: NO OPPOSITION FILED WITHIN TIME LIMIT |
|
| 26N | No opposition filed |
Effective date: 20070524 |
|
| PG25 | Lapsed in a contracting state [announced via postgrant information from national office to epo] |
Ref country code: FR Free format text: LAPSE BECAUSE OF FAILURE TO SUBMIT A TRANSLATION OF THE DESCRIPTION OR TO PAY THE FEE WITHIN THE PRESCRIBED TIME-LIMIT Effective date: 20070511 |
|
| PG25 | Lapsed in a contracting state [announced via postgrant information from national office to epo] |
Ref country code: FR Free format text: LAPSE BECAUSE OF FAILURE TO SUBMIT A TRANSLATION OF THE DESCRIPTION OR TO PAY THE FEE WITHIN THE PRESCRIBED TIME-LIMIT Effective date: 20060823 |
|
| PG25 | Lapsed in a contracting state [announced via postgrant information from national office to epo] |
Ref country code: TR Free format text: LAPSE BECAUSE OF FAILURE TO SUBMIT A TRANSLATION OF THE DESCRIPTION OR TO PAY THE FEE WITHIN THE PRESCRIBED TIME-LIMIT Effective date: 20060823 |
|
| PGFP | Annual fee paid to national office [announced via postgrant information from national office to epo] |
Ref country code: DE Payment date: 20110726 Year of fee payment: 10 |
|
| REG | Reference to a national code |
Ref country code: DE Ref legal event code: R119 Ref document number: 50207940 Country of ref document: DE Effective date: 20121201 |
|
| PG25 | Lapsed in a contracting state [announced via postgrant information from national office to epo] |
Ref country code: DE Free format text: LAPSE BECAUSE OF NON-PAYMENT OF DUE FEES Effective date: 20121201 |