EP1249556A2 - Profilblechbahn - Google Patents

Profilblechbahn Download PDF

Info

Publication number
EP1249556A2
EP1249556A2 EP02405050A EP02405050A EP1249556A2 EP 1249556 A2 EP1249556 A2 EP 1249556A2 EP 02405050 A EP02405050 A EP 02405050A EP 02405050 A EP02405050 A EP 02405050A EP 1249556 A2 EP1249556 A2 EP 1249556A2
Authority
EP
European Patent Office
Prior art keywords
sheet
web
profile
profiled
fastening flange
Prior art date
Legal status (The legal status is an assumption and is not a legal conclusion. Google has not performed a legal analysis and makes no representation as to the accuracy of the status listed.)
Granted
Application number
EP02405050A
Other languages
English (en)
French (fr)
Other versions
EP1249556A3 (de
EP1249556B1 (de
Inventor
Walter Senior Schneider
Current Assignee (The listed assignees may be inaccurate. Google has not performed a legal analysis and makes no representation or warranty as to the accuracy of the list.)
Individual
Original Assignee
Individual
Priority date (The priority date is an assumption and is not a legal conclusion. Google has not performed a legal analysis and makes no representation as to the accuracy of the date listed.)
Filing date
Publication date
Application filed by Individual filed Critical Individual
Publication of EP1249556A2 publication Critical patent/EP1249556A2/de
Publication of EP1249556A3 publication Critical patent/EP1249556A3/de
Application granted granted Critical
Publication of EP1249556B1 publication Critical patent/EP1249556B1/de
Anticipated expiration legal-status Critical
Expired - Lifetime legal-status Critical Current

Links

Images

Classifications

    • EFIXED CONSTRUCTIONS
    • E04BUILDING
    • E04DROOF COVERINGS; SKY-LIGHTS; GUTTERS; ROOF-WORKING TOOLS
    • E04D3/00Roof covering by making use of flat or curved slabs or stiff sheets
    • E04D3/36Connecting; Fastening
    • E04D3/361Connecting; Fastening by specially-profiled marginal portions of the slabs or sheets
    • E04D3/362Connecting; Fastening by specially-profiled marginal portions of the slabs or sheets by locking the edge of one slab or sheet within the profiled marginal portion of the adjacent slab or sheet, e.g. using separate connecting elements
    • EFIXED CONSTRUCTIONS
    • E04BUILDING
    • E04DROOF COVERINGS; SKY-LIGHTS; GUTTERS; ROOF-WORKING TOOLS
    • E04D3/00Roof covering by making use of flat or curved slabs or stiff sheets
    • E04D3/24Roof covering by making use of flat or curved slabs or stiff sheets with special cross-section, e.g. with corrugations on both sides, with ribs, flanges, or the like
    • E04D3/30Roof covering by making use of flat or curved slabs or stiff sheets with special cross-section, e.g. with corrugations on both sides, with ribs, flanges, or the like of metal
    • EFIXED CONSTRUCTIONS
    • E04BUILDING
    • E04DROOF COVERINGS; SKY-LIGHTS; GUTTERS; ROOF-WORKING TOOLS
    • E04D3/00Roof covering by making use of flat or curved slabs or stiff sheets
    • E04D3/36Connecting; Fastening
    • E04D3/3601Connecting; Fastening of roof covering supported by the roof structure with interposition of a insulating layer
    • E04D3/3603Connecting; Fastening of roof covering supported by the roof structure with interposition of a insulating layer the fastening means being screws or nails
    • EFIXED CONSTRUCTIONS
    • E04BUILDING
    • E04DROOF COVERINGS; SKY-LIGHTS; GUTTERS; ROOF-WORKING TOOLS
    • E04D3/00Roof covering by making use of flat or curved slabs or stiff sheets
    • E04D3/36Connecting; Fastening
    • E04D3/3605Connecting; Fastening of roof covering supported directly by the roof structure
    • E04D3/3606Connecting; Fastening of roof covering supported directly by the roof structure the fastening means being screws or nails
    • EFIXED CONSTRUCTIONS
    • E04BUILDING
    • E04DROOF COVERINGS; SKY-LIGHTS; GUTTERS; ROOF-WORKING TOOLS
    • E04D3/00Roof covering by making use of flat or curved slabs or stiff sheets
    • E04D3/36Connecting; Fastening
    • E04D3/361Connecting; Fastening by specially-profiled marginal portions of the slabs or sheets
    • E04D2003/3615Separate fastening elements fixed to the roof structure and consisting of parts permitting relative movement to each other, e.g. for thermal expansion

Definitions

  • the invention relates to a profiled sheet web according to the preamble of claim 1. especially a profiled sheet roofing membrane.
  • GB-A-2 345 705 discloses sandwich elements for roofing. These have an outer and an inner sheet metal part and in between one Insulation layer, the narrow side of which extends from the inner to the outer sheet metal part extends. On the outer sheet metal part are along opposite edges Formed joint shapes. These joining forms are on the one hand from a first Type and on the other side of a second type, one of the joining forms one Fastening surface with which fasteners cooperate with which the sandwich element is attached to a support structure. An elastic Sealing material is in one along a long side of the sandwich element concave corner between the narrow side of the insulation layer and the inner sheet metal part arranged.
  • One of the joining forms forms a web standing up from the outer sheet metal part with an enlarged head part at a distance from the first sheet metal part. Both Joint forms together enclose a cavity in which the Fastening surface is.
  • One joint shape is concave. She takes that Head part of the other joint shape. When inserting the head part into the concave In an embodiment variant, this is elastically expanded by a joining shape Hibernation to an expanded state and returns after the insertion of the The headboard essentially returns to the idle state.
  • the concave joint shape is non-elastic of one design variant expanded state deformable into a relatively narrow state in which it then encloses the headboard.
  • a screw is inserted through the Fastening surface in the outer sheet metal part, the insulation layer and the inner sheet metal part screwed into a support structure. It can also screw through both yourself in the joint area overlapping outer and both overlapping inner Sheet metal parts of the adjacent sandwich elements can be passed through.
  • Each profile sheet has two along its longitudinal edges different joining shapes, each with the other joining shape of an adjacent one Form the profiled sheet together as a standing seam.
  • the joint shapes are elastic can be snapped together.
  • a first joint form covers the second joint form and snapped into the groove in the groove in the second joint shape.
  • the second Joining form forms a first ascending wall, rising from the roof surface which the groove is molded into. From the most distant part of the ascending wall leads a descending wall back to the level of Roof area and forms a fastening area parallel to the roof area.
  • some elongated holes are incorporated through which for fastening Nails can be hammered into a wooden substructure.
  • the elongated holes are arranged at a large distance according to figures. There is a nail in each slot arranged.
  • a trapezoidal sheet is used as the supporting substructure is inserted and the sheet covering is attached to the raised beads of the trapezoidal sheet is, when attaching it must be ensured that the raised beads of the Trapezoidal sheets are evenly loaded. If the covering is only e.g. each attached to a raised bead running parallel to the standing seam, or are If the trapezoidal sheet web runs at right angles to the standing seams, the profile sheets of the Covering attached to the same raised bead, this must be a raised bead for the absorption of the tensile load of a relatively large roof area must be dimensioned.
  • a profiled sheet with a clothing surface between a first and a second longitudinal edge one to the outside of the profiled sheet protruding formation at the first edge and one from the formation of a Adjacent second profiled sheet metal gripping head formation is in the second Edge formed a mounting flange that can be placed on a flat base and provided with elongated holes, the elongated holes are in one according to the invention Row parallel to the profile direction at a grid spacing of at most 210 mm, better only 120 mm, preferably at most 110 mm, particularly preferably at most 100 mm elongated hole. This means that practically all trapezoidal sheets ensures that there is at least one elongated hole above each raised bead.
  • the Profile sheet far above each fastening web of a Z-profile crossing the sheet web or the like an elongated hole through which it can be attached.
  • the sum of the length of the Gap between two elongated holes and the length of the elongated hole is smaller than the width of the surface of a raised bead parallel to the roof surface or a fastening web of the supporting structure.
  • Two rows of elongated holes are advantageously arranged side by side. Are there the elongated holes in one row versus the elongated holes in the other row added.
  • the mounting flange is advantageously made of two sheet layers to its Increase bending stiffness. To achieve this, the edge of the sheet metal is once transferred. As a result, the edge of the mounting flange is a bending edge, and the folded sheet metal edge does not form a free edge, which also increases the risk of injury when Handling of the sheet metal reduced.
  • the mounting flange can be made in one piece on the surface forming the clothing Metal sheet to be formed.
  • the mounting flange then advantageously has one Perforation with elongated holes. But it can also be the clothing surface from one first sheet metal sheet and the mounting flange formed from a second sheet metal sheet be when the second sheet is folded with the first sheet.
  • the invention also relates to an assembly set with at least one described Profile sheet, a washer with a passage opening for arrangement under the mounting flange, a washer with a passage opening for Arrangement over the mounting flange and a bolt-shaped Fastener.
  • the spacer is advantageously part of the washer.
  • the washer and / or the washer advantageously has the plane of the washer downward protruding edges or serrations, which may be caused by the Perforation in the mounting flange, can be pressed into an insulation layer.
  • the washer can be made of plastic or metal.
  • the invention further relates to a roof structure with a bulging one certain width and deep corrugations, supporting trapezoidal sheet.
  • a Trapezoidal sheet is a vapor diffusion barrier layer and above it one Thermal insulation layer arranged.
  • the profiled sheet covering has Profile sheet webs according to the invention and the grid spacing of the therein The provided elongated holes correspond at most to the width of the raised beads.
  • the invention also comprises a sandwich element with a metal one Outer skin, a heat-insulating intermediate layer and an inner skin, at which the outer skin is a described sheet metal sheet.
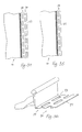
  • the profiled sheet 11 shown in Figure 1 is a standing seam profiled sheet for a roofing.
  • the profiled sheet 11 has a first longitudinal edge 13, parallel to it a second edge 15 and in between a clothing surface 16.
  • the orientation of the edges 13, 15 can also depend on the parallel arrangement differ.
  • Adjoining the first edge 13 is a hook-shaped cross section Formation 17 is formed, which projects to the outside 19 of the profiled sheet 11. It encompasses an interior 21 that is open toward the rear of the profiled sheet 11 partially.
  • An opening slot 23 remains open, through which the Head formation 25 of an adjacent profiled sheet 11 into the interior 21 can be pushed in.
  • At the second edge 15 there is a mounting flange 27 designed to rest on a substructure, not shown.
  • this mounting flange 27 is not a conventional sheet metal sheet provided holder web 31 formed.
  • a Head 25 trained At the outer end of this holder web 31 is a Head 25 trained.
  • the head formation 25 is designed such that it with the Forming 17 of a second profiled sheet 11 can be gripped.
  • This head training 25 and a shape 17 of an adjacent one placed over the head formation 25 Profile sheet 11 can be pressed together.
  • Between the head formation 25 and the clothing surface 16 and between the formation 17 and the Clothing surface 16 has a standing seam web 29, 30 in each case.
  • a holder web 31 is formed between the Head formation 25 and the mounting flange 27, a holder web 31 is formed.
  • An elongated perforation 33 is formed in the fastening flange 27. Through the Oblong perforation and possibly through an insulation layer, not shown screws 37 extend therethrough. Between the standing seam webs 29, 30 and Clothing surface 16 is formed a bead 35 in which the heads 39 of the screws Find 37 place. For this purpose, the bead 35 is only adjacent to the standing seam web 29 required at the first edge 13. In the other standing seam web 30 is predominant for aesthetic reasons, a bead 35 is also formed symmetrically to this.
  • a profiled sheet 12 is shown, in which the Clothing surface 16 in a plane between the plane of the fastening flange 27 and the head formation 25.
  • the holding web 32 is one in FIG
  • the amount is wider than the holding web 31 in FIG. 1. This is the amount Clothing surface 16 over the substructure, not shown in Figure 2.
  • a support plane 49 is shown, the outer surface of a Substructure corresponds.
  • a rear ventilation 51 between the profiled sheet 12 and the Substructure has a void thickness of this chosen amount.
  • FIG 5 In Figure 5 are the above-mentioned screw 37, a washer 41 and one Support washer 42 with the fastening flange 27 between the washers 41, 42 shown. So that the profiled sheet web is held with the screws 37, the However, linear expansion can change under the influence of temperature a spacer ring 43 is provided between the disks 41, 42. Under the Mounting flange 27, a washer 41 is provided and over the Mounting flange 27 a washer 42. The spacer ring 43 holds the two Disks at a predetermined distance from each other, at least the sheet thickness the mounting flange 27 corresponds.
  • the washer 41 and the washer 42 each have one für Stammötechnisch45. This has an opening width that is slightly larger than that Cross section of the shaft of the screw 37.
  • the head of the screw 37 is of course, larger than the opening width of the passage opening 45.
  • the exemplary embodiment shown is part of the washer 41 is.
  • the standing seam heads 47 are shown circular in the first two figures. This is also the most appropriate shape of the standing seam heads 47.
  • Standing seam heads 47 A large number of further possible forms of Standing seam heads 47 shown. If the illustrated head training 25 in Essentially correspond to the interior 21 of the formation 17, so is one divergent shape possible, but preferably the head formation 25 and the formation 17 mutually along at least two, advantageously along three Longitudinal lines correspond. The pressed formation 17 lies on these lines Head training 25.
  • the shape 17 in the Head training 25 it is essential that the shape 17 in the Head training 25 can be hung. This is usually the formation 17 of a sheet metal sheet 11 or 12 to be fastened onto the head formation 25 already placed on a substructure and attached sheet metal sheeting.
  • the formation 17 is with the opening slot 23 over the head formation 25 pressed so that the head formation 25 through the opening slot 23 in the Interior 21 of the formation 17 arrives.
  • the second edge 15 of the fastening sheet metal sheet held at a distance from the substructure. If the Forming 25 encloses the head formation 15, the profiled sheet is on the Filed substructure and attached to it with screws 37.
  • the standing seam heads 47 can therefore have a wide variety of shapes, provided that they allow this assembly process. The final shape of the standing seam heads 47 can only be made by a subsequent one Pressing process are formed.
  • a sandwich element 53 is shown in FIG.
  • the metal outer skin 55 of the Sandwich element 53 is a profiled sheet web according to the invention.
  • the liner 57 can be foamed. In the example, however, it consists of a mineral Fiber insulation layer, e.g. a rock wool or glass wool plate.
  • the inner skin 59 in the exemplary embodiment according to FIG. 18 consists of a profiled sheet.
  • the Sandwich element 53 is with an overlapping joint in the insulating Intermediate layer 57 is formed.
  • the inner profile sheets are in the joints elastic sealing strips 61 sealed against each other. This is one largely vapor-tight construction possible, which is a compact Warm roof construction enables.
  • the sandwich elements 53 can in one A visible surface on the inside of the building, a vapor barrier, one Thermal insulation and an outer skin can be added.
  • the distance between the Inner skin 59 and outer skin 55 is only by the insulating material Liner 57 maintained. Therefore, except for the screws 37, which the Tie outer skin 55 to the substructure, no thermal bridges.
  • FIG. 19 A cross-section through a sheet metal sheet particularly suitable for sandwich elements 14 is shown shortened in FIG. 19.
  • On the left edge is a shape 17 with an interior 21 wide open downward. After that is the standing seam web 29, then a corrugation 35 and the rest that follows Clothing surface 19 formed.
  • On the right edge of the clothing surface 19 is the Standing seam bridge 30, followed by the head formation 25 and from this down again the retaining web 31 is formed.
  • the mounting flange 27 executed in double sheet thickness.
  • the fastening flange 27 is the 1 mm thick sheet of the profiled sheet 14 once folded, with a gap of approx. 1 mm open between the two layers.
  • the formation 17 is only with a head formation after pressing this connected.
  • the formation 17 can be perpendicular to the plane of the Clothing surface 19 are placed over the head training 25.
  • the Profile sheet web 14 with the standing seam web 29 to the retaining web 31 of the previous one Profile sheet web 14 are pushed so that the edge between the standing seam web 29th and the formation 17 comes under the projecting point of the head formation 25.
  • the standing seam or the standing seam can later be pressed with a machine become.
  • the same configuration of the profiled sheet web 14 is shown in perspective in FIG.
  • the standing seam webs 29 and 30 left and right of the clothing surface 19 the head formation 25, the retaining web 31 and the mounting flange 27 are the perforations 33 in the mounting flange 27 and the screws 37, as well as the washer 41 and the washer 42 are shown.
  • the perforation corresponds to that in the profiled sheets 11 and 12 according to FIG. 1 and 3 or 2 and 4 perforations 33.
  • a grid of 6 cm there is a 4th cm long slot and a distance between the holes 33 of 2 cm is provided.
  • the hole width is 8 mm in the exemplary embodiment according to FIGS. 19 and 20 or 9 mm in the other two embodiments mentioned.
  • the mounting flange 27 Washer 41 arranged. It has a rectangular passage opening 45 and a spacer 43 (cf. Figure 23). The spacer protrudes the top of the washer 41 by 3 mm, which corresponds to the thickness of the mounting flange 27. Because the thickness of the Give up the mounting flange 27 slightly due to the two-layer design can, the spacer 43 no longer has to be a space between the Secure washer 41 and washer 43.
  • the washer 41 is made of plastic. It therefore glides on it Profile sheet web 14 relatively light. The sliding movement is by the spacers 33 and the perforation 33, since the spacers 43 penetrate the perforation 33.
  • Support disc 42 is provided with a stainless steel plate, the corners of which are rounded (see Figure 22).
  • the passage openings 45 in the support washer are circular. Both Passage openings have a diameter of 6.7, so that the screws 37 with a shaft diameter of 6.5 can be easily screwed through.
  • FIGS. 19 to 23 The currently preferred embodiment of a profiled sheet web according to the invention 14 and their fastening parts 41, 42, 37 are shown in FIGS. 19 to 23.
  • This The profiled sheet web 14 only adjoins the standing seam web 29 near the first one Edge 13 a bead 35. On the other side of the clothing surface 19 is subsequently no bead is formed on the standing seam web 30. This favors them Use in a sandwich element.
  • the mounting flange 27 is also directly on formed the sheet metal forming the clothing surface. This requires the Slidability of the mounting flange relative to the fasteners, i.e. the screws 37, the washers 41 and the washers 42.
  • the mounting flange 27 can also be moved on one Profile sheet 10 to be crimped.
  • Figures 24 to 33 are a number of crimped Fastening flanges shown.
  • folding mounting flanges 27 is advantageous to ensure that the common fold 63 a detachment of the Fastening flange 27 prevented from the remaining sheet metal sheet 10. This allows a direct mounting of the sheet metal sheets 8 on a substructure, or Use of the profiled sheet 10 as the outer skin 55 of a sandwich element 53.
  • Foldings 63 of the sheet metal of the mounting flange 27 with the sheet of metal Clothing surface can in the area of the mounting flange 27, in the area of Retaining web 31 or the head training 25 lie. You can also use a bead 35 between the standing seam web 30 in the head formation 25 and the clothing surface 19 be arranged.
  • the fold advantageously leaves a longitudinal displacement between the fastening flange 27 and the clothing surface 19. However, it can also oblong holes 33 may be formed in a crimped fastening flange.
  • the Folding 63 can also be created when profiling sheet metal sheet 10.
  • FIG. 34 shows a top view of a fastening flange 27 with two rows 34 of Slots 33.
  • the elongated holes of one row 34 are opposite the elongated holes the other row arranged so offset that the sheet metal webs between the Elongated holes 33 in one row approximately in the middle next to the elongated holes 33 in the other row 34 lie.
  • the distance between the one, e.g. lower end of an elongated hole 33 of the one row 34 and the same end of an adjacent elongated hole 33 of the other Row 34 is always practically the same and is called the grid spacing.
  • the elongated hole can be longer than the grid spacing.
  • the grid spacing can be the same at the same displacement distance can be chosen smaller and therefore the sheet metal on relatively narrow Fastening strips, e.g. Raising the structure to be attached.
  • FIG 35 a mounting flange 27 is shown, which only one row 34 of Has elongated holes 33.
  • the comparison of Figures 34 and 35 clearly shows that with the same design of the rows of slots 34 with a single row 34 a screw can only be screwed in twice as far, if the movability of the sheet metal should not be impaired.
  • the mounting flange 27 consists of a folded sheet metal edge of the profiled sheet 11. This is the Mounting flange 27 more resistant to bending than in a single-layer training. This has the Advantage that the mounting flange 27 can be bent less and therefore the Slidability relative to the fasteners remains guaranteed.
  • a mounting bracket 44 is shown. This is from one Stainless steel sheet piece shaped and has one under the mounting flange 27 to pushing washer part 41 and one over the mounting flange 27 sliding washer part 42. These two parts are around the Fixing flange connected around.
  • the brackets 44 has Washer part 41 punched out and bent down, protruding prongs 46, which can be pressed into a thermal insulation layer.
  • the Clip 44 shown stretched.
  • FIG. 39 shows a washer 41 and a washer 42 for one Profile sheet 11 with two rows 34 of elongated holes 33 in the mounting flange 27.
  • the washer 41 has twice next to each other at a distance from the rows of Elongated holes three holes each.
  • the middle hole 82 is intended for reception the bolt-shaped fastener.
  • the other two holes 83 are in one Distance from each other, which corresponds to the grid spacing of the elongated holes 33. Through these two holes 83 extend prongs 46 or claws on the Washer 42 are arranged.
  • the washer 42 has an edge Hole 84 through which the fastener can be passed.
  • two teeth 46 are punched out and bent, which through the Elongated holes 33 in the second row 34 and the holes 83 provided therefor in the Washer 41 can be pressed into the insulating layer 81.
  • By can rotate the support plate 42 by 180 degrees, whether that bolt-shaped fasteners in one or the other row 34 of Elongated holes 33 is to be inserted in the fastening flange 27.
  • FIG. 40 shows a section through a roof structure.
  • At 71 is one Designated steel girder on which a trapezoidal sheet 73 rests.
  • the trapezoidal sheet has Hochsicken 75 and Tiefsicken 77.
  • Over the Hochsicken is a vapor barrier layer 79th stretched and glued on.
  • On top of this is a mineral fiber thermal insulation layer 81 hung up.
  • the sheet metal sheets 11 are transverse to Direction of the beads of the trapezoidal sheet 73 relocated.
  • FIG. 41 shows the same section as in FIG. 40.
  • Fastening screws 37 shown. These have two threaded sections 91 and 92 on.
  • a first threaded section 91 is connected to the screw tip formed, a second 92 at a distance from the first 91 and at a distance from the Head of screw.
  • Both between the second thread section 92 near the head and the head of the screw as well as on the head-facing side of the first Threaded section 91 is an idle in the shaft area formed by the Diameter of the shaft corresponds approximately to that of the thread core.
  • the shaft can be freely rotated in the hole and slidable in the direction of the shaft.
  • the first threaded section 91 is included screwed screw 37 under the support plate 75, the second threaded section 92 lies under the washer 41.
  • the screw 37 is through the washer 41 through bolted.
  • a thread is formed in the washer 41. This will easiest formed during screwing in by the screw 37 itself.
  • the edge of the last thread revolution of the second thread section 92 is behind Fasten the screw from below to the edge of the hole in the washer on. When unscrewing the screw, both the first thread 91 and that second thread 92 in the formed in the trapezoidal sheet 75 and in the washer 41 Threads are inserted. This happens only with a small probability movements of screw 37 due to wind and temperature. This is also deliberate difficult to achieve.

Landscapes

  • Engineering & Computer Science (AREA)
  • Architecture (AREA)
  • Civil Engineering (AREA)
  • Structural Engineering (AREA)
  • Mechanical Engineering (AREA)
  • Roof Covering Using Slabs Or Stiff Sheets (AREA)
  • Treatment Of Fiber Materials (AREA)
  • Connection Of Plates (AREA)
  • Polishing Bodies And Polishing Tools (AREA)

Abstract

Eine Profilblechbahn (11) mit einer Bekleidungsfläche zwischen zwei Stehfalzstegen (29,30) weist einen Befestigungsflansch (27) auf, der auf einen ebenen Unterbau auflegbar ist. In den Befestigungsflansch (27) sind wenigstens eine Reihe von Langlöchern (33) eingearbeitet, deren Rasterabstand höchstens 210 mm, vorzugsweise lediglich 100 mm ist, so dass jede Profilblechbahn (11) an jeder beliebigen Stelle auf einer die Hochsicke eine Trapezbleches oder einem Befestigungssteg eines Z-Profils oder dergleichen befestigt werden kann. Die Stehfalzköpfe 47 sind aus einer Ausformung 17 um eine Kopfausbildung 25 gebildet und verpressbar. Die Profilblechbahn (11) eignet sich für die Verwendung als eine Aussenhaut (55) eines Sandwichelements 53 mit einer dämmenden Zwischenlage (57) und einer sichtbaren Innenhaut (59). <IMAGE> <IMAGE>

Description

Die Erfindung betrifft eine Profilblechbahn gemäss dem Oberbegriff des Anspruchs 1, insbesondere eine Profilblech-Dachbahn.
Aus der GB-A-2 345 705 sind Sandwich-Elemente für eine Dacheindeckung bekannt. Diese besitzen ein äusseres und eine inneres Blechteil und dazwischen eine Dämmschicht, deren Schmalseite sich vom inneren bis zum äusseren Blechteil erstreckt. Am äusseren Blechteil sind entlang gegenüberliegenden Rändern Fügeformen angeformt. Diese Fügeformen sind auf der einen Seite von einer ersten Art und auf der anderen Seite von einer zweiten Art, wobei eine der Fügeformen eine Befestigungsfläche aufweist, mit der Befestigungsmittel zusammenwirken, mit denen das Sandwich-Element an einer Tragstruktur befestigt ist. Ein elastisches Dichtungsmaterial ist entlang einer Längsseite des Sandwich-Elements in einer konkaven Ecke zwischen der Schmalseite der Dämmschicht und dem inneren Blechteil angeordnet. Beim Zusammenfügen zweier benachbarter Sandwich-Elemente bis die Schmalseiten benachbarter Sandwich-Elemente beieinander liegen, kann die eine der Fügeformen am einen Sandwich-Element deformiert werden, um in Eingriff mit der anderen Fügeform am anderen Sandwich-Element zu gelangen. Dabei wird das Dichtungsmaterial zwischen den inneren Blechteilen der benachbarten Sandwich-Elemente komprimiert und bildet dadurch eine Dichtung zwischen den Sandwich-Elementen.
Die eine der Fügeformen bildet dabei einen vom äusseren Blechteil aufstehenden Steg mit einem vergrösserten Kopfteil in einem Abstand zum ersten Blechteil. Beide Fügeformen umschliessen zusammen einen Hohlraum, in welchem die Befestigungsfläche liegt. Die eine Fügeform ist konkav ausgebildet. Sie nimmt das Kopfteil der anderen Fügeform auf. Beim Einführen des Kopfteils in die konkave Fügeform wird diese in einer Ausführungsvariante elastisch aufgeweitet von einem Ruhezustand in einen aufgeweiteten Zustand und kehrt nach dem Einführen des Kopfteils im Wesentlichen wieder in den Ruhezustand zurück. In einer anderen Ausführungsvariante ist die konkave Fügeform nicht-elastisch von einem aufgeweiteten Zustand in einen relativ engen Zustand verformbar, in welchem sie dann das Kopfteil umschliesst.
Zur Befestigung dieser Sandwich-Elemente wird eine Schraube durch die Befestigungsfläche im äusseren Blechteil, die Dämmschicht und das innere Blechteil hindurch in eine Tragstruktur geschraubt. Es kann die Schraube auch durch beide sich im Fugenbereich überlappenden äusseren und beide sich überlappenden inneren Blechteile der benachbarten Sandwichelemente hindurchgeführt sein.
Aus der US-A-5,535,567 ist eine Dacheindeckung mit mehreren Profilblechen und Stehfälzen bekannt. Jedes Profilblech besitzt entlang seinen Längsrändern zwei verschiedene Fügeformen, die jeweils mit der anderen Fügeform eines benachbarten Profilbleches zusammen einen Stehfalz bilden. Die Fügeformen sind elastisch ineinander einschnappbar. Eine erste Fügeform überdeckt die zweite Fügeform und rastete mit dem Blechrand in einer Rille in der zweiten Fügeform ein. Die zweite Fügeform bildet aufstehend von der Dachfläche eine erste aufsteigende Wandung, in der die Rille eingeformt ist. Vom von der Dachfläche entferntesten Teil der aufsteigenden Wandung führt eine absteigende Wandung zurück auf die Ebene der Dachfläche und bildet dort eine Befestigungsfläche parallel zur Dachfläche. In der Befestigungsfläche sind einige Langlöcher eingearbeitet, durch die zur Befestigung Nägel in eine Holzunterkonstruktion geschlagen werden können. Die Langlöcher sind gemäss Figuren in einem grossen Abstand angeordnet. In jedem Langloch ist ein Nagel angeordnet.
Generell ist bekannt, dass dort wo als tragende Unterkonstruktion ein Trapezblech eingesetzt ist und die Blecheindeckung an den Hochsicken des Trapezblechs befestigt ist, bei der Befestigung darauf geachtet werden muss, dass die Hochsicken des Trapezbleches gleichmässig belastet werden. Wird die Eindeckung lediglich z.B. jeweils an einer parallel zum Stehfalz verlaufenden Hochsicke befestigt, oder werden bei rechtwinklig zu den Stehfälzen verlaufender Trapezblechbahn, die Profilbleche der Eindeckung jeweils an der gleichen Hochsicke befestigt, muss diese eine Hochsicke für die Aufnahme der Zuglast einer relativ grossflächigen Dachfläche bemessen sein. Deshalb werden Halter für ein Stehfalzdach und Distanzschienen, an denen eine Dacheindeckung befestigt wird, in der Regel diagonal verlegt und an möglichst vielen Hochsicken befestigt. Bekannte Trapezbleche weisen Hochsicken auf, deren Breite wenigstens 102 mm und bis zu 210 mm misst.
Es ist daher Aufgabe der Erfindung eine Profilblechbahn vorzuschlagen, für deren Befestigung an einem tragenden Trapezblech keine separat zu versetzende Halter oder diagonal zu verlegende Befestigungsleisten notwendig sind.
Bei einer Profilblechbahn mit einer Bekleidungsfläche zwischen einem ersten und einem zweiten längsgerichteten Rand, einer zur Aussenseite der Profilblechbahn vorspringenden Ausformung beim ersten Rand und einer von der Ausformung einer angrenzenden zweiten Profilblechbahn umgreifbaren Kopfausbildung ist beim zweiten Rand ein Befestigungsflansch ausgebildet, der auf einen ebenen Unterbau auflegbar ist und mit Langlöchern versehen ist, sind die Langlöcher erfindungsgemäss in einer Reihe parallel zur Profilrichtung in einem Rasterabstand von höchstens 210 mm, besser lediglich 120 mm, vorzugsweise höchstens 110 mm, besonders bevorzugt höchstens 100 mm Langloch ausgebildet. Dadurch ist bei praktisch allen Trapezblechen gewährleistet, dass über jeder Hochsicke wenigstens ein Langloch vorliegt. Das Profilblech weit auch über jedem Befestigungssteg eines die Blechbahn querenden Z-Profils oder dergleichen ein Langloch auf, durch welches sie befestigt werden kann.
Vorteilhaft ist bei einer einzigen Reihe von Langlöchern die Summe der Länge des Zwischenraums zwischen zwei Langlöchern und der Länge des Langlochs kleiner ist als die Breite der parallel zur Dachfläche verlaufenden Fläche einer Hochsicke oder eines Befestigungsstegs der Tragkonstruktion.
Vorteilhaft sind zwei Reihen von Langlöchern nebeneinander angeordnet. Dabei sind die Langlöcher in der einen Reihe gegenüber den Langlöchern in der anderen Reihe versetzt. Dadurch ist es möglich, dass die Länge der Langlöcher den Rasterabstand zwischen den Langlöchern parallel zur Profilrichtung übersteigen kann. In diesem Fall kann die Summe der Länge des Langloches und der Länge des Zwischenraumes etwa der doppelten Breite der Hochsicke entsprechen, während der Rasterabstand etwas der Breite der Hochsicke entspricht.
Der Befestigungsflansch ist vorteilhaft aus zwei Blechlagen ausgeführt, um seine Biegesteifigkeit zu erhöhen. Um dies zu erreichen ist der Rand der Blechbahn einmal umgelegt. Dadurch ist die Kante des Befestigungsflansches eine Biegekante, und die umgelegte Blechkante bildet keine freie Kante, was zudem die Verletzungsgefahr beim Umgang mit der Blechbahn vermindert.
Der Befestigungsflansch kann dabei einstückig an der die Bekleidungsfläche bildenden Blechbahn ausgebildet sein. Vorteilhaft weist dann der Befestigungsflansch eine Lochung mit Langlöchern auf. Es kann aber auch die Bekleidungsfläche aus einer ersten Blechbahn und der Befestigungsflansch aus einer zweiten Blechbahn gebildet sein, wenn die zweite Blechbahn mit der ersten Blechbahn verfalzt ist.
Vorteilhafte Ausführungsformen der Erfindung und deren Weiterentwicklungen sind in den Unteransprüchen beschrieben. Der Rasterabstand der Langlöcher könnte auch gezielt auf den Rasterabstand der Hochsicken des Trapezbleches ausgelegt werden.
Die Erfindung betrifft ausserdem ein Montageset mit wenigstens einer beschriebenen Profilblechbahn, einer Unterlagsscheibe mit einer Durchtrittöffnung zur Anordnung unter dem Befestigungsflansch, einer Auflagescheibe mit einer Durchtrittöffnung zur Anordnung über dem Befestigungsflansch und einem bolzenförmigen Befestigungselement.
Bei diesem Montageset ist vorteilhaft ein Distanzhalter zwischen der Unterlagsscheibe und der Auflagescheibe vorhanden, dessen Dicke wenigstens der Dicke des Befestigungsflansches entspricht und dessen Abmessungen ein Durchsetzen der Lochung eines Befestigungsflansches erlauben.
Vorteilhaft ist der Distanzhalter Teil der Unterlagsscheibe.
Vorteilhaft weist die Unterlagsscheibe und/oder die Auflagescheibe die Scheibenebene nach unten überragende Kanten oder Zacken auf, die gegebenenfalls durch die Lochung im Befestigungsflansch hindurch, in eine Dämmschicht einpressbar sind.
Die Unterlagsscheibe kann aus Kunststoff oder Metall hergestellt sein.
Die Erfindung betrifft ferner einen Dachaufbau mit einem Hochsicken einer bestimmten Breite und Tiefsicken aufweisenden, tragenden Trapezblech. Über dem Trapezblech ist eine Dampfdiffusionssperrschicht und darüber eine Wärmedämmschicht angeordnet. Über der Wärmedämmschicht ist eine Profilblecheindeckung vorhanden, welche mit bolzenförmigen Befestigungsmitteln mit den Hochsicken des Trapezbleches verbunden ist. Die Profilblecheindeckung weist erfindungsgemässe Profilblechbahnen auf und der Rasterabstand der darin vorgesehenen Langlöcher entspricht höchstens der Breite der Hochsicken.
Weiter umfasst die Erfindung auch ein Sandwichelement mit einer metallenen Aussenhaut, einer wärmedämmenden Zwischenlage und einer Innenhaut, bei welchem die Aussenhaut eine beschriebene Profilblechbahn ist.
Die Erfindung ist im Folgenden anhand von in den Figuren dargestellten Ausführungsbeispielen genauer erläutert. Es zeigt
Figur 1:
eine perspektivische Darstellung einer erfindungsgemässen Profilblechbahn, ohne Hinterlüftung,
Figur 2:
eine perspektivische Darstellung einer erfindungsgemässen Profilblechbahn, mit Hinterlüftung,
Figur 3:
einen Querschnitt durch eine Profilblechbahn gemäss Figur 1 im Verband mit benachbarten Profilblechbahnen,
Figur 4:
einen Querschnitt durch eine Profilblechbahn gemäss Figur 2 im Verband mit benachbarten Profilblechbahnen,
Figur 5:
einen Detailschnitt durch eine Befestigungsstelle,
Figuren 6 bis 17:
schematische Schnitte durch Stehfälze mit unterschiedlichen Gestaltungen der Falzköpfe,
Figur 18:
ein Querschnitt durch eine Sandwich-Dachplatte
Figur 19:
einen Querschnitt durch eine für Sandwich-Dachplatten besonders geeignete Profilblechbahn,
Figur 20:
die Profilblechbahn nach Figur 19 in einer perspektivischen Ansicht,
Figur 21:
bevorzugte Befestigungselemente für eine erfindungsgemässe Profilblechbahn,
Figur 22:
die Auflagescheibe gemäss Figur 21,
Figur 23:
die Unterlagsscheibe gemäss Figur 21,
Figuren 24 bis 33:
mit der Blechbahn der Bekleidungsfläche verfalzte Befestigungsflansche,
Figur 34:
einen Schnitt durch den Steg eines Profilblechs mit zwei Reihen von Langlöchern im Befestigungsflansch,
Figur 35:
einen Schnitt durch den Steg eines Profibleches mit einer Reihe von Langlöchern im Befestigungsflansch,
Figur 36:
eine perspektivische Skizze eines Ausschnittes eines Profilbleches mit zwei Reihen von Langlöchern,
Figur 37:
eine Befestigungsklammer mit Verschiebesicherung im Querschnitt,
Figur 38:
die Befestigungsklammer nach Fig. 37 in ungefaltetem Zustand,
Figur 39:
eine Unterlagsscheibe und eine Auflagescheibe, insbesondere für ein Profilblech mit zwei Langlochreihen
Figur 40:
einen Schnitt durch einen Dachaufbau mit einer Eindeckung aus den erfindungsgemässen Profilblechen,
Figur 41:
einen Schnitt gemäss Figur 40, jedoch mit anderen Befestigungsschrauben.
Die in Figur 1 dargestellte Profilblechbahn 11 ist eine Stehfalz-Profilblechbahn für eine Dacheindeckung. Die Profilblechbahn 11 weist einen ersten längs gerichteten Rand 13, parallel dazu einen zweiten Rand 15 und dazwischen eine Bekleidungsfläche 16 auf. DieAusrichtung der Ränder 13,15 kann auch von der parallelen Anordnung abweichen. Anschliessend an den ersten Rand 13 ist eine im Querschnitt hakenförmige Ausformung 17 ausgebildet, die zur Aussenseite 19 der Profilblechbahn 11 vorspringt. Sie umgreift einen zur Rückseite der Profilblechbahn 11 hin offenen Innenraum 21 teilweise. Es bleibt ein Öffnungsschlitz 23 offen, durch den hindurch die Kopfausbildung 25 einer benachbarten Profilblechbahn 11 in den Innenraum 21 hineingeschoben werden kann. Am zweiten Rand 15 ist eine Befestigungsflansch 27 zur Auflage auf einem nicht dargestellten Unterbau ausgebildet. Anschliessend an diese Befestigungsflansch 27 ist ein bei herkömmlichen Profilblechbahnen nicht vorgesehener Haltersteg 31 ausgebildet. Am äusseren Ende dieses Halterstegs 31 ist ein Kopf 25 ausgebildet. Die Kopfausbildung 25 ist derart gestaltet, dass sie mit der Ausformung 17 einer zweiten Profilblechbahn 11 umgreifbar ist. Diese Kopfausbildung 25 und eine über die Kopfausbildung 25 gesteckte Ausformung 17 einer benachbarten Profilblechbahn 11 sind miteinander verpressbar. Zwischen der Kopfausbildung 25 und der Bekleidungsfläche 16 und zwischen der Ausformung 17 und der Bekleidungsfläche 16 ist jeweils ein Stehfalz-Steg 29,30 ausgebildet. Zwischen der Kopfausbildung 25 und der Befestigungsflansch27 ein Haltersteg 31 ausgebildet.
In der Befestigungsflansch27 ist eine Langlochung 33 ausgebildet. Durch die Langlochung hindurch und gegebenenfalls durch eine nicht dargestellte Dämmschicht hindurch erstrecken sich Schrauben 37. Zwischen den Stehfalzstegen 29,30 und der Bekleidungsfläche 16 ist eine Sicke 35 ausgebildet, in der die Köpfe 39 der Schrauben 37 Platz finden. Die Sicke 35 ist dazu lediglich anschliessend an den Stehfalz-Steg 29 beim ersten Rand 13 erforderlich. Beim anderen Stehfalz-Steg 30 ist jedoch vorwiegend aus ästhetischen Gründen symmetrisch zu dieser ebenfalls eine Sicke 35 ausgebildet.
In Figur 1 entsprechen die Summe der Höhe der Sicke 35 und der Breite des Stehfalzstegs 29 bzw. 30 der Breite des Haltestegs 31. Daher liegen Befestigungsflansch27 und die Bekleidungsfläche 16 praktisch in derselben Ebene.
In Figur 2 hingegen ist eine Profilblechbahn 12 dargestellt, bei der die Bekleidungsfläche 16 in einer Ebene zwischen der Ebene der Befestigungsflansch 27 und der Kopfausbildung 25 liegt. Der Haltesteg 32 ist in Figur 2 um einen gewählten Betrag breiter ausgebildet als der Haltesteg 31 in Figur 1. Um diesen Betrag liegt die Bekleidungsfläche 16 über dem in Figur 2 nicht dargestellten Unterbau.
In Figuren 3 und 4 ist eine Auflageebene 49 dargestellt, die der Aussenfläche eines Unterbaus entspricht. Eine Hinterlüftung 51 zwischen der Profilblechbahn 12 und dem Unterbau hat eine Hohlraumstärke von diesem gewählten Betrag. Sind die Haltestege 31 wie in Figur 1 und 3 ausgeführt, liegt die Bekleidungsfläche 16 hingegen auf dem Unterbau auf.
In Figur 5 sind die oben erwähnte Schraube 37, eine Unterlagsscheibe 41 und eine Auflagescheibe 42 mit der Befestigungsflansch 27 zwischen den Scheiben 41,42 dargestellt. Damit mit den Schrauben 37 die Profilblechbahn zwar gehalten ist, deren Längenausdehnung sich jedoch unter Einfluss der Temperatur verändern kann, ist zwischen den Scheiben 41, 42 ein Distanzring 43 vorgesehen. Unter der Befestigungsflansch 27 ist eine Unterlagsscheibe 41 vorgesehen und über der Befestigungsflansch 27 eine Auflagescheibe 42. Der Distanzring 43 hält die beiden Scheiben in einem vorgegebenen Abstand zueinander, der wenigstens der Blechdicke der Befestigungsflansch 27 entspricht.
Die Unterlagsscheibe 41 und die Auflagescheibe 42 besitzen je eine Durchtrittöffnung45. Diese weist eine Öffnungsweite auf, die etwas grösser ist als der Querschnitt des Schafts der Schraube 37. Der Kopf der Schraube 37 hingegen ist selbstverständlich grösser als die Öffnungsweite der Durchtrittöffnung 45. Im abgebildeten Ausführungsbeispiel ist der Distanzring 43 Teil der Unterlagsscheibe 41 ist.
Die Stehfalzköpfe 47 sind in den beiden ersten Figuren kreisrund dargestellt. Dies ist auch die zweckmässigste Form der Stehfalzköpfe 47. Dabei ist vorteilhaft die Form der Kopfausbildung 25 und der Ausformung 17 einander entsprechend. Diese beiden zusammenwirkenden Teile sind zumindest nach einem Verpressen des Falzes formschlüssig.
In den Figuren 6 bis 17 sind eine Vielzahl weiterer möglicher Formen von Stehfalzköpfen 47 dargestellt. Wenn auch die abgebildeten Kopfausbildungen 25 im Wesentlichen dem Innenraum 21 der Ausformung 17 entsprechen, so ist auch eine divergierende Formgebung möglich, wobei aber vorzugsweise die Kopfausbildung 25 und die Ausformung 17 einander wenigstens entlang von zwei, vorteilhaft entlang drei Längslinien entsprechen. An diesen Linien liegt die verpresste Ausformung 17 an der Kopfausbildung 25 an.
Bei den Stehfalzköpfen 47 ist wesentlich, dass die Ausformung 17 in die Kopfausbildung 25 eingehängt werden kann. Dazu wird gewöhnlich die Ausformung 17 einer zu befestigenden Profilblechbahn 11 oder 12 auf die Kopfausbildung 25 einer bereits auf einem Unterbau aufliegenden und daran befestigten Profilblechbahn gelegt.
Die Ausformung 17 wird mit dem Öffnungsschlitz 23 über die Kopfausbildung 25 gedrückt, so dass die Kopfausbildung 25 durch den Öffnungsschlitz 23 in den Innenraum 21 der Ausformung 17 gelangt. Dabei wird der zweite Rand 15 der zu befestigenden Profilblechbahn in einem Abstand zum Unterbau gehalten. Wenn die Ausformung 25 die Kopfausbildung 15 umschliesst, wird die Profilblechbahn auf den Unterbau abgelegt und mit Schrauben 37 daran befestigt. Die Stehfalzköpfe 47 können daher verschiedenste Formen aufweisen, sofern sie diesen Montageablauf zulassen. Die endgültige Form der Stehfalzköpfe 47 kann auch erst durch einen anschliessenden Verpressvorgang ausgebildet werden.
In Figur 18 ist ein Sandwichelement 53 dargestellt. Die metallene Aussenhaut 55 des Sandwichelements 53 ist eine erfindungsgemässe Profilblechbahn. Die Zwischenlage 57 kann geschäumt sein. Im Beispiel besteht sie jedoch aus einer mineralischen Faserdämmschicht, z.B. einer Steinwolle oder Glaswolleplatte. Die Innenhaut 59 besteht im Ausführungsbeispiel gemäss Figur 18 aus einem Profilblech. Das Sandwichelement 53 ist mit einer überlappenden Fuge in der dämmenden Zwischenlage 57 ausgebildet. Die inneren Profilbleche sind in den Fugen mit elastischen Dichtungsstreifen 61 gegeneinander abgedichtet. Dadurch ist eine weitgehend dampfdichte Konstruktion möglich, die eine kompakte Warmdachkonstruktion ermöglicht. Mit den Sandwichelementen 53 kann in einem Arbeitsgang eine Sichtoberfläche auf der Gebäudeinnenseite, eine Dampfbremse, eine Wärmedämmung und eine Aussenhaut versetzt werden. Die Distanz zwischen der Innenhaut 59 und der Aussenhaut 55 wird lediglich durch das Dämmmaterial der Zwischenlage 57 aufrechterhalten. Daher bestehen, bis auf die Schrauben 37, die die Aussenhaut 55 an den Unterbau binden, keine Wärmebrücken.
Ein Querschnitt durch eine für Sandwichelemente besonders geeignete Profilblechbahn 14 ist in Figur 19 verkürzt dargestellt. Am linken Rand ist eine Ausformung 17 mit einem nach unten weit geöffneten Innenraum 21 dargestellt. Anschliessend daran ist der Stehfalzsteg 29, dann eine Sicke 35 und die daran anschliessende übrige Bekleidungsfläche 19 ausgebildet. Am rechten Rand der Bekleidungsfläche 19 ist der Stehfalzsteg 30, daran anschliessend darüber die Kopfausbildung 25 und von dieser wieder nach unten der Haltesteg 31 ausgebildet. An den Haltesteg 31 anschliessend ist der Befestigungsflansch 27 in doppelter Blechstärke ausgeführt. Beim Befestigungsflansch 27 ist dazu das 1 mm starke Blech der Profilblechbahn 14 einmal umgelegt, wobei zwischen den beiden Lagen ein Spalt von ca. 1 mm offen ist.
Die Ausformung 17 ist erst nach einem Verpressen mit einer Kopfausbildung mit dieser verbunden. Die Ausformung 17 kann senkrecht zur Ebene der Bekleidungsfläche 19 über die Kopfausbildung 25 gelegt werden. Danach muss die Profilblechbahn 14 mit dem Stehfalzsteg 29 an den Haltesteg 31 der vorangehenden Profilblechbahn 14 geschoben werden, so dass die Kante zwischen dem Stehfalzsteg 29 und der Ausformung 17 unter die auskragende Stelle der Kopfausbildung 25 gelangt. Später kann der Stehfalz oder können die Stehfälze mit einer Maschine verpresst werden. In der im Wesentlichen zylindrischen Kopfausbildung 25 ist eine Kerbe ausgeformt, damit die Einschraubrichtung einer Fixationsschraube beim Einschrauben durch die Kerbe zentriert wird.
Dieselbe Ausbildung der Profilblechbahn 14 ist in Figur 20 perspektivisch dargestellt. Zusätzlich zu der geöffnet ausgebildeten Ausformung 17, den Stehfalzstegen 29 und 30 links und rechts der Bekleidungsfläche 19, der Kopfausbildung 25, dem Haltesteg 31 und dem Befestigungsflansch 27 sind die Lochung 33 im Befestigungsflansch 27 und die Schrauben 37, sowie die Unterlagsscheibe 41 und die Auflagescheibe 42 dargestellt. Die Lochung ist entsprechend der in den Profilblechen 11 und 12 gemäss Figuren 1 und 3 bzw. 2 und 4 ausgeführten Lochung 33. In einem Raster von 6 cm ist jeweils ein 4 cm langes Langloch und ein Abstand zwischen den Löchern 33 von 2 cm vorgesehen. Die Lochweite ist 8 mm im Ausführungsbeispiel gemäss Figuren 19 und 20 bzw. 9 mm in den anderen beiden erwähnten Ausführungsbeispielen.
Wie auch aus der Figur 21 ersichtlich ist, ist unter dem Befestigungsflansch 27 die Unterlagsscheibe 41 angeordnet. Sie weist eine rechteckige Durchtrittöffnung 45 auf und auf zwei Seiten dieser Durchtrittöffnung jeweils einen Distanzhalter 43 (vergl. Figur 23). Der Distanzhalter übersteht die Oberseite der Unterlagsscheibe 41 um 3 mm, was der Dicke des Befestigungsflansches 27 entspricht. Da die Dicke des Befestigungsflansches 27 aufgrund der zweilagigen Ausführung etwas nachgeben kann, muss der Distanzhalter 43 nicht mehr Zwischenraum zwischen der Unterlagsscheibe 41 und der Auflagescheibe 43 sicherstellen.
Die Unterlagsscheibe 41 ist aus Kunststoff gefertigt. Auf ihr gleitet daher die Profilblechbahn 14 relativ leicht. Die Gleitbewegung ist durch die Distanzhalter 33 und die Lochung 33 geführt, da die Distanzhalter 43 die Lochung 33 durchsetzen. Als Auflagescheibe 42 ist eine Edelstahlplatte vorgesehen, deren Ecken gerundet sind (vergl. Figur 22). Die Durchtrittöffnungen 45 in der Auflagescheibe ist kreisrund. Beide Durchtrittöffnungen weisen einen Durchmesser von 6,7 auf, so dass die Schrauben 37 mit einem Schaftdurchmesser von 6,5 leicht hindurchschraubbar sind.
Die zur Zeit bevorzugte Ausführungsform einer erfindungsgemässen Profilblechbahn 14 und deren Befestigungsteile 41,42,37 ist in den Figuren 19 bis 23 dargestellt. Diese Profilblechbahn 14 weist lediglich anschliessend an den Stehfalzsteg 29 nahe des ersten Randes 13 eine Sicke 35 auf. Auf der andern Seite der Bekleidungsfläche 19 ist anschliessend an den Stehfalzsteg 30 keine Sicke ausgebildet. Dies begünstigt deren Verwendung in einem Sandwichelement. Auch ist der Befestigungsflansch 27 direkt an dem die Bekleidungsfläche bildenden Blech ausgeformt. Dies bedingt die Verschiebbarkeit des Befestigungsflanschs gegenüber den Befestigungselementen, d.h. den Schrauben 37, den Unterlagsscheiben 41 und den Auflagescheiben 42.
Alternativ kann jedoch auch der Befestigungsflansch 27 verschieblich an einem Profilblech 10 angefalzt sein. In den Figuren 24 bis 33 sind eine Reihe von angefalzte Befestigungsflanschen dargestellt. Beim Anfalzen von Befestigungsflanschen 27 ist vorteilhaft darauf zu achten, dass der gemeinsame Falz 63 ein Loslösen des Befestigungsflansches 27 von der übrigen Profilblechbahn 10 verhindert. Dies erlaubt eine direkte Montage der Profilblechbahnen 8 auf einem Unterbau, bzw. die Verwendung der Profilblechbahn 10 als Aussenhaut 55 eines Sandwichelements 53.
Verfalzungen 63 der Blechbahn des Befestigungsflanschs 27 mit der Blechbahn der Bekleidungsfläche können im Bereich des Befestigungsflanschs 27, im Bereich des Haltestegs 31 oder der Kopfausbildung 25 liegen. Sie können auch unter einer Sicke 35 zwischen dem Stehfalzsteg 30 bei der Kopfausbildung 25 und der Bekleidungsfläche 19 angeordnet sein. Die Verfalzung lässt vorteilhaft eine längsgerichtete Verschiebung zwischen Befestigungsflansch 27 und Bekleidungsfläche 19 zu. Es können jedoch auch in einem angefalzten Befestigungsflansch Langlöcher 33 ausgebildet sein. Die Verfalzung 63 kann beim Profilieren der Profilblechbahn 10 gleich miterstellt werden.
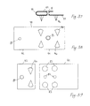
Figur 34 zeigt eine Aufsicht auf einen Befestigungsflansch 27 mit zwei Reihen 34 von Langlöchern 33 . Die Langlöcher der einen Reihe 34 sind gegenüber den Langlöchern der anderen Reihe derart versetzt angeordnet, dass die Blechstege zwischen den Langlöchern 33 einer Reihe etwa mittig neben den Langlöchern 33 der anderen Reihe 34 liegen. Der Abstand zwischen dem einen, z.B. unteren Ende eines Langloches 33 der einen Reihe 34 und dem gleichen Ende eines benachbarten Langloches 33 der anderen Reihe 34 ist immer praktisch gleich und wird als Rasterabstand bezeichnet. Durch die Anordnung von zwei Reihen 34 von Langlöchern 33 kann das Langloch länger sein als der Rasterabstand. Dadurch ist erreicht, dass gegenüber einer Blechbahn mit lediglich einer Reihe 34 von Langlöchern 33 eine grössere Verschiebedistanz der Blechbahn gegenüber den Befestigungsmitteln bei gleichem Rasterabstand der Langlöcher gewährleistet ist. Anders gesagt kann bei gleicher Verschiebedistanz der Rasterabstand kleiner gewählt werden und daher die Blechbahn auf relativ schmalen Befestigungsstreifen, z.B. Hochsicken, der Tragkonstruktion befestigt werden.
In Figur 35 ist ein Befestigungsflansch 27 dargestellt, der lediglich eine Reihe 34 von Langlöchern 33 aufweist. In der Gegenüberstellung von Figur 34 und 35 wird deutlich, dass bei gleicher Ausbildung der Langlochreihen 34 mit einer einzigen Reihe 34 lediglich in doppelt so grossen Abständen eine Schraube eingeschraubt werden kann, wenn nicht die Verschiebbarkeit der Blechbahn beeinträchtigt werden soll.
In Figur 36 ist deutlich dargestellt, dass die Langlöcher durch zwei Blechlagen hindurch ausgebildet sind. Der Befestigungsflansch 27 besteht aus einem zusammengefalteten Blechrand der Profilblechbahn 11. Dadurch ist der Befestigungsflansch 27 biegesteifer als bei einer einlagigen Ausbildung. Dies hat den Vorteil, dass der Befestigungsflansch 27 weniger verbogen werden kann und daher die Verschiebbarkeit gegenüber den Befestigungsmitteln sicherer gewährleistet bleibt.
In Figur 37 ist eine Befestigungsklammer 44 dargestellt. Diese ist aus einem Edelstahlblechstück geformt und besitzt einen unter den Befestigungsflansch 27 zu schiebenden Unterlagsscheibenteil 41 und einen über den Befestigungsflansch 27 zu schiebender Auflagescheibenteil 42. Diese beiden Teile sind um den Befestigungsflansch herum zusammenhängend. Die Klammern 44 besitzt am Unterlagsscheibenteil 41 ausgestanzte und nach unten gebogene, vorstehende Zacken 46, die in eine Wärmedämmschicht eingepresst werden können. In Figur 38 ist die Klammer 44 gestreckt dargestellt.
Figur 39 zeigt eine Unterlagsscheibe 41 und eine Auflagescheibe 42 für eine Profilblechbahn 11 mit zwei Reihen 34 von Langlöchern 33 im Befestigungsflansch 27. Die Unterlagssscheibe 41 weist zweimal nebeneinander im Abstand der Reihen von Langlöchern jeweils drei Löcher auf. Das mittlere Loch 82 ist bestimmt zur Aufnahme des bolzenförmigen Befestigungsmittels. Die beiden andern Löcher 83 sind in einem Abstand zueinander angeordnet, der dem Rasterabstand der Langlöcher 33 entspricht. Durch diese beiden Löcher 83 erstrecken sich Zacken 46 oder Krallen, die an der Auflagescheibe 42 angeordnet sind. Die Auflagescheibe 42 besitzt am einen Rand ein Loch 84, durch welches das Befestigungsmittel hindurchgesetzt werden kann. Am anderen Rand sind zwei Zacken 46 ausgestanzt und abgebogen, welche durch die Langlöcher 33 in der zweiten Reihe 34 und die dafür vorgesehenen Löcher 83 in der Unterlagsscheibe 41 hindurch in die Dämmschicht 81 einpressbar sind. Durch verdrehen der Auflagescheibe 42 um 180 Grad kann gewählt werden, ob das bolzenförmige Befestigungsmittel in der einen oder der anderen Reihe 34 von Langlöchern 33 im Befestigungsflansch 27 hindurchzusetzen ist.
In Figur 40 ist ein Schnitt durch einen Dachaufbau dargestellt. Mit 71 ist ein Stahlträger bezeichnet, auf dem ein Trapezblech 73 aufliegt. Das Trapezblech besitzt Hochsicken 75 und Tiefsicken 77. Über die Hochsicken ist eine Dampfsperrschicht 79 gespannt und aufgeklebt. Auf diese ist eine Mineralfaser-Wärmedämmschicht 81 aufgelegt. Auf diese Wärmedämmschicht 81 sind die Profilblechbahnen 11 quer zur Richtung der Sicken des Trapezbleches 73 verlegt. Dank der Reihe von Langlöchern in den Befestigungsflanschen der Profilblechbahnen ist bei jeder Profilblechbahn über jeder Hochsicke wenigsten ein Langloch angeordnet, durch das die Profilblechbahn 11 mit einem Befestigungsmittel 37 in der Hochsicke festgemacht werden kann. Zur Sicherstellung der Gleitfähigkeit der Profilblechbahnen gegenüber den Befestigungspunkten, ist an diesen jeweils eine Halteklammer 44 vorhanden, die einen Zwischenraum zwischen Auflagescheibe 42 und Unterlagsscheibe 41 gewährleistet. Diese Dachkonstruktion gewährleistet einen sehr einfachen Verlegeablauf, bei dem keine Halter gesetzt werden müssen, noch tragende Schienen auf die Wärmedämmschicht verlegt werden müssen. Die Dachhaut kann lediglich verlegt und direkt festgeschraubt werden. Dies ist dank engstem Rasterabstand zwischen den Langlöchern unabhängig vom verwendeten Trapezblech möglich. Als Befestigungsmittel sind Schrauben dargestellt, deren Gewinde einen wesentlich grösseren Aussendurchmesser aufweist als der Schaft. Der Schaft und der Gewindekern haben in etwa den selben Durchmesser. Dies ergibt einen relativ breiten Überlappungsbereich des durch das Blech geschraubten Schraubengewindes mit dem Blech.
In Figur 41 ist derselbe Schnitt dargestellt wie in Figur 40. Es sind lediglich andere Befestigungsschrauben 37 dargestellt. Diese weisen zwei Gewindeabschnitte 91 und 92 auf. Ein erster Gewindeabschnitt 91 ist im Anschluss an die Schraubenspitze ausgebildet, ein zweiter 92 mit Abstand zum ersten 91 und in einem Abstand zum Kopf der Schraube. Sowohl zwischen dem zweiten kopfnahen Gewindeabschnitt 92 und dem Kopf der Schraube wie auch auf der dem Kopf zugewandten Seite des ersten Gewindeabschnittes 91 ist ein Leerlauf im Schaftbereich ausgebildet, indem der Durchmesser des Schaftes etwa dem des Gewindekerns entspricht. Dadurch hintergreift das Gewinde mit dem letzten Gewindeumlauf den Rand des Loches im Blech, durch welches der Schaft hindurchreicht. Der Schaft ist im Loch frei drehbar und in Schaftrichtung verschieblich. Der erste Gewindeabschnitt 91 liegt bei eingeschraubter Schraube 37 unter dem Tragblech 75, der zweite Gewindeabschnitt 92 liegt unter der Unterlagsscheibe 41. Die Schraube 37 ist durch die Unterlagsscheibe 41 hindurchgeschraubt. In der Unterlagsscheibe 41 ist ein Gewinde geformt. Dieses wird am einfachsten während dem Einschrauben durch die Schraube 37 selber geformt. Der Rand der letzten Gewindeumdrehung des zweiten Gewindeabschnittes 92 steht nach Befestigung der Schraube von Unten an den Rand des Loches in der Unterlagsscheibe an. Beim Ausschrauben der Schraube muss sowohl das erste Gewinde 91 wie auch das zweite Gewinde 92 in die im Trapezblech 75 und in der Unterlagsscheibe 41 geformten Gewinde eingeführt werden. Dies geschieht nur mit kleiner Wahrscheinlichkeit durch wind- und temperaturbedingte Bewegungen der Schraube 37. Auch willentlich ist dies nur mit Mühe zu erreichen. Wird aber nur eines der Gewinde 91,92 eingeführt und dreht sich unter Einfluss des Zufalles aus der Unterlagsscheibe oder dem Trapezblech heraus, so entsteht eine Spannung zwischen Eindeckung 11 und Trapezblech 75, die dazu führt, dass die Schraube 37 die Tendenz hat, sich wieder einzuschrauben. Wenn sich allenfalls dennoch eine Schraube aus dem Trapezblech löst, bleibt sie von der Unterlagsscheibe 41 derart gehalten, dass sich die Schraube nicht durch die Eindeckung hindurcharbeiten kann.

Claims (13)

  1. Profilblechbahn (10,11,12,14) mit einer Bekleidungsfläche (19) zwischen einem ersten und einem zweiten längsgerichteten Rand (13, bzw. 15), einer zur Aussenseite (16) der Profilblechbahn (10,11,12,14) vorspringenden und auf der Innenseite konkaven Ausformung (17) beim ersten Rand (13), einer von der konkaven Ausformung (17) einer angrenzenden zweiten Profilblechbahn (10,11,12,14) umgreifbaren Kopfausbildung (25) und einem auf einen ebenen Unterbau auflegbaren Befestigungsflansch (27) beim zweiten Rand der Profilblechbahn (10,11,12,14), und im Befestigungsflansch (27) parallel zur Profilrichtung ausgerichtete Langlöcher (33),
    dadurch gekennzeichnet, dass die Langlöcher (33) in einem Rasterabstand von höchstens 210 mm in wenigstens einer parallel zur Profilrichtung angeordneten Reihe ausgebildet sind.
  2. Profilblechbahn nach Anspruch 1, dadurch gekennzeichnet, dass die Langlöcher (33) in einem Rasterabstand von höchstens 120 mm, vorzugsweise höchstens 110 mm, besonders bevorzugt höchstens 100 mm ausgebildet sind.
  3. Priflblechbahn nach einem der Anspüche 1 oder 2, dadurch gekennzeichnet, dass im Befestigungsflansch (27) zwei gegeneinander versetzte Reihen von Langlöchern (33) nebeneinander ausgebildet sind.
  4. Profilblechbahn nach einem der Ansprüche 1 bis 3, dadurch gekennzeichnet, dass der Befestigungsflansch (27) einstückig an der die Bekleidungsfläche (19) bildenden Blechbahn ausgebildet ist.
  5. Profilblechbahn nach einem der Ansprüche 1 bis 3, dadurch gekennzeichnet, dass die Bekleidungsfläche (19) aus einer ersten Blechbahn und der Befestigungsflansch (27) aus einer zweiten Blechbahn gebildet ist und die zweite Blechbahn mit der ersten Blechbahn verfalzt ist.
  6. Profilblechbahn nach einem der Ansprüche 1 bis 5, dadurch gekennzeichnet, dass zwischen der Kopfausbildung (25) und der Bekleidungsfläche (19), zwischen der Ausformung (17) und der Bekleidungsfläche (19) wie auch zwischen der Kopfausbildung (25) und dem Befestigungsflansch (27) jeweils ein Steg (29,30,31,32) ausgebildet ist.
  7. Profilblechbahn nach Anspruch 6, dadurch gekennzeichnet, dass angrenzend an den Steg in der Bekleidungsfläche eine Sicke () ausgegebildet ist und der Steg (31,32) zwischen Kopfausbildung (25) und Befestigungsflansch (27) breiter ist als der Steg (29) zwischen Ausformung (17) und Sicke ().
  8. Profilblechbahn nach Anspruch 6 oder 7, dadurch gekennzeichnet, dass der Befestigungsflansch (27) und die Bekleidungsfläche (19) praktisch in derselben Ebene liegen.
  9. Profilblechbahn nach Anspruch 6 oder 7, dadurch gekennzeichnet, dass die Bekleidungsfläche (19) in einer Ebene zwischen der Ebene des Befestigungsflansches (27) und der Kopfausbildung (25) liegt.
  10. Profilblechbahn nach einem der Ansprüche 1 bis 9, dadurch gekennzeichnet, dass im Bereich des Befestigungsflansches wenigstens zwei Lagen Blech vorhanden sind.
  11. Sandwichelement (53) mit einer metallenen Aussenhaut (55), einer wärmedämmenden Zwischenlage (57) und einer Innenhaut (59), dadurch gekennzeichnet, dass die Aussenhaut (55) eine Profilblechbahn (10,11,12,14) nach einem der Ansprüche 1 bis 10 ist.
  12. Dachaufbau mit einem Hochsicken (75) einer bestimmten Breite und Tiefsicken (77) aufweisenden, tragenden Trapezblech (73), über dem Trapezblech einer Dampfdiffusionssperrschicht (79) und darüber einer Wärmedämmschicht (81), und über der Wärmedämmschicht einer Profilblecheindeckung (11), welche mit bolzenförmigen Befestigungsmitteln (37) mit den Hochsicken (75) des Trapezbleches (73) verbunden ist, dadurch gekennzeichnet, dass das Profilblech (11) ein Profilblech gemäss einem der Ansprüche 1 bis 10 ist und der Rasterabstand der Langlöcher (33) höchstens der Breite der Hochsicken (75) entspricht.
  13. Dachaufbau nach Anspruch 12, dadurch gekennzeichnet, dass das Profilblech mit Schrauben am Trapezblech befestigt ist, welche einen ersten Gewindeabschnit aufweisen, der durch das Trapezblech hindurchgeschraubt ist, und einen zweiten Gewindeabschnitt, der durch eine Unterlagsscheibe unter dem Befestigugnsrand des Profilbleches hindurchgeschraubt ist, und dass sich sowohl die Unterlagsscheibe als auch das Trapezblech in einem Bereich hinter dem jeweiligen Gewindeabschnitt befinden, in welchem der Schaft der Schraube einen Durchmesser aufweist, der dem Durchmesser des Gewindekerns entspricht.
EP02405050A 2001-04-04 2002-01-28 Profilblechbahn Expired - Lifetime EP1249556B1 (de)

Applications Claiming Priority (2)

Application Number Priority Date Filing Date Title
CH6432001 2001-04-04
CH20010643 2001-04-04

Publications (3)

Publication Number Publication Date
EP1249556A2 true EP1249556A2 (de) 2002-10-16
EP1249556A3 EP1249556A3 (de) 2002-12-18
EP1249556B1 EP1249556B1 (de) 2005-03-09

Family

ID=4525581

Family Applications (1)

Application Number Title Priority Date Filing Date
EP02405050A Expired - Lifetime EP1249556B1 (de) 2001-04-04 2002-01-28 Profilblechbahn

Country Status (3)

Country Link
EP (1) EP1249556B1 (de)
AT (1) ATE290634T1 (de)
DE (1) DE50202408D1 (de)

Cited By (5)

* Cited by examiner, † Cited by third party
Publication number Priority date Publication date Assignee Title
EP2423405A1 (de) 2010-08-26 2012-02-29 HSW Monteco GmbH Stehfalzeindeckung
CN102581083A (zh) * 2012-02-01 2012-07-18 中国十九冶集团有限公司 不规则屋面瓦的制作方法
ITMI20130293A1 (it) * 2013-02-28 2014-08-29 Schatzer Alois S R L Graffa di ancoraggio di lamiere a travature di coperture, tetti e simili con accoppiamento relativo tra piano di base e piano di appoggio libero nella direzione longitudinale
CN108331267A (zh) * 2018-03-14 2018-07-27 森特士兴集团股份有限公司 一种金属屋面板抗风固定装置
CN116104256A (zh) * 2023-02-22 2023-05-12 精工工业建筑系统集团有限公司 一种用于无檩屋面系统的新型压型薄板

Citations (1)

* Cited by examiner, † Cited by third party
Publication number Priority date Publication date Assignee Title
US5535567A (en) 1994-10-05 1996-07-16 Razor Enterprises, Inc. Standing seam roofing panel

Family Cites Families (6)

* Cited by examiner, † Cited by third party
Publication number Priority date Publication date Assignee Title
DE2136584A1 (de) * 1971-07-22 1973-02-08 Hunter Douglas Paneel fuer wand- oder deckenverkleidung
US4435938A (en) * 1981-11-12 1984-03-13 National Gypsum Company Vinyl siding attachment
US5584153A (en) * 1994-03-29 1996-12-17 Loadmaster Systems, Inc. Composite roof system with an improved anchoring mechanism
US5768844A (en) * 1996-12-16 1998-06-23 Norandex Building siding panels and assemblies
DE29817127U1 (de) * 1998-09-24 1999-01-07 Fischer Profil GmbH, 57250 Netphen Dacheindeckungselement
GB2345705B (en) * 1999-01-13 2003-06-18 Talfab Holdings Ltd Improvements in or relating to panels

Patent Citations (1)

* Cited by examiner, † Cited by third party
Publication number Priority date Publication date Assignee Title
US5535567A (en) 1994-10-05 1996-07-16 Razor Enterprises, Inc. Standing seam roofing panel

Cited By (8)

* Cited by examiner, † Cited by third party
Publication number Priority date Publication date Assignee Title
EP2423405A1 (de) 2010-08-26 2012-02-29 HSW Monteco GmbH Stehfalzeindeckung
CH703646A1 (de) * 2010-08-26 2012-02-29 Hsw Monteco Gmbh Stehfalzeindeckung.
CN102581083A (zh) * 2012-02-01 2012-07-18 中国十九冶集团有限公司 不规则屋面瓦的制作方法
ITMI20130293A1 (it) * 2013-02-28 2014-08-29 Schatzer Alois S R L Graffa di ancoraggio di lamiere a travature di coperture, tetti e simili con accoppiamento relativo tra piano di base e piano di appoggio libero nella direzione longitudinale
EP2772595A1 (de) * 2013-02-28 2014-09-03 Schatzer Alois S.r.l. Klemme zur Befestigung von metallischen Platten an Balken eines Dachsystems, eines Dachs oder ähnlichem mit einer Fuge zur in der longitudinaler Richtung frei verschiebbaren Verbindung einer Basisfläche mit einer Lagerfläche
CN108331267A (zh) * 2018-03-14 2018-07-27 森特士兴集团股份有限公司 一种金属屋面板抗风固定装置
CN108331267B (zh) * 2018-03-14 2023-12-15 森特士兴集团股份有限公司 一种金属屋面板抗风固定装置
CN116104256A (zh) * 2023-02-22 2023-05-12 精工工业建筑系统集团有限公司 一种用于无檩屋面系统的新型压型薄板

Also Published As

Publication number Publication date
EP1249556A3 (de) 2002-12-18
EP1249556B1 (de) 2005-03-09
ATE290634T1 (de) 2005-03-15
DE50202408D1 (de) 2005-04-14

Similar Documents

Publication Publication Date Title
DE4242530C2 (de) Bauelement für Wände, Decken oder Dächer von Bauwerken
DE2608788C2 (de) Gebäudewand, die sich bei extremen Druckverhältnissen einwärts oder auswärts aus ihrem Tragrahmen löst
DE69303627T2 (de) Wasserdichte Dachabdeckvorrichtung
DE10044286A1 (de) Dach- und Deckensystem
DE2700468C2 (de) Wärmedämmende Innenverkleidung für von Sparren getragene Dächer
EP1426520B1 (de) Kombination einer Platte oder eines Paneels und zumindest einer Befestigungsanordnung sowie Verfahren zur Befestigung einer Platte oder eines Paneels
EP1249556B1 (de) Profilblechbahn
EP0849420A1 (de) Wärmegedämmte Gebäudehülle
EP0918127B1 (de) Türfutter und Montagevorrichtung
EP1088944A2 (de) Fugendichtung
DE69000122T2 (de) Dichtungsschuerze zur eindeckung von uebergaengen zwischen flachen und profilierten dachteilen.
DE2148872A1 (de) Einrichtung zum befestigen von verkleidungen oder bespannungen auf beliebigen oberflaechen, wie z. b. einer wand, decke o. dgl
DE4304386C2 (de) Halterung für ein Dachfenster
DE68914009T2 (de) Befestigungsvorrichtung für Dachziegel.
DE7720341U1 (de) Als baukonstruktionselement verwendbare platte
DE69924976T2 (de) Verbesserung an dachein- oder dachabdeckung
WO1990007037A1 (de) Verbundelement für bauzwecke
DE3941216A1 (de) Firstziegelhalterung
DE10161637C1 (de) Dachdämmplatte
DE3641613A1 (de) Befestigungselement
DE2325281A1 (de) Metalltraegerelement fuer bauwerksdecken und aus diesem metalltraegerelement und einer betonschicht gebildeten bauwerksdecke
AT407174B (de) Randstreifen an dachtraufen
DE3203199A1 (de) Aufbau eines flachdachrandes
DE8632630U1 (de) Befestigungselement
EP1999318B1 (de) Halteschiene für dachbahnen

Legal Events

Date Code Title Description
PUAI Public reference made under article 153(3) epc to a published international application that has entered the european phase

Free format text: ORIGINAL CODE: 0009012

AK Designated contracting states

Kind code of ref document: A2

Designated state(s): AT BE CH CY DE DK ES FI FR GB GR IE IT LI LU MC NL PT SE TR

AX Request for extension of the european patent

Free format text: AL;LT;LV;MK;RO;SI

PUAL Search report despatched

Free format text: ORIGINAL CODE: 0009013

AK Designated contracting states

Kind code of ref document: A3

Designated state(s): AT BE CH CY DE DK ES FI FR GB GR IE IT LI LU MC NL PT SE TR

AX Request for extension of the european patent

Free format text: AL;LT;LV;MK;RO;SI

17P Request for examination filed

Effective date: 20030522

17Q First examination report despatched

Effective date: 20030724

AKX Designation fees paid

Designated state(s): AT BE CH CY DE DK ES FI FR GB GR IE IT LI LU MC NL PT SE TR

GRAP Despatch of communication of intention to grant a patent

Free format text: ORIGINAL CODE: EPIDOSNIGR1

GRAS Grant fee paid

Free format text: ORIGINAL CODE: EPIDOSNIGR3

GRAA (expected) grant

Free format text: ORIGINAL CODE: 0009210

AK Designated contracting states

Kind code of ref document: B1

Designated state(s): AT BE CH CY DE DK ES FI FR GB GR IE IT LI LU MC NL PT SE TR

PG25 Lapsed in a contracting state [announced via postgrant information from national office to epo]

Ref country code: IT

Free format text: LAPSE BECAUSE OF FAILURE TO SUBMIT A TRANSLATION OF THE DESCRIPTION OR TO PAY THE FEE WITHIN THE PRESCRIBED TIME-LIMIT;WARNING: LAPSES OF ITALIAN PATENTS WITH EFFECTIVE DATE BEFORE 2007 MAY HAVE OCCURRED AT ANY TIME BEFORE 2007. THE CORRECT EFFECTIVE DATE MAY BE DIFFERENT FROM THE ONE RECORDED.

Effective date: 20050309

Ref country code: IE

Free format text: LAPSE BECAUSE OF FAILURE TO SUBMIT A TRANSLATION OF THE DESCRIPTION OR TO PAY THE FEE WITHIN THE PRESCRIBED TIME-LIMIT

Effective date: 20050309

Ref country code: FI

Free format text: LAPSE BECAUSE OF FAILURE TO SUBMIT A TRANSLATION OF THE DESCRIPTION OR TO PAY THE FEE WITHIN THE PRESCRIBED TIME-LIMIT

Effective date: 20050309

REG Reference to a national code

Ref country code: GB

Ref legal event code: FG4D

Free format text: NOT ENGLISH

REG Reference to a national code

Ref country code: CH

Ref legal event code: EP

REG Reference to a national code

Ref country code: IE

Ref legal event code: FG4D

Free format text: GERMAN

REF Corresponds to:

Ref document number: 50202408

Country of ref document: DE

Date of ref document: 20050414

Kind code of ref document: P

REG Reference to a national code

Ref country code: CH

Ref legal event code: NV

Representative=s name: RIEDERER HASLER & PARTNER PATENTANWAELTE AG

GBT Gb: translation of ep patent filed (gb section 77(6)(a)/1977)

Effective date: 20050421

PG25 Lapsed in a contracting state [announced via postgrant information from national office to epo]

Ref country code: GR

Free format text: LAPSE BECAUSE OF FAILURE TO SUBMIT A TRANSLATION OF THE DESCRIPTION OR TO PAY THE FEE WITHIN THE PRESCRIBED TIME-LIMIT

Effective date: 20050609

Ref country code: DK

Free format text: LAPSE BECAUSE OF FAILURE TO SUBMIT A TRANSLATION OF THE DESCRIPTION OR TO PAY THE FEE WITHIN THE PRESCRIBED TIME-LIMIT

Effective date: 20050609

PG25 Lapsed in a contracting state [announced via postgrant information from national office to epo]

Ref country code: ES

Free format text: LAPSE BECAUSE OF FAILURE TO SUBMIT A TRANSLATION OF THE DESCRIPTION OR TO PAY THE FEE WITHIN THE PRESCRIBED TIME-LIMIT

Effective date: 20050620

PG25 Lapsed in a contracting state [announced via postgrant information from national office to epo]

Ref country code: PT

Free format text: LAPSE BECAUSE OF FAILURE TO SUBMIT A TRANSLATION OF THE DESCRIPTION OR TO PAY THE FEE WITHIN THE PRESCRIBED TIME-LIMIT

Effective date: 20050907

REG Reference to a national code

Ref country code: IE

Ref legal event code: FD4D

PLBE No opposition filed within time limit

Free format text: ORIGINAL CODE: 0009261

STAA Information on the status of an ep patent application or granted ep patent

Free format text: STATUS: NO OPPOSITION FILED WITHIN TIME LIMIT

ET Fr: translation filed
PG25 Lapsed in a contracting state [announced via postgrant information from national office to epo]

Ref country code: MC

Free format text: LAPSE BECAUSE OF NON-PAYMENT OF DUE FEES

Effective date: 20060131

Ref country code: LU

Free format text: LAPSE BECAUSE OF NON-PAYMENT OF DUE FEES

Effective date: 20060131

26N No opposition filed

Effective date: 20051212

PG25 Lapsed in a contracting state [announced via postgrant information from national office to epo]

Ref country code: SE

Free format text: LAPSE BECAUSE OF FAILURE TO SUBMIT A TRANSLATION OF THE DESCRIPTION OR TO PAY THE FEE WITHIN THE PRESCRIBED TIME-LIMIT

Effective date: 20050609

PG25 Lapsed in a contracting state [announced via postgrant information from national office to epo]

Ref country code: TR

Free format text: LAPSE BECAUSE OF FAILURE TO SUBMIT A TRANSLATION OF THE DESCRIPTION OR TO PAY THE FEE WITHIN THE PRESCRIBED TIME-LIMIT

Effective date: 20050309

PG25 Lapsed in a contracting state [announced via postgrant information from national office to epo]

Ref country code: CY

Free format text: LAPSE BECAUSE OF FAILURE TO SUBMIT A TRANSLATION OF THE DESCRIPTION OR TO PAY THE FEE WITHIN THE PRESCRIBED TIME-LIMIT

Effective date: 20050309

PGFP Annual fee paid to national office [announced via postgrant information from national office to epo]

Ref country code: AT

Payment date: 20090115

Year of fee payment: 8

PGFP Annual fee paid to national office [announced via postgrant information from national office to epo]

Ref country code: DE

Payment date: 20090122

Year of fee payment: 8

Ref country code: NL

Payment date: 20090114

Year of fee payment: 8

PGFP Annual fee paid to national office [announced via postgrant information from national office to epo]

Ref country code: CH

Payment date: 20090107

Year of fee payment: 8

Ref country code: GB

Payment date: 20090122

Year of fee payment: 8

PGFP Annual fee paid to national office [announced via postgrant information from national office to epo]

Ref country code: BE

Payment date: 20090219

Year of fee payment: 8

PGFP Annual fee paid to national office [announced via postgrant information from national office to epo]

Ref country code: FR

Payment date: 20090115

Year of fee payment: 8

BERE Be: lapsed

Owner name: *SCHNEIDER WALTER SENIOR

Effective date: 20100131

REG Reference to a national code

Ref country code: NL

Ref legal event code: V1

Effective date: 20100801

REG Reference to a national code

Ref country code: CH

Ref legal event code: PL

GBPC Gb: european patent ceased through non-payment of renewal fee

Effective date: 20100128

REG Reference to a national code

Ref country code: FR

Ref legal event code: ST

Effective date: 20100930

PG25 Lapsed in a contracting state [announced via postgrant information from national office to epo]

Ref country code: LI

Free format text: LAPSE BECAUSE OF NON-PAYMENT OF DUE FEES

Effective date: 20100131

Ref country code: FR

Free format text: LAPSE BECAUSE OF NON-PAYMENT OF DUE FEES

Effective date: 20100201

Ref country code: NL

Free format text: LAPSE BECAUSE OF NON-PAYMENT OF DUE FEES

Effective date: 20100801

Ref country code: CH

Free format text: LAPSE BECAUSE OF NON-PAYMENT OF DUE FEES

Effective date: 20100131

PG25 Lapsed in a contracting state [announced via postgrant information from national office to epo]

Ref country code: AT

Free format text: LAPSE BECAUSE OF NON-PAYMENT OF DUE FEES

Effective date: 20100128

Ref country code: DE

Free format text: LAPSE BECAUSE OF NON-PAYMENT OF DUE FEES

Effective date: 20100803

PG25 Lapsed in a contracting state [announced via postgrant information from national office to epo]

Ref country code: GB

Free format text: LAPSE BECAUSE OF NON-PAYMENT OF DUE FEES

Effective date: 20100128

PG25 Lapsed in a contracting state [announced via postgrant information from national office to epo]

Ref country code: BE

Free format text: LAPSE BECAUSE OF NON-PAYMENT OF DUE FEES

Effective date: 20100131