EP1234902A2 - Method and device on a spinning machine for drafting a fibrecollection, f.ex. cotton, or chemical fibres - Google Patents
Method and device on a spinning machine for drafting a fibrecollection, f.ex. cotton, or chemical fibres Download PDFInfo
- Publication number
- EP1234902A2 EP1234902A2 EP01126350A EP01126350A EP1234902A2 EP 1234902 A2 EP1234902 A2 EP 1234902A2 EP 01126350 A EP01126350 A EP 01126350A EP 01126350 A EP01126350 A EP 01126350A EP 1234902 A2 EP1234902 A2 EP 1234902A2
- Authority
- EP
- European Patent Office
- Prior art keywords
- fiber
- pressure
- drafting
- sliver
- spinning machine
- Prior art date
- Legal status (The legal status is an assumption and is not a legal conclusion. Google has not performed a legal analysis and makes no representation as to the accuracy of the status listed.)
- Granted
Links
Images
Classifications
-
- D—TEXTILES; PAPER
- D01—NATURAL OR MAN-MADE THREADS OR FIBRES; SPINNING
- D01H—SPINNING OR TWISTING
- D01H5/00—Drafting machines or arrangements ; Threading of roving into drafting machine
- D01H5/18—Drafting machines or arrangements without fallers or like pinned bars
- D01H5/20—Drafting machines or arrangements without fallers or like pinned bars in which fibres are controlled by contact with stationary or reciprocating surfaces
-
- D—TEXTILES; PAPER
- D01—NATURAL OR MAN-MADE THREADS OR FIBRES; SPINNING
- D01H—SPINNING OR TWISTING
- D01H13/00—Other common constructional features, details or accessories
- D01H13/04—Guides for slivers, rovings, or yarns; Smoothing dies
Definitions
- the invention relates to a method for drawing on a spinning machine a textile fiber dressing, e.g. B. from cotton, man-made fibers and. Like., in the at least one sliver clamped between pairs of rollers by deduction increased speed is stretched, with a pressure rod at least deflects a sliver between the two clamping points of the main drafting zone and comprises an apparatus for performing the method.
- a textile fiber dressing e.g. B. from cotton, man-made fibers and.
- the invention relates in particular to an optimized design of a pressure rod for better guidance of textile fibers in draw frames, which are used for the warping of several slivers are designed and have a decisive influence on the Have uniformity of the drawn slivers.
- the warping on fiber tapes is achieved by the tapes usually through three Roller pairs are guided, their peripheral speed in the direction of passage increases.
- the doubling is intended to vary the fineness on short and large Compensate lengths.
- Critical to the warping are those fibers the length of which is shorter than the clamping line distance of two successive ones Roller pairs. You will not be affected by either the front or the front for a short time rear rollers are jammed and can thus cause an uncontrolled movement To run.
- These so-called floating fibers are responsible for the formation of Distortion waves responsible, which negatively affect the uniformity of the tapes influence.
- the number of floating fibers is different from that Fiber length distribution of the material and the set clamping line distances dependent. The larger these distances are selected, the higher the proportion of floating and uncontrolled fibers. For this reason, they are modern Drafting systems with an additional fixed compression rod in the main drafting zone fitted. As a result, the floating fibers are better guided and it becomes thus achieving a significantly better band uniformity.
- the compression rod geometry will reduce deposits on the Pressure rod achieved by using a pressure rod with a different cross-section which is fixedly arranged across the width of the stretching field.
- the pressure rod has a rectangular cross-section, with its narrow end faces are rounded. The rounding of the end faces forms a semicircular shape Rounding.
- a fiber guiding device consists of a Push rod, which has a bent skid pointing towards the pair of output rollers, the mouth of a suction channel being arranged at the end of the runner.
- the invention is based on the object, a method and a To create device of the type described, which has the disadvantages mentioned avoid.
- the object of the invention is, in particular, the execution of to optimize the known pressure rod so that better guidance of the fibers, especially at very high production speeds (greater than 600 m / min), is ensured.
- At least two compression bars are attached in the main draft zone, which are fixed across the width of the stretching field.
- the pressure bars can be positioned one behind the other or one above the other or offset one above the other become. This will result in a significantly better guidance of the fibers in the Main default area achieved.
- a reduction in fiber fly from unguided or floating fibers that detach from the nonwoven become. This means that fewer good fibers get into the outlet.
- the pressure rod expediently has one in comparison to the previous embodiment new geometry in such a way that the fiber guide organ the fibers in the warping area deflected and in contact with the fibers over a surface.
- the size of the Depending on the fiber material (material type, Fiber length distribution, proportion of floating fibers etc.) can be designed. This variant is particularly suitable for slivers with a high proportion floating fibers and with further adjustment of the clamping point distances in the Suitable for arrears.
- the sheet-like fiber guide element is fixed appropriate.
- the contact surface of this organ can be both horizontal and Warpage direction are inclined.
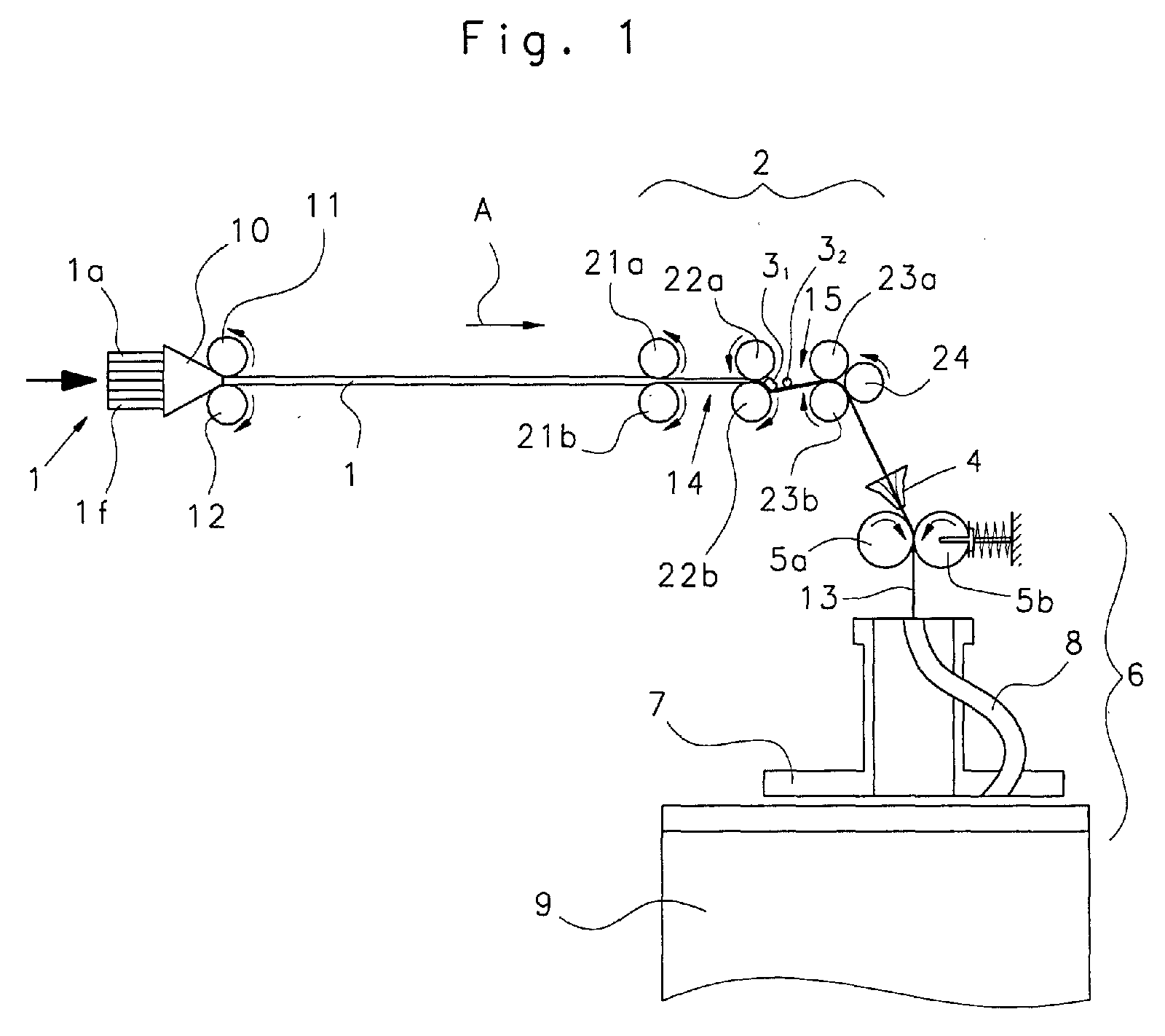
- Fig. 1 shows the basic functioning of a route, for. B. Trützschler line HS.
- Several fiber slivers 1 are placed next to one another and pass through a drafting device 2, as a rule consisting of three pairs of rollers 21c, 21b; 22a, 22b; 23a, 23b; 24 existing, between which the actual delay takes place. These are the input roller pair 21a, 21b, the middle roller pair 22a, 22b and the delivery roller pair 23a, 23b; 24. Due to the different peripheral speeds of the pairs of rollers, the slivers 1 are warped in accordance with their ratio.
- the drafting system 2 basically consists of a pre-draft zone 14 and a main draft zone 15.
- two compression rods 3 1 , 3 2 are attached in the main draft zone 15, which touch and deflect the nonwoven fabric 1. This results in better guidance of the shorter (floating) fibers, which leads to the leveling of the stretch belts.
- the pressure bars 3 1 , 3 2 are stationary during operation and positioned over the entire width of the main drafting zone 15.
- the warped fiber fleece is gripped with the aid of a fleece funnel 4 to form a conveyor belt 13, drawn off by take-off rollers 5a, 5b and placed in a can 9 via belt guide members 6.
- the pressure rods 3 1 , 3 2 are - seen in the working direction A - positioned one behind the other.
- the tape guide members 6 include one rotating turntable 7 with a belt channel 8.
- two pressure bars 3 1 , 3 2 are arranged above the fiber slivers 1 and one pressure bar 3 3 is arranged below the fiber slivers 1.
- the slivers are deflected downwards by the pressure rods 3 1 , 3 2 and run between the pressure rods 3 1 , 3 2 on the one hand and the pressure rod 3 3 on the other.
- the pressure rods 3 1 and 3 2 have an elongated shape, while the pressure rod 3 2 has a substantially circular cross section.
- two pressure bars 3 4 are present, which are fused (integrated) into one component and form a fiber guide element.
- the pressure bars 3 4 are attached to each other at an angle ⁇ .
- the contact surface of the fiber slivers 1 and the pressure rods 3 4 is arranged inclined to the working direction A.
- the pressure bars 3 4 are arranged above the slivers 1.
- the pressure rod 3 4 is above and the pressure rod 3 3 is arranged below the slivers 1.
- the pressure bars 3 1 to 3 4 have roundings and a smooth surface.
- the invention was based on the example of pressure rods for the drafting system of a line shown. However, all drafting systems on spinning machines are included Pressure rods are used, e.g. B. ring spinning machines, combers and. etc. ..
Landscapes
- Engineering & Computer Science (AREA)
- Mechanical Engineering (AREA)
- Textile Engineering (AREA)
- Spinning Or Twisting Of Yarns (AREA)
Abstract
Die Erfindung betrifft eine optimierte Ausführung eines Druckstabes, wie er im Hauptverzugsfeld von Streckwerken zur Verstreckung von textilen Faserbändern angewandt wird. Es ist Aufgabe der Erfindung, den bestehenden Druckstab zu optimieren, um eine bessere Führung der Fasern im Hauptverzugsfeld des Streckwerkes sicherzustellen. Dies wird erreicht, indem die Geometrie und Anordnung des Druckstabes modifiziert werden. Daraus resultiert eine deutliche Verbesserung der Bandgleichmäßigkeit. The invention relates to an optimized design of a compression rod as is used in the main drafting area of drafting systems for drawing textile fiber tapes. It is an object of the invention to optimize the existing compression rod in order to ensure better guidance of the fibers in the main draft zone of the drafting system. This is achieved by modifying the geometry and arrangement of the pressure rod. This results in a significant improvement in tape uniformity.
Description
Die Erfindung betrifft ein Verfahren zum Verziehen an einer Spinnereimaschine eines textilen Faserverbandes, z. B. aus Baumwolle, Chemiefasern u. dgl., bei dem mindestens ein Faserband zwischen Walzenpaare geklemmt durch Abzug mit gesteigerter Geschwindigkeit verstreckt wird, wobei ein Druckstab das mindestens eine Faserband zwischen den beiden Klemmpunkten des Hauptverzugsfeldes auslenkt und umfasst eine Vorrichtung zur Durchführung des Verfahrens.The invention relates to a method for drawing on a spinning machine a textile fiber dressing, e.g. B. from cotton, man-made fibers and. Like., in the at least one sliver clamped between pairs of rollers by deduction increased speed is stretched, with a pressure rod at least deflects a sliver between the two clamping points of the main drafting zone and comprises an apparatus for performing the method.
Die Erfindung betrifft insbesondere eine optimierte Ausführung eines Druckstabes zur besseren Führung von textilen Fasern in Streckenwerken, die für den Verzug von mehreren Faserbändern konzipiert sind und einen entscheidenden Einfluss auf die Gleichmäßigkeit der verstreckten Faserbänder haben.The invention relates in particular to an optimized design of a pressure rod for better guidance of textile fibers in draw frames, which are used for the warping of several slivers are designed and have a decisive influence on the Have uniformity of the drawn slivers.
Der Verzug an Faserbändern wird erreicht, indem die Bänder durch in der Regel drei Walzenpaare geführt werden, deren Umfangsgeschwindigkeit in Durchlaufrichtung zunimmt. Die Doublierung soll die Feinheitsschwankungen auf kurzen und großen Längen ausgleichen. Kritisch bei den Verzugsvorgängen sind diejenigen Fasern, deren Länge kürzer ist als der Klemmlinienabstand von zwei aufeinanderfolgenden Walzenpaaren. Sie werden für eine kurze Zeit weder von den vorderen noch von den hinteren Walzen geklemmt und können somit eine unkontrollierte Bewegung ausführen. Diese sogenannten schwimmenden Fasern sind für die Entstehung von Verzugswellen verantwortlich, die die Gleichmäßigkeit der Bänder negativ beeinflussen. Die Anzahl der schwimmenden Fasern ist von der Faserlängenverteilung des Materials und von den eingestellten Klemmlinienabständen abhängig. Je größer diese Abstände gewählt werden, desto höher ist der Anteil der schwimmenden und unkontrollierten Fasern. Aus diesem Grund sind moderne Streckwerke mit einem zusätzlichen feststehenden Druckstab im Hauptverzugsfeld ausgestattet. Dadurch werden die schwimmenden Fasern besser geführt und es wird somit eine deutlich bessere Bandgleichmäßigkeit erzielt.The warping on fiber tapes is achieved by the tapes usually through three Roller pairs are guided, their peripheral speed in the direction of passage increases. The doubling is intended to vary the fineness on short and large Compensate lengths. Critical to the warping are those fibers the length of which is shorter than the clamping line distance of two successive ones Roller pairs. You will not be affected by either the front or the front for a short time rear rollers are jammed and can thus cause an uncontrolled movement To run. These so-called floating fibers are responsible for the formation of Distortion waves responsible, which negatively affect the uniformity of the tapes influence. The number of floating fibers is different from that Fiber length distribution of the material and the set clamping line distances dependent. The larger these distances are selected, the higher the proportion of floating and uncontrolled fibers. For this reason, they are modern Drafting systems with an additional fixed compression rod in the main drafting zone fitted. As a result, the floating fibers are better guided and it becomes thus achieving a significantly better band uniformity.
Bei einer aus der DE 42 42 722 A1 bekannten Vorrichtung mit einer Optimierung der Druckstabgeometrie wird eine Reduzierung von Ablagerungen auf dem Druckstab dadurch erreicht, dass ein im Querschnitt veränderter Druckstab eingesetzt wird, der feststehend über die Breite des Streckfeldes angeordnet ist. Der Druckstab besitzt einen rechteckförmigen Querschnitt, wobei dessen schmale Stirnseiten abgerundet sind. Die Abrundung der Stirnseiten bildet jeweils eine halbkreisförmige Abrundung.In a device known from DE 42 42 722 A1 with an optimization the compression rod geometry will reduce deposits on the Pressure rod achieved by using a pressure rod with a different cross-section which is fixedly arranged across the width of the stretching field. The pressure rod has a rectangular cross-section, with its narrow end faces are rounded. The rounding of the end faces forms a semicircular shape Rounding.
Nach der DE 30 16 409 A1 besteht eine Faserführungsvorrichtung aus einer Druckstange, die eine zum Ausgangs-Walzenpaar weisende abgebogene Kufe besitzt, wobei am Ende der Kufe die Mündung eines Saugkanals angeordnet ist.According to DE 30 16 409 A1, a fiber guiding device consists of a Push rod, which has a bent skid pointing towards the pair of output rollers, the mouth of a suction channel being arranged at the end of the runner.
Aus Melliand Textilberichte 79 (1998), 403 - 404, 406 - 407 ist es bekannt, dass das Faserbewegungsverhalten in den Verzugsfeldern von der Liefergeschwindigkeit stark abhängig ist. Bei langsamen Geschwindigkeiten erfolgt in der Regel eine gleichmäßige Faserbewegung. Bei höheren Geschwindigkeiten findet bereits in der Mitte des Verzugsfeldes eine sprunghafte Beschleunigung statt, die mit einer deutlichen Verschlechterung der Bandgleichmäßigkeit verbunden ist. Dabei war zu beobachten, dass die Geschwindigkeitsverhältnisse der Fasern sowohl über die Breite als auch über die Zeit weniger konstant sind. Zusätzlich kommt es bei einem Teil der Fasern verstärkt zu einem Wechsel von Beschleunigungs- und Abbremsvorgängen, d. h. die Faserbeschleunigung findet nicht kontinuierlich statt. Diese Effekte sind auf eine Zunahme der Haftgleitwechsel und Banddickenschwankungen und somit auf die unkontrollierte Führung der Fasern im Hauptverzugsfeld zurückzuführen. Diese Schwankungen der Faserbewegungen sind Ursache für die Verungleichmäßigung der Faserbänder.From Melliand Textile Reports 79 (1998), 403 - 404, 406 - 407 it is known that the Fiber movement behavior in the areas of delay strongly from the delivery speed is dependent. At slow speeds, there is usually one uniform fiber movement. At higher speeds already takes place in the A sudden acceleration takes place in the middle of the delay field, which with a significant deterioration in band uniformity is associated. It was too observe the speed ratios of the fibers both across the width are less constant over time. In addition, it occurs in part of the Fibers reinforce a change of acceleration and deceleration processes, i. H. fiber acceleration does not take place continuously. These effects are on an increase in adhesive slip changes and strip thickness fluctuations and thus on the uncontrolled routing of the fibers in the main warpage. This Fluctuations in fiber movements are the cause of the uneveness of the Slivers.
Der Erfindung liegt demgegenüber die Aufgabe zugrunde, ein Verfahren und eine Vorrichtung der eingangs beschriebenen Art zu schaffen, die die genannten Nachteile vermeiden. Aufgabe der Erfindung ist es insbesondere, die Ausführung des bekannten Druckstabes zu optimieren, damit eine bessere Führung der Fasern, insbesondere bei sehr hohen Produktionsgeschwindigkeiten (größer als 600 m/min), sichergestellt ist. The invention is based on the object, a method and a To create device of the type described, which has the disadvantages mentioned avoid. The object of the invention is, in particular, the execution of to optimize the known pressure rod so that better guidance of the fibers, especially at very high production speeds (greater than 600 m / min), is ensured.
Die Lösung dieser Aufgabe erfolgt durch die kennzeichnenden Merkmale des
Anspruchs 1 bzw. des Anspruchs 3.This problem is solved by the characteristic features of
Erfindungsgemäß sind mindestens zwei Druckstäbe im Hauptverzugsfeld angebracht, die feststehend über die Breite des Streckfeldes angeordnet sind. Die Druckstäbe können hintereinander oder übereinander bzw. versetzt übereinander positioniert werden. Dadurch wird eine deutlich bessere Führung der Fasern im Hauptverzugsfeld erzielt. Zudem kann eine Reduzierung von Faserflug von ungeführten bzw. schwimmenden Fasern, die sich vom Faservlies lösen, erzielt werden. Damit gelangen weniger Gutfasern in den Abgang.According to the invention, at least two compression bars are attached in the main draft zone, which are fixed across the width of the stretching field. The pressure bars can be positioned one behind the other or one above the other or offset one above the other become. This will result in a significantly better guidance of the fibers in the Main default area achieved. In addition, a reduction in fiber fly from unguided or floating fibers that detach from the nonwoven become. This means that fewer good fibers get into the outlet.
Zweckmäßig weist der Druckstab im Vergleich zu der bisherigen Ausführung eine neue Geometrie derart auf, dass das Faserführungsorgan die Fasern im Verzugsfeld umlenkt und über eine Fläche in Kontakt mit den Fasern steht. Die Größe der Kontaktfläche kann in Abhängigkeit vom Fasermaterial (Materialtyp, Faserlängenverteilung, Anteil der schwimmenden Fasern etc.) gestaltet werden. Diese Variante ist in besonderem Maße für Faserbänder mit einem hohen Anteil an schwimmenden Fasern und bei weiter Einstellung der Klemmpunktabstände in den Verzugsfeldern geeignet. Das flächenförmige Faserführungsorgan ist feststehend angebracht. Die Kontaktfläche dieses Organs kann sowohl waagerecht als auch zur Verzugsrichtung geneigt sind. Vorzugsweise werden zwei flächenförmige Faserführungsorgane eingesetzt, zwischen denen das Fasermaterial zu führen ist.The pressure rod expediently has one in comparison to the previous embodiment new geometry in such a way that the fiber guide organ the fibers in the warping area deflected and in contact with the fibers over a surface. The size of the Depending on the fiber material (material type, Fiber length distribution, proportion of floating fibers etc.) can be designed. This variant is particularly suitable for slivers with a high proportion floating fibers and with further adjustment of the clamping point distances in the Suitable for arrears. The sheet-like fiber guide element is fixed appropriate. The contact surface of this organ can be both horizontal and Warpage direction are inclined. Preferably two are flat Fiber guiding elements used, between which the fiber material is to be guided.
Die Erfindung wird nachstehend anhand von zeichnerisch dargestellten Ausführungsbeispielen näher erläutert.
- Fig. 1
- schematisch in Seitenansicht das Streckwerk einer Strecke mit der erfindungsgemäßen Vorrichtung mit zwei Druckstäben,
- Fig. 2
- das Streckwerk nach Fig. 1 mit drei Druckstäben,
- Fig. 3
- das Streckwerk nach Fig. 1 mit zwei zusammenhängenden flächenförmigen Druckstäben und
- Fig. 4
- das Streckwerk nach Fig. 1 mit zwei flächenförmigen Druckstäben.
- Fig. 1
- schematically in side view the drafting system of a line with the device according to the invention with two pressure bars,
- Fig. 2
- 1 with three pressure rods,
- Fig. 3
- the drafting system according to FIG. 1 with two connected flat pressure bars and
- Fig. 4
- 1 with two sheet-like pressure bars.
Fig. 1 zeigt die grundsätzliche Funktionsweise einer Strecke, z. B. Trützschler
Strecke HS. Mehrere Faserbänder 1 werden nebeneinander vorgelegt und
durchlaufen ein Streckwerk 2, in der Regel aus drei Walzenpaaren 21c, 21b; 22a,
22b; 23a, 23b; 24 bestehend, zwischen denen der eigentliche Verzug stattfindet.
Diese sind das Eingangswalzenpaar 21a, 21b, das mittlere Walzenpaar 22a, 22b und
das Lieferwalzenpaar 23a, 23b; 24. Durch die unterschiedlichen
Umfangsgeschwindigkeiten der Walzenpaare werden die Faserbänder 1 entsprechend
deren Verhältnis verzogen. Das Streckwerk 2 besteht grundsätzlich aus einer
Vorverzugs- 14 und einer Hauptverzugszone 15. Zusätzlich sind im
Hauptverzugsfeld 15 zwei Druckstäbe 31, 32 angebracht, die das Faservlies 1
berühren und umlenken. Dadurch wird eine bessere Führung der kürzeren
(schwimmenden) Fasern erzielt, was zur Vergleichmäßigung der Streckenbänder
führt. Die Druckstäbe 31, 32 sind während des Betriebes feststehend und über die
gesamte Breite des Hauptverzugsfeldes 15 positioniert. Das verzogene Faservlies
wird mit Hilfe eines Vliestrichters 4 zu einem Streckenband 13 gefasst, durch
Abzugswalzen 5a, 5b abgezogen und über Bandführungsorgane 6 in einer Kanne 9
abgelegt. Die Druckstäbe 31, 32 sind - in Arbeitsrichtung A gesehen - hintereinander
positioniert.Fig. 1 shows the basic functioning of a route, for. B. Trützschler line HS.
Mit 10 ist eine Bandführung 10 für die einlaufenden Faserbänder 1, mit 11, 12 sind
Abzugswalzen, mit A ist die Arbeitsrichtung, mit 14 ist das Vorverzugsfeld und mit
15 ist das Hauptverzugsfeld bezeichnet. Die Bandführungsorgane 6 umfassen einen
rotierenden Drehteller 7 mit einem Bandkanal 8.With 10 is a
Nach Fig. 2 sind zwei Druckstäbe 31, 32 oberhalb der Faserbänder 1 und ist ein
Druckstab 33 unterhalb der Faserbänder 1 angeordnet. Die Faserbänder werden
durch die Druckstäbe 31, 32 nach unten ausgelenkt und laufen zwischen den
Druckstäben 31, 32 einerseits und dem Druckstab 33 andererseits hindurch. Die
Druckstäbe 31 und 32 haben eine längliche Form, während der Druckstab 32 einen im
wesentlichen kreisförmigen Querschnitt aufweist.According to FIG. 2, two
Gemäß Fig. 3 sind zwei Druckstäbe 34 vorhanden, die zu einem Bauteil
verschmolzen (integriert) sind und ein Faserführungsorgan bilden. Die Druckstäbe 34
sind unter einem Winkel α zueinander angebracht. Dadurch ist die Kontaktfläche der
Faserbänder 1 und den Druckstäben 34 geneigt zur Arbeitsrichtung A angeordnet.
Die Druckstäbe 34 sind oberhalb der Faserbänder 1 angeordnet.According to FIG. 3, two
Entsprechend Fig. 4 ist der Druckstab 34 oberhalb und ist der Druckstab 33 unterhalb
der Faserbänder 1 angeordnet. 4, the
Die Druckstäbe 31 bis 34 weisen Abrundungen und eine glatte Oberfläche auf.The pressure bars 3 1 to 3 4 have roundings and a smooth surface.
Die Erfindung wurde am Beispiel von Druckstäben für das Streckwerk einer Strecke dargestellt. Umfasst sind jedoch alle Streckwerke an Spinnereimaschinen, bei denen Druckstäbe eingesetzt werden, z. B. Ringspinnmaschinen, Kämmmaschinen u. dgl..The invention was based on the example of pressure rods for the drafting system of a line shown. However, all drafting systems on spinning machines are included Pressure rods are used, e.g. B. ring spinning machines, combers and. etc. ..
Claims (15)
Applications Claiming Priority (2)
| Application Number | Priority Date | Filing Date | Title |
|---|---|---|---|
| DE10059117 | 2000-11-28 | ||
| DE10059117 | 2000-11-28 |
Publications (3)
| Publication Number | Publication Date |
|---|---|
| EP1234902A2 true EP1234902A2 (en) | 2002-08-28 |
| EP1234902A3 EP1234902A3 (en) | 2003-01-02 |
| EP1234902B1 EP1234902B1 (en) | 2004-04-14 |
Family
ID=7665017
Family Applications (1)
| Application Number | Title | Priority Date | Filing Date |
|---|---|---|---|
| EP01126350A Revoked EP1234902B1 (en) | 2000-11-28 | 2001-11-07 | Method and device on a spinning machine for drafting a fibrecollection, f.ex. cotton, or chemical fibres |
Country Status (4)
| Country | Link |
|---|---|
| US (1) | US6564431B2 (en) |
| EP (1) | EP1234902B1 (en) |
| JP (1) | JP2002201537A (en) |
| DE (1) | DE50101978D1 (en) |
Cited By (1)
| Publication number | Priority date | Publication date | Assignee | Title |
|---|---|---|---|---|
| DE10307415A1 (en) * | 2002-02-20 | 2003-09-18 | Rieter Ingolstadt Spinnerei | Sliver drafting system, e.g. for drawframe, includes moving guide in drafting zone to improve levelling performance |
Families Citing this family (9)
| Publication number | Priority date | Publication date | Assignee | Title |
|---|---|---|---|---|
| DE10252631A1 (en) * | 2002-11-11 | 2004-05-19 | Maschinenfabrik Rieter Ag | Sliver drawing unit for a spinning machine, with a condenser, has a guide to deflect the sliver path before condensing, in a controlled movement preventing short fibers from projecting out of the sliver |
| EP1544332A1 (en) * | 2003-12-17 | 2005-06-22 | Pinter, S.A. | Method for parallelising fibres in a drawing system and apparatus for its implementation |
| DE102005006273A1 (en) * | 2004-04-21 | 2005-11-10 | Trützschler GmbH & Co KG | Apparatus for solidifying a recoverable fibrous web, z. As cotton, chemical fibers o. The like. |
| CN1702208B (en) * | 2004-05-29 | 2012-01-04 | 利特英格纺织机械制造股份公司 | Pressure bar and spinning preparation machine with pressure bar |
| DE102004042119A1 (en) * | 2004-08-30 | 2006-03-02 | Trützschler GmbH & Co KG | Apparatus for producing a fibrous web, e.g. made of cotton, chemical fibers or the like. |
| JP2006200069A (en) * | 2005-01-20 | 2006-08-03 | Murata Mach Ltd | Draft mechanism in air-jet fine spinning frame |
| CN101403147B (en) * | 2007-11-09 | 2011-06-22 | 潘思敏 | Spinning device |
| KR100978531B1 (en) * | 2010-03-10 | 2010-08-27 | 주식회사 자영 | Spinning machine having plural front top roller |
| DE102014011210A1 (en) * | 2014-07-29 | 2016-02-04 | Saurer Germany Gmbh & Co. Kg | Process for producing an air-spun yarn |
Family Cites Families (6)
| Publication number | Priority date | Publication date | Assignee | Title |
|---|---|---|---|---|
| DE3016409A1 (en) * | 1980-04-29 | 1981-11-05 | W. Schlafhorst & Co, 4050 Mönchengladbach | Sliver drafting system - has suction channel in main draft zone to extract dust and short fibres |
| DE3048501C2 (en) * | 1980-12-22 | 1983-06-30 | Zinser Textilmaschinen Gmbh, 7333 Ebersbach | Combing section |
| CN1039632A (en) * | 1988-07-15 | 1990-02-14 | 里特机械公司 | Drafting devices for spinning machines |
| DE58905669D1 (en) * | 1988-08-30 | 1993-10-28 | Rieter Ag Maschf | High drafting system for a flyerless spinning process. |
| DE4242722A1 (en) * | 1992-12-17 | 1994-06-23 | Rieter Ingolstadt Spinnerei | Pressure rod |
| CH693181A5 (en) * | 1998-04-16 | 2003-03-27 | Truetzschler Gmbh & Co Kg | Device at the output of a track. |
-
2001
- 2001-11-07 EP EP01126350A patent/EP1234902B1/en not_active Revoked
- 2001-11-07 DE DE50101978T patent/DE50101978D1/en not_active Revoked
- 2001-11-27 JP JP2001360833A patent/JP2002201537A/en active Pending
- 2001-11-28 US US09/994,906 patent/US6564431B2/en not_active Expired - Fee Related
Cited By (1)
| Publication number | Priority date | Publication date | Assignee | Title |
|---|---|---|---|---|
| DE10307415A1 (en) * | 2002-02-20 | 2003-09-18 | Rieter Ingolstadt Spinnerei | Sliver drafting system, e.g. for drawframe, includes moving guide in drafting zone to improve levelling performance |
Also Published As
| Publication number | Publication date |
|---|---|
| JP2002201537A (en) | 2002-07-19 |
| EP1234902A3 (en) | 2003-01-02 |
| US20020066165A1 (en) | 2002-06-06 |
| DE50101978D1 (en) | 2004-05-19 |
| EP1234902B1 (en) | 2004-04-14 |
| US6564431B2 (en) | 2003-05-20 |
Similar Documents
| Publication | Publication Date | Title |
|---|---|---|
| EP0635590B2 (en) | Double-apron drafting device | |
| EP1234902B1 (en) | Method and device on a spinning machine for drafting a fibrecollection, f.ex. cotton, or chemical fibres | |
| EP0602388B1 (en) | Pressing rod | |
| EP3730681A1 (en) | Apron drafting device | |
| WO1981003501A1 (en) | Spinning frame,preferably ring continuous spinning frame | |
| EP1573098A1 (en) | Device for producing a spun fibre | |
| EP1717357A1 (en) | Cross-lapper | |
| DD267744A5 (en) | DEVICE FOR FORMING A LARGE-SIZED FLOOR CONSISTING OF A TEXTILE FIBER MASS, IN A LOW-WIDE FIBRO RIBBON, ESPECIALLY FOR A FLAT CHAMBER | |
| DE1912452C3 (en) | Fleece removal device | |
| DE102015009500A1 (en) | Method for operating a ring spinning machine, ring spinning machine and drafting system | |
| EP3724383A1 (en) | Drawing frame for a spinning machine comprising a compaction device | |
| EP3812491B1 (en) | Condensing guide for a drafting frame of a spinning machine and drafting frame | |
| DE10127814A1 (en) | Turntable for fibre band release unit for drafting or carding assembly discharges fibre through sickle-shaped tube with air cushion between fibre and tube | |
| DE102006037716A1 (en) | Textile knitting machine has drafting stations preceding knitting station with two or more flyer slivers | |
| DE102007051655A1 (en) | Knitted fabric manufacturing method, involves forming fiber composite directly before knitting by combination of two fiber composites, and bringing separately warped fiber composites to combining area through air duct | |
| DE10137004A1 (en) | Spinning machine with a variety of spinning positions | |
| DE2259919A1 (en) | Drawing fibre lap between feed and draw roll assemblies - whose separation is less than the diameter of the rolls | |
| EP3724385A1 (en) | Drawing frame for a spinning machine comprising a compaction device, and method for compacting a fibre composite | |
| WO2003083192A1 (en) | Pneumatic compaction device for a fiber assembly and method for pneumatically compacting a fiber assembly | |
| DE10127815A1 (en) | Turntable for fibre band release unit for drafting or carding assembly discharges fibre to storage can through sickle-shaped tube | |
| DE10106771A1 (en) | Spinning machine loose fibre extractor has air blower pipe and fibre suction tube directed at gap interface | |
| DE202009003846U1 (en) | Combing machine with conveyor belt for transferring webs of combed fiber to the stretching device | |
| EP3724382A1 (en) | Drawing frame for a spinning machine having a compacting device | |
| CH699523A2 (en) | Drawing frame i.e. three cylinder-drawing frame, for use in ring spinning machine i.e. staple fiber-spinning machine, has passage line whose distance to surface of outlet lower cylinder is smaller than that to surface of outlet press roller | |
| DE19902194A1 (en) | Sliver flyer drawing unit has a pneumatic sliver compression unit at the condensing zone with a slit to the clamping point covered by an air-permeable carrier surface to deliver a rounded sliver to the spindle without loss of compression |
Legal Events
| Date | Code | Title | Description |
|---|---|---|---|
| PUAI | Public reference made under article 153(3) epc to a published international application that has entered the european phase |
Free format text: ORIGINAL CODE: 0009012 |
|
| AK | Designated contracting states |
Kind code of ref document: A2 Designated state(s): AT BE CH CY DE DK ES FI FR GB GR IE IT LI LU MC NL PT SE TR |
|
| AX | Request for extension of the european patent |
Free format text: AL;LT;LV;MK;RO;SI |
|
| PUAL | Search report despatched |
Free format text: ORIGINAL CODE: 0009013 |
|
| AK | Designated contracting states |
Kind code of ref document: A3 Designated state(s): AT BE CH CY DE DK ES FI FR GB GR IE IT LI LU MC NL PT SE TR |
|
| AX | Request for extension of the european patent |
Free format text: AL;LT;LV;MK;RO;SI |
|
| RIC1 | Information provided on ipc code assigned before grant |
Free format text: 7D 01H 5/22 A, 7D 01H 13/04 B, 7D 01H 5/70 B |
|
| 17P | Request for examination filed |
Effective date: 20030123 |
|
| GRAP | Despatch of communication of intention to grant a patent |
Free format text: ORIGINAL CODE: EPIDOSNIGR1 |
|
| GRAS | Grant fee paid |
Free format text: ORIGINAL CODE: EPIDOSNIGR3 |
|
| AKX | Designation fees paid |
Designated state(s): CH DE FR IT LI |
|
| GRAA | (expected) grant |
Free format text: ORIGINAL CODE: 0009210 |
|
| AK | Designated contracting states |
Kind code of ref document: B1 Designated state(s): CH DE FR IT LI |
|
| REG | Reference to a national code |
Ref country code: CH Ref legal event code: EP |
|
| REG | Reference to a national code |
Ref country code: CH Ref legal event code: NV Representative=s name: A. BRAUN, BRAUN, HERITIER, ESCHMANN AG PATENTANWAE |
|
| REF | Corresponds to: |
Ref document number: 50101978 Country of ref document: DE Date of ref document: 20040519 Kind code of ref document: P |
|
| REG | Reference to a national code |
Ref country code: IE Ref legal event code: FG4D Free format text: GERMAN |
|
| REG | Reference to a national code |
Ref country code: IE Ref legal event code: FD4D |
|
| ET | Fr: translation filed | ||
| PLBQ | Unpublished change to opponent data |
Free format text: ORIGINAL CODE: EPIDOS OPPO |
|
| PLBI | Opposition filed |
Free format text: ORIGINAL CODE: 0009260 |
|
| PLAQ | Examination of admissibility of opposition: information related to despatch of communication + time limit deleted |
Free format text: ORIGINAL CODE: EPIDOSDOPE2 |
|
| PLAR | Examination of admissibility of opposition: information related to receipt of reply deleted |
Free format text: ORIGINAL CODE: EPIDOSDOPE4 |
|
| PLAX | Notice of opposition and request to file observation + time limit sent |
Free format text: ORIGINAL CODE: EPIDOSNOBS2 |
|
| PLBQ | Unpublished change to opponent data |
Free format text: ORIGINAL CODE: EPIDOS OPPO |
|
| PLAB | Opposition data, opponent's data or that of the opponent's representative modified |
Free format text: ORIGINAL CODE: 0009299OPPO |
|
| 26 | Opposition filed |
Opponent name: RIETER INGOLSTADT SPINNEREIMASCHINENBAU AG Effective date: 20050114 |
|
| R26 | Opposition filed (corrected) |
Opponent name: RIETER INGOLSTADT SPINNEREIMASCHINENBAU AG Effective date: 20050114 |
|
| PLBB | Reply of patent proprietor to notice(s) of opposition received |
Free format text: ORIGINAL CODE: EPIDOSNOBS3 |
|
| PGFP | Annual fee paid to national office [announced via postgrant information from national office to epo] |
Ref country code: DE Payment date: 20051108 Year of fee payment: 5 |
|
| PGFP | Annual fee paid to national office [announced via postgrant information from national office to epo] |
Ref country code: FR Payment date: 20060907 Year of fee payment: 6 |
|
| RDAF | Communication despatched that patent is revoked |
Free format text: ORIGINAL CODE: EPIDOSNREV1 |
|
| PGFP | Annual fee paid to national office [announced via postgrant information from national office to epo] |
Ref country code: CH Payment date: 20061124 Year of fee payment: 6 |
|
| PGFP | Annual fee paid to national office [announced via postgrant information from national office to epo] |
Ref country code: IT Payment date: 20061130 Year of fee payment: 6 |
|
| RDAG | Patent revoked |
Free format text: ORIGINAL CODE: 0009271 |
|
| STAA | Information on the status of an ep patent application or granted ep patent |
Free format text: STATUS: PATENT REVOKED |
|
| 27W | Patent revoked |
Effective date: 20061123 |
|
| REG | Reference to a national code |
Ref country code: CH Ref legal event code: PL |
