EP1234902A3 - Method and device on a spinning machine for drafting a fibrecollection, f.ex. cotton, or chemical fibres - Google Patents
Method and device on a spinning machine for drafting a fibrecollection, f.ex. cotton, or chemical fibres Download PDFInfo
- Publication number
- EP1234902A3 EP1234902A3 EP01126350A EP01126350A EP1234902A3 EP 1234902 A3 EP1234902 A3 EP 1234902A3 EP 01126350 A EP01126350 A EP 01126350A EP 01126350 A EP01126350 A EP 01126350A EP 1234902 A3 EP1234902 A3 EP 1234902A3
- Authority
- EP
- European Patent Office
- Prior art keywords
- drafting
- fibrecollection
- cotton
- spinning machine
- chemical fibres
- Prior art date
- Legal status (The legal status is an assumption and is not a legal conclusion. Google has not performed a legal analysis and makes no representation as to the accuracy of the status listed.)
- Granted
Links
- 229920000742 Cotton Polymers 0.000 title 1
- 238000000034 method Methods 0.000 title 1
- 238000009987 spinning Methods 0.000 title 1
- 230000006835 compression Effects 0.000 abstract 2
- 238000007906 compression Methods 0.000 abstract 2
- 239000000835 fiber Substances 0.000 abstract 2
- 239000004753 textile Substances 0.000 abstract 1
Classifications
-
- D—TEXTILES; PAPER
- D01—NATURAL OR MAN-MADE THREADS OR FIBRES; SPINNING
- D01H—SPINNING OR TWISTING
- D01H5/00—Drafting machines or arrangements ; Threading of roving into drafting machine
- D01H5/18—Drafting machines or arrangements without fallers or like pinned bars
- D01H5/20—Drafting machines or arrangements without fallers or like pinned bars in which fibres are controlled by contact with stationary or reciprocating surfaces
-
- D—TEXTILES; PAPER
- D01—NATURAL OR MAN-MADE THREADS OR FIBRES; SPINNING
- D01H—SPINNING OR TWISTING
- D01H13/00—Other common constructional features, details or accessories
- D01H13/04—Guides for slivers, rovings, or yarns; Smoothing dies
Landscapes
- Engineering & Computer Science (AREA)
- Mechanical Engineering (AREA)
- Textile Engineering (AREA)
- Spinning Or Twisting Of Yarns (AREA)
Abstract
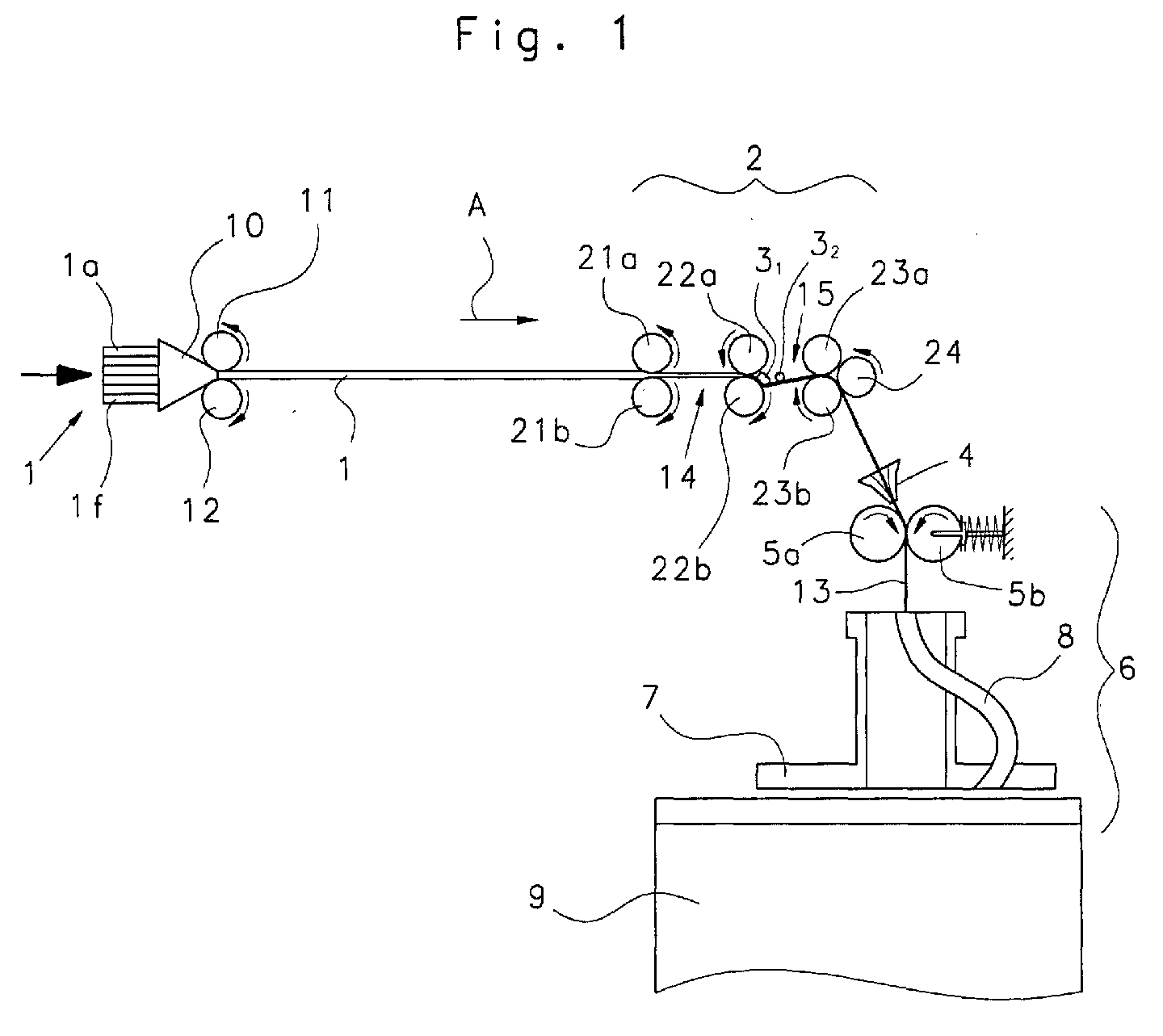
Die Erfindung betrifft eine optimierte Ausführung eines Druckstabes, wie er im Hauptverzugsfeld von Streckwerken zur Verstreckung von textilen Faserbändern angewandt wird. Es ist Aufgabe der Erfindung, den bestehenden Druckstab zu optimieren, um eine bessere Führung der Fasern im Hauptverzugsfeld des Streckwerkes sicherzustellen. Dies wird erreicht, indem die Geometrie und Anordnung des Druckstabes modifiziert werden. Daraus resultiert eine deutliche Verbesserung der Bandgleichmäßigkeit. The invention relates to an optimized design of a compression rod, as is used in the main drafting area of drafting systems for stretching textile fiber tapes. It is an object of the invention to optimize the existing compression rod in order to ensure better guidance of the fibers in the main draft zone of the drafting system. This is achieved by modifying the geometry and arrangement of the pressure rod. This results in a significant improvement in tape uniformity.
Applications Claiming Priority (2)
| Application Number | Priority Date | Filing Date | Title |
|---|---|---|---|
| DE10059117 | 2000-11-28 | ||
| DE10059117 | 2000-11-28 |
Publications (3)
| Publication Number | Publication Date |
|---|---|
| EP1234902A2 EP1234902A2 (en) | 2002-08-28 |
| EP1234902A3 true EP1234902A3 (en) | 2003-01-02 |
| EP1234902B1 EP1234902B1 (en) | 2004-04-14 |
Family
ID=7665017
Family Applications (1)
| Application Number | Title | Priority Date | Filing Date |
|---|---|---|---|
| EP01126350A Revoked EP1234902B1 (en) | 2000-11-28 | 2001-11-07 | Method and device on a spinning machine for drafting a fibrecollection, f.ex. cotton, or chemical fibres |
Country Status (4)
| Country | Link |
|---|---|
| US (1) | US6564431B2 (en) |
| EP (1) | EP1234902B1 (en) |
| JP (1) | JP2002201537A (en) |
| DE (1) | DE50101978D1 (en) |
Families Citing this family (10)
| Publication number | Priority date | Publication date | Assignee | Title |
|---|---|---|---|---|
| DE10307415A1 (en) * | 2002-02-20 | 2003-09-18 | Rieter Ingolstadt Spinnerei | Sliver drafting system, e.g. for drawframe, includes moving guide in drafting zone to improve levelling performance |
| DE10252631A1 (en) * | 2002-11-11 | 2004-05-19 | Maschinenfabrik Rieter Ag | Sliver drawing unit for a spinning machine, with a condenser, has a guide to deflect the sliver path before condensing, in a controlled movement preventing short fibers from projecting out of the sliver |
| EP1544332A1 (en) * | 2003-12-17 | 2005-06-22 | Pinter, S.A. | Method for parallelising fibres in a drawing system and apparatus for its implementation |
| DE102005006273A1 (en) * | 2004-04-21 | 2005-11-10 | Trützschler GmbH & Co KG | Apparatus for solidifying a recoverable fibrous web, z. As cotton, chemical fibers o. The like. |
| CN1702208B (en) * | 2004-05-29 | 2012-01-04 | 利特英格纺织机械制造股份公司 | Pressure bar and spinning preparation machine with pressure bar |
| DE102004042119A1 (en) * | 2004-08-30 | 2006-03-02 | Trützschler GmbH & Co KG | Apparatus for producing a fibrous web, e.g. made of cotton, chemical fibers or the like. |
| JP2006200069A (en) * | 2005-01-20 | 2006-08-03 | Murata Mach Ltd | Draft mechanism in air-jet fine spinning frame |
| CN101403147B (en) * | 2007-11-09 | 2011-06-22 | 潘思敏 | Spinning device |
| KR100978531B1 (en) * | 2010-03-10 | 2010-08-27 | 주식회사 자영 | Spinning machine having plural front top roller |
| DE102014011210A1 (en) * | 2014-07-29 | 2016-02-04 | Saurer Germany Gmbh & Co. Kg | Process for producing an air-spun yarn |
Citations (3)
| Publication number | Priority date | Publication date | Assignee | Title |
|---|---|---|---|---|
| DE3016409A1 (en) * | 1980-04-29 | 1981-11-05 | W. Schlafhorst & Co, 4050 Mönchengladbach | Sliver drafting system - has suction channel in main draft zone to extract dust and short fibres |
| EP0350797A1 (en) * | 1988-07-15 | 1990-01-17 | Maschinenfabrik Rieter Ag | Drawing frame for spinning machines |
| EP0602388A1 (en) * | 1992-12-17 | 1994-06-22 | Rieter Ingolstadt Spinnereimaschinenbau AG | Pressing rod |
Family Cites Families (3)
| Publication number | Priority date | Publication date | Assignee | Title |
|---|---|---|---|---|
| DE3048501C2 (en) * | 1980-12-22 | 1983-06-30 | Zinser Textilmaschinen Gmbh, 7333 Ebersbach | Combing section |
| EP0358015B1 (en) * | 1988-08-30 | 1993-09-22 | Maschinenfabrik Rieter Ag | Drawing frame with a pressing rod in the break draft zone |
| CH693181A5 (en) * | 1998-04-16 | 2003-03-27 | Truetzschler Gmbh & Co Kg | Device at the output of a track. |
-
2001
- 2001-11-07 DE DE50101978T patent/DE50101978D1/en not_active Revoked
- 2001-11-07 EP EP01126350A patent/EP1234902B1/en not_active Revoked
- 2001-11-27 JP JP2001360833A patent/JP2002201537A/en active Pending
- 2001-11-28 US US09/994,906 patent/US6564431B2/en not_active Expired - Fee Related
Patent Citations (3)
| Publication number | Priority date | Publication date | Assignee | Title |
|---|---|---|---|---|
| DE3016409A1 (en) * | 1980-04-29 | 1981-11-05 | W. Schlafhorst & Co, 4050 Mönchengladbach | Sliver drafting system - has suction channel in main draft zone to extract dust and short fibres |
| EP0350797A1 (en) * | 1988-07-15 | 1990-01-17 | Maschinenfabrik Rieter Ag | Drawing frame for spinning machines |
| EP0602388A1 (en) * | 1992-12-17 | 1994-06-22 | Rieter Ingolstadt Spinnereimaschinenbau AG | Pressing rod |
Also Published As
| Publication number | Publication date |
|---|---|
| US20020066165A1 (en) | 2002-06-06 |
| EP1234902B1 (en) | 2004-04-14 |
| EP1234902A2 (en) | 2002-08-28 |
| US6564431B2 (en) | 2003-05-20 |
| JP2002201537A (en) | 2002-07-19 |
| DE50101978D1 (en) | 2004-05-19 |
Similar Documents
| Publication | Publication Date | Title |
|---|---|---|
| EP1234902A3 (en) | Method and device on a spinning machine for drafting a fibrecollection, f.ex. cotton, or chemical fibres | |
| ES2016735A6 (en) | Apparatus for making a yarn | |
| KR900013121A (en) | Mixed yarn manufacturing method and apparatus | |
| CN102869821A (en) | Wire profile for card clothing | |
| EP0947615A3 (en) | Method and spinning machine for producing a fictitious yarn | |
| EP0947614A3 (en) | Spinning machine with a drawing frame comprising a suction roller | |
| EP0853149A3 (en) | Piecing method and apparatus for a spinning machine | |
| EP1332248A2 (en) | Spinning device | |
| ATE18265T1 (en) | DRAFTING DEVICE FOR SPINNING MACHINES FOR PROCESSING A FIBER STRIP. | |
| EP1329541A3 (en) | Textile processing machine with a drawing frame | |
| CN101423989B (en) | Spinning machine provided with a clamping device | |
| EP0279434A1 (en) | Method and apparatus for improving a yarn produced in the rotor of an open-end spinning machine | |
| EP1664402A1 (en) | Drafting arrangement for spinning machines | |
| US6470534B2 (en) | Manufacturing method for carded woolen yarn | |
| EP0807700A3 (en) | Piecing method for a spinning machine | |
| EP0947617A3 (en) | Procedure for making a yarn and its spinning machine | |
| EP0947618A3 (en) | Method for producing a yarn and spinning machine therefor | |
| EP0924323B2 (en) | Drawing frame for spinning machines | |
| EP1369521A3 (en) | Process and device for the continuous mercerizing of textile yarns | |
| EP0887448A3 (en) | Method and apparatus for manufacturing a textile yarn | |
| EP1191135A3 (en) | Aprons for doubleapron-drafting machine | |
| EP1264920A3 (en) | Drawing frame for a spinning machine with following fibre condensing zone | |
| EP1277859A3 (en) | Sliver opening arrangement for an open-end spinning machine | |
| DE3634557A1 (en) | DEVICE FOR PNEUMATIC SPIRAL SPINNING | |
| EP3802926B1 (en) | Method for determining properties of a fibre material at a working point of a textile machine and textile machine |
Legal Events
| Date | Code | Title | Description |
|---|---|---|---|
| PUAI | Public reference made under article 153(3) epc to a published international application that has entered the european phase |
Free format text: ORIGINAL CODE: 0009012 |
|
| AK | Designated contracting states |
Kind code of ref document: A2 Designated state(s): AT BE CH CY DE DK ES FI FR GB GR IE IT LI LU MC NL PT SE TR |
|
| AX | Request for extension of the european patent |
Free format text: AL;LT;LV;MK;RO;SI |
|
| PUAL | Search report despatched |
Free format text: ORIGINAL CODE: 0009013 |
|
| AK | Designated contracting states |
Kind code of ref document: A3 Designated state(s): AT BE CH CY DE DK ES FI FR GB GR IE IT LI LU MC NL PT SE TR |
|
| AX | Request for extension of the european patent |
Free format text: AL;LT;LV;MK;RO;SI |
|
| RIC1 | Information provided on ipc code assigned before grant |
Free format text: 7D 01H 5/22 A, 7D 01H 13/04 B, 7D 01H 5/70 B |
|
| 17P | Request for examination filed |
Effective date: 20030123 |
|
| GRAP | Despatch of communication of intention to grant a patent |
Free format text: ORIGINAL CODE: EPIDOSNIGR1 |
|
| GRAS | Grant fee paid |
Free format text: ORIGINAL CODE: EPIDOSNIGR3 |
|
| AKX | Designation fees paid |
Designated state(s): CH DE FR IT LI |
|
| GRAA | (expected) grant |
Free format text: ORIGINAL CODE: 0009210 |
|
| AK | Designated contracting states |
Kind code of ref document: B1 Designated state(s): CH DE FR IT LI |
|
| REG | Reference to a national code |
Ref country code: CH Ref legal event code: EP |
|
| REG | Reference to a national code |
Ref country code: CH Ref legal event code: NV Representative=s name: A. BRAUN, BRAUN, HERITIER, ESCHMANN AG PATENTANWAE |
|
| REF | Corresponds to: |
Ref document number: 50101978 Country of ref document: DE Date of ref document: 20040519 Kind code of ref document: P |
|
| REG | Reference to a national code |
Ref country code: IE Ref legal event code: FG4D Free format text: GERMAN |
|
| REG | Reference to a national code |
Ref country code: IE Ref legal event code: FD4D |
|
| ET | Fr: translation filed | ||
| PLBQ | Unpublished change to opponent data |
Free format text: ORIGINAL CODE: EPIDOS OPPO |
|
| PLBI | Opposition filed |
Free format text: ORIGINAL CODE: 0009260 |
|
| PLAQ | Examination of admissibility of opposition: information related to despatch of communication + time limit deleted |
Free format text: ORIGINAL CODE: EPIDOSDOPE2 |
|
| PLAR | Examination of admissibility of opposition: information related to receipt of reply deleted |
Free format text: ORIGINAL CODE: EPIDOSDOPE4 |
|
| PLAX | Notice of opposition and request to file observation + time limit sent |
Free format text: ORIGINAL CODE: EPIDOSNOBS2 |
|
| PLBQ | Unpublished change to opponent data |
Free format text: ORIGINAL CODE: EPIDOS OPPO |
|
| PLAB | Opposition data, opponent's data or that of the opponent's representative modified |
Free format text: ORIGINAL CODE: 0009299OPPO |
|
| 26 | Opposition filed |
Opponent name: RIETER INGOLSTADT SPINNEREIMASCHINENBAU AG Effective date: 20050114 |
|
| R26 | Opposition filed (corrected) |
Opponent name: RIETER INGOLSTADT SPINNEREIMASCHINENBAU AG Effective date: 20050114 |
|
| PLBB | Reply of patent proprietor to notice(s) of opposition received |
Free format text: ORIGINAL CODE: EPIDOSNOBS3 |
|
| PGFP | Annual fee paid to national office [announced via postgrant information from national office to epo] |
Ref country code: DE Payment date: 20051108 Year of fee payment: 5 |
|
| PGFP | Annual fee paid to national office [announced via postgrant information from national office to epo] |
Ref country code: FR Payment date: 20060907 Year of fee payment: 6 |
|
| RDAF | Communication despatched that patent is revoked |
Free format text: ORIGINAL CODE: EPIDOSNREV1 |
|
| PGFP | Annual fee paid to national office [announced via postgrant information from national office to epo] |
Ref country code: CH Payment date: 20061124 Year of fee payment: 6 |
|
| PGFP | Annual fee paid to national office [announced via postgrant information from national office to epo] |
Ref country code: IT Payment date: 20061130 Year of fee payment: 6 |
|
| RDAG | Patent revoked |
Free format text: ORIGINAL CODE: 0009271 |
|
| STAA | Information on the status of an ep patent application or granted ep patent |
Free format text: STATUS: PATENT REVOKED |
|
| 27W | Patent revoked |
Effective date: 20061123 |
|
| REG | Reference to a national code |
Ref country code: CH Ref legal event code: PL |
