EP1184104A1 - Speisereinsatz - Google Patents

Speisereinsatz Download PDF

Info

Publication number
EP1184104A1
EP1184104A1 EP01117412A EP01117412A EP1184104A1 EP 1184104 A1 EP1184104 A1 EP 1184104A1 EP 01117412 A EP01117412 A EP 01117412A EP 01117412 A EP01117412 A EP 01117412A EP 1184104 A1 EP1184104 A1 EP 1184104A1
Authority
EP
European Patent Office
Prior art keywords
feeder
feeder insert
molding
elements
shaped element
Prior art date
Legal status (The legal status is an assumption and is not a legal conclusion. Google has not performed a legal analysis and makes no representation as to the accuracy of the status listed.)
Granted
Application number
EP01117412A
Other languages
English (en)
French (fr)
Other versions
EP1184104B1 (de
Inventor
Jürgen Beckmann
Current Assignee (The listed assignees may be inaccurate. Google has not performed a legal analysis and makes no representation or warranty as to the accuracy of the list.)
Chemex GmbH
Original Assignee
Chemex GmbH
Priority date (The priority date is an assumption and is not a legal conclusion. Google has not performed a legal analysis and makes no representation as to the accuracy of the date listed.)
Filing date
Publication date
Application filed by Chemex GmbH filed Critical Chemex GmbH
Priority to DE20122062U priority Critical patent/DE20122062U1/de
Publication of EP1184104A1 publication Critical patent/EP1184104A1/de
Application granted granted Critical
Publication of EP1184104B1 publication Critical patent/EP1184104B1/de
Anticipated expiration legal-status Critical
Expired - Lifetime legal-status Critical Current

Links

Images

Classifications

    • BPERFORMING OPERATIONS; TRANSPORTING
    • B22CASTING; POWDER METALLURGY
    • B22CFOUNDRY MOULDING
    • B22C9/00Moulds or cores; Moulding processes
    • B22C9/08Features with respect to supply of molten metal, e.g. ingates, circular gates, skim gates
    • B22C9/088Feeder heads

Definitions

  • the present invention relates primarily to a closed one Feeder insert, also called feeder for short, for use with Pouring metals into molds, with a cavity for receiving liquid Metal.
  • Such feeder inserts are used in the manufacture of a mold integrated into this and form a space surrounded by molding material, the has a passage (passage) to the mold cavity and during casting is filled by the pouring stream with liquid metal that during the Flow solidification process back to the casting and the volume deficit to compensate for the solidification of the casting. In this way the Formation of so-called blowholes (these are shrinkage cavities caused by the Metal volume contraction during the solidification process) prevented.
  • the metal in the feeder solidifies later than the metal of the casting, i.e. the module (ratio of volume to surface) of the feeder must be larger than that of the casting.
  • the modules (ratio of volume to surface) of the feeder must be larger than that of the casting.
  • the walls of the feeder become frequent made of an exothermic material, for example an aluminothermic Mixture, formed.
  • an exothermic material for example an aluminothermic Mixture
  • the molding material usually molding sand, in individual cases also other granular materials
  • Feeder inserts are often designed to be very small.
  • the feeder insert tapers thus considerably towards its top surface, and at Applying the molding material to the molding plate often gives rise to the subsequent problem on that the compression of the molding material in the vicinity of the esophagus insufficiently close to the top surface, which is disadvantageous when casting is.
  • Spring mandrels as well as fixed (rigid) mandrels are designed to to hold a feeder insert in a predetermined position.
  • she typically include (a) a tubular member for attachment a model plate, (b) one arranged in the tubular element Spring and (c) a resting on the spring, in the longitudinal direction within the tubular element telescopically displaceable mandrel tip element.
  • Such a spring mandrel is usually on the model plate (model surface) attached, and then a feeder insert is placed on it, the lower surface of which is in the starting arrangement before the filling of the Molding material is located at a predetermined distance from the model surface.
  • the subsequent filling of the molding material therefore also runs between model surface and feeder (bottom surface).
  • the feeder insert placed on the spring mandrel acts a force in the direction of the model plate that causes the feeder insert against the action of the spring force in the direction of the Model plate is pressed. The in the gap between feeder insert and The molded material layer on the model plate is compressed.
  • the footprint of the feeder insert to be specified should be included preferably be dimensioned small without relevant stability disadvantages can.
  • the feeder insert to be specified should also be together can be used with a crushing core that separates the residual feeder relieved by the casting.
  • a crushing core is in the Framework of the present text as part of the use of food understood and not as a separate component.
  • the task is solved by specifying a closed one Feeder insert of the type mentioned, wherein the feeder insert at least two into one another along a longitudinal axis of the feeder (telescopic) comprises displaceable shaped elements which liquid the cavity for receiving Enclose metal on the side.
  • a first shaped element is closer to Passage of the feeder insert arranged as an associated second Feature.
  • the displaceability of the first and second shaped elements into one another causes that during a normal compression process in the longitudinal direction of the feeder high acting on the feeder insert according to the invention Compression pressures (compression forces) do not lead to its destruction, but only to a tolerated, by the compressibility of the surrounding molding material (molding sand) limited insertion of a molding element into the other.
  • Compression pressures compression forces
  • the footprint of the feeder insert can small and the wall of the feeder is comparatively thin.
  • the shaped elements should be out of their initial arrangement, i.e. out the relative arrangement out for the molded elements before wrapping the Feeder insert with molding material is provided, at least by 5 mm, can preferably be pushed into each other by 10 mm.
  • the feeder insert can meet the requirements of the individual case correspondingly, for example, in the manner of a compact or ball feeder designed or with an almost cylindrical feeder cap in the upper area be provided.
  • spring mandrels with the feeder inserts according to the invention is therefore not excluded, but usually can on it to be dispensed with.
  • a preferred feeder insert according to the invention is therefore set up for use with a centering mandrel, in particular can be designed as a self-centering feeder.
  • a self-centering Suer has one or more wall sections that towards the upper one in operation (opposite the feeder passage) Taper the end wall of the feeder so that a thorn tip when positioning the feeder insert in these along these sections Target position is performed.
  • Is a self-centering feeder according to the invention especially suitable for use on fast molding lines.
  • First and second shaped element of a feeder insert according to the invention can be glued together or otherwise after their manufacture get connected.
  • the shaped elements can also be used as separate parts stored and combined (stacked) as needed.
  • Identical first (or second) form elements can also be constructed (e.g. in size) different second (or first) form elements can be combined into respective feeder inserts according to the invention.
  • the holding elements are preferably an integral part of the respective formula element, and they can be used in the manufacture of each Form elements can be molded onto this without an additional step. It can with them in particular around standing or clamping projections, rotating Stand rings, pins that can be brought into engagement with complementary recesses or act like that. It is important that the holding elements are designed to operate in the foundry when the first and second
  • the molding element is still roughly in its initial arrangement, the molding material but is already filled in the mold box by the subsequent one Molding material compression process from its associated shaped element can be separated or at least deformed to the extent that the first and can slide one another into each other.
  • the holding elements are therefore preferably only via small connecting surfaces with their associated one Form element connected.
  • a Spring mandrel As an alternative to using holding elements, the use of a Spring mandrel.
  • One such can namely be a second one, the upper one in operation Form element in the intended starting position relative to the model surface and hold to the first shaped element without the inventive Feeder insert itself includes holding elements. Since spring mandrels, however, like mentioned at the outset are quite expensive and prone to wear, their use be limited to exceptional cases.
  • This is preferably closer to the passage of the feeder insert this forming the first shaped element so that it (if necessary after separating or deforming holding elements) into the second shaped element can be inserted.
  • the outer dimensions of the first, in Operation of lower form elements closer to the casting are therefore preferred smaller than the internal dimensions of the associated second, upper in operation Form element.
  • This configuration is the reverse of that (Also according to the invention) embodiment in which the upper in operation Shaped element can be inserted into the lower shaped element, advantageous because it ensures that no disturbing quantities are present during the filling process Penetrate molding material into the first molding element.
  • An embodiment is particularly advantageous in which the first, in Operation lower mold element is designed so that it (telescopic) in the second shaped element can be inserted, the outer wall of the first form elements in the inner wall of the second form element intervenes.
  • the gap width between the outer wall of the first Form elements and the inner wall of the second form element is in the intended starting arrangement of the shaped elements, which if necessary is characterized by the position of the holding elements, preferably maximum 3 mm, advantageously not more than 1.5 mm.
  • the shaped elements should come from their intended, if necessary output arrangement defined by the holding elements in the longitudinal direction of the feeder by at least 5 mm, preferably by at least 10 mm leave before pushing due to further nesting Forces occurring between the shaped elements to tear or Breaking of the first or second feature comes.
  • the first and / or the second shaped element comprises one or more guide elements which are set up tilting or tilting of the two shaped elements relative to one another to prevent at least essentially when this (from the output arrangement out) shifted into each other along the longitudinal axis of the feeder become.
  • These guide elements preferably have the shape themselves Thin strips or ridges extending along the length of the feeder, and them are advantageously located on the outer wall of that molded element, which can be inserted into the partner form element; in So in a lot of cases they are on the outside of the first Formula elements arranged.
  • the first molded element is an inventive one Feeder insert integrated a breaking edge, which if necessary Is part of a crushing core, which is then directly on the model plate during operation can be put on.
  • This integration of a breaking edge ensures a significant reduction in Cleaning effort in comparison with the known feeder inserts used for Use with spring mandrels are provided and therefore no breaking edge (no crusher core).
  • the footprint of the feeder according to the invention can be very difficult, especially when using a crushing edge (a crushing core) be kept small.
  • the feeder insert according to the invention or the associated shaped elements can partially or completely from insulating or exothermic molding compounds be made. If a crushing core is integrated in the first shaped element, so this is typically not exothermic, the associated second The shaped element will then often be exothermic.
  • the feeder inserts according to the invention comprise two or more Form elements that can be combined as required when stored separately can.
  • the invention therefore also relates to a kit for manufacturing of a feeder insert according to the invention, comprising a first shaped element and a second shaped element which can be arranged so that they can be moved into one another along a longitudinal axis of the feeder.
  • preferred Embodiments of the form elements belonging to the kit are the above statements to remove the feeder insert according to the invention.
  • the molding machine usually includes a model plate (i.e. a model device for molding machines, usually consisting of a flat plate with cast-in or mechanically fastened models), and the first mold element is preferably arranged so that it is in front the compression process in direct contact with the model plate (the Model surface). This is especially true if in the first Forming element is integrated into a crushing core.
  • a model plate i.e. a model device for molding machines, usually consisting of a flat plate with cast-in or mechanically fastened models
  • the first mold element is preferably arranged so that it is in front the compression process in direct contact with the model plate (the Model surface). This is especially true if in the first Forming element is integrated into a crushing core.
  • Feeder insert 2 comprises a first (lower) molded element 4 and a second (Upper) shaped element 6, both shaped elements being essentially rotationally symmetrical are trained.
  • the longitudinal axis of rotation the Spelser insert 2 is shown by a dashed line Line 20 marked.
  • the first shaped element 4 is again separately in FIG. 1b Longitudinal section and shown in Fig. 1b in plan view. It's over a molding compound (e.g. insulating or exothermic) shaped and relative thin-walled.
  • the footprint of the first form element 4, with the this sits on a model plate 22 is small, the footprint diameter is only about 40 mm, the diameter of the inside of the footprint lying feeder passage only about 20 mm.
  • the first shaped element widens to the maximum outside Diameter of about 77 mm conical, and the conical so defined Section 34 then merges into an upper section 44, which follows very slightly conical up to a diameter of about 76 mm rejuvenated.
  • Retaining projections 12 are formed.
  • the (imaginary) connection surfaces between Retaining projections 12 and shaped element 4 are each quite small, so that the Holding projections 12 mechanically from the molded element with little effort can be separated.
  • a total of four are also assigned to the holding projections 12 Guide and spacer strips 14, which start from the holding projections extend in the longitudinal direction of the feeder insert 2 and opposite the outer wall of the upper section 44 of the lower molding 4 each project by about 2 mm.
  • the second (upper) molding element 6 is the second (upper) molding element 6. It is molded from an exothermic molding compound and is also quite thin-walled educated. The outer contour of the upper molded element 6 tapers upwards slightly towards one on the outside essentially flat upper wall termination 36.
  • the inner wall of the upper Formula elements 4 initially proceed from its lower edge 26 parallel to the outer wall of the upper section 44 of the lower molding 4 and then goes into a conically tapering wall section 46 above, along which the tip of a centering mandrel at Positioning the feeder insert can be performed.
  • the conical Wall section 46 finally opens into one in the feed axis lying, through the end 36 centering recess 56 for Picking up a mandrel tip.
  • the two shaped elements 4, 6 are designed so that the four Guide strips 14 of the lower molding 4 frictionally on the inner wall of the upper molding element 6, if this, as in Fig. 1a shown in the starting arrangement on the four retaining projections of the lower form elements 4 rests. They therefore cause an interference fit and prevent an undesirable lateral displacement of the two shaped elements; they also define a uniform width of the gap between the lower (here inner) and upper (here outer) form element.
  • a centering mandrel 16 is also shown in FIG. which is attached to the model plate 22 and from there (always in the feeder axis of rotation 20 lying) through the feeder passage 10 and through the feeder cavity into the centering recess 56 extends.
  • the two shaped elements 4, 6 of the feeder insert 2 can be Slide telescopically into each other if parallel to the axis of rotation 20 a force directed onto the model plate 22 (arrow F) on the feeder insert acts, as for example after the filling of molding material Compression molding is the case (see Fig. 3a-d).
  • the force just needs to do this be sufficiently large to hold the retaining projections 12 from the lower mold element 4 separate.
  • the inner wall of the second (upper, outer) molded element approaches itself when pushed onto the first (lower, inner) form element Outer wall continuously and finally arrives after a displacement path of approx. 15 mm, all around in contact with it. Such a shift path sufficient for many compaction processes.
  • the end position of the lower edge 26 of the upper molded element 6 after covering the above Displacement path is indicated by a dashed line.
  • the Guide strips 14 are 4.6 when pushing the form elements deformed or separated and / or cut into the inner wall of the outer (upper) form elements 6.
  • the centering recess 56 extends through the upper end wall of the feeder insert 2 and the tip of the centering mandrel includes a cylindrical section that is significantly longer than 15 mm and the diameter of which corresponds to the inner diameter of the centering recess 56 is adjusted. That is why it happens when telescoping the upper one on the lower form element does not cause disability; the thorn tip kicks rather, emerge unhindered from the feeder insert.
  • the lower edge 26 of the wall projecting beyond the lower shaped element 4 of the upper molding element 6 acts like one during a compression process Stamp surface on the molding material to be compressed between edge 26 and Model plate 22.
  • the (also) using a compression process The operations of the feeder insert 2 are described below with reference to FIG. 3a-d explained in more detail.
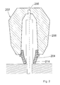
  • FIG. 2 shows an alternative feeder insert 202 according to the invention shown in longitudinal section.
  • the feeder insert 202 is more compact and thicker walled than the feeder insert 2.
  • the existing one here Centering recess 256 does not pass through the upper feeder end, but extends so far in the longitudinal direction of the feeder insert that an assigned centering pin is inserted far enough into it can be, if the upper mold element 206 telescopically on the lower Form element 204 is moved in the direction of the model plate.
  • 3a-d is an inventive method for arrangement of a feeder insert according to the invention in a casting mold schematically shown.
  • the following explanations apply to the use of feeders 1a-c as well as for the feeder insert from FIG. 2.
  • a first shaped element 104 is placed on a centering mandrel 116 placed, which is attached to a model plate 122.
  • the form element 104 is in direct contact with the model plate 122 brought.
  • a second shaped element 106 is then placed on the first shaped element 104 placed so that it is supported by this.
  • To holding projections 112 are provided, for example, in their shape and function of the holding projections 12 explained with reference to FIGS. 1a-c correspond.
  • a composite feeder insert 102 in its starting arrangement, cf. Fig. 1a.
  • the feeder insert is used 102 coated with molding sand 150 or another molding material (wrapping only indicated in the lower area).
  • the holding projections 112 are from the first Molded element 104 broken off, the second (upper) shaped element 106 telescopically a little bit onto the first (lower) shaped element 104 postponed.
  • the displacement path D of the second molding element 106 on the the first shaped element 104 fixed in position is determined by the dimension predetermined and limited the compression of molding material.

Landscapes

  • Engineering & Computer Science (AREA)
  • Mechanical Engineering (AREA)
  • Molds, Cores, And Manufacturing Methods Thereof (AREA)
  • Valve-Gear Or Valve Arrangements (AREA)
  • Mechanical Treatment Of Semiconductor (AREA)
  • Eye Examination Apparatus (AREA)
  • Moulds For Moulding Plastics Or The Like (AREA)
  • Injection Moulding Of Plastics Or The Like (AREA)

Abstract

Beschrieben wird ein Speisereinsatz zur Verwendung beim Gießen von Metallen in Gießformen, mit einem Hohlraum zur Aufnahme flüssigen Metalls. Der erfindungsgemäße Speisereinsatz (2) umfaßt zumindest zwei entlang einer Speiser-Längsachse (20) ineinander verschiebbare Formelemente (4;6), die den Hohlraum zur Aufnahme flüssigen Metalls seitlich umschließen. Am ersten und/oder zweiten Formelement können Halteelemente (12) angeordnet sein, über die das erste Formelement das zweite Formelement trägt und die so abtrennbar oder deformierbar sind, daß ein Inanderverschieben der zwei Formelemente entlang der Speiser-Längsachse (20) möglich ist. <IMAGE>

Description

Die vorliegende Erfindung betrifft primär einen geschlossenen Speisereinsatz, nachfolgend auch kurz Speiser genannt, zur Verwendung beim Gießen von Metallen in Gießformen, mit einem Hohlraum zur Aufnahme flüssigen Metalls.
Derartige Speisereinsätze werden bei der Herstellung einer Gießform in diese integriert und bilden einen von Formstoff umgebenen Raum, der einen Durchlaß (Durchtritt) zum Formhohlraum hin aufweist und beim Gießen von der Gießströmung mit flüssigem Metall gefüllt wird, das während des Erstarrungvorganges zum Gußstück zurückströmen und das Volumendefizit bei der Erstarrung des Gußstücks kompensieren soll. Auf diese Weise wird die Bildung sogenannter Lunker (das sind Schwindungshohlräume, die durch die Metallvolumen-Kontraktion beim Erstarrungsvorgang entstehen) verhindert.
Um einen ordnungsgemäßen Speisungsvorgang zu gewährleisten, muß das im Speiser befindliche Metall später erstarren als das Metall des Gußstücks, d.h. der Modul (Verhältnis von Volumen zu Oberfläche) des Speisers muß größer als das des Gußstücks sein. Zugleich soll nach der Erstarrung aus Kostengründen eine möglichst geringe Restmenge an Metall im Speiser verbleiben, und zu diesem Zweck werden die Wandungen des Speisers häufig aus einem exothermen Material, beispielsweise einer aluminothermischen Mischung, gebildet. Ein solches Material wird durch das flüssige Metall gezündet, und es läuft deshalb nach dem Eindringen der Gießströmung in einen solchen Speiser eine exotherme Reaktion ab, durch die dem im Speiserinnenraum befindlichen Metall Wärme zugeführt wird. Dieses bleibt durch die Wärmezufuhr länger flüssig als das Metall im Formhohlraum der Gießform und ist dadurch besser für die Speisung nutzbar.
Viele Gießformen werden mit Hilfe einer Modellplatte hergestellt, welche die Innenkontur des Formhohlraumes vorgibt. An den Stellen, an denen ein Speisereinsatz erforderlich ist, ist dann häufig jeweils eine Halteeinrichtung für den Speisereinsatz vorgesehen, z.B. ein Dorn zur Fixierung der Lage des Speisereinsatzes.
Nach dem Aufsetzen der Speiser auf die Modellplatte (mit oder ohne Dorn) wird dann der Formstoff (in der Regel Formsand, in Einzelfällen auch andere körnige Materialien) so auf die Modellplatte aufgebracht, daß er den Speisereinsatz umhüllt. In einem weiteren Schritt wird der Formstoff dann verdichtet und der Speiser dabei mehr oder weniger fest vom verdichteten Formstoff eingeschlossen. Man spricht insoweit auch von Formpressung.
Im Bestreben, eine punktuelle Dichtspeisung auch kleiner Gußstückbereiche zu erreichen, werden die Stell- oder Aufsatzflächen moderner Speisereinsätze häufig sehr klein ausgelegt. Der Speisereinsatz verjüngt sich somit in Richtung auf seine Aufsatzfläche beträchtlich, und beim Aufbringen des Formstoffs auf die Formplatte tritt häufig das Folgeproblem auf, daß die Verdichtung des Formstoffs in der Umgebung des Speiserhalses nahe der Aufsatzfläche nur unzureichend erfolgt, was beim Abguß nachteilig ist.
Ein weiteres Problem besteht darin, daß insbesondere exotherme aber auch isolierende Speiser den mit dem Vorgang der Formstoff-Verdichtung verbundenen Stauchkräften häufig nicht standhalten können und daher zerbrechen. Ein solches Zerbrechen führt dann unvermeidlich zu einer unkontrollierten Speisung des Gußstücks.
Trotz dieses seit längerem bekannten Problems geht der Trend zu immer höheren Verdichtungsdrücken, was die Hersteller von Speisereinsätzen bereits dazu gezwungen hat, besonders stabile, dickwandige Speisereinsätze anzubieten, die aufgrund des erhöhten Materialbedarfs allerdings recht teuer sind.
Seit einigen Jahren wird versucht, den mit der Erhöhung des Verdichtungsdrucks verknüpften Problemen mittels sogenannter Federdorne zu begegnen. Federdorne sind ebenso wie feste (starre) Dorne dazu bestimmt, einen Speisereinsatz in einer vorbestimmten Position zu halten. Sie umfassen in der Regel (a) ein röhrenförmiges Element zur Befestigung auf einer Modellplatte, (b) eine in dem röhrenförmigen Element angeordnete Feder und (c) ein auf der Feder ruhendes, in Längsrichtung innerhalb des röhrenförmigen Elements teleskopartig verschiebbares Dornspitzen-Element. Ein solcher Federdorn wird üblicherweise auf der Modellplatte (Modelloberfläche) befestigt, und auf ihn wird dann ein Speisereinsatz aufgesetzt, dessen Unterfläche sich in der Ausgangsanordnung vor dem Einfüllen des Formstoffs in einem vorbestimmten Abstand zur Modelloberfläche befindet. Beim anschließenden Einfüllen des Formstoffs läuft dieser daher auch zwischen Modelloberfläche und Speiser(-unterfläche). Und somit besteht bei der anschließenden Verdichtung (Formpressung) kein direkter Kontakt zwischen Speiser und Modelloberfläche, so daß eine Zerstörung des Speisers auch bei Applikation hoher Verdichtungsdrücke in der Regel verhindert wird. Auf den auf den Federdorn aufgesetzten Speiser-Einsatz wirkt beim Formpressen eine Kraft in Richtung auf die Modellplatte, die dazu führt, daß der Speiser-Einsatz gegen die Wirkung der Federkraft in Richtung auf die Modellplatte gepresst wird. Die in dem Spalt zwischen Speiser-Einsatz und Modellplatte befindliche Formstoff-Schicht wird dabei verdichtet.
Der Einsatz von Federdornen hat zwar zur Linderung der vorstehend geschilderten Probleme beigetragen, bringt aber wiederum eine Reihe anderer Probleme mit sich.
So erfolgt die Trennung des sogenannten Restspeisers (d.h. des nach dem Guß im Speisereinsatz verbleibenden, erstarrten Metalls) vom Gußstück häufig nicht unmittelbar an der Sollbruchstelle, d.h. der gedanklichen Grenzfläche zwischen Gußstück und Speiser, sondern in einem beträchtlichen Abstand vom Gußstück, irgendwo im Bereich des häufig mehrere Zemtimeter breiten Sandspalts zwischen Gußstück und Speisereinsatz.
Ein sinnvoller Einsatz von Brechkernen (auch als Einschnür-, Abschlag- oder Kragenkerne bezeichnet), die im Bereich der Gießereitechnik ansonsten eingesetzt werden, um eine präzise lokalisierte Trennung von Restspeiser und Gußstück zu erreichen, war bei Verwendung von Federdornen bislang nicht möglich. Der Putzaufwand ist daher im Regelfall recht hoch. Federdorne sind überdies recht teuer und verschleißanfällig.
Angesichts der vorstehend geschilderten Probleme war es die primäre Aufgabe der vorliegenden Erfindung, einen Speisereinsatz anzugeben, der im Gießereibetrieb auch hohen Verdichtungsdrücken standhält.
Die Stellfläche des anzugebenden Speisereinsatzes sollte dabei vorzugsweise ohne relevante Stabilitätsnachteile klein bemessen werden können.
Außerdem sollte der Einsatz der teuren und verschleißanfälligen Federdorne zumindest im Regelfall entbehrlich sein.
Und schließlich sollte der anzugebende Speisereinsatz auch zusammen mit einem Brechkern eingesetzt werden können, der die Trennung des Restspeisers vom Gußstück erleichtert. Ein derartiger Brechkern wird dabei im Rahmen des vorliegenden Textes als Bestandteil des Speisereinsatzes aufgefaßt und nicht als separates Bauteil.
Die gestellte Aufgabe wird gelöst durch Angabe eines geschlossenen Speisereinsatzes der eingangs genannten Art, wobei der Speisereinsatz zumindest zwei entlang einer Speiser-Längsachse (teleskopartig) ineinander verschiebbare Formelemente umfaßt, die den Hohlraum zur Aufnahme flüssigen Metalls seitlich umschließen. Ein erstes Formelement ist dabei näher am Durchtritt des Speisereinsatzes angeordnet als ein zugeordnetes zweites Formelement.
Die Verschiebbarkeit von erstem und zweitem Formelement ineinander bewirkt, daß die während eines üblichen Verdichtungsvorgangs in Speiser-Längsrichtung auf den erfindungsgemäßen Speisereinsatz wirkenden hohen Verdichtungsdrücke (Stauchkräfte) nicht zu dessen Zerstörung führen, sondern lediglich zu einem tolerierten, durch die Verdichtbarkeit des umgebenden Formmaterials (Formsands) begrenzten Einschub des einen Formelements in das andere. Die Stellfläche des Speisereinsatzes kann dabei klein und die Speiserwandung vergleichsweise dünn sein.
Die Formelemente sollten aus ihrer Ausgangsanordnung heraus, d.h. aus der Relativanordnung heraus, die für die Formelemente vor dem Umhüllen des Speisereinsatzes mit Formmaterial vorgesehen ist, zumindest um 5 mm, vorzugsweise um 10 mm ineinandergeschoben werden können.
Der Speisereinsatz kann dabei den Erfordernissen des Einzelfalls entsprechend beispielsweise nach Art eines Kompakt- oder Kugelspeisers ausgelegt oder mit einer im oberen Bereich nahezu zylindrischen Speiserkappe versehen sein.
Bei Verwendung eines erfindungsgemäßen Speisereinsatzes wird es nur in Ausnahmefällen vorteilhaft sein, einen Federdorn einzusetzen, denn dessen oben beschriebene Wirkung entspricht im wesentlichen der durch den erfindungsgemäßen Speisereinsatz erreichten.
Der Einsatz von Federdornen mit den erfindungsgemäßen Speisereinsätzen ist daher zwar nicht ausgeschlossen, in der Regel kann aber auf sie verzichtet werden.
Die Verwendung eines festen Zentrierdornes ist hingegen in vielen Fällen sinnvoll. Ein bevorzugter erfindungsgemäßer Speisereinsatz ist daher zur Verwendung mit einem Zentrierdorn eingerichtet, wobei er insbesondere als selbstzentrierender Speiser ausgebildet sein kann. Ein solcher selbstzentrierender Speiser besitzt einen oder mehrere Wandungsabschnitte, die sich in Richtung der im Betrieb oberen (dem Speiserdurchtritt gegenüberliegenden) Abschluß-Wandung des Speisers so verjüngen, daß eine Dornspitze beim Positionieren des Speisereinsatzes entlang dieser Abschnitte in ihre Sollposition geführt wird. In dem (oberen) Wandungsteil, welches dem Speiserdurchtritt gegenüberliegt, ist dann häufig eine Zentrierausnehmung zur Aufnahme der Dornspitze vorgesehen, vgl. unsere DE-Gebrauchsmusterschrift 93 03 392. Ein selbstzentrierender erfindungsgemäßer Speiser ist insbesondere für den Einsatz an schnellen Formanlagen geeignet.
Erstes und zweites Formelement eines erfindungsgemäßen Speisereinsatzes können nach ihrer Herstellung miteinander verklebt oder sonstwie verbunden werden. Die Formelemente können aber auch als separate Teile gelagert und je nach Bedarf kombiniert (aufeinandergestellt) werden. Baugleiche erste (oder zweite) Formelemente können dabei mit bauartlich (z.B. in ihrer Größe) unterschiedlichen zweiten (oder ersten) Formelementen zu jeweiligen erfindungsgemäßen Speisereinsätzen kombiniert werden.
Besonders bevorzugt sind erfindungsgemäße Speisereinsätze, bei denen am ersten und/oder zweiten Formelement ein oder mehrere Halteelemente angeordnet sind,
  • über die das erste Formelement (in der Ausgangsanordnung) das zweite Formelement trägt und
  • die so abtrennbar oder deformierbar sind, daß ein ineinander Verschieben der zwei Formelemente (aus der Ausgangsanordnung heraus) entlang der Speiser-Längsachse möglich ist.
Die Halteelemente sind vorzugsweise integraler Bestandteil des jeweiligen Formelelements, und sie können bei der Herstellung des jeweiligen Formelements ohne Zusatzschritt an dieses angeformt werden. Es kann sich bei ihnen insbesondere um Stand- oder Klemmvorsprünge, umlaufende Standringe, in Eingriff mit komplementären Vertiefungen bringbare Stifte oder dergleichen handeln. Wichtig ist dabei jeweils, daß die Halteelemente so ausgelegt sind, daß sie im Gießereibetrieb, wenn erstes und zweites Formelement noch in etwa in ihrer Ausgangsanordnung vorliegen, der Formstoff aber bereits in den Formkasten eingefüllt ist, durch den anschließenden Formstoff-Verdichtungsvorgang von ihrem zugehörigen Formelement abgetrennt oder zumindest soweit deformiert werden können, daß sich erstes und zweites Formelement ineinanderschieben können. Die Halteelemente sind daher vorzugsweise nur über kleine Verbindungsflächen mit ihrem zugehörigen Formelement verbunden.
Alternativ zum Einsatz von Halteelementen ist die Verwendung eines Federdorns. Ein solcher kann nämlich ein zweites, im Betrieb oberes Formelement in der vorgesehenen Ausgangsposition relativ zur Modelloberfläche und zum ersten Formelement halten, ohne daß der erfindungsgemäße Speisereinsatz selbst Halteelemente umfaßt. Da Federdorne jedoch wie eingangs erwähnt recht teuer und verschleißanfällig sind, wird ihr Einsatz auf Ausnahmefälle begrenzt sein.
Vorzugsweise ist das dem Durchtritt des Speisereinsatzes nähere oder diesen bildende erste Formelement so ausgestaltet, daß es (gegebenenfalls nach Abtrennung oder Deformierung von Halteelementen) in das zweite Formelement eingeschoben werden kann. Die Außenabmessungen des ersten, im Betrieb unteren, dem Gußstück näheren Formelements sind also vorzugsweise kleiner als die Innenabmessungen des zugehörigen zweiten, im Betrieb oberen Formelements. Diese Ausgestaltung ist im Vergleich mit der umgekehrten (ebenfalls erfindungsgemäßen) Ausgestaltung, bei der das im Betrieb obere Formelement in das untere Formelement einschiebbar ist, vorteilhaft, weil sie sicherstellt, daß während des Einfüllvorgangs keine störenden Mengen an Formmaterial in das erste Formelement eindringen.
Besonders vorteilhaft ist eine Ausgestaltung, bei der das erste, im Betrieb untere Formelement so ausgebildet ist, daß es (teleskopartig) in das zweite Formelement eingeschoben werden kann, wobei die Außenwandung des ersten Formelements formschlüssig in die Innenwandung des zweiten Formelements eingreift. Die Spaltbreite zwischen der Außenwandung des ersten Formelements und der Innenwandung des zweiten Formelements beträgt dabei in der vorgesehenen Ausgangsanordnung der Formelemente, die gegebenenenfalls durch die Position der Halteelemente gekennzeichnet ist, vorzugsweise maximal 3 mm, vorteilhafterweise nicht mehr als 1,5 mm. Bei dieser Ausgestaltung können während des Formstoff-Einfüllens keine relevanten Formstoffmengen in den Spalt zwischen den Formelementen eindringen, so daß deren Relativ-Verschiebbarkeit zumindest nicht wesentlich beeinträchtigt wird.
Die Formelemente sollten sich aus ihrer vorgesehenen, gegebenenfalls durch die Halteelemente definierten Ausgangsanordnung heraus in Speiser-Längsrichtung um mindestens 5 mm, vorzugsweise um mindestens 10 mm ineinanderschieben lassen, bevor es aufgrund der bei weiterem Ineinanderschieben zwischen den Formelementen auftretenden Kräfte zu einem Reißen oder Zerbrechen des ersten oder zweiten Formelements kommt.
Besonders günstig ist es, wenn das erste und/oder das zweite Formelement ein oder mehrere Führungselemente umfaßt, die eingerichtet sind, ein Verkanten oder Verkippen der zwei Formelemente relativ zueinander zumindest im wesentlichen zu verhindern, wenn diese (aus der Ausgangsanordnung heraus) entlang der Speiser-Längsachse ineinander verschoben werden. Diese Führungselemente besitzen vorzugsweise die Form sich in Speiser-Längsrichtung erstreckender dünner Leisten oder Wülste, und sie befinden sich vorteilhafterweise auf der Außenwandung desjenigen Formelements, welches in das Partner-Formelement eingeschoben werden kann; in einer Vielzahl von Fällen sind sie also auf der Außenseite des ersten Formelements angeordnet.
Vorteilhafterweise ist in das erste Formelement eines erfindungsgemäßen Speisereinsatzes eine Brechkante integriert, die gegebenenfalls Teil eines Brechkerns ist, der dann im Betrieb direkt auf die Modellplatte aufgesetzt werden kann. Diese Integration einer Brechkante (eines Brechkerns) sorgt im Gießereibetrieb für eine deutliche Verringerung des Putzaufwands im Vergleich mit den bekannten Speisereinsätzen, die zur Verwendung mit Federdornen vorgesehen sind und deshalb keine Brechkante (keinen Brechkern) besitzen. Die Stellfläche des erfindungsgemäßen Speisers kann insbesondere bei Verwendung einer Brechkante (eines Brechkerns) sehr klein gehalten werden.
Der erfindungsgemäße Speisereinsatz bzw. die zugehörigen Formelemente können teilweise oder vollständig aus isolierenden oder exothermen Formmassen hergestellt sein. Wird in das erste Formelement ein Brechkern integriert, so ist dieser typischerweise nicht exotherm, das zugehörige zweite Formelement wird dann aber häufig exotherm sein.
Die erfindungsgemäßen Speisereinsätze umfassen zwei oder mehr Formelemente, die bei separater Lagerung bedarfsabhängig kombiniert werden können. Die Erfindung betrifft daher auch einen Bausatz zum Herstellen eines erfindungsgemäßen Speisereinsatzes, umfassend ein erstes Formelement und ein zweites Formelement, die so angeordnet werden können, daß sie entlang einer Speiser-Längsachse ineinander verschiebbar sind. Bevorzugte Ausgestaltungen der zum Bausatz gehörigen Formelemente sind den obigen Ausführungen zum erfindungsgemäßen Speisereinsatz zu entnehmen.
Gemäß einem weiteren Aspekt betrifft die Erfindung ein Verfahren zur Anordnung eines Speisereinsatzes in einer Gießform, mit folgenden Schritten:
  • Bereitstellen eines erfindungsgemäßen Speisereinsatzes in einer seiner vorstehend beschriebenen Ausgestaltungen,
  • Anordnen des Speisereinsatzes in einer Formmaschine (dem Raum über einer Modellplatte, der in der Regel von einem aufgesetzten Formkasten umgrenzt wird) so daß das erste und das zweite Formelement eine (Ausgangs-)Anordnung einnehmen, aus der heraus die zwei Formelemente entlang einer Speiser-Längsachse ineinander verschiebbar sind,
  • Einfüllen von Formstoff in die Formmaschine (den auf die Modellplatte aufgesetzten Formkasten), so daß die Außenwandungen des Speisereinsatzes mit dem Formmaterial kontaktiert sind,
  • Verdichten des Formstoffs (Formpressung), so daß das erste und das zweite Formelement (gegebenenfalls nach Abtrennung oder Deformierung von Halteelementen) entlang der Speiser-Längsachse ineinander verschoben werden.
Die Formmaschine umfaßt dabei in üblicher Weise eine Modellplatte (d.h. eine Modelleinrichtung für Formmaschinen, in der Regel bestehend aus einer flachen Platte mit eingegossenen oder mechanisch befestigten Modellen), und das erste Formelement wird vorzugsweise so angeordnet, daß es vor dem Verdichtungsvorgang in unmittelbarem Kontakt mit der Modellplatte (der Modelloberfläche) steht. Dies gilt insbesondere dann, wenn in das erste Formelement ein Brechkern integriert ist.
Hinsichtlich weiterer bevorzugter Ausgestaltungen des erfindungsgemäßen Verfahrens wird auf die obigen Erläuterungen zu bevorzugten Speisereinsätzen verwiesen.
Nachfolgend werden bevorzugte Ausgestaltungen der Erfindung anhand der beigefügten Figuren näher erläutert. Es stellen dar:
Fig. 1a
Längsschnitt durch einen erfindungsgemäßen Speisereinsatz in seiner Ausgangsanordnung, mit zwei ineinander verschiebbaren Formelementen, wobei der Speisereinsatz mittels eines Zentrierdorns auf einer Modellplatte befestigt ist,
Fig. 1b
Länsgsschnitt durch das untere (erste) Formelement des Speisereinsatzes gemäß Fig. 1a,
Fig. 1c
Draufsicht auf das untere (erste) Formelement des Speisereinsatzes gemäß Fig. 1a,
Fig. 2
Längsschnitt durch einen alternativen Speisereinsatz mit eingeformter Brechkante
Fig. 3a - d
Schematische Darstellung eines erfindungsgemäßen Verfahrens zur Anordnung eines erfindungsgemäßen Speisereinsatzes in einer Gießform.
Der in Fig. 1a in seiner Ausgangsanordnung (vor dem Einfüllen von Formstoff und vor dem Verdichtungsvorgang) dargestellte erfindungsgemäße Speisereinsatz 2 umfaßt ein erstes (unteres) Formelement 4 und ein zweites (oberes) Formelement 6, wobei beide Formelemente im wesentlichen rotationssymmetrisch ausgebildet sind. Die in Längsrichtung verlaufende Rotationsachse des Spelsereinsatzes 2 (Speiser-Längsachse) ist durch eine gestrichelte Linie 20 gekennzeichnet.
Das erste Formelement 4 ist in Fig. 1b noch einmal separat im Länsgsschnitt und in Fig. 1b in der Draufsicht dargestellt. Es ist aus einer Formmasse (z.B. isolierend oder exotherm) geformt und relativ dünnwandig ausgeführt. Die Stellfläche des ersten Formelements 4, mit der dieses auf einer Modellplatte 22 aufsitzt ist klein, der Stellflächendurchmesser beträgt nur etwa 40 mm, der Durchmesser des innerhalb der Stellfläche liegenden Speiserdurchtritts nur etwa 20 mm. Ausgehend von seiner Stellfläche weitet sich das erste Formelement außen bis auf einen maximalen Durchmesser von etwa 77 mm konisch auf, und der so definierte konische Abschnitt 34 geht dann in einen oberen Abschnitt 44 über, der sich nach oben hin sehr geringfügig bis auf einen Durchmesser von etwa 76 mm konisch verjüngt.
Schon im Bereich des oberen Abschnitts 44, aber dem unteren konischen Abschnitt 34 benachbart, sind an das erste Formelement 4 insgesamt vier Haltevorsprünge 12 angeformt. Die (gedachten) Verbindungsflächen zwischen Haltevorsprüngen 12 und Formelement 4 sind jeweils recht klein, so daß die Haltevorsprünge 12 mit geringem Kraftaufwand mechanisch vom Formelement abgetrennt werden können.
Den Haltevorsprüngen 12 zugeordnet sind ebenfalls insgesamt vier Führungs- und Abstandhalterleisten 14, die sich ausgehend von den Haltevorsprüngen in Längsrichtung des Speisereinsatzes 2 aufwärts erstrecken und gegenüber der Außenwandung des oberen Abschnitts 44 des unteren Formelements 4 jeweils um etwa 2 mm vorspringen.
Gemäß Fig. 1a mit seinem unteren Rand 26 auf die Haltevorsprünge 12 des unteren Formelements 4 aufgesetzt ist das zweite (obere) Formelement 6. Es ist aus einer exothermen Formmasse geformt und ebenfalls recht dünnwandig ausgebildet. Die Außenkontur des oberen Formelements 6 verjüngt sich nach oben hin leicht in Richtung auf einen auf der Außenseite im wesentlichen flachen oberen Wandungs-Abschluß 36. Die Innenwandung des oberen Formelements 4 verläuft, ausgehend von dessen unterem Rand 26 zunächst parallel zur Außenwandung des oberen Abschnitts 44 des unteren Formelements 4 und geht dann in einen sich konisch nach oben verjüngenden Wandungsabschnitt 46 über, an dem entlang die Spitze eines Zentrierdorns beim Positionieren des Speisereinsatzes geführt werden kann. Der konische Wandungsabschnitt 46 mündet schließlich in eine in der Speiserachse liegende, durch den Abschluß 36 hindurchgehende Zentrierausnehmung 56 zur Aufnahme einer Dornspitze.
Die beiden Formelemente 4, 6 sind so ausgestaltet, daß die vier Führungsleisten 14 des unteren Formelements 4 reibschlüssig an der Innenwandung des oberen Formelements 6 anliegen, wenn dieses, wie in Fig. 1a dargestellt, in der Ausgangsanordnung auf den vier Haltevorsprüngen des unteren Formelements 4 ruht. Sie bewirken daher einen Preßsitz und verhindern eine unerwünschte Lateralverschiebung der beiden Formelemente; außerdem definieren sie eine einheitliche Breite des Spalts zwischen dem unteren (hier inneren) und dem oberen (hier äußeren) Formelement.
In Fig. 1a ist schließlich auch ein Zentrierdorn 16 eingezeichnet, der an der Modellplatte 22 befestigt ist und sich von dort aus (immer in der Speiser-Rotationsachse 20 liegend) durch den Speiserdurchtritt 10 und den Speiser-Hohlraum hindurch bis in die Zentrierausnehmung 56 hinein erstreckt.
Die zwei Formelemente 4, 6 des Speisereinsatzes 2 lassen sich teleskopartig ineineinanderschieben, wenn parallel zur Rotationsachse 20 eine auf die Modellplatte 22 gerichtete Kraft (Pfeil F) auf den Speisereinsatz wirkt, wie dies beispielsweise nach dem Einfüllen von Formstoff beim Formpressen der Fall ist (vgl. Fig. 3a-d). Die Kraft muß hierzu nur ausreichend groß sein, um die Haltevorsprünge 12 vom unteren Formelement 4 abzutrennen.
Die Innenwandung des zweiten (oberen, äußeren) Formelements nähert sich beim Aufschieben auf das erste (untere, innere) Formelement dessen Außenwandung kontinuierlich und gelangt schließlich, nach einem Verschiebungsweg von ca. 15 mm, rundum in Anlage mit ihr. Ein solcher Verschiebungsweg reicht für viele Verdichtungsvorgänge aus. Die Endposition des unteren Randes 26 des oberen Formelements 6 nach Zurücklegen des genannten Verschiebungsweges ist durch eine gestrichelte Linie angedeutet. Die Führungsleisten 14 werden beim Ineinanderschieben der Formelemente 4,6 deformiert oder abgetrennt und/oder sie schneiden in die Innenwandung des äußeren (oberen) Formelements 6 ein.
Die Zentrierausnehmung 56 erstreckt sich durch die obere Abschlußwandung des Speisereinsatzes 2 hindurch und die Spitze des Zentrierdorns umfaßt einen zylindrischen Abschnitt, der deutlich länger ist als 15 mm und dessen Durchmesser an den Innendurchmesser der Zentrierausnehmung 56 angepaßt ist. Deshalb kommt es beim teleskopartigen Aufschieben des oberen auf das untere Formelement nicht zu einer Behinderung; die Dornspitze tritt dabei vielmehr ungehindert aus dem Speisereinsatz hervor.
Der untere Rand 26 der das untere Formelement 4 überkragenden Wandung des oberen Formelements 6 wirkt während eines Verdichtungsvorgangs wie eine Stempelfläche auf den zu verdichtenden Formstoff zwischen Rand 26 und Modellplatte 22. Die (auch) bei einem Verdichtungsvorgang unter Verwendung des Speisereinsatzes 2 ablaufenden Vorgänge werden unten anhand der Fig. 3a-d noch näher erläutert.
In Fig. 2 ist ein alternativer erfindungsgemäßer Speisereinsatz 202 im Längsschnitt dargestellt. Im Unterschied zu dem Speisereinsatz 2 aus den Fig. 1a-c umfaßt das erste (untere) Formelement 204 des Speisereinsatzes 202 eine Brechkante 214. Der Speisereinsatz 202 ist überdies kompakter und dickwandiger ausgebildet als der Speisereinsatz 2. Die auch hier vorhandene Zentrierausnehmung 256 geht nicht durch den oberen Speiserabschluß hindurch, erstreckt sich aber in Längsrichtung des Speisereinsatzes so weit, daß ein zugeordneter Zentrierdorn ausreichend weit in sie eingeschoben werden kann, wenn das obere Formelement 206 teleskopartig auf dem unteren Formelement 204 in Richtung Modellplatte verschoben wird.
In den Fig. 3a-d ist ein erfindungsgemäßes Verfahrens zur Anordnung eines erfindungsgemäßen Speisereinsatzes in einer Gießform schematisch dargestellt. Die nachfolgenden Erläuterungen treffen für den Speisereinsatz gemäß den Fig. 1a-c ebenso zu wie für den Speisereinsatz aus Fig. 2.
Gemäß Fig. 3a wird ein erstes Formelement 104 auf einen Zentrierdorn 116 aufgesetzt, der auf einer Modellplatte 122 befestigt ist. Das Formelement 104 wird dabei in unmittelbaren Kontakt mit der Modellplatte 122 gebracht.
Anschließend wird gemäß Fig. 3b ein zweites Formelement 106 auf das erste Formelement 104 so aufgesetzt, daß es von diesem getragen wird. Dazu sind beispielsweise Haltevorsprünge 112 vorgesehen, die in ihrer Gestalt und Funktion den anhand der Fig. 1a-c erläuterten Haltevorsprüngen 12 entsprechen. Es liegt nun ein zusammengesetzter Speisereinsatz 102 in seiner Ausgangsanordnung vor, vgl. Fig. 1a.
In einem in Fig. 3c wiedergegebenen Folgeschritt wird der Speisereinsatz 102 mit Formsand 150 oder einem anderen Formstoff umhüllt (Umhüllung nur im unteren Bereich angedeutet).
Nach einem nicht näher dargestellten Verdichtungsvorgang ergibt sich die Anordnung gemäß Fig. 3d. Die Haltevorsprünge 112 sind vom ersten Formelement 104 abgebrochen, das zweite (obere) Formelement 106 ist teleskopartig ein Stück weit auf das erste (untere) Formelement 104 aufgeschoben. Der Verschiebungsweg D des zweiten Formelements 106 auf dem in seiner Position fixierten ersten Formelement 104 ist dabei durch das Maß der Formstoffverdichtung vorgegeben und begrenzt.
Da die das erste Formelement 104 überkragende Außenwandung des zweiten Formelements 106 auf die zwischen ihr und der Modellplatte 122 während des Verdichtungsvorganges wie ein Stempel wirkt, kommt es in diesem Bereich zu einer hervorragenden Formstoffverdichtung (in Fig. 3d durch eine im Vergleich mit Fig. 3c dichtere Punktierung des Formsandes 150 angedeutet).

Claims (10)

  1. Speisereinsatz zur Verwendung beim Gießen von Metallen in Gießformen, mit einem Hohlraum zur Aufnahme flüssigen Metalls, dadurch gekennzeichnet, daß der Speisereinsatz (2, 102, 202) zumindest zwei entlang einer Speiser-Längsachse (20) ineinander verschiebbare Formelemente (4, 104, 204; 6, 106, 206) umfaßt, die den Hohlraum zur Aufnahme flüssigen Metalls seitlich umschließen.
  2. Speisereinsatz nach Anspruch 1, dadurch gekennzeichnet, daß am ersten, dem Durchtritt des Speisereinsatzes (2, 102, 202) näheren oder diesen bildenden Formelement (4, 104, 204) und/oder am zweiten Formelement (6, 106, 206) ein oder mehrere Halteelemente (12, 112) angeordnet sind,
    über die das erste Formelement (4, 104, 204) das zweite Formelement (6, 106, 206) trägt und
    die so abtrennbar oder deformierbar sind, daß ein ineinander Verschieben der zwei Formelemente entlang der Speiser-Längsachse (20) möglich ist.
  3. Speisereinsatz nach Anspruch 1 oder 2, dadurch gekennzeichnet, daß das erste Formelement (4, 104, 204) so ausgestaltet ist, daß es in das zweite Formelement (6, 106, 206) eingeschoben werden kann.
  4. Speisereinsatz nach Anspruch 3, dadurch gekennzeichnet, daß das erste Formelement (4, 104, 204) so ausgestaltet ist, daß es in das zweite Formelement (6, 106, 206) eingeschoben werden kann, wobei die Außenwandung des ersten Formelements formschlüssig in die Innenwandung des zweiten Formelements eingreift.
  5. Speisereinsatz nach einem der vorangehenden Ansprüche, dadurch gekennzeichnet, daß das erste und/oder das zweite Formelement ein oder mehrere Führungselemente (14) umfaßt, die eingerichtet sind, ein Verkanten oder Verkippen der zwei Formelemente (4, 104, 204; 6, 106, 206) relativ zueinander zumindest im wesentlichen zu verhindern, wenn diese entlang der Speiser-Längsachse (20) ineinander verschoben werden.
  6. Speisereinsatz nach einem der vorangehenden Ansprüche, dadurch gekennzeichnet, daß in das erste Formelement (4, 104, 204) eine Brechkante (214) integriert ist, gegebenenfalls als Teil eines Brechkerns.
  7. Speisereinsatz nach einem der vorangehenden Ansprüche, dadurch gekennzeichnet, daß in das erste und/oder zweite Formelement eine Führung für einen Zentrierdorn (16, 116) integriert ist.
  8. Bausatz zum Herstellen eines Speisereinsatzes (2, 102, 202) nach einem der vorangehenden Ansprüche, umfassend ein erstes Formelement (4, 104, 204) und ein zweites Formelement (6, 106, 206), die so angeordnet werden können, daß sie entlang einer Speiser-Längsachse (20) ineinander verschiebbar sind.
  9. Verfahren zur Anordnung eines Speisereinsatzes in einer Gießform, mit folgenden Schritten:
    Bereitstellen eines Speisereinsatzes (2, 102, 202) nach einem der Ansprüche 1-7,
    Anordnen des Speisereinsatzes in einer Formmaschine, so daß das erste und das zweite Formelement (4, 104, 204; 6, 106, 206) in einer Anordnung vorliegen, aus der heraus die zwei Formelemente entlang einer Speiser-Längsachse (20) ineinander verschiebbar sind,
    Einfüllen von Formmaterial in die Formmaschine, so daß die Außenwandungen des Speisereinsatzes (2, 102, 202) mit dem Formmaterial kontaktiert sind,
    Verdichten des Formsands, so daß das erste und das zweite Formelement entlang der Speiser-Längsachse (20) ineinander verschoben werden.
  10. Verfahren nach Anspruch 9, wobei die Formmaschine eine Modellplatte (22, 122) umfaßt und das erste Formelement (4, 104, 204) so in die Formmaschine eingesetzt wird, daß es in unmittelbarem Kontakt mit der Modellplatte steht.
EP01117412A 2000-08-08 2001-07-19 Speisereinsatz Expired - Lifetime EP1184104B1 (de)

Priority Applications (1)

Application Number Priority Date Filing Date Title
DE20122062U DE20122062U1 (de) 2000-08-08 2001-07-19 Speisereinsatz

Applications Claiming Priority (2)

Application Number Priority Date Filing Date Title
DE10039519A DE10039519B4 (de) 2000-08-08 2000-08-08 Speisereinsatz
DE10039519 2000-08-08

Publications (2)

Publication Number Publication Date
EP1184104A1 true EP1184104A1 (de) 2002-03-06
EP1184104B1 EP1184104B1 (de) 2004-12-01

Family

ID=7652277

Family Applications (1)

Application Number Title Priority Date Filing Date
EP01117412A Expired - Lifetime EP1184104B1 (de) 2000-08-08 2001-07-19 Speisereinsatz

Country Status (4)

Country Link
EP (1) EP1184104B1 (de)
AT (1) ATE283740T1 (de)
DE (2) DE10039519B4 (de)
ES (1) ES2232543T3 (de)

Cited By (28)

* Cited by examiner, † Cited by third party
Publication number Priority date Publication date Assignee Title
WO2005051568A1 (en) * 2003-10-28 2005-06-09 Foseco International Limited Feeder element for metal casting
EP1728570A1 (de) 2005-06-04 2006-12-06 GTP-Schäfer Giesstechnische Produkte GmbH Speiser mit nachgiebigem Speiserunterteil
EP1775045A2 (de) 2005-10-14 2007-04-18 Hofmann Ceramic GmbH Speisereinsatz für eine Giessform
EP1920859A1 (de) * 2006-10-31 2008-05-14 GTP-Schäfer Giesstechnische Produkte GmbH Zweiteiliger Speisereinsatz mit nachgiebigem Speiserunterteil
EP1985392A1 (de) * 2007-04-18 2008-10-29 GTP-Schäfer Giesstechnische Produkte GmbH Speisereinsatz mit metallisch ummanteltem Bodenbereich
AU2007324542B2 (en) * 2006-11-24 2011-06-02 Chemex Gmbh Feeder insert and feeder element
DE10059481B4 (de) * 2000-11-30 2012-02-23 AS Lüngen GmbH Speiser mit einem rohrähnlichen Körper
DE202011103718U1 (de) 2011-02-17 2012-07-31 Foseco International Ltd. Speiserelement
DE202012102546U1 (de) 2012-04-30 2012-08-07 Foseco International Ltd. Einschnürspeiser (Neck-Down Feeder)
DE202012102418U1 (de) 2012-05-15 2013-05-16 Foseco International Ltd. Speiserelement
WO2014083155A1 (de) 2012-11-29 2014-06-05 Gtp Schäfer Giesstechnische Produkte Gmbh Verfahren zur herstellung eines einen exothermen speiserkorpus sowie eine isolierende aussenschale aufweisenden speisers
WO2014191423A1 (de) * 2013-05-27 2014-12-04 Chemex Gmbh Speisereinsatz, formelement für den speisereinsatz und verfahren zum giessen von metall unter verwendung derselben
CN104994973A (zh) * 2013-02-15 2015-10-21 凯美克斯有限责任公司 冒口插件和用于将其设置在铸模中的方法
CN105364013A (zh) * 2014-08-07 2016-03-02 胡坦斯·阿尔伯图斯化学厂有限公司 在制造能分开的铸模时应用的装置
DE202016104786U1 (de) 2015-09-02 2016-11-21 Foseco International Ltd. Speiserelement
DE202016104787U1 (de) 2015-09-02 2016-11-28 Foseco International Ltd. Speisersystem
WO2017025702A1 (en) * 2015-09-02 2017-02-16 Foseco International Limited Feeder system
CN106660111A (zh) * 2014-09-02 2017-05-10 福塞科国际有限公司 进料系统
DE102016202795A1 (de) 2016-02-23 2017-08-24 HÜTTENES-ALBERTUS Chemische Werke Gesellschaft mit beschränkter Haftung Verwendung einer Zusammensetzung als Bindemittelkomponente zur Herstellung von Speiserelementen nach dem Cold-Box-Verfahren, entsprechende Verfahren und Speiserelemente
DE202017103989U1 (de) 2017-04-28 2017-09-11 Foseco International Limited Speisersystem
RU2717433C2 (ru) * 2016-06-17 2020-03-23 Фосеко Интернэшнл Лимитед Модульная система питателя
DE102019102449A1 (de) 2019-01-31 2020-08-06 Chemex Foundry Solutions Gmbh Einteiliger Speiserkörper zur Verwendung beim Gießen von Metallen
CN113369442A (zh) * 2021-05-25 2021-09-10 庆铃汽车(集团)有限公司 用于铸件内部缺陷改善的注射冒口及冒口装置
DE102020132342A1 (de) 2020-12-04 2022-06-09 Chemex Foundry Solutions Gmbh Speisereinsatz zur Verwendung beim Gießen von Metallen in Gießformen
DE102021104435A1 (de) 2021-02-24 2022-08-25 Chemex Foundry Solutions Gmbh Vertikal geteilter Speiser zur Verwendung beim Gießen von Metallen in Gießformen sowie Verfahren zu dessen Herstellung
DE202021106147U1 (de) 2021-11-10 2022-11-14 Ask Chemicals Gmbh Speiser
US11717879B2 (en) 2016-04-08 2023-08-08 HÜTTENES-ALBERTUS Chemische Werke Gesellschaft mit beschränkter Haftung Use of closed-pore microspheres of expanded pearlite as a filler for the production of mouldings for the foundry industry
WO2024246343A1 (en) 2023-06-01 2024-12-05 Foseco International Limited Feeder

Families Citing this family (20)

* Cited by examiner, † Cited by third party
Publication number Priority date Publication date Assignee Title
DE20115140U1 (de) * 2000-11-30 2002-01-31 AS Lüngen GmbH & Co. KG, 56170 Bendorf Speiser mit einem rohrähnlichen Körper
DE10156571C1 (de) * 2001-11-20 2003-01-16 Gtp Schaefer Giestechnische Pr Speisereinsatz mit Schutzkappe
EP1526645B1 (de) 2003-10-20 2011-11-23 Werner Turck GmbH & Co. KG Induktiver Näherungsschalter mit Differenzspulenanordnung
EP1732719B1 (de) * 2004-03-31 2009-07-01 AS Lüngen GmbH Speiser mit verformbarer tülle
DE102004017062A1 (de) * 2004-04-02 2005-10-20 Luengen Gmbh & Co Kg As Schirm- oder Dübelspeiser
DE102005019385A1 (de) * 2005-04-26 2006-11-02 AS Lüngen GmbH & Co. KG Filterspeiser und Verfahren zur Herstellung einer Giessform
DE102008009730A1 (de) * 2008-02-19 2009-08-20 AS Lüngen GmbH Speiser mit eingestecktem Brechkern
CN102574468B (zh) 2009-10-16 2015-04-01 本田技研工业株式会社 车辆用仪表板构造
EP2489449B1 (de) 2011-02-18 2015-12-02 GTP-Schäfer Giesstechnische Produkte GmbH Speiser mit exothermem Speiserkorpus und äußerer Isolierschale
USD711444S1 (en) 2012-07-26 2014-08-19 Foseco International Limited Fluid distribution feeder
DE202013001933U1 (de) 2013-02-15 2014-05-20 Chemex Gmbh Speisereinsatz
DE102015101912A1 (de) 2015-02-10 2016-08-11 Foseco International Limited Eingussspeiser mit integriertem losen Filter, Gusssystem bestehend aus dem Eingussspeiser und einem Formmodell und Verfahren zur Herstellung einer Gussform sowie Gussverfahren unter Verwendung dieses Gusssystems
DE102015101913B3 (de) * 2015-02-10 2016-05-12 Foseco International Limited Eingussspeiser mit integriertem losen Filter, Gusssystem bestehend aus dem Eingussspeiser und einem Formmodell und Verfahren zur Herstellung einer Gussform
DE102017119443B3 (de) 2017-08-24 2018-10-11 Foseco International Limited Eingussspeiser mit integriertem Filter
DE102017131280A1 (de) * 2017-12-22 2019-06-27 Chemex Foundry Solutions Gmbh Verfahren zum Herstellen eines Formteils sowie Speisereinsatz zur Verwendung in einem solchen Verfahren
DE102019104180A1 (de) * 2019-02-19 2020-08-20 Chemex Foundry Solutions Gmbh Einteiliger Speiserkörper zur Verwendung beim Gießen von Metallen
DE202019005681U1 (de) 2019-11-06 2021-06-16 GTP Schäfer Gießtechnische Produkte GmbH Speisereinsatz mit federndem Metallfuß
EP3819042A1 (de) 2019-11-06 2021-05-12 GTP Schäfer Gießtechnische Produkte GmbH Speisereinsatz mit federndem metallfuss
JP6868721B2 (ja) * 2020-02-27 2021-05-12 フォセコ インターナショナル リミテッドFoseco International Limited 押湯システム
CN121311322A (zh) 2023-06-06 2026-01-09 福士科国际有限公司 冒口系统

Citations (4)

* Cited by examiner, † Cited by third party
Publication number Priority date Publication date Assignee Title
US4141406A (en) * 1977-03-01 1979-02-27 Foseco Trading Ag. Breaker cores
DE4200183A1 (de) * 1991-01-14 1992-07-16 Erich Kuehn Zweigeteilter speiser
DE4219632A1 (de) * 1992-01-07 1994-01-20 Erich Kuehn Zweigeteilter Speiser
US5462106A (en) * 1994-05-31 1995-10-31 Hanna; Paul E. Method of producing a mold open riser in mold during casting

Family Cites Families (2)

* Cited by examiner, † Cited by third party
Publication number Priority date Publication date Assignee Title
DE1519320U (de) *
DE9303392U1 (de) * 1993-03-09 1994-03-03 Chemex GmbH, 58300 Wetter Speisereinsatz

Patent Citations (4)

* Cited by examiner, † Cited by third party
Publication number Priority date Publication date Assignee Title
US4141406A (en) * 1977-03-01 1979-02-27 Foseco Trading Ag. Breaker cores
DE4200183A1 (de) * 1991-01-14 1992-07-16 Erich Kuehn Zweigeteilter speiser
DE4219632A1 (de) * 1992-01-07 1994-01-20 Erich Kuehn Zweigeteilter Speiser
US5462106A (en) * 1994-05-31 1995-10-31 Hanna; Paul E. Method of producing a mold open riser in mold during casting

Cited By (75)

* Cited by examiner, † Cited by third party
Publication number Priority date Publication date Assignee Title
DE10059481B4 (de) * 2000-11-30 2012-02-23 AS Lüngen GmbH Speiser mit einem rohrähnlichen Körper
WO2005051568A1 (en) * 2003-10-28 2005-06-09 Foseco International Limited Feeder element for metal casting
CN100408225C (zh) * 2003-10-28 2008-08-06 福塞科国际有限公司 用于金属铸造的供料器元件和供料器系统
NO342323B1 (no) * 2003-10-28 2018-05-07 Foseco Int Mateelement for metallavstøpning
US7500509B2 (en) 2003-10-28 2009-03-10 Foseco International Limited Feeder element for metal casting
RU2379152C2 (ru) * 2003-10-28 2010-01-20 Фосеко Интернэшнл Лимитед Питающий элемент для литья металлов
EP1728570A1 (de) 2005-06-04 2006-12-06 GTP-Schäfer Giesstechnische Produkte GmbH Speiser mit nachgiebigem Speiserunterteil
DE102005025701A1 (de) * 2005-06-04 2006-12-14 GTP Schäfer Gießtechnische Produkte GmbH Speiser mit nachgiebigem Speiserunterteil
DE102005025701B4 (de) * 2005-06-04 2007-03-08 GTP Schäfer Gießtechnische Produkte GmbH Speiser mit nachgiebigem Speiserunterteil
EP1775045A2 (de) 2005-10-14 2007-04-18 Hofmann Ceramic GmbH Speisereinsatz für eine Giessform
EP1775045A3 (de) * 2005-10-14 2008-09-10 Hofmann Ceramic GmbH Speisereinsatz für eine Giessform
EP1920859A1 (de) * 2006-10-31 2008-05-14 GTP-Schäfer Giesstechnische Produkte GmbH Zweiteiliger Speisereinsatz mit nachgiebigem Speiserunterteil
CN101563177B (zh) * 2006-11-24 2011-11-09 凯美克斯有限责任公司 冒口插入件和冒口元件
AU2007324542B2 (en) * 2006-11-24 2011-06-02 Chemex Gmbh Feeder insert and feeder element
EP1985392A1 (de) * 2007-04-18 2008-10-29 GTP-Schäfer Giesstechnische Produkte GmbH Speisereinsatz mit metallisch ummanteltem Bodenbereich
DE202011103718U1 (de) 2011-02-17 2012-07-31 Foseco International Ltd. Speiserelement
EP2489450A1 (de) 2011-02-17 2012-08-22 Foseco International Limited Speiserelement
WO2012110753A1 (en) 2011-02-17 2012-08-23 Foseco International Limited Feeder element
WO2013164596A1 (en) 2012-04-30 2013-11-07 Foseco International Limited Neck-down feeder
JP2015515929A (ja) * 2012-04-30 2015-06-04 フォセコ インターナショナル リミテッドFoseco International Limited ネックダウンフィーダ
DE202012102546U1 (de) 2012-04-30 2012-08-07 Foseco International Ltd. Einschnürspeiser (Neck-Down Feeder)
KR101976527B1 (ko) 2012-04-30 2019-05-09 포세코 인터내셔널 리미티드 넥다운 피더
US9737928B2 (en) 2012-04-30 2017-08-22 Foseco International Limited Neck-down feeder
KR20150005918A (ko) * 2012-04-30 2015-01-15 포세코 인터내셔널 리미티드 넥다운 피더
EP2659996A1 (de) 2012-04-30 2013-11-06 Foseco International Limited Speiser
CN103418749A (zh) * 2012-05-15 2013-12-04 福塞科国际有限公司 补给口元件
US9027801B2 (en) 2012-05-15 2015-05-12 Foseco International Limited Feeder element
DE202012102418U1 (de) 2012-05-15 2013-05-16 Foseco International Ltd. Speiserelement
WO2013171439A1 (en) 2012-05-15 2013-11-21 Foseco International Limited Feeder element
CN103418749B (zh) * 2012-05-15 2017-03-22 福塞科国际有限公司 用于金属铸造的补给口元件和补给口系统
EP2664396A1 (de) * 2012-05-15 2013-11-20 Foseco International Limited Gebogene DISA-K-Zuführhülse
WO2014083155A1 (de) 2012-11-29 2014-06-05 Gtp Schäfer Giesstechnische Produkte Gmbh Verfahren zur herstellung eines einen exothermen speiserkorpus sowie eine isolierende aussenschale aufweisenden speisers
CN104994973A (zh) * 2013-02-15 2015-10-21 凯美克斯有限责任公司 冒口插件和用于将其设置在铸模中的方法
US9987676B2 (en) 2013-02-15 2018-06-05 Chemex Gmbh Feeder insert and method for arranging same in a casting mold
WO2014191423A1 (de) * 2013-05-27 2014-12-04 Chemex Gmbh Speisereinsatz, formelement für den speisereinsatz und verfahren zum giessen von metall unter verwendung derselben
US10124401B2 (en) 2013-05-27 2018-11-13 Chemex Gmbh Feeder insert
JP2016522753A (ja) * 2013-05-27 2016-08-04 ヘメックス ゲゼルシャフト ミット ベシュレンクテル ハフツング フィーダスリーブ、フィーダスリーブ用の成形要素及びフィーダスリーブを用いて金属を鋳造する方法
CN105246618B (zh) * 2013-05-27 2017-06-13 凯美克斯有限责任公司 冒口插件,用于冒口插件的成形元件和通过使用其铸造金属的方法
CN105246618A (zh) * 2013-05-27 2016-01-13 凯美克斯有限责任公司 冒口插件,用于冒口插件的成形元件和通过使用其铸造金属的方法
EP3003601B1 (de) 2013-05-27 2017-10-25 Chemex GmbH Speisereinsatz, formelement für den speisereinsatz und verfahren zum giessen von metall unter verwendung derselben
CN105364013A (zh) * 2014-08-07 2016-03-02 胡坦斯·阿尔伯图斯化学厂有限公司 在制造能分开的铸模时应用的装置
CN106660111A (zh) * 2014-09-02 2017-05-10 福塞科国际有限公司 进料系统
US9968993B2 (en) 2014-09-02 2018-05-15 Foseco International Limited Feeder system
RU168290U1 (ru) * 2015-09-02 2017-01-26 Фосеко Интернэшнл Лимитед Питающий элемент
DE202016104786U1 (de) 2015-09-02 2016-11-21 Foseco International Ltd. Speiserelement
CN107921526A (zh) * 2015-09-02 2018-04-17 福塞科国际有限公司 进料器系统
US10639706B2 (en) 2015-09-02 2020-05-05 Foseco International Limited Feeder system
US10500634B2 (en) 2015-09-02 2019-12-10 Foseco International Limited Feeder system
WO2017025702A1 (en) * 2015-09-02 2017-02-16 Foseco International Limited Feeder system
US10022783B2 (en) 2015-09-02 2018-07-17 Foseco International Limited Feeder system
US10286445B2 (en) 2015-09-02 2019-05-14 Foseco International Limited Feeder system
DE202016104787U1 (de) 2015-09-02 2016-11-28 Foseco International Ltd. Speisersystem
DE102016202795A1 (de) 2016-02-23 2017-08-24 HÜTTENES-ALBERTUS Chemische Werke Gesellschaft mit beschränkter Haftung Verwendung einer Zusammensetzung als Bindemittelkomponente zur Herstellung von Speiserelementen nach dem Cold-Box-Verfahren, entsprechende Verfahren und Speiserelemente
WO2017144363A1 (de) 2016-02-23 2017-08-31 HÜTTENES-ALBERTUS Chemische Werke Gesellschaft mit beschränkter Haftung Verwendung einer zusammensetzung als bindemittelkomponente zur herstellung von speiserelementen nach dem cold-box-verfahren, entsprechende verfahren und speiserelemente
US11717879B2 (en) 2016-04-08 2023-08-08 HÜTTENES-ALBERTUS Chemische Werke Gesellschaft mit beschränkter Haftung Use of closed-pore microspheres of expanded pearlite as a filler for the production of mouldings for the foundry industry
RU2717433C2 (ru) * 2016-06-17 2020-03-23 Фосеко Интернэшнл Лимитед Модульная система питателя
EP3395470A1 (de) 2017-04-28 2018-10-31 Foseco International Limited Zuführersystem
DE202017103989U1 (de) 2017-04-28 2017-09-11 Foseco International Limited Speisersystem
WO2020156770A1 (de) 2019-01-31 2020-08-06 Chemex Foundry Solutions Gmbh EINTEILIGER SPEISERKÖRPER ZUR VERWENDUNG BEIM GIEßEN VON METALLEN
DE102019102449A1 (de) 2019-01-31 2020-08-06 Chemex Foundry Solutions Gmbh Einteiliger Speiserkörper zur Verwendung beim Gießen von Metallen
KR20210122781A (ko) * 2019-01-31 2021-10-12 케멕스 파운드리 솔루션스 게엠베하 금속의 캐스팅에 사용하기 위한 일체형 피더 본체
JP2022518559A (ja) * 2019-01-31 2022-03-15 ヘメックス ファウンドリー ソリューションズ ゲゼルシャフト ミット ベシュレンクテル ハフツング 金属鋳造において使用するための一体型フィーダ本体
US12290855B2 (en) 2019-01-31 2025-05-06 Chemex Foundry Solutions Gmbh Single-piece feeder body for use in metal casting
DE202021004374U1 (de) 2020-12-04 2023-12-15 Chemex Foundry Solutions Gmbh Speisereinsatz zur Verwendung beim Gießen von Metallen in Gießformen
WO2022117242A1 (de) 2020-12-04 2022-06-09 Chemex Foundry Solutions Gmbh SPEISEREINSATZ ZUR VERWENDUNG BEIM GIEßEN VON METALLEN IN GIEßFORMEN
DE102020132342A1 (de) 2020-12-04 2022-06-09 Chemex Foundry Solutions Gmbh Speisereinsatz zur Verwendung beim Gießen von Metallen in Gießformen
DE102021104435A1 (de) 2021-02-24 2022-08-25 Chemex Foundry Solutions Gmbh Vertikal geteilter Speiser zur Verwendung beim Gießen von Metallen in Gießformen sowie Verfahren zu dessen Herstellung
WO2022180103A1 (de) 2021-02-24 2022-09-01 Chemex Foundry Solutions Gmbh Vertikal geteilter speiser zur verwendung beim giessen von metallen in giessformen sowie verfahren zu dessen herstellung
CN116917061A (zh) * 2021-02-24 2023-10-20 凯美克斯铸造解决方案有限责任公司 在铸模中铸造金属时使用的竖直分开的冒口及其制造方法
US12151281B2 (en) 2021-02-24 2024-11-26 Chemex Foundry Solutions Gmbh Vertically divided feeder for use in metal casting in casting molds and method for production thereof
CN113369442B (zh) * 2021-05-25 2022-11-04 庆铃汽车(集团)有限公司 用于铸件内部缺陷改善的注射冒口及冒口装置
CN113369442A (zh) * 2021-05-25 2021-09-10 庆铃汽车(集团)有限公司 用于铸件内部缺陷改善的注射冒口及冒口装置
DE202021106147U1 (de) 2021-11-10 2022-11-14 Ask Chemicals Gmbh Speiser
WO2023083404A1 (de) 2021-11-10 2023-05-19 Ask Chemicals Gmbh Speiser
WO2024246343A1 (en) 2023-06-01 2024-12-05 Foseco International Limited Feeder

Also Published As

Publication number Publication date
ES2232543T3 (es) 2005-06-01
DE50104669D1 (de) 2005-01-05
DE10039519A1 (de) 2002-02-21
EP1184104B1 (de) 2004-12-01
ATE283740T1 (de) 2004-12-15
DE10039519B4 (de) 2007-05-31

Similar Documents

Publication Publication Date Title
EP1184104B1 (de) Speisereinsatz
EP2097193B1 (de) Speisereinsatz und speiserelement
DE3113294C2 (de)
EP3003601B2 (de) Speisereinsatz, formelement für den speisereinsatz und verfahren zum giessen von metall unter verwendung derselben
EP0077897A2 (de) Presse zum Herstellen Masshaltiger Presslinge aus pulverförmigem Material
EP0241009B1 (de) Verfahren und Formwerkzeug zur Herstellung eines in ein Mauerwerk einsetzbaren Steigbügels
DE20115140U1 (de) Speiser mit einem rohrähnlichen Körper
EP4076881B1 (de) Vorrichtung zur herstellung von betonsteinen
EP3056297B1 (de) Verwendung eines speisereinsatzes und verfahren zum herstellen einer giessform mit vertikaler formteilung
DE10000580A1 (de) Herstellung eines Schreibgeräte-Vorderteils mit einstückigem Verformling
EP2982458A1 (de) Anordnung zur verwendung beim herstellen einer teilbaren giessform
DE202013001933U1 (de) Speisereinsatz
EP3727723A1 (de) Verfahren zum herstellen eines formteils sowie speisereinsatz zur verwendung in einem solchen verfahren
WO2014124766A1 (de) Speisereinsatz und verfahren zu dessen anordnung in einer giessform
DE10064300C1 (de) Gießform mit verbessertem Gießlauf
DE20122062U1 (de) Speisereinsatz
WO2020169462A1 (de) EINTEILIGER SPEISERKÖRPER ZUR VERWENDUNG BEIM GIEßEN VON METALLEN
EP3917698B1 (de) Einteiliger speiserkörper zur verwendung beim giessen von metallen
EP3551419B1 (de) Vorrichtung und verfahren zum herstellen von objekten aus einer erstarrenden formmasse mit schiebereinrichtung
DE102010022834B4 (de) Federdorn und Gießmodell mit Federdorn
EP3368234B1 (de) Aufformdorn mit einer aufweitbaren umhüllung und giessmodell mit aufformdorn sowie verfahren zum giessen von metallen
DE1952968B2 (de) Druckgiessmaschine zum vergiessen hochschmelzender metalle
DE2357309B2 (de) Preßform zur pulvermetallurgischen Herstellung von Kontaktdüsen für Schweißmaschinen
DE60307685T2 (de) Verfahren und vorrichtung zum giessen verschiedener formen in einer stranggiessanlage in einem einzigen giessvorgang
DE19710604A1 (de) Vorrichtung sowie Verfahren zur Herstellung eines Gußwerkstückes mit eingegossenem Einlegeteil

Legal Events

Date Code Title Description
PUAI Public reference made under article 153(3) epc to a published international application that has entered the european phase

Free format text: ORIGINAL CODE: 0009012

AK Designated contracting states

Kind code of ref document: A1

Designated state(s): AT BE CH CY DE DK ES FI FR GB GR IE IT LI LU MC NL PT SE TR

AX Request for extension of the european patent

Free format text: AL;LT;LV;MK;RO;SI

17P Request for examination filed

Effective date: 20020906

AKX Designation fees paid

Free format text: AT BE CH CY DE DK ES FI FR GB GR IE IT LI LU MC NL PT SE TR

17Q First examination report despatched

Effective date: 20021211

GRAP Despatch of communication of intention to grant a patent

Free format text: ORIGINAL CODE: EPIDOSNIGR1

GRAS Grant fee paid

Free format text: ORIGINAL CODE: EPIDOSNIGR3

GRAA (expected) grant

Free format text: ORIGINAL CODE: 0009210

AK Designated contracting states

Kind code of ref document: B1

Designated state(s): AT BE CH CY DE DK ES FI FR GB GR IE IT LI LU MC NL PT SE TR

PG25 Lapsed in a contracting state [announced via postgrant information from national office to epo]

Ref country code: NL

Free format text: LAPSE BECAUSE OF FAILURE TO SUBMIT A TRANSLATION OF THE DESCRIPTION OR TO PAY THE FEE WITHIN THE PRESCRIBED TIME-LIMIT

Effective date: 20041201

Ref country code: IE

Free format text: LAPSE BECAUSE OF FAILURE TO SUBMIT A TRANSLATION OF THE DESCRIPTION OR TO PAY THE FEE WITHIN THE PRESCRIBED TIME-LIMIT

Effective date: 20041201

Ref country code: FI

Free format text: LAPSE BECAUSE OF FAILURE TO SUBMIT A TRANSLATION OF THE DESCRIPTION OR TO PAY THE FEE WITHIN THE PRESCRIBED TIME-LIMIT

Effective date: 20041201

Ref country code: TR

Free format text: LAPSE BECAUSE OF FAILURE TO SUBMIT A TRANSLATION OF THE DESCRIPTION OR TO PAY THE FEE WITHIN THE PRESCRIBED TIME-LIMIT

Effective date: 20041201

REG Reference to a national code

Ref country code: GB

Ref legal event code: FG4D

Free format text: NOT ENGLISH

REG Reference to a national code

Ref country code: CH

Ref legal event code: EP

GBT Gb: translation of ep patent filed (gb section 77(6)(a)/1977)

Effective date: 20041201

REG Reference to a national code

Ref country code: IE

Ref legal event code: FG4D

Free format text: GERMAN

REF Corresponds to:

Ref document number: 50104669

Country of ref document: DE

Date of ref document: 20050105

Kind code of ref document: P

PG25 Lapsed in a contracting state [announced via postgrant information from national office to epo]

Ref country code: GR

Free format text: LAPSE BECAUSE OF FAILURE TO SUBMIT A TRANSLATION OF THE DESCRIPTION OR TO PAY THE FEE WITHIN THE PRESCRIBED TIME-LIMIT

Effective date: 20050301

Ref country code: SE

Free format text: LAPSE BECAUSE OF FAILURE TO SUBMIT A TRANSLATION OF THE DESCRIPTION OR TO PAY THE FEE WITHIN THE PRESCRIBED TIME-LIMIT

Effective date: 20050301

Ref country code: DK

Free format text: LAPSE BECAUSE OF FAILURE TO SUBMIT A TRANSLATION OF THE DESCRIPTION OR TO PAY THE FEE WITHIN THE PRESCRIBED TIME-LIMIT

Effective date: 20050301

NLV1 Nl: lapsed or annulled due to failure to fulfill the requirements of art. 29p and 29m of the patents act
REG Reference to a national code

Ref country code: ES

Ref legal event code: FG2A

Ref document number: 2232543

Country of ref document: ES

Kind code of ref document: T3

ET Fr: translation filed
PG25 Lapsed in a contracting state [announced via postgrant information from national office to epo]

Ref country code: LU

Free format text: LAPSE BECAUSE OF NON-PAYMENT OF DUE FEES

Effective date: 20050719

Ref country code: CY

Free format text: LAPSE BECAUSE OF FAILURE TO SUBMIT A TRANSLATION OF THE DESCRIPTION OR TO PAY THE FEE WITHIN THE PRESCRIBED TIME-LIMIT

Effective date: 20050719

Ref country code: AT

Free format text: LAPSE BECAUSE OF NON-PAYMENT OF DUE FEES

Effective date: 20050719

REG Reference to a national code

Ref country code: IE

Ref legal event code: FD4D

PG25 Lapsed in a contracting state [announced via postgrant information from national office to epo]

Ref country code: CH

Free format text: LAPSE BECAUSE OF NON-PAYMENT OF DUE FEES

Effective date: 20050731

Ref country code: BE

Free format text: LAPSE BECAUSE OF NON-PAYMENT OF DUE FEES

Effective date: 20050731

Ref country code: MC

Free format text: LAPSE BECAUSE OF NON-PAYMENT OF DUE FEES

Effective date: 20050731

Ref country code: LI

Free format text: LAPSE BECAUSE OF NON-PAYMENT OF DUE FEES

Effective date: 20050731

PLBE No opposition filed within time limit

Free format text: ORIGINAL CODE: 0009261

STAA Information on the status of an ep patent application or granted ep patent

Free format text: STATUS: NO OPPOSITION FILED WITHIN TIME LIMIT

26N No opposition filed

Effective date: 20050902

REG Reference to a national code

Ref country code: CH

Ref legal event code: PL

BERE Be: lapsed

Owner name: *CHEMEX G.M.B.H.

Effective date: 20050731

PG25 Lapsed in a contracting state [announced via postgrant information from national office to epo]

Ref country code: PT

Free format text: LAPSE BECAUSE OF NON-PAYMENT OF DUE FEES

Effective date: 20050501

REG Reference to a national code

Ref country code: FR

Ref legal event code: PLFP

Year of fee payment: 16

REG Reference to a national code

Ref country code: FR

Ref legal event code: PLFP

Year of fee payment: 17

REG Reference to a national code

Ref country code: FR

Ref legal event code: PLFP

Year of fee payment: 18

REG Reference to a national code

Ref country code: DE

Ref legal event code: R082

Ref document number: 50104669

Country of ref document: DE

Representative=s name: EISENFUEHR SPEISER PATENTANWAELTE RECHTSANWAEL, DE

Ref country code: DE

Ref legal event code: R081

Ref document number: 50104669

Country of ref document: DE

Owner name: CHEMEX FOUNDRY SOLUTIONS GMBH, DE

Free format text: FORMER OWNER: CHEMEX GMBH, 58300 WETTER, DE

PGFP Annual fee paid to national office [announced via postgrant information from national office to epo]

Ref country code: ES

Payment date: 20200818

Year of fee payment: 20

Ref country code: GB

Payment date: 20200724

Year of fee payment: 20

Ref country code: FR

Payment date: 20200727

Year of fee payment: 20

Ref country code: DE

Payment date: 20200804

Year of fee payment: 20

PGFP Annual fee paid to national office [announced via postgrant information from national office to epo]

Ref country code: IT

Payment date: 20200731

Year of fee payment: 20

REG Reference to a national code

Ref country code: DE

Ref legal event code: R071

Ref document number: 50104669

Country of ref document: DE

REG Reference to a national code

Ref country code: GB

Ref legal event code: PE20

Expiry date: 20210718

REG Reference to a national code

Ref country code: ES

Ref legal event code: FD2A

Effective date: 20211026

PG25 Lapsed in a contracting state [announced via postgrant information from national office to epo]

Ref country code: GB

Free format text: LAPSE BECAUSE OF EXPIRATION OF PROTECTION

Effective date: 20210718

PG25 Lapsed in a contracting state [announced via postgrant information from national office to epo]

Ref country code: ES

Free format text: LAPSE BECAUSE OF EXPIRATION OF PROTECTION

Effective date: 20210720