EP1098144B1 - Seitenblende - Google Patents

Seitenblende Download PDF

Info

Publication number
EP1098144B1
EP1098144B1 EP00120611A EP00120611A EP1098144B1 EP 1098144 B1 EP1098144 B1 EP 1098144B1 EP 00120611 A EP00120611 A EP 00120611A EP 00120611 A EP00120611 A EP 00120611A EP 1098144 B1 EP1098144 B1 EP 1098144B1
Authority
EP
European Patent Office
Prior art keywords
side panel
end panel
fact
several
per
Prior art date
Legal status (The legal status is an assumption and is not a legal conclusion. Google has not performed a legal analysis and makes no representation as to the accuracy of the status listed.)
Expired - Lifetime
Application number
EP00120611A
Other languages
English (en)
French (fr)
Other versions
EP1098144A3 (de
EP1098144A2 (de
Inventor
Hendrikus Gerardus Bernadus Maria Ten Brinke
Current Assignee (The listed assignees may be inaccurate. Google has not performed a legal analysis and makes no representation or warranty as to the accuracy of the list.)
ULAMO BEHEER BV
Original Assignee
ULAMO BEHEER BV
Priority date (The priority date is an assumption and is not a legal conclusion. Google has not performed a legal analysis and makes no representation as to the accuracy of the date listed.)
Filing date
Publication date
Application filed by ULAMO BEHEER BV filed Critical ULAMO BEHEER BV
Publication of EP1098144A2 publication Critical patent/EP1098144A2/de
Publication of EP1098144A3 publication Critical patent/EP1098144A3/de
Application granted granted Critical
Publication of EP1098144B1 publication Critical patent/EP1098144B1/de
Anticipated expiration legal-status Critical
Expired - Lifetime legal-status Critical Current

Links

Images

Classifications

    • FMECHANICAL ENGINEERING; LIGHTING; HEATING; WEAPONS; BLASTING
    • F24HEATING; RANGES; VENTILATING
    • F24DDOMESTIC- OR SPACE-HEATING SYSTEMS, e.g. CENTRAL HEATING SYSTEMS; DOMESTIC HOT-WATER SUPPLY SYSTEMS; ELEMENTS OR COMPONENTS THEREFOR
    • F24D19/00Details
    • F24D19/06Casings, cover lids or ornamental panels, for radiators
    • FMECHANICAL ENGINEERING; LIGHTING; HEATING; WEAPONS; BLASTING
    • F24HEATING; RANGES; VENTILATING
    • F24DDOMESTIC- OR SPACE-HEATING SYSTEMS, e.g. CENTRAL HEATING SYSTEMS; DOMESTIC HOT-WATER SUPPLY SYSTEMS; ELEMENTS OR COMPONENTS THEREFOR
    • F24D19/00Details
    • F24D19/06Casings, cover lids or ornamental panels, for radiators
    • F24D19/068Side coverings attached to the radiator

Definitions

  • the invention relates to a side panel, in particular for panel radiators at least one opening provided for the connection elements, which has a centering for the connection elements, the at least one Breakthrough is partially punched out.
  • Radiator coverings for example Panel radiators often consist of a front panel, one on top Cover grille and two side panels, the cover components by means of special fastening elements on the radiator, for example are clampable.
  • the radiator covers are used primarily for visual purposes Covering of the often unsightly radiators, so that they can also be exposed Places of a room can be attached without being particularly uncomfortable attracting attention.
  • the cladding prevents dusting and soiling of the radiator, the lining elements in turn a have a substantially smooth surface that is easy to clean. From optical For this reason, the surface of the cladding elements should be evenly painted his.
  • the side panels i.e. H. the side paneling elements point in the Usually one or two breakthroughs through which the one with the radiator connected supply and discharge lines or the corresponding connection elements are passed through.
  • the breakthroughs can also, for example, devices for centering the Have lines or connection elements. These centering devices should be as inconspicuous as possible and stand out from the rest Do not lift off the panel recognizably.
  • the side panels have a uniform paint or powder coating, to ensure a visually appealing veneer on the radiator.
  • the side panels must be hung or opened during the painting process other way, so that there are defects in the paint that are also visible from the outside. Such defects in the paint are undesirable, since they disrupt the overall visual impression of the cladding and above a view of the viewer through the openings and thus the connection elements or direct pipes.
  • the side panels must be for this reason can be painstakingly repainted, which means the cost and effort for production the side panels increased unnecessarily.
  • an edge cover is from German utility model 396 04 834 known for flat radiators that are used to attach the edge cover in has the existing openings for the pipe connections side legs, that wrap around the pipe connections and thus lock the edge cover. More extensive forms or another purpose are these Registration not removable.
  • a centering molded side panel part of the excess material in the area of connecting elements to be received remains, which is a material weakening and / or predetermined breaking point and from this position by the connection elements is displaceable during assembly.
  • the excess Material that remains when the opening is punched out; forms for example the hook-shaped side panel part.
  • This side panel part remains at least until the side panel is mounted, so that it for example, when painting as a hook for hanging the side panel can be used.
  • the side panel part can, for example, be an angled one Be metal strips, which serves as a paint hook and removed during assembly can be.
  • the side panel according to the invention can be inexpensive be made because when punching out the opening, the side panel part is left out, giving a possibility to hang the side panel is created in the painting process without causing additional costs.
  • the side panel according to the invention advantageously has a centering on, which consist of two lateral and vertically aligned guide panel parts exists which remain within the breakthrough.
  • the side Guide panel parts serve to center connecting elements or Pipes inside the opening so that the side panel at the Assembly can be optimally aligned.
  • the guide panel parts remain as well as the side panel part when punching out the opening, so that simple and inexpensive production is guaranteed.
  • the Breakthrough are punched out so that the remaining side panel part either in one piece with the edge of the opening and / or with the centering connected is.
  • the stopped side panel part has a predetermined breaking point, so that it can be easily removed during or after assembly.
  • the side panel part on which during the painting process defects may arise is caused by kinking or bending the Breakage point removed from the breakthrough area and can therefore the optical Do not impair the impression of the side panel or radiator cover.
  • the predetermined breaking point can, for example, take the form of a material weakening an incision, an indentation, a notch and / or a perforation consist.
  • the remaining side panel part may have a notch, Have a groove or recess to facilitate hanging and the side panel stabilize during the painting process.
  • a side panel can have one or more openings. You can the breakthroughs either partially or all formed as described above his.
  • a side panel could, for example, be a breakthrough with the above. Features and have another without special components.
  • the other A breakthrough could, for example, only be the centering and not an additional one Have side panel part.
  • the centering and the side panel part can in a particularly advantageous embodiment of the invention from an angled There are metal strips. However, they are in line with the requirements other embodiments are also possible, so that an adaptation of the invention Side panel can be made to different circumstances can.
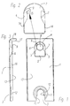
  • Figure 1 shows the front view of a side panel 1 with an opening 2 and a recess 3.
  • the side panel 1 consists of a preferably flat Sheet metal, which laterally covers a radiator, not shown.
  • the Breakthrough 2 is approximately rectangular, the upper limit 4 is rounded off in a semicircle.
  • the breakthrough 2 is a punched-out area of the side panel 1.
  • the breakthrough 2 is still excess material, which at Punching was left out and has therefore stopped.
  • This excess In the case of the side panel 1 according to the invention, material forms two lateral, vertical aligned guide panel parts 6.7, the centering of the tubular Serve connector 8. By correctly setting the two guide panel parts In this way, the connecting element 8 can be located 6, 6 centrally in the opening 2 be aligned.
  • connection element 8 can be, for example, connection element 8 for the supply of the Act heating.
  • the side panel 1 in the lower region a recess 3.
  • the recess 3 is rectangular in the lower region 10 and formed semicircular in the upper region 11.
  • the semicircular Area 11 encloses the derivative, not shown here.
  • the edge 12 of the semicircular region 11 is in the direction of the inside 13 of the side panel 1 domed.
  • FIG. 2 shows an enlarged representation of the opening 2 from FIG. 1 here clearly that the guide panel parts 6.7 in one piece with the edge 14 of the Breakthrough 2 are connected and by punching and a forming process arise.
  • the guide panel parts 6.7 remain when punching out of the breakthrough 2 simply cut out so that they are not manufactured and attached separately the side panel 1 must be attached. This has a positive effect on that Manufacturing process and the resulting costs.
  • the guide panel parts 6,7 are essentially vertical and practically consist of one angled metal strips. Therefore, they are flexible within certain limits and can for the purpose of aligning or centering the not shown here Connection element are bent or adjusted.
  • the side panel part 9 is formed in one piece.
  • the side panel part 9 remains like the guide panel parts 6.7 when punching out the opening 2 stand, so that the same advantages as production and costs result as described above.
  • the side panel part 9 is hook-shaped, so that the side panel can easily be hung up.
  • a predetermined breaking point 15 in the form of a material weakening. This weakening of materials can, for example, in the form of an incision, an injection and / or Perforation is present.
  • the predetermined breaking point 15 enables the assembly of the Side panel makes it easier to bend or break off the side panel part 9. In this way, possible defects in the painting are limited exclusively from the side panel part 9, so that the side panel is optically has flawless paintwork.
  • An existing notch 19, groove or recess makes it easier to hang up the side panel 1.
  • Figure 3 shows a side view of the side panel 1 shown in Figure 1. It is here clearly that the side panel 1 in its edge region 16, 17 each at right angles is bent. These angled edge regions 16, 17 can be connected to the others Elements of the radiator cover, for example a front panel and one Cover plate, be adjusted so that a positive connection with the other components of the cladding is possible.
  • the side panel 1 points over it also an upward rectangular, bent end 18 on the other components of the cladding is matched. Fastening the panel can be done for example with the help of special fastening hooks.

Landscapes

  • Engineering & Computer Science (AREA)
  • Physics & Mathematics (AREA)
  • Thermal Sciences (AREA)
  • Chemical & Material Sciences (AREA)
  • Combustion & Propulsion (AREA)
  • Mechanical Engineering (AREA)
  • General Engineering & Computer Science (AREA)
  • Domestic Hot-Water Supply Systems And Details Of Heating Systems (AREA)
  • Casings For Electric Apparatus (AREA)
  • Cathode-Ray Tubes And Fluorescent Screens For Display (AREA)
  • Details Or Accessories Of Spraying Plant Or Apparatus (AREA)

Description

Die Erfindung betrifft eine Seitenblende, insbesondere für Plattenheizkörper, mit zumindest einem für die Anschlusselemente vorgesehenen Durchbruch, welcher eine Zentrierung für die Anschlusselemente aufweist, wobei der zumindest eine Durchbruch teilweise ausgestanzt ist.
Seitenblenden der eingangs genannten Art sind beispielsweise als Bestandteil von Heizkörperverkleidungen bekannt. Verkleidungen von Heizkörpern, beispielsweise Plattenheizkörpern, bestehen häufig aus einer Frontplatte, einem oben aufliegenden Abdeckgitter und zwei Seitenverkleidungen, wobei die Abdeckungsbestandteile mittels besonderer Befestigungselemente an dem Heizkörper beispielsweise festklemmbar sind. Die Heizkörperverkleidungen dienen vor allem der optischen Verblendung der oft unansehnlichen Heizkörper, so dass diese auch an exponierten Stellen eines Raumes angebracht werden können, ohne besonders unangenehm aufzufallen. Darüber hinaus verhindert die Verkleidung ein Verstauben und Verschmutzen des Heizkörpers, wobei die Verkleidungselemente ihrerseits eine im wesentlichen glatte Oberfläche aufweisen, die leicht zu reinigen ist. Aus optischen Gründen sollte die Oberfläche der Verkleidungselemente dabei gleichmäßig lackiert sein. Die Seitenblenden, d. h. die seitlichen Verkleidungselemente, weisen in der Regel ein oder zwei Durchbrüche auf, durch welche die mit dem Heizkörper verbundenen Zu- bzw. Ableitungen oder die entsprechenden Anschlusselemente hindurch geführt sind.
Die Durchbrüche können ferner beispielsweise Vorrichtungen zur Zentrierung der Leitungen oder Anschlusselemente aufweisen. Diese Zentrierungsvorrichtungen sollten dabei möglichst unauffällig ausgestaltet sein und sich von der übrigen Verkleidung nicht erkennbar abheben. Wie alle Verkleidungselemente sollten auch die Seitenblenden eine gleichmäßige Lackierung bzw. Pulverbeschichtung aufweisen, um eine optisch ansprechende Verblendung des Heizkörpers zu gewährleisten. Während des Lackiervorgangs müssen die Seitenblenden aufgehängt oder auf andere Weise befestigt werden, so dass Fehlstellen in der Lackierung auftreten, die auch nach außen sichtbar sind. Solche Fehlstellen in der Lackierung sind unerwünscht, da sie den optischen Gesamteindruck der Verkleidung stören und darüber hinaus den Blick eines Betrachters auf die Durchbrüche und damit die Anschlusselemente bzw. Rohrleitungen lenken. Die Seitenblenden müssen aus diesem Grund aufwendig nachlackiert werden, was die Kosten und den Aufwand für die Herstellung der Seitenblenden unnötig erhöht.
Aus dem deutschen Gebrauchsmuster 396 04 834 ist beispielsweise eine Randabdeckung für Flachheizkörper bekannt, die zur Befestigung der Randabdeckung in den vorhandenen Durchbrüchen für die Rohranschlüsse seitliche Schenkel aufweist, die sich um die Rohranschlüsse legen und somit die Randabdeckung arretieren. Weitergehende Ausformungen oder ein weiterer Verwendungszweck sind dieser Anmeldung jedoch nicht entnehmbar.
Es ist daher Aufgabe der Erfindung, eine Seitenblende der gattungsgemäßen Art zu schaffen, die während des Lackiervorgangs aufgehängt werden kann, ohne dass möglicherweise auftretende Fehlstellen in der Lackierung nach der Montage nach außen sichtbar sind.
Erfindungsgemäß wird die Aufgabe dadurch gelöst, dass ein an die Zentrierung angeformtes Seitenblendenteil des überschüssigen Materials im Bereich der aufzunehmenden Anschlusselemente stehen bleibt, welches eine Materialschwächung und/oder Sollbruchstelle aufweist und aus dieser Position durch die Anschlusselemente während der Montage verdrängbar ausgebildet ist. Das überschüssige Material, welches beim Ausstanzen des Durchbruchs stehen bleibt; bildet beispielsweise das hakenförmig ausgebildete Seitenblendenteil. Dieses Seitenblendenteil bleibt wenigstens bis zur Montage der Seitenblende erhalten, so dass es beispielsweise bei der Lackierung als Haken zum Aufhängen der Seitenblende verwendet werden kann. Das Seitenblendenteil kann beispielsweise ein abgewinkelter Metallstreifen sein, der als Lackierhaken dient und bei der Montage entfernt werden kann. Möglicherweise während des Lackiervorgangs entstehende Fehlstellen beschränken sich bei der erfindungsgemäßen Seitenblende folglich auf das Seitenblendenteil, so dass die übrigen Oberflächen der Seitenblende eine gleichmäßige und völlig unversehrte Lackierung erhalten. Das Seitenblendenteil wird bei der Montage der Seitenblende an dem Heizkörper entweder entfernt oder so angeordnet, dass es von außen nicht sichtbar ist. Die durch das Aufhängen der Seitenblende an dem Seitenblendenteil entstehenden Fehlstellen sind aus diesem Grunde nach der Montage nicht mehr sichtbar, so dass eine optisch einwandfreie Heizkörperverkleidung entsteht. Die erfindungsgemäße Seitenblende kann kostengünstig hergestellt werden, weil beim Ausstanzen des Durchbruchs einfach das.Seitenblendenteil ausgespart wird, wodurch eine Möglichkeit zum Aufhängen der Seitenblende beim Lackiervorgang geschaffen wird, ohne zusätzliche Kosten zu verursachen.
Die erfindungsgemäße Seitenblende weist in vorteilhafter Weise eine Zentrierung auf, die aus zwei seitlichen und vertikal ausgerichteten Führungsblendenteilen besteht, welche innerhalb des Durchbruchs bestehen bleiben. Die seitlichen Führungsblendenteile dienen der Zentrierung von Anschlusselementen bzw. Rohrleitungen innerhalb des Durchbruchs, so dass die Seitenblende bei der Montage optimal ausgerichtet werden kann. Die Führungsblendenteile bleiben ebenso wie das Seitenblendenteil beim Ausstanzen des Durchbruchs stehen, so dass eine einfache und kostengünstige Herstellung gewährleistet ist. Dabei kann der Durchbruch so ausgestanzt werden, dass das stehengebliebene Seitenblendenteil entweder mit dem Rand des Durchbruchs und/oder mit der Zentrierung einstückig verbunden ist.
In besonders vorteilhafter Ausgestaltung der Erfindung ist vorgesehen, dass das stehengebliebene Seitenblendenteil eine Sollbruchstelle aufweist, so dass es während oder nach der Montage einfach entfernt werden kann. Beispielsweise besteht die Möglichkeit bei der Montage das im Durchbruch befindliche Seitenblendeteil während des Aufsetzens durch die Anschlussverbindungen nach oben oder zur Seite zu drücken. Das Seitenblendenteil, an dem während des Lackiervorgangs möglicherweise Fehlstellen entstehen, wird durch Abknicken oder Umbiegen an der Sollbruchstelle aus dem Durchbruchbereich entfernt und kann daher den optischen Eindruck der Seitenblende bzw. Heizkörperverkleidung nicht mehr beeinträchtigen. Die Sollbruchstelle kann beispielsweise aus einer Materialschwächung in Form eines Einschnitts, einer Einpressung, einer Einkerbung und/oder einer Perforation bestehen. Darüber hinaus kann das stehengebliebene Seitenblendenteil eine Kerbe, Nut oder Vertiefung aufweisen, um das Aufhängen zu Erleichtern und die Seitenblende während des Lackiervorgangs zu stabilisieren.
Eine Seitenblende kann einen oder mehrere Durchbrüche aufweisen. Dabei können die Durchbrüche entweder teilweise oder alle wie oben beschrieben ausgebildet sein. Eine Seitenblende könnte beispielsweise einen Durchbruch mit den o. g. Merkmalen und einen weiteren ohne besondere Bestandteile aufweisen. Der weitere Durchbruch könnte aber auch beispielsweise nur die Zentrierung und kein zusätzliches Seitenblendenteil aufweisen. Die Zentrierung und das Seitenblendenteil können in besonders vorteilhafter Ausgestaltung der Erfindung aus einem abgewinkeltem Metallstreifen bestehen. Es sind in Anpassung an die Erfordernisse aber auch andere Ausführungsformen möglich, so dass eine Anpassung der erfindungsgemäßen Seitenblende an unterschiedliche Gegebenheiten vorgenommen werden kann.
Die Erfindung wird im Weiteren anhand der Figuren näher erläutert.
Es zeigt
Figur 1
eine Seitenansicht einer erfindungsgemäßen Seitenblende,
Figur 2
eine vergrößerte Darstellung des Durchbruchs gemäß Figur 1 mit Seitenblendenteil und
Figur 3
eine weitere Seitenansicht der Seitenblende gemäß Figur 1.
Figur 1 zeigt die Vorderansicht einer Seitenblende 1 mit einem Durchbruch 2 und einer Ausnehmung 3. Die Seitenblende 1 besteht aus einem vorzugsweise ebenen Blech, welches einen hier nicht dargestellten Heizkörper seitlich abdeckt. Der Durchbruch 2 ist annähernd rechteckförmig ausgebildet, wobei die obere Begrenzung 4 halbkreisförmig abgerundet ist. Bei dem Durchbruch 2 handelt es sich um einen ausgestanzten Bereich der Seitenblende 1. An den seitlichen Begrenzungen 5 des Durchbruchs 2 befindet sich noch überschüssiges Material, welches beim Ausstanzen ausgespart wurde und daher stehen geblieben ist. Dieses überschüssige Material bildet bei der erfindungsgemäßen Seitenblende 1 zwei seitliche, vertikal ausgerichtete Führungsblendenteile 6,7, die der Zentrierung des rohrförmigen Anschlusselements 8 dienen. Durch korrekte Einstellung der beiden Führungsblendenteile 6,7 kann auf diese Weise das Anschlusselement 8 zentral im Durchbruch 2 ausgerichtet werden. An das linke Führungsblendenteil 6 ist zusätzlich ein Seitenblendenteil 9 einstückig angeformt, welches ebenfalls beim Ausstanzen des Durchbruchs 2 ausgespart und stehen geblieben ist. Das Seitenblendenteil 9 ist hakenförmig ausgebildet und dient als Aufhängung für die Seitenblende 1 während des Lackiervorgangs. Eine durch das Aufhängen auftretende Fehlstelle beim Lackieren bleibt so auf den Bereich des später nicht sichtbaren Seitenblendenteils 9 beschränkt. Die übrigen Teile der Seitenblende 1 können so makellos und gleichmäßig lackiert werden. Bei der Montage kann das Seitenblendenteil 9 entweder abgeknickt, umgeknickt oder vollständig entfernt werden, so dass eine mögliche Fehlstelle in der Lackierung durch eine Blende oder einen Blendenring von außen nicht mehr sichtbar ist und eine fehlerlose Verkleidung entsteht. Bei dem Anschlusselement 8 kann es sich beispielsweise um Anschlusselement 8 für die Zuleitung der Heizung handeln. Zur Durchführung der entsprechend erforderlichen Ableitung der Heizflüssigkeit aus dem Heizkörper weist die Seitenblende 1 im unteren Bereich eine Ausnehmung 3 auf. Die Ausnehmung 3 ist im unteren Bereich 10 rechteckförmig und im oberen Bereich 11 halbkreisförmig ausgebildet. Der halbkreisförmige Bereich 11 umschließt dabei die hier nicht dargestellte Ableitung. Der Rand 12 des halbkreisförmigen Bereichs 11 ist in Richtung der Innenseite 13 der Seitenblende 1 gewölbt ausgeformt. Alternativ besteht die Möglichkeit eine Blende, Rosette oder einen Blendenring zu verwenden.
Figur 2 zeigt eine vergrößerte Darstellung des Durchbruchs 2 aus Figur 1. Es wird hier deutlich, dass die Führungsblendenteile 6,7 einstückig mit dem Rand 14 des Durchbruchs 2 verbunden sind und durch eine Ausstanzung und einen Umformungsvorgang entstehen. Die Führungsblendenteile 6,7 bleiben beim Ausstanzen des Durchbruchs 2 einfach ausgespart, so dass sie nicht separat hergestellt und an der Seitenblende 1 befestigt werden müssen. Dies wirkt sich positiv auf das Herstellungsverfahren und die entstehenden Kosten aus. Die Führungsblendenteile 6,7 sind im Wesentlichen vertikal ausgerichtet und bestehen praktisch aus einem abgewinkelten Blechstreifen. Daher sind sie auch in gewissen Grenzen beweglich und können zum Zweck der Ausrichtung bzw. Zentrierung des hier nicht dargestellten Anschlusselements verbogen bzw. verstellt werden. An das linke Führungsblendenteil 6 ist das Seitenblendenteil 9 einstückig angeformt. Das Seitenblendenteil 9 bleibt ebenso wie die Führungsblendenteile 6,7 beim Ausstanzen des Durchbruchs 2 stehen, so dass sich hinsichtlich Produktion und Kosten dieselben Vorteile wie oben beschrieben ergeben. Das Seitenblendenteil 9 ist hakenförmig ausgebildet, so dass ein einfaches Aufhängen der Seitenblende möglich ist. Im Übergangsbereich zwischen Führungsblendenteil 6 und Seitenblendenteil 9 befindet sich im Weiteren eine Sollbruchstelle 15 in Form einer Materialschwächung. Diese Materialschwächung kann beispielsweise in Form eines Einschnitts, einer Einpressung und/oder Perforation vorliegen. Die Sollbruchstelle 15 ermöglicht bei der Montage der Seitenblende ein erleichtertes Umbiegen oder Abbrechen des Seitenblendenteils 9. Auf diese Weise beschränken sich eventuelle Fehlstellen bei der Lackierung ausschließlich aus das Seitenblendenteil 9, so dass die Seitenblende eine optisch einwandfreie Lackierung aufweist. Eine vorhandene Kerbe 19, Nut oder Vertiefung erleichtert das Aufhängen der Seitenblende 1.
Figur 3 zeigt eine Seitenansicht der Seitenblende 1 gemäß Figur 1. Es wird hier deutlich, dass die Seitenblende 1 in ihrem Randbereich 16,17 jeweils rechtwinklig umgebogen ist. Diese abgewinkelten Randbereiche 16,17 können an die übrigen Elemente der Heizkörperverkleidung, beispielsweise eine Frontplatte und eine Abdeckplatte, angepasst werden, so dass eine formschlüssige Verbindung mit den übrigen Bestandteilen der Verkleidung möglich ist. Die Seitenblende 1 weist darüber hinaus ein nach oben rechtwinkliges, umgebogenes Ende 18 auf, das auf die übrigen Bestandteile der Verkleidung abgestimmt ist. Die Befestigung der Verkleidung kann beispielsweise mit Hilfe von speziellen Befestigungshaken erfolgen.
Bezugszeichenliste:
1
Seitenblende
2
Durchbruch
3
Ausnehmung
4
Begrenzung
5
Begrenzung
6
Führungsblendenteil
7
Führungsblendenteil
8
Anschlusselement
9
Seitenblendenteil
10
Bereich
11
Bereich
12
Rand
13
Innenseite
14
Rand
15
Sollbruchstelle
16
Randbereich
17
Randbereich
18
Ende
19
Kerbe

Claims (7)

  1. Seitenblende (1), insbesondere für Plattenheizkörper, mit zumindest einem für Anschlusselemente vorgesehenen Durchbruch (2), welcher eine Zentrierung für die Anschlusselemente (8) aufweist, wobei der zumindest eine Durchbruch (2) teilweise ausgestanzt ist,
    dadurch gekennzeichnet, dass ein an die Zentrierung angeformtes Seitenblendenteil (9) im Bereich der aufzunehmenden Anschlusselemente (8) überschüssiges Material stehen bleibt, weiches eine Materialschwächung und/oder Sollbruchstelle aufweist und aus dieser Position durch die Anschlusselemente (8) während der Montage verdrängbar ausgebildet ist.
  2. Seitenblende nach Anspruch 1,
    dadurch gekennzeichnet, dass die Zentrierung aus zwei seitlichen und vertikal ausgerichteten Führungsblendenteilen (6) besteht, welche innerhalb des Durchbruchs (2) stehen bleiben.
  3. Seitenblende nach Anspruch 1 oder 2,
    dadurch gekennzeichnet, dass das stehengebliebene Seitenblendenteil (9) mit dem Rand (14) des Durchbruchs (2) und/oder der Zentrierung einstückig verbunden ist.
  4. Seitenblende nach einem oder mehreren der Ansprüche 1 - 3,
    dadurch gekennzeichnet, dass die Materialschwächung aus einem Einschnitt, einer Einpressung, einer Einkerbung und/oder Perforation gebildet ist.
  5. Seitenblende nach einem oder mehreren der Ansprüche 1 - 4,
    dadurch gekennzeichnet, dass die Materialschwächung aus einer Kerbe, einer Nut oder einer Vertiefung im stehengebliebenen Seitenblendenteil (9) besteht.
  6. Seitenblende nach einem oder mehreren Ansprüchen 1 - 5,
    dadurch gekennzeichnet, dass mehrere Durchbrüche (2) vorhanden sind, die derart ausgebildet sind.
  7. Seitenblende nach einem oder mehreren Ansprüchen 1 - 6,
    dadurch gekennzeichnet, dass die Zentrierung und das Seitenblendenteil (9) aus einem abgewinkeltem Metallstreifen bestehen.
EP00120611A 1999-11-08 2000-09-21 Seitenblende Expired - Lifetime EP1098144B1 (de)

Applications Claiming Priority (2)

Application Number Priority Date Filing Date Title
DE29919614U 1999-11-08
DE29919614U DE29919614U1 (de) 1999-11-08 1999-11-08 Seitenblende

Publications (3)

Publication Number Publication Date
EP1098144A2 EP1098144A2 (de) 2001-05-09
EP1098144A3 EP1098144A3 (de) 2001-10-10
EP1098144B1 true EP1098144B1 (de) 2003-10-29

Family

ID=8081332

Family Applications (1)

Application Number Title Priority Date Filing Date
EP00120611A Expired - Lifetime EP1098144B1 (de) 1999-11-08 2000-09-21 Seitenblende

Country Status (3)

Country Link
EP (1) EP1098144B1 (de)
AT (1) ATE253204T1 (de)
DE (2) DE29919614U1 (de)

Cited By (1)

* Cited by examiner, † Cited by third party
Publication number Priority date Publication date Assignee Title
DE202016002405U1 (de) 2015-12-09 2016-04-26 Wiemann Gmbh Seitenverkleidung für Plattenheizkörper mit abgestuftem Übergangsabschnitt zwischen Randkanten und stirnseitigen Aufkantungsbereichen

Families Citing this family (1)

* Cited by examiner, † Cited by third party
Publication number Priority date Publication date Assignee Title
DE202014000809U1 (de) * 2014-01-31 2014-03-11 Ulamo Holding Bv Seitenblende für einen Heizkörper

Family Cites Families (2)

* Cited by examiner, † Cited by third party
Publication number Priority date Publication date Assignee Title
DE29604834U1 (de) * 1996-03-15 1996-05-09 Ulamo Beheer B.V., Ulft Randabdeckung für Flachheizkörper
DE29703909U1 (de) * 1997-03-04 1998-07-09 Sigarth Ab, Hillerstorp Abdeckvorrichtung für Heizkörper mit auswechselbaren Eckteilen

Cited By (2)

* Cited by examiner, † Cited by third party
Publication number Priority date Publication date Assignee Title
DE202016002405U1 (de) 2015-12-09 2016-04-26 Wiemann Gmbh Seitenverkleidung für Plattenheizkörper mit abgestuftem Übergangsabschnitt zwischen Randkanten und stirnseitigen Aufkantungsbereichen
DE102015015873A1 (de) 2015-12-09 2017-06-14 Wiemann Gmbh Seitenverkleidung für Plattenheizkörper

Also Published As

Publication number Publication date
EP1098144A3 (de) 2001-10-10
ATE253204T1 (de) 2003-11-15
EP1098144A2 (de) 2001-05-09
DE50004235D1 (de) 2003-12-04
DE29919614U1 (de) 2000-02-03

Similar Documents

Publication Publication Date Title
EP2192352B1 (de) Kochfeld sowie Verfahren zur Herstellung eines Kochfelds
EP1098144B1 (de) Seitenblende
EP0602456A1 (de) Rohrschelle
EP2378209A2 (de) Dunstabzugshaube
EP2119970A2 (de) Montagesystem zum montieren eines an einer Wand befestigbaren Gehäuses einer Dunstabzugshaube sowie Verfahren zum Befestigen eines diesbezüglichen Gehäuses
DE29604834U1 (de) Randabdeckung für Flachheizkörper
DE29500353U1 (de) Vorrichtung zur höhenverstellbaren kraftschlüssigen Befestigung, insbesondere zum Abhängen von Holzunterkonstruktionen für Decken
DE4323199A1 (de) Standkonsole für Heizkörper
DE29511988U1 (de) Vorrichtung zur Befestigung einer Frontplatte an einem Heizkörper
DE3226791A1 (de) Stuetz- und befestigungselement fuer die wandseitige befestigung einer badewanne, insbesondere einer kunststoffbadewanne
DE4401128C2 (de) Wandkonsole für die Montage und Demontage eines Heizkörpers
DE19737893B4 (de) Installationskanal mit Abdeckung und Potentialausgleichsklammer für den Potentialausgleich zwischen diesen
DE202007013609U1 (de) Seitenblende für einen Heizkörper
DE4334704C1 (de) Vorrichtung zur Befestigung einer Abdeckplatte an einem Plattenheizkörper
DE3525967A1 (de) Halterung fuer mit aufhaengelaschen versehene heizkoerper
DE29712603U1 (de) Einbauleuchte
EP0271075A1 (de) Anschlussprofil für Wand- und Deckenpaneele
DE20019236U1 (de) Clip-in-Aufhängesystem für Metallpaneele
EP1400759B1 (de) Befestigungsmittel
EP2902715B1 (de) Seitenblende für einen Heizkörper
DE69005007T2 (de) Möbelscharnier.
EP1403442B2 (de) Markise mit Infrarotstrahler und/oder Lautsprecher
DE102007039633A1 (de) Gehäuse einer Dunstabzugshaube mit einem Luftaustrittsspalt
EP0813278B1 (de) Als Blechformteil hergestellte Kopfplatte
DE19821421A1 (de) Heizkörperverkleidung

Legal Events

Date Code Title Description
PUAI Public reference made under article 153(3) epc to a published international application that has entered the european phase

Free format text: ORIGINAL CODE: 0009012

AK Designated contracting states

Kind code of ref document: A2

Designated state(s): AT BE CH CY DE DK ES FI FR GB GR IE IT LI LU MC NL PT SE

AX Request for extension of the european patent

Free format text: AL;LT;LV;MK;RO;SI

PUAL Search report despatched

Free format text: ORIGINAL CODE: 0009013

AK Designated contracting states

Kind code of ref document: A3

Designated state(s): AT BE CH CY DE DK ES FI FR GB GR IE IT LI LU MC NL PT SE

AX Request for extension of the european patent

Free format text: AL;LT;LV;MK;RO;SI

17P Request for examination filed

Effective date: 20011109

AKX Designation fees paid

Free format text: AT BE CH CY DE DK ES FI FR GB GR IE IT LI LU MC NL PT SE

17Q First examination report despatched

Effective date: 20021126

GRAH Despatch of communication of intention to grant a patent

Free format text: ORIGINAL CODE: EPIDOS IGRA

GRAS Grant fee paid

Free format text: ORIGINAL CODE: EPIDOSNIGR3

GRAA (expected) grant

Free format text: ORIGINAL CODE: 0009210

AK Designated contracting states

Kind code of ref document: B1

Designated state(s): AT BE CH CY DE DK ES FI FR GB GR IE IT LI LU MC NL PT SE

PG25 Lapsed in a contracting state [announced via postgrant information from national office to epo]

Ref country code: IE

Free format text: LAPSE BECAUSE OF FAILURE TO SUBMIT A TRANSLATION OF THE DESCRIPTION OR TO PAY THE FEE WITHIN THE PRESCRIBED TIME-LIMIT

Effective date: 20031029

Ref country code: FI

Free format text: LAPSE BECAUSE OF FAILURE TO SUBMIT A TRANSLATION OF THE DESCRIPTION OR TO PAY THE FEE WITHIN THE PRESCRIBED TIME-LIMIT

Effective date: 20031029

Ref country code: IT

Free format text: LAPSE BECAUSE OF FAILURE TO SUBMIT A TRANSLATION OF THE DESCRIPTION OR TO PAY THE FEE WITHIN THE PRESCRIBED TIME-LIMIT;WARNING: LAPSES OF ITALIAN PATENTS WITH EFFECTIVE DATE BEFORE 2007 MAY HAVE OCCURRED AT ANY TIME BEFORE 2007. THE CORRECT EFFECTIVE DATE MAY BE DIFFERENT FROM THE ONE RECORDED.

Effective date: 20031029

Ref country code: CY

Free format text: LAPSE BECAUSE OF FAILURE TO SUBMIT A TRANSLATION OF THE DESCRIPTION OR TO PAY THE FEE WITHIN THE PRESCRIBED TIME-LIMIT

Effective date: 20031029

REG Reference to a national code

Ref country code: GB

Ref legal event code: FG4D

Free format text: NOT ENGLISH

REG Reference to a national code

Ref country code: CH

Ref legal event code: EP

REG Reference to a national code

Ref country code: IE

Ref legal event code: FG4D

Free format text: GERMAN

REF Corresponds to:

Ref document number: 50004235

Country of ref document: DE

Date of ref document: 20031204

Kind code of ref document: P

GBT Gb: translation of ep patent filed (gb section 77(6)(a)/1977)

Effective date: 20031217

PG25 Lapsed in a contracting state [announced via postgrant information from national office to epo]

Ref country code: GR

Free format text: LAPSE BECAUSE OF FAILURE TO SUBMIT A TRANSLATION OF THE DESCRIPTION OR TO PAY THE FEE WITHIN THE PRESCRIBED TIME-LIMIT

Effective date: 20040129

Ref country code: DK

Free format text: LAPSE BECAUSE OF FAILURE TO SUBMIT A TRANSLATION OF THE DESCRIPTION OR TO PAY THE FEE WITHIN THE PRESCRIBED TIME-LIMIT

Effective date: 20040129

Ref country code: SE

Free format text: LAPSE BECAUSE OF FAILURE TO SUBMIT A TRANSLATION OF THE DESCRIPTION OR TO PAY THE FEE WITHIN THE PRESCRIBED TIME-LIMIT

Effective date: 20040129

PG25 Lapsed in a contracting state [announced via postgrant information from national office to epo]

Ref country code: ES

Free format text: LAPSE BECAUSE OF FAILURE TO SUBMIT A TRANSLATION OF THE DESCRIPTION OR TO PAY THE FEE WITHIN THE PRESCRIBED TIME-LIMIT

Effective date: 20040209

REG Reference to a national code

Ref country code: IE

Ref legal event code: FD4D

ET Fr: translation filed
PLBE No opposition filed within time limit

Free format text: ORIGINAL CODE: 0009261

STAA Information on the status of an ep patent application or granted ep patent

Free format text: STATUS: NO OPPOSITION FILED WITHIN TIME LIMIT

PG25 Lapsed in a contracting state [announced via postgrant information from national office to epo]

Ref country code: LU

Free format text: LAPSE BECAUSE OF NON-PAYMENT OF DUE FEES

Effective date: 20040921

Ref country code: AT

Free format text: LAPSE BECAUSE OF NON-PAYMENT OF DUE FEES

Effective date: 20040921

PG25 Lapsed in a contracting state [announced via postgrant information from national office to epo]

Ref country code: BE

Free format text: LAPSE BECAUSE OF NON-PAYMENT OF DUE FEES

Effective date: 20040930

Ref country code: LI

Free format text: LAPSE BECAUSE OF NON-PAYMENT OF DUE FEES

Effective date: 20040930

Ref country code: CH

Free format text: LAPSE BECAUSE OF NON-PAYMENT OF DUE FEES

Effective date: 20040930

Ref country code: MC

Free format text: LAPSE BECAUSE OF NON-PAYMENT OF DUE FEES

Effective date: 20040930

26N No opposition filed

Effective date: 20040730

BERE Be: lapsed

Owner name: *ULAMO BEHEER B.V.

Effective date: 20040930

REG Reference to a national code

Ref country code: CH

Ref legal event code: PL

PGFP Annual fee paid to national office [announced via postgrant information from national office to epo]

Ref country code: FR

Payment date: 20060922

Year of fee payment: 7

Ref country code: GB

Payment date: 20060922

Year of fee payment: 7

PGFP Annual fee paid to national office [announced via postgrant information from national office to epo]

Ref country code: DE

Payment date: 20061130

Year of fee payment: 7

BERE Be: lapsed

Owner name: *ULAMO BEHEER B.V.

Effective date: 20040930

PG25 Lapsed in a contracting state [announced via postgrant information from national office to epo]

Ref country code: PT

Free format text: LAPSE BECAUSE OF NON-PAYMENT OF DUE FEES

Effective date: 20040329

GBPC Gb: european patent ceased through non-payment of renewal fee

Effective date: 20070921

PG25 Lapsed in a contracting state [announced via postgrant information from national office to epo]

Ref country code: DE

Free format text: LAPSE BECAUSE OF NON-PAYMENT OF DUE FEES

Effective date: 20080401

REG Reference to a national code

Ref country code: FR

Ref legal event code: ST

Effective date: 20080531

PG25 Lapsed in a contracting state [announced via postgrant information from national office to epo]

Ref country code: FR

Free format text: LAPSE BECAUSE OF NON-PAYMENT OF DUE FEES

Effective date: 20071001

PG25 Lapsed in a contracting state [announced via postgrant information from national office to epo]

Ref country code: GB

Free format text: LAPSE BECAUSE OF NON-PAYMENT OF DUE FEES

Effective date: 20070921

PGFP Annual fee paid to national office [announced via postgrant information from national office to epo]

Ref country code: NL

Payment date: 20130920

Year of fee payment: 14

PG25 Lapsed in a contracting state [announced via postgrant information from national office to epo]

Ref country code: NL

Free format text: LAPSE BECAUSE OF NON-PAYMENT OF DUE FEES

Effective date: 20150401