EP1032012A2 - Dispositif émetteur d'électrons,source d'électrons et procédé de fabrication d'un appareil de formation d'images - Google Patents

Dispositif émetteur d'électrons,source d'électrons et procédé de fabrication d'un appareil de formation d'images Download PDF

Info

Publication number
EP1032012A2
EP1032012A2 EP00301465A EP00301465A EP1032012A2 EP 1032012 A2 EP1032012 A2 EP 1032012A2 EP 00301465 A EP00301465 A EP 00301465A EP 00301465 A EP00301465 A EP 00301465A EP 1032012 A2 EP1032012 A2 EP 1032012A2
Authority
EP
European Patent Office
Prior art keywords
electron source
manufacturing
electron
carbon compound
carbon
Prior art date
Legal status (The legal status is an assumption and is not a legal conclusion. Google has not performed a legal analysis and makes no representation as to the accuracy of the status listed.)
Granted
Application number
EP00301465A
Other languages
German (de)
English (en)
Other versions
EP1032012B1 (fr
EP1032012A3 (fr
Inventor
Kazuhiro Jindai
Toshikazu Ohnishi
Current Assignee (The listed assignees may be inaccurate. Google has not performed a legal analysis and makes no representation or warranty as to the accuracy of the list.)
Canon Inc
Original Assignee
Canon Inc
Priority date (The priority date is an assumption and is not a legal conclusion. Google has not performed a legal analysis and makes no representation as to the accuracy of the date listed.)
Filing date
Publication date
Application filed by Canon Inc filed Critical Canon Inc
Publication of EP1032012A2 publication Critical patent/EP1032012A2/fr
Publication of EP1032012A3 publication Critical patent/EP1032012A3/fr
Application granted granted Critical
Publication of EP1032012B1 publication Critical patent/EP1032012B1/fr
Anticipated expiration legal-status Critical
Expired - Lifetime legal-status Critical Current

Links

Images

Classifications

    • HELECTRICITY
    • H01ELECTRIC ELEMENTS
    • H01JELECTRIC DISCHARGE TUBES OR DISCHARGE LAMPS
    • H01J9/00Apparatus or processes specially adapted for the manufacture, installation, removal, maintenance of electric discharge tubes, discharge lamps, or parts thereof; Recovery of material from discharge tubes or lamps
    • H01J9/02Manufacture of electrodes or electrode systems
    • H01J9/022Manufacture of electrodes or electrode systems of cold cathodes
    • H01J9/027Manufacture of electrodes or electrode systems of cold cathodes of thin film cathodes

Definitions

  • the present invention relates to techniques regarding a method of manufacturing electron-emitting devices, a method of manufacturing an electron source, and a method of manufacturing an image-forming apparatus using an electron source.
  • a surface conduction electron-emitting device utilizes the phenomenon that electrons emit when current flows through a thin film having a small area formed on a substrate in parallel to the film plane.
  • Japanese Patent Application Laid-Open No. 7-235255 discloses a surface conduction electron-emitting device using a metal thin film of Pd or the like.
  • This device structure is shown in Figs. 1A and 1B.
  • reference numeral 1 represents a substrate.
  • Reference numeral 4 represents an electroconductive film which is a metal oxide thin film of Pd or the like. This film is subjected to an energization process called an energization forming operation to be later described to locally destruct, deform or decompose the electroconductive film 4 and form a gap 5 having high electric resistance.
  • an operation called “activation” to be described later is executed in some cases to form an electron-emitting region and films (carbon film) made of carbon and carbon compound near the electron-emitting region.
  • This process may be performed by a method of depositing carbon and carbon compound near the electron-emitting region by applying a pulse voltage to the device in an atmosphere which contains organic substance (EP-A-660357, Japanese Patent Application Laid-Open Nos. 07-192614, 07-235255, 08-007749).
  • the surface conduction electron-emitting device Since the surface conduction electron-emitting device has a simple structure and is easy to manufacture, it has an advantage that a number of devices can be arranged in a large area. Various applications utilizing such characteristics have been studied. For example, applications to a charged beam source, a display apparatus and the like are known.
  • One example of an electron source having a number of surface conduction electron-emitting devices is an electron source in which a number of rows are disposed and both ends of each of surface conduction electron-emitting devices disposed in parallel are connected by wirings (also called common wires) (e.g., publications of Japanese Patent Application Laid-Open Nos. 64-031332, 1-283749, 2-57552 and the like).
  • One example of applications is an image-forming apparatus such as a display apparatus in which an electron source having a number of surface conduction electron-emitting devices is combined with a phosphor which emits visual light when an electron beam is applied from the electron source (e.g., US Patent No. 5,066,883).
  • FE Field Emitter
  • FE field emission electron-emitting devices
  • One example of FE is a Spindt type.
  • the Spindt type FE is a fine cold cathode constituted of a small conical emitter with a control electrode (gate electrode) formed very near the emitter and having a function of attracting electrons from the emitter and controlling a current quantity.
  • a cold cathode having Spindt type FEs disposed in an array has been proposed by C. A. Spindt, et. al. (C. A. Spindt, "A Thin-Film Field-Emission Cathode", Journal of Applied Physics, Vol. 39, No. 7, p. 3504, 1968).
  • an electron source substrate with a number of electron-emitting devices is a simple matrix electron source substrate with electron-emitting devices disposed in a matrix shape of N rows and M columns.
  • a voltage is applied to the common wires of N rows and M columns connected to device electrodes.
  • the following methods are performed for the activation process.
  • One proposed approach to shortening the activation time is to increase the number of lines to which a voltage is applied at the same time.
  • this approach is associated with some problems. Namely, the activation process deposits carbon or carbon compound on the electron-emitting region and its nearby area, by decomposing organic substance attached to the device substrate from the atmosphere. Therefore, as the number of devices for which the activation process is executed at the same time, increases, the amount of organic substance decomposed and consumed per unit time. on the electron source substrate increases. This results in a variation of the concentration of organic substance in the atmosphere, a lowered carbon film forming speed, and a variation in carbon films depending upon the position in the electron source substrate. Uniformity of manufactured electron sources is therefore degraded.
  • the present invention provides a method of manufacturing an electron-emitting device comprising a step of forming a pair of conductors on a substrate, the conductors being spaced from each other, and an activation process of depositing carbon or carbon compound on at least one side of the pair of conductors in an atmosphere of carbon compound gas, wherein the activation process includes a plurality of processes of two or more stages including a first process and a second process, and the first process is executed in an atmosphere of the carbon compound gas having a partial pressure higher than a partial pressure of the second process used as a last activation process.
  • the present invention also provides a method of manufacturing an electron-emitting device comprising a step of forming an electroconductive film including an electron-emitting region and disposed between electrodes, and an activation process of depositing carbon or carbon compound on the electroconductive film in an atmosphere of carbon compound gas, wherein the activation process includes a plurality of processes of two or more stages including a first process and a second process, and the first process is executed in an atmosphere of the carbon compound gas having a partial pressure higher than a partial pressure of the second process used as a last activation process.
  • the present invention also provides a method of manufacturing an electron source comprising a step of forming plural pairs of conductors on a substrate, the conductors being spaced from each other, and an activation process of depositing carbon or carbon compound on at least one side of each of the plural pairs of conductors in an atmosphere of carbon compound gas, wherein the activation process includes a plurality of processes of two or more stages including a first process and a second process, and the first process is executed in an atmosphere of the carbon compound gas having a partial pressure higher than a partial pressure of the second process used as a last activation process.
  • the present invention also provides a method of manufacturing an electron source comprising a step of forming a plurality of electroconductive films each including an electron-emitting region and disposed between electrodes, and an activation process of depositing carbon or carbon compound on each of the plurality of electroconductive films in an atmosphere of carbon compound gas, wherein the activation process includes a plurality of processes of two or more stages including a first process and a second process, and the first process is executed in an atmosphere of the carbon compound gas having a partial pressure higher than a partial pressure of the second process used as a last activation process.
  • the present invention also provides a method of manufacturing an image-forming apparatus comprising a step of disposing a frame member facing the electron source manufactured according to any one of the electron source manufacture methods described above, the frame member including an image-forming member for forming an image by an electron beam emitted from the electron source.
  • the present invention provides a method of manufacturing an electron-emitting device comprising a step of forming a pair of conductors on a substrate, the conductors being spaced from each other, and an activation process of depositing carbon or carbon compound on at least one side of the pair of conductors in an atmosphere of carbon compound gas, wherein the activation process includes a plurality of processes of two or more stages including a first process and a second process, and the first process is executed in an atmosphere of the carbon compound gas having a partial pressure higher than a partial pressure of the second process used as a last activation process.
  • the present invention also provides a method of manufacturing an electron-emitting device comprising a step of forming an electroconductive film including an electron-emitting region and disposed between electrodes, and an activation process of depositing carbon or carbon compound on the electroconductive film in an atmosphere of carbon compound gas, wherein the activation process includes a plurality of processes of two or more stages including a first process and a second process, and the first process is executed in an atmosphere of the carbon compound gas having a partial pressure higher than a partial pressure of the second process used as a last activation process.
  • the present invention also provides a method of manufacturing an electron source comprising a step of forming plural pairs of conductors on a substrate, the conductors being spaced from each other, and an activation process of depositing carbon or carbon compound on at least one side of each of the plural pairs of conductors in an atmosphere of carbon compound gas, wherein the activation process includes a plurality of processes of two or more stages including a first process and a second process, and the first process is executed in an atmosphere of the carbon compound gas having a partial pressure higher than a partial Pressure of the second process used as a last activation process.
  • the present invention also provides a method of manufacturing an electron source comprising a step of forming a plurality of electroconductive films each including an electron-emitting region and disposed between electrodes, and an activation process of depositing carbon or carbon compound on each of the plurality of electroconductive films in an atmosphere of carbon compound gas, wherein the activation process includes a plurality of processes of two or more stages including a first process and a second process, and the first process is executed in an atmosphere of the carbon compound gas having a partial pressure higher than a pressure process of the second process used as a last activation process.
  • the present invention also provides a method of manufacturing an image-forming apparatus comprising a step of disposing a frame member facing the electron source manufactured according to any one of the electron source manufacture methods described above, the frame member including an image-forming member for forming an image by an electron beam emitted from the electron source.
  • the final process is executed for depositing carbon or carbon compound at a low partial pressure of the carbon compound gas. Since the electron emission characteristics are optimized, uniformity can be improved.
  • the activation process is executed at the same time for a plurality of devices and the electron source having more uniform electron emission characteristics can be manufactured. Therefore, a tact time of the manufacture process is shortened so that the production cost lowers. It is therefore possible to provide inexpensive and highly uniform electron sources and an inexpensive and high quality image-forming apparatus.
  • the electron-emitting device according to the present invention emits electrons when a voltage is applied across a pair of conductors of the device disposed on a substrate and spaced from each other.
  • the electron-emitting device of this invention is intended to be inclusive of the surface conduction electron-emitting device and a field emission electron-emitting device called FE.
  • the conductor pair corresponds to the emitter and the gate electrode, and carbon or carbon compound is deposited on the emitter.
  • the conductor pair corresponds to a pair of electroconductive films to be later detailed, and carbon or carbon compound is deposited on one or both of paired electroconductive films.
  • Figs. 1A and 1B are diagrams showing the structure of a surface conduction electron-emitting device.
  • Figs. 1A and 1B are a plan view and a cross sectional view, respectively.
  • reference numeral 1 represents a substrate
  • reference numerals 2 and 3 represent device electrodes
  • reference numeral 4 represents a pair of electroconductive films respectively connected to the device electrodes 2 and 3, with a first gap 5 being interposed between the films 4
  • reference numeral 4a represents carbon films having carbon or carbon compound as their main component and disposed on the conductive films 4 and between the first gap 5, forming a second gap 5a narrower than the first gap 5.
  • the substrate 1 may be a quartz glass substrate, a glass substrate with a reduced content of impurities such as Na, a soda lime glass substrate, a soda lime glass substrate laminated with a sputtered SiO 2 film, a ceramic substrate such as alumina, an Si substrate or the like.
  • a device electrode distance L, a device electrode length W, the shape of the electroconductive films 4 and the like are designed by taking into consideration the application fields or the like.
  • a lamination structure of the electroconductive films 4 and the opposing device electrodes 2 and 3 stacked in this order on the substrate 1 may also be used.
  • the electroconductive films 4 are preferably made of a fine particle film made of fine particles.
  • the thickness of the electroconductive film is properly set by taking into consideration the step coverage to the device electrodes 2 and 3, the resistance value between the device electrodes 2 and 3, the forming conditions to be described later, and the like. Generally, it is preferable to set the film thickness in a range from a several multiple of 0.1 nm to several hundred nm, or more preferably in a range from 1 nm to 50 nm.
  • the forming process will be described by taking as an example an energization process.
  • the forming process is not limited only to the energization process, but may include other processes capable of forming a gap such as fissures in the film and providing a high resistance state.
  • the material of the electroconductive film 4 is properly selected from a group consisting of metal such as Pd, Pt, Ru, Ag, Au, Ti, In, Cu, Cr, Fe, Zn, Sn, Ta, W and Pd, and oxide such as PdO, SnO 2 , In 2 O 3 , PbO, Sb 2 O 3 .
  • the fine particle film is a film made of a collection of a plurality of fine particles.
  • the micro structure of the fine particle film takes a state that fine particles are separately dispersed or a state that fine particles are disposed adjacently or in a superposed manner (including a state of an island structure each island being formed by a collection of several fine particles).
  • the diameter of a fine particle is in a several multiple of 0.1 nm to several hundred nm, or more preferable in a range from 1 nm to 20 nm.
  • the first gap 5 is constituted of fissures or the like partially formed in the electroconductive films 4.
  • the structure of the electroconductive film 4 depends upon the thickness, quality, and material of the film and manufacture processes such as energization forming to be described later.
  • the carbon films 4a of carbon or carbon compound are formed in the first gap 5 and its nearby electroconductive films 4.
  • FIG. 2A to 2D An example of a manufacture method for electron-emitting devices will be described with reference to Figs. 2A to 2D and Fig. 6.
  • Figs. 2A to 2D and Fig. 5 like elements to those shown in Figs. 1A and 1B are represented by using identical reference numerals.
  • the whole of the vacuum envelope so as to facilitate the evacuation of organic substance molecules attached to the inner wall of the vacuum envelope and to the electron-emitting devices.
  • the heating is desired to be performed as long as possible at a temperature range of 80 to 250 °C or more preferably at a temperature of 150 °C or higher.
  • the heating conditions are not limited only thereto, but the heating conditions are properly determined from various conditions such as the size and shape of the vacuum envelope, the structure of the electron-emitting devices and the like. It is necessary to lower the pressure in the vacuum envelope as much as possible, and the pressure is preferably 1 ⁇ 10 -5 Pa or lower, or more preferably 1.3 ⁇ 10 -6 Pa or lower.
  • the manufacture method of the invention is also applied to a method of manufacturing an electron source having a plurality of electron-emitting devices formed on a substrate.
  • a plurality of electron-emitting devices are disposed in a matrix shape in row and column directions, ones of electrodes of a plurality of electron-emitting devices disposed at the same row are connected in common to a row-directional wire, and others of electrodes of a plurality of electron-emitting devices disposed at the same column are connected in common to a column-directional wire.
  • Such a layout is a so-called simple matrix layout.
  • reference numeral 71 represents an electron source substrate
  • reference numeral 72 represents column-directional wires
  • reference numeral 73 represents row-directional wires
  • reference numeral 74 represents electron-emitting devices.
  • wires are made of conductive metal or the like formed through vacuum evaporation, printing, sputtering or the like. The material, thickness and width of each wire are designed properly. Unrepresented interlayer insulating films are formed between m row-directional wires 73 and n column-directional wires 72 to electrically insulate them (m and n are both a positive integer).
  • the unrepresented interlayer insulating film is made of SiO 2 or the like formed through vacuum evaporation, printing, sputtering or the like.
  • the interlayer insulating films having a desired shape are formed on the whole area or partial areas of the substrate 71 formed with the column-directional wires 72.
  • the thickness, material and manufacture method are properly set so as to be resistant against a potential difference between the column-directional wires 72 and row-directional wires 73.
  • the column-directional wires 72 and row-directional wires 73 are connected to external terminals.
  • a pair of electrodes (not shown) of each electron-emitting device is electrically connected to one of the m row-directional wires 73 and one of the n column-directional wires 72.
  • Fig. 6 is a schematic diagram showing an example of a display panel of the image-forming apparatus
  • Figs. 7A and 7B are schematic diagrams showing examples of a fluorescent film used by the image-forming apparatus shown in Fig. 6.
  • Fig. 8 is a block diagram showing an example of a driver circuit for displaying an image in accordance with television signals of the NTSC system.
  • reference numeral 71 represents an electron source substrate on which a plurality of electron-emitting elements 74 are disposed
  • reference numeral 86 represents a face plate made of a glass substrate 83 with a fluorescent film 93, a metal back 85 and the like formed on the inner surface of the glass substrate.
  • Reference numeral 82 represents a support frame on which the electron source substrate (rear plate) 71 and face plate 86 are bonded by low melting point frit glass or the like to form an envelope 164.
  • Reference numerals 72 and 73 represents column- and row-directional wires connected to a pair of device electrodes of an electron-emitting device.
  • Spacers 169 are disposed between the face plate 86 and rear plate (electron source substrate) 71 so that the envelope 164 can have a sufficient strength resistant against the atmospheric pressure.
  • Figs. 7A and 7B are schematic diagrams showing examples of a fluorescent film.
  • a fluorescent film 84 can be made of only single phosphor.
  • the fluorescent film 84 can be made of phosphors 92 and black color electroconductive material 91 called black stripes or black matrix depending on the layout of phosphors.
  • the objective of providing the black stripes or black matrix is to make color mixture and the like not conspicuous by making a black area between respective phosphorss 92 of primary three colors, and to suppress the contrast from being lowered by external light reflection at the fluorescent film 84.
  • the material of the black stripes may be the generally used material containing as its main component black lead, and in addition the material which is electroconductive and has less transmission and reflection of light.
  • the method of coating phosphor on the glass substrate 83 may be semidentating, printing or the like irrespective of whether the display is monochrome or color.
  • the metal back 85 is generally mounted on the inner surface side of the fluorescent film 84.
  • the objective of providing the metal back 85 is to improve the brightness by mirror-reflecting light emitted from the phosphor to the inner side and directing it toward the face plate 86, to use the metal back 85 as an electrode for applying an electron beam acceleration voltage, and to protect the phosphor from being damaged by collision of negative ions generated in the envelope, and the like.
  • the metal back is formed in the manner that after the fluorescent film is formed, the inner surface of the fluorescent film is planarized (generally called "filming") and thereafter aluminum is deposited by vacuum evaporation or the like.
  • a transparent electrode (not shown) may be formed on the face plate 86 on the outer surface side of the fluorescent film 84 in order to improve the conductivity of the fluorescent film 84.
  • An air exhaust pipe 132 is provided to the envelope 164, and by using an evacuation system having the structure shown in Fig. 9, the forming process and succeeding processes can be performed.
  • the envelope 164 is coupled via the exhaust pipe 132 to a vacuum chamber 133 and via a gate valve 134 to an evacuator 135.
  • a pressure gage 136, a quadrupole mass analyzer (Q-mass) 137 and the like are mounted on the vacuum chamber 133 in order to measure the pressure in the chamber 133 and partial pressures of respective components in the atmosphere.
  • Gas inlet pipes 138 are connected to the vacuum chamber 133 in order to introduce necessary gases into the atmosphere in the vacuum chamber.
  • Introduction material sources 140 are connected to the other ends of the gas inlet pipes 138. The introduction materials are accommodated in an ampoule or a bomb.
  • a flow control means (gas flow control device) 139 is mounted at the intermediate position of the gas inlet pipe in order to control the flow rate of the gas to be introduced.
  • the flow control unit may be a valve such as a slow leak valve capable of controlling a flow rate, an electromagnetic valve, a mass flow controller and the like, which can be selectively used depending upon the type of gas.
  • a power source (not shown) is connected via a cable (not shown) to the external terminals of the row- and column-directional wires of the electron source substrate so that a voltage can be applied from the power source to the wires of the electron source substrate 71.
  • a voltage can be applied to all electroconductive films 4 on the electron source substrate by connecting all the column-directional wires 72 in common and sequentially applying (scrolling) phase-shifted pulses to the row-directional wires 73.
  • Reference numeral 143 represents a current measuring resistor
  • reference numeral 144 represents a current measuring oscilloscope. The forming process can be executed for each device by the method similar to that described already.
  • the manufacture method of the present invention is characterized in that the activation process is executed at at least two or more stages.
  • the activation process of depositing carbon or carbon compound in the first gap and its nearby area of the electroconductive films, is realized by decomposing organic substance attached from the atmosphere to the device substrate. If the activation process is to be executed for a number of electron-emitting devices formed on an electron source substrate and the number of devices to which a voltage is applied at the same time in order to shorten the time of the activation process, the amount of organic substance decomposed and consumed on the electron source substrate becomes very large.
  • the activation process is generally executed at a low partial pressure of organic substance in the atmosphere. It is known that the characteristics of the electron-emitting device formed under such conditions show a small aging change during actual driving and a relatively large electron emission efficiency. If the partial pressure of organic substance in the atmosphere is made large, the amount of organic substance supplied to the substrate increases, although the influence of an insufficient amount can be mitigated, the electron emission efficiency is lowered by excessive deposition of the carbon film.
  • the concentration of organic substance in the atmosphere may fluctuate or the speed of forming the carbon film may lower.
  • the present inventors have adopted the two-stage activation process. Namely, the activation process is divided into two stages, at the first stage the process is executed at a high partial pressure of organic substance in the atmosphere, and at the second stage the process is executed at a low partial pressure of organic substance. Therefore, even if the partial pressure of organic substance in the atmosphere is small or even if the gas conductance is small such as in the envelope, a number of devices can be activated in a short time.
  • the amount of carbon or carbon compound deposited by the first stage process is 70 % or more of the final amount of deposited carbon or carbon compound.
  • the reason for this has been made clear from intensive studies of the present inventors. Namely, in order to improve uniformity of the electron emission characteristics, it is necessary to reduce as much as possible the amount of carbon or carbon compound deposited during the final process at the low partial pressure atmosphere after the first process at the high partial pressure atmosphere.
  • the deposition amount of carbon or carbon compound can be measured through determination by Raman spectroscopic analysis or through volume determination such as AFM and STM.
  • the lowest partial pressure of organic substance required in the first stage process can be determined from the deposition amount of carbon or carbon compound per device necessary for stable electron emission characteristics, the number of devices to be activated at the same time, the activation time, and from the conversion efficiency (reaction efficiency) of converting (reacting) organic substance into deposited (reacted) carbon or carbon compound.
  • This lowest partial pressure is preferably 5 ⁇ 10 -4 Pa or higher.
  • the partial pressure of organic substance in the second stage process is preferably 5 ⁇ 10 -3 Pa or lower.
  • the manufacture method of the invention is characterized in that of the two-stage process, the first stage activation process detects the electrical characteristics such as device current and emission current, and terminates in accordance with this detected evaluation results.
  • the first stage activation process is executed at the high partial pressure of organic substance in the atmosphere. Therefore, the carbon deposition amount is large and the device current is increased nearly to the final emission current.
  • the second stage activation process is presumed that crystallinity of the carbon film deposited at the first stage activation process is improved by Joule heat generated by the device current and application of emission electrons. This improved crystallinity may result in the improved aging stability of the electron-emitting devices during actual driving.
  • the deposition speed of the carbon film during the first stage activation process changes depending upon the shape of the first gap formed by the forming process, the temperature distribution of the substrate, and the local partial pressure of organic substance. If a number of electron-emitting devices formed on the electron source substrate are activated, the deposition speed changes with the position in the substrate. It has been found that uniformity of an electron source can be improved by making the deposition amount of carbons films uniform in the first stage activation process.
  • the first stage activation process is executed at a higher partial pressure of organic substance in the atmosphere than the second stage activation process, the adsorption and ionization of organic substance contribute largely to the device current.
  • the first stage activation process is terminated when the reference current equal to or larger than the current value to be obtained when the second stage activation process is terminated. Accordingly, a large amount of organic substance will not be consumed during the second stage activation process, the activation process can be executed in a short time, and the characteristics of the electron source can be made uniform.
  • the voltage value used when the current is measured may be equal to the voltage applied during the activation process, or may be a lower voltage. Since the partial pressure of organic substance during the first stage activation process is high, if the deposition of the carbon film becomes excessive, the ohmic current increases and the non-linear characteristics of the device current cannot be obtained. Therefore, the termination of the first stage activation process may be determined by detecting the device current at the threshold voltage.
  • the voltage waveform to be used for activation may be made stepwise, or a voltage pulse for the evaluation of electrical characteristics may be applied at a predetermined time interval.
  • the characteristics may be measured for each device or for all devices connected via the wires. In the latter case, the total value or an average value is used.
  • the partial pressure of organic substance is generally lowered by reducing the supply amount of organic substance introduced into the vacuum chamber from the gas source of organic substance.
  • the invention is characterized in that a voltage is not applied to all devices on the substrate when the partial pressure of organic substance in the atmosphere is lowered.
  • a voltage is applied to the device of the electron source when the partial pressure of organic substance is lowered after the completion of the first stage activation process, a new carbon film is deposited on the carbon film deposited in the first stage activation process because the partial pressure of organic substance when the voltage is applied is high.
  • the excessive deposition of the carbon film may adversely affect the characteristics (particularly, a lowered electron emission efficiency) of the electron-emitting device and may degrade uniformity of devices formed in the second stage activation process.
  • the envelope 164 is heated and maintained at 80 to 250 °C.
  • the inside of the envelope is evacuated via the exhaust pipe 132 by the evacuator 135 such as an ion pump and a sorption pump which does not use oil.
  • the exhaust pipe is heated with a burner and melted and sealed.
  • a gettering operation may be executed. Immediately before or after sealing the envelope 164, a getter at a predetermined position (not shown) in the envelope 164 is heated by resistance heating or RF heating to form a vapor evaporation film.
  • the getter generally contains Ba as its main component. The absorption function of the vapor evaporation film maintains the initial atmosphere in the envelope 164.
  • the forming process and activation process may be executed after the envelope is formed, or the envelope may be formed by using an electron source substrate already subjected to the forming and activation processes.
  • the forming and activation processes are executed for an electron source substrate, by placing the electron source in a vacuum chamber or by using a system constituted of a substrate stage and a vacuum chamber such as shown in Fig. 11.
  • a surface area excepting a peripheral area of an electron source substrate 210 on a substrate stage 215 is covered with a vacuum chamber 212.
  • the vacuum chamber 212 is of a hood shape with an inner space.
  • the surface area excepting the peripheral area of the electron source substrate is hermetically sealed from the outer space by an O-ring 213.
  • An electrostatic chuck 216 is mounted on the substrate stage 215 in order to prevent the substrate from being deformed or broken by a pressure difference between the front and bottom surfaces of the electron source substrate while the inside of the vacuum chamber is degassed.
  • a conductive film such as an ITO film is formed on the back surface of the substrate in order to maintain the electron source substrate 210 at a predetermined potential.
  • it is necessary that the distance between the electrode (not shown) in the electrostatic chuck and the substrate is short. It is therefore desired to push the electron source 210 once toward the electrostatic chuck 216 by another method. In the system shown in Fig.
  • the inside of a groove 221 formed in the surface layer of the electrostatic chuck 216 is degassed to push the electron source substrate 210 against the electrostatic chuck by the atmospheric pressure, and then a high voltage is applied from a high voltage source (not shown) to the electrode (not shown) in the electrostatic chuck. In this manner, the substrate can be attracted and fixed to the electrostatic chuck. Thereafter, the inside of the vacuum chamber 212 is degassed. In this case, the pressure difference between the back and front surfaces of the substrate is cancelled by the electrostatic force generated by the electrostatic chuck so that the substrate can be prevented from being deformed or broken.
  • heat exchange gas In order to increase the thermal conductivity between the electrostatic chuck 216 and electron source substrate 210, it is desired to introduce heat exchange gas into the groove 221 after being degassed.
  • the gas is preferably He.
  • Other gasses may also be used with similar effects.
  • Heat generated from the electron source substrate 210 during the processes such as the forming and activation processes can be easily transferred via the electrostatic chuck 216 to the substrate stage 215. Therefore, a temperature rise of the electron source substrate 210 and a temperature distribution resulting from local heat generation can be suppressed.
  • the substrate stage 215 is provided with a temperature control means such as a heater and a cooling unit, the temperature of the substrate can be controlled more precisely.
  • This driver circuit drives a television signal of the NTSC system to display an image on a display panel using a simple matrix electron source.
  • reference numeral 101 represents an image display panel
  • reference numeral 102 represents a scanner circuit
  • reference numeral 103 represents a control circuit
  • reference numeral 104 represents a shift register.
  • Reference numeral 105 represents a line memory
  • reference numeral 106 represents a sync signal dividing or separating circuit
  • reference numeral 107 represents a modulation signal generator
  • Vx and Va represent d.c. power sources.
  • the display panel 101 is connected to an external circuit via terminals Dox1 to Doxm, terminals Doy1 to Doyn, and a high voltage terminal Hv.
  • a scan signal is applied to the terminals Dox1 to Doxm to sequentially drive the electron source in the display panel, i.e., one row (n devices) of the electron-emitting device group wired in a matrix shape of m rows and n columns.
  • a modulation signal is applied to the terminals Doy1 to Doyn to control an output electron beam of each device of the electron-emitting devices of one row selected by the scan signal.
  • a d.c. voltage e.g., 10 kV is supplied from the d.c. voltage source Va to the high voltage terminal. This voltage is an acceleration voltage to supply the electron beam emitted from the electron-emitting device with an energy sufficient for exciting the phosphor.
  • the scanner circuit 102 will be described.
  • the scanner circuit has in switching elements (schematically shown in Fig. 8 at S1 to Sm). Each switching element selects either an output voltage from the d.c. power source Vx or O V (ground level) and supplies the selected voltage to the terminal Dox1 to Doxm.
  • Each of the switching elements S1 to Sm operates in accordance with a control signal T output from the control circuit 103.
  • the switching element is made of a combination of FETs.
  • the d.c. voltage source Vx is set so that it can output a constant voltage to make the drive voltage of the device not scanned, equal to or lower than the electron emission threshold voltage of the electron-emitting device, based on the characteristic of the electron-emitting device (electron emission threshold).
  • the control circuit 103 has a function of controlling operation of respective components so as to display a proper image in accordance with externally input image signals.
  • the control circuit In response to a sync signal Tsync supplied from the sync signal separating circuit 106, the control circuit generates control signals Tscn, Tsft and Tmry and supplies them to corresponding circuits.
  • the sync signal separating circuit 106 separates an externally input television signal of the NTSC system into sync signals and a luminance signal, and can be made by using general frequency separation (filter) circuits or the like.
  • the sync signals separated by the sync signal separating circuit 106 include a vertical sync signal and a horizontal sync signal. These sync signals are represented collectively by Tsync for the convenience sake.
  • the luminance signal of an image separated from the television signal is represented by a DATA signal.
  • the DATA signal is input to the shift register 104.
  • the shift register 104 serial-parallel converts a time sequentially and serially input DATA signal for each line of the image, and operates in response to the control signal Tsft supplied from the control circuit 103 (this control signal Tsft may be a shift clock of the shift register 104). Data of one line image (corresponding to drive data for n electron-emitting devices) serial-parallel converted is output from the shift register 104 as n parallel signals Id1 to Idn.
  • the line memory 105 is a storage device for storing data of one line image during a necessary period, and stores the contents of Id1 to Idn in response to the control signal Tmry supplied from the control circuit 103.
  • the stored contents are input to the modulation signal generator 107 as I'd1 and I'dn.
  • the modulation signal generator 107 In response to the image data I'd1 to I'dn, the modulation signal generator 107 generates a signal for properly driving and modulating each of the electron-emitting devices.
  • the output signal is supplied via the terminals Doy1 to Doyn to the electron-emitting devices of the display panel 101.
  • the modulation signal generator 107 may be made of a circuit of the voltage modulation type capable of generating a voltage pulse having a constant width and a peak value changing with the input data.
  • the modulation signal generator 107 may be made of a circuit of the pulse width modulation type capable of generating a voltage pulse having a constant peak value and a pulse width changing with the input data.
  • the shift register 104 and line memory 105 may be either a digital type or an analog type so long as the serial/parallel conversion and storage of the image signal can be performed at a predetermined speed.
  • the digital type it is necessary to digitalize the output signal DATA from the sync signal separating circuit 106.
  • an A/D converter is provided at the output of the sync signal separating circuit 106. Also, depending upon whether the output signal of the line memory 105 is digital or analog, the circuit used by the modulation signal generator 107 becomes slightly different.
  • the modulation signal generator 107 uses, for example, a D/A converter circuit and an amplifier if necessary.
  • the modulation signal generator 107 uses, for example, a high speed oscillator, a counter for counting the wave number of a signal output from the oscillator, and a compartor for comparing the output of the counter with the output of the memory. If necessary, an amplifier is used for voltage-amplifying the modulation signal pulse-width modulated and output from the comparator to a sufficient drive voltage for the electron-emitting device.
  • the modulation signal generator 107 uses, for example, an amplifier using an operational amplifier, and if necessary, a level shift circuit.
  • the modulation signal generator 107 uses, for example, a voltage controlled oscillator (VCO), and if necessary, and an amplifier for voltage-amplifying the modulating signal to a sufficient drive voltage for the electron-emitting device.
  • VCO voltage controlled oscillator
  • a voltage is applied to each electron-emitting device via each of the external terminals Dox1 to Doxm and each of the terminals Doy1 to Doyn to emit electrons from each electron-emitting device.
  • a high voltage is applied via the high voltage terminal Hv to the metal back 85 or transparent electrode (not shown) to accelerate the electron beam. The accelerated electrons collide with the fluorescent film 84 to emit light and form an image.
  • the input signal is not limited to those of the NTSC system, but other input signals of different systems can be used, such as the PAL system and the SECAM system as well as those systems using a number of scan lines such as high definition TV system like the MUSE system.
  • Fig. 12 is a schematic diagram showing an example of a ladder-like electron source.
  • reference numeral 110 represent an electron source substrate
  • reference numeral 111 represents an electron-emitting device.
  • Reference numeral 112 represents common wires Dx1 to Dx10 for connecting the electron-emitting devices 111.
  • a plurality of electron-emitting devices 111 are disposed in parallel along the X direction on the substrate 110. Each line in the X direction is called a device row.
  • a plurality of device rows are disposed to constitute an electron source. By applying a drive voltage across the common wires of each device row, the device row can be driven independently.
  • the common wires Dx2 to Dx9 between adjacent device rows may be used in common.
  • the wires Dx2 and Dx3 may be made of a single wire.
  • Fig. 13 is a schematic diagram showing an example of the panel structure of an image-forming apparatus using a ladder-like electron source.
  • Reference numeral 120 represents a grid electrode
  • reference numeral 121 represents an opening through which electrons pass
  • reference numeral 122 represents external terminals Dox1, Dox2,..., Doxm.
  • Reference numeral 123 represents external terminals G1, G2,..., Gn connected to the grid electrodes 120
  • reference numeral 124 represents an electron source substrate having the common wires between adjacent device rows as single wires.
  • the grid electrodes 120 are provided between the substrate 110 and face plate 86.
  • the grid electrode 120 modulates the electron beam emitted from each electron-emitting device.
  • the grid electrode 120 is a strip electrode perpendicular to the device row in the ladder-like layout and is formed with circular openings 121 corresponding to respective devices through which electron beams pass.
  • the shape and position of the grid electrode are not limited to those shown in Fig. 13. For example, a number of meshed openings may be formed, and the grid electrode may be disposed around or near the emitting device.
  • the external terminals 122 and grid external terminals 123 are electrically connected to an unrepresented control circuit.
  • the modulation signal of the one line image is applied at the same time to the grid electrode column. In this manner, application of each electron beam to the phosphor can be controlled and an image can be displayed one line after another.
  • the image-forming apparatus of the invention may be applied to a television broadcasting display apparatus, a display apparatus for a television conference system and a computer, and to an optical printer constituted of a photosensitive drum and the like.
  • Fig. 14A is a plan view partially showing an electron source of this embodiment.
  • Fig. 14B is a cross sectional view partially showing an electron-emitting device.
  • reference numeral 91 represents a substrate
  • reference numeral 98 represents row-directional wires (200 rows)
  • reference numeral 99 represents column-directional wires (600 columns)
  • reference numeral 4 represents electroconductive films
  • reference numeral 5 represents a gap between the electroconductive films 4
  • reference numerals 2 and 3 represent device electrodes
  • reference numeral 97 represents interlayer insulating films.
  • a cleaned soda lime glass substrate 91 On a cleaned soda lime glass substrate 91, plural pairs of device electrodes 2 and 3 were formed by an offset printing method.
  • the distance L between the device electrodes was set to 20 ⁇ m, and the device electrode width W was set to 125 ⁇ m.
  • the column-directional wires 99 were formed by a screen printing method. Next, the interlayer insulating films 97 having a thickness of 0.1 ⁇ m were formed by a screen printing method. The row-directional wires 98 were also printed.
  • Aqueous solution was formed by dissolving polyvinyl alcohol at a weight concentration of 0.05 %, 2-propanol at a weight concentration of 15 % and ethylene glycol at a weight concentration of 1 %.
  • tetra mono ethanolamine - palladium acetic acid Pd(NH 2 CH 2 CH 2 OH) 4 (CH 3 COO) 2
  • Pd(NH 2 CH 2 CH 2 OH) 4 (CH 3 COO) 2 was dissolved at the palladium weight concentration of about 0.15 % to obtain yellow solution.
  • a droplet of this aqueous solution was applied four times to each device electrode and to the area between the device electrodes by using an ink jet apparatus of an ink jet type (an ink jet printer head BC-01 manufactured by CANON Inc.)
  • Process-3 The specimen formed in Process-3 was baked in the atmospheric air at 350 °C.
  • the electroconductive films of a fine particle structure made of PdO was therefore formed between each of plural pairs of device electrodes 2 and 3.
  • a plurality of electroconductive films 4 wired in a matrix shape by the plurality of row-directional wires 98 and column-directional wires 99 were formed on the substrate 91 as shown in Fig. 15.
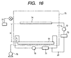
  • the substrate 91 shown in Fig. 15 subjected to Process-4 was placed in a vacuum processing apparatus shown in Fig. 16.
  • the inside of the vacuum processing apparatus was evacuated by a vacuum pump to a vacuum degree of 10 -5 Pa.
  • Fig. 16 is a schematic diagram showing an example of the vacuum processing apparatus.
  • this vacuum processing apparatus not only the forming, activation and stabilization processes can be executed, but also this apparatus provides a function as a measurement evaluation apparatus.
  • the row-directional wires 98, column-directional wires 99, interlayer insulating films 97, device electrodes 2 and 3, and electroconductive films 4 are all omitted.
  • reference numeral 75 represents a vacuum chamber
  • reference numeral 76 represents an evacuator pump.
  • Reference numeral 71 represents a power source for applying a voltage Vf to the electroconductive films 4
  • reference numeral 70 represents an ammeter for measuring the device current If flowing through the electroconductive films 4 between the device electrodes 2 and 3
  • reference numeral 74 represents an anode electrode for capturing the emission current Ie emitted from the electron-emitting region formed in the electroconductive films 4.
  • Reference numeral 73 represents a high voltage source for applying a voltage to the anode electrode 74
  • reference numeral 72 represents an ammeter for measuring the emission current emitted from the electron-emitting region formed in the electroconductive films.
  • Reference numeral 77 represents an organic gas source used for the activation process.
  • the evacuator pump 76 was structured by a ultra high vacuum system constituted of a turbo pump, a dry pump, an ion pump and the like.
  • the whole of the vacuum processing apparatus in which the electron source substrate is placed can be heated by an unrepresented heater to 350 °C.
  • the forming process was executed in the vacuum processing apparatus shown in Fig. 16.
  • a voltage was applied to each of the electroconductive films 4 via each of the row-directional wires 98 and each of the column-directional wires 99 on the substrate 91 to execute the forming process.
  • the voltage was applied to each line (row-directional wire).
  • fissures were formed in each electroconductive film 4.
  • the voltage used for the energization forming was a rectangular pulse voltage whose peak value was increased from 0 V at 0.1 V step.
  • the pulse voltage had a pulse width of 1 msec and a pulse interval of 10 msec.
  • the timing of termination of the energization forming process was set to the time when the resistance value of the electroconductive film reached 1 M ⁇ or larger.
  • Fig. 17 shows the forming waveform used by the embodiment.
  • the voltage was applied in such a manner that one of the device electrodes 2 and 3 was set to a low potential and the other was set to a high potential.
  • tolunitrile was introduced to the partial pressure of 1 ⁇ 10 -2 Pa and a voltage was applied to each of the electroconductive films 4 via corresponding ones of the row-directional wires 98 and column-directional wires 99 on the substrate 91 to execute the first stage activation process.
  • the voltage was applied to each line (row-directional wire) through line sequential scanning.
  • the voltage used for the first stage activation process was a rectangular pulse voltage having a fixed peak value of 15 V, a pulse width of 1 msec and a pulse interval of 10 msec. The voltage was applied to each line (row-directional wire) for 1 minute. With these operations, the first stage activation process was terminated.
  • the partial pressure of tolunitrile was lowered to 1 ⁇ 10 -4 Pa by the evacuator, and a voltage was applied to each line (row-directional wire) for 10 minutes similar to the first stage activation process.
  • the second stage activation process was terminated when the average device current of each line became 15 mA.
  • Fig. 18 shows the pulse waveforms used by the activation processes of the first and second stages.
  • the voltage was applied in such a manner that high and low potentials are alternately applied to the device electrodes 2 and 3 at the pulse interval.
  • Fig. 19 shows the aging change in the device current during the activation process of this embodiment. As seen from the graph of Fig. 19, the device current increases considerable during the first stage activation process, whereas the device current increases less during the second stage activation process.
  • Carbon or carbon compound deposited on each electroconductive film 4 was analyzed by Raman spectroscopy (laser wavelength: 514.5 nm, spot diameter: about 1 ⁇ m) when the first stage activation process was terminated and when the second stage activation was terminated. From the measured integration intensities of peaks near at 1580 cm -1 and 1335 cm -1 , it was confirmed that the deposition amount of carbon or carbon compound during the first stage activation process was 85 % of that during the second stage activation process.
  • the carbon film 4a was formed on each electroconductive film 4 such as shown in Figs. 1A and 1B.
  • the stabilization process is a process of stabilizing the device current If and emission current Ie by degassing organic substance gas in the atmosphere of the vacuum chamber and suppressing carbon or carbon compound from being further deposited on each electroconductive film 4.
  • the whole of the vacuum chamber was heated to 250 °C to drain organic substance molecules attached to the inner wall of the vacuum chamber and to the substrate 91. At this time, the vacuum degree was set to 1 ⁇ 10 Pa.
  • the electron source of this embodiment such as shown in Figs. 14A and 14B was formed.
  • the average device current If was 1.5 mA and the average emission current Ie was 2 ⁇ A.
  • a dispersion value divided by an average value of the characteristics of respective electron-emitting devices was calculated. This dispersion value was 15 % for the device current If and 20 % for the emission current Ie.
  • the substrate 91 subjected to Processes up to Process-5 of the first embodiment was subjected to the activation process of Process-6 of the first embodiment under the following conditions.
  • Tolunitrile was introduced to the partial pressure of 1 ⁇ 10 -4 Pa and a voltage was applied to each of the electroconductive films 4 via corresponding ones of the row-directional wires 98 and column-directional wires 99 on the substrate 91.
  • the voltage was applied to each line (row-directional wire) through line sequential scanning.
  • the voltage used for the first stage activation process was a rectangular pulse voltage having a fixed peak value of 15 V, a pulse width of 1 msec and a pulse interval of 10 msec.
  • the voltage was applied to each line (row-directional wire) for 60 minutes.
  • the second stage activation process was not executed.
  • an electron source of the comparative example was manufactured similar to the first embodiment. Similar to the first embodiment, in order to evaluate uniformity of the characteristics, a dispersion value divided by an average value of the characteristics of respective electron-emitting devices was calculated. This dispersion value was 25 % for the device current If and 30 % for the emission current Ie.
  • FIG. 20 is a partial plan view of the electron source of this embodiment.
  • Fig. 21 is a cross sectional view taken along line 21-21 in Fig. 20.
  • Reference numeral 71 represents a substrate
  • reference numeral 72 represents a column-directional wire (also called a lower wire) connected to the terminal Doyn shown in Fig. 6
  • reference numeral 73 represents a row-directional wire (also called an upper wire) connected to the terminal Doxm shown in Fig.
  • reference numeral 4 represents a thin film including an electron-emitting region
  • reference numerals 2 and 3 represent device electrodes
  • reference numeral 151 represents an interlayer insulating film
  • reference numeral 152 represents a contact hole via which the device electrode 2 and lower wire 72 are electrically connected.
  • the electron source of this embodiment has 600 electron-emitting elements along each row-directional wire and 200 electron-emitting elements along each column-directional wires.
  • manufacture method will be specifically described in the order of processes, with reference to Figs. 22A to 22G.
  • a silicon oxide film was deposited to a thickness of 0.5 mm by sputtering.
  • This soda lime glass was used as a substrate 71.
  • Cr and Au were deposited in this order to thicknesses of 5 nm and 600 nm by vacuum evaporation.
  • photoresist AZ 1370, manufactured by Hoechst Aktiengesellschaft
  • a photomask image was exposed and developed to form resist patterns for the lower wires 72.
  • the Au/Cr lamination film was wet etched and removed to form the lower wires 72 having desired patterns (Fig. 22A).
  • a photoresist pattern was formed in order to form a contact hole 152 through the silicon oxide film deposited in Process-b.
  • the interlayer insulating film 151 was etched to form the contact hole (Fig. 222C). This etching was performed by RIE (Reactive Ion Etching) using gas of CF 4 and H 2 .
  • a resist pattern corresponding to a gap G between the device electrodes 2 and 3 was formed by using photoresist (RD-2000N-41, manufactured by Hitachi Kassei CO., Ltd.), and Ti and Ni were deposited in this order to the thicknesses of 5 nm and 100 nm by vacuum evaporation.
  • the photoresist pattern was removed by using an organic solvent, and the electrodes 2 and 3 having desired patterns were formed through lift-off.
  • the distance L1 between the electrodes 2 and 3 was set to 5 mm and the device electrode width W1 was set to 300 mm (Fig. 22D).
  • a photoresist pattern for the upper wires 73 was formed on the device electrodes 3, and then Ti and Au were deposited in this order to the thicknesses of 5 nm and 500 nm by vacuum evaporation. Next, by removing unnecessary portions through lift-off, the upper wires 73 having desired shapes were formed (Fig. 22E).
  • a Cr film having a thickness of 100 nm was deposited by vacuum evaporation and patterned.
  • organic Pd ccp 4230, manufactured by Okuno Pharmaceutical K. K.
  • heat treatment was executed for 10 minutes at 300 °C.
  • An electroconductive film 4 made of PdO fine particles was therefore formed.
  • This film 4 had a thickness of 10 nm and a sheet resistance of 5 ⁇ 10 4 ⁇ / ⁇ .
  • the Cr film 153 and the baked electroconductive film 4 were etched by acid etchant to form a desired pattern (Fig. 22F).
  • a photoresist pattern having an opening corresponding to the contact hole 152 was formed, and Ti and Au were deposited in this order to thicknesses of 5 nm and 500 nm by vacuum evaporation. By removing unnecessary portions through lift-off, the contact hole 152 was buried (Fig. 22G).
  • Conductive frit paste was coated on the upper wire 73 on an electron source substrate 71 by a dispenser, and one end of a spacer 160 was placed on the upper wire 73. In this state, baking was performed to make the spacer stand on the electron source substrate. Next, conductive frit paste was coated on the other end of the spacer 160. The spacer 160 was aligned with the black color conductive member (black stripe) of the face plate 85, and the support frame was coated with frit glass. In this state, baking was performed for 10 minutes at 420 °C to form the envelope 164.
  • reference numeral 74 represents an electron-emitting element to be formed by the succeeding processes
  • reference numerals 72 and 73 represent column- and row-directional wires.
  • Fig. 23 is a schematic diagram showing the cross section of the envelope as viewed along the column wire direction.
  • Conductive frit paste was used for fixing together the spacer 160, upper wire and face plate 86.
  • the conductive frint paste contains fillers of soda lime glass balls whose surfaces are Au plated. The average diameter of the soda lime glass balls was about 8 ⁇ m.
  • electroless plating was used and a Ni film was formed on the underlie to a thickness of about 0.1 ⁇ m, and an Au film was formed on the Ni film to a thickness of about 0.04 ⁇ m.
  • These conductive fillers were mixed with frit glass powder at 30 weight %, and binder was added to prepare the conductive frit paste.
  • the spacer was made of soda lime glass etched to a width of 0.6 mm, a length of 75 mm, and a height of 4 mm.
  • a semi-electroconductive film 161 made of a nickel oxide film was formed on the spacer 160.
  • the nickel oxide film was formed by using a sputtering system under the conditions of a target of nickel oxide and an atmosphere of mixture of argon and oxygen.
  • the substrate temperature was set to 250 °C during sputtering.
  • Two juxtaposed spacers were disposed on one upper wire.
  • the spacer was disposed every tenth line so that the pixel area was divided into ten regions in the upper wire direction by the spacers 160.
  • the fluorescent film 93 on the face plate was made of color phosphors 95, 96 and 97 and black color electroconductive members 91 of the black stripe layout. First, the black stripes were formed, and then each color phosphor was coated between the black stripes to form the fluorescent film 93. The phosphor was coated on the glass substrate by a slurry method. The metal back 85 was formed on the inner surface of the fluorescent film 93. After the fluorescent film was formed, a process (generally called filming) of smoothing the inner surface of the fluorescent film was performed and then A1 was vacuum deposited to form the metal back 85. When the envelope is sealed, precise position alignment was performed in order to make each electron-emitting device face the corresponding color phosphor of a color display. Opposite ends of the upper wires and ends of the lower wires on the electron source substrate were electrically connected to an external power source (not shown).
  • the completed envelope 164 was coupled via an air exhaust pipe to the vacuum system shown in Fig. 9 and degassed by a magnetically floating type turbo molecular pump.
  • the forming process and succeeding processes were performed as in the following.
  • a rectangular pulse having a pulse width of 1 msec was sequentially supplied from an external power source to the upper wires at a scroll frequency of 4.2 Hz.
  • the peak value of the rectangular pulse was set to 12 V.
  • the lower wires were grounded.
  • a mixture gas of hydrogen and nitrogen (hydrogen 2 %, nitrogen 98%) was introduced into the inside of the chamber 133 of the vacuum system, and the pressure was maintained at 1000 Pa.
  • the flow of the gas was controlled by the mass controller 139, and the drain amount from the chamber 133 was controlled by the evacuator 135 and a flow control conductance valve.
  • Benzonitrile was introduced via the vacuum chamber 133 of the vacuum system into the envelope 164 to a pressure of 6.6 ⁇ 10 -2 Pa.
  • External terminals Dox1 to Dox50, external terminals Dox51 to Dox100, external terminals Dox101 to Dox150, and external terminals Dox151 to Dox200 were connected via respective switching boxes A, B, C and D to power sources A, B, C and D.
  • Current evaluation systems A, B, C and D each constituted of an ammeter for measuring current flowing through each wire were connected between the switching boxes and external terminals.
  • the power sources A to D were controlled by control signals supplied from a control unit to align the phases of activation waveforms.
  • the switching boxes and corresponding power sources were synchronized in operation.
  • 10 lines were selected and a voltage was applied time divisionally (in a scroll manner) to 10 lines.
  • a voltage was therefore applied at the same time to four upper wires on the electron source substrate in the envelope so that the first activation process was executed for the electroconductive films 4 connected to the upper wires.
  • the voltage for the activation process was a rectangular pulse of both polarities having a peak value of ⁇ 14 V a pulse width of 1 msec, and a pulse interval of 10 msec (Fig. 4B).
  • the pressure of benzonitrile in the envelope 164 was lowered to 6.6 ⁇ 10 -4 Pa. Similar to the first stage activation process, a voltage was time divisionally applied to ten lines and across the electrodes 2 and 3 connected to the corresponding conductive film 4 to execute the second stage activation process. The voltage for this activation process was similar to the first stage activation process. The activation time was 30 minutes for each of the electroconductive films 4. The device current flowing through the wire when the process was terminated was in a range from 800 mA to 1 A.
  • the carbon films 4a such as shown in Figs. 1A and 1B were therefore formed on each electroconductive film 4.
  • the stabilization process was executed by performing a baking process for 10 hours at 150 °C at a pressure of about 1.33 ⁇ 10 -4 Pa and thereafter, the exhaust pipe was heated with a gas burner to melt is and seal the envelope 164.
  • Pulse voltages were applied to the row-directional wires and column-directional wires to measure a variation in the electron emission characteristics (device current If and emission current Ie) of each electron-emitting device of the image-forming apparatus.
  • a variation was 11 % for If and 15 % for Ie. This variation value is a dispersion value divided by an average of If and Ie of respective devices.
  • the device current was not evaluated during the first stage activation process of the second embodiment, and the activation time was set to 1 minute for all lines.
  • the other conditions were similar to the second embodiment.
  • a variation in the electron emission characteristics (If and Ie) of each electron-emitting device of this image-forming apparatus was measured.
  • a variation was 15 % for If and 20 % for Ie.
  • the voltage for the first stage activation process had the waveforms shown in Fig. 25.
  • the first stage activation process was executed while the device current (If 1/2) was measured at a half voltage (Vf 1/2) of the activation voltage.
  • the other conditions were similar to the second embodiment.
  • T1 was set to 10 msec
  • T2 was set to 0.9 msec
  • T3 was set to 0.1 msec.
  • (If 1/2) of each line exceeded 0.6 mA
  • the voltage application to each line was stopped.
  • a variation in the electron emission characteristics (If and Ie) of each electron-emitting device of this image-forming apparatus was measured.
  • a variation was 9 % for If and 11 % for Ie.
  • the first stage activation process was terminated when the current flowing the upper wire exceeded 600 mA during the first stage activation process of the second embodiment.
  • the second stage activation process and succeeding processes were similar to the first embodiment.
  • the device current flowing through the upper wire when the second stage activation process was terminated was in a range from 350 mA to 500 mA.
  • a variation in the electron emission characteristics (If and Ie) of each electron-emitting device of this image-forming apparatus was measured.
  • a variation was 25 % for If and 30 % for Ie.
  • the second stage activation process was executed for a longer time. It took about 2.5 hours until the device current reached about 600 mA.
  • the first stage activation process was executed by evaluating the device current flowing through each electroconductive film.
  • the processes up to the forming process ware similar to the second embodiment.
  • Fig. 26 is a diagram showing a connection between external terminals of the envelope and power sources for supplying a voltage for the activation process.
  • External terminals Doy1 to Doyn were grounded in common via a current measuring system constituted of an ammeter.
  • External terminals Dox1 to Dox50, external terminals Dox51 to Dox100, external terminals Dox101 to Dox150, and external terminals Dox151 to Dox200 were connected via respective switching boxes A, B, C and D to power sources A, B, C and D.
  • Current evaluation systems A, B, C and D each constituted of an ammeter for measuring current flowing through each wire were connected between the switching boxes and external terminals.
  • the power sources A to D were controlled by control signals supplied from a control unit to align the phases of activation waveforms.
  • the switching boxes and corresponding power sources were synchronized in operation.
  • 10 lines were selected and a voltage was applied time divisionally (in a scroll manner) to 10 lines. A voltage was therefore applied at the same time to four upper wires on the electron source substrate in the envelope so that the first activation process was executed for the electroconductive films 4
  • the voltage for the activation process was a rectangular pulse of both polarities having a peak value of ⁇ 14 V, a pulse width of 1 msec, and a pulse interval of 10 msec (Fig. 4B). Every tenth second (every 1000-th scroll), only one of the power sources A to D was activated by the control unit (by setting the output voltages of the other three power sources to 0), and 10 lines were selected from each line block of 50 lines including a block of Dox1 to Dox50, a block of Dox51 to Dox100, a block of Dox101 to Dox150, and a block of Dox151 to Dox200, and a voltage was applied time divisionally (in a scroll manner) to 10 lines during a period of 30 msec.
  • the current flowing through the lower wire was measured and a device current flowing through each electroconductive film connected to each upper wire was measured.
  • the switching box was controlled to terminate the voltage application to the upper wire. This process was repeated five times to activate all the electroconductive films 4.
  • the second stage activation process and succeeding process were similar to the second embodiment. A variation in the electron emission characteristics (If and Ie) of each electron-emitting device of this image-forming apparatus was measured. A variation was 10 % for If and 14 % for Ie.
  • the termination timing of the first stage activation process was controlled by measuring the device current and emission current of the electron-emitting elements and evaluating the electron emission efficiency ⁇ .
  • the processes up to the forming process were similar to the second embodiment.
  • the connection between external terminals of the envelope and power sources for supplying a voltage for the activation process shown in Fig. 24 was used.
  • the activation voltage was applied through scrolling in the unit of 10 lines similar to the sixth embodiment. Every tenth second (every 1000-th scroll), only one of the power sources A to D was activated by the control unit (by setting the output voltages of the other three power sources to 0), and 10 lines were selected from each line block of 50 lines including a block of Dox1 to Dox50, a block of Dox51 to Dox100, a block of Dox101 to Dox150, and a block of Dox151 to Dox200, and a voltage was applied time divisionally (in a scroll manner) to 10 lines during a period of 30 msec.
  • the second stage activation process and succeeding process were similar to the second embodiment.
  • a variation in the electron emission characteristics (If, Ie, and ⁇ ) na) of each electron-emitting device of this image-forming apparatus was measured. A variation was 11 % for If, 13 % for Ie, and 13 % for ⁇ .
  • the voltage application to the upper wire was terminated after 5 minutes after the current flowing though the upper wire exceeded 1 A during the first stage activation process of the second embodiment.
  • the other conditions were similar to the second embodiment.
  • a variation in the electron emission characteristics (If and Ie) of each electron-emitting device of this image-forming apparatus was measured.
  • a variation was 10 % for If and 12 % for Ie.
  • An electron source substrate having the structure shown in Figs. 27 and 28 was manufactured as in the following.
  • device electrodes 202 and 203 having a thickness of 50 nm were formed by printing Pt paste by an offset printing method and heating and baking it.
  • column-directional wires (lower wires) 207 (720 wires) and row-directional wire (upper wires) 208 (240 wires) were formed by printing Ag paste by a screen printing method and heating and baking it.
  • the insulating films 209 were formed at cross points between the column-directional wires 207 and row-directional wires 208 by printing insulating paint by a screen printing method and heating and baking it.
  • wiring lead patterns 211 were formed by a screen printing method in peripheral areas of the electron source substrate 210 to electrically connect the column-directional wires 207 and row-directional wires 208 to an external power source.
  • An ITO film (100 nm thick) 218 was formed on the back surface of the glass substrate by sputtering in order to hold the substrate by an electrostatic chuck to be described later.
  • an electron source substrate 210 was formed which had a plurality of electroconductive films 204 wired in a matrix shape by the plurality of row-directional wire 207 and column-directional wires 208.
  • a surface area excepting the wiring lead patterns 211 (refer to Fig. 29) of the electron source substrate 210 on the substrate stage 215 was covered with the vacuum chamber 212.
  • the O-ring 213 was disposed between the electron source substrate 210 and vacuum chamber 212, surrounding the device area of the electron source substrate. The device area was therefore sealed from the outer air.
  • the electrostatic chuck 216 was mounted on the substrate stage 215 in order to fix the electron source substrate 210 to the stage.
  • the electron source substrate 210 was chucked by applying 1 kV between the ITO film 214 formed on the back surface of the electron source substrate 210 and the electrode in the electrostatic chuck.
  • the inside of the vacuum chamber was degassed to a pressure of 10 -4 Pa.
  • the voltage was applied to the upper and lower wires by contacting contact pins to the wiring lead patterns 211 of each wire extending to the outside of the vacuum chamber.
  • a rectangular pulse having a width of 1 msec was supplied from the external power source via the contact pins sequentially to the upper wires at the scroll frequency of 4.2 Hz.
  • the peak value was set to 12 V, and the lower wires were grounded.
  • a mixture gas of hydrogen and nitrogen (hydrogen 2 %, nitrogen 98 %) was introduced into the inside of the vacuum chamber, and the pressure was maintained at 1000 Pa.
  • the flow of the gas was controlled by the mass controller 220, and the drain amount from the vacuum chamber was controlled by the evacuator and a flow control conductance valve 219. After the energization forming process was performed for 10 minutes, the current flowing through the electroconductive film became nearly zero. At this time, the voltage application was stopped and the mixture gas of hydrogen and nitrogen in the vacuum chamber was exhausted to complete the forming process. Fissures were formed in a plurality of electroconductive films on the electron source substrate to thus form electron-emitting regions.
  • P-tolunitrile was introduced into the vacuum chamber to a pressure of 1.3 ⁇ 10 -3 Pa.
  • Fig. 29 is a diagram showing a connection between external terminals of the envelope and power sources for supplying a voltage for the activation process.
  • the contact pins Cox1 to Cox240 in contact with the upper wires 208 were divided into eight pin blocks each having 30 pins.
  • the eight pin blocks were connected via switching boxes A to H to power sources A to H.
  • Current evaluation systems A to H each constituted of an ammeter for measuring current flowing through each wire were connected between the switching boxes and contact terminals.
  • the power sources A to H were controlled by control signals supplied from a control unit to align the phases of activation waveforms.
  • the switching boxes and corresponding power sources were synchronized in operation.
  • 10 lines were selected and a voltage was applied time divisionally (in a scroll manner) to 10 lines.
  • a voltage was therefore applied at the same time to eight upper wires on the electron source substrate so that the first activation process was executed for the electroconductive films connected to the upper wires.
  • the voltage for the activation process was a rectangular pulse of both polarities having a peak value of ⁇ 14 V, a pulse width of 1 msec, and a pulse interval of 10 msec (Fig. 4B).
  • the pressure of p-tolunitrile in the vacuum chamber was lowered to 1.3 ⁇ 10 -4 Pa. Similar to the first stage activation process, a voltage was time divisionally applied to ten lines and across the electrodes 2 and 3 connected to the corresponding conductive film to execute the second stage activation process. The voltage for this activation process was similar to the first stage activation process. The activation time was 30 minutes for each of the electroconductive films.
  • the device current flowing through the upper wire when the process was terminated was in a range from 1.0 A to 1.2 A.
  • the electron source substrate 210 subjected to the above processes was aligned in position with the face plate having the glass frame and phosphors, and they were sealed by using low melting point glass to form the vacuum envelope. Similar to the second embodiment, after the inside of the envelope was evacuated, the baking, sealing and other processes were executed to form the image-forming apparatus such as shown in Fig. 6.
  • the electron source uses Spindt type electron-emitting devices.
  • Figs. 30A to 30C are cross sectional diagrams illustrating a method of forming an electron-emitting device
  • Fig. 31 is a plan view of the layout of electron-emitting devices disposed in a matrix shape.
  • an SiO 2 insulating film 302 was deposited and another alumina electrode film was deposited. This lamination was patterned in a stripe pattern to form cathode electrodes 301 and gate electrodes 303 in a matrix form.
  • a circular small hole 304 was formed through the gate electrode 303 and insulating film 302 by ordinary photolithography.
  • a sacrificial film 305 made of alumina or the like was vapor-deposited at a shallow angle relative to a conductive substrate 301. With this process, the gate hole diameter was reduced and the gate 303 was covered with the sacrificial film 305.
  • molybdenum 306 was vapor-deposited along a vertical direction relative to the conductive substrate 301. As the vapor deposition progressed, the gate hole diameter reduced so that a conical cathode 307 was formed on the bottom of the small hole 304.
  • the sacrificial film 305 was wet etched and unnecessary molybdenum 306 was removed.
  • an envelope was formed in the manner similar to the second embodiment.
  • the inside of the envelope was degassed by a vacuum system and thereafter, the activation process was executed by using benzonitrile.
  • the stabilization process was executed in the manner similar to the second embodiment, under the conditions of a pressure of about 1.33 ⁇ 10 -4 Pa and baking for 10 hours at 150 °C.
  • An unrepresented exhaust pipe was heated with a gas burner to melt it and seal the envelope.
  • the electron emission characteristics of each electron-emitting device of this image-forming apparatus were 14 %.
  • the activation process which processes a plurality of electron-emitting devices at the same time, it is possible to deposit carbon containing substance in the electron-emitting region and its nearby region without an insufficient supply of organic substance source gas. It is therefore possible to prevent uniformity of the electron emission characteristics from being otherwise degraded by an insufficient supply of organic substance gas.
  • the partial pressure of organic substance gas is set lower than in the preceding activation processes. It is therefore possible to optimize the electron emission characteristics and to make the intra- and inter-lot electron-emitting characteristics uniform and highly stable.
  • the invention can also provide a method of manufacturing electron-emitting devices and an electron source, capable of forming a carbon or carbon compound film of good crystallinity by a short time activation process.
  • the invention can also provide a method of manufacturing an electron source having a plurality of electron-emitting elements, capable of executing the activation process in a short time.
  • the invention can also provide a method of manufacturing an electron source having a plurality of electron-emitting devices of good uniformity, capable of executing the activation process in a short time.
  • the invention can also provide a method of manufacturing an image-forming apparatus with uniform luminance characteristics.

Landscapes

  • Engineering & Computer Science (AREA)
  • Manufacturing & Machinery (AREA)
  • Cold Cathode And The Manufacture (AREA)
EP20000301465 1999-02-25 2000-02-24 Dispositif émetteur d'électrons,source d'électrons et procédé de fabrication d'un appareil de formation d'images Expired - Lifetime EP1032012B1 (fr)

Applications Claiming Priority (4)

Application Number Priority Date Filing Date Title
JP4921899 1999-02-25
JP4921899 1999-02-25
JP5149799 1999-02-26
JP5149799 1999-02-26

Publications (3)

Publication Number Publication Date
EP1032012A2 true EP1032012A2 (fr) 2000-08-30
EP1032012A3 EP1032012A3 (fr) 2002-01-23
EP1032012B1 EP1032012B1 (fr) 2009-03-25

Family

ID=26389591

Family Applications (1)

Application Number Title Priority Date Filing Date
EP20000301465 Expired - Lifetime EP1032012B1 (fr) 1999-02-25 2000-02-24 Dispositif émetteur d'électrons,source d'électrons et procédé de fabrication d'un appareil de formation d'images

Country Status (2)

Country Link
EP (1) EP1032012B1 (fr)
DE (1) DE60041845D1 (fr)

Cited By (2)

* Cited by examiner, † Cited by third party
Publication number Priority date Publication date Assignee Title
EP1032013A3 (fr) * 1999-02-25 2002-01-23 Canon Kabushiki Kaisha Procédé de fabrication d'un dispositif émetteur d'électrons, d'une source d'électrons et d'un dispositif de formation d'images et appareil pour la fabrication d'une source d'électrons
EP1132936A3 (fr) * 2000-03-06 2005-02-02 Canon Kabushiki Kaisha Source d'électron, dispositif et procédé de fabrication d'un dispositif d'afichage d'images, et dispositif et procédé de traitement de substrats

Family Cites Families (5)

* Cited by examiner, † Cited by third party
Publication number Priority date Publication date Assignee Title
CA2299957C (fr) * 1993-12-27 2003-04-29 Canon Kabushiki Kaisha Dispositif emetteur d'electrons et sa methode de fabrication, source d'electrons et appareil d'imagerie
JP3062990B2 (ja) * 1994-07-12 2000-07-12 キヤノン株式会社 電子放出素子及びそれを用いた電子源並びに画像形成装置の製造方法と、電子放出素子の活性化装置
CA2171688C (fr) * 1995-03-13 2001-11-20 Hisaaki Kawade Dispositif d'emission d'electrons et source d'electrons et appareil d'imagerie utilisant ce dispositif et methode de fabrication de ce dernier
US5998924A (en) * 1996-04-03 1999-12-07 Canon Kabushiki Kaisha Image/forming apparatus including an organic substance at low pressure
EP0908916B1 (fr) * 1997-09-16 2004-01-07 Canon Kabushiki Kaisha Procédé de fabrication d'une source d'électrons et dispositif pour la fabrication d'une source d'électrons

Cited By (4)

* Cited by examiner, † Cited by third party
Publication number Priority date Publication date Assignee Title
EP1032013A3 (fr) * 1999-02-25 2002-01-23 Canon Kabushiki Kaisha Procédé de fabrication d'un dispositif émetteur d'électrons, d'une source d'électrons et d'un dispositif de formation d'images et appareil pour la fabrication d'une source d'électrons
US6419539B1 (en) 1999-02-25 2002-07-16 Canon Kabushiki Kaisha Method of manufacturing electron-emitting device, electron source and image-forming apparatus, and apparatus of manufacturing electron source
US6780073B2 (en) 1999-02-25 2004-08-24 Canon Kabushiki Kaisha Method of manufacturing electron-emitting device, electron source and image-forming apparatus, and apparatus of manufacturing electron source
EP1132936A3 (fr) * 2000-03-06 2005-02-02 Canon Kabushiki Kaisha Source d'électron, dispositif et procédé de fabrication d'un dispositif d'afichage d'images, et dispositif et procédé de traitement de substrats

Also Published As

Publication number Publication date
EP1032012B1 (fr) 2009-03-25
DE60041845D1 (de) 2009-05-07
EP1032012A3 (fr) 2002-01-23

Similar Documents

Publication Publication Date Title
KR100238607B1 (ko) 전자 방출 소자, 전자 소오스 및 영상 형성 장치의 제조 방법
KR100220357B1 (ko) 화상 형성 장치 및 이의 제조 방법
US6824437B2 (en) Electron-emitting device, electron source, and manufacture method for image-forming apparatus
JP4366235B2 (ja) 電子放出素子、電子源及び画像表示装置の製造方法
EP1009011B1 (fr) Dispositif émetteur d'électrons, source d'électrons et appareil de formation d'image
KR100343237B1 (ko) 전자방출소자,전자원,화상형성장치및그제조방법
EP1032012B1 (fr) Dispositif émetteur d'électrons,source d'électrons et procédé de fabrication d'un appareil de formation d'images
JP3689683B2 (ja) 電子放出素子、電子源および画像形成装置の製造方法
JP3544135B2 (ja) 電子放出素子、電子源及び画像形成装置の製造方法
JP3402891B2 (ja) 電子源および表示パネル
JP3408065B2 (ja) 電子放出素子、電子源及び画像形成装置の製造方法
JP3294487B2 (ja) 電子放出素子の製造方法、並びにそれを用いた電子源、表示パネルおよび画像形成装置の製造方法
JP2002313220A (ja) 電子放出素子、電子源および画像形成装置の製造方法
JP3423527B2 (ja) 電子放出素子、電子源基板、電子源、表示パネル、および画像形成装置の製造方法
JP3428806B2 (ja) 電子放出素子、電子源基板、および画像形成装置の製造方法
JP3703255B2 (ja) 電子放出素子、電子源、それを用いた画像形成装置およびそれらの製造方法
JPH11329221A (ja) ペースト状物質の塗布方法及び前記塗布方法を用いた画像表示装置
JP2000082384A (ja) 電子放出素子、電子源及び画像形成装置並びに電子放出素子の製造方法
JP3548431B2 (ja) 電子源、該電子源を用いた画像形成装置
JP2002367508A (ja) 電子放出素子、電子源および画像形成装置の製造方法
JPH103848A (ja) 電子放出素子、電子源、画像形成装置及びそれらの製造方法
JP2002313216A (ja) 電子放出素子、電子源、及び画像形成装置、並びにこれらの製造方法
JP2000243241A (ja) 電子放出素子の製造方法及び画像形成装置の製造方法
JPH09330649A (ja) 電子放出素子、電子源、及び画像形成装置
JPH09212103A (ja) 鍵盤楽器付き画像形成装置

Legal Events

Date Code Title Description
PUAI Public reference made under article 153(3) epc to a published international application that has entered the european phase

Free format text: ORIGINAL CODE: 0009012

AK Designated contracting states

Kind code of ref document: A2

Designated state(s): DE FR GB IT NL

Kind code of ref document: A2

Designated state(s): AT BE CH CY DE DK ES FI FR GB GR IE IT LI LU MC NL PT SE

AX Request for extension of the european patent

Free format text: AL;LT;LV;MK;RO;SI

PUAL Search report despatched

Free format text: ORIGINAL CODE: 0009013

AK Designated contracting states

Kind code of ref document: A3

Designated state(s): AT BE CH CY DE DK ES FI FR GB GR IE IT LI LU MC NL PT SE

AX Request for extension of the european patent

Free format text: AL;LT;LV;MK;RO;SI

17P Request for examination filed

Effective date: 20020628

AKX Designation fees paid

Free format text: DE FR GB IT NL

17Q First examination report despatched

Effective date: 20050810

GRAP Despatch of communication of intention to grant a patent

Free format text: ORIGINAL CODE: EPIDOSNIGR1

GRAS Grant fee paid

Free format text: ORIGINAL CODE: EPIDOSNIGR3

GRAA (expected) grant

Free format text: ORIGINAL CODE: 0009210

AK Designated contracting states

Kind code of ref document: B1

Designated state(s): DE FR GB IT NL

REG Reference to a national code

Ref country code: GB

Ref legal event code: FG4D

REF Corresponds to:

Ref document number: 60041845

Country of ref document: DE

Date of ref document: 20090507

Kind code of ref document: P

PLBE No opposition filed within time limit

Free format text: ORIGINAL CODE: 0009261

STAA Information on the status of an ep patent application or granted ep patent

Free format text: STATUS: NO OPPOSITION FILED WITHIN TIME LIMIT

26N No opposition filed

Effective date: 20091229

PGFP Annual fee paid to national office [announced via postgrant information from national office to epo]

Ref country code: IT

Payment date: 20100122

Year of fee payment: 11

Ref country code: FR

Payment date: 20100211

Year of fee payment: 11

PGFP Annual fee paid to national office [announced via postgrant information from national office to epo]

Ref country code: NL

Payment date: 20100215

Year of fee payment: 11

REG Reference to a national code

Ref country code: NL

Ref legal event code: V1

Effective date: 20110901

REG Reference to a national code

Ref country code: FR

Ref legal event code: ST

Effective date: 20111102

PG25 Lapsed in a contracting state [announced via postgrant information from national office to epo]

Ref country code: IT

Free format text: LAPSE BECAUSE OF NON-PAYMENT OF DUE FEES

Effective date: 20110224

Ref country code: NL

Free format text: LAPSE BECAUSE OF NON-PAYMENT OF DUE FEES

Effective date: 20110901

PG25 Lapsed in a contracting state [announced via postgrant information from national office to epo]

Ref country code: FR

Free format text: LAPSE BECAUSE OF NON-PAYMENT OF DUE FEES

Effective date: 20110228

PGFP Annual fee paid to national office [announced via postgrant information from national office to epo]

Ref country code: GB

Payment date: 20130220

Year of fee payment: 14

Ref country code: DE

Payment date: 20130228

Year of fee payment: 14

REG Reference to a national code

Ref country code: DE

Ref legal event code: R119

Ref document number: 60041845

Country of ref document: DE

GBPC Gb: european patent ceased through non-payment of renewal fee

Effective date: 20140224

REG Reference to a national code

Ref country code: DE

Ref legal event code: R119

Ref document number: 60041845

Country of ref document: DE

Effective date: 20140902

PG25 Lapsed in a contracting state [announced via postgrant information from national office to epo]

Ref country code: DE

Free format text: LAPSE BECAUSE OF NON-PAYMENT OF DUE FEES

Effective date: 20140902

Ref country code: GB

Free format text: LAPSE BECAUSE OF NON-PAYMENT OF DUE FEES

Effective date: 20140224