EP1031294B1 - Schmuckstück mit auswechselbarem Dekorationselement - Google Patents

Schmuckstück mit auswechselbarem Dekorationselement Download PDF

Info

Publication number
EP1031294B1
EP1031294B1 EP00102473A EP00102473A EP1031294B1 EP 1031294 B1 EP1031294 B1 EP 1031294B1 EP 00102473 A EP00102473 A EP 00102473A EP 00102473 A EP00102473 A EP 00102473A EP 1031294 B1 EP1031294 B1 EP 1031294B1
Authority
EP
European Patent Office
Prior art keywords
main body
piece
holding body
jewelry
holding
Prior art date
Legal status (The legal status is an assumption and is not a legal conclusion. Google has not performed a legal analysis and makes no representation as to the accuracy of the status listed.)
Expired - Lifetime
Application number
EP00102473A
Other languages
English (en)
French (fr)
Other versions
EP1031294A1 (de
EP1031294B8 (de
Inventor
Josef Wübker
Current Assignee (The listed assignees may be inaccurate. Google has not performed a legal analysis and makes no representation or warranty as to the accuracy of the list.)
XEN-GmbH
Original Assignee
XEN GmbH
XEN-GmbH
Priority date (The priority date is an assumption and is not a legal conclusion. Google has not performed a legal analysis and makes no representation as to the accuracy of the date listed.)
Filing date
Publication date
Application filed by XEN GmbH, XEN-GmbH filed Critical XEN GmbH
Publication of EP1031294A1 publication Critical patent/EP1031294A1/de
Application granted granted Critical
Publication of EP1031294B1 publication Critical patent/EP1031294B1/de
Publication of EP1031294B8 publication Critical patent/EP1031294B8/de
Anticipated expiration legal-status Critical
Expired - Lifetime legal-status Critical Current

Links

Images

Classifications

    • AHUMAN NECESSITIES
    • A44HABERDASHERY; JEWELLERY
    • A44CPERSONAL ADORNMENTS, e.g. JEWELLERY; COINS
    • A44C17/00Gems or the like
    • A44C17/02Settings for holding gems or the like, e.g. for ornaments or decorations
    • A44C17/0208Settings for holding gems or the like, e.g. for ornaments or decorations removable
    • A44C17/0216Settings for holding gems or the like, e.g. for ornaments or decorations removable with automatic locking action, e.g. by using a spring

Definitions

  • the invention relates to a piece of jewelry that can be worn on the body, in particular in the form of a cufflink, a tie pin, one Pendant, a finger ring, a bangle or the like.
  • such jewelry a different one in different surface areas Have a surface appearance, for example a different one Surface color and / or a different surface structure or surface texture.
  • a piece of jewelry that is mainly made of stainless steel or titanium, at certain points with decorative elements in the form of inlays made of silver, gold or platinum.
  • inlays or decorative elements are soldered to the piece of jewelry.
  • Pieces of jewelry with a simple basic shape, for example cylindrical basic shape, the decorative elements as well simple basic shape, for example ring shape.
  • FR 2 594 656 describes an earring with a holding body, a locking ring, a main body and a decorative element.
  • the main body and the decorative element are stored on the holding element and are held by the holding element and the locking ring, which is Holding element and the circlip not in the overall geometric shape integrate the piece of jewelry.
  • DE 196 34 856 A1 describes a combination ring with an annular element, a part of the radial peripheral surface formed with an approach for receiving the decorative element is, which is held by a screw, the decorative element and the screw does not fit into the geometric shape of the decoration ring integrate.
  • the main axis of the decorative element is orthogonal to the main axis of the annular element.
  • the invention has for its object the manufacturing and storage costs drastically cut and still the different To be able to fulfill buyer wishes.
  • Such a piece of jewelry offers the possibility of being on the main body Decorative elements made of practically any material and with any To fix surface texture.
  • the compilation from Main body, at least one holding body and at least one decorative element can at the jewelry manufacturer depending on individual Order or only at the jewelry seller depending on the individual Request of the respective buyer. It is also possible that the buyer can find such a piece of jewelry with a pallet of decorative elements of different looks and that Jewel for different occasions with different decorative elements provides. In this way he can add to the piece of jewelry more festive occasions a nobler look and less festive Give occasions a poppy look, for example.
  • the at least one holding body can on the main body of the Piece of jewelry by means of a positive connection, for example screw connection, or by means of a frictional connection, for example a frictional connection, be attached.
  • the or each holding body can be one Have surface texture that corresponds to the surface texture of the Main body is the same or different from it. In this way further aesthetic accents can be set.
  • the or each holding body has the same upper material as the main body exhibit.
  • the decorative element only creates visual accents or set the decorative elements. But there is also the possibility of giving the or each holding body a different look than to lend to the main body. When using multiple, for example two, holding body there is the possibility of each of these holding bodies to give a different look.
  • the measure according to the invention is suitable, for example, for Pieces of jewelry with an elongated shape, attached to at least one longitudinal end are provided with a holding body.
  • Both the main body as well as the at least one holding body of any cross-sectional shape have, for example a polygonal or round cross-sectional shape.
  • the main body and the or each holding body Have cylindrical shape.
  • the or every decorative element can in this case have disc or ring shape, the Outer contour of the or each decorative element with the outer contour of the main body and / or the holding body match can.
  • the main body, the or each holding body and the or each decorative element has the same outer contour exhibit.
  • annular decorative element In the case of an annular decorative element, this can be applied to one a reduced outer contour, for example a reduced one Outside diameter, end region of the main body and / or of the holding body, which is the other Body is adjacent. In the vicinity of the main body and Holding bodies can have several in the axial direction of the piece of jewelry Decorative elements are arranged, preferably with different Appearance.
  • the measure according to the invention is also well suited for jewelry with ring shape.
  • the main body can have at least one have axial end area, the outer peripheral surface as a fastening surface is designed for the at least one holding body.
  • the at least one holding body can be adjacent to the main body Have end area, the inner peripheral surface as a fastening counter surface is formed with the associated mounting surface of the Main body for holding the holding body to the main body interacts.
  • the at least one holding body has at least one in an axial area that the other body has a reduced outer diameter that substantially equal to the inside diameter of the at least one Decoration ring is and the at least one decoration ring wearing.
  • the invention is particularly suitable for a cufflink, whose main body in addition to the at least one Holding body and to the at least one decorative element Has buttonhole anchor, by means of which the cufflink in can be anchored in a cufflink.
  • the invention is also quite suitable for a tie pin whose Main body at one longitudinal end with a holding body and at least a decorative element and at the other longitudinal end with one in Clamping spring extending towards the holding body is provided, by means of which the tie pin is clamped to a tie can be.
  • the invention is also quite suitable for one on a collar portable pendant whose main body has a collar thread opening is provided, or for a ring, for example in the form a finger ring or a bangle.
  • Fig. 1 shows a piece of jewelry according to the invention in the form of a cufflink 11, which has a cylindrical main body 13 the two longitudinal ends of which each have a cylindrical holding body 15 each longitudinal end of the main body 13 a decorative ring 17 and in the longitudinal center of the main body 13 has a buttonhole anchor 19.
  • the main body 13 has an internal thread 21 at each longitudinal end provided, and each holding body 15 has a cylindrical projection 23 with an external thread that can be screwed into the internal thread 21 25 on.
  • the axial depth of the internal thread 21 and the axial The length of the projections 23 can be such that each holding body 15 to the gap-free contact with the adjacent axial End of the adjacent decoration ring 17 in the main body 13 can be screwed in.
  • each holding body 15 until it abuts the adjacent axial end of the holding body 13 can be screwed into the main body 13 and then the or each of these holding bodies 15 neighboring decorative rings 17 still has so much axial play that it remains displaceable or slidable relative to the main body 13.
  • Each longitudinal end of the main body 13 is reduced with an area Outside diameter, on which the respective decorative ring 17 is postponed.
  • the main body 13, the holding body 15 and the decorative rings 17 have the same outer diameter on. Can achieve certain aesthetic effects these components of the cufflink are also different Have outside diameter.
  • the main body 13 In its longitudinal center is the main body 13 with a receiving opening 27 for the interference fit of a fastening end 29 of the buttonhole anchor 19 provided.
  • the buttonhole anchor points at its free end 19 a conical anchor part 31.
  • the main body 13, the holding body 15 and possibly also the buttonhole anchor 19 can be made of the same material or at least the same Outer material exist so that they have the same appearance.
  • the Decoration rings 17 can have the same appearance or a different one Appearance, depending on the aesthetic needs of the user of the cufflink.
  • Fig. 2 shows a cufflink, which largely with the in Fig. 1 shown cufflink matches, but at each longitudinal end of the main body 13 is provided with two decorative rings 17. Depending on the taste, all four decorative rings can be 17 have the same, partially the same or completely different appearance.
  • the areas can be reduced Diameter for receiving the decorative rings 17 also on the to the main body 13 facing longitudinal ends of the holding body 15 is provided his.
  • the longitudinal ends of the Main body 13 and the longitudinal ends facing the main body 13 the holding body 15 with areas of reduced diameter Mistake. This applies in particular to the cuff link shown in FIG. 2, so that of the two decorative rings 17 on each Longitudinal end of the main body 13 one of the main body 13 and the others are carried by the respective holding body 15.
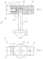
  • FIG. 3 and 4 show a side view, partly in a sectional view, or in plan view an embodiment of a cufflink, at which a cylindrical holding body 15 only at one longitudinal end a cylindrical main body 13 and arranged in the area of the other longitudinal end of the main body 13, a fastening opening 33 for another decorative element, for example for a holding pin for a diamond.
  • a fastening opening 33 for another decorative element for example for a holding pin for a diamond.
  • the corresponding longitudinal end of the main body 13 or the Holding body 17 with an area of reduced diameter such Length provided that a larger number of decorative rings 17, in which shown in Fig. 3 two decoration rings, are pushed can.
  • a tie pin designed according to the invention 101 with a main body 103 elongated cylindrical shape, a cylindrical one Holding body 105 at a longitudinal end of the main body 103 and one attached to the other longitudinal end of the main body 103 extending along the main body 103 towards the holding body 105 Clamp spring 107 shown.
  • the holding body 105 shown in a sectional view.
  • the holding body 105 is provided with an internal thread 109 and has the main body 103 at the corresponding longitudinal end a cylindrical projection 111 with an external thread 113.
  • the holding body 105 is on his the main body 103 adjacent longitudinal end with an area 115 reduced outer diameter provided such an axial length that three decorative rings 17 can be pushed onto this area.
  • These decorative rings can look or width be the same, partially different or completely different.
  • a trailer 201 designed according to the invention with a main body 203 elongated cylindrical shape, a cylindrical one Holding body 205 at a longitudinal end of the main body 203 and a threading opening 207, for threading a collar or a necklace, in the area of the other longitudinal end of the main body 203 shown. 8, the holding body 205 is in Sectional view shown.
  • the holding body 205 provided with an internal thread 209 and has the Main body 203 at the corresponding longitudinal end a cylindrical one Projection 211 with an external thread 213.
  • This too Decoration rings 17 can have the same appearance or width, partially different or completely different.
  • a fastening opening 213 for a further decorative element for example, for a holding pin for a diamond.
  • FIGS. 9 to 11 are three embodiments of the invention designed rings 301, which are, for example Finger rings or bangles. 10 shows one Side view, partly in section, while FIGS. 9 and 11 each show a diagonal sectional view.
  • Each of these three rings 301 has an annular main body 303 on.
  • Fig. 11 is only an annular holding body 305 at an axial end of the main body 303 provided, by means of which a decorative ring on the main body 303 307 is held.
  • the main body 303 has for each holding body 305 an axial end region with an external thread 309 for screwing on the associated holding body 305.
  • each holding body 305 in a main body 303 adjacent end region with an internal thread 311.
  • the main body 303 in this axial area has an outer diameter which is about the radial Thickness of the at least one decoration ring 307 is less than that Outside diameter of the holding body 305.
  • the outer diameter of the Main body 303 may be larger or smaller than in this axial area the inner diameter of the internal thread 311 of the holding body 305 or both diameters can be the same.
  • the main body 303 only has on one axial side a reduced diameter with an external thread 309 for screwing on only one holding body 305.
  • Adjacent to the axial center is the main body 303 with a diameter step provided, in which the main body 303 a between the maximum outside diameter and the outside thread diameter lying intermediate diameter 313 has a decorative ring there 307 to be able to record, whose outer diameter with the maximum outer diameter of the main body 303 matches.
  • the rings shown in FIGS. 9 to 11, the at least one decorative ring 307 have an outer diameter that the maximum outer diameter of the main body 303 in the case of FIG. 11 or of maximum outer diameter of the two holding bodies 305 in the case of 9 and 10 is different.
  • the main body can be used for all pieces of jewelry according to the invention and preferably also the at least one holding body, for example made of steel or titanium, that would be at least one decorative element consist of or be coated with silver, gold or platinum can.
  • the at least one holding body for example made of steel or titanium, that would be at least one decorative element consist of or be coated with silver, gold or platinum can.
  • these can be made of different materials or surface materials and can have different widths.
  • the or every decorative element can after attaching the associated holding body to the Main body either stuck or have so much axial play that it remains axially displaceable or slidable.

Landscapes

  • Adornments (AREA)

Description

Die Erfindung betrifft ein am Körper tragbares Schmuckstück, insbesondere in Form eines Manschettenknopfes, einer Krawattennadel, eines Anhängers, eines Fingerrings, eines Armreifs oder dergleichen.
Um besondere ästhetische Effekte zu erzielen, können solche Schmuckstücke in verschiedenen Oberflächenbereichen eine unterschiedliche Oberflächenerscheinung haben, beispielsweise eine unterschiedliche Oberflächenfarbe und/oder eine unterschiedliche Oberflächenstruktur oder Oberflächentextur. Zum Beispiel gibt es Schmuckstücke, die in verschiedenen Bereichen unterschiedliche Obermaterialien aufweisen, die eine unterschiedliche optische Wirkung haben. Beispielsweise kann ein Schmuckstück, das hauptsächlich aus Edelstahl oder Titan hergestellt ist, an bestimmten Stellen mit Dekorationselementen in Form von Einlagen aus Silber, Gold oder Platin versehen sein. Im Modeschmuckbereich können beispielsweise Schmuckstücke im wesentlichen aus Edelstahl oder aus mit Silber beschichteten Metall bestehen und mit Dekorationselementen beliebiger Farbe versehen sein. Herkömmlicherweise werden solche Einlagen oder Dekorationselemente an dem Schmuckstück festgelötet.
Beliebt sind häufig Schmuckstücke mit einer einfachen Grundform, beispielsweise zylindrischer Grundform, die Dekorationselemente ebenfalls einfacher Grundform, beispielsweise Ringform, aufweisen.
Je nach Geschmack und persönlichem Ausgabenbudget wird es Käufer geben, welche ein Schmuckstück mit Dekorationselementen aus wertvollem und entsprechend teuerem Material wünschen, und Käufer, die ein solches Schmuckstück mit Dekorationselementen aus weniger hochwertigem und damit preiswerterem Material bevorzugen oder aus einem Material, welches eine andere Farbe aufweist als hochwertige Edelmetalle wie Silber, Gold oder Platin.
Um allen diesen verschiedenen Käufervorstellungen Rechnung tragen zu können, muß eine entsprechend hohe Anzahl von Schmuckstücken gleicher Grundform aber mit entsprechend unterschiedlichen Dekorationselementen hergestellt und in den Schmuckgeschäften auch vorrätig gehalten werden.
FR 2 594 656 beschreibt einen Ohrring mit einem Haltekörper, einem Sicherungsring, einem Hauptkörper und einem Dekorationselement. Der Hauptkörper und das Dekorationselement sind auf dem Halteelement gelagert und werden durch das Halteelement und den Sicherungsring festgehalten, wobei sich das Halteelement und der Sicherungsring nicht in die geometrische Gesamtform des Schmuckstücks integrieren. DE 196 34 856 A1 beschreibt einen Kombinationsring mit einem ringförmigen Element, wobei ein Teil der radialen Umfangsfläche mit einem Ansatz zum Aufnehmen des Dekorationselementes ausgebildet ist, das durch eine Schraube gehaltert wird, wobei sich das Dekorationselement und die Schraube nicht in die geometrische Form des Dekorationsrings integrieren. Die Hauptachse des Dekorationselementes befindet sich orthogonal zur Hauptachse des ringförmigen Elementes.
Der Erfindung liegt die Aufgabe zugrunde, den Herstellungs- und Bevorratungsaufwand drastisch zu senken und trotzdem die verschiedenen Käuferwünsche erfüllen zu können.
Die Aufgabe wird erfindungsgemäß durch ein Schmuckstück nach Anspruch 1 gelöst.
Ein derartiges Schmuckstück bietet die Möglichkeit, am Hauptkörper Dekorationselemente aus praktisch beliebigem Material und mit beliebiger Oberflächenbeschaffenheit zu befestigen. Die Zusammenstellung aus Hauptkörper, mindestens einem Haltekörper und mindestens einem Dekorationselement kann beim Schmuckhersteller je nach individueller Bestellung oder erst beim Schmuckverkäufer je nach individuellem Wunsch des jeweiligen Käufers zusammengestellt werden. Es ist auch möglich, daß der Käufer sich ein solches Schmuckstück mit einer Palette von Dekorationselementen unterschiedlichen Aussehens kauft und das Schmuckstück zu verschiedenen Anlässen mit unterschiedlichen Dekorationselementen versieht. Auf diese Weise kann er dem Schmuckstück zu festlicheren Anlässen ein edleres Aussehen und zu weniger festlichen Anlässen beispielsweise ein poppiges Aussehen verleihen.
Der mindestens eine Haltekörper kann an dem Hauptkörper des Schmuckstücks mittels Formschlußverbindung, beispielsweise Schraubverbindung, oder mittels Kraftschlußverbindung, beispielsweise Reibschlußverbindung, befestigt sein. Der oder jeder Haltekörper kann eine Oberflächenbeschaffenheit haben, die der Oberflächenbeschaffenheit des Hauptkörpers gleicht oder von dieser verschieden ist. Auf diese Weise können weitere ästhetische Akzente gesetzt werden. Beispielsweise kann der oder jeder Haltekörper das gleiche Obermaterial wie der Hauptkörper aufweisen. In diesem Fall werden optische Akzente nur durch das Dekorationselement oder die Dekorationselemente gesetzt. Es besteht aber auch die Möglichkeit, dem oder jedem Haltekörper ein anderes Aussehen als dem Hauptkörper zu verleihen. Bei Verwendung mehrerer, beispielsweise zweier, Haltekörper besteht die Möglichkeit, jedem dieser Haltekörper ein anderes Aussehen zu verleihen.
Die erfindungsgemäße Maßnahme eignet sich beispielsweise für Schmuckstücke mit länglicher Form, die an mindestens einem Längsende mit einem Haltekörper versehen sind. Dabei können sowohl der Hauptkörper als auch der mindestens eine Haltekörper beliebige Querschnittsform aufweisen, beispielsweise eine polygone oder runde Querschnittsform. Beispielsweise können der Hauptkörper und der oder jeder Haltekörper Zylinderform aufweisen. Das oder jedes Dekorationselement kann in diesem Fall Scheiben- oder Ringform aufweisen, wobei die Außenkontur des oder eines jeden Dekorationselements mit der Außenkontur des Hauptkörpers und/oder des Haltekörpers übereinstimmen kann. Beispielsweise können der Hauptkörper, der oder jeder Haltekörper und das oder jedes Dekorationselement gleiche Außenkontur aufweisen.
Im Fall eines ringförmigen Dekorationselementes kann dieses auf einen eine verminderte Außenkontur, beispielsweise einen verminderten Außendurchmesser, aufweisenden Endbereich des Hauptkörpers und/oder des Haltekörpers aufgeschoben werden, welcher dem jeweils anderen Körper benachbart ist. Im Nachbarschaftsbereich von Hauptkörper und Haltekörper können in axialer Richtung des Schmuckstücks mehrere Dekorationselemente angeordnet werden, vorzugsweise mit unterschiedlichem Aussehen.
Die erfindungsgemäße Maßnahme eignet sich auch gut für Schmuckstücke mit Ringform. In diesem Fall weisen sowohl der Hauptkörper als auch der mindestens eine Haltekörper als auch das mindestens eine Dekorationselement je Ringform auf.
Bei einem solchen Schmuckstück kann der Hauptkörper wenigstens einen axialen Endbereich aufweisen, dessen Außenumfangsfläche als Befestigungsfläche für den mindestens einen Haltekörper ausgebildet ist. Der mindestens eine Haltekörper kann einen dem Hauptkörper benachbarten Endbereich aufweisen, dessen Innenumfangsfläche als Befestigungsgegenfläche ausgebildet ist, die mit der zugehörigen Befestigungsfläche des Hauptkörpers zum Festhalten des Haltekörpers an dem Hauptkörper zusammenwirkt. Von dem Hauptkörper und dem mindestens einen Haltekörper weist wenigstens einer in einem axialen Bereich, der an den anderen Körper angrenzt, einen verringerten Außendurchmesser auf, der im wesentlichen gleich dem Innendurchmesser des mindestens einen Dekorationsringes ist und der den mindestens einen Dekorationsring trägt.
Die Erfindung eignet sich beispielsweise besonders gut für einen Manschettenknopf, dessen Hauptkörper zusätzlich zu dem mindestens einen Haltekörper und zu dem mindestens einen Dekorationselement einen Knopflochanker aufweist, mittels welchem der Manschettenknopf in einem Manschettenknopfloch verankert werden kann.
Die Erfindung eignet sich auch recht gut für eine Krawattennadel, deren Hauptkörper an einem Längsende mit einem Haltekörper und mindestens einem Dekorationselement und am anderen Längsende mit einer sich in Richtung zum Haltekörper erstreckenden Klemmfeder versehen ist, mittels welcher die Krawattennadel an einer Krawatte festgeklemmt werden kann.
Die Erfindung eignet sich ferner recht gut für einen an einem Halsband tragbaren Anhänger, dessen Hauptkörper mit einer Halsbanddurchfädelöffnung versehen ist, oder für einen Ring, beispielsweise in Form eines Fingerrings oder eines Armreifs.
Die Erfindung wird nun anhand von Ausführungsformen näher erläutert. In den Zeichnungen zeigen:
Fig. 1
eine Seitenansicht eines erfindungsgemäß gestalteten Manschettenknopfes, teilweise in Schnittdarstellung, der für das Festhalten zweier Dekorationsringe vorgesehen ist;
Fig. 2
eine Abwandlung des in Fig. 1 gezeigten Manschettenknopfes, der für das Anbringen von vier Dekorationsringen vorgesehen ist, ebenfalls teilweise in Schnittdarstellung;
Fig. 3
eine Seitenansicht, teilweise in Schnittdarstellung, einer anderen Ausführungsform eines Manschettenknopfes, der mit einem Haltekörper und mehreren Dekorationsringen am einen Längsende und mit einer Öffnung zur Anbringung eines oder weiterer Dekorationselemente am anderen Längsende versehen ist;
Fig. 4
eine Draufsicht auf den in Fig. 3 gezeigten Manschettenknopf;
Fig. 5
ein Ausführungsbeispiel einer erfindungsgemäß gestalteten Krawattennadel;
Fig. 6
die in Fig. 5 gezeigte Krawattennadel mit Schnittdarstellung im Bereich ihres Haltekörpers;
Fig. 7
eine Seitenansicht eines erfindungsgemäß gestalteten Anhängers;
Fig. 8
eine gegenüber der Darstellung in Fig. 7 um 90° gedrehte Seitenansicht des in Fig. 7 gezeigten Anhängers mit Schnittdarstellung im Bereich eines Haltekörpers; und
Fig. 9 bis 11
drei Ausführungsformen erfindungsgemäß gestalteter Ringe oder Reifen.
Fig. 1 zeigt ein erfindungsgemäßes Schmuckstück in Form eines Manschettenknopfes 11, der einen zylinderförmigen Hauptkörper 13, an dessen beiden Längsenden je einen zylinderförmigen Haltekörper 15, an jedem Längsende des Hauptkörpers 13 einen Dekorationsring 17 und in der Längsmitte des Hauptkörpers 13 einen Knopflochanker 19 aufweist. Der Hauptkörper 13 ist an jedem Längsende mit einem Innengewinde 21 versehen, und jeder Haltekörper 15 weist einen zylinderförmigen Vorsprung 23 mit einem in das Innengewinde 21 einschraubbaren Außengewinde 25 auf. Die axiale Tiefe der Innengewinde 21 und die axiale Länge der Vorsprünge 23 können derart bemessen sein, daß jeder Haltekörper 15 bis zum spaltfreien Anliegen an dem angrenzenden axialen Ende des benachbarten Dekorationsringes 17 in den Hauptkörper 13 einschraubbar ist. Die Dimensionierung kann aber auch so vorgenommen werden, daß jeder Haltekörper 15 bis zum Anliegen an dem angrenzenden axialen Ende des Haltekörpers 13 in den Hauptkörper 13 einschraubbar ist und danach der oder jeder der diesem Haltekörper 15 benachbarten Dekorationsringe 17 noch soviel axiales Spiel aufweist, daß er relativ zum Hauptkörper 13 verschiebbar oder verrutschbar bleibt.
Jedes Längsende des Hauptkörpers 13 ist mit einem Bereich verminderten Außendurchmessers versehen, auf welchen der jeweilige Dekorationsring 17 aufgeschoben ist.
Bei der in Fig. 1 dargestellten Ausführungsform weisen der Hauptkörper 13, die Haltekörper 15 und die Dekorationsringe 17 gleichen Außendurchmesser auf. Zur Erzielung bestimmter ästhetischer Effekte können diese Komponenten des Manschettenknopfes jedoch auch unterschiedliche Außendurchmesser haben.
In seiner Längsmitte ist der Hauptkörper 13 mit einer Aufnahmeöffnung 27 für die Preßsitzaufnahme eines Befestigungsendes 29 des Knopflochankers 19 versehen. An seinem freien Ende weist der Knopflochanker 19 einen kegelförmigen Ankerteil 31 auf.
Der Hauptkörper 13, die Haltekörper 15 und eventuell auch der Knopflochanker 19 können aus gleichem Material oder mindestens gleichem Obermaterial bestehen, so daß sie gleiches Aussehen aufweisen. Die Dekorationsringe 17 können das gleiche Aussehen oder ein davon verschiedenes Aussehen haben, je nach ästhetischen Vorstellungen des Benutzers des Manschettenknopfes.
Fig. 2 zeigt einen Manschettenknopf, der weitestgehend mit dem in Fig. 1 gezeigten Manschettenknopf übereinstimmt, jedoch an jedem Längsende des Hauptkörpers 13 mit zwei Dekorationsringen 17 versehen ist. Je nach geschmacklichem Wunsch können alle vier Dekorationsringe 17 gleiches, teilweise gleiches oder gänzlich verschiedenes Aussehen haben.
In Abwandlung gegenüber Fig. 1 können die Bereiche verminderten Durchmessers für die Aufnahme der Dekorationsringe 17 auch an den zum Hauptkörper 13 weisenden Längsenden der Haltekörper 15 vorgesehen sein. Es besteht auch die Möglichkeit, sowohl die Längsenden des Hauptkörpers 13 als auch die zum Hauptkörper 13 weisenden Längsenden der Haltekörper 15 mit Bereichen verminderten Durchmessers zu versehen. Dies gilt insbesondere für den in Fig. 2 gezeigten Manschettenknopf, so daß dann von den beiden Dekorationsringen 17 an jedem Längsende des Hauptkörpers 13 einer vom Hauptkörper 13 und der andere vom jeweiligen Haltekörper 15 getragen wird.
Die Fig. 3 und 4 zeigen in Seitenansicht, teilweise in Schnittdarstellung, bzw. in Draufsicht eine Ausführungsform eines Manschettenknopfes, bei welchem ein zylinderförmiger Haltekörper 15 nur am einen Längsende eines zylinderförmigen Hauptkörpers 13 angeordnet und im Bereich des anderen Längsendes des Hauptkörpers 13 eine Befestigungsöffnung 33 für ein weiteres Dekorationselement, beispielsweise für einen Haltestift für einen Diamanten, vorgesehen ist. Bei dieser Ausführungsform ist entweder das entsprechende Längsende des Hauptkörpers 13 oder der Haltekörper 17 mit einem Bereich verminderten Durchmessers solcher Länge versehen, daß eine größere Anzahl Dekorationsringe 17, in dem in Fig. 3 gezeigten Beispiel zwei Dekorationsringe, aufgeschoben werden kann.
Werden für einen erfindungsgemäßen Manschettenknopf mehrere Dekorationsringe verwendet, können diese unterschiedliche Breite haben.
In den Fig. 5 und 6 ist eine erfindungsgemäß gestaltete Krawattennadel 101 mit einem Hauptkörper 103 länglicher Zylinderform, einem zylinderförmigen Haltekörper 105 an einem Längsende des Hauptkörpers 103 und einer am anderen Längsende des Hauptkörpers 103 befestigten, sich entlang des Hauptkörpers 103 in Richtung zum Haltekörper 105 erstreckenden Klemmfeder 107 gezeigt. Bei der Darstellung in Fig. 6 ist der Haltekörper 105 in Schnittdarstellung gezeigt. Im Fall dieser Krawattennadel ist der Haltekörper 105 mit einem Innengewinde 109 versehen und weist der Hauptkörper 103 am entsprechenden Längsende einen zylinderförmigen Vorsprung 111 mit Außengewinde 113 auf. Bei der dargestellten Ausführungsform ist der Haltekörper 105 an seinem an den Hauptkörper 103 angrenzenden Längsende mit einem Bereich 115 verminderten Außendurchmessers solcher axialer Länge versehen, daß auf diesen Bereich drei Dekorationsringe 17 aufgeschoben werden können. Diese Dekorationsringe können hinsichtlich Aussehen oder Breite gleich, teilweise verschieden oder gänzlich verschieden sein.
In den Fig. 7 und 8 ist ein erfindungsgemäß gestalteter Anhänger 201 mit einem Hauptkörper 203 länglicher Zylinderform, einem zylinderförmigen Haltekörper 205 an einem Längsende des Hauptkörpers 203 und einer Durchfädelöffnung 207, zum Durchfädeln eines Halsbandes oder einer Halskette, im Bereich des anderen Längsendes des Hauptkörpers 203 gezeigt. Bei der Darstellung in Fig. 8 ist der Haltekörper 205 in Schnittdarstellung gezeigt. Im Fall dieses Anhängers 201 ist der Haltekörper 205 mit einem Innengewinde 209 versehen und weist der Hauptkörper 203 am entsprechenden Längsende einen zylinderförmigen Vorsprung 211 mit Außengewinde 213 auf. Bei der dargestellten Ausführungsform ist der Haltekörper 205 an seinem an den Hauptkörper 203 angrenzenden Längsende mit einem Bereich 215 verminderten Außendurchmessers solcher axialer Länge versehen, daß auf diesen Bereich drei Dekorationsringe 17 aufgeschoben werden können. Auch diese Dekorationsringe 17 können hinsichtlich Aussehen oder Breite gleich, teilweise verschieden oder gänzlich verschieden sein.
In einem dem Haltekörper 205 benachbarten Bereich des Hauptkörpers 205 ist bei dem Anhänger der in den Fig. 7 und 8 dargestellten Ausführungsform eine Befestigungsöffnung 213 für ein weiteres Dekorationselement, beispielsweise für einen Haltestift für einen Diamanten, vorgesehen.
In den Fig. 9 bis 11 sind drei Ausführungsformen von erfindungsgemäß gestalteten Ringen 301 gezeigt, bei denen es sich beispielsweise um Fingerringe oder um Armreifen handeln kann. Dabei zeigt Fig. 10 eine Seitenansicht, teilweise in Schnittdarstellung, während die Fig. 9 und 11 je eine Diagonalschnittansicht zeigen.
Jeder dieser drei Ringe 301 weist einen ringförmigen Hauptkörper 303 auf. An diesem sind im Fall der Fig. 9 und 10 zwei ringförmige Haltekörper 305 befestigt, und zwar an jedem axialen Ende des Hauptkörpers 305 je einer, mittels welchen am Hauptkörper 303 im Fall der Fig. 9 ein Dekorationsring 307 gehalten wird und im Fall der Fig. 10 zwei Dekorationsringe 307 gehalten werden. Im Fall der Fig. 11 ist nur ein ringförmiger Haltekörper 305 an einem axialen Ende des Hauptkörpers 303 vorgesehen, mittels welchem am Hauptkörper 303 ein Dekorationsring 307 gehalten wird.
Bei allen drei Ringen 301 weist der Hauptkörper 303 für jeden Haltekörper 305 einen axialen Endbereich mit einem Außengewinde 309 zum Aufschrauben des je zugehörigen Haltekörpers 305 auf. Zu diesem Zweck ist jeder Haltekörper 305 in einem dem Hauptkörper 303 benachbarten Endbereich mit einem Innengewinde 311 versehen.
Im Fall der Fig. 9 und 10 besteht zwischen den beiden Haltekörpern 305 ein axialer Abstand, welcher von einem Dekorationsring 307 bzw. zwei Dekorationsringen 307 ausgefüllt ist. Dabei weist der Hauptkörper 303 in diesem axialen Bereich einen Außendurchmesser auf, der um die radiale Dicke des mindestens einen Dekorationsringes 307 geringer ist als der Außendurchmesser der Haltekörper 305. Je nach radialer Dicke des mindestens einen Dekorationsringes 307 kann der Außendurchmesser des Hauptkörpers 303 in diesem axialen Bereich größer oder kleiner sein als der Innendurchmesser des Innengewindes 311 der Haltekörper 305 oder können beide Durchmesser gleich sein.
Bei dem in Fig. 11 gezeigten Ring 301 weist der Hauptkörper 303 nur auf einer axialen Seite einen verminderten Durchmesser mit einem Außengewinde 309 für das Aufschrauben nur eines Haltekörpers 305 auf. Benachbart der axialen Mitte ist der Hauptkörper 303 mit einer Durchmesserstufe versehen, bei welcher der Hauptkörper 303 einen zwischen dem maximalen Außendurchmesser und dem Außengewindedurchmesser liegenden Zwischendurchmesser 313 besitzt, um dort einen Dekorationsring 307 aufnehmen zu können, dessen Außendurchmesser mit dem maximalen Außendurchmesser des Hauptkörpers 303 übereinstimmt.
Wie bei allen anderen erfindungsgemäßen Schmuckstücken kann auch bei den in den Fig. 9 bis 11 gezeigten Ringen der mindestens eine Dekorationsring 307 einen Außendurchmesser haben, der vom maximalen Außendurchmesser des Hauptkörpers 303 im Fall der Fig. 11 oder vom maximalen Außendurchmesser der beiden Haltekörpers 305 im Fall der Fig. 9 und 10 verschieden ist.
Bei allen erfindungsgemäßen Schmuckstücken können der Hauptkörper und vorzugsweise auch der mindestens eine Haltekörper beispielsweise aus Stahl oder Titan sein, währen das mindestens eine Dekorationselement aus Silber, Gold oder Platin bestehen oder damit überzogen sein kann. Bei der Verwendung mehrerer Dekorationselemente können diese aus unterschiedlichen Materialien oder Oberflächenmaterialien sein und können unterschiedliche Breite besitzen. Das oder jedes Dekorationselement kann nach dem Befestigen des zugehörigen Haltekörpers an dem Hauptkörper entweder festsitzen oder soviel axiales Spiel haben, daß es axial verschiebbar oder verrutschbar bleibt.

Claims (19)

  1. Am Körper tragbares Schmuckstück (11; 101; 201; 303),
    mit einem Hauptkörper (13; 103; 203; 303),
    mindestens einem mit dem Hauptkörper (13; 103; 203; 303) lösbar verbundenen Haltekörper (15; 105; 205; 305),
    und mindestens einem auswechselbar festgehaltenen Dekorationselement (17; 307),
    dadurch gekennzeichnet, dass mindestens der Hauptkörper (13; 103; 203; 303) und/oder der mindestens eine Haltekörper (15; 105; 205; 305) wenigstens einen axialen Endbereich mit einer verringerten Aussenkontur aufweisen, der dem je anderen Körper benachbart ist und auf dem das mindestens eine Dekorationselement (17, 307) angeordnet ist,
    und dass der Umfang des Hauptkörpers (13; 103; 203; 303), der Umfang des mindestens einen Haltekörpers (15; 105; 205; 305) und der Umfang des mindestens einen Dekorationselements (17, 307) derart ausgebildet sind,
    dass sich der Hauptkörper (13; 103; 203; 303), der mindestens eine Haltekörper (15; 105; 205; 305) und das mindestens eine Dekorationselement (17, 307) zu einem zylinderförmigen oder torusförmigen geometrischen Grundkörper ergänzen.
  2. Schmuckstück nach Anspruch 1, bei welchem zwischen dem Hauptkörper (13; 103; 203; 303) und dem mindestens einen Haltekörper (15; 105; 205; 305) eine Formschlußverbindung besteht.
  3. Schmuckstück nach Anspruch 2, mit einer Formschlußverbindung in Form einer Schraubverbindung.
  4. Schmuckstück nach Anspruch 1, bei welchem zwischen dem Hauptkörper (13; 103; 203; 303) und dem mindestens einen Haltekörper (15; 105; 205; 305) eine Kraftschlußverbindung, vorzugsweise Reibschlußverbindung, besteht.
  5. Schmuckstück nach einem der Ansprüche 1 bis 4, bei welchem der Hauptkörper (13; 103; 203) eine längliche Form aufweist und der mindestens eine Haltekörper (15; 105; 205) mit einem Längsende des Hauptkörpers (13; 103; 203) verbunden ist.
  6. Schmuckstück nach einem der Ansprüche 1 bis 5, bei welchem der Hauptkörper (13; 103; 203; 303) und der mindestens eine Haltekörper (15; 105; 205; 305) zylinderförmig ausgebildet sind und das mindestens eine Dekorationselement durch eine vom Haltekörper (15; 105; 205; 305) am Schmuckstück (11; 101; 201; 301) gehaltenen Dekorationsscheibe gebildet ist.
  7. Schmuckstück nach einem der Ansprüche 1 bis 5, bei welchem der Hauptkörper (13; 103; 203; 303) und der mindestens eine Haltekörper (15; 105; 205; 305) je zylinderförmig ausgebildet sind und das mindestens eine Dekorationselement (17; 307) durch einen vom Halteelement (15; 105; 205; 305) am Schmuckstück (11; 101; 201; 301) gehaltenen Dekorationsring (17; 307) gebildet ist.
  8. Schmuckstück nach einem der Ansprüche 5 bis 7, bei welchem der Hauptkörper (13; 103; 203; 303), der mindestens eine Haltekörper (15; 105; 205; 305) und das mindestens eine Dekorationselement (17; 307) eine gleiche Außenkontur aufweisen.
  9. Schmuckstück nach einem der Ansprüche 5 bis 8, bei welchem an jedem axialen Ende des Hauptkörpers (13; 103; 203; 303) ein Haltekörper (15; 105; 205; 305) befestigt ist und von jedem Haltekörper (15; 105; 205; 305) mindestens ein Dekorationselement (17; 307) am Schmuckstück (11; 101; 201; 301) festgehalten wird.
  10. Schmuckstück nach einem der Ansprüche 7 bis 9, bei welchem von dem Hauptkörper (13; 103; 203; 303) und dem mindestens einen Haltekörper (15; 105; 205; 305) wenigstens einer in einem der axialen Endbereiche, der dem anderen Körper benachbart ist, einen verminderten Außendurchmesser aufweist, der im Wesentlichen gleich einem Innendurchmesser des Dekorationsringes (17; 307) ist, und bei welchem der mindestens eine Dekorationsring (17; 307) auf den Längsendbereich verminderten Außendurchmessers aufgeschoben ist.
  11. Schmuckstück nach einem der Ansprüche 7 bis 10, bei welchem der Hauptkörper (303) und der mindestens eine Haltekörper (305) je Ringform aufweisen.
  12. Schmuckstück nach einem der Ansprüche 1 bis 11, bei welchem:
    der Hauptkörper (13; 103; 203; 303) wenigstens einen axialen Endbereich aufweist, dessen Außenumfangsfläche als Befestigungsfläche für den mindestens einen Haltekörper (15; 105; 205; 305) ausgebildet ist,
    der mindestens eine Haltekörper (15; 105; 205; 305) einen dem Hauptkörper (13;103; 203; 303) benachbarten Endbereich aufweist, dessen Innenumfangsfläche als Befestigungsgegenfläche ausgebildet ist, die mit der zugehörigen Befestigungsfläche des Hauptkörpers (13;103; 203; 303) zum Festhalten des Haltekörpers (15; 105; 205; 305) an dem Hauptkörper (13;103; 203; 303) zusammenwirkt,
    und von dem Hauptkörper (13;103; 203; 303) und dem mindestens einen Haltekörper (15; 105; 205; 305) mindestens einer in einem axialen Bereich, der an den anderen Körper angrenzt, einen verringerten Außendurchmesser aufweist, der im wesentlichen gleich dem Innendurchmesser des mindestens einen Dekorationsringes (17; 307) ist und den mindestens einen Dekorationsring (17;307) trägt.
  13. Schmuckstück nach einem der Ansprüche 1 bis 12, bei welchem die Oberfläche des Dekorationselementes (17; 307) eine Oberflächenbeschaffenheit und/oder Farbe hat, die von der Oberflächenbeschaffenheit und/oder Farbe des Hauptkörpers (13; 103; 203; 303) und/oder des Haltekörpers (15; 105; 205; 305) verschieden ist.
  14. Schmuckstück nach Anspruch 13, bei welchem das Dekorationselement (17; 307) aus einem anderen Material als der Hauptkörper (13; 103; 203; 303) und/oder der mindestens eine Haltekörper (15; 105; 205; 305) besteht.
  15. Schmuckstück nach einem der Ansprüche 1 bis 14, in Form eines Manschettenknopfes (11), dessen Hauptkörper (13) mit einem Knopflochanker (19) versehen ist.
  16. Schmuckstück nach einem der Ansprüche 5 bis 14, in Form einer Krawattennadel (101), deren Hauptkörper (103) an einem Längsende mit einem Haltekörper (105) und mindestens einem Dekorationselement (17) und am anderen Längsende mit einer sich in Richtung zum Haltekörper (105) erstreckenden Klemmfeder (107) versehen ist.
  17. Schmuckstück nach einem der Ansprüche 1 bis 14, in Form eines an einem Halsband tragbaren Anhängers (201), dessen Hauptkörper (203) mit einer Halsbanddurchfädelöffnung (207) versehen ist.
  18. Schmuckstück nach einem der Ansprüche 11 bis 14, in Form eines Fingerrings (301).
  19. Schmuckstück nach einem der Ansprüche 11 bis 14, in Form eines Armreifs (301).
EP00102473A 1999-02-26 2000-02-04 Schmuckstück mit auswechselbarem Dekorationselement Expired - Lifetime EP1031294B8 (de)

Applications Claiming Priority (2)

Application Number Priority Date Filing Date Title
DE19908523A DE19908523A1 (de) 1999-02-26 1999-02-26 Schmuckstück mit auswechselbarem Dekorationselement
DE19908523 1999-02-26

Publications (3)

Publication Number Publication Date
EP1031294A1 EP1031294A1 (de) 2000-08-30
EP1031294B1 true EP1031294B1 (de) 2004-09-29
EP1031294B8 EP1031294B8 (de) 2004-11-17

Family

ID=7899070

Family Applications (1)

Application Number Title Priority Date Filing Date
EP00102473A Expired - Lifetime EP1031294B8 (de) 1999-02-26 2000-02-04 Schmuckstück mit auswechselbarem Dekorationselement

Country Status (4)

Country Link
EP (1) EP1031294B8 (de)
AT (1) ATE277537T1 (de)
DE (2) DE19908523A1 (de)
ES (1) ES2229977T3 (de)

Families Citing this family (4)

* Cited by examiner, † Cited by third party
Publication number Priority date Publication date Assignee Title
DE20215407U1 (de) 2002-10-03 2003-04-24 Leiter, Ralf, Dr., 56179 Vallendar Verliersichere Krawattenfixierung mit Schmuckelementwechselvorrichtung
GB2449906A (en) * 2007-06-07 2008-12-10 Zagonda Ltd Fastener with magnet and mechanical coupling requiring rotation to release
DE202023001499U1 (de) 2023-07-05 2023-09-14 Mister Ring Produktentwicklung und Design UG (haftungsbeschränkt) Mehrteiliger Fingerring mit Dreh- und Kippelement
DE102023002741A1 (de) 2023-07-05 2025-01-09 Mister Ring Produktentwicklung und Design UG (haftungsbeschränkt) Mehrteiliger Fingerring mit Dreh- und Kippelement

Family Cites Families (8)

* Cited by examiner, † Cited by third party
Publication number Priority date Publication date Assignee Title
US4742696A (en) * 1983-03-21 1988-05-10 Jenkins Mary A Ring with replaceable stones
FR2594656A1 (fr) * 1986-02-21 1987-08-28 Del Torchio Stephane Objet ornemental, par exemple bijou transformable a structure modulaire et motifs decoratifs interchangeables
US5456095A (en) * 1993-05-21 1995-10-10 Tawil; David Interchangeable setting for jewelry pieces
US5375434A (en) * 1993-12-03 1994-12-27 Yanni's Creations, Inc. Removable jewelry stone setting
US5573018A (en) * 1995-08-03 1996-11-12 Johnson; Destrina D. Hair barrette with replaceable ornaments
DE19634856C2 (de) * 1996-08-28 1998-12-24 Vasile Mioc Kombinationsring
DE29800292U1 (de) * 1998-01-09 1999-05-06 Schmuck-art Peter Hegewisch GmbH, 85399 Hallbergmoos Schmuckstück
US5992177A (en) * 1998-02-27 1999-11-30 Beard; Guy Gem stone mount

Also Published As

Publication number Publication date
ES2229977T3 (es) 2005-05-01
EP1031294A1 (de) 2000-08-30
EP1031294B8 (de) 2004-11-17
DE19908523A1 (de) 2000-08-31
ATE277537T1 (de) 2004-10-15
DE50007949D1 (de) 2004-11-04

Similar Documents

Publication Publication Date Title
DE3820249C2 (de)
DE4317113C2 (de) Schmuckstück
DE2749147A1 (de) Schmuckstueck
EP1031294B1 (de) Schmuckstück mit auswechselbarem Dekorationselement
AT10093U1 (de) Schmuckelement
DE29500670U1 (de) Schmuckstück
DE102011052669A1 (de) Flächenelement, insbesondere Zifferblatt einer Uhr
DE29622288U1 (de) Schmuckstück mit auswechselbarem Dekorelement
DE4135139C2 (de) Schmuckring
DE19634856C2 (de) Kombinationsring
AT404663B (de) Schmuckstück
DE3913336A1 (de) Schmuckgegenstand
DE10209563B4 (de) Schmuckring und Schmuckringbausatz
EP0503130B1 (de) Schmuckstück
DE4407979A1 (de) Schmuckstück
EP0551120A1 (de) Ohrstecker
DE9301527U1 (de) Ring-Einsatz
DE29824872U1 (de) Dekorierte Perle mit integriertem Schmuckelement
DE10038748A1 (de) Schmuckring
DE9403991U1 (de) Schmuckstück
DE9307751U1 (de) Schmuckstück
DE29818455U1 (de) Schmuckstück
DE9401431U1 (de) Ohrstecker
DE9211989U1 (de) Schmuckstück
DE7723669U1 (de) Ringhalter, insbesondere fuer dekorationszwecke

Legal Events

Date Code Title Description
PUAI Public reference made under article 153(3) epc to a published international application that has entered the european phase

Free format text: ORIGINAL CODE: 0009012

AK Designated contracting states

Kind code of ref document: A1

Designated state(s): AT BE CH CY DE DK ES FI FR GB GR IE IT LI LU MC NL PT SE

AX Request for extension of the european patent

Free format text: AL;LT;LV;MK;RO;SI

17P Request for examination filed

Effective date: 20010226

AKX Designation fees paid

Free format text: AT BE CH CY DE DK ES FI FR GB GR IE IT LI LU MC NL PT SE

17Q First examination report despatched

Effective date: 20030213

GRAP Despatch of communication of intention to grant a patent

Free format text: ORIGINAL CODE: EPIDOSNIGR1

GRAS Grant fee paid

Free format text: ORIGINAL CODE: EPIDOSNIGR3

GRAA (expected) grant

Free format text: ORIGINAL CODE: 0009210

RAP1 Party data changed (applicant data changed or rights of an application transferred)

Owner name: XEN-GMBH

AK Designated contracting states

Kind code of ref document: B1

Designated state(s): AT BE CH CY DE DK ES FI FR GB GR IE IT LI LU MC NL PT SE

PG25 Lapsed in a contracting state [announced via postgrant information from national office to epo]

Ref country code: FI

Free format text: LAPSE BECAUSE OF FAILURE TO SUBMIT A TRANSLATION OF THE DESCRIPTION OR TO PAY THE FEE WITHIN THE PRESCRIBED TIME-LIMIT

Effective date: 20040929

Ref country code: IE

Free format text: LAPSE BECAUSE OF FAILURE TO SUBMIT A TRANSLATION OF THE DESCRIPTION OR TO PAY THE FEE WITHIN THE PRESCRIBED TIME-LIMIT

Effective date: 20040929

REG Reference to a national code

Ref country code: GB

Ref legal event code: FG4D

Free format text: NOT ENGLISH

REG Reference to a national code

Ref country code: CH

Ref legal event code: EP

RAP4 Party data changed (patent owner data changed or rights of a patent transferred)

Owner name: XEN-GMBH

REG Reference to a national code

Ref country code: IE

Ref legal event code: FG4D

Free format text: GERMAN

REF Corresponds to:

Ref document number: 50007949

Country of ref document: DE

Date of ref document: 20041104

Kind code of ref document: P

PG25 Lapsed in a contracting state [announced via postgrant information from national office to epo]

Ref country code: GR

Free format text: LAPSE BECAUSE OF FAILURE TO SUBMIT A TRANSLATION OF THE DESCRIPTION OR TO PAY THE FEE WITHIN THE PRESCRIBED TIME-LIMIT

Effective date: 20041229

Ref country code: DK

Free format text: LAPSE BECAUSE OF FAILURE TO SUBMIT A TRANSLATION OF THE DESCRIPTION OR TO PAY THE FEE WITHIN THE PRESCRIBED TIME-LIMIT

Effective date: 20041229

Ref country code: SE

Free format text: LAPSE BECAUSE OF FAILURE TO SUBMIT A TRANSLATION OF THE DESCRIPTION OR TO PAY THE FEE WITHIN THE PRESCRIBED TIME-LIMIT

Effective date: 20041229

REG Reference to a national code

Ref country code: CH

Ref legal event code: NV

Representative=s name: WILLIAM BLANC & CIE CONSEILS EN PROPRIETE INDUSTRI

GBT Gb: translation of ep patent filed (gb section 77(6)(a)/1977)

Effective date: 20050110

PG25 Lapsed in a contracting state [announced via postgrant information from national office to epo]

Ref country code: CY

Free format text: LAPSE BECAUSE OF FAILURE TO SUBMIT A TRANSLATION OF THE DESCRIPTION OR TO PAY THE FEE WITHIN THE PRESCRIBED TIME-LIMIT

Effective date: 20050204

PGFP Annual fee paid to national office [announced via postgrant information from national office to epo]

Ref country code: ES

Payment date: 20050224

Year of fee payment: 6

PG25 Lapsed in a contracting state [announced via postgrant information from national office to epo]

Ref country code: MC

Free format text: LAPSE BECAUSE OF NON-PAYMENT OF DUE FEES

Effective date: 20050228

REG Reference to a national code

Ref country code: IE

Ref legal event code: FD4D

REG Reference to a national code

Ref country code: ES

Ref legal event code: FG2A

Ref document number: 2229977

Country of ref document: ES

Kind code of ref document: T3

ET Fr: translation filed
PLBE No opposition filed within time limit

Free format text: ORIGINAL CODE: 0009261

STAA Information on the status of an ep patent application or granted ep patent

Free format text: STATUS: NO OPPOSITION FILED WITHIN TIME LIMIT

26N No opposition filed

Effective date: 20050630

PGFP Annual fee paid to national office [announced via postgrant information from national office to epo]

Ref country code: FR

Payment date: 20060215

Year of fee payment: 7

Ref country code: NL

Payment date: 20060215

Year of fee payment: 7

PGFP Annual fee paid to national office [announced via postgrant information from national office to epo]

Ref country code: AT

Payment date: 20060220

Year of fee payment: 7

Ref country code: LU

Payment date: 20060220

Year of fee payment: 7

PGFP Annual fee paid to national office [announced via postgrant information from national office to epo]

Ref country code: BE

Payment date: 20060221

Year of fee payment: 7

Ref country code: CH

Payment date: 20060221

Year of fee payment: 7

PGFP Annual fee paid to national office [announced via postgrant information from national office to epo]

Ref country code: IT

Payment date: 20060228

Year of fee payment: 7

PGFP Annual fee paid to national office [announced via postgrant information from national office to epo]

Ref country code: DE

Payment date: 20060424

Year of fee payment: 7

PG25 Lapsed in a contracting state [announced via postgrant information from national office to epo]

Ref country code: LI

Free format text: LAPSE BECAUSE OF NON-PAYMENT OF DUE FEES

Effective date: 20070228

Ref country code: CH

Free format text: LAPSE BECAUSE OF NON-PAYMENT OF DUE FEES

Effective date: 20070228

REG Reference to a national code

Ref country code: CH

Ref legal event code: PL

GBPC Gb: european patent ceased through non-payment of renewal fee

Effective date: 20070204

NLV4 Nl: lapsed or anulled due to non-payment of the annual fee

Effective date: 20070901

PG25 Lapsed in a contracting state [announced via postgrant information from national office to epo]

Ref country code: AT

Free format text: LAPSE BECAUSE OF NON-PAYMENT OF DUE FEES

Effective date: 20070204

REG Reference to a national code

Ref country code: FR

Ref legal event code: ST

Effective date: 20071030

BERE Be: lapsed

Owner name: *XEN-G.M.B.H.

Effective date: 20070228

PG25 Lapsed in a contracting state [announced via postgrant information from national office to epo]

Ref country code: PT

Free format text: LAPSE BECAUSE OF NON-PAYMENT OF DUE FEES

Effective date: 20050228

Ref country code: BE

Free format text: LAPSE BECAUSE OF NON-PAYMENT OF DUE FEES

Effective date: 20070228

PG25 Lapsed in a contracting state [announced via postgrant information from national office to epo]

Ref country code: DE

Free format text: LAPSE BECAUSE OF NON-PAYMENT OF DUE FEES

Effective date: 20070901

Ref country code: NL

Free format text: LAPSE BECAUSE OF NON-PAYMENT OF DUE FEES

Effective date: 20070901

PG25 Lapsed in a contracting state [announced via postgrant information from national office to epo]

Ref country code: GB

Free format text: LAPSE BECAUSE OF NON-PAYMENT OF DUE FEES

Effective date: 20070204

Ref country code: FR

Free format text: LAPSE BECAUSE OF NON-PAYMENT OF DUE FEES

Effective date: 20070228

REG Reference to a national code

Ref country code: ES

Ref legal event code: FD2A

Effective date: 20070205

PG25 Lapsed in a contracting state [announced via postgrant information from national office to epo]

Ref country code: ES

Free format text: LAPSE BECAUSE OF NON-PAYMENT OF DUE FEES

Effective date: 20070205

PGFP Annual fee paid to national office [announced via postgrant information from national office to epo]

Ref country code: GB

Payment date: 20060123

Year of fee payment: 7

PG25 Lapsed in a contracting state [announced via postgrant information from national office to epo]

Ref country code: LU

Free format text: LAPSE BECAUSE OF NON-PAYMENT OF DUE FEES

Effective date: 20070204

PG25 Lapsed in a contracting state [announced via postgrant information from national office to epo]

Ref country code: IT

Free format text: LAPSE BECAUSE OF NON-PAYMENT OF DUE FEES

Effective date: 20070204