EP1029387B1 - Crimpwerkzeug - Google Patents

Crimpwerkzeug Download PDF

Info

Publication number
EP1029387B1
EP1029387B1 EP98965073A EP98965073A EP1029387B1 EP 1029387 B1 EP1029387 B1 EP 1029387B1 EP 98965073 A EP98965073 A EP 98965073A EP 98965073 A EP98965073 A EP 98965073A EP 1029387 B1 EP1029387 B1 EP 1029387B1
Authority
EP
European Patent Office
Prior art keywords
crimping tool
screw
tool according
basic body
crimp contacts
Prior art date
Legal status (The legal status is an assumption and is not a legal conclusion. Google has not performed a legal analysis and makes no representation as to the accuracy of the status listed.)
Expired - Lifetime
Application number
EP98965073A
Other languages
English (en)
French (fr)
Other versions
EP1029387A1 (de
Inventor
Wolfgang Hanke
Paul Fleps
Frank Joachim Hanke
Current Assignee (The listed assignees may be inaccurate. Google has not performed a legal analysis and makes no representation or warranty as to the accuracy of the list.)
Individual
Original Assignee
Individual
Priority date (The priority date is an assumption and is not a legal conclusion. Google has not performed a legal analysis and makes no representation as to the accuracy of the date listed.)
Filing date
Publication date
Priority claimed from DE1997150770 external-priority patent/DE19750770A1/de
Application filed by Individual filed Critical Individual
Publication of EP1029387A1 publication Critical patent/EP1029387A1/de
Application granted granted Critical
Publication of EP1029387B1 publication Critical patent/EP1029387B1/de
Anticipated expiration legal-status Critical
Expired - Lifetime legal-status Critical Current

Links

Images

Classifications

    • HELECTRICITY
    • H01ELECTRIC ELEMENTS
    • H01RELECTRICALLY-CONDUCTIVE CONNECTIONS; STRUCTURAL ASSOCIATIONS OF A PLURALITY OF MUTUALLY-INSULATED ELECTRICAL CONNECTING ELEMENTS; COUPLING DEVICES; CURRENT COLLECTORS
    • H01R43/00Apparatus or processes specially adapted for manufacturing, assembling, maintaining, or repairing of line connectors or current collectors or for joining electric conductors
    • H01R43/04Apparatus or processes specially adapted for manufacturing, assembling, maintaining, or repairing of line connectors or current collectors or for joining electric conductors for forming connections by deformation, e.g. crimping tool
    • H01R43/048Crimping apparatus or processes
    • HELECTRICITY
    • H01ELECTRIC ELEMENTS
    • H01RELECTRICALLY-CONDUCTIVE CONNECTIONS; STRUCTURAL ASSOCIATIONS OF A PLURALITY OF MUTUALLY-INSULATED ELECTRICAL CONNECTING ELEMENTS; COUPLING DEVICES; CURRENT COLLECTORS
    • H01R43/00Apparatus or processes specially adapted for manufacturing, assembling, maintaining, or repairing of line connectors or current collectors or for joining electric conductors
    • H01R43/04Apparatus or processes specially adapted for manufacturing, assembling, maintaining, or repairing of line connectors or current collectors or for joining electric conductors for forming connections by deformation, e.g. crimping tool
    • H01R43/048Crimping apparatus or processes
    • H01R43/055Crimping apparatus or processes with contact member feeding mechanism
    • YGENERAL TAGGING OF NEW TECHNOLOGICAL DEVELOPMENTS; GENERAL TAGGING OF CROSS-SECTIONAL TECHNOLOGIES SPANNING OVER SEVERAL SECTIONS OF THE IPC; TECHNICAL SUBJECTS COVERED BY FORMER USPC CROSS-REFERENCE ART COLLECTIONS [XRACs] AND DIGESTS
    • Y10TECHNICAL SUBJECTS COVERED BY FORMER USPC
    • Y10STECHNICAL SUBJECTS COVERED BY FORMER USPC CROSS-REFERENCE ART COLLECTIONS [XRACs] AND DIGESTS
    • Y10S72/00Metal deforming
    • Y10S72/712Electrical terminal crimper
    • YGENERAL TAGGING OF NEW TECHNOLOGICAL DEVELOPMENTS; GENERAL TAGGING OF CROSS-SECTIONAL TECHNOLOGIES SPANNING OVER SEVERAL SECTIONS OF THE IPC; TECHNICAL SUBJECTS COVERED BY FORMER USPC CROSS-REFERENCE ART COLLECTIONS [XRACs] AND DIGESTS
    • Y10TECHNICAL SUBJECTS COVERED BY FORMER USPC
    • Y10TTECHNICAL SUBJECTS COVERED BY FORMER US CLASSIFICATION
    • Y10T29/00Metal working
    • Y10T29/49Method of mechanical manufacture
    • Y10T29/49002Electrical device making
    • Y10T29/49117Conductor or circuit manufacturing
    • Y10T29/49174Assembling terminal to elongated conductor
    • Y10T29/49181Assembling terminal to elongated conductor by deforming
    • Y10T29/49185Assembling terminal to elongated conductor by deforming of terminal
    • YGENERAL TAGGING OF NEW TECHNOLOGICAL DEVELOPMENTS; GENERAL TAGGING OF CROSS-SECTIONAL TECHNOLOGIES SPANNING OVER SEVERAL SECTIONS OF THE IPC; TECHNICAL SUBJECTS COVERED BY FORMER USPC CROSS-REFERENCE ART COLLECTIONS [XRACs] AND DIGESTS
    • Y10TECHNICAL SUBJECTS COVERED BY FORMER USPC
    • Y10TTECHNICAL SUBJECTS COVERED BY FORMER US CLASSIFICATION
    • Y10T29/00Metal working
    • Y10T29/53Means to assemble or disassemble
    • Y10T29/5313Means to assemble electrical device
    • Y10T29/532Conductor
    • Y10T29/53209Terminal or connector
    • Y10T29/53213Assembled to wire-type conductor
    • Y10T29/53235Means to fasten by deformation

Definitions

  • the invention relates to a crimping tool for crimping crimp contacts, in particular of crimp contacts in tape form, with a pressing device comprising Base body and a table assigned to the base body for guidance of the crimp contacts, the crimp contacts being fed to the pressing device via the table and the position of the table relative to the base body along a tour is changeable.
  • the invention relates to a crimping tool for crimping crimp contacts, especially of crimp contacts in tape form, with a pressing device comprehensive base body and a table assigned to the base body to guide the crimp contacts, the crimp contacts of the pressing device be fed to the table.
  • Crimping tools of the type in question have long been known in practice and exist in a wide variety of embodiments.
  • the known crimping tools are designed for the efficient processing of crimp contacts in tape form, in longitudinal or transverse transport or for sortable individual contacts.
  • the known crimping tools are often designed as quick-change tools and can be used on individual workstations or fully automatic machines and transfer lines.
  • the processing of electrical conductors with a cross-sectional area of approximately 0.08 mm 2 to 50 mm 2 is possible.
  • the table is formed in two in the base body Grooves.
  • the table is fixed relative to the base body using clamping screws.
  • the Clamping screws are loosened first, then the position of the table adjusted and finally the clamping screws are tightened again.
  • the adjusting mechanism of the known crimping tool comprises a mounting block 78, which is fastened to the base body 12 of the crimping tool.
  • the assembly block 78 has a passage 86 through which an adjusting screw 92 passes is.
  • the adjusting screw 92 is in a in the table 70 of the known crimping tool trained thread 90 screwed. By turning the screw 92 is the table 70 is displaceable perpendicular to the feed direction of the crimp contacts, wherein an elastic means 81 is arranged between the mounting block 78 and the table 70 is that the screw 92 by means of the table 70 against one on the mounting block 78 trained stop 88 presses.
  • the screw 92 To adjust the screw 92, it is necessary that the screw 92 on her the screw head 95 facing away from a projection 96 with reduced Has diameter.
  • the protrusion has a slot 98 for engagement with, for example a screwdriver. The movement of the screw 92 takes place exclusively via the projection 96, since the screw head 95 of the screw 92 is not accessible when the crimping tool is assembled.
  • the adjusting mechanism known from the D1 is complex because it is a specially designed one Mounting block 78 and a specially designed screw 92 with a Projection 96 with a reduced diameter are to be used. Furthermore is the Actuating mechanism unsafe because of the formation of a screw 92 with a Projection 96 with a reduced diameter is virtually a "predetermined breaking point" in the area of the projection 96 is accepted. Especially with long operating times of the crimping tool and the associated increased stiffness of turning the screw due to possible contamination of the In extreme cases, the thread can break off the projection during a Adjustment process occur due to its reduced diameter. In one Fall must complete the Stellmechansimus including the mounting block 78 be dismantled to install a new screw 92.
  • the claimed, described by claim 1 The crimping tool that solves the task outlined above is characterized by the features of the identifying parts characterized.
  • the base body now has a thread, one of which acts as a stop acting screw is screwed, which is only passed through the table is.
  • the elastic means presses the table against one assigned to the base body Stop, namely the screw or the head of the screw.
  • the adjustment the position of the table relative to the base body is done in a simple manner by simply screwing the screw in or out. When screwing the entire diameter of the screw can act.
  • the formation of a head start with a reduced diameter on the screw is not necessary. at For example, the use of a commercially available Allen screw Screw turned on her head, which also forms a stop for the table.
  • the adjusting mechanism could be in between the table and the base body Include elastic means acting in the direction of the guide.
  • the elastic means the table could still be against you press the stop assigned to the body. The position of the stop could then in turn be changed relative to the base body in the guide direction be, so that a positioning of the table only by changing the Position of the stop is realizable. This would have a particularly simple positioning result.
  • the elastic means could be a coil spring in a structurally simple manner his. However, leaf springs or the like could also be used here.
  • Another particularly simple embodiment could be realized in that the stop one led through the table and into a thread in the base body screwed screw, preferably an Allen screw.
  • the adjustment could the position of the table relative to the base body by just one in or Unscrew the screw.
  • the position of the table relative to the The base body would then be pressurized by the elastic means secured.
  • the elastic means could continue in a recess in the Be arranged table. This would be a particularly safe and precise pressurization possible.
  • the screw must be self-locking. This would involve the introduction of a plastic material conceivable in the thread in the base body. Alternatively or additionally the screw could be pressurized to prevent it from being unscrewed be secured. This pressurization could be caused by the elastic Successful means.
  • Another way to secure the position of the screw in the thread could by means of a bolt screwed through the base body towards the screw respectively.
  • the thread for the bolt would practically be in the thread reach into the screw.
  • the bolt could be a Be grub screw.
  • the stop could also be assigned to the table be, the screw then being screwed through the base body into the table would. Securing the screw against unintentional loosening could then be done analogously to the above.
  • the Guide at least one and preferably two of the base body and / or the Include table associated pin or pins.
  • the pens could then run in receptacles formed in the table or in the base body. Such Recordings could easily be made through drilling.
  • pins with one could Dovetail profile or a square profile can be provided. In particular in the latter profile shapes, the formation of a pin would be safe Stop is enough.
  • the table could also be guided in a conventional manner the main body formed groove. In this case, a safeguard against would be necessary provide for lifting the table out of the groove.
  • the feed unit could be a thrust element and one that can be moved back and forth in the feed direction of the crimp contacts Include feed fingers, the feed finger with the thrust element over one Coupling element could be operatively connected.
  • the feed finger could be guided along one side of the table, preferably by means of the table.
  • the feed finger could quasi move within a groove, possibly by a Table side and a cover element arranged on the table side can be formed could.
  • the cover element could be designed as a plate and screwed to the table side his.
  • Crimping tool can be designed in a favorable manner such that the distance of the Advance finger to the table during and after actuation of the adjusting mechanism remains constant.
  • the coupling element could be guided in the feed finger in this way be that the distance between the coupling element and feed finger during the Actuation of the adjusting mechanism changes to the same extent as the distance from Table and body. It would be a guide of the feed finger below the Tables in a groove made of two guide strips extending in the feed direction Cheap.
  • the guide rails could either be integrally integrated into the table or screwed to the table from below.
  • the coupling element could be perpendicular to the feed direction inside guided by two guide strips of the feed finger arranged in the form of a groove his. This would damage or impair the function of the Avoided crimping tool.
  • the above object is accomplished in the manner according to the invention solved the features of claim 18.
  • a crimping tool Crimping crimp contacts in particular crimp contacts in tape form
  • a pressing device comprising a base body and a base body assigned table for guiding the crimp contacts
  • the crimp contacts of the Pressing device can be fed over the table, designed such that the table a positioning device for the functional positioning of the crimp contacts covered relative to the table.
  • the table is a positioning device assigned.
  • the need to position the table relatively to the main body while accepting the known disadvantages is elegant Avoided way.
  • the problem of a jamming feed finger, which is not adapted to an adjustment of the table no longer occur.
  • the positioning device could one for positioning the crimp contacts perpendicular to the feed direction trained guide element include. That would be a simple requirement the feed direction for the crimp contacts conceivable.
  • the guide element could be moved perpendicular to the feed direction his.
  • the guide element could continue to be strip-shaped and vertical be arranged to the table surface.
  • the guide element could be bent particularly securely between at least two Engage the contact elements of the crimp contacts when operating the crimping tool. In other words, it is perpendicular to the table surface strip-shaped guide element between contact elements projecting perpendicularly from the table of the crimp contacts on the table. It could the guide element can be aligned along a crimp contact strip.
  • the distance could be used to adapt to differently dimensioned crimp contacts of the guide element can be changed relative to the table. It must be ensured that the crimp contacts or the crimp contact tape securely between the guide element and can slide through the table without any significant Movement of the crimp contacts perpendicular to the feed direction is possible.
  • the guide element can be attached to the table by means of a holding device.
  • the Holding device could comprise at least one rod, on one of which End of the guide element is fixed.
  • the guide element could be fixed by clamping the guide element by means of a guided through the guide element and in the direction of the rod axis screw screwed into the rod on the rod. When assembled the rod could then be perpendicular to the feed direction and parallel to the Table level can be arranged level.
  • the guide element on the table could have an elongated hole for the screw.
  • a Distance or height adjustment of the guide element could then be easier Way by unscrewing the screw, moving the guide element and Tighten the screw.
  • the holding device could comprise at least one receiving element for the rod or the rods.
  • the receiving element could have at least one passage for the one or more Embrace bars.
  • the receiving element could be in one piece with several Passages for holding several rods or as a single element for holding be formed only one rod.
  • the Rod or rods in the passage can be clamped in different positions his. This would be a simple positioning of the guide element in one direction realized perpendicular to the feed direction. To ensure a safe Clamping the rod in the passageway could result in clamping through one Receiving element screwed clamping screw. That for the clamping screw the thread provided would then run virtually up to the passage.
  • the receiving element could or the receiving elements could be arranged on the table surface and preferably screwed to it. Alternatively, the receiving elements could can also be arranged on any other side of the table.
  • a crimping tool would also be conceivable, in which on the one hand an adjusting mechanism is provided for stepless positioning of the table along a guide and on the other hand a table with a positioning device for the functional Positioning the crimp contacts relative to the table includes.
  • a Crimping tool could preferably have the features according to the subclaims partially or wholly realized.
  • FIG. 1 shows an embodiment in a total of six front, top and side views a table 4 of a crimping tool according to the invention.
  • the table 4 has a steep mechanism 6 for stepless Position the table 4 along a guide 5.
  • the stele mechanism 6 comprises an elastic means 7 and a screw 10.
  • the guide 5 is constructed in the form of two pins 12.
  • the table 4 also has a positioning device 20 for functionally appropriate Position the crimp contacts 1 relative to the table 4.
  • the positioning device 20 comprises a guide element 21 which is strip-shaped and vertical is arranged to the table surface in the feed direction 16.
  • the guide element 21 engages between at least two bends during operation of the crimping tool Contact elements 22 of the crimp contacts 1.
  • the guide element 21 is fastened to the table 4 by means of a holding device 23.
  • the holding device 23 comprises two rods 24, at one end the guide element 21 is screwed tight with a screw 25.
  • the guide element 21 has elongated holes 26. So that is the guide element can be changed in its position relative to the rods 24.
  • the Bars 24 extend through passages 28 in a receiving element 27 of the Holding device 23.
  • the receiving element 27 is arranged on the table surface and screwed to it.
  • a feed finger 17, not shown here, is guided along the table side 19, wherein the guidance is optimized by means of a plate 29 screwed to the table side 19 is.
  • FIG. 1 The second illustration from below in FIG. 1 also shows the table 4 in a top view, where a sectional view is chosen below the table surface level is. It can be seen that the screw 10 has a stop 8 for the table 4th forms. A recess is formed in the table below the table surface, which forms a guide area 33 for the feed finger 17.
  • the three upper representations in the left half of FIG. 1 show a front view of the table 4 or the guide element 21.
  • the passages 28 particularly well recognizable for receiving the rods 24.
  • guide element 21 has two slots 26 for height adjustment of the guide element 21 relative to the table 4.
  • the table 4 is shown in a side view. in this connection the guide area 33 is particularly well recognizable for the feed finger 17.
  • the Table 4 also has a clamping device 30 for the crimp contacts 1. With the clamping device 30 is a lifting of the crimp contacts 1 or a tape avoided from crimp contacts 1 during operation of the crimping tool.
  • FIG. 2 shows a schematic front view of the thrust element 15 of the feed unit 14.
  • the thrust element 15 is the feed finger 17 via a coupling element 18 connected. So that the feed finger 17 during the change the table position relative to the base body 3 by means of the adjusting mechanism 6 not tilted in its guidance, there is a groove 31 in the feed finger 17 for guidance of the coupling element 18 is formed.
  • the coupling element 18 is such in the feed finger 17 out that the distance from the coupling element 18 and Feed fingers 17 during the actuation of the actuating mechanism 6 to the same extent changed how the distance from table 4 and base body 3.
  • Fig. 3 shows a schematic side view of the thrust element 15 with the Coupling element 18 and the table 4 of the embodiment.
  • the clarity half of the feed finger 17 is not shown here.
  • the table 4 has a guide 5 trained pins 12 for engagement with the base body 3.
  • a positioning device 20 for crimp contacts 1 is assigned to the table.
  • the positioning device 20 has a receiving element 27 for rods 24, on which a Guide element 21 is fastened with a screw 25.
  • the bars 24 run in the receiving element 27 formed passages 28.
  • a clamping screw 32 is provided for clamping the Bars 24 in the passage 28, a clamping screw 32 is provided.
  • the bars 24 and the receiving element 27 together form a holding device 23.
  • the table 4 has a guide area 33 for the here Feed finger 17, not shown.
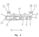
  • FIG. 4 is a table 4 in a partially sectioned and schematic front view shown.
  • a partially cut table 4 is the range of motion of the feed finger 17 along the table side 19 and in the guide area 33 can be seen particularly well.
  • the groove 31 is for the coupling element 18 shown.
  • the positioning device 20 with the holding device 23 and the Receiving element 27 shown. Passages 28 are provided for receiving rods 24 intended.
  • the crimp contacts 1 are guided on a table 4 and have contact elements 22.
  • the table 4 is relative movable to the base body 3, which has a pressing device 2.
  • the leadership 5 for the table 4 relative to the base body 3 has an adjusting mechanism 6, with which the position of the table 4 is infinitely adjustable relative to the base body 3.
  • the Guide 5 has pins 12 which are guided in receptacles 13 of the base body 3 are.
  • the base body 3 is the feed unit 14 for the crimp contacts with the push element 15 assigned.
  • the thrust element 15 is between two stops 35 forth. With each to and fro movement of the thrust element 15, the Band of crimp contacts 1 in the feed direction 16 to the pressing device 2 further conveyed.
  • On the table 4 is a positioning device 20 with a guide element 21 arranged.
  • the guide element 21 engages in the contact elements 22 of the Crimp contacts 1 on.
  • the guide element 21 is via rods 24 and a receiving element 27 set on table 4.
  • the feed finger 17 has a groove 31 for Engagement with the coupling element 18.
  • a thread 34 for a bolt is formed in the base body 3.
  • the bolt can be designed as a grub screw and is used for locking against the Screw 10 screwed.

Landscapes

  • Engineering & Computer Science (AREA)
  • Manufacturing & Machinery (AREA)
  • Manufacturing Of Electrical Connectors (AREA)

Description

Die Erfindung betrifft ein Crimpwerkzeug zum Crimpen von Crimpkontakten, insbesondere von Crimpkontakten in Bandform, mit einem eine Preßeinrichtung umfassenden Grundkörper und einem dem Grundkörper zugeordneten Tisch zur Führung der Crimpkontakte, wobei die Crimpkontakte der Preßeinrichtung über den Tisch zugeführt werden und wobei die Position des Tischs relativ zum Grundkörper entlang einer Führung veränderbar ist.
Des weiteren betrifft die Erfindung ein Crimpwerkzeug zum Crimpen von Crimpkontakten, insbesondere von Crimpkontakten in Bandform, mit einem eine Preßeinrichtung umfassenden Grundkörper und einem dem Grundkörper zugeordneten Tisch zur Führung der Crimpkontakte, wobei die Crimpkontakte der Preßeinrichtung über den Tisch zugeführt werden.
Crimpwerkzeuge der in Rede stehenden Art sind seit langem aus der Praxis bekannt und existieren in unterschiedlichsten Ausführungsformen. Die bekannten Crimpwerkzeuge sind für eine rationelle Verarbeitung von Crimpkontakten in Bandform, in Längs- oder Quertransport oder für sortierfähige Einzelkontakte ausgelegt. Dabei sind die bekannten Crimpwerkzeuge häufig als Schnellwechselwerkzeuge ausgebildet und können auf Einzelarbeitsplätzen oder Vollautomaten und Transferstraßen eingesetzt werden. Dabei ist die Bearbeitung von elektrischen Leitern mit einer Querschnittsfläche von etwa 0,08 mm2 bis 50 mm2 möglich.
Im Hinblick auf eine stabile und präzise Crimpung ist erforderlich, daß die Crimpkontakte der Preßeinrichtung auf die Position des Crimpstempels abgestellt exakt zugeführt werden. Hierzu ist es bekannt, eine Positionierung des Tischs relativ zum Grundkörper entlang einer Führung vorzusehen. Hierdurch kann die Zuführrichtung der Crimpkontakte beeinflußt werden.
Bei einem bekannten Crimpwerkzeug ist der Tisch in zwei in dem Grundkörper ausgebildeten Nuten geführt. Die Festlegung des Tischs relativ zum Grundkörper erfolgt mittels Klemmschrauben. Zur Veränderung der Position des Tischs müssen die Klemmschrauben zunächst gelöst werden, anschließend wird die Position des Tischs eingestellt und abschließend werden die Klemmschrauben wieder angezogen.
Ein derartiges Positionieren des Tischs ist einerseits aufgrund der drei zuletzt genannten Arbeitsschritte aufwendig und andererseits ist ein Verkanten des Tischs in den nutartigen Führungen häufig nicht zu vermeiden. Dies erhöht den Verschleiß des Crimpwerkzeugs erheblich.
Des weiteren ist mit dem bekannten Positioniervorgang häufig keine ausreichend präzise Justierung des Tischs relativ zum Grundkörper möglich. Eine präzise Justierung ist jedoch deshalb wünschenswert, da selbst geringe Justierfehler bereits zur Ausbildung von häufig ungewünschten Aufbördelungen - sog. Crimp-Trompetchen - im Bereich der gepreßten Crimpkontakte führen.
Die Lehre der vorliegenden Patentanmeldung gemäß dem Patentanspruch 1 geht vom Stand der Technik aus, der aus sich der US-A-5 577 318 (D1) ergibt. Aus der in Rede stehenden Entgegenhaltung ist ein Crimpwerkzeug mit allen Merkmalen des Oberbegriffs des Patentanspruchs 1 bekannt.
Der Stellmechanismus des bekannten Crimpwerkzeugs umfaßt einen Montageblock 78, der an dem Grundkörper 12 des Crimpwerkzeugs befestigt ist. Der Montageblock 78 weist einen Durchgang 86 auf, durch den eine Einstellschraube 92 geführt ist. Die Einstellschraube 92 ist in ein in dem Tisch 70 des bekannten Crimpwerkzeugs ausgebildetes Gewinde 90 geschraubt. Durch Drehen der Schraube 92 ist der Tisch 70 senkrecht zur Zuführrichtung der Crimpkontakte verschiebbar, wobei zwischen dem Montageblock 78 und dem Tisch 70 ein elastisches Mittel 81 angeordnet ist, das die Schraube 92 mittels des Tischs 70 gegen einen an dem Montageblock 78 ausgebildeten Anschlag 88 drückt.
Zur Verstellung der Schraube 92 ist es erforderlich, daß die Schraube 92 an ihrem dem Schraubenkopf 95 abgewandten Ende einen Vorsprung 96 mit reduziertem Durchmesser aufweist. Der Vorsprung weist einen Schlitz 98 zum Eingriff mit beispielsweise einem Schraubendreher auf. Die Bewegung der Schraube 92 erfolgt ausschließlich über den Vorsprung 96, da der Schraubenkopf 95 der Schraube 92 im montierten Zustand des Crimpwerkzeugs nicht zugänglich ist.
Der aus der D1 bekannte Stellmechanismus ist aufwendig, da ein speziell ausgestalteter Montageblock 78 sowie eine speziell ausgestaltete Schraube 92 mit einem Vorsprung 96 mit reduziertem Durchmesser einzusetzen sind. Des weiteren ist der Stellmechanismus unsicher, da durch die Ausbildung einer Schraube 92 mit einem Vorsprung 96 mit reduziertem Durchmesser quasi eine "Sollbruchstelle" im Bereich des Vorsprungs 96 in Kauf genommen wird. Insbesondere bei langen Betriebszeiten des Crimpwerkzeugs und einer damit verbundenen zunehmenden Schwergängigkeit des Drehens der Schraube aufgrund einer möglichen Verschmutzung des Gewindes kann hier im Extremfall ein Abbrechen des Vorsprungs während eines Justiervorgangs aufgrund seines reduzierten Durchmessers auftreten. In einem solchen Fall muß der Stellmechansimus einschließlich des Montageblocks 78 vollständig demontiert werden, um eine neue Schraube 92 einzubauen.
Der Lehre der vorliegenden Patentanmeldung gemäß dem Patentanspruch 1 liegt daher die Aufgabe zugrunde,
   ein Crimpwerkzeug der eingangs genannten Art anzugeben, bei dem ein sicherer Langzeitbetrieb mit konstruktiv einfachen Mitteln erreicht ist.
Das beanspruchte, durch den Patentanspruch 1 beschriebene Crimpwerkzeug, das die zuvor aufgezeigte Aufgabe löst, ist durch die Merkmale des Kennzeichnenden Teile gekennzeichnet.
In erfindungsgemäßer Weise ist zunächst erkannt worden, daß zur Realisierung eines einfachen Stellmechanismus auf einen Montageblock verzichtet werden kann. Hierzu weist nunmehr der Grundkörper ein Gewinde auf, in den eine als Anschlag wirkende Schraube geschraubt ist, die durch den Tisch hindurch lediglich geführt ist. Dabei drückt das elastische Mittel den Tisch gegen einen dem Grundkörper zugeordneten Anschlag, nämlich die Schraube bzw. der Kopf der Schraube. Die Verstellung der Position des Tischs relativ zum Grundkörper erfolgt in einfacher Weise durch lediglich ein Hinein- oder Herausschrauben der Schraube. Beim Schrauben kann der gesamte Durchmesser der Schraube wirken. Die Ausbildung eines Vorsprungs mit reduziertem Durchmesser an der Schraube ist nicht erforderlich. Bei beispielsweise einer Verwendung einer handelsüblichen Inbusschraube wird die Schraube an ihrem Kopf gedreht, der gleichzeitig einen Anschlag für den Tisch bildet.
Aufgrund des Verzichts auf ein beim Stand der Technik verwendetes Bauteil - den Montageblock - und aufgrund der Möglichkeit der Verwendung einer handelsüblichen Schraube ist ein besonders einfacher Stellmechanismus bereitgestellt. Des weiteren ist bei dem erfindungsgemäßen Stellmechanismus auch eine hohe Sicherheit im Langzeitbetrieb gegeben, da der Durchmesser der verwendeten Schraube beim Schrauben voll ausgenutzt werden kann und keine "Sollbruchstelle" eingebaut ist.
Folglich ist mit dem erfindungsgemäßen Crimpwerkzeug ein Crimpwerkzeug realisiert, bei dem eine präzise und variable Positionierung der Crimpkontakte mit einfachen Mitteln erreicht ist.
Im Hinblick auf eine besonders einfache Ausgestaltung des Stellmechanismus könnte der Stellmechanismus ein zwischen dem Tisch und dem Grundkörper in Richtung der Führung wirkendes elastisches Mittel umfassen. Hinsichtlich einer stabilen Position des Tischs könnte das elastische Mittel den Tisch weiterhin gegen einen dem Grundkörper zugeordneten Anschlag drücken. Die Position des Anschlags könnte dann wiederum relativ zum Grundkörper in Führungsrichtung veränderbar sein, so daß eine Positionierung des Tischs lediglich durch eine Veränderung der Position des Anschlags realisierbar ist. Dies hätte eine besonders einfache Positionierung zur Folge.
In konstruktiv einfacher Weise könnte das elastische Mittel eine Schraubenfeder sein. Jedoch könnten hier auch Blattfedern oder dgl. eingesetzt werden.
Hinsichtlich einer besonders sicheren Anordnung des elastischen Mittels könnte das elastische Mittel um den Anschlag herum verlaufen. Bei Ausbildung des elastischen Mittels als Schraubenfeder könnte der Anschlag dann innerhalb der Schraubengänge der Feder angeordnet sein.
Eine weiterhin besonders einfache Ausgestaltung könnte dadurch realisiert sein, daß der Anschlag eine durch den Tisch geführte und in ein Gewinde in dem Grundkörper geschraubte Schraube, vorzugsweise eine Inbusschraube, ist. Somit könnte die Verstellung der Position des Tischs relativ zum Grundkörper durch lediglich ein Hinein-oder Herausschrauben der Schraube erfolgen. Die Position des Tischs relativ zum Grundkörper wäre dann durch die Druckbeaufschlagung durch das elastische Mittel gesichert. Hierzu könnte das elastische Mittel weiterhin in einer Ausnehmung in dem Tisch angeordnet sein. Damit wäre eine besonders sichere und präzise Druckbeaufschlagung möglich.
Weiterhin im Hinblick auf eine besonders sichere Positionierung des Tischs könnte die Schraube selbstsichernd sein. Dabei wäre das Einbringen eines Kunststoffmaterials in den Gewindegang in dem Grundkörper denkbar. Alternativ oder zusätzlich hierzu könnte die Schraube durch Druckbeaufschlagung gegen ein ungewolltes Herausdrehen gesichert sein. Diese Druckbeaufschlagung könnte durch das elastische Mittel miterfolgen.
Eine weitere Möglichkeit zur Sicherung der Position der Schraube in dem Gewinde könnte mittels eines durch den Grundkörper zur Schraube hin geschraubten Bolzens erfolgen. Der Gewindegang für den Bolzen würde dabei quasi in den Gewindegang der Schraube hineinreichen. In besonders einfacher Weise könnte der Bolzen eine Madenschraube sein.
In einer alternativen Ausgestaltung könnte der Anschlag auch dem Tisch zugeordnet sein, wobei die Schraube dann durch den Grundkörper hindurch in den Tisch geschraubt wäre. Die Sicherung der Schraube gegen ein ungewolltes Herausdrehen könnte dann analog zum oben gesagten erfolgen.
Hinsichtlich einer besonders einfachen und dennoch sicheren Führung könnte die Führung mindestens einen und vorzugsweise zwei dem Grundkörper und/oder dem Tisch zugeordneten Stift bzw. zugeordnete Stifte umfassen. Die Stifte könnten dann in in dem Tisch bzw. in dem Grundkörper ausgebildeten Aufnahmen verlaufen. Derartige Aufnahmen ließen sich in einfacher Weise durch Bohrungen realisieren.
Neben der Ausbildung der Stifte als Rundstäbe könnten auch Stifte mit einem Schwalbenschwanzprofil oder einem Vierkantprofil vorgesehen sein. Insbesondere bei den letztgenannten Profilformen würde die Ausbildung eines Stifts für einen sicheren Halt ausreichen.
Schließlich könnte die Führung des Tischs auch auf herkömmliche Weise in einer in dem Grundkörper ausgebildeten Nut erfolgen. Dabei wäre ggf. eine Sicherung gegen ein Herausheben des Tischs aus der Nut vorzusehen.
Zur Gewährleistung einer besonders einfachen automatischen Zuführung der Crimpkontakte zu der Preßeinrichtung könnte dem Grundkörper eine Vorschubeinheit für die Crimpkontakte zugeordnet sein. Dabei könnte die Vorschubeinheit ein Schubelement und einen in Zuführrichtung der Crimpkontakte hin- und herbewegbaren Vorschubfinger umfassen, wobei der Vorschubfinger mit dem Schubelement über ein Koppelelement wirkverbunden sein könnte.
Hinsichtlich eines sicheren Betriebs der Vorschubeinheit könnte der Vorschubfinger entlang einer Tischseite, vorzugsweise mittels des Tischs, geführt sein. Der Vorschubfinger könnte sich dabei quasi innerhalb einer Nut bewegen, die ggf. durch eine Tischseite und ein an der Tischseite angeordnetes Abdeckelement gebildet sein könnte. Das Abdeckelement könnte als Platte ausgebildet und mit der Tischseite verschraubt sein.
Bei der Veränderung der Position des Tischs ist bei herkömmlichen Crimpwerkzeugen problematisch, daß auch die Position des Vorschubfingers und damit letztlich der Abstand des Vorschubfingers zum Tisch der Positionsänderung des Tischs angeglichen werden muß. Unterbleibt eine derartige Anpassung der Position des Vorschubfingers, kann dies ein Schleifen des Vorschubfingers am Tisch oder ein Verkanten des Vorschubfingers zur Folge haben, was unmittelbar zu einem erhöhten Verschleiß und zu einer beeinträchtigten Funktion des Crimpwerkzeugs führt. Daher könnte das Crimpwerkzeug in günstiger Weise derart ausgestaltet sein, daß der Abstand des Vorschbufingers zum Tisch während und nach der Betätigung des Stellmechanismus konstant bleibt. Hierzu könnte das Koppelelement in dem Vorschubfinger derart geführt sein, daß sich der Abstand von Koppelelement und Vorschubfinger während der Betätigung des Stellmechanismus im gleichen Maß verändert wie der Abstand von Tisch und Grundkörper. Dabei wäre eine Führung des Vorschubfingers unterhalb des Tischs in einer Nut aus zwei sich in Zuführrichtung erstreckenden Führungsleisten günstig. Die Führungsleisten könnten entweder integral in den Tisch integriert sein oder an dem Tisch von unten angeschraubt sein.
In gleicher Weise könnte das Koppelelement senkrecht zur Zuführrichtung innerhalb von zwei in Form einer Nut angeordneten Führungsleisten des Vorschubfingers geführt sein. Damit wäre eine Beschädigung oder Funktionsbeeinträchtigung des Crimpwerkzeugs vermieden.
Zum anderen wird die voranstehende Aufgabe in erfindungsgemäßer Weise durch die Merkmale des Patentanspruches 18 gelöst. Danach ist ein Crimpwerkzeug zum Crimpen von Crimpkontakten, insbesondere von Crimpkontakten in Bandform, mit einem eine Preßeinrichtung umfassenden Grundkörper und einem dem Grundkörper zugeordneten Tisch zur Führung der Crimpkontakte, wobei die Crimpkontakte der Preßeinrichtung über den Tisch zugeführt werden, derart ausgestaltet, daß der Tisch eine Positioniereinrichtung zum funktionsgerechten Positionieren der Crimpkontakte relativ zum Tisch umfaßt.
Erfindungsgemäß ist hierbei zunächst erkannt worden, daß eine Positionierung der Crimpkontakte ggf. auch ohne ein Positionieren des Tischs relativ zum Grundkörper erfolgen kann. In weiter erfindungsgemäßer Weise ist dabei dem Tisch eine Positioniereinrichtung zugeordnet. Das Erfordernis der Positionierung des Tischs relativ zum Grundkörper unter Inkaufnahme der bekannten Nachteile ist dabei auf elegante Weise vermieden. Weiterhin kann auch das Problem eines sich verklemmenden Vorschubfingers, der nicht an eine Justierung des Tischs angepaßt wird, nicht mehr auftreten.
Folglich ist mit dem erfindungsgemäßen Crimpwerkzeug gemäß Patentanspruch 18 ein Crimpwerkzeug realisiert, bei dem eine präzise und variable Positionierung der Crimpkontakte mit einfachen Mitteln erreicht ist.
Im Hinblick auf ein besonders einfach ausgestaltetes Crimpwerkzeug könnte die Positioniereinrichtung ein zur Positionierung der Crimpkontakte senkrecht zur Zuführrichtung ausgebildetes Führungselement umfassen. Damit wäre eine einfache Vorgabe der Zuführrichtung für die Crimpkontakte denkbar.
Zur Gewährleistung einer einfachen Positionierung der Crimpkontakte senkrecht zur Zuführrichtung könnte das Führungselement senkrecht zur Zuführrichtung bewegbar sein. Hinsichtlich einer langen Führungsstrecke und damit einer besonders sicheren Positionierung könnte sich das Führungselement in Zuführrichtung erstrecken. Hierbei könnte das Führungselement weiterhin streifenförmig ausgebildet und senkrecht zur Tischoberfläche angeordnet sein. Mit einer derart streifenförmigen Ausbildung könnte das Führungselement besonders sicher zwischen mindestens zwei zu biegende Kontaktelemente der Crimpkontakte beim Betrieb des Crimpwerkzeugs eingreifen. Mit anderen Worten ist das senkrecht zur Tischoberfläche angeordnete streifenförmige Führungselement zwischen senkrecht vom Tisch abragenden Kontaktelementen der auf dem Tisch geführten Crimpkontakte angeordnet. Dabei könnte das Führungselement entlang eines Crimpkontaktbandes ausgerichtet sein.
Zur Anpassung an unterschiedlich dimensionierte Crimpkontakte könnte der Abstand des Führungselements relativ zum Tisch veränderbar sein. Dabei ist zu gewährleisten, daß die Crimpkontakte bzw. das Crimpkontaktband sicher zwischen dem Führungselement und dem Tisch hindurchgleiten kann, ohne daß eine nennenswerte Bewegung der Crimpkontakte senkrecht zur Zuführrichtung möglich ist.
Im Hinblick auf eine besonders sichere Anordnung des Führungselements könnte das Führungselement mittels einer Halteeinrichtung am Tisch befestigt sein. Die Halteeinrichtung könnte dabei mindestens einen Stab umfassen, an dessen einem Ende das Führungselement festgelegt ist.
Die Festlegung des Führungselements könnte über eine Klemmung des Führungselements mittels einer durch das Führungselement geführten und in Stabachsrichtung in den Stab geschraubten Schraube an dem Stab erfolgen. Im montierten Zustand könnte der Stab dann senkrecht zur Zuführrichtung und in einer parallel zur Tischebene verlaufenden Ebene angeordnet sein.
Hinsichtlich einer einfachen Abstandsveränderung des Führungselements relativ zum Tisch könnte das Führungselement ein Langloch für die Schraube aufweisen. Eine Abstands- bzw. Höhenjustierung des Führungselements könnte dann in einfacher Weise durch Aufschrauben der Schraube, Verschieben des Führungselements und Festschrauben der Schraube erfolgen.
Im Hinblick auf eine besonders einfache Anordnung des Stabs könnte die Halteeinrichtung mindestens ein Aufnahmeelement für den Stab bzw. die Stäbe umfassen.
Dabei könnte das Aufnahmeelement mindestens einen Durchgang für den bzw. die Stäbe umfassen. Das Aufnahmeelement könnte dabei einstückig mit mehreren Durchgängen zur Aufnahme mehrerer Stäbe oder als Einzelelement zur Aufnahme lediglich eines Stabes ausgebildet sein.
Im Hinblick auf eine einfache Festlegung der Stäbe in dem Durchgang könnten der Stab bzw. die Stäbe in dem Durchgang in unterschiedlichen Positionen festklemmbar sein. Damit wäre eine einfache Positionierung des Führungselements in einer Richtung senkrecht zur Zuführrichtung realisiert. Zur Gewährleistung einer sicheren Klemmung des Stabs in dem Durchgang könnte die Klemmung über eine durch das Aufnahmeelement geschraubte Klemmschraube erfolgen. Das für die Klemmschraube vorgesehene Gewinde würde dann quasi bis zu dem Durchgang verlaufen.
Hinsichtlich einer besonders gut zugänglichen Halteeinrichtung könnte das Aufnahmeelement bzw. könnten die Aufnahmeelemente auf der Tischoberfläche angeordnet und vorzugsweise mit dieser verschraubt sein. Alternativ hierzu könnten die Aufnahmeelemente auch an jeder anderen Seite des Tischs angeordnet sein.
Im Hinblick auf eine besonders präzise und variable Positionierung der Crimpkontakte wäre auch ein Crimpwerkzeug denkbar, bei dem einerseits ein Stellmechanismus zur stufenlosen Positionierung des Tischs entlang einer Führung vorgesehen ist und das andererseits einen Tisch mit einer Positioniereinrichtung zum funktionsgerechten Positionieren der Crimpkontakte relativ zum Tisch umfaßt. Bei einem derartigen Crimpwerkzeug könnten vorzugsweise die Merkmale gemäß den Unteransprüchen teilweise oder insgesamt verwirklicht sein.
Es gibt nun verschiedene Möglichkeiten, die Lehre der vorliegenden Erfindung in vorteilhafter Weise auszugestalten und weiterzubilden. Dazu ist einerseits auf die dem Patentanspruch 1 sowie dem Patentanspruch 18 nachgeordneten Ansprüche, andererseits auf die nachfolgende Erläuterung eines bevorzugten Ausführungsbeispiels der Erfindung anhand der Zeichnung zu verweisen. In Verbindung mit der Erläuterung des bevorzugten Ausführungsbeispiels der Erfindung anhand der Zeichnung werden auch im allgemeinen bevorzugte Ausgestaltungen und Weiterbildungen der Lehre erläutert. In der Zeichnung zeigen
Fig. 1
in sechs Vorder-, Drauf- und Seitenansichten, teilweise geschnitten und schematisch, ein Ausführungsbeispiel eines Tischs eines erfindungsgemäßen Crimpwerkzeugs,
Fig. 2
in einer Vorderansicht, schematisch, das Schubelement mit Koppelelement und Vorschubfinger des Ausführungsbeispiels,
Fig. 3
in einer Seitenansicht, schematisch, das Schubelement mit Koppelelement und Tisch des Ausführungsbeispiels,
Fig. 4
in einer Vorderansicht, teilweise geschnitten und schematisch, den Tisch des Ausführungsbeispiels und
Fig. 5
in einer Vorderansicht, schematisch, das Ausführungsbeispiel des erfindungsgemäßen Crimpwerkzeugs.
Fig. 1 zeigt in insgesamt sechs Vorder-, Drauf- und Seitenansichten ein Ausführungsbeispiel eines Tischs 4 eines erfindungsgemäßen Crimpwerkzeugs. In der linken Hälfte der Darstellung sind zunächst von unten nach oben gesehen zwei Draufsichten des Tischs 4 gezeigt. Der Tisch 4 weist einen Steilmechanismus 6 zur stufenlosen Positionierung des Tischs 4 entlang einer Führung 5 auf. Der Stelimechanismus 6 umfaßt ein elastisches Mittel 7 sowie eine Schraube 10. Die Führung 5 ist in Form von zwei Stiften 12 aufgebaut. Durch Drehen der in den hier nicht gezeigten Grundkörper 3 geschraubten Schraube 10 ist die Position des Tischs 4 relativ zum Grundkörper 3 quasi mit einem Handgriff einstellbar. Die Einstellung erfolgt in Führungsrichtung 9.
Der Tisch 4 weist weiterhin eine Positioniereinrichtung 20 zum funktionsgerechten Positionieren der Crimpkontakte 1 relativ zum Tisch 4 auf. Die Positioniereinrichtung 20 umfaßt ein Führungselement 21, welches streifenförmig ausgebildet und senkrecht zur Tischoberfläche in Zuführrichtung 16 angeordnet ist. Das Führungselement 21 greift beim Betrieb des Crimpwerkzeugs zwischen mindestens zwei zu biegende Kontaktelemente 22 der Crimpkontakte 1 ein.
Das Führungselement 21 ist mittels einer Halteeinrichtung 23 am Tisch 4 befestigt. Die Halteeinrichtung 23 umfaßt zwei Stäbe 24, an dessen einem Ende das Führungselement 21 mit einer Schraube 25 festgeschraubt ist. Zur Höhenverstellung des Führungselements 21 weist das Führungselement 21 Langlöcher 26 auf. Damit ist das Führungselement relativ zu den Stäben 24 in seiner Position veränderbar. Die Stäbe 24 erstrecken sich durch Durchgänge 28 in einem Aufnahmeelement 27 der Halteeinrichtung 23. Das Aufnahmeelement 27 ist auf der Tischoberfläche angeordnet und mit dieser verschraubt.
Zur Veränderung des Abstands des Führungselements 21 relativ zum Grundkörper 3 bzw. senkrecht zur Zuführrichtung 16 ist die Position der Stäbe 24 in dem Durchgang 28 veränderbar.
Ein hier nicht gezeigter Vorschubfinger 17 ist entlang der Tischseite 19 geführt, wobei die Führung mittels einer an die Tischseite 19 geschraubten Platte 29 optimiert ist.
Die zweite Darstellung von unten in Fig. 1 zeigt den Tisch 4 ebenfalls in einer Draufsicht, wobei eine geschnittene Darstellung unterhalb der Tischoberflächenebene gewählt ist. Dabei ist erkennbar, daß die Schraube 10 einen Anschlag 8 für den Tisch 4 bildet. Unterhalb der Tischoberfläche ist in dem Tisch quasi eine Ausnehmung ausgebildet, die einen Führungsbereich 33 für den Vorschubfinger 17 bildet.
Die drei oberen Darstellungen in der linken Hälfte der Fig. 1 zeigen eine Vorderansicht des Tischs 4 bzw. des Führungselements 21. Hierbei sind die Durchgänge 28 zur Aufnahme der Stäbe 24 besonders gut erkennbar. Das in der obersten Darstellung gezeigte Führungselement 21 weist zwei Langlöcher 26 zur Höhenverstellung des Führungselements 21 relativ zum Tisch 4 auf.
In der rechten Hälfte der Fig. 1 ist der Tisch 4 in einer Seitenansicht gezeigt. Hierbei ist der Führungsbereich 33 für den Vorschubfinger 17 besonders gut erkennbar. Der Tisch 4 weist weiterhin eine Einspanneinrichtung 30 für die Crimpkontakte 1 auf. Mit der Einspanneinrichtung 30 wird ein Abheben der Crimpkontakte 1 bzw. eines Bandes aus Crimpkontakten 1 während des Betriebs des Crimpwerkzeugs vermieden.
Fig. 2 zeigt in einer schematischen Vorderansicht das Schubelement 15 der Vorschubeinheit 14. Mit dem Schubelement 15 ist der Vorschubfinger 17 über ein Koppelelement 18 verbunden. Damit sich der Vorschubfinger 17 während der Veränderung der Tischposition relativ zum Grundkörper 3 mittels des Stellmechanismus 6 nicht in seiner Führung verkantet, ist in dem Vorschubfinger 17 eine Nut 31 zur Führung des Koppelelements 18 ausgebildet. Das Koppelelement 18 ist dabei derart in dem Vorschubfinger 17 geführt, daß sich der Abstand von Koppelelement 18 und Vorschubfinger 17 während der Betätigung des Stellmechanismus 6 im gleichen Maß verändert, wie der Abstand von Tisch 4 und Grundkörper 3.
Fig. 3 zeigt in einer schematischen Seitenansicht das Schubelement 15 mit dem Koppelelement 18 und dem Tisch 4 des Ausführungsbeispiels. Der Übersichtlichkeit halber ist der Vorschubfinger 17 hier nicht dargestellt. Der Tisch 4 weist als Führung 5 ausgebildete Stifte 12 zum Eingriff mit dem Grundkörper 3 auf. Des weiteren ist dem Tisch eine Positioniereinrichtung 20 für Crimpkontakte 1 zugeordnet. Die Positioniereinrichtung 20 weist ein Aufnahmeelement 27 für Stäbe 24 auf, an denen ein Führungselement 21 mit einer Schraube 25 befestigt ist. Die Stäbe 24 verlaufen in in dem Aufnahmeelement 27 ausgebildeten Durchgängen 28. Zum Festklemmen der Stäbe 24 in dem Durchgang 28 ist eine Klemmschraube 32 vorgesehen. Die Stäbe 24 und das Aufnahmeelement 27 bilden gemeinsam eine Halteeinrichtung 23.
Zum Einspannen der Crimpkontakte 1 ist eine Einspanneinrichtung 30 an dem Tisch 4 vorgesehen. Des weiteren weist der Tisch 4 einen Führungsbereich 33 für den hier nicht gezeigten Vorschubfinger 17 auf.
In Fig. 4 ist ein Tisch 4 in einer teilweise geschnittenen und schematischen Vorderansicht gezeigt. Bei der hier gezeigten Darstellung mit teilweise geschnittenem Tisch 4 ist der Bewegungsbereich des Vorschubfingers 17 entlang der Tischseite 19 und in dem Führungsbereich 33 besonders gut erkennbar. Des weiteren ist die Nut 31 für das Koppelelement 18 dargestellt.
Des weiteren ist die Positioniereinrichtung 20 mit der Halteeinrichtung 23 und dem Aufnahmeelement 27 gezeigt. Zur Aufnahme von Stäben 24 sind Durchgänge 28 vorgesehen.
Fig. 5 zeigt in einer schematischen Vorderansicht eine Gesamtansicht des Ausführungsbeispiels des erfindungsgemäßen Crimpwerkzeugs. Die Crimpkontakte 1 sind auf einem Tisch 4 geführt und weisen Kontaktelemente 22 auf. Der Tisch 4 ist relativ zum Grundkörper 3 bewegbar, welcher eine Preßeinrichtung 2 aufweist. Die Führung 5 für den Tisch 4 relativ zum Grundkörper 3 weist einen Stellmechanismus 6 auf, mit dem die Position des Tischs 4 relativ zum Grundkörper 3 stufenlos verstellbar ist. Die Führung 5 weist Stifte 12 auf, welche in Aufnahmen 13 des Grundkörpers 3 geführt sind.
Dem Grundkörper 3 ist die Vorschubeinheit 14 für die Crimpkontakte mit dem Schubelement 15 zugeordnet. Das Schubelement 15 ist zwischen zwei Anschlägen 35 hinund herbewegbar. Mit jeder Hin- und Herbewegung des Schubelements 15 wird das Band aus Crimpkontakten 1 in Zuführrichtung 16 zur Preßeinrichtung 2 hin weiterbefördert. Auf dem Tisch 4 ist eine Positioniereinrichtung 20 mit einem Führungselement 21 angeordnet. Das Führungselement 21 greift in die Kontaktelemente 22 der Crimpkontakte 1 ein. Das Führungselement 21 ist über Stäbe 24 und ein Aufnahmeelement 27 auf dem Tisch 4 festgelegt. Der Vorschubfinger 17 weist eine Nut 31 zum Eingriff mit dem Koppelelement 18 auf.
Zum Arretieren des Stellmechanismus 6 bzw. der hierfür vorgesehenen Schraube 10 ist in dem Grundkörper 3 ein Gewinde 34 für einen Bolzen ausgebildet. Der Bolzen kann als Madenschraube ausgebildet sein und wird zur Arretierung gegen die Schraube 10 geschraubt.
Mit dem erfindungsgemäßen Crimpwerkzeug ist eine Anpassung an alle handelsüblichen Crimpkontakte 1 mit einem Standardteil in Form des Tischs 4 mit der Positioniereinrichtung 20 erreicht. Bisher mußte für jeden unterschiedlichen Crimpkontakt 1 ein separater Tisch 4 verwendet werden. Durch die einfache Positionierung der Crimpkontakte 1 mit dem erfindungsgemäßen Crimpwerkzeug lassen sich Crimp-Trompetchen vermeiden.
Hinsichtlich weiterer vorteilhafter Ausgestaltungen und Weiterbildungen der erfindungsgemäßen Lehre wird zur Vermeidung von Wiederholungen einerseits auf den allgemeinen Teil der Beschreibung und andererseits auf die beigefügten Patentansprüche verwiesen.
Abschließend sei ganz besonders hervorgehoben, daß das zuvor rein willkürlich gewählte Ausführungsbeispiel lediglich zur Erörterung der erfindungsgemäßen Lehre dient, diese jedoch nicht auf dieses Ausführungsbeispiel einschränkt.

Claims (13)

  1. Crimpwerkzeug zum Crimpen von Crimpkontakten (1), insbesondere von Crimpkontakten (1) in Bandform, mit einem eine Preßeinrichtung (2) umfassenden Grundkörper (3) und einem dem Grundkörper (3) zugeordneten Tisch (4) zur Führung der Grimpkontakte (1), wobei die Crimpkontakte (1) der Preßeinrichtung (2) über den Tisch (4) zugeführt werden, wobei die Position des Tischs (4) relativ zum Grundkörper (3) entlang einer Führung (5) veränderbar ist, wobei ein Stellmechanismus (6) zur stufenlosen Positionierung des Tischs (4) entlang der Führung (5) vorgesehen ist und wobei der Stellmechanismus (6) ein zwischen dem Tisch (4) und dem Grundkörper (3) in Richtung der Führung (5) wirkendes elastisches Mittel (7) umfaßt, wobei das elastische Mittel (7) den Tisch (4) gegen einen dem Grundkörper (3) zugeordneten Anschlag (8) drückt dadurch gekennzeichnet, daß der Anschlag (8) eine durch den Tisch (4) geführte und in ein Gewinde in dem Grundkörper (3) geschraubte Schraube (10) ist, so daß die Verstellung der Position des Tischs (4) relativ zum Grundkörper (3) durch ein Hinein- oder Herausschrauben der Schraube (10) erfolgt.
  2. Crimpwerkzeug nach Anspruch 1, dadurch gekennzeichnet, daß das elastische Mittel (7) um den Anschlag (8) herum verläuft.
  3. Crimpwerkzeug nach Anspruch 1 oder 2, dadurch gekennzeichnet, daß das elastische Mittel (7) eine Schraubenfeder ist.
  4. Crimpwerkzeug nach einem der Ansprüche 1 bis 3, dadurch gekennzeichnet, daß die Schraube (10) selbstsichemd ist und/oder durch Druckbeaufschlagung gegen ein ungewolltes Herausdrehen gesichert ist.
  5. Crimpwerkzeug nach einem der Ansprüche 1 bis 4, dadurch gekennzeichnet, daß die Position der Schraube (10) in dem Gewinde mittels eines durch den Grundkörper (3) zur Schraube (10) hin geschraubten Bolzens gesichert ist.
  6. Crimpwerkzeug nach Anspruch 5, dadurch gekennzeichnet, daß der Bolzen eine Madenschraube ist.
  7. Crimpwerkzeug nach einem der Ansprüche 1 bis 6, dadurch gekennzeichnet, daß die Führung (5) mindestens einen und vorzugsweise zwei dem Grundkörper (3) und/oder dem Tisch (4) zugeordneten Stift (12) bzw. zugeordnete Stifte (12) umfaßt.
  8. Crimpwerkzeug nach Anspruch 7, dadurch gekennzeichnet, daß die Stifte (12) in in dem Tisch (4) bzw. in dem Grundkörper (3) ausgebildeten Aufnahmen (13) verlaufen.
  9. Crimpwerkzeug nach einem der Ansprüche 1 bis 8, dadurch gekennzeichnet, daß dem Grundkörper (3) eine Vorschubeinheit (14) für die Crimpkontakte (1) zugeordnet ist.
  10. Crimpwerkzeug nach Anspruch 9, dadurch gekennzeichnet, daß die Vorschubeinheit (14) ein Schubelement (15) und einen in Zuführrichtung (16) der Crimpkontakte (1) hin- und herbewegbaren Vorschubfinger (17) umfaßt, wobei der Vorschubfinger (17) mit dem Schubelement (15) über ein Koppelelement (18) wirkverbunden ist.
  11. Crimpwerkzeug nach Anspruch 10, dadurch gekennzeichnet, daß der Vorschubfinger (17) entlang einer Tischseite (19), vorzugsweise mittels des Tischs (4), geführt ist.
  12. Crimpwerkzeug nach Anspruch 10 oder 11, dadurch gekennzeichnet, daß der Abstand des Vorschubfingers (17) zum Tisch (4) während und nach der Betätigung des Stellmechanismus (6) konstant bleibt.
  13. Crimpwerkzeug nach einem der Ansprüche 10 bis 12, dadurch gekennzeichnet, daß das Koppeielement (18) in dem Vorschubfinger (17) derart geführt ist, daß sich der Abstand von Koppelelement (18) und Vorschubfinger (17) während der Betätigung des Stellmechanismus (6) im gleichen Maß verändert wie der Abstand von Tisch (4) und Grundkörper (3).
EP98965073A 1997-11-07 1998-11-09 Crimpwerkzeug Expired - Lifetime EP1029387B1 (de)

Applications Claiming Priority (5)

Application Number Priority Date Filing Date Title
DE19749260 1997-11-07
DE19749260 1997-11-07
DE19750770 1997-11-10
DE1997150770 DE19750770A1 (de) 1997-11-10 1997-11-10 Crimpwerkzeug
PCT/DE1998/003349 WO1999025045A1 (de) 1997-11-07 1998-11-09 Crimpwerkzeug

Publications (2)

Publication Number Publication Date
EP1029387A1 EP1029387A1 (de) 2000-08-23
EP1029387B1 true EP1029387B1 (de) 2002-02-13

Family

ID=26041413

Family Applications (1)

Application Number Title Priority Date Filing Date
EP98965073A Expired - Lifetime EP1029387B1 (de) 1997-11-07 1998-11-09 Crimpwerkzeug

Country Status (4)

Country Link
US (1) US6298707B1 (de)
EP (1) EP1029387B1 (de)
DE (1) DE59803090D1 (de)
WO (1) WO1999025045A1 (de)

Cited By (2)

* Cited by examiner, † Cited by third party
Publication number Priority date Publication date Assignee Title
EP1764884A1 (de) 2005-09-19 2007-03-21 komax Holding AG Crimppresse
US7757386B2 (en) 2005-09-19 2010-07-20 Komax Holding Ag Crimping press

Families Citing this family (4)

* Cited by examiner, † Cited by third party
Publication number Priority date Publication date Assignee Title
DE19937351A1 (de) 1999-08-11 2001-03-15 Wolfgang Hanke Crimpwerkzeug
US8887380B2 (en) * 2009-04-24 2014-11-18 Tyco Electronics Corporation Wire stop for a terminal crimping machine
CN111570707B (zh) * 2020-06-09 2022-01-11 泰安市华伟重工有限责任公司 一种锻造操作机的夹钳装置
CN114221192B (zh) * 2021-10-20 2024-03-19 中铁十六局集团电气化工程有限公司 一种电力工程用压接机

Family Cites Families (9)

* Cited by examiner, † Cited by third party
Publication number Priority date Publication date Assignee Title
US4718160A (en) * 1986-07-10 1988-01-12 Panduit Corp. Terminal strip applicator
US4805278A (en) * 1986-07-10 1989-02-21 Panduit Corp. Terminal strip applicator
DE3937029C1 (en) * 1989-11-07 1991-03-14 Bernhard Dr.-Ing. 4782 Erwitte De Juergenhake Crimping machine attaching contact parts to cable ends - has pivotable part with projections engaging recesses spaced along chain of contact parts
JP3060834B2 (ja) * 1994-06-13 2000-07-10 住友電装株式会社 端子圧着装置
US5577318A (en) * 1995-07-27 1996-11-26 Molex Incorporated Electrical terminal applicator with improved track adjustment means
US5666719A (en) * 1996-07-01 1997-09-16 The Whitaker Corporation Feed mechanism for a terminal applicator
US5799391A (en) * 1996-09-25 1998-09-01 Spring Air . . . Works, Inc. Apparatus for significantly advancing a carrier strip and crimping various terminal configurations
US5887340A (en) * 1997-08-25 1999-03-30 The Whitaker Corporation Feed position locking device for a terminal applicator
US6116069A (en) * 1998-02-20 2000-09-12 Icm Corporation Axial deformation crimping machine for cable-type end connectors

Cited By (2)

* Cited by examiner, † Cited by third party
Publication number Priority date Publication date Assignee Title
EP1764884A1 (de) 2005-09-19 2007-03-21 komax Holding AG Crimppresse
US7757386B2 (en) 2005-09-19 2010-07-20 Komax Holding Ag Crimping press

Also Published As

Publication number Publication date
DE59803090D1 (de) 2002-03-21
WO1999025045A1 (de) 1999-05-20
US6298707B1 (en) 2001-10-09
EP1029387A1 (de) 2000-08-23

Similar Documents

Publication Publication Date Title
DE8807909U1 (de) Knochenplatte, insbesondere Kleinknochenplatte
DE4010111A1 (de) Antitotgang-mutter
EP1235520A1 (de) Vorrichtung zum distrahieren oder komprimieren von knochen oder knochenteilen
EP0613757A1 (de) Werkstück-Spannvorrichtung
DE10231997A1 (de) Einstellbares Handwerkzeug mit zwei Funktionen
DE4039806C2 (de) Schraubverbindung für mindestens zwei lösbar miteinander zu verbindende Teile, insbesondere mit Längsnuten versehene Profilstäbe
DE102016014860B3 (de) Einschraubhilfe zum Halten und Ausrichten einer Schraube
DE202016007588U1 (de) Einschraubhilfe zum Halten und Ausrichten einer Schraube
DE3445885A1 (de) Scharnier
EP3683535B1 (de) Vorrichtung zur verstellung eines schaftteils an einem gewehrschaft und gewehrschaft mit einer derartigen vorrichtung
EP1029387B1 (de) Crimpwerkzeug
EP1975353A1 (de) Beschlag zur Verriegelung von Fenstern oder Türen
DE2559656A1 (de) Anordnung mit einem einstellbaren kniehebelmechanismus, insbesondere bei zangen u.dgl.
DE10212343A1 (de) Schlittensystem
DE19963818A1 (de) Zange mit verstellbarer Maulweite für Einhandbedienung
DE19750770A1 (de) Crimpwerkzeug
EP3945936B1 (de) Einzugs oder ausstossvorrichtung
DE29720287U1 (de) Crimpwerkzeug
EP0611623B1 (de) Aufspannvorrichtung
DE19924664A1 (de) Zange mit verstellbarer Maulweite
DE102004054028A1 (de) Vorrichtung zum Positionieren einer Tür
DE10151912C1 (de) Verbinder für Profilstäbe, die eine hinterschnittene Nut aufweisen, sowie Verfahren zum Verbinden von Profilstäben
DE4326642A1 (de) Verbindungseinrichtung für Profilteile
DE102019106973B3 (de) Positioniervorrichtung für einen Anschlagskörper am Schraubstock
DE4441632C2 (de) Spanneinrichtung für Baumständer

Legal Events

Date Code Title Description
PUAI Public reference made under article 153(3) epc to a published international application that has entered the european phase

Free format text: ORIGINAL CODE: 0009012

17P Request for examination filed

Effective date: 20000527

AK Designated contracting states

Kind code of ref document: A1

Designated state(s): DE FR GB IT

GRAG Despatch of communication of intention to grant

Free format text: ORIGINAL CODE: EPIDOS AGRA

GRAG Despatch of communication of intention to grant

Free format text: ORIGINAL CODE: EPIDOS AGRA

GRAH Despatch of communication of intention to grant a patent

Free format text: ORIGINAL CODE: EPIDOS IGRA

17Q First examination report despatched

Effective date: 20010426

GRAH Despatch of communication of intention to grant a patent

Free format text: ORIGINAL CODE: EPIDOS IGRA

GRAA (expected) grant

Free format text: ORIGINAL CODE: 0009210

REG Reference to a national code

Ref country code: GB

Ref legal event code: IF02

AK Designated contracting states

Kind code of ref document: B1

Designated state(s): DE FR GB IT

PG25 Lapsed in a contracting state [announced via postgrant information from national office to epo]

Ref country code: GB

Free format text: LAPSE BECAUSE OF FAILURE TO SUBMIT A TRANSLATION OF THE DESCRIPTION OR TO PAY THE FEE WITHIN THE PRESCRIBED TIME-LIMIT

Effective date: 20020213

REF Corresponds to:

Ref document number: 59803090

Country of ref document: DE

Date of ref document: 20020321

ET Fr: translation filed
GBV Gb: ep patent (uk) treated as always having been void in accordance with gb section 77(7)/1977 [no translation filed]

Effective date: 20020213

PLBE No opposition filed within time limit

Free format text: ORIGINAL CODE: 0009261

STAA Information on the status of an ep patent application or granted ep patent

Free format text: STATUS: NO OPPOSITION FILED WITHIN TIME LIMIT

26N No opposition filed

Effective date: 20021114

PGFP Annual fee paid to national office [announced via postgrant information from national office to epo]

Ref country code: FR

Payment date: 20031118

Year of fee payment: 6

PGFP Annual fee paid to national office [announced via postgrant information from national office to epo]

Ref country code: DE

Payment date: 20040130

Year of fee payment: 6

PG25 Lapsed in a contracting state [announced via postgrant information from national office to epo]

Ref country code: DE

Free format text: LAPSE BECAUSE OF NON-PAYMENT OF DUE FEES

Effective date: 20050601

PG25 Lapsed in a contracting state [announced via postgrant information from national office to epo]

Ref country code: FR

Free format text: LAPSE BECAUSE OF NON-PAYMENT OF DUE FEES

Effective date: 20050729

REG Reference to a national code

Ref country code: FR

Ref legal event code: ST

PG25 Lapsed in a contracting state [announced via postgrant information from national office to epo]

Ref country code: IT

Free format text: LAPSE BECAUSE OF NON-PAYMENT OF DUE FEES;WARNING: LAPSES OF ITALIAN PATENTS WITH EFFECTIVE DATE BEFORE 2007 MAY HAVE OCCURRED AT ANY TIME BEFORE 2007. THE CORRECT EFFECTIVE DATE MAY BE DIFFERENT FROM THE ONE RECORDED.

Effective date: 20051109