EP0903547A2 - Freezing apparatus for supplying frozen products, particularly for packed foodstuffs such as ice-cream - Google Patents
Freezing apparatus for supplying frozen products, particularly for packed foodstuffs such as ice-cream Download PDFInfo
- Publication number
- EP0903547A2 EP0903547A2 EP98117476A EP98117476A EP0903547A2 EP 0903547 A2 EP0903547 A2 EP 0903547A2 EP 98117476 A EP98117476 A EP 98117476A EP 98117476 A EP98117476 A EP 98117476A EP 0903547 A2 EP0903547 A2 EP 0903547A2
- Authority
- EP
- European Patent Office
- Prior art keywords
- freezer
- container
- lid
- operating side
- freezer according
- Prior art date
- Legal status (The legal status is an assumption and is not a legal conclusion. Google has not performed a legal analysis and makes no representation as to the accuracy of the status listed.)
- Granted
Links
- 235000015243 ice cream Nutrition 0.000 title claims abstract 3
- 230000008014 freezing Effects 0.000 title 1
- 238000007710 freezing Methods 0.000 title 1
- 239000002826 coolant Substances 0.000 claims abstract description 9
- 238000001816 cooling Methods 0.000 claims abstract description 3
- 235000021485 packed food Nutrition 0.000 claims abstract 2
- 238000009434 installation Methods 0.000 description 4
- 239000011521 glass Substances 0.000 description 1
- 238000009413 insulation Methods 0.000 description 1
- 238000004519 manufacturing process Methods 0.000 description 1
- 230000002093 peripheral effect Effects 0.000 description 1
- 239000012780 transparent material Substances 0.000 description 1
Images
Classifications
-
- A—HUMAN NECESSITIES
- A47—FURNITURE; DOMESTIC ARTICLES OR APPLIANCES; COFFEE MILLS; SPICE MILLS; SUCTION CLEANERS IN GENERAL
- A47F—SPECIAL FURNITURE, FITTINGS, OR ACCESSORIES FOR SHOPS, STOREHOUSES, BARS, RESTAURANTS OR THE LIKE; PAYING COUNTERS
- A47F3/00—Show cases or show cabinets
- A47F3/04—Show cases or show cabinets air-conditioned, refrigerated
- A47F3/0404—Cases or cabinets of the closed type
- A47F3/0426—Details
- A47F3/043—Doors, covers
-
- F—MECHANICAL ENGINEERING; LIGHTING; HEATING; WEAPONS; BLASTING
- F25—REFRIGERATION OR COOLING; COMBINED HEATING AND REFRIGERATION SYSTEMS; HEAT PUMP SYSTEMS; MANUFACTURE OR STORAGE OF ICE; LIQUEFACTION SOLIDIFICATION OF GASES
- F25D—REFRIGERATORS; COLD ROOMS; ICE-BOXES; COOLING OR FREEZING APPARATUS NOT OTHERWISE PROVIDED FOR
- F25D15/00—Devices not covered by group F25D11/00 or F25D13/00, e.g. non-self-contained movable devices
-
- F—MECHANICAL ENGINEERING; LIGHTING; HEATING; WEAPONS; BLASTING
- F25—REFRIGERATION OR COOLING; COMBINED HEATING AND REFRIGERATION SYSTEMS; HEAT PUMP SYSTEMS; MANUFACTURE OR STORAGE OF ICE; LIQUEFACTION SOLIDIFICATION OF GASES
- F25D—REFRIGERATORS; COLD ROOMS; ICE-BOXES; COOLING OR FREEZING APPARATUS NOT OTHERWISE PROVIDED FOR
- F25D2400/00—General features of, or devices for refrigerators, cold rooms, ice-boxes, or for cooling or freezing apparatus not covered by any other subclass
- F25D2400/10—Refrigerator top-coolers
-
- F—MECHANICAL ENGINEERING; LIGHTING; HEATING; WEAPONS; BLASTING
- F25—REFRIGERATION OR COOLING; COMBINED HEATING AND REFRIGERATION SYSTEMS; HEAT PUMP SYSTEMS; MANUFACTURE OR STORAGE OF ICE; LIQUEFACTION SOLIDIFICATION OF GASES
- F25D—REFRIGERATORS; COLD ROOMS; ICE-BOXES; COOLING OR FREEZING APPARATUS NOT OTHERWISE PROVIDED FOR
- F25D2400/00—General features of, or devices for refrigerators, cold rooms, ice-boxes, or for cooling or freezing apparatus not covered by any other subclass
- F25D2400/38—Refrigerating devices characterised by wheels
-
- F—MECHANICAL ENGINEERING; LIGHTING; HEATING; WEAPONS; BLASTING
- F25—REFRIGERATION OR COOLING; COMBINED HEATING AND REFRIGERATION SYSTEMS; HEAT PUMP SYSTEMS; MANUFACTURE OR STORAGE OF ICE; LIQUEFACTION SOLIDIFICATION OF GASES
- F25D—REFRIGERATORS; COLD ROOMS; ICE-BOXES; COOLING OR FREEZING APPARATUS NOT OTHERWISE PROVIDED FOR
- F25D2500/00—Problems to be solved
- F25D2500/02—Geometry problems
Definitions
- the invention relates to a freezer according to the preamble of claim 1.
- a freezer of this type is known as a so-called counter top unit.
- the freezer has a cuboid housing with a horizontal top, on the front of the freezer Removal opening is positioned in a horizontal arrangement.
- a freezer with a freezer In the back of the Freezer container, from which the removal opening is offset to the front, is located a freezer with a freezer.
- This freezer is designed to meet the need for a handy freezer with a cover relatively small freezer containers, and it should therefore be from be relatively small in size and as light as possible to make it z.
- the freezer unit with associated holding parts takes up considerable space.
- the well-known freezer has one considerable weight, which allows it to be installed in small and narrow spaces is difficult.
- the invention has for its object a freezer of the type specified Art to design so that an improved handling while ensuring good manageability Insight into the freezer container is achieved.
- the freezer unit is from the freezer container spatially separated and with this through flexible coolant lines connected.
- the Freezer containers within the limits specified by the flexible coolant lines Scope of an independent unit, which is independent of the freezer on Installation site can be set up and positioned. This means that from Freezer unit independent installation variants possible.
- a major advantage of Design according to the invention also consists in the fact that it gives a better insight into the freezer container and therefore the animation emanating from the freezer for the removal of the frozen goods is improved.
- the configuration according to the invention is thus also conducive to buying.
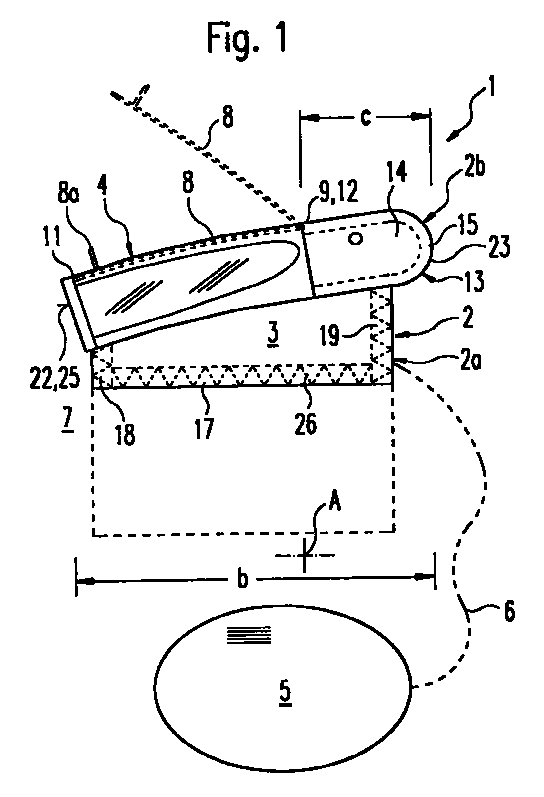
- the main parts of the freezer generally designated 1 in FIG. 1 are one thermally insulated freezer container 2 with an interior or receiving space 3 for Frozen goods, which can be opened and closed on the top Access or removal opening 4 is accessible and a freezer with a Freezer unit 5, which is indicated by flexible coolant lines 6 shown in the illustration with at least one freezer body (not shown) arranged in the receiving space 3 connected is.
- the freezer 1 can on a carrier, for. B. a counter, a table or a cupboard. Due to the presence of flexible Coolant lines 6 consists of a through the length of the coolant lines 6 predetermined area a limited independence between the freezer. 2 and the freezer unit 5, so that the freezer container 2 is independent in this area can be adjusted and positioned by the freezer unit 5, e.g. B. in a position in which he is particularly visible.
- the freezer unit 5 can in the by the length the coolant lines 6 predetermined area regardless of the freezer container 2 be set up, e.g. B. under the freezer 2 carrying carrier.
- the top of the freezer container 2 is inclined toward the front or operating side 7, where it can be flat or slightly curved, preferably convex, such as it can be seen in the side view of FIG. 1.
- the removal opening 4 is through a Optionally open and close cover 8. It can be a hinged lid act, which is about a hinge axis 9 preferably running at its rear edge is pivotally mounted. It is also possible to design the cover 8 as a sliding cover, which can be pushed a free space of the freezer in the opening movement m.
- the removal opening 4 extends essentially over the entire length extending parallel to the operating side 7 of the Freezer 2 and only over part of the width b of the freezer 2, her front edge 11 is on the operating side and its rear edge 12 is a distance c from the rear 13 of the cooling container 2. This is between the rear Edge 12 and the back 13 a space 14 in which a sliding cover can be inserted.
- a small size for the free space 14 can be realized, if there is a U-shaped guide 15 for a cover 8 in the free space 14, the from parallel to the operating side 7 and articulated together Slats exist, so that such a roller shutter-shaped cover in the U-shaped guide 15 can be inserted.
- a handle part 8a is arranged on the cover 8 in the front end region, on which the lid 8 can be gripped and moved in an easy-to-use manner. Because of the inclination of the top and the plane of the removal opening 4 is the front edge 11 the removal opening 4 is arranged lower than the rear edge 12 open removal opening 4 a good view of the receiving space 3 and thus also the frozen goods in it are guaranteed. If the cover 8 made of transparent Material such as B. glass or plastic, this good insight is also in closed removal opening 4 guaranteed.
- the freezer container 2 consists of a lower, box-shaped container section 2a and an upper container section 2b, of which the upper on two opposite sides, here on the left and right side, is widened stepwise with respect to the lower container section 2a.
- Step surfaces 16 formed, which serve as contact surfaces for the freezer container 2 what can be described below.
- the lower container section 2a has a flat bottom wall 17 and of the latter Circumferential edge extending vertically upward peripheral wall parts, namely a Front wall part 18, a rear wall part 19 and in between two side wall parts 21.
- the upper container section 2b also has a front wall part 22 Rear wall part 23 and between two side wall parts 24, the latter of which Overlap side wall parts 21 on the outside, see FIG. 2.
- the side wall parts 24 can be formed by straight strips.
- the side wall portions 24 with their upper and lower edges corresponding to the The above-described rounding of the upper side by a hint shown in Fig. 1 Axis of curvature A curved.
- the front wall part 22 is with respect to the axis of curvature A is arranged approximately radially so that it is in relation to the front wall part located underneath 18 has an inclined position tilted forward.
- the rear wall part 23 is preferably semi-cylindrical in accordance with the semicircular roller shutter guide curved.
- the Side wall parts 24 and / or in the front wall part 22 each have a window 25a, 25b formed, of which the existing in the front wall part 22 window 25a is a rectangular May have shape, while the windows 25b in the side wall parts 24 a different from may have a tapered shape at the front, e.g. B. half the shape of a slim ellipse.
- At least the walls of the lower container section 2a are thermally insulated by what an indicated heat insulation 26 is marked. This applies preferably also for the upper container section 2b and for the windows 25a, 25b, the latter being heat-insulating windows, especially those with a Space between at least two window panes.
- the embodiment is a freezer 1 with a Freezer container 2 shown, the lower container section 2a also higher is dimensioned, and consequently the receiving volume is correspondingly larger.
- the embodiment is the freezer 1 or the freezer container 2 on a carrier 27 arranged in the form of a table or a counter in a receiving hole 28 with a size adapted to the cross-sectional size of the lower container section 2a, the freezer container 2 with its step surfaces 16 on the top plate 29 or with its bottom wall 17 can rest on a lower plate 31 of the carrier 27.
- the Freezer unit 5 can be positioned under the carrier 27, for. B. under the plate 31st
- the freezer 1 is on a carrier 27 in the form of a movable carriage or chassis 33 with wheels 33a.
- the Freezer container 2 positioned laterally between the side walls 34.
- Pin connections or stops can be provided which prevent the sliding movement of the Limit freezer container 2.
- the rear area of the Sidewall portions 24 at 36 it is advantageous in the rear area of the Sidewall portions 24 at 36 have a lower projection on the upper sidewall portions 24 or to arrange a side projection on the lower side wall portions 21 which the Reach behind side walls 34 in the sense of a stop.
- the side walls 34 can be formed on the front and back with rounded recesses 37, the weight save and improve accessibility.
- the side walls 34 are through a horizontal bottom plate or cross strut 38 connected to one another and stabilized, on which the freezer unit 5 can be arranged can.
- the coolant lines 6 are off Not shown for reasons of simplification.
Landscapes
- Engineering & Computer Science (AREA)
- Physics & Mathematics (AREA)
- Thermal Sciences (AREA)
- Chemical & Material Sciences (AREA)
- Combustion & Propulsion (AREA)
- Mechanical Engineering (AREA)
- General Engineering & Computer Science (AREA)
- Freezing, Cooling And Drying Of Foods (AREA)
- Confectionery (AREA)
- Devices That Are Associated With Refrigeration Equipment (AREA)
Abstract
Ein Tiefkühlgerät (1) dient zur Bevorratung von Tiefkühlgut, insbesondere von abgepackten Lebensmitteln wie Speiseeis. Das Tiefkühlgerät (1) hat einen Tiefkühlbehälter (2) mit einem Aufnahmeraum (3) für das Tiefkühlgut, der über zumindest eine mittels eines Deckels (8) verschließbare Entnahmeöffnung (4) zugänglich ist, sowie ein Tiefkühlaggregat (5) zum Kühlen des Aufnahmeraums (3). Das Tiefkühlaggregat (5) ist von dem Tiefkühlbehälter (2) räumlich getrennt und mit diesem über flexible Kühlmittelleitungen (6) verbunden. Der Deckel (8) ist gegenüber der Horizontalebene in Richtung auf eine Bedienseite (7) geneigt angeordnet. A freezer (1) is used to store frozen goods, especially packaged foods such as ice cream. The freezer (1) has a freezer container (2) with a receiving space (3) for the frozen goods, which is accessible via at least one removal opening (4) that can be closed by means of a cover (8), and a freezer unit (5) for cooling the receiving space ( 3). The freezer unit (5) is spatially separated from the freezer container (2) and connected to it via flexible coolant lines (6). The cover (8) is inclined with respect to the horizontal plane in the direction of an operating side (7).
Description
Die Erfindung bezieht sich auf ein Tiefkühlgerät nach dem Oberbegriffs des Anspruchs 1.The invention relates to a freezer according to the preamble of
Ein Tiefkühlgerät dieser Bauart ist als sogenanntes Thekenaufsatzgerät bekannt. Bei der bekannten Ausgestaltung weist der Tiefkühlbehälter ein quaderförmiges Gehäuse mit einer horizontalen Oberseite auf, an der zur Vorderseite des Tiefkühlgerätes hin versetzt die Entnahmeöffnung in horizontaler Anordnung positioniert ist. Im hinteren Bereich des Tiefkühlbehälters, von dem die Entnahmeöffnung nach vorne versetzt ist, befindet sich eine Tiefkühleinrichtung mit einem Tiefkühlaggregat.A freezer of this type is known as a so-called counter top unit. In the known embodiment, the freezer has a cuboid housing with a horizontal top, on the front of the freezer Removal opening is positioned in a horizontal arrangement. In the back of the Freezer container, from which the removal opening is offset to the front, is located a freezer with a freezer.
Dieses Tiefkühlgerät soll den Bedarf an einem handlichen Tiefkühlgerät mit einem verhältnismäßig kleinen Tiefkühlbehälter abdecken, und es soll deshalb von verhältnismäßig kleiner Baugröße und möglichst geringem Gewicht sein, um es z. B. auf Verkaufstheken zur Präsentation verhältnismäßig geringer Mengen des Tiefkühlgutes aufstellen zu können. Bei der bekannten Ausgestaltung besteht jedoch ein verhältnismäßig großer Platzbedarf, da das Tiefkühlaggregat mit zugehörigen Halteteilen einen beträchtlichen Raum in Anspruch nimmt. Außerdem hat das bekannte Tiefkühlgerät ein beträchtliches Gewicht, wodurch seine Aufstellung an kleinen und engen Standplätzen erschwert ist.This freezer is designed to meet the need for a handy freezer with a cover relatively small freezer containers, and it should therefore be from be relatively small in size and as light as possible to make it z. B. on Sales counters for the presentation of relatively small quantities of frozen goods to be able to set up. In the known embodiment, however, there is a relative large space requirement, since the freezer unit with associated holding parts takes up considerable space. In addition, the well-known freezer has one considerable weight, which allows it to be installed in small and narrow spaces is difficult.
Außerdem wird das Tiefkühlgut bei dem bekannten Tiefkühlgerät unbefriedigend präsentiert, da trotz eines transparenten Deckels der Einblick in den Tiefkühlbehälter unzureichend ist.In addition, the frozen goods become unsatisfactory in the known freezer presented, because despite a transparent lid the insight into the freezer is insufficient.
Der Erfindung liegt die Aufgabe zugrunde, ein Tiefkühlgerät der eingangs angegebenen Art so auszugestalten, daß bei Gewährleistung einer guten Handhabbarkeit ein verbesserter Einblick in den Tiefkühlbehälter erreicht wird.The invention has for its object a freezer of the type specified Art to design so that an improved handling while ensuring good manageability Insight into the freezer container is achieved.
Diese Aufgabe wird durch die Merkmale des Anspruchs 1 gelöst.This object is solved by the features of
Bei der erfindungsgemäßen Ausgestaltung ist das Tiefkühlaggregat vom Tiefkühlbehälter räumlich getrennt angeordnet und mit diesem durch flexible Kühlmittelleitungen verbunden. Hierdurch ergeben sich mehrere Vorteile. Zum einen bildet der Tiefkühlbehälter im durch die flexiblen Kühlmittelleitungen vorgegebenen beschränkten Umfang eine selbständige Einheit, die unabhängig vom Tiefkühlaggregat am Aufstellungsplatz aufgestellt und positioniert werden kann. Hierdurch sind vom Tiefkühlaggregat unabhängige Aufstellungsvarianten möglich. Außerdem läßt sich der Tiefkühlbehälter in geringerer Baugröße verwirklichen oder es läßt sich der Innen- bzw. Aufnahmeraum des Tiefkühlbehälters vergrößern. Ein wesentlicher Vorteil der erfindungsgemäßen Ausgestaltung besteht auch darin, daß sie einen besseren Einblick in den Tiefkühlbehälter gestattet und deshalb die vom Tiefkühlgerät ausgehende Animierung zur Entnahme des Tiefkühlguts verbessert ist. Die erfindungsgemäße Ausgestaltung ist somit auch kauffördernd.In the embodiment according to the invention, the freezer unit is from the freezer container spatially separated and with this through flexible coolant lines connected. This has several advantages. On the one hand, the Freezer containers within the limits specified by the flexible coolant lines Scope of an independent unit, which is independent of the freezer on Installation site can be set up and positioned. This means that from Freezer unit independent installation variants possible. In addition, the Realize freezer containers in a smaller size or the inside or Enlarge the freezer compartment. A major advantage of Design according to the invention also consists in the fact that it gives a better insight into the freezer container and therefore the animation emanating from the freezer for the removal of the frozen goods is improved. The configuration according to the invention is thus also conducive to buying.
In den Unteransprüchen sind Merkmale enthalten, die zu vorteilhaften Bauformen z. B. mit unterschiedlichen Behältergrößen führen, die Aufstellung oder Positionierung des Tiefkühlgeräts am Aufstellungsort verbessern, vorteilhafte Deckelausgestaltungen aufzeigen und die Mobilität des Tiefkühlgerätes verbessern.Features are contained in the subclaims which lead to advantageous designs such. B. with different container sizes, the installation or positioning of the Improve the freezer at the installation site, advantageous lid designs show and improve the mobility of the freezer.
Nachfolgend werden die Erfindung und weitere durch sie erzielbare Vorteile anhand von vorteilhaften Ausführungsbeispielen und mehreren Zeichnungen erläutert. Es zeigen:
- Fig. 1
- ein erfindungsgemäßes Tiefkühlgerät in der Seitenansicht;
- Fig. 2
- das Tiefkühlgerät in der Vorderansicht;
- Fig. 3
- das Tiefkühlgerät in der Draufsicht;
- Fig. 4
- einen Tiefkühlbehälter des Tiefkühlgerätes in perspektivischer Vorderansicht;
- Fig. 5
- ein erfindungsgemäßes Tiefkühlgerät in der Seitenansicht, das auf einem Möbel angeordnet ist;
- Fig. 6
- das Tiefkühlgerät und das Möbel nach Fig. 5 in der Vorderansicht;
- Fig. 7
- ein erfindungsgemäßes Tiefkühlgerät in der Seitenansicht, das auf einem verfahrbaren Möbel angeordnet ist;
- Fig. 8
- das Tiefkühlgerät und das Möbel nach Fig. 7 in der Vorderansicht;
- Fig. 9
- das Tiefkühlgerät und das Möbel nach Fig. 7 in der Rückansicht;
- Fig. 10
- das Tiefkühlgerät und das Möbel nach Fig. 7 in der Draufsicht;
- Fig. 11
- das Tiefkühlgerät und das Möbel nach Fig. 7 in perspektivischer Vorderansicht;
- Fig. 12
- das Möbel nach Fig. 7 in der Vorderansicht;
- Fig. 13
- das Möbel nach Fig. 12 in der Seitenansicht; und
- Fig. 14
- das Möbel nach Fig. 12 in der Draufsicht.
- Fig. 1
- an inventive freezer in side view;
- Fig. 2
- the freezer in front view;
- Fig. 3
- the freezer in plan view;
- Fig. 4
- a freezer container of the freezer in a perspective front view;
- Fig. 5
- an inventive freezer in side view, which is arranged on a piece of furniture;
- Fig. 6
- the freezer and the furniture of Figure 5 in the front view.
- Fig. 7
- an inventive freezer in side view, which is arranged on a movable furniture;
- Fig. 8
- the freezer and the furniture of Figure 7 in the front view.
- Fig. 9
- the freezer and the furniture of Figure 7 in the rear view.
- Fig. 10
- the freezer and the furniture of Figure 7 in plan view.
- Fig. 11
- the freezer and the furniture of Figure 7 in a perspective front view.
- Fig. 12
- the furniture of Figure 7 in the front view.
- Fig. 13
- the furniture of Figure 12 in side view. and
- Fig. 14
- the furniture of Fig. 12 in plan view.
Die Hauptteile des in Fig. 1 allgemein mit 1 bezeichneten Tiefkühlgeräts sind ein
wärmeisolierter Tiefkühlbehälter 2 mit einem Innen- bzw. Aufnahmeraum 3 für
Tiefkühlgut, der durch eine wahlweise zu öffnende und zu schließende oberseitige
Zugangs- bzw. Entnahmeöffnung 4 zugänglich ist und eine Tiefkühleinrichtung mit einem
Tiefkühlaggregat 5, das durch andeutungsweise dargestellte, flexible Kühlmittelleitungen 6
mit Wenigstens einem im Aufnahmeraum 3 angeordneten Tiefkühlkörper (nicht dargestellt)
verbunden ist. Das Tiefkühlgerät 1 kann auf einem Träger, z. B. einer Theke, einem Tisch
oder einem Schrank, aufgestellt werden. Aufgrund des Vorhandenseins von flexiblen
Kühlmittelleitungen 6 besteht in einem durch die Länge der Kühlmittelleitungen 6
vorgegebenen Bereich eine beschränkte Unabhängigkeit zwischen dem Tiefkühlbehälter 2
und dem Tiefkühlaggregat 5, so daß in diesem Bereich der Tiefkühlbehälter 2 unabhängig
vom Tiefkühlaggregat 5 verstellt und positioniert werden kann, z. B. in einer Position, in
der er besonders günstig sichtbar ist. Das Tiefkühlaggregat 5 kann in dem durch die Länge
der Kühlmittelleitungen 6 vorgegebenen Bereich unabhängig vom Tiefkühlbehälter 2
aufgestellt werden, z. B. unter der den Tiefkühlbehälter 2 tragenden Träger.The main parts of the freezer generally designated 1 in FIG. 1 are one
thermally insulated
Die Oberseite des Tiefkühlbehälters 2 ist zur Frontseite oder Bedienseite 7 hin geneigt,
wobei sie eben oder etwas gekrümmt verlaufen kann, vorzugsweise konvex gekrümmt, wie
es in der Seitenansicht gemäß Fig. 1 ersichtlich ist. Die Entnahmeöffnung 4 ist durch einen
Deckel 8 wahlweise zu öffnen und zu verschließen. Es kann sich um einen Klappdeckel
handeln, der um eine vorzugsweise an seinem hinteren Rand verlaufende Scharnierachse 9
schwenkbar gelagert ist. Es ist auch möglich, den Deckel 8 als Schiebedeckel auszubilden,
der bei der Öffnungsbewegung m einen Freiraum des Tiefkühlbehälters schiebbar ist. Bei
der vorliegenden Ausgestaltung erstreckt sich die Entnahmeöffnung 4 im wesentlichen
über die gesamte, sich parallel zur Bedienseite 7 erstreckende Länge a des
Tiefkühlbehälters 2 und nur über einen Teil der Breite b des Tiefkühlbehälters 2, wobei ihr
vorderer Rand 11 sich an der Bedienseite befindet und ihr hinterer Rand 12 einen Abstand
c von der Rückseite 13 des Kühlbehälters 2 aufweist. Hierdurch ist zwischen dem hinteren
Rand 12 und der Rückseite 13 ein Freiraum 14 vorhanden, in den ein Schiebedeckel
einschiebbar ist. Es läßt sich eine kleine Baugröße für den Freiraum 14 verwirklichen,
wenn im Freiraum 14 eine U-förmige Führung 15 für einen Deckel 8 vorhanden ist, der
aus parallel zur Bedienseite 7 angeordneten und gelenkig miteinander verbundenen
Lamellen besteht, so daß ein solcher rolladenförmiger Deckel in die U-förmige Führung
15 einschiebbar ist. Im vorderen Endbereich ist am Deckel 8 ein Griffteil 8a angeordnet,
an dem der Deckel 8 handhabungsfreundlich ergriffen und bewegt werden kann. Aufgrund
der Neigung der Oberseite und der Ebene der Entnahmeöffnung 4 ist der vordere Rand 11
der Entnähmeöffnung 4 tiefer angeordnet, als der hintere Rand 12. Hierdurch ist bei
geöffneter Entnahmeöffnung 4 eine gute Sicht in den Aufnahmeraum 3 und somit auch auf
das darin befindliche Tiefkühlgut gewährleistet. Wenn der Deckel 8 aus transparentem
Material, wie z. B. Glas oder Kunststoff, besteht, ist dieser gute Einblick auch bei
geschlossener Entnahmeöffnung 4 gewährleistet.The top of the
Bei der vorliegenden Ausgestaltung besteht der Tiefkühlbehälter 2 aus einem unteren,
kastenförmigen Behälterabschnitt 2a und einem oberen Behälterabschnitt 2b, von denen der
obere an zwei einander gegenüberliegenden Seiten, hier an der linken und rechten Seite,
bezüglich des unteren Behälterabschnitts 2a stufenförmig verbreitet ist. Dadurch sind
Stufenflächen 16 gebildet, die als Auflageflächen für den Tiefkühlbehälter 2 dienen
können, was weiter unten noch beschrieben wird.In the present embodiment, the
Der untere Behälterabschnitt 2a weist eine ebene Bodenwand 17 und von deren
Umfangsrand sich vertikal nach oben erstreckende Umfangswandteile auf, nämlich ein
Vorderwandteil 18, ein Rückwandteil 19 und dazwischen zwei Seitenwandteile 21. In
vergleichbarer Weise weist auch der obere Behälterabschnitt 2b ein Vorderwandteil 22, ein
Rückwandteil 23 und dazwischen zwei Seitenwandteile 24 auf, von denen letztere die
Seitenwandteile 21 außenseitig überlappen, siehe Fig. 2. Die Seitenwandteile 24 können
durch sich gerade erstreckende Leisten gebildet sein. Bei der vorliegenden Ausgestaltung
sind die Seitenwandteile 24 mit ihren oberen und unteren Rändern entsprechend der
vorbeschriebenen Rundung der Oberseite um eine in Fig. 1 andeutungsweise dargestellte
Krümmungsachse A gekrümmt. Das Vorderwandteil 22 ist bezüglich der Krümmungsachse
A etwa radial angeordnet, so daß es bezüglich dem darunter befindlichen Vorderwandteil
18 eine nach vorne gekippte Schrägstellung aufweist. Das Rückwandteil 23 ist
vorzugsweise entsprechend der halbrunden Rolladenführung halbzylinderförmig
gekrümmt.The lower container section 2a has a
Um den Einblick in den Aufnahmeraum 3 auch z. B. für Kinder zu verbessern, ist in den
Seitenwandteilen 24 und/oder im Vorderwandteil 22 jeweils ein Fenster 25a, 25b
ausgebildet, von denen das im Vorderwandteil 22 vorhandene Fenster 25a eine rechteckige
Form aufweisen kann, während die Fenster 25b in den Seitenwandteilen 24 eine sich von
vorne nach hinten verjüngende Form aufweisen können, z. B. die halbe Form einer
schlanken Ellipse.In order to gain insight into the
Wenigstens die Wände des unteren Behälterabschnitts 2a sind wärmeisoliert, was durch
eine andeutungsweise dargestellte Wärmeisolierung 26 gekennzeichnet ist. Dies gilt
vorzugsweise auch für den oberen Behälterabschnitt 2b und für die Fenster 25a, 25b,
wobei letztere Wärmeisolierfenster sein können, insbesondere solche mit einem
Zwischenraum zwischen wenigstens zwei Fensterscheiben.At least the walls of the lower container section 2a are thermally insulated by what
an indicated
Um Tiefkühlbehälter 2 mit unterschiedlich großen Aufnahmekapazitäten zu realisieren, ist
es vorteilhaft, die Höhe des unteren Behälterabschnitts 2a unterschiedlich zu bemessen.
Trotz dieser Variante ist eine einfache und kostengünstige Herstellung solcher
unterschiedlich großen Tiefkühlbehälter 2 gewährleistet, da sie sich lediglich in der Höhe
der unteren Behälterabschnitte 2a unterscheiden. Im übrigen, insbesondere im Bereich des
jeweiligen oberen Behälterabschnitts 2b sind solche unterschiedlichen Tiefkühlbehälter 2
gleich ausgebildet. In den Fig. 1 und 2 ist ein unterer Behälterabschnitt 2a mit einer
größeren Höhe angedeutet.In order to realize
Beim Ausführungsbeispiel gemäß Fig. 5 und 6 ist ein Tiefkühlgerät 1 mit einem
Tiefkühlbehälter 2 dargestellt, dessen unterer Behälterabschnitt 2a ebenfalls höher
bemessen ist, und folglich das Aufnahmevolumen entsprechend größer ist. Bei diesem
Ausführungsbeispiel ist das Tiefkühlgerät 1 bzw. der Tiefkühlbehälter 2 auf einen Träger
27 in Form eines Tisches oder einer Theke angeordnet und zwar in einem Aufnahmeloch
28 mit einer an die Querschnittsgröße des unteren Behälterabschnitts 2a angepaßten Größe,
wobei der Tiefkühlbehälter 2 mit seinen Stufenflächen 16 auf der oberen Platte 29 oder mit
seiner Bodenwand 17 auf einer unteren Platte 31 des Trägers 27 aufliegen kann. Das
Tiefkühlaggregat 5 kann unter dem Träger 27 positioniert sein, z. B. unter der Platte 31.5 and 6 is a
Beim Ausführungsbeispiel nach den Fig. 7 bis 11 ist das Tiefkühlgerät 1 auf einem Träger
27 in Form eines verfahrbaren Wagens oder Fahrgestells 33 mit Rädern 33a angeordnet.
Dabei kann der Tiefkühlbehälter 2 mit seinen Stufenflächen 16 auf den oberen Stirnflächen
35 von einander gegenüberliegenden Seitenwänden 34 des Fahrgestells 33 aufliegen, wobei
die oberen Stirnflächen 35 in Anpassung an die Form der Stufenflächen 16 eben oder
entsprechend gekrümmt ausgebildet sein können. Bei dieser Ausgestaltung ist der
Tiefkühlbehälter 2 seitlich zwischen den Seitenwänden 34 positioniert. Zur Positionierung
gegen ein Verrutschen nach vorne und nach hinten, können nicht dargestellte
Zapfenverbindungen oder Anschläge vorgesehen sein, die eine Rutschbewegung des
Tiefkühlbehälters 2 begrenzen. Bei der vorliegenden Ausgestaltung, bei der die oberen
Stirnflächen 35 nach vorne geneigt sind, ist es vorteilhaft, im hinteren Bereich der
Seitenwandteile 24 bei 36 einen unteren Vorsprung an den oberen Seitenwandteilen 24
oder einen seitlichen Vorsprung an den unteren Seitenwandteilen 21 anzuordnen, die die
Seitenwände 34 im Sinne eines Anschlags hintergreifen. Die Seitenwände 34 können
vorder- und rückseitig mit gerundeten Ausnehmungen 37 ausgebildet sein, die Gewicht
sparen und die Zugänglichkeit verbessern.In the exemplary embodiment according to FIGS. 7 to 11, the
Die Seitenwände 34 sind durch eine horizontale Bodenplatte oder Querstrebe 38
miteinander verbunden und stabilisiert, auf der das Tiefkühlaggregat 5 angeordnet sein
kann.The
Bei den Ausführungsbeispielen gemäß Fig. 4 bis 14 sind die Kühlmittelleitungen 6 aus
Vereinfachungsgründen nicht dargestellt.In the exemplary embodiments according to FIGS. 4 to 14, the
Claims (13)
dadurch gekennzeichnet,
characterized,
dadurch gekennzeichnet,
characterized,
dadurch gekennzeichnet,
characterized,
dadurch gekennzeichnet,
characterized,
dadurch gekennzeichnet,
characterized,
dadurch gekennzeichnet,
characterized,
dadurch gekennzeichnet,
characterized,
dadurch gekennzeichnet,
characterized,
dadurch gekennzeichnet,
characterized,
dadurch gekennzeichnet,
characterized,
dadurch gekennzeichnet,
characterized,
dadurch gekennzeichnet,
characterized,
dadurch gekennzeichnet,
characterized,
Applications Claiming Priority (2)
| Application Number | Priority Date | Filing Date | Title |
|---|---|---|---|
| DE29716711U | 1997-09-17 | ||
| DE29716711U DE29716711U1 (en) | 1997-09-17 | 1997-09-17 | Freezer for storing frozen goods, in particular packaged foods such as ice cream |
Publications (3)
| Publication Number | Publication Date |
|---|---|
| EP0903547A2 true EP0903547A2 (en) | 1999-03-24 |
| EP0903547A3 EP0903547A3 (en) | 2000-10-11 |
| EP0903547B1 EP0903547B1 (en) | 2005-11-16 |
Family
ID=8046128
Family Applications (1)
| Application Number | Title | Priority Date | Filing Date |
|---|---|---|---|
| EP98117476A Expired - Lifetime EP0903547B1 (en) | 1997-09-17 | 1998-09-15 | Freezing apparatus for supplying frozen products, particularly for packed foodstuffs such as ice-cream |
Country Status (3)
| Country | Link |
|---|---|
| EP (1) | EP0903547B1 (en) |
| AT (1) | ATE310218T1 (en) |
| DE (2) | DE29716711U1 (en) |
Family Cites Families (5)
| Publication number | Priority date | Publication date | Assignee | Title |
|---|---|---|---|---|
| US2319433A (en) * | 1941-04-30 | 1943-05-18 | Robert L Phillips | Store window showcase |
| US2503419A (en) * | 1947-06-27 | 1950-04-11 | John A Secunde | Refrigerator display rack |
| US3729243A (en) * | 1971-06-07 | 1973-04-24 | Umc Ind | Merchandising cabinet |
| DE2622817A1 (en) * | 1976-05-21 | 1977-12-01 | Heinrich Gilbert & Sohn Kg | Transportable cooled drink vending stand - has two sections consisting of plastics container and frame with hinged legs into which container fits |
| WO1996038074A1 (en) * | 1995-05-31 | 1996-12-05 | Hmg Worldwide In-Store Marketing, Inc. | Shelf mounted refrigerated display unit |
-
1997
- 1997-09-17 DE DE29716711U patent/DE29716711U1/en not_active Expired - Lifetime
-
1998
- 1998-09-15 EP EP98117476A patent/EP0903547B1/en not_active Expired - Lifetime
- 1998-09-15 DE DE59813191T patent/DE59813191D1/en not_active Expired - Lifetime
- 1998-09-15 AT AT98117476T patent/ATE310218T1/en not_active IP Right Cessation
Also Published As
| Publication number | Publication date |
|---|---|
| EP0903547A3 (en) | 2000-10-11 |
| EP0903547B1 (en) | 2005-11-16 |
| DE59813191D1 (en) | 2005-12-22 |
| ATE310218T1 (en) | 2005-12-15 |
| DE29716711U1 (en) | 1997-11-27 |
Similar Documents
| Publication | Publication Date | Title |
|---|---|---|
| EP1032796B1 (en) | Refrigerating device | |
| DE3247796A1 (en) | STORAGE DEVICE FOR DISK-SHAPED RECORDING CARRIERS | |
| EP1984687A2 (en) | Refrigeration device comprising shelves | |
| DE20011661U1 (en) | Device for unsorted storage of goods or other objects of different dimensions | |
| EP2907951B1 (en) | Commercial refrigerated shelf | |
| DE19740900C2 (en) | Freezer for frozen products | |
| EP2131125A2 (en) | Door storage compartment for a cooling device | |
| DE102004045476A1 (en) | The refrigerator | |
| EP2218992A2 (en) | Cooling device | |
| WO2007033962A1 (en) | Refrigerator with a divided shelf | |
| DE19740903C2 (en) | Freezer for frozen goods, especially frozen food or ice cream | |
| EP0903547B1 (en) | Freezing apparatus for supplying frozen products, particularly for packed foodstuffs such as ice-cream | |
| EP2691717A2 (en) | Refrigerator | |
| DE4021257A1 (en) | Drawer installed underneath aquarium - rests on support plate of underneath structure, and runs along guides, and has front, two spaced apart sides, base and shelves | |
| DE102016205992A1 (en) | Refrigerating appliance with bottle holder | |
| DE2112038C2 (en) | Refrigerator with an inner refrigerated goods container and an outer housing as well as a U-shaped evaporator | |
| EP2059744A1 (en) | Refrigerator comprising a receptacle that can be closed by means of sliding doors | |
| DE3527737C1 (en) | Cassette for disk-shaped objects, especially diskettes | |
| DE102006005291A1 (en) | Refrigeration device for storage of bottles | |
| DE202007014053U1 (en) | Refrigerated display cabinets | |
| EP0648988B1 (en) | Refrigerator with slidable shelves | |
| DE3936575C2 (en) | Tool trolley | |
| EP0201664B1 (en) | Display rack for selling shoe-laces, packages of shoe-laces or similar haberdashery | |
| DE60107027T2 (en) | Improved machine for mixing colors | |
| DE29910221U1 (en) | Cabinet for information carriers |
Legal Events
| Date | Code | Title | Description |
|---|---|---|---|
| PUAI | Public reference made under article 153(3) epc to a published international application that has entered the european phase |
Free format text: ORIGINAL CODE: 0009012 |
|
| AK | Designated contracting states |
Kind code of ref document: A2 Designated state(s): AT BE DE DK FR GB LU NL |
|
| AX | Request for extension of the european patent |
Free format text: AL;LT;LV;MK;RO;SI |
|
| PUAL | Search report despatched |
Free format text: ORIGINAL CODE: 0009013 |
|
| AK | Designated contracting states |
Kind code of ref document: A3 Designated state(s): AT BE CH CY DE DK ES FI FR GB GR IE IT LI LU MC NL PT SE |
|
| AX | Request for extension of the european patent |
Free format text: AL;LT;LV;MK;RO;SI |
|
| RIC1 | Information provided on ipc code assigned before grant |
Free format text: 7F 25D 11/04 A, 7A 47F 3/04 B, 7F 25D 23/02 B, 7F 25D 15/00 B |
|
| 17P | Request for examination filed |
Effective date: 20010123 |
|
| AKX | Designation fees paid |
Free format text: AT BE DE DK FR GB LU NL |
|
| 17Q | First examination report despatched |
Effective date: 20030709 |
|
| GRAP | Despatch of communication of intention to grant a patent |
Free format text: ORIGINAL CODE: EPIDOSNIGR1 |
|
| RIN1 | Information on inventor provided before grant (corrected) |
Inventor name: REHKLAU, ANDREAS Inventor name: STAUCH, RUEDIGER Inventor name: NEUMANN, UWE Inventor name: LINDE, HANSJUERGEN, PROF. DR.-ING. Inventor name: KOHLHOFF, CLAUDIA Inventor name: MAUL, ANDREA Inventor name: OCKER, FRANK Inventor name: FAISST, PETER Inventor name: VORNDRAN, THOMAS Inventor name: SCHOPPER, RICHARD Inventor name: GOETTFERT, THOMAS Inventor name: BEER, RICHARD |
|
| RAP1 | Party data changed (applicant data changed or rights of an application transferred) |
Owner name: NESTEC S.A. |
|
| GRAS | Grant fee paid |
Free format text: ORIGINAL CODE: EPIDOSNIGR3 |
|
| GRAA | (expected) grant |
Free format text: ORIGINAL CODE: 0009210 |
|
| AK | Designated contracting states |
Kind code of ref document: B1 Designated state(s): AT BE DE DK FR GB LU NL |
|
| PG25 | Lapsed in a contracting state [announced via postgrant information from national office to epo] |
Ref country code: NL Free format text: LAPSE BECAUSE OF FAILURE TO SUBMIT A TRANSLATION OF THE DESCRIPTION OR TO PAY THE FEE WITHIN THE PRESCRIBED TIME-LIMIT Effective date: 20051116 |
|
| REG | Reference to a national code |
Ref country code: GB Ref legal event code: FG4D Free format text: NOT ENGLISH |
|
| REF | Corresponds to: |
Ref document number: 59813191 Country of ref document: DE Date of ref document: 20051222 Kind code of ref document: P |
|
| PG25 | Lapsed in a contracting state [announced via postgrant information from national office to epo] |
Ref country code: DK Free format text: LAPSE BECAUSE OF FAILURE TO SUBMIT A TRANSLATION OF THE DESCRIPTION OR TO PAY THE FEE WITHIN THE PRESCRIBED TIME-LIMIT Effective date: 20060216 |
|
| GBT | Gb: translation of ep patent filed (gb section 77(6)(a)/1977) |
Effective date: 20060202 |
|
| NLV1 | Nl: lapsed or annulled due to failure to fulfill the requirements of art. 29p and 29m of the patents act | ||
| ET | Fr: translation filed | ||
| PLBE | No opposition filed within time limit |
Free format text: ORIGINAL CODE: 0009261 |
|
| STAA | Information on the status of an ep patent application or granted ep patent |
Free format text: STATUS: NO OPPOSITION FILED WITHIN TIME LIMIT |
|
| PG25 | Lapsed in a contracting state [announced via postgrant information from national office to epo] |
Ref country code: BE Free format text: LAPSE BECAUSE OF NON-PAYMENT OF DUE FEES Effective date: 20060930 |
|
| 26N | No opposition filed |
Effective date: 20060817 |
|
| PG25 | Lapsed in a contracting state [announced via postgrant information from national office to epo] |
Ref country code: AT Free format text: LAPSE BECAUSE OF NON-PAYMENT OF DUE FEES Effective date: 20060915 |
|
| BERE | Be: lapsed |
Owner name: NESTEC S.A. Effective date: 20060930 |
|
| PG25 | Lapsed in a contracting state [announced via postgrant information from national office to epo] |
Ref country code: LU Free format text: LAPSE BECAUSE OF NON-PAYMENT OF DUE FEES Effective date: 20060915 |
|
| PGFP | Annual fee paid to national office [announced via postgrant information from national office to epo] |
Ref country code: GB Payment date: 20090909 Year of fee payment: 12 |
|
| PGFP | Annual fee paid to national office [announced via postgrant information from national office to epo] |
Ref country code: DE Payment date: 20090910 Year of fee payment: 12 |
|
| PGFP | Annual fee paid to national office [announced via postgrant information from national office to epo] |
Ref country code: FR Payment date: 20091012 Year of fee payment: 12 |
|
| GBPC | Gb: european patent ceased through non-payment of renewal fee |
Effective date: 20100915 |
|
| REG | Reference to a national code |
Ref country code: FR Ref legal event code: ST Effective date: 20110531 |
|
| REG | Reference to a national code |
Ref country code: DE Ref legal event code: R119 Ref document number: 59813191 Country of ref document: DE Effective date: 20110401 |
|
| PG25 | Lapsed in a contracting state [announced via postgrant information from national office to epo] |
Ref country code: DE Free format text: LAPSE BECAUSE OF NON-PAYMENT OF DUE FEES Effective date: 20110401 Ref country code: FR Free format text: LAPSE BECAUSE OF NON-PAYMENT OF DUE FEES Effective date: 20100930 |
|
| PG25 | Lapsed in a contracting state [announced via postgrant information from national office to epo] |
Ref country code: GB Free format text: LAPSE BECAUSE OF NON-PAYMENT OF DUE FEES Effective date: 20100915 |
