EP0818665A1 - Schutzeinrichtung für einen Türspalt bei einem gepanzerten Sonderschutzfahrzeug - Google Patents

Schutzeinrichtung für einen Türspalt bei einem gepanzerten Sonderschutzfahrzeug Download PDF

Info

Publication number
EP0818665A1
EP0818665A1 EP97109358A EP97109358A EP0818665A1 EP 0818665 A1 EP0818665 A1 EP 0818665A1 EP 97109358 A EP97109358 A EP 97109358A EP 97109358 A EP97109358 A EP 97109358A EP 0818665 A1 EP0818665 A1 EP 0818665A1
Authority
EP
European Patent Office
Prior art keywords
door
gap
protective
protective profile
extending
Prior art date
Legal status (The legal status is an assumption and is not a legal conclusion. Google has not performed a legal analysis and makes no representation as to the accuracy of the status listed.)
Granted
Application number
EP97109358A
Other languages
English (en)
French (fr)
Other versions
EP0818665B1 (de
Inventor
Klaus Beschle
Christian Jauss
Peter Krück
Josef Schumacher
Jürgen Uhlenberg
Current Assignee (The listed assignees may be inaccurate. Google has not performed a legal analysis and makes no representation or warranty as to the accuracy of the list.)
Mercedes Benz Group AG
Original Assignee
Daimler Benz AG
Priority date (The priority date is an assumption and is not a legal conclusion. Google has not performed a legal analysis and makes no representation as to the accuracy of the date listed.)
Filing date
Publication date
Application filed by Daimler Benz AG filed Critical Daimler Benz AG
Publication of EP0818665A1 publication Critical patent/EP0818665A1/de
Application granted granted Critical
Publication of EP0818665B1 publication Critical patent/EP0818665B1/de
Anticipated expiration legal-status Critical
Expired - Lifetime legal-status Critical Current

Links

Images

Classifications

    • FMECHANICAL ENGINEERING; LIGHTING; HEATING; WEAPONS; BLASTING
    • F41WEAPONS
    • F41HARMOUR; ARMOURED TURRETS; ARMOURED OR ARMED VEHICLES; MEANS OF ATTACK OR DEFENCE, e.g. CAMOUFLAGE, IN GENERAL
    • F41H7/00Armoured or armed vehicles
    • F41H7/02Land vehicles with enclosing armour, e.g. tanks
    • F41H7/04Armour construction
    • FMECHANICAL ENGINEERING; LIGHTING; HEATING; WEAPONS; BLASTING
    • F41WEAPONS
    • F41HARMOUR; ARMOURED TURRETS; ARMOURED OR ARMED VEHICLES; MEANS OF ATTACK OR DEFENCE, e.g. CAMOUFLAGE, IN GENERAL
    • F41H5/00Armour; Armour plates
    • F41H5/22Manhole covers, e.g. on tanks; Doors on armoured vehicles or structures
    • FMECHANICAL ENGINEERING; LIGHTING; HEATING; WEAPONS; BLASTING
    • F41WEAPONS
    • F41HARMOUR; ARMOURED TURRETS; ARMOURED OR ARMED VEHICLES; MEANS OF ATTACK OR DEFENCE, e.g. CAMOUFLAGE, IN GENERAL
    • F41H5/00Armour; Armour plates
    • F41H5/22Manhole covers, e.g. on tanks; Doors on armoured vehicles or structures
    • F41H5/226Doors on armoured vehicles or structures
    • FMECHANICAL ENGINEERING; LIGHTING; HEATING; WEAPONS; BLASTING
    • F41WEAPONS
    • F41HARMOUR; ARMOURED TURRETS; ARMOURED OR ARMED VEHICLES; MEANS OF ATTACK OR DEFENCE, e.g. CAMOUFLAGE, IN GENERAL
    • F41H5/00Armour; Armour plates
    • F41H5/26Peepholes; Windows; Loopholes

Definitions

  • the invention relates to a protective device for a door gap in an armored special protection vehicle after Preamble of the claim.
  • the end of the door gap facing the vehicle interior is there by a parallel to the door opening starting from the door frame running armor plate completely covered.
  • This Armor plate also covers an edge area of the Door wing, opposite which they are in the to the door opening level has a small gap in the normal direction.
  • the invention is based on the idea of the largest possible Part of the wide door gap cover on the frame of the Door wing to provide for the largest possible door opening to get an open door, or one with an armored one Vehicle door opening by means of a door gap protection device not or at most as little as possible downsize.
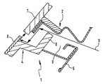
  • An embodiment of the invention is in the drawing shown a horizontal section through a in a Door frame stored door leaf in the gap area between shows these two parts.
  • the door hinges are in the Drawing not shown.
  • a door leaf 1 is in a body-side door frame 2 stored with a gap 3 in between.
  • the door frame 2 lies in the area of the armored side wall Special protection vehicle and is in the body embedded in the vehicle.
  • Part of the frame of the door leaf 1 forms on the Vehicle interior side facing the inside edge of the door frame comprehensive protection profile 4 from, for example Armored steel. Towards the outside of the vehicle, this follows Protection profile 4 a profile part 5, which on the vehicle outer surface approximately flush in the body area on the door frame 2 transforms. Between the protective profile 4 and the outside Profile 5 is a not shown tempered glass pane Door inserted.
  • the protective profile 4 is approximately Z-shaped in cross section.
  • One of the two short legs forms together with the z middle part the inner edge area of the door leaf 1.
  • the second short leg lies within the door gap 3 and covers a door gap area facing the vehicle interior from an outward facing area in the Form of a protective strip 6 from.
  • the protective strip 6 runs here approximately perpendicular to the door gap depth and maintains a distance opposite the door frame 2. That in the example shown Overall, including the protective strip, one-piece protective profile can also be composed of individual pieces.
  • the armor plate 7 and the splinter protection bar 8 results in the area of the gap 3 adjacent to the vehicle interior Type labyrinth seal against parts penetrating from outside penetrating into the outer region of the gap 3 and there on the protective strip 6 disassembling storey 9.
  • the protective strip 6 interacts in the gap 3 with the armored area of the door frame 2 ensure that a projectile penetrated into the gap from the outside only disassembled the armor strip 6 can pass to the vehicle interior. Parts of the floor 9, which thereby still in the vehicle interior could get into the gap 3 protruding splinter protection bar 8 safely held or at least deflected in a direction that is not critical for vehicle occupants.
  • the major advantage of the protective device according to the invention is in that they are practically not the size of the door opening or at least slightly reduced and the weight only slightly enlarged.

Landscapes

  • Engineering & Computer Science (AREA)
  • General Engineering & Computer Science (AREA)
  • Seal Device For Vehicle (AREA)
  • Aiming, Guidance, Guns With A Light Source, Armor, Camouflage, And Targets (AREA)

Abstract

Eine Schutzeinrichtung für einen Türspalt zwischen einem Türflügel und einer karosserieseitigen Türzarge eines gepanzerten Sonderschutzfahrzeuges, die Geschoßsplitter vor einem Eindringen in das Fahrzeuginnere verhindert, soll die Türöffnung bei geöffnetem Türflügel möglichst wenig verkleinern. Zu diesem Zweck ragen von dem Rahmen des Türflügels Abschottungen in den Türspalt. Dadurch kann die bei einem geöffneten Türflügel über die Türzarge in den Türöffnungsbereich hineinragende spaltabdeckende Panzerung eine relativ geringe Erstreckung in den freien Türöffnungsraum hinein besitzen. Eine der geschoßabweisenden Abschottungen an dem Rahmen des Türflügels ist eine an der Türflügelinnenseite angebrachte, in den Türspalt hineinragende Splitterschutzleiste, die ein Eindringen von Teilen eines zerlegten Geschosses in den Fahrzeuginnenraum vermeidet bzw. eindringende Teile in für die Fahrzeuginsassen unkritische Bereiche ablenkt. <IMAGE>

Description

Die Erfindung betrifft eine Schutzeinrichtung für einen Türspalt bei einem gepanzerten Sonderschutzfahrzeug nach dem Oberbegriff des Patentanspruchs.
Eine solche Einrichtung ist aus DE 36 39 781 C1 bekannt.
Das zum Fahrzeuginneren weisende Ende des Türspaltes ist dort durch eine von der Türzarge ausgehende parallel zu der Türöffnung verlaufende Panzerplatte vollständig abgedeckt. Diese Panzerplatte überdeckt dabei auch noch einen Randbereich des Türflügels, gegenüber dem sie in der zur Türöffnungsebene normalen Richtung einen geringen Spalt aufweist. Durch das Abdecken des Türspaltes von der Türzarge aus mit einer bis in den Randbereich des Türflügels reichenden Panzerplatte wird die Türöffnung, die bei geöffnetem Türflügel gegeben ist, erheblich eingeengt. Gleichzeitig wirken die den Türspalt überragenden Bereiche jener Panzerplatte gewichtserhöhend.
Hier eine Verbesserung zu schaffen, ist das Problem mit dem sich die Erfindung beschäftigt und das sie mit einer Schutzeinrichtung nach den kennzeichnenden Merkmalen des Patentanspruchs löst.
Die Erfindung beruht auf dem Gedanken, einen möglichst großen Teil der breitenmäßigen Türspaltabdeckung an dem Rahmen des Türflügels vorzusehen, um eine möglichst große Türöffnung bei geöffneter Tür zu erhalten, bzw. eine bei einem nicht gepanzerten Fahrzeug vorhandene Türöffnung durch eine Türspalt-Schutzeinrichtung nicht oder allenfalls möglichst wenig zu verkleinern.
Ein Ausführungsbeispiel der Erfindung ist in der Zeichnung dargestellt, die einen Horizontalschnitt durch einen in einer Türzarge gelagerten Türflügel in dem Spaltbereich zwischen diesen beiden Teilen zeigt. Die Türscharniere sind in der Zeichnung nicht dargestellt.
Ein Türflügel 1 ist in einer karosserieseitigen Türzarge 2 mit einem daswischen liegenden Spalt 3 gelagert.
Die Türzarge 2 liegt in dem Bereich der Seitenwand eines gepanzerten Sonderschutzfahrzeuges und ist in die Karosserie des Fahrzeuges eingebettet.
Einen Teil des Rahmens des Türflügels 1 bildet an der dem Fahrzeuginneren zugewandten Seite ein die Innenkante des Türflügelrahmens übergreifendes Schutzprofil 4 aus beispielsweise Panzerstahl. Zum Fahrzeugäußeren hin schließt sich an das Schutzprofil 4 ein Profilteil 5 an, das an der Fahrzeugaußenfläche etwa bündig in den Karosseriebereich an der Türzarge 2 übergeht. Zwischen dem Schutzprofil 4 und dem außen liegenden Profil 5 ist eine nicht dargestellte Panzerglasscheibe der Tür eingesetzt.
Das Schutzprofil 4 ist im Querschnitt etwa z-förmig ausgebildet. Eine der beiden kurzen Schenkel bildet zusammen mit dem z-Mittelteil den Innenkantenbereich des Türflügels 1. Der zweite kurze Schenkel liegt innerhalb des Türspaltes 3 und deckt dort einen zum Fahrzeuginnenraum hin liegenden Türspaltbereich von einem nach außen weisenden Bereich in der Form einer Schutzleiste 6 ab. Die Schutzleiste 6 verläuft dabei etwa senkrecht zur Türspalttiefe und wahrt einen Abstand gegenüber der Türzarge 2. Das in dem gezeichneten Beispiel insgesamt einschließlich der Schutzleiste einteilige Schutzprofil kann auch aus Einzelstücken zusammengesetzt sein.
Fahrzeuginnenraumseitig ragt über die Türzarge 2 in den Spalt 3 hinein eine parallel zur Türöffnungsebene verlaufende Panzerplatte 7. Diese Panzerplatte 7 überdeckt nicht die gesamte Breite des Spaltes 3 zwischen der Türzarge 2 und dem Schutzprofil 4 des Türflügels 1. Da die Abstände zwischen Panzerplatte 7 und Schutzprofil 4 des Türflügels 1 einerseits und Schutzteile 6 und Türzarge 2 andererseits an gegenüberliegenden Enden der Türspaltbreite liegen, ist ein direkter Geschoß-Durchtritt ausgeschlossen. In den dort an der Grenze zum Fahrzeuginnenraum befindlichen Abstand zwischen dem Schutzprofil 4 des Türflügels 1 und der türzargenseitigen Panzerplatte 7 ragt von dem Schutzprofil 4 aus eine Splitterschutzleiste 8, die etwa in der gleichen Ebene ausgerichtet ist wie die Panzerplatte 7.
Durch das Schutzprofil 4 mit der Schutzleiste 6, die Panzerplatte 7 sowie die Splitterschutz-Leiste 8 ergibt sich in dem an das Fahrzeuginnere angrenzenden Bereich des Spaltes 3 eine Art Labyrinthdichtung gegen von außen eindringende Teile eines in den äußeren Bereich des Spaltes 3 eindringenden und sich dort an der Schutzleiste 6 zerlegenden Geschosses 9.
Dabei stellt die Schutzleiste 6 in dem Spalt 3 im Zusammenspiel mit dem gepanzerten Bereich der Türzarge 2 sicher, daß ein von außen in den Spalt eingedrungenes Geschoß nur zerlegt die Panzerleiste 6 zum Fahrzeuginneren hin passieren kann. Teilstücke des Geschosses 9, die hierdurch noch in das Fahrzeuginnere gelangen könnten, werden durch die in den Spalt 3 ragende Splitterschutzleiste 8 sicher abgehalten oder zumindest in eine für Fahrzeuginsassen unkritische Richtung umgelenkt.
Der große Vorteil der erfindungsgemäßen Schutzeinrichtung besteht darin, daß sie die Größe der Türöffnung praktisch nicht bzw. allenfalls geringfügig verkleinert und dabei das Gewicht nur unwesentlich vergrößert.

Claims (1)

  1. Schutzeinrichtung für einen Türspalt (3) zwischen einem Türflügel (1) und einer karosserieseitigen Türzarge (2) eines gepanzerten Sonderschutzfahrzeuges, bei der der Türspalt (3) in einem an den Fahrzeuginnenraum angrenzenden Bereich gebildet ist
    durch ein die Innenkante des Türflügels (1) bildendes, sich in den Türspalt (3) erstreckendes Schutzprofil (4), von dem etwa in der Mitte der Tiefe des Türspaltes (3) eine Schutzleiste (6) etwa parallel zu der Ebene der Türöffnung in den Türspalt (3) ragt und diesen in dieser Richtung nicht vollständig durchgreift und
    durch eine karosserieseitige in der Ebene der Türöffnung beabstandete karosserieseitige Türzarge (2),
    wobei dieser Spalt an seinem dem Fahrzeuginneren zugewandten Ende durch eine von der Türzarge (2) ausgehende parallel zur Türöffnung verlaufende Panzerplatte (7) zumindest teilweise abgedeckt ist,
    gekennzeichnet durch die Merkmale
    der in den Türspalt (3) reichende Abschnitt des Schutzprofils (4) des Türflügels (1) erfaßt lediglich einen Teilbereich der Tiefe des Spaltes (3),
    von dem innerhalb des Türspaltes (3) liegenden Ende des Schutzprofiles (4) ragt die von diesem ausgehende oder mit diesem verbundene Schutzleiste (6) ab,
    auf dem den Türflügel (1) innen umgreifenden Teil des Schutzprofiles (4) des Türflügels (1) ist von Seiten des Fahrzeuginnenraumes eine die Kante des Schutzprofils (4) innerhalb der Tiefe des Türspaltes überragende, etwa parallel zu der inneren Panzerplatte (7) verlaufende Splitterschutzleiste (8) angebracht.
EP97109358A 1996-07-11 1997-06-10 Schutzeinrichtung für einen Türspalt bei einem gepanzerten Sonderschutzfahrzeug Expired - Lifetime EP0818665B1 (de)

Applications Claiming Priority (2)

Application Number Priority Date Filing Date Title
DE19628065A DE19628065C2 (de) 1996-07-11 1996-07-11 Schutzeinrichtung für einen Türspalt eines gepanzerten Sonderschutzfahrzeuges
DE19628065 1996-07-11

Publications (2)

Publication Number Publication Date
EP0818665A1 true EP0818665A1 (de) 1998-01-14
EP0818665B1 EP0818665B1 (de) 2001-05-23

Family

ID=7799601

Family Applications (1)

Application Number Title Priority Date Filing Date
EP97109358A Expired - Lifetime EP0818665B1 (de) 1996-07-11 1997-06-10 Schutzeinrichtung für einen Türspalt bei einem gepanzerten Sonderschutzfahrzeug

Country Status (3)

Country Link
US (1) US5808228A (de)
EP (1) EP0818665B1 (de)
DE (2) DE19628065C2 (de)

Cited By (3)

* Cited by examiner, † Cited by third party
Publication number Priority date Publication date Assignee Title
WO2009155965A1 (de) 2008-06-23 2009-12-30 Klaus Ackermann Panzerung für kraftfahrzeug
EP3072799A1 (de) 2011-12-06 2016-09-28 Sram, Llc Kettenrad
DE102018121924B3 (de) * 2018-09-07 2020-02-20 Knorr-Bremse Gesellschaft Mit Beschränkter Haftung Schutzvorrichtung für einen Türflügel für ein Fahrzeug und Türvorrichtung für ein Fahrzeug

Families Citing this family (15)

* Cited by examiner, † Cited by third party
Publication number Priority date Publication date Assignee Title
DE19933380C2 (de) * 1999-07-21 2003-07-17 Sachsenring Fahrzeugtechnik Gm Panzerungselement, insbesondere für Sicherheitskraftfahrzeuge
DE19945589B4 (de) * 1999-09-23 2008-02-28 Bayerische Motoren Werke Ag Sicherheitspersonenkraftwagen
US6568310B2 (en) 2001-10-25 2003-05-27 Timothy W. Morgan Lightweight armored panels and doors
US6698690B2 (en) 2002-02-28 2004-03-02 Alcoa Inc. Impact resistant door containing resealable panels
US7770506B2 (en) 2004-06-11 2010-08-10 Bae Systems Tactical Vehicle Systems Lp Armored cab for vehicles
CN100406874C (zh) * 2005-06-20 2008-07-30 北京源德生物医学工程有限公司 半自动微孔板单光子计数仪的门组件
DE102005060604B3 (de) * 2005-12-17 2007-04-19 Bayerische Motoren Werke Ag Gepanzertes Kraftfahrzeug mit einer Schutzeinrichtung für einen Türspalt
US20080314236A1 (en) * 2007-06-22 2008-12-25 Dew Engineering And Development Limited Door seal assembly for armored vehicles
US20110186577A1 (en) * 2010-01-29 2011-08-04 Timothy Limbert Compartment cover seal system for defeating ballistic, incendiary, and liquid threats
DE102011009117A1 (de) 2010-06-02 2011-12-01 Klaus ACKERMANN Fahrzeugtürsicherheitseinrichtung
EP2479528A2 (de) 2011-01-21 2012-07-25 Klaus Ackermann Fahrzeugtürsicherheitseinrichtung
DE102011053998A1 (de) * 2011-09-28 2013-03-28 Benteler Defense Gmbh & Co. Kg Splitterschutzanordnung
CN108382464A (zh) * 2018-02-22 2018-08-10 北京汽车研究总院有限公司 一种门框结构及车辆
RU190667U1 (ru) * 2018-09-18 2019-07-08 Российская Федерация, от имени которой выступает Министерство внутренних дел Российской федерации Устройство для защиты боковых вентиляционных отверстий двигателя бронированной машины
DE102019126065A1 (de) * 2019-09-27 2021-04-01 Bayerische Motoren Werke Aktiengesellschaft Schutzeinrichtung für eine Türfuge zwischen einer Fahrzeugtür und einer Karosserie eines Kraftfahrzeugs

Citations (4)

* Cited by examiner, † Cited by third party
Publication number Priority date Publication date Assignee Title
GB2106636A (en) * 1981-08-22 1983-04-13 Blohm Voss Ag Protective grid for armoured vehicle windows
DE3639781C1 (en) * 1986-11-25 1988-06-16 Trasco Exp Gmbh Armoured passenger vehicle
US4864819A (en) * 1985-06-03 1989-09-12 General Electric Company Exhaust system including protective arrangements
EP0456993A1 (de) * 1990-05-12 1991-11-21 Fried. Krupp AG Hoesch-Krupp Vorrichtung zur sicheren Abdeckung von Luftöffnungen in Sonderfahrzeugen

Family Cites Families (7)

* Cited by examiner, † Cited by third party
Publication number Priority date Publication date Assignee Title
US4132446A (en) * 1977-10-14 1979-01-02 Bauer Russell E Armored car window and windshield
US4598647A (en) * 1984-03-16 1986-07-08 National Bullet Proof, Inc. Shrapnel proof door frame
DE8601859U1 (de) * 1986-01-25 1986-03-13 Saelzer, Heinrich, 3550 Marburg Tür- oder Fensterkonstruktion
US4962710A (en) * 1986-07-23 1990-10-16 Schuco International Gmbh & Co. Impact-impeding pane/frame structure
DE3735133A1 (de) * 1987-10-16 1989-05-03 Bayerische Motoren Werke Ag Kraftfahrzeug, insbesondere personenkraftwagen
BR9407026A (pt) * 1993-06-03 1996-03-19 Richard C Medlin Veiculo convencional método de blindar um véiculo janela blindada capa de canto curvada método de fabricar uma janela blindada blindagem método de reajustar um veículo convencional com blindagem meio de capa de canto método de fazer um meio de capa de canto veículo janela laminada método de fabricar um membro de blindagem tansparente e porta em um veículo convencional
DE4335336A1 (de) * 1993-10-16 1995-04-20 Wendler Karosseriebau Gmbh Panzerglasscheibe, insbesondere für einen Kraftwagen

Patent Citations (4)

* Cited by examiner, † Cited by third party
Publication number Priority date Publication date Assignee Title
GB2106636A (en) * 1981-08-22 1983-04-13 Blohm Voss Ag Protective grid for armoured vehicle windows
US4864819A (en) * 1985-06-03 1989-09-12 General Electric Company Exhaust system including protective arrangements
DE3639781C1 (en) * 1986-11-25 1988-06-16 Trasco Exp Gmbh Armoured passenger vehicle
EP0456993A1 (de) * 1990-05-12 1991-11-21 Fried. Krupp AG Hoesch-Krupp Vorrichtung zur sicheren Abdeckung von Luftöffnungen in Sonderfahrzeugen

Cited By (4)

* Cited by examiner, † Cited by third party
Publication number Priority date Publication date Assignee Title
WO2009155965A1 (de) 2008-06-23 2009-12-30 Klaus Ackermann Panzerung für kraftfahrzeug
EP3072799A1 (de) 2011-12-06 2016-09-28 Sram, Llc Kettenrad
DE102018121924B3 (de) * 2018-09-07 2020-02-20 Knorr-Bremse Gesellschaft Mit Beschränkter Haftung Schutzvorrichtung für einen Türflügel für ein Fahrzeug und Türvorrichtung für ein Fahrzeug
US12358353B2 (en) 2018-09-07 2025-07-15 Knorr-Bremse Gesellschaft Mit Beschränkter Haftung Protection device for a door leaf of a motor vehicle

Also Published As

Publication number Publication date
EP0818665B1 (de) 2001-05-23
DE59703583D1 (de) 2001-06-28
US5808228A (en) 1998-09-15
DE19628065A1 (de) 1998-01-15
DE19628065C2 (de) 1998-06-04

Similar Documents

Publication Publication Date Title
EP0818665B1 (de) Schutzeinrichtung für einen Türspalt bei einem gepanzerten Sonderschutzfahrzeug
DE3641242C2 (de)
DE4415879A1 (de) Kraftfahrzeug mit wenigstens einer aus Panzerglas bestehenden Fensterscheibe
DE102004012112B3 (de) Schließleiste mit einem Türöffner für ein Türschloss
EP0298354B1 (de) Kunststoffrahmen für Fenster, Türen od. dgl.
DE3146746A1 (de) Panzerung fuer tueren
EP1568833A2 (de) Schliessblech für ein Fenster oder eine Tür
DE4335336A1 (de) Panzerglasscheibe, insbesondere für einen Kraftwagen
DE10049581C2 (de) Panzerrahmen
EP0712750A1 (de) Dachkonstruktion für ein Kraftfahrzeug
DE2806491C2 (de) Verriegelungsanordnung für den Verschluß einer Fahrzeugtür
DE2945836A1 (de) Elastomerprofil zur abdichtung von tueren
DE2931038A1 (de) Armaturenbrettbefestigung
DE2811676C2 (de) Schiebetüranschluß, insbesondere für vorfertigbare Trennwände
DE102005060604B3 (de) Gepanzertes Kraftfahrzeug mit einer Schutzeinrichtung für einen Türspalt
DE3619184C2 (de)
DE7806140U1 (de) Kugelsichere panzervorrichtung fuer fahrzeugfenster und/oder fahrzeugtueren
DE102004022012B4 (de) Dachanordnung
DE19836972C1 (de) Gepanzerte Karosserie für Fahrzeuge, insbesondere für Pkw in Kombibauweise oder mit Fließheck
DE19945589B4 (de) Sicherheitspersonenkraftwagen
DE19511059C2 (de) Einbruchsichere Profileinheit, bestehend aus zwei Profilen
DE4102944A1 (de) Kraftfahrzeugkarosserie mit wenigstens einem, von einer tuer oder dergleichen abdeckbaren tuerausschnitt
DE10052228B4 (de) Einrichtung zum Verriegeln eines Schwenktürflügels
DE29722911U1 (de) Kraftwagentüre
DE800626C (de) Schwenktuer fuer Strassen- und Schienenfahrzeuge

Legal Events

Date Code Title Description
PUAI Public reference made under article 153(3) epc to a published international application that has entered the european phase

Free format text: ORIGINAL CODE: 0009012

AK Designated contracting states

Kind code of ref document: A1

Designated state(s): BE DE FR GB

17P Request for examination filed

Effective date: 19971217

AKX Designation fees paid

Free format text: BE DE FR GB

RBV Designated contracting states (corrected)

Designated state(s): BE DE FR GB

RAP1 Party data changed (applicant data changed or rights of an application transferred)

Owner name: DAIMLERCHRYSLER AG

17Q First examination report despatched

Effective date: 19990624

GRAG Despatch of communication of intention to grant

Free format text: ORIGINAL CODE: EPIDOS AGRA

GRAG Despatch of communication of intention to grant

Free format text: ORIGINAL CODE: EPIDOS AGRA

GRAH Despatch of communication of intention to grant a patent

Free format text: ORIGINAL CODE: EPIDOS IGRA

GRAH Despatch of communication of intention to grant a patent

Free format text: ORIGINAL CODE: EPIDOS IGRA

GRAA (expected) grant

Free format text: ORIGINAL CODE: 0009210

AK Designated contracting states

Kind code of ref document: B1

Designated state(s): BE DE FR GB

REF Corresponds to:

Ref document number: 59703583

Country of ref document: DE

Date of ref document: 20010628

GBT Gb: translation of ep patent filed (gb section 77(6)(a)/1977)

Effective date: 20010803

ET Fr: translation filed
REG Reference to a national code

Ref country code: GB

Ref legal event code: IF02

PLBE No opposition filed within time limit

Free format text: ORIGINAL CODE: 0009261

STAA Information on the status of an ep patent application or granted ep patent

Free format text: STATUS: NO OPPOSITION FILED WITHIN TIME LIMIT

26N No opposition filed
PGFP Annual fee paid to national office [announced via postgrant information from national office to epo]

Ref country code: GB

Payment date: 20050531

Year of fee payment: 9

PGFP Annual fee paid to national office [announced via postgrant information from national office to epo]

Ref country code: FR

Payment date: 20050610

Year of fee payment: 9

PGFP Annual fee paid to national office [announced via postgrant information from national office to epo]

Ref country code: DE

Payment date: 20050613

Year of fee payment: 9

PGFP Annual fee paid to national office [announced via postgrant information from national office to epo]

Ref country code: BE

Payment date: 20050704

Year of fee payment: 9

PG25 Lapsed in a contracting state [announced via postgrant information from national office to epo]

Ref country code: GB

Free format text: LAPSE BECAUSE OF NON-PAYMENT OF DUE FEES

Effective date: 20060610

PG25 Lapsed in a contracting state [announced via postgrant information from national office to epo]

Ref country code: BE

Free format text: LAPSE BECAUSE OF NON-PAYMENT OF DUE FEES

Effective date: 20060630

PG25 Lapsed in a contracting state [announced via postgrant information from national office to epo]

Ref country code: DE

Free format text: LAPSE BECAUSE OF NON-PAYMENT OF DUE FEES

Effective date: 20070103

GBPC Gb: european patent ceased through non-payment of renewal fee

Effective date: 20060610

REG Reference to a national code

Ref country code: FR

Ref legal event code: ST

Effective date: 20070228

BERE Be: lapsed

Owner name: *DAIMLERCHRYSLER A.G.

Effective date: 20060630

PG25 Lapsed in a contracting state [announced via postgrant information from national office to epo]

Ref country code: FR

Free format text: LAPSE BECAUSE OF NON-PAYMENT OF DUE FEES

Effective date: 20060630