EP0814385A2 - Papierführung für die Hochgeschwindigkeitsdokumentenreproduktion - Google Patents
Papierführung für die Hochgeschwindigkeitsdokumentenreproduktion Download PDFInfo
- Publication number
- EP0814385A2 EP0814385A2 EP97303947A EP97303947A EP0814385A2 EP 0814385 A2 EP0814385 A2 EP 0814385A2 EP 97303947 A EP97303947 A EP 97303947A EP 97303947 A EP97303947 A EP 97303947A EP 0814385 A2 EP0814385 A2 EP 0814385A2
- Authority
- EP
- European Patent Office
- Prior art keywords
- copy sheet
- copy
- speed
- drive roller
- paper
- Prior art date
- Legal status (The legal status is an assumption and is not a legal conclusion. Google has not performed a legal analysis and makes no representation as to the accuracy of the status listed.)
- Withdrawn
Links
- 238000000034 method Methods 0.000 claims abstract description 11
- 230000003247 decreasing effect Effects 0.000 claims 4
- 230000002708 enhancing effect Effects 0.000 claims 1
- 108091008695 photoreceptors Proteins 0.000 description 4
- 238000003384 imaging method Methods 0.000 description 3
- 230000009977 dual effect Effects 0.000 description 2
- 230000001133 acceleration Effects 0.000 description 1
- 239000011230 binding agent Substances 0.000 description 1
- 239000003086 colorant Substances 0.000 description 1
- 230000007423 decrease Effects 0.000 description 1
- 239000013641 positive control Substances 0.000 description 1
Images
Classifications
-
- G—PHYSICS
- G03—PHOTOGRAPHY; CINEMATOGRAPHY; ANALOGOUS TECHNIQUES USING WAVES OTHER THAN OPTICAL WAVES; ELECTROGRAPHY; HOLOGRAPHY
- G03G—ELECTROGRAPHY; ELECTROPHOTOGRAPHY; MAGNETOGRAPHY
- G03G15/00—Apparatus for electrographic processes using a charge pattern
- G03G15/65—Apparatus which relate to the handling of copy material
- G03G15/6552—Means for discharging uncollated sheet copy material, e.g. discharging rollers, exit trays
-
- B—PERFORMING OPERATIONS; TRANSPORTING
- B65—CONVEYING; PACKING; STORING; HANDLING THIN OR FILAMENTARY MATERIAL
- B65H—HANDLING THIN OR FILAMENTARY MATERIAL, e.g. SHEETS, WEBS, CABLES
- B65H29/00—Delivering or advancing articles from machines; Advancing articles to or into piles
- B65H29/12—Delivering or advancing articles from machines; Advancing articles to or into piles by means of the nip between two, or between two sets of, moving tapes or bands or rollers
- B65H29/14—Delivering or advancing articles from machines; Advancing articles to or into piles by means of the nip between two, or between two sets of, moving tapes or bands or rollers and introducing into a pile
-
- B—PERFORMING OPERATIONS; TRANSPORTING
- B65—CONVEYING; PACKING; STORING; HANDLING THIN OR FILAMENTARY MATERIAL
- B65H—HANDLING THIN OR FILAMENTARY MATERIAL, e.g. SHEETS, WEBS, CABLES
- B65H29/00—Delivering or advancing articles from machines; Advancing articles to or into piles
- B65H29/70—Article bending or stiffening arrangements
-
- G—PHYSICS
- G03—PHOTOGRAPHY; CINEMATOGRAPHY; ANALOGOUS TECHNIQUES USING WAVES OTHER THAN OPTICAL WAVES; ELECTROGRAPHY; HOLOGRAPHY
- G03G—ELECTROGRAPHY; ELECTROPHOTOGRAPHY; MAGNETOGRAPHY
- G03G2215/00—Apparatus for electrophotographic processes
- G03G2215/00362—Apparatus for electrophotographic processes relating to the copy medium handling
- G03G2215/00367—The feeding path segment where particular handling of the copy medium occurs, segments being adjacent and non-overlapping. Each segment is identified by the most downstream point in the segment, so that for instance the segment labelled "Fixing device" is referring to the path between the "Transfer device" and the "Fixing device"
- G03G2215/00417—Post-fixing device
- G03G2215/00421—Discharging tray, e.g. devices stabilising the quality of the copy medium, postfixing-treatment, inverting, sorting
Definitions
- This invention relates generally to exit tray stacking in printers or copiers, and more particularly concerns a guide for properly placing copy sheets in an exit tray.
- the high rate of speed also causes stacking problems because force generated by the exit rolls sends each copy sheet so far up the stacking ramp that the following copy sheet runs into the trail edge of the previous copy sheet before that sheet has an opportunity to settle down the stacking ramp. Also, the trail edge of preceding copy sheets are sometimes lifted up and out of the stacking tray by the lead edges of incoming sheets because of a small interdocument sheet gap.
- Each copy sheet must pass through the nip - a small gap that lies at the interface between the drive and idler rollers - as it exits the copy machine.
- Drive rollers are sometimes driven by motors which operate at varying speeds.
- a Low Sheet Energy Uphill (LSEU) servo system operates at 1430 mm/s as the copy sheet enters the nip, and decelerates to 226 mm/s as the last 10 mm of the sheet passes between the rolls. The drop in speed allows the energy in the sheet to dissipate before the sheet exits the nip, thereby allowing the sheets to stack properly in the output tray.
- the LSEU motor speeds up to receive the next incoming copy sheet.
- each sheet has a cycle time of 333 ms. That is, the sheet has 333 ms to move into the output tray after it enters the nip. Most of this time is used to accelerate and decelerate the motor.
- the current stacking method requires the motor to remain at a very low speed for an extended period of time, so that each of the preceding copy sheets can move away from the nip, and toward the bottom of the exit tray before the next sheet enters. The motor is accelerated in time to move the next sheet into the nip as the previous one moves toward the exit tray.
- US-A 5,029,743 to McNew discloses a system for passing long fan-folded documents and corresponding copy paper through a reproducing apparatus. It includes a collapsible, upright stand which carries a pair of copy paper roll supporting elements, a pair of paper guide plates pivotably and detachably connected to the top of the stand, and a guide bar for guiding copy paper from a roll on the stand to the guide plates.
- US-A-4,789,150 to Plain discloses a sheet stacking apparatus for use with throughput from high speed copiers or printers. It includes dual control flaps which act independently to provide positive control of sheets being stacked in the apparatus.
- US-A 4,627,718 to Wyer discloses a sheet curl control apparatus comprising a pair of coacting rolls and baffle means positioned relative to said rolls so as to bend a sheet passing between the rolls about one of said rolls.
- U.S. Ser. No. 08/583907 filed January 11, 1996 by Jason P Rider et al. discloses an apparatus for corrugating copy sheets traveling at high rates of the speed toward an exit tray.
- the invention includes an idler shaft with idler rollers mounted upon it, and a drive shaft with drive rollers thereon.
- the drive shaft is positioned relative to the idler shaft such that one of the drive rollers is positioned between two of the idler rollers.
- the invention also provides means for applying different forces on the copy sheets passing between the idler rollers and the drive rollers.
- US-A 4,477,068 to Arter et al. discloses a document feeder for automatically inverting a duplexed original so that the second side may be copied.
- the inverting mechanism is a turnaround roll placed at the exit of the copy station, which cooperates with rollers located within the copy machine.
- US-A 4,407,597 to Kapp discloses a paper feeding apparatus which includes paper storage means for storing individual sheets of paper and feeding means for feeding a sheet of paper from the paper storage means in a paper feed direction along the paper feed path to the paper drive means.
- Guide means are provided having a first surface positioned along the paper feed path on the side opposite the paper storage means and extending parallel to the paper feed path to define a portion of the paper feed path.
- Means are also provided for defining a paper passageway between the second surface of the guide means and the paper feed path.
- an apparatus for transporting copy sheets traveling at high rates of speed from a paper path to an exit tray which includes a drive roller arrangement defining a nip through which copy sheets may pass, the drive roller arrangement located between an end of the paper path and an input to the exit tray; a transport system which moves a copy sheet along the paper path, and advances the copy sheet from the paper path to the nip; and a paper guide connected to the drive roller arrangement, such that a trailing edge of the copy sheet moves away from the drive roller arrangement and onto the paper guide as the copy sheet exits the nip.
- a method for transporting copy sheets traveling at high rates of speed, from a paper path to an exit tray which includes moving the copy sheet along the paper path; advancing a leading edge of the copy sheet to a nip between a drive roller arrangement; transporting the copy sheet between the rollers; driving the trailing edge from the rollers to a paper guide; and directing the copy sheet from the nip to the exit tray.
- an apparatus for transporting copy sheets traveling at high rates of speed from a paper path to an exit tray which includes moving means for moving a copy sheet along the paper path; transporting means for transporting the copy sheet from the paper path to the exit tray; advancing means for advancing a leading edge of the copy sheet from the paper path to the transporting means; controlling means for controlling a motion of the copy sheet as it moves through the transporting means; and guiding means for guiding the copy sheet toward the exit tray.
- This invention can allow exiting copy sheets to stack properly in the output section of a copy machine.
- the invention provides an arrangement for moving the exiting copy sheet away from the rollers, so they can be sped up without affecting the motion of the paper. Otherwise, subsequent sheets would not be able to enter the nip until the previous sheets were completely out of the paper path This would produce a significant decline in the number of copies that could be reproduced in any given time period.
- Printer section 8 comprises a laser type printer and for purposes of explanation is separated into a Raster Output Scanner (ROS) section 87, Print Module Section 95, Paper Supply section 107, and Finisher 120.
- ROS 87 has a laser, the beam of which is split into two imaging beams 94.
- Each beam 94 is modulated in accordance with the content of an image signal input and in this example, by acousto-optic modulator 92, to provide dual imaging beams 94.
- Other arrangements for modulating beams 94 are possible, and the invention is not limited to this embodiment.
- Beams 94 are scanned across a moving photoreceptor 98 of Print Module 95 by the mirrored facets of a rotating polygon 100 to expose two image lines on photoreceptor 98 with each scan and create the latent electrostatic images represented by the image signal input to modulator 92.
- Photoreceptor 98 is uniformly charged by corotrons 102 at a charging station preparatory to exposure by imaging beams 94.
- the latent electrostatic images are developed by developer 104 and transferred at transfer station 106 to a print media 108 delivered by Paper Supply section 107.
- Media 108 may comprise any of a variety of sheet sizes, types, and colors.
- the print media is brought forward in timed registration with the developed image on photoreceptor 98 from either a main paper tray 110 or from auxiliary paper trays 112, or 114.
- the developed image transferred to the print media 108 is permanently fixed or fused by fuser 116 and the resulting prints discharged to either output tray 118, or to output collating trays in finisher 120.
- Finisher 120 includes a stitcher 122 for stitching (stapling) the prints together to form books, a thermal binder 124 for adhesively binding the prints into books and a stacker 125.
- a finisher of this type is disclosed in U.S. Patent 4,828,645 and 4,782,363.
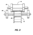
- FIG. 2 shows a front elevation view of idler roller 10, paper guide 14, and drive roller 20.
- Drive roller 20, located on drive shaft 40, is positioned adjacent to idler roller 10, towards the center of idler roller 10.
- Idler roller 10 is located on idler shaft 30.
- exit speeds of the copy sheet In order to reproduce documents at speeds of more than 180 copies per minute, exit speeds of the copy sheet must be very high. For example, an exiting copy sheet speed of 1430 mm/s is required for a machine that reproduces documents at a rape of 180 copies per minute. Unfortunately, exit speeds of this magnitude are so high that the exiting copy sheet often moves past output tray 118 or finisher 120 when it exits the paper path. Copy sheets that move at this pace typically move far up the exit path. A typical copy sheet is relatively light weight with a large surface area. Therefore it will take the sheet a long time to fall back down through the air and settle at the bottom of the paper path. Thus, copy sheets often collide with one another as they attempt to stack in output tray 118.
- the present invention discloses a paper guide 14 which can be attached to drive shaft 40 around to drive roller 20.
- the sheet will ride along paper guide 14 instead of drive roller 20.
- the motion of the sheet will be independent of that of drive roller 20 when it moves along paper guide 14.
- drive roller 20 is accelerated to accept the next sheet, motion of the exiting copy sheet will not be affected.
- Use of the present invention eliminates the wait time previously required for the motor to accelerate to the desired speed.
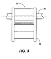
- FIGS. 3 and 4 are detailed front and side views respectively of the exit paper guide of the present invention.
- paper guide 14 clips onto drive shaft 40 around drive roller 20.
- the top of paper guide 14 extends slightly above the top surface of drive roller 20. This causes the copy sheets to lift off of drive roller 20, and to move along paper guide 14.
- FIG. 5 shows an elevation schematic view of an exit tray system incorporating the present invention.
- Multiple drive and idler rolls are spaced along drive shaft 40 and idler shaft 30 to provide adequate support for the exiting copy sheets.
- One paper guide 14 will typically be placed around each drive roller 20.
- the present invention in a preferred aspect utilizes variable speed motor to control the drive shaft and drive rollers of a typical electrophotographic printing machine.
- Paper guides are mounted to the drive rollers to enable a motor that operates over a wide range of speeds to work in the most efficient manner.
- the motor accelerates to its highest speed as the copy sheet enters the nip between the drive and idler rollers.
- the motor is decelerated to its slowest speed as the trailing edge of the copy sheet exits the nip.
- the paper guide will then remove the trailing edge of the exiting sheet from the nip. This allows the speed of the motor to be increased before the exiting sheet is completely out of the way, thereby eliminating a substantial amount of the time the motor would otherwise have to remain at low speed.
- the motor can begin to accelerate before the copy sheet has moved completely out of the paper path, and the machine can reach its desired high speed rate of output.
Landscapes
- Engineering & Computer Science (AREA)
- Mechanical Engineering (AREA)
- Physics & Mathematics (AREA)
- General Physics & Mathematics (AREA)
- Delivering By Means Of Belts And Rollers (AREA)
- Handling Of Cut Paper (AREA)
- Paper Feeding For Electrophotography (AREA)
- Separation, Sorting, Adjustment, Or Bending Of Sheets To Be Conveyed (AREA)
Applications Claiming Priority (2)
| Application Number | Priority Date | Filing Date | Title |
|---|---|---|---|
| US664582 | 1996-06-17 | ||
| US08/664,582 USH1805H (en) | 1996-06-17 | 1996-06-17 | Paper guide for high speed document reproduction |
Publications (2)
| Publication Number | Publication Date |
|---|---|
| EP0814385A2 true EP0814385A2 (de) | 1997-12-29 |
| EP0814385A3 EP0814385A3 (de) | 1998-09-02 |
Family
ID=24666572
Family Applications (1)
| Application Number | Title | Priority Date | Filing Date |
|---|---|---|---|
| EP97303947A Withdrawn EP0814385A3 (de) | 1996-06-17 | 1997-06-06 | Papierführung für die Hochgeschwindigkeitsdokumentenreproduktion |
Country Status (6)
| Country | Link |
|---|---|
| US (1) | USH1805H (de) |
| EP (1) | EP0814385A3 (de) |
| JP (1) | JPH1072159A (de) |
| BR (1) | BR9703610A (de) |
| CA (1) | CA2203449A1 (de) |
| MX (1) | MX9703285A (de) |
Cited By (4)
| Publication number | Priority date | Publication date | Assignee | Title |
|---|---|---|---|---|
| EP1334935A3 (de) * | 2002-02-12 | 2004-06-16 | Bell & Howell Mail And Messaging Technologies Company | Vorrichtung zum Handhaben von Dokumenten mit dynamischem Einführungsmechanismus und entsprechendes Verfahren |
| US6902162B2 (en) | 2002-02-12 | 2005-06-07 | Bowe Bell + Howell Company | Non-marking accumulator and related methods |
| EP2085240A3 (de) * | 2008-01-31 | 2010-04-14 | Xerox Corporation | Drucksystem und -verfahren |
| EP1574355A3 (de) * | 2004-03-10 | 2011-01-05 | Hohner Maschinenbau GmbH | Sammelhefter mit einer Heftstation |
Families Citing this family (3)
| Publication number | Priority date | Publication date | Assignee | Title |
|---|---|---|---|---|
| JP2000185829A (ja) | 1998-12-23 | 2000-07-04 | Xerox Corp | 給紙装置 |
| US6505832B2 (en) * | 1998-12-23 | 2003-01-14 | Xerox Corporation | Variable acceleration take-away roll (TAR) for high capacity feeder |
| US20090039596A1 (en) * | 2007-08-06 | 2009-02-12 | Seiko Epson Corporation | Sheet media storage device and sheet media processing device |
Family Cites Families (9)
| Publication number | Priority date | Publication date | Assignee | Title |
|---|---|---|---|---|
| US4155643A (en) * | 1977-10-17 | 1979-05-22 | Dennison Manufacturing Company | Receiver tray for photocopy machines |
| JPS5569162A (en) * | 1978-11-18 | 1980-05-24 | Ricoh Co Ltd | Paper discharge tray of automatic original feeder |
| US4474365A (en) * | 1981-07-30 | 1984-10-02 | Brandt, Inc. | Document feeding, handling and counting apparatus |
| US4569514A (en) * | 1984-07-06 | 1986-02-11 | Savin Corporation | Copy sheet decelerator for electrophotographic copier |
| US5215300A (en) * | 1985-03-15 | 1993-06-01 | Canon Kabushiki Kaisha | Tray apparatus |
| US4789150A (en) * | 1986-06-30 | 1988-12-06 | Xerox Corporation | Sheet stacking apparatus with trail edge control flaps |
| JPH05134502A (ja) * | 1991-11-14 | 1993-05-28 | Ricoh Co Ltd | 画像形成装置 |
| JPH05338899A (ja) * | 1992-06-08 | 1993-12-21 | Ricoh Co Ltd | 排紙装置 |
| JP3323661B2 (ja) * | 1994-08-29 | 2002-09-09 | 株式会社リコー | 用紙排出装置 |
-
1996
- 1996-06-17 US US08/664,582 patent/USH1805H/en not_active Abandoned
-
1997
- 1997-04-23 CA CA002203449A patent/CA2203449A1/en not_active Abandoned
- 1997-05-06 MX MX9703285A patent/MX9703285A/es not_active Application Discontinuation
- 1997-06-04 JP JP9146412A patent/JPH1072159A/ja not_active Withdrawn
- 1997-06-06 EP EP97303947A patent/EP0814385A3/de not_active Withdrawn
- 1997-06-17 BR BR9703610A patent/BR9703610A/pt not_active Application Discontinuation
Cited By (6)
| Publication number | Priority date | Publication date | Assignee | Title |
|---|---|---|---|---|
| EP1334935A3 (de) * | 2002-02-12 | 2004-06-16 | Bell & Howell Mail And Messaging Technologies Company | Vorrichtung zum Handhaben von Dokumenten mit dynamischem Einführungsmechanismus und entsprechendes Verfahren |
| US6902162B2 (en) | 2002-02-12 | 2005-06-07 | Bowe Bell + Howell Company | Non-marking accumulator and related methods |
| EP2133300A3 (de) * | 2002-02-12 | 2010-06-09 | Bowe Bell + Howell Company | Dokumentenbearbeitungsvorrichtung mit dynamischen Aufnahmemechanismus und zugehöriges Verfahren |
| EP1574355A3 (de) * | 2004-03-10 | 2011-01-05 | Hohner Maschinenbau GmbH | Sammelhefter mit einer Heftstation |
| EP2085240A3 (de) * | 2008-01-31 | 2010-04-14 | Xerox Corporation | Drucksystem und -verfahren |
| US7891652B2 (en) | 2008-01-31 | 2011-02-22 | Xerox Corporation | Sheet compiling system and method |
Also Published As
| Publication number | Publication date |
|---|---|
| CA2203449A1 (en) | 1997-12-17 |
| MX9703285A (es) | 1997-12-31 |
| BR9703610A (pt) | 1998-12-01 |
| USH1805H (en) | 1999-10-05 |
| EP0814385A3 (de) | 1998-09-02 |
| JPH1072159A (ja) | 1998-03-17 |
Similar Documents
| Publication | Publication Date | Title |
|---|---|---|
| US5653439A (en) | Exit tray corrugation slip rolls with a variable force idler | |
| US5153663A (en) | Printing apparatus employing a compliant sheet corrugating device | |
| US5689795A (en) | Sheet transfer apparatus with adaptive speed-up delay | |
| US6968136B2 (en) | Image forming apparatus | |
| US5971387A (en) | Automatic sheet feeder provided in an image forming machine | |
| JPS5880667A (ja) | 複写機 | |
| JP2005075647A (ja) | プリント媒体シート整理システムおよび整理方法 | |
| GB2048834A (en) | Method and apparatus for producing sets of collated copies | |
| US3669447A (en) | Sheet propelling apparatus | |
| GB2128139A (en) | Duplex printing system | |
| EP0418086A2 (de) | Druckmaschine und Kassette mit Vorrichtung zum Zuführen eines Blattes mit seiner kurzen Kante voran für zweiseitiges Kopieren mit seitlich verschiebendem Blattwendesystem | |
| US4901117A (en) | Sheet feeder for second pass copy substrate | |
| USH1805H (en) | Paper guide for high speed document reproduction | |
| US11947300B2 (en) | Cutting apparatus and image forming system | |
| US6082727A (en) | Top vacuum corrugation feeder with active retard separation mechanism | |
| JP2003330230A (ja) | 画像形成装置及び画像形成方法ならびに像担持体 | |
| US5802444A (en) | Electrophotographic apparatus for a continuous strip of paper sheets fixed by a heat fixing unit | |
| JP3142169B2 (ja) | 搬送経路切換装置 | |
| JPH05294496A (ja) | 電子写真装置 | |
| JP2003104618A (ja) | 排紙装置及び印刷装置 | |
| EP0875797B1 (de) | Dokumenten-Handhabungssystem mit einer Zuführvorrichtung mit selbst-regulierendem Andruck | |
| MXPA96005880A (en) | Exit tray corrugation slip rolls with a variable force idler | |
| JPH0873098A (ja) | スタッカ装置 | |
| JPH09109491A (ja) | 出力装置 | |
| JPH082783A (ja) | シート材積載装置及び画像形成装置 |
Legal Events
| Date | Code | Title | Description |
|---|---|---|---|
| PUAI | Public reference made under article 153(3) epc to a published international application that has entered the european phase |
Free format text: ORIGINAL CODE: 0009012 |
|
| AK | Designated contracting states |
Kind code of ref document: A2 Designated state(s): DE FR GB |
|
| PUAL | Search report despatched |
Free format text: ORIGINAL CODE: 0009013 |
|
| AK | Designated contracting states |
Kind code of ref document: A3 Designated state(s): AT BE CH DE DK ES FI FR GB GR IE IT LI LU MC NL PT SE |
|
| 17P | Request for examination filed |
Effective date: 19990302 |
|
| AKX | Designation fees paid |
Free format text: DE FR GB |
|
| RBV | Designated contracting states (corrected) |
Designated state(s): DE FR GB |
|
| STAA | Information on the status of an ep patent application or granted ep patent |
Free format text: STATUS: THE APPLICATION HAS BEEN WITHDRAWN |
|
| 18W | Application withdrawn |
Withdrawal date: 20000530 |