EP0805941B1 - Wärme- und kältemaschine - Google Patents

Wärme- und kältemaschine Download PDF

Info

Publication number
EP0805941B1
EP0805941B1 EP96900320A EP96900320A EP0805941B1 EP 0805941 B1 EP0805941 B1 EP 0805941B1 EP 96900320 A EP96900320 A EP 96900320A EP 96900320 A EP96900320 A EP 96900320A EP 0805941 B1 EP0805941 B1 EP 0805941B1
Authority
EP
European Patent Office
Prior art keywords
heat exchanger
cold
regenerator
bypass
heating
Prior art date
Legal status (The legal status is an assumption and is not a legal conclusion. Google has not performed a legal analysis and makes no representation as to the accuracy of the status listed.)
Expired - Lifetime
Application number
EP96900320A
Other languages
English (en)
French (fr)
Other versions
EP0805941A1 (de
Inventor
Klaus Heikrodt
Thomas Bernd
Current Assignee (The listed assignees may be inaccurate. Google has not performed a legal analysis and makes no representation or warranty as to the accuracy of the list.)
Robert Bosch GmbH
Viessmann Generations Group GmbH and Co KG
Original Assignee
Robert Bosch GmbH
Viessmann Werke GmbH and Co KG
Priority date (The priority date is an assumption and is not a legal conclusion. Google has not performed a legal analysis and makes no representation as to the accuracy of the date listed.)
Filing date
Publication date
Application filed by Robert Bosch GmbH, Viessmann Werke GmbH and Co KG filed Critical Robert Bosch GmbH
Publication of EP0805941A1 publication Critical patent/EP0805941A1/de
Application granted granted Critical
Publication of EP0805941B1 publication Critical patent/EP0805941B1/de
Anticipated expiration legal-status Critical
Expired - Lifetime legal-status Critical Current

Links

Images

Classifications

    • FMECHANICAL ENGINEERING; LIGHTING; HEATING; WEAPONS; BLASTING
    • F25REFRIGERATION OR COOLING; COMBINED HEATING AND REFRIGERATION SYSTEMS; HEAT PUMP SYSTEMS; MANUFACTURE OR STORAGE OF ICE; LIQUEFACTION SOLIDIFICATION OF GASES
    • F25BREFRIGERATION MACHINES, PLANTS OR SYSTEMS; COMBINED HEATING AND REFRIGERATION SYSTEMS; HEAT PUMP SYSTEMS
    • F25B9/00Compression machines, plants or systems, in which the refrigerant is air or other gas of low boiling point
    • F25B9/14Compression machines, plants or systems, in which the refrigerant is air or other gas of low boiling point characterised by the cycle used, e.g. Stirling cycle
    • FMECHANICAL ENGINEERING; LIGHTING; HEATING; WEAPONS; BLASTING
    • F25REFRIGERATION OR COOLING; COMBINED HEATING AND REFRIGERATION SYSTEMS; HEAT PUMP SYSTEMS; MANUFACTURE OR STORAGE OF ICE; LIQUEFACTION SOLIDIFICATION OF GASES
    • F25BREFRIGERATION MACHINES, PLANTS OR SYSTEMS; COMBINED HEATING AND REFRIGERATION SYSTEMS; HEAT PUMP SYSTEMS
    • F25B9/00Compression machines, plants or systems, in which the refrigerant is air or other gas of low boiling point

Definitions

  • the invention relates to a working according to a regenerative gas cycle process Heating and cooling machine with at least two pistons, the minimum three process rooms, each with at least one heat exchanger and at least one regenerator connected in series with this separate from each other.
  • the invention has for its object one after a regenerative gas cycle process to create working heating and cooling machine in which the Risk of freezing of the cold heat exchanger with design and control technology is simply eliminated in an energetically meaningful manner.
  • the solution to this problem by the invention is characterized in that that at least one of the cold process room assigned Regenerators to change the cold heat exchange circuit amount of heat transferred between process gas and environment with at least a bypass containing a control valve is provided.
  • the inventive formation of a bypass to at least one of the regenerators assigned to the cold heat exchanger is activated the bypass valve of icing on the air heat exchanger is limited in time opened so that the process gas in this bypassed bypass Regenerator no heat is removed and in this way the in the machine arranged cold heat exchangers through the from the warm process room amount of heat coming to a temperature above freezing is brought, with which the air heat exchanger is de-iced at the same time. Also in the event of a failure of the circulation pump in the one belonging to the cold heat exchanger In this way, the cycle becomes active even when the machine is running freezing of the cold heat exchanger avoided.
  • the bypass line is in Formed a through opening in the regenerator, the two Ends are closed during normal operation of the machine. This results in a dead space-free design of this regenerator.
  • bypass line is passed through closed a plunger, which is countered by an electromagnet Force of a return spring is movable.
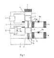
  • the heating and cooling machine shown schematically in Figure 1 includes a pressure-tight housing 1, in which a hot piston 2 and a cold piston 3 are arranged linearly movable.
  • the hot piston 2 limits a hot working volume 4, to which heat is supplied, for example by a gas-heated one Combustion chamber 5.
  • the cold piston 3 limits a cold working volume 6.
  • Both pistons 2 and 3 limit a warm working volume 7.
  • a gear 8 is provided, which is connected to the cold via a hollow piston rod 9 Piston 3 and another piston rod 10 with the hot piston 2 connected is.
  • a regenerator 11 or 12 is arranged.
  • the warm working volume 7 is also assigned a warm heat exchanger 14, which is connected in series with the regenerator 11 and as well this is flowed through by the process gas. From this warm heat exchanger 13 is heated in the closed circuit via a circulation pump 13a a heat exchanger designed as a heater 14, for example.
  • the cold working volume 6 is also in series with the regenerator 12 assigned cold heat exchanger 15 through which process gas flows, the one with an air heat exchanger 16 in a closed circuit is arranged.
  • a circulation pump 15a is located in this circuit.
  • the heating and cooling machine is the one assigned to the cold working volume 6
  • Regenerator 12 is provided with a bypass 17, in which a bypass valve 17a is arranged. In normal operation, this bypass valve 17a is closed, see above that the bypass 17 has no effect on the after a regenerative gas cycle process working heating and cooling machine.
  • the bypass valve is also to be eliminated if the circulation pump 15a fails 17a opened at least for a limited time.
  • the process gas is due the lower flow resistance, the regenerator 12 through the Bypass bypass 17 so that the process gas in the regenerator 12 no heat is withdrawn. Since the cold heat exchanger 15 is connected in series to the regenerator 12 is switched, the cold heat exchanger 15 by the from the warm Working volume 7 coming amount of heat at a temperature above the Freezing point brought or held.
  • FIG. 2 shows an embodiment of the regenerator 12 in one Longitudinal section.
  • the regenerator 12 stands with the cold working volume 6 of the machine via an annular channel 18 and is in series switched to the cold heat exchanger 15, part of which is also in Figure 2 is shown.
  • the part of the regenerator 12 shown in FIG. 2 is further provided with a through hole 12a through a plunger 19 is closable. In the closed position, the plunger 19 fills the through opening 12a of regenerator 12 acting as a bypass, see above that there is no dead space in the normal operation of the machine due to the bypass.

Landscapes

  • Engineering & Computer Science (AREA)
  • Physics & Mathematics (AREA)
  • Mechanical Engineering (AREA)
  • Thermal Sciences (AREA)
  • General Engineering & Computer Science (AREA)
  • Sorption Type Refrigeration Machines (AREA)
  • Fluid-Pressure Circuits (AREA)
  • Engine Equipment That Uses Special Cycles (AREA)
  • Devices That Are Associated With Refrigeration Equipment (AREA)
  • Compressor (AREA)
  • Compressors, Vaccum Pumps And Other Relevant Systems (AREA)

Description

Die Erfindung betrifft eine nach einem regenerativen Gaskreisprozeß arbeitende Wärme- und Kältemaschine mit mindestens zwei Kolben, die mindestens drei Prozeßräume unter Zwischenschaltung jeweils mindestens eines Wärmetauschers und mindestens eines mit diesem in Reihe geschalteten Regenerators voneinander trennen.
Nach einem regenerativen Gaskreisprozeß, beispielsweise nach dem Stirling- oder Vuilleumier-Kreisprozeß arbeitende Wärme- und Kältemaschinen sind seit langer Zeit bekannt, beispielsweise aus der GB-PS 136 195. Derartige Maschinen haben zwei in einem druckdichten Gehäuse linear bewegliche Kolben, die gemeinsam ein warmes Arbeitsvolumen begrenzen und von denen der eine Kolben im Gehäuse ein heißes, mit Wärme beaufschlagtes Arbeitsvolumen und der andere Kolben ein kaltes Arbeitsvolumen begrenzt, wobei die drei Arbeitsvolumina unter Zwischenschaltung von Regeneratoren und Wärmeübertragern miteinander verbunden sind und ein Antrieb und/oder eine Steuerung für die Kolben vorgesehen ist.
Trotz der unbestreitbaren Vorteile der nach einem regenerativen Gaskreisprozeß arbeitenden Wärme- und Kältemaschinen haben diese bisher keinen Eingang in die Praxis gefunden, und zwar hauptsächlich wegen konstruktiver Schwierigkeiten, die die Realisierung der theoretischen Vorteile derartiger Maschinen in der Praxis bisher verhinderten.
Bei den nach einem regenerativen Gaskreisprozeß arbeitenden Wärme- und Kältemaschinen, die für die Heizung und Klimatisierung von Gebäuden und Fahrzeugen eingesetzt und mit einem von der atmosphärischen Luft beaufschlagten, als Wärmequelle betriebenen Wärmeübertrager ausgestattet sind, besteht die Gefahr, daß bei Lufttemperaturen um den Gefrierpunkt und bei hoher Luftfeuchtigkeit der Luftwärmetauscher einfriert. In diesem Fall erfolgt durch den weiteren Betrieb der Maschine auch ein Einfrieren des kalten Wärmetauschers der Maschine. Diese Einfriergefahr besteht auch dann, wenn Störungen im kalten Kreislauf der Maschine auftreten, zum Beispiel durch Ausfall der Umwälzpumpe.
Um diese Gefahr zu beseitigen, ist es bekannt, den Luftwärmetauscher abzutauen bzw. vor dem Einfrieren zu beheizen. Dies erfordert aufwendige Heizeinrichtungen, die nicht nur energetisch unerwünscht sind, sondern auch aufwendige Steuerungen erfordern, die normalerweise auch ein Abschalten der gesamten Maschine bewirken.
Der Erfindung liegt die Aufgabe zugrunde, eine nach einem regenerativen Gaskreisprozeß arbeitende Wärme- und Kältemaschine zu schaffen, bei der die Einfriergefahr des kalten Wärmetauschers mit konstruktiv und regeltechnisch einfachen Mitteln auf energetisch sinnvolle Weise beseitigt wird.
Die Lösung dieser Aufgabenstellung durch die Erfindung ist dadurch gekennzeichnet, daß mindestens einer der dem kalten Prozeßraum zugeordneten Regeneratoren zur Veränderung der über den kalten Wärmetauscherkreislauf zwischen Prozeßgas und Umgebung übertragenen Wärmemenge mit mindestens einem ein Steuerventil enthaltenen Bypass versehen ist.
Durch die erfindungsgemäße Ausbildung eines Bypasses zu mindestens einem der dem kalten Wärmetauscher zugeordneten Regeneratoren wird beim Auftreten von Vereisungen am Luftwärmetauscher das Bypassventil zeitlich begrenzt geöffnet, so daß dem Prozeßgas in diesem durch den Bypass umgangenen Regenerator keine Wärme entzogen und auf diese Weise der in der Maschine angeordnete kalte Wärmetauscher durch die aus dem warmen Prozeßraum kommende Wärmemenge auf eine Temperatur oberhalb des Gefrierpunktes gebracht wird, womit zugleich der Luftwärmetauscher enteist wird. Auch bei einem Ausfall der Umwälzpumpe in dem zum kalten Wärmetauscher gehörenden Kreislauf wird auf diese Weise selbst bei weiterlaufender Maschine ein Einfrieren des kalten Wärmetauschers vermieden.
Bei einer bevorzugten Ausführungsform der Erfindung ist die Bypassleitung in Form einer Durchgangsöffnung im Regenerator ausgebildet, die an beiden Enden im Normalbetrieb der Maschine verschlossen ist. Hierdurch ergibt sich eine totraumfreie Ausgestaltung dieses Regenerators.
Gemäß einem weiteren Merkmal der Erfindung wird die Bypassleitung durch einen Tauchkolben verschlossen, der über einen Elektromagnet entgegen der Kraft einer Rückzugsfeder bewegbar ist. Diese erfindungsgemäße Weiterbildung ergibt eine besonders einfache und funktionssichere Konstruktion mit geringem Raumbedarf.
Auf der Zeichnung ist außer einem schematischen Ausführungsbeispiel einer nach einem regenerativen Gaskreisprozeß arbeitenden Wärme- und Kältemaschine eine konstruktive Ausführungsmöglichkeit der Erfindung dargestellt und zwar zeigen:
Figur 1
eine schematische Darstellung einer Wärme- und Kältemaschine und
Figur 2
einen Längsschnitt durch ein Ausführungsbeispiel eines mit einem Bypass versehenden Regenerators
Die in Figur 1 schematisch dargestellte Wärme- und Kältemaschine umfaßt ein druckdichtes Gehäuse 1, in dem ein heißer Kolben 2 und ein kalter Kolben 3 linear beweglich angeordnet sind. Der heiße Kolben 2 begrenzt ein heißes Arbeitsvolumen 4, dem Wärme zugeführt wird, beispielsweise durch eine gasbeheizte Brennkammer 5. Der kalte Kolben 3 begrenzt ein kaltes Arbeitsvolumen 6. Beide Kolben 2 und 3 begrenzen ein warmes Arbeitsvolumen 7. Für die synchronisierte Bewegung der Kolben 2 und 3 ist beim Ausführungsbeispiel ein Getriebe 8 vorgesehen, das über eine hohle Kolbenstange 9 mit dem kalten Kolben 3 und über eine weitere Kolbenstange 10 mit dem heißen Kolben 2 verbunden ist.
Sowohl zwischen dem heißen Arbeitsvolumen 4 und dem warmen Arbeitsvolumen 7 als auch zwischen dem warmen Arbeitsvolumen 7 und dem kalten Arbeitsvolumen 6 ist jeweils ein Regenerator 11 bzw. 12 angeordnet. Dem warmen Arbeitsvolumen 7 ist weiterhin ein warmer Wärmetauscher 14 zugeordnet, der mit dem Regenerator 11 in Reihe geschaltet ist und ebenso wie dieser vom Prozeßgas durchströmt wird. Aus diesem warmen Wärmetauscher 13 wird im geschlossenen Kreislauf über eine Umwälzpumpe 13a Wärme an einen beispielsweise als Heizung 14 ausgebildeten Wärmetauscher abgegeben.
Auch dem kalten Arbeitsvolumen 6 ist ein mit dem Regenerator 12 in Reihe geschalteter, von Prozeßgas durchströmter kalter Wärmetauscher 15 zugeordnet, der mit einem Luftwärmetauscher 16 in einem geschlossenen Kreislauf angeordnet ist. In diesem Kreislauf befindet sich eine Umwälzpumpe 15a.
Bei dem in Figur 1 schematisch dargestellten Ausführungsbeispiel einer Wärme- und Kältemaschine ist der dem kalten Arbeitsvolumen 6 zugeordnete Regenerator 12 mit einem Bypass 17 versehen, in dem ein Bypassventil 17a angeordnet ist. Im Normalbetrieb ist dieses Bypassventil 17a geschlossen, so daß der Bypass 17 keinen Einfluß auf die nach einem regenerativen Gaskreisprozeß arbeitende Wärme- und Kältemaschine hat.
Da der Luftwärmetauscher 16 der atmosphärischen Luft Wärme entzieht, besteht die Gefahr, daß bei Lufttemperaturen um den Gefrierpunkt und bei hoher Luftfeuchtigkeit dieser Luftwärmetauscher 16 einfriert. In diesem Fall würde bei einem weiteren Betrieb der Maschine auch der kalte Wärmetauscher 15 in der Maschine einfrieren. Hierdurch würde nicht nur der Gaskreisprozeß beeinträchtigt, sondern eine derart starke Absenkung der Temperatur im kalten Arbeitsvolumen 7 auftreten, so daß die Gefahr einer Zerstörung der Maschine besteht. Diese Gefahr entsteht auch dann, wenn beispielsweise durch eine Störung der Umwälzpumpe 1 5a der Wärmeaustausch im kalten Wärmetauscher 15 behindert wird.
Um diese Einfriergefahr des Luftwärmetauschers 16 und damit des kalten Wärmetauschers 15 nicht nur bei Lufttemperaturen um den Gefrierpunkt, sondern auch beim Ausfall der Umwälzpumpe 15a zu beseitigen, wird das Bypassventil 17a zumindest zeitlich begrenzt geöffnet. Das Prozeßgas wird aufgrund des geringeren Strömungswiderstandes den Regenerator 12 durch den Bypass 17 umgehen, so daß dem Prozeßgas im Regenerator 12 keine Wärme entzogen wird. Da der kalte Wärmetauscher 15 in Reihe zum Regenerator 12 geschaltet ist, wird der kalte Wärmetauscher 15 durch die aus dem warmen Arbeitsvolumen 7 kommende Wärmemenge auf einer Temperatur oberhalb des Gefrierpunktes gebracht bzw. gehalten.
Hierdurch wird beim Auftreten von Vereisungen des Luftwärmetauschers 16 dieser abgetaut bzw. vor dem Einfrieren geschützt, vorausgesetzt daß die Umwälzpumpe 15a arbeitet. Sollte die Umwälzpumpe 15a ausfallen, wodurch zugleich eine Unterkühlung des Luftwärmetauschers 16 unterbleibt, sorgt die aus dem warmen Arbeitsraum 7 kommende Wärme dafür, daß bei einer trotz Ausfalls der Umwälzpumpe 15a weiterbetriebenen Maschine keine Unterkühlung des kalten Wärmetauschers 15 stattfindet, die zu einer Zerstörung der Maschine führen würde.
Die Figur 2 zeigt ein Ausführungsbeispiel des Regenerators 12 in einem Längsschnitt.
Auf der Zeichnung ist ein Teil des Gehäuses 1 und des kalten Kolbens 3 der Maschine zu erkennen. Der Regenerator 12 steht mit dem kalten Arbeitsvolumen 6 der Maschine über einen Ringkanal 18 in Verbindung und ist in Reihe mit dem kalten Wärmetauscher 15 geschaltet, von dem ebenfalls ein Teil in Figur 2 dargestellt ist. Der in Figur 2 gezeigte Teil des Regenerators 12 ist weiterhin mit einer Durchgangsöffnung 12a versehen, die durch einen Tauchkolben 19 verschließbar ist. In der Schließstellung füllt der Tauchkolben 19 die als Bypass wirkende Durchgangsöffnung 12a des Regenerators 12 aus, so daß sich durch den Bypass kein Totraum im Normalbetrieb der Maschine ergibt.
Der in Verbindung mit der Durchgangsöffnung 12a das Bypassventil bildende Tauchkolben 19 kann aus seiner in Figur 2 dargestellten Schließstellung entgegen der Kraft einer Rückstellfeder 21 durch einen Elektromagneten 20 herausbewegt werden. Diese Freigabestellung und damit die Öffnung des Bypasses ist gestrichelt in Figur 2 eingezeichnet. In dieser gestrichelten Stellung wird das Prozeßgas im wesentlichen unter Umgehung des Regenerators 12 dessen Durchgangsöffnung 12a durchströmen, um auf diese Weise ein Einfrieren des kalten Wärmetauschers 15 und damit des in Figur 2 nicht dargestellten Luftwärmetauschers 16 zu verhindern.
Bezugszeichenliste:
1
Gehäuse
2
heißer Kolben
3
kalter Kolben
4
heißes Arbeitsvolumen
5
Brennkammer
6
kaltes Arbeitsvolumen
7
warmes Arbeitsvolumen
8
Getriebe
9
hohle Kolbenstange
10
Kolbenstange
11
Regenerator
12
Regenerator
12a
Durchgangsöffnung
13
warmer Wärmetauscher
13a
Umwälzpumpe
14
Heizung
15
kalter Wärmetauscher
15a
Umwälzpumpe
16
Luftwärmetauscher
17
Bypass
17a
Bypassventil
18
Ringkanal
19
Tauchkolben
20
Elektromagnet
21
Rückstellfeder

Claims (3)

  1. Nach einem regenerativen Gaskreisprozeß arbeitende Wärme- und Kältemaschine mit mindestens zwei Kolben (2, 3), die mindestens drei Prozeßräume (4, 6, 7) unter Zwischenschaltung jeweils mindestens eines Wärmetauschers (13, 15) und mindestens eines mit diesen in Reihe geschalteten Regenerators (11, 12) voneinander trennen,
    dadurch gekennzeichnet,
    daß mindestens einer der dem kalten Prozeßraum (6) zugeordneten Regeneratoren (12) zur Veränderung der über den kalten Wärmetauscherkreislauf zwischen Prozeßgas und Umgebung übertragenen Wärmemenge mit mindestens einem ein Steuerventil (17a) enthaltenden Bypass (17) versehen ist.
  2. Wärme- und Kältemaschine nach Anspruch 1, dadurch gekennzeichnet, daß die Bypassleitung (17) in Form einer Durchgangsöffnung (12a) im Regenerator (12) ausgebildet ist, die an beiden Enden im Normalbetrieb der Maschine verschlossen ist.
  3. Wärme- und Kältemaschine nach Anspruch 1 oder 2, dadurch gekennzeichnet, daß die Bypassleitung (17) durch einen Tauchkolben (19) verschließbar ist, der über einen Elektromagnet (20) entgegen der Kraft einer Rückstellfeder (21) bewegbar ist.
EP96900320A 1995-01-25 1996-01-13 Wärme- und kältemaschine Expired - Lifetime EP0805941B1 (de)

Applications Claiming Priority (3)

Application Number Priority Date Filing Date Title
DE19502190 1995-01-25
DE19502190A DE19502190C2 (de) 1995-01-25 1995-01-25 Wärme- und Kältemaschine
PCT/EP1996/000134 WO1996023182A1 (de) 1995-01-25 1996-01-13 Wärme- und kältemaschine

Publications (2)

Publication Number Publication Date
EP0805941A1 EP0805941A1 (de) 1997-11-12
EP0805941B1 true EP0805941B1 (de) 1999-11-03

Family

ID=7752259

Family Applications (1)

Application Number Title Priority Date Filing Date
EP96900320A Expired - Lifetime EP0805941B1 (de) 1995-01-25 1996-01-13 Wärme- und kältemaschine

Country Status (8)

Country Link
US (1) US6029449A (de)
EP (1) EP0805941B1 (de)
JP (1) JPH11503511A (de)
KR (1) KR19980701775A (de)
AT (1) ATE186391T1 (de)
DE (2) DE19502190C2 (de)
ES (1) ES2139327T3 (de)
WO (1) WO1996023182A1 (de)

Families Citing this family (6)

* Cited by examiner, † Cited by third party
Publication number Priority date Publication date Assignee Title
DE19746838A1 (de) * 1997-10-23 1999-04-29 Bosch Gmbh Robert Verfahren und Vorrichtung zum Betreiben einer nach einem regenerativen Gaskreisprozeß arbeitenden Wärme- und Kältemaschine
JPH11193967A (ja) * 1997-12-26 1999-07-21 Zexel:Kk 冷凍サイクル
KR20070012305A (ko) * 2003-07-01 2007-01-25 티악스 엘엘씨 외연엔진에 사용되는 레큐퍼레이터 및 연소기, 및 이것을사용한 동력발생 시스템
DE102008009782A1 (de) * 2008-02-19 2009-08-27 BSH Bosch und Siemens Hausgeräte GmbH Hausgerät zum Trocknen eines feuchten Gutes mit einer Kühlanordnung und einer Heizanordnung
DE102009023968A1 (de) * 2009-06-05 2010-12-09 Danfoss Compressors Gmbh Verdrängereinheit einer Stirling-Kühleinrichtung und Stirling-Kühleinrichtung
DE112015000894T5 (de) * 2014-02-22 2016-11-24 Thermolift Inc. Thermisch betriebene Wärmepumpe mit einem zwischen Verdrängungskörpern angeordneten Wärmetauscher

Family Cites Families (6)

* Cited by examiner, † Cited by third party
Publication number Priority date Publication date Assignee Title
US1275507A (en) * 1917-01-29 1918-08-13 Rudolph Vuilleumier Method and apparatus for inducing heat changes.
NL7000001A (de) * 1970-01-02 1971-07-06
DE2156773C3 (de) * 1971-11-16 1974-09-19 Motoren Werke Mannheim Ag Verfahren zur lastabhängigen Regelung der Leistung eines doppeltwirkenden Heißgasmotors
DE3536710A1 (de) * 1985-10-15 1987-04-23 Schneider Christian Dipl Ing Waermewandler und verfahren zu seinem betrieb
US5400599A (en) * 1991-12-09 1995-03-28 Sanyo Electric Co., Ltd. Hot gas machine
JPH06101922A (ja) * 1992-09-17 1994-04-12 Daikin Ind Ltd ビルマイヤヒートポンプ装置

Also Published As

Publication number Publication date
EP0805941A1 (de) 1997-11-12
DE19502190A1 (de) 1996-08-01
WO1996023182A1 (de) 1996-08-01
JPH11503511A (ja) 1999-03-26
ES2139327T3 (es) 2000-02-01
US6029449A (en) 2000-02-29
DE59603564D1 (de) 1999-12-09
KR19980701775A (ko) 1998-06-25
ATE186391T1 (de) 1999-11-15
DE19502190C2 (de) 1998-03-19

Similar Documents

Publication Publication Date Title
EP0945291B1 (de) Vorrichtung und Verfahren zum Heizen und Kühlen eines Nutzraumes eines Kraftfahrzeuges
DE10123830A1 (de) Klimaanlage
DE60018751T2 (de) Kühlschrank oder gefrierschrank mit luftstromregelung
EP0216237A2 (de) Diskontinuierlich arbeitende Sorptions-Speichervorrichtung mit Feststoffabsorber
DE3907859C2 (de) Luftgekühltes Kälteaggregat mit einem Kühlmittelkreislauf
DE102014106725A1 (de) Antriebsstrangkühlsystem mit kühl- und heizmodi für wärmetauscher
EP0805941B1 (de) Wärme- und kältemaschine
EP2321592B1 (de) Wärmepumpe oder kältemaschine und verfahren zum betreiben einer wärmepumpe oder kältemaschine
DE2826430A1 (de) Fahrgastraumheiz- und -klimatisiersystem fuer kraftfahrzeuge mit einem motorkuehlsystem mit niedriger kuehlmitteltemperatur
DE10313850B4 (de) Kältemittelkreislauf mit zweistufiger Verdichtung für einen kombinierten Kälteanlagen- und Wärmepumpenbetrieb, insbesondere für Kraftfahrzeuge
DE2923621A1 (de) Thermischer antrieb
DE3313371A1 (de) Tieftemperatur-kaeltemaschine
DE69120376T2 (de) Kühlsystem
DE69611717T2 (de) Vuillermier Freikolbenmaschine
WO2003064194A1 (de) Klimaanlage
EP2212627A1 (de) Kältemaschine
DE102019105505B4 (de) Kühlmittelkreislauf in einem Fahrzeug
DE19913154A1 (de) Taumelscheiben-Stirlingkühler
DE1501098A1 (de) Anlage zum Erzeugen von Kaelte bei niedrigen Temperaturen und zur Anwendung in dieser Anlage gut geeignete Kaltgas-Kuehlmaschine
DE2422150C3 (de) Heißgaskolbenmaschine mit einer Vorrichtung zur Regelung der Gewichtsmenge des in einem Arbeitsraum vorhandenen Arbeitsmediums
DE1751420A1 (de) Kombinierter Kuehlschrank
DE102018002120A1 (de) Einrichtung zum Temperieren von durch Filtern gereinigten flüssigen Mediums
DE2309337C3 (de) Anfahrregelung für Kaltdampfkältemaschinen
DE1002568B (de) Heissluftmaschine
DE10163865A1 (de) Kaltfinger eines Stirling-Kühlers

Legal Events

Date Code Title Description
PUAI Public reference made under article 153(3) epc to a published international application that has entered the european phase

Free format text: ORIGINAL CODE: 0009012

17P Request for examination filed

Effective date: 19970825

AK Designated contracting states

Kind code of ref document: A1

Designated state(s): AT CH DE ES FR GB IT LI NL

GRAG Despatch of communication of intention to grant

Free format text: ORIGINAL CODE: EPIDOS AGRA

17Q First examination report despatched

Effective date: 19990129

GRAG Despatch of communication of intention to grant

Free format text: ORIGINAL CODE: EPIDOS AGRA

GRAH Despatch of communication of intention to grant a patent

Free format text: ORIGINAL CODE: EPIDOS IGRA

GRAH Despatch of communication of intention to grant a patent

Free format text: ORIGINAL CODE: EPIDOS IGRA

GRAA (expected) grant

Free format text: ORIGINAL CODE: 0009210

AK Designated contracting states

Kind code of ref document: B1

Designated state(s): AT CH DE ES FR GB IT LI NL

REF Corresponds to:

Ref document number: 186391

Country of ref document: AT

Date of ref document: 19991115

Kind code of ref document: T

REG Reference to a national code

Ref country code: CH

Ref legal event code: NV

Representative=s name: SCINTILLA AG, DIREKTION

Ref country code: CH

Ref legal event code: EP

REF Corresponds to:

Ref document number: 59603564

Country of ref document: DE

Date of ref document: 19991209

ET Fr: translation filed
ITF It: translation for a ep patent filed
REG Reference to a national code

Ref country code: ES

Ref legal event code: FG2A

Ref document number: 2139327

Country of ref document: ES

Kind code of ref document: T3

GBT Gb: translation of ep patent filed (gb section 77(6)(a)/1977)

Effective date: 20000113

PLBE No opposition filed within time limit

Free format text: ORIGINAL CODE: 0009261

STAA Information on the status of an ep patent application or granted ep patent

Free format text: STATUS: NO OPPOSITION FILED WITHIN TIME LIMIT

26N No opposition filed
REG Reference to a national code

Ref country code: GB

Ref legal event code: IF02

PGFP Annual fee paid to national office [announced via postgrant information from national office to epo]

Ref country code: FR

Payment date: 20030117

Year of fee payment: 8

PGFP Annual fee paid to national office [announced via postgrant information from national office to epo]

Ref country code: NL

Payment date: 20030121

Year of fee payment: 8

Ref country code: AT

Payment date: 20030121

Year of fee payment: 8

PGFP Annual fee paid to national office [announced via postgrant information from national office to epo]

Ref country code: ES

Payment date: 20030123

Year of fee payment: 8

PGFP Annual fee paid to national office [announced via postgrant information from national office to epo]

Ref country code: CH

Payment date: 20030124

Year of fee payment: 8

PGFP Annual fee paid to national office [announced via postgrant information from national office to epo]

Ref country code: DE

Payment date: 20030225

Year of fee payment: 8

PGFP Annual fee paid to national office [announced via postgrant information from national office to epo]

Ref country code: GB

Payment date: 20031231

Year of fee payment: 9

PG25 Lapsed in a contracting state [announced via postgrant information from national office to epo]

Ref country code: AT

Free format text: LAPSE BECAUSE OF NON-PAYMENT OF DUE FEES

Effective date: 20040113

PG25 Lapsed in a contracting state [announced via postgrant information from national office to epo]

Ref country code: ES

Free format text: LAPSE BECAUSE OF NON-PAYMENT OF DUE FEES

Effective date: 20040114

PG25 Lapsed in a contracting state [announced via postgrant information from national office to epo]

Ref country code: LI

Free format text: LAPSE BECAUSE OF NON-PAYMENT OF DUE FEES

Effective date: 20040131

Ref country code: CH

Free format text: LAPSE BECAUSE OF NON-PAYMENT OF DUE FEES

Effective date: 20040131

PG25 Lapsed in a contracting state [announced via postgrant information from national office to epo]

Ref country code: NL

Free format text: LAPSE BECAUSE OF NON-PAYMENT OF DUE FEES

Effective date: 20040801

PG25 Lapsed in a contracting state [announced via postgrant information from national office to epo]

Ref country code: DE

Free format text: LAPSE BECAUSE OF NON-PAYMENT OF DUE FEES

Effective date: 20040803

REG Reference to a national code

Ref country code: CH

Ref legal event code: PL

PG25 Lapsed in a contracting state [announced via postgrant information from national office to epo]

Ref country code: FR

Free format text: LAPSE BECAUSE OF NON-PAYMENT OF DUE FEES

Effective date: 20040930

NLV4 Nl: lapsed or anulled due to non-payment of the annual fee

Effective date: 20040801

REG Reference to a national code

Ref country code: FR

Ref legal event code: ST

PG25 Lapsed in a contracting state [announced via postgrant information from national office to epo]

Ref country code: IT

Free format text: LAPSE BECAUSE OF NON-PAYMENT OF DUE FEES

Effective date: 20050113

Ref country code: GB

Free format text: LAPSE BECAUSE OF NON-PAYMENT OF DUE FEES

Effective date: 20050113

REG Reference to a national code

Ref country code: ES

Ref legal event code: FD2A

Effective date: 20040114

GBPC Gb: european patent ceased through non-payment of renewal fee

Effective date: 20050113