EP0777829B1 - Elektrohydraulische steuereinrichtung für einen doppeltwirkenden verbraucher - Google Patents

Elektrohydraulische steuereinrichtung für einen doppeltwirkenden verbraucher Download PDF

Info

Publication number
EP0777829B1
EP0777829B1 EP96902898A EP96902898A EP0777829B1 EP 0777829 B1 EP0777829 B1 EP 0777829B1 EP 96902898 A EP96902898 A EP 96902898A EP 96902898 A EP96902898 A EP 96902898A EP 0777829 B1 EP0777829 B1 EP 0777829B1
Authority
EP
European Patent Office
Prior art keywords
valve
port
pressure
chamber
control device
Prior art date
Legal status (The legal status is an assumption and is not a legal conclusion. Google has not performed a legal analysis and makes no representation as to the accuracy of the status listed.)
Expired - Lifetime
Application number
EP96902898A
Other languages
English (en)
French (fr)
Other versions
EP0777829A1 (de
Inventor
Hartmut Sandau
Current Assignee (The listed assignees may be inaccurate. Google has not performed a legal analysis and makes no representation or warranty as to the accuracy of the list.)
Robert Bosch GmbH
Original Assignee
Robert Bosch GmbH
Priority date (The priority date is an assumption and is not a legal conclusion. Google has not performed a legal analysis and makes no representation as to the accuracy of the date listed.)
Filing date
Publication date
Application filed by Robert Bosch GmbH filed Critical Robert Bosch GmbH
Priority claimed from US08/796,921 external-priority patent/US5799485A/en
Publication of EP0777829A1 publication Critical patent/EP0777829A1/de
Application granted granted Critical
Publication of EP0777829B1 publication Critical patent/EP0777829B1/de
Anticipated expiration legal-status Critical
Expired - Lifetime legal-status Critical Current

Links

Images

Classifications

    • FMECHANICAL ENGINEERING; LIGHTING; HEATING; WEAPONS; BLASTING
    • F15FLUID-PRESSURE ACTUATORS; HYDRAULICS OR PNEUMATICS IN GENERAL
    • F15BSYSTEMS ACTING BY MEANS OF FLUIDS IN GENERAL; FLUID-PRESSURE ACTUATORS, e.g. SERVOMOTORS; DETAILS OF FLUID-PRESSURE SYSTEMS, NOT OTHERWISE PROVIDED FOR
    • F15B13/00Details of servomotor systems ; Valves for servomotor systems
    • F15B13/02Fluid distribution or supply devices characterised by their adaptation to the control of servomotors
    • F15B13/04Fluid distribution or supply devices characterised by their adaptation to the control of servomotors for use with a single servomotor
    • F15B13/0401Valve members; Fluid interconnections therefor
    • F15B13/0402Valve members; Fluid interconnections therefor for linearly sliding valves, e.g. spool valves
    • FMECHANICAL ENGINEERING; LIGHTING; HEATING; WEAPONS; BLASTING
    • F15FLUID-PRESSURE ACTUATORS; HYDRAULICS OR PNEUMATICS IN GENERAL
    • F15BSYSTEMS ACTING BY MEANS OF FLUIDS IN GENERAL; FLUID-PRESSURE ACTUATORS, e.g. SERVOMOTORS; DETAILS OF FLUID-PRESSURE SYSTEMS, NOT OTHERWISE PROVIDED FOR
    • F15B13/00Details of servomotor systems ; Valves for servomotor systems
    • F15B13/02Fluid distribution or supply devices characterised by their adaptation to the control of servomotors
    • F15B13/04Fluid distribution or supply devices characterised by their adaptation to the control of servomotors for use with a single servomotor
    • F15B13/0401Valve members; Fluid interconnections therefor
    • F15B13/0405Valve members; Fluid interconnections therefor for seat valves, i.e. poppet valves
    • FMECHANICAL ENGINEERING; LIGHTING; HEATING; WEAPONS; BLASTING
    • F15FLUID-PRESSURE ACTUATORS; HYDRAULICS OR PNEUMATICS IN GENERAL
    • F15BSYSTEMS ACTING BY MEANS OF FLUIDS IN GENERAL; FLUID-PRESSURE ACTUATORS, e.g. SERVOMOTORS; DETAILS OF FLUID-PRESSURE SYSTEMS, NOT OTHERWISE PROVIDED FOR
    • F15B13/00Details of servomotor systems ; Valves for servomotor systems
    • F15B13/02Fluid distribution or supply devices characterised by their adaptation to the control of servomotors
    • F15B13/04Fluid distribution or supply devices characterised by their adaptation to the control of servomotors for use with a single servomotor
    • F15B13/042Fluid distribution or supply devices characterised by their adaptation to the control of servomotors for use with a single servomotor operated by fluid pressure
    • F15B13/043Fluid distribution or supply devices characterised by their adaptation to the control of servomotors for use with a single servomotor operated by fluid pressure with electrically-controlled pilot valves
    • F15B13/0433Fluid distribution or supply devices characterised by their adaptation to the control of servomotors for use with a single servomotor operated by fluid pressure with electrically-controlled pilot valves the pilot valves being pressure control valves

Definitions

  • the housing according to the Claims 15 or 17 is executed so that the necessary valve seats for the main valve elements in the Housing can be produced inexpensively.
  • each solenoid valve 12 has a feed port 19 designated P, the both are connected to a variable displacement pump 21, which it is supplied with pressure medium.
  • Each solenoid valve also has 12, 13 a return port 22 designated R, which too are relieved of a tank 23.
  • each Solenoid valve 12, 13 a first designated A. Motor connection 24, and a second designated B Motor connection 25.
  • the inlet port 19 is hydraulically locked, the first Motor port 24 connected to the return port 22 and the second motor connection 25 by a seat valve function 26 of the solenoid valve 12, 13 secured.
  • deflection in Working position 18 is the inlet connection 19 with the first Motor connector 24 connected while the second motor connector 25 to the return port 22 is relieved, this Connections are continuously controllable.
  • first Motor connection 24 on the first solenoid valve 12 leads from the first motor connection 24 on the first solenoid valve 12 to a first working channel 27 a first consumer connection 28, in which Working channel 27 is a hydraulically controllable, first Check valve 29 is switched.
  • the check valve 29 is there formed as a controlled check valve, the Inlet 31 communicates with the first engine port 24 stands, during its outlet 32 to the first Consumer port 28 has connection while a Control connection 33 via a first control line 34 with pressure is acted upon.
  • From the second motor connection 25 of the first Solenoid valve 12 passes under a first sink channel 35 Bypassing the check valves to a second Consumer connection 36.
  • the solenoid valve 12 has a housing 50 a continuous, multiple offset slide bore 51st on, in the side by side by annular extensions an inlet chamber 52, a first motor chamber 53, a Return chamber 54, an intermediate chamber 55 and a second Motor chamber 56 are formed. These chambers are in correspondingly with the assigned inlet connection 19, (P) the first motor port 24 (A), the return port 22 (R) and the second motor connection 25 (B) in connection.
  • this slide bore 51 is a main control member 57 performed, which has a pilot element 58 in its interior receives the armature 70 of the proportional magnet 14 can be actuated against the force of the spring 16.
  • Main control element 57 and pilot control element 58 operate in accordance with Art a sequence control together, both control elements 57, 58 for securely sealing the second motor chamber 56 with Seat valve functions work.
  • the main control member 57 has for this purpose at its end facing away from the magnet 14 a main valve cone 59, which with a housing-fixed Seat 60 between the second motor chamber 56 and the Intermediate chamber 55 cooperates.
  • the main control member 57 delimits one with its main valve cone 59 at the end Pressure space 61, whereby a first circular pressure surface 62nd is formed, which is the main control member 57 towards it Starting position 17 loaded.
  • the Main valve cone 59 is formed so that it is one of the pressure in the second motor chamber 56 acted on the first Differential surface 63 forms which the main control element 57 in Direction of opening applied.
  • the connection of the second motor chamber 56 via the intermediate chamber 55 for Return chamber 54 becomes downstream of the main valve plug 59 through a first piston section 64 with fine control chamfers 65 controlled.
  • the main control member 57 is at a distance from it first piston section 64 in the area of the first engine chamber 53, a second piston section 66 is formed, which with a second control edge 67 and associated fine control grooves 68 the connection from the inlet chamber 52 to the first Motor chamber 53 controls.
  • the end facing the magnet 14 of the main control member 57 is formed so that it is one of the Pressure in the inlet port 19 acted upon second Differential surface 69 forms which when pressurized together with the first pressure surface 63 the main control member 57 loaded in the opening direction.
  • the second piston section 66 On the main control element 57 the second piston section 66 has a third control edge 71, which in the illustrated starting position 17 connects the first motor chamber 53 to the return chamber 54.
  • the pilot element 58 has to control the control oil flow from the pressure chamber 61 to the return chamber 54 a Fine control slider edge 72 and a die secure sealing assuming pilot cone 73 on the are connected in series in the control oil flow.
  • the Pilot element 58 is pressure-balanced and is executed of the spring 16 which is fixed to the housing in the direction Starting position 17 loaded, with it Pilot cone 73 on the associated valve seat in Main control member 57 supports.
  • the pressure chamber 61 can alternately pressurized; the pressure in the inlet chamber 52 can via a longitudinal bore 74 and a fixed check valve 75 with inlet throttle 79 get into the pressure chamber 61.
  • the main valve cone 59 is thereby the pressure prevailing in the pressure chamber 61 on the associated one Valve seat 60 pressed because the higher of those in the second Motor chamber 56 or prevailing in the inlet chamber 52 Press through the check valves 76 and 75 in the Can reach pressure chamber 61 and there the large printing area 62nd acted upon.
  • the closing force on the main control member 57 is definitely greater than the opening forces, that of the pressure in the second motor connection 25 to the first Differential area 63 and / or the pressure in the inlet chamber 52 can be exerted on the second difference surface 69.
  • the pressure chamber 61 is at the pilot control cone 73 Pilot element 58 securely sealed.
  • the pilot element 58 itself is supported by the spring 16 which is fixed to the housing to an assigned valve seat in the main control element 57 pressed.
  • the control device 10 can thus in a manner known per se as an LS system work.
  • pilot member 58 is pressure balanced for this purpose executed and is shown in Figure 2 by the anchor 59 of Proportional magnets 14 only against the force of the spring 16 into its working position 18, that is to the left in FIG. 2, deflected.
  • the pilot cone 73 opens the Connection from the pressure chamber 61 via the pilot member 58 and the cross bores 77 to the return chamber 54.
  • Pilot cone 73 takes over the tight barrier, which ensures Slider edge 72 on pilot element 58 for fine control this control oil flow, in order to reduce the pressure in the pressure chamber 61 to control continuously. If this control oil connection over the Slider edge 72 and the pilot cone 73 opened, see above the pressure in the pressure chamber 61 drops and thus also the pressure closing force on the main control element 57.
  • the on the first differential area 63 acting load pressure in the second Motor chamber 56 and that on the second differential surface 69 acting inlet pressure in the inlet chamber 52 move that Main control element 57 in Figure 2 to the left, the Main control element 57 in a manner known per se according to the type of Sequence control follows the pilot control element 58.
  • the two small check valves 75 and 76 each in Row with two assigned inlet throttles 79, the higher pressure for driving the main control member 57 selected.
  • This is either the pump pressure in the Inlet chamber 52 or the load pressure in the second Motor chamber 56, especially when a pulling load prevails.
  • This higher pressure always affects the big one Pressure surface 62 and causes the closing force on it.
  • the working position 18 extends over a range of the stroke of the Main control member 57 so that the volume flow is proportional is controllable at the current value on the magnet 14.
  • the first check valve 29 works as a blocked Check valve while the shuttle valve 42 its other End position and the pressure port 45 with the Center connection 46 and thus the variable displacement pump 21 connects.
  • the second solenoid valve 13 works in the same way, like the identical first solenoid valve 12 in the manner of described sequence control.
  • control device 10 can also be a realize simple-acting function if, for example instead of the double-acting consumer 11 single-acting consumer only at the first Consumer port 28 is connected while the second Consumer connection 36 is not used. Then you can reach the neutral position as before if both Magnets 14, 15 are not excited.
  • One lift position perform by only the first solenoid valve 12 is energized.
  • the lower position can be carried out by energizing both solenoid valves 12, 13, which Valve 13 only according to the desired sink current is deflected.
  • control device 10 can thus in addition to a double-acting function, also a simple one realize acting function, whereby when using two Magnets a total of four working positions are possible.
  • the Control device 10 works without a separate one Control pressure supply and due to their poppet valve functions with little leakage. With clearance or with sinks at simple-acting function is not an unlocking pressure and therefore also no pump pressure increase required.
  • the solenoid valves 12, 13th achieve short response times so that the control device 10 has good control behavior.
  • the check valve is designed as a differential area valve 90 a sleeve-shaped valve body 91, which the Controls connection from input 31 to output 32 and the on a bolt-shaped extension 92 of a locking piston 93 tight and is guided smoothly.
  • the valve body 91 is supported via a spring 94 on the locking piston 93, on its extension 92 a collar 95 is formed.
  • the locking piston 93 is in a housing bore 96 tight and sliding and delimits a space 97 which accommodates the spring 94 and which has a throttle groove 98 with the outlet 32 connection.
  • in the Locking piston 93 is one from the inlet 31 to the control connection 33 leading passage 99 is formed, in the one per se known throttle check valve is switched.
  • Figure 6 now shows in the form of a longitudinal section structural design of the control device 10 according to FIG. 1, the same components as in Figures 1 to 5 also are provided with the same reference numerals.
  • the Control device according to Figure 6 is in addition to the schematically shown control device in Figure 1 in Housing 50 provided an individual pressure compensator 105, the the two solenoid valves 12 and 13 is connected upstream.
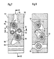
  • the control device according to FIG. 6 is based on the Figures 7 to 9, the cross-sections or a Section along lines VII-VII, VIII-VIII in Figure 6 and Represent IX-IX in Figure 7.
  • the housing 50 essentially a cuboid shape, since the device for a pane construction is designed in an LS system.
  • the housing includes the two solenoid valves 12 and 13 their longitudinal axes parallel to each other so that an end face 106 both proportional magnets 14, 15 are grown.
  • the control device 10 is also suitable particularly advantageous for mechanical actuation.
  • At the Housing 50 is opposite to end face 106 flat installation surface 107 to which the two continuous, multiple offset slide holes Open 51 of both solenoid valves 12, 13.
  • the installation area 107 is covered by a lid 108 in which the first Consumer port 28 is formed while the second Consumer connection 36 is located in the housing 50 itself.
  • Figure 7 in connection with Figure 9 lie the two check valves 29, 38 and the shuttle valve 42 in a portion of the housing 50 that is between the two Solenoid valves 12 and 13 extends. It is from Figure 7 recognizable that the distance between those by the Check valves 29 and 38 extending longitudinal planes is considerably larger than the distance between the Longitudinal planes through the solenoid valves 12, 13.
  • the first Motor chamber 53 of the first solenoid valve 12 obliquely after protruding, kidney-shaped bulge at the bottom, so that it with the inlet 31 of the first check valve 29 in connection stands, as can be seen from Figure 9 in more detail.
  • the first motor chamber 53 of the second solenoid valve 13 a kidney-shaped bulge protruding obliquely upwards so that it connects to the inlet 31 of the second check valve 38 has connection, as shown in Figure 9 in more detail.
  • the Return chambers 54 of both solenoid valves 12 and 13 are through continuous return channels 116 and one not closer illustrated connection or end plate with each other in Connection. In the same way as the return channels 116, the pump channel 111 penetrates the housing 50.
  • This check valve 29 opens the Connection to its outlet 32, from where the volume flow - as can be seen from FIG. 7 - via the second Motor chamber 56 on the second solenoid valve 13 further down flows into the pocket-shaped bulge 113, from where it over the transverse channel 114 and the working channel 115 in the cover 108 for first consumer connection 28 arrives.
  • the volume flow flowing back from the consumer into the second Consumer port 36 directed from where it is on the second Motor chamber 56 of the first solenoid valve 12 and its open main valve plug 59 via the intermediate chamber 55 and the fine control phases 65 into the return chamber 54 can reach.
  • this backflow volume flow also to the inlet 32 of the second check valve 38, however, due to the Pressurization via the main control line 82 as blocked check valve works and the connection to the inlet 31 blocked.
  • the volume flow flowing away from the consumer 11 passes through the first consumer connection 28, the working channels 115 and 114 into the pocket-shaped bulge 113 and further into the second motor chamber 56 of the second solenoid valve 13, about whose open main valve cone is the pressure medium flow also via the intermediate chamber 55 to the return chamber 54 can flow off.
  • the remaining functions of the shuttle valve 42 and the volume flows in the open position are from FIG. 1 recognizable.
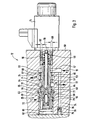
  • FIG 10 shows a longitudinal section through another constructive embodiment of a solenoid valve 120 as it in the control device 10 for the schematically Solenoid valves 12 and 13 shown can be used.
  • the Solenoid valve 120 is of the same basic structure comparable to the solenoid valve 12 according to FIG Main control element 121 and one arranged therein Pilot control member 122, which in the manner of a Sequence control work together, the pilot control 122 actuated by the armature 59 of the proportional magnet 14 becomes.
  • the solenoid valve 120 has a in the housing 50 continuous, multiple offset slide bore 123, in the inlet chamber through annular extensions 124, a first motor chamber 125, a second motor chamber 126, an intermediate chamber 127 and a return chamber 128 are trained.
  • the inlet chamber 124 stands with the Inlet port 19 (P) in connection, the first motor chamber 125 with the first motor connection 24 (A), the second Motor chamber 126 in a corresponding manner with the second Motor port 25 (B) and the return chamber 128 with the Return port 22 (R).
  • a housing-fixed valve seat 129 formed with a Main valve cone 131 cooperates, which on the from Magnet 14 remote end of main control member 121 is arranged.
  • the main control element points at a distance from it 121 a first piston section 132 with fine control notches 133 on which the connection between the intermediate chamber 127 and the second motor chamber 126 control.
  • the second Motor chamber 126 is also an O-ring 134 in the Main control member 121 sealed.
  • On a second Piston section 135 in the area of the first engine chamber 125 is a second control edge 136 with adjacent ones Fine control grooves 137 arranged, the connection of control the inlet chamber 124 to the first motor chamber 125.
  • a third control edge 138 on the second piston section 135 serves to relieve the first motor chamber 125, this Relief via a recess 139 in the return chamber 128 takes place. That in a blind hole 141 of the Main control member 121 projecting pilot control 122 also contributes a slide edge 142 a connection from the inlet chamber 124 to an end pressure chamber 143, in which the Magnet 14 facing end of the main control member 121 protrudes.
  • the principle of operation of the solenoid valve 120 is similar to that of the solenoid valve 12 according to Figure 2.
  • magnet 14 which is not energized are shown in FIG Solenoid valve 12 specified switching connections reached, the second engine port 25 through the main poppet 131 is tightly sealed off and thereby the seat valve function 26 achieved.
  • the O-ring 134 which can also be designed as a slide ring or piston ring. Also there would be a long narrow gap at this point Seal possible.
  • the Pilot 122 is pressure balanced so that the armature 59 only has to overcome the force of the spring 147. about the slide edge 142, the pilot 122 can control the pressure increase in the pressure chamber 143 so that the opening force the main control element 121 predominates and this against the Force the main spring 146 to its left Working position is pressed.
  • the from of the inlet chamber 124 flowing to the first motor chamber 125 Volume flow can be regulated in its size.
  • the pressure in Pressure chamber 143, the size of the opening movement of the Main control element 121 is caused by a constantly over the throttle bore 144 flowing to the return 22 Control oil flow reduced.
  • the damping piston 145 ensures smooth and damped movements of the main control element 121.
  • the solenoid valve 120 according to Figure 10 can in a similar manner like the solenoid valve 12 according to FIG. 2 in a housing 50 so arranged together with the other functional elements have the same effect and same advantages as can be achieved in the control device according to FIG.

Landscapes

  • Engineering & Computer Science (AREA)
  • Physics & Mathematics (AREA)
  • Fluid Mechanics (AREA)
  • Mechanical Engineering (AREA)
  • General Engineering & Computer Science (AREA)
  • Fluid-Pressure Circuits (AREA)
  • Magnetically Actuated Valves (AREA)
  • Servomotors (AREA)
  • Fluid-Driven Valves (AREA)

Description

Stand der Technik
Die Erfindung geht aus von einer elektrohydraulischen Steuereinrichtung für einen doppeltwirkenden Verbraucher nach der im Oberbegriff des Anspruchs 1 näher angegebenen Gattung.
Es ist schon eine solche elektrohydraulische Steuereinrichtung aus der EP 0 110 126 A1 bekannt, bei der zur Steuerung eines doppeltwirkenden Verbrauchers ein längsbeweglicher Steuerschieber für eine 4/3-Funktion von zwei entgegengesetzt am Gehäuse angeordneten Magneten betätigbar ist. Um die Leckage gering zu halten, ist jeder Verbraucheranschluß durch ein hydraulisch gesteuertes Sperrventil in Sitzventilbauart abgesichert, wobei die Vorsteuerung dieser Sperrventile von denjenigen Stößeln übernommen wird, welche die Schaltbewegung der Magnete auf den Steuerschieber übertragen. Neben den Funktionen Heben, Halten und Senken kann durch gleichzeitige Erregung beider Magnete zusätzliche eine vierte Stellung für einen Freigang erreicht werden. Zudem läßt sich die Steuereinrichtung auch zur Steuerung eines einfach wirkenden Verbrauchers verwenden. Von Nachteil bei dieser Steuereinrichtung ist nun, daß sie mit reinen Schaltmagneten arbeitet und daher keine feinfühlige, proportionale Volumenstromsteuerung möglich ist. Zudem führt die Ausbildung der Stößel als Vorsteuerglieder zu einer relativ aufwendigen Bauweise. Die Anordnung der Schaltmagnete auf einander entgegengesetzten Gehäuseseiten in Verbindung mit dem 4/3-Längsschieber und den zur Vorsteuerung dienenden Stößeln führt zu einer sehr langen Bauweise in der Schieberachse, was die Steuereinrichtung für Mobilanwendung ungünstig macht.
Ferner ist: aus der DE 41 40 604 A1 eine elektrohydraulische Steuervorrichtung bekannt, die mit einem Proportionalmagneten arbeitet und zum Feinsteuern von Volumenströmen geeignet ist. Dabei wird das in einem Hauptventilglied angeordnete Vorsteuerventilglied vom Proportionalmagnet betätigt und arbeitet nach Art einer Folgesteuerung mit dem Hauptventilglied zusammen, so daß kurze Ansprechzeiten und somit ein gutes Regelverhalten erreicht wird. Die Ventilglieder für Haupt- und Vorsteuerstufe sind als Sitzventile ausgebildet, so daß die Leckage gering gehalten wird. Auch ist die Steuervorrichtung so aufgebaut, daß keine separate Steuerölversorgung notwendig ist. Ungünstig bei dieser Steuereinrichtung ist, daß sie nur eine 2/2-Funktion ausführen kann und sich daher in dieser Form nicht zur Steuerung eines doppeltwirkenden Verbrauchers eignet.
Vorteile der Erfindung
Die erfindungsgemäße elektrohydraulische Steuereinrichtung mit den kennzeichnenden Merkmalen des Anspruchs 1 hat demgegenüber den Vorteil, daß sie bei proportionaler Arbeitsweise einen doppeltwirkenden Verbraucher mit geringer Leckage steuern kann. Die Magnetventile ermöglichen aufgrund der gewählten Schieberantriebe geringe Ansprechzeiten, was zu einem guten Regelverhalten der Steuereinrichtung führt. Die Steuereinrichtung kann mit nur zwei Magneten insgesamt vier Arbeitsstellungen erreichen, so daß neben den üblichen Funktionen Heben, Halten und Senken durch Erregen beider Magneten eine vierte Stellung als Freigang möglich ist; die Schaltfolge ist dabei beliebig. Die Steuereinrichtung arbeitet ohne eine separate Steuerölversorgung und kann zudem auch für einen einfachwirkenden Verbraucher eingesetzt werden. Ferner baut die Steuereinrichtung kompakt und eignet sich daher für mobile Anwendungsfälle.
Durch die in den Unteransprüchen aufgeführten Maßnahmen sind vorteilhafte Weiterbildungen und Verbesserungen der im Anspruch 1 angegebenen Steuereinrichtung möglich. Besonders vorteilhaft ist es, wenn die zur Regelung des Volumenstromes dienenden Magnetventile gemäß den Ansprüchen 2 bis 9 ausgeführt werden, wodurch sich die angegebenen Ziele besonders günstig erreichen lassen. Besonders zweckmäßig ist es, wenn die Sperrventile nach den Ansprüchen 10 bis 12 ausgeführt werden, was eine sichere Betriebsweise der Steuereinrichtung ermöglicht und eine platzsparende und kostengünstige Bauweise erlaubt. Bei einer Ausbildung nach Anspruch 13 kann die Steuereinrichtung zur Verwendung in einem LS-System ausgeführt werden. Ferner ist es günstig, wenn die Magnete gemäß Anspruch 14 auf einer Seite eines Gehäuses angeordnet werden, so daß ohne großen Aufwand zusätzlich eine mechanische Betätigung möglich ist; auch wird dadurch eine platzsparende Bauweise begünstigt. Fernerhin ist es vorteilhaft, wenn das Gehäuse gemäß den Ansprüchen 15 oder 17 ausgeführt wird, so daß die notwendigen Ventilsitze für die Hauptventilglieder in dem Gehäuse kostengünstig herstellbar sind. Zweckmäßig sind ferner Ausbildungen nach den Ansprüchen 16, 18 und 19, wobei die Lage der Sperrventile im Gehäuse zu einer platzsparenden Bauform führt, wobei die kurzen Kanäle auch das Regelverhalten positiv beeinflussen. Weitere vorteilhafte Ausgestaltungen ergeben sich aus den übrigen Ansprüchen, der Beschreibung sowie der Zeichnung.
Zeichnung
Ein Ausführungsbeispiel der Erfindung ist in der Zeichnung dargestellt und in der nachfolgenden Beschreibung näher erläutert. Es zeigen Figur 1 ein Schaltbild der elektrohydraulischen Steuereinrichtung für einen doppeltwirkenden Verbraucher in vereinfachter Darstellung, Figur 2 einen Längsschnitt durch ein proportional arbeitendes Magnetventil in vereinfachter konstruktiver Ausführung, wie es in Figur 1 als Schaltbild dargestellt ist, Figur 3 einen Teil der Steuereinrichtung nach Figur 1 mit den Sperrventilen in einem vereinfachten Steuerkreis, Figur 4 einen Längsschnitt durch ein einzelnes Sperrventil in einfacher konstruktiver Ausführung und in vergrößertem Maßstab, Figur 5 einen Schnitt nach V-V in Figur 4, Figur 6 einen Längsschnitt durch die Steuereinrichtung nach Figur 1 in vereinfachter konstruktiver Ausführungsform, wobei dieser Längsschnitt nach VI-VI in Figur 7 verläuft, Figur 7 einen Querschnitt nach VII-VII in Figur 6, Figur 8 einen Querschnitt nach VIII-VIII in Figur 6, Figur 9 einen Schnitt nach IX-IX in Figur 7 und Figur 10 einen Längsschnitt durch eine zweite Ausführungsform eines proportional arbeitenden Magnetventils zur Verwendung in der Steuereinrichtung nach Figur 1.
Beschreibung des Ausführungsbeispiels
Die Figur 1 zeigt als Schaltbild eine elektrohydraulische Steuereinrichtung 10 zur Steuerung eines doppeltwirkenden Verbrauchers 11 in vereinfachter Darstellung, wie sie für LS-Systeme verwendbar ist. Die Steuereinrichtung 10 weist ein erstes Magnetventil 12 sowie ein baugleiches, zweites Magnetventil 13 auf. Beide Magnetventile 12, 13 sind als proportional arbeitende Ventile mit einer 4-Wege-2-Stellungs-Funktion ausgebildet, die jeweils von einem Proportional-Magneten 14 bzw. 15 betätigbar sind. Jedes Magnetventil 12, 13 ist von seinem Magneten 14 bzw. 15 gegen die Kraft einer Feder 16 aus seiner Ausgangsstellung 17 in eine Arbeitsstellung 18 verstellbar, wobei proportional zur elektrischen Eingangsgröße der Volumenstrom über das Magnetventil 12 bzw. 13 stetig steuerbar ist.
Die untereinander gleichen Magnetventile 12, 13 haben jeweils einen mit P bezeichneten Zulaufanschluß 19, die beide an eine Verstellpumpe 21 angeschlossen sind, welche sie mit Druckmittel versorgt. Ferner hat jedes Magnetventil 12, 13 einen mit R bezeichneten Rücklaufanschluß 22, die zu einem Tank 23 entlastet sind. Ferner weist jedes Magnetventil 12, 13 einen mit A bezeichneten ersten Motoranschluß 24 auf, sowie einen mit B bezeichneten zweiten Motoranschluß 25. In der dargestellten Ausgangsstellung 17 ist der Zulaufanschluß 19 hydraulisch gesperrt, der erste Motoranschluß 24 mit dem Rücklaufanschluß 22 verbunden und der zweite Motoranschluß 25 durch eine Sitzventilfunktion 26 des Magnetventils 12, 13 abgesichert. Bei Auslenkung in Arbeitsstellung 18 wird der Zulaufanschluß 19 mit dem ersten Motoranschluß 24 verbunden, während der zweite Motoranschluß 25 zum Rücklaufanschluß 22 entlastet wird, wobei diese Verbindungen stetig steuerbar sind.
In der Steuereinrichtung 10 führt vom ersten Motoranschluß 24 am ersten Magnetventil 12 ein erster Arbeitskanal 27 zu einem ersten Verbraucheranschluß 28, wobei in diesen Arbeitskanal 27 ein hydraulisch steuerbares, erstes Sperrventil 29 geschaltet ist. Das Sperrventil 29 ist dabei als gesteuertes Rückschlagventil ausgebildet, wobei dessen Einlaß 31 mit dem ersten Motoranschluß 24 in Verbindung steht, während dessen Auslaß 32 zum ersten Verbraucheranschluß 28 hin Verbindung hat, während ein Steueranschluß 33 über eine erste Steuerleitung 34 mit Druck beaufschlagbar ist. Vom zweiten Motoranschluß 25 des ersten Magnetventils 12 führt ein erster Senkenkanal 35 unter Umgehung der Sperrventile zu einem zweiten Verbraucheranschluß 36.
In entsprechender Weise wie beim ersten Magnetventil 12 führt beim zweiten Magnetventil 13 vom ersten Motoranschluß 24 ein zweiter Arbeitskanal 37 zu dem zweiten Verbraucheranschluß 36, wobei in diesen Arbeitskanal 37 ein zweites Sperrventil 38 geschaltet ist, das mit dem ersten Sperrventil 29 baugleich ist. Vom zweiten Motoranschluß 25 des zweiten Magnetventils 13 führt ein zweiter Senkenkanal 41 unter Umgehung der Sperrventile 29, 38 zum ersten Verbraucheranschluß 28.
Die Steuereinrichtung 10 weist ferner ein Wechselventil 42 auf, dessen Schieber 43 eine federzentrierte Mittelstellung hat. Das Wechselventil 42 ist mit seinen stirnseitigen Druckanschlüssen 44, 45 an den ersten bzw. zweiten Arbeitskanal 27 bzw. 37 angeschlossen, jeweils stromaufwärts der Sperrventile 29, 38, während sein Mittelanschluß 46 den jeweiligen maximalen Lastdruck zur Verstellpumpe 21 meldet oder bei fehlendem Druck bzw. gleichen Drücken diesen Mittelanschluß 46 zu einem Tankanschluß 47 entlastet.
Die Figur 2 zeigt einen Längsschnitt durch ein vereinfacht in konstruktiver Form ausgeführtes erstes Magnetventil 12, wie es in Figur 1 lediglich schematisch dargestellt ist. Dabei wird ausdrücklich die Bauweise der Steuervorrichtung nach DE 41 40 604 A1 als bekannt vorausgesetzt, aus der wesentliche Bauelemente und ihre Wirkungsweise entnehmbar sind. Bei dem Magnetventil 12 nach Figur 2 werden gleiche Bauelemente wie in Figur 1 auch mit gleichen Bezugszeichen versehen.
In Figur 2 weist das Magnetventil 12 in einem Gehäuse 50 eine durchgehende, mehrfach abgesetzte Schieberbohrung 51 auf, in der nebeneinander durch ringförmige Erweiterungen eine Zulaufkammer 52, eine erste Motorkammer 53, eine Rücklaufkammer 54, eine Zwischenkammer 55 sowie eine zweite Motorkammer 56 ausgebildet sind. Diese Kammern stehen in entsprechender Weise mit dem zugeordneten Zulaufanschluß 19, (P) dem ersten Motoranschluß 24 (A), dem Rücklaufanschluß 22 (R) bzw. dem zweiten Motoranschluß 25 (B) in Verbindung. In dieser Schieberbohrung 51 ist ein Hauptsteuerglied 57 geführt, das in seinem Inneren ein Vorsteuerglied 58 aufnimmt, das von dem Anker 70 des Proportional-Magneten 14 gegen die Kraft der Feder 16 betätigbar ist. Hauptsteuerglied 57 und Vorsteuerglied 58 arbeiten nach Art einer Folgesteuerung zusammen, wobei beide Steuerglieder 57, 58 zum sicheren Abdichten der zweiten Motorkammer 56 mit Sitzventilfunktionen arbeiten. Das Hauptsteuerglied 57 weist zu diesem Zweck an seinem vom Magneten 14 abgewandten Ende einen Hauptventilkegel 59 auf, der mit einem gehäusefesten Sitz 60 zwischen zweiter Motorkammer 56 und der Zwischenkammer 55 zusammenarbeitet. Das Hauptsteuerglied 57 begrenzt mit seinem Hauptventilkegel 59 stirnseitig einen Druckraum 61, wodurch eine erste kreisförmige Druckfläche 62 gebildet ist, die das Hauptsteuerglied 57 in Richtung seiner Ausgangsstellung 17 belastet. Ferner ist der Hauptventilkegel 59 so ausgebildet, daß er eine vom Druck in der zweiten Motorkammer 56 beaufschlagte erste Differenzfläche 63 bildet, welche das Hauptsteuerglied 57 in Öffnungsrichtung beaufschlagt. Die Verbindung von der zweiten Motorkammer 56 über die Zwischenkammer 55 zur Rücklaufkammer 54 wird stromabwärts vom Hauptventilkegel 59 durch einen ersten Kolbenabschnitt 64 mit Feinsteuerfasen 65 gesteuert. Am Hauptsteuerglied 57 ist im Abstand von diesem ersten Kolbenabschnitt 64 im Bereich der ersten Motorkammer 53 ein zweiter Kolbenabschnitt 66 ausgebildet, der mit einer zweiten Steuerkante 67 und zugeordneten Feinsteuernuten 68 die Verbindung von der Zulaufkammer 52 zur ersten Motorkammer 53 steuert. Das dem Magnet 14 zugewandte Ende des Hauptsteuerglieds 57 ist so ausgebildet, daß es eine vom Druck im Zulaufanschluß 19 beaufschlagte zweite Differenzfläche 69 bildet, welche bei Druckbeaufschlagung zusammen mit der ersten Druckfläche 63 das Hauptsteuerglied 57 in Öffnungsrichtung belastet. Am Hauptsteuerglied 57 weist der zweite Kolbenabschnitt 66 eine dritte Steuerkante 71 auf, welche in der dargestellten Ausgangsstellung 17 die erste Motorkammer 53 mit der Rücklaufkammer 54 verbindet.
Das Vorsteuerglied 58 weist zur Steuerung des Steuerölstroms vom Druckraum 61 zur Rücklaufkammer 54 eine die Feinsteuerung übernehmende Schieberkante 72 und einen die sichere Abdichtung übernehmenden Vorsteuerkegel 73 auf, die hintereinander in den Steuerölstrom geschaltet sind. Das Vorsteuerglied 58 ist druckausgeglichen ausgeführt und wird von der sich gehäusefest abstützenden Feder 16 in Richtung Ausgangsstellung 17 belastet, wobei es sich mit seinem Vorsteuerkegel 73 am zugeordneten Ventilsitz im Hauptsteuerglied 57 abstützt. Der Druckraum 61 kann welchselweise mit Druckmittel beaufschlagt werden; der Druck in der Zulaufkammer 52 kann über eine Längsbohrung 74 und ein gehäusefestes Rückschlagventil 75 mit Zulaufdrossel 79 in den Druckraum 61 gelangen. Bei höherem Lastdruck in der zweiten Motorkammer 56 gelangt Druckmittel über ein zweites, im Hauptventilkegel 59 angeordnetes Rückschlagventil 76 mit Zulaufdrossel 79 in den Druckraum 61. Für den Ablauf des Steuerdruckmittels aus dem Druckraum 61 über das Vorsteuerglied 58 sind im Hauptsteuerglied 57 Querbohrungen 77 angeordnet, die im Bereich zwischen den beiden Kolbenabschnitten 64 und 66 liegen.
Die Wirkungsweise der elektrohydraulischen Steuereinrichtung 10 wird wie folgt erläutert, wobei auf die Figuren 1 und 2 Bezug genommen wird.
In einer ersten Stellung Neutral sind die beiden Proportional-Magnete 14, 15 stromlos und die Magnetventile 12 bzw. 13 nehmen ihre jeweilige Ausgangsstellung 17 ein. Damit ist ihr Zulaufanschluß 19 blockiert, wie dies in Figur 2 durch die zweite Steuerkante 67 am zweiten Kolbenabschnitt 66 dargestellt ist. Ferner ist in der Ausgangsstellung 17 bei jedem Magnetventil 12, 13 der erste Motoranschluß 24 zum Rücklaufanschluß 22 entlastet, wobei in Figur 2 die dritte Steuerkante 71 am zweiten Kolbenabschnitt 66 die Verbindung von der ersten Motorkammer 53 zur Rücklaufkammer 54 aufsteuert. Weiterhin ist in dieser Ausgangsstellung 17 der zweite Motoranschluß 25 durch die Sitzventilfunktion 26 der Magnetventile 12 bzw. 13 abgesichert, um einen Leckölstrom gering zu halten. Dabei wird der Hauptventilkegel 59 durch den im Druckraum 61 herrschenden Druck auf den zugehörigen Ventilsitz 60 gedrückt, da der höhere von den in der zweiten Motorkammer 56 bzw. in der Zulaufkammer 52 herrschenden Drücken über die Rückschlagventile 76 bzw. 75 in den Druckraum 61 gelangen kann und dort die große Druckfläche 62 beaufschlagt. Die schließende Kraft auf das Hauptsteuerglied 57 ist dabei auf jeden Fall größer als die öffnenden Kräfte, die vom Druck im zweiten Motoranschluß 25 auf die erste Differenzfläche 63 und/oder vom Druck in der Zulaufkammer 52 auf die zweite Differenzfläche 69 ausgeübt werden kann. Ferner ist der Druckraum 61 durch den Vorsteuerkegel 73 am Vorsteuerglied 58 sicher abgedichtet. Das Vorsteuerglied 58 selbst wird durch die sich gehäusefest abstützende Feder 16 auf einen zugeordneten Ventilsitz im Hauptsteuerglied 57 gedrückt.
In dieser Neutralstellung entlasten die Magnetventile 12, 13 ihre angrenzenden Abschnitte der Arbeitskanäle 27 bzw. 37, so daß der Einlaß 31 an jedem Sperrventil 29 bzw. 38 drucklos ist. Über die kreuzweise verlaufenden Steuerleitungen 34, 39 sind auch die Steueranschlüsse 33 beider Sperrventile 29, 38 druckentlastet. Die Schließglieder der Sperrventile 29, 38 werden von ihrer Feder jeweils in ihre Sperrstellung gedrückt, so daß der Außlaß 32 hydraulisch blockiert ist. Damit ist auch der erste Verbraucheranschluß 28 durch das erste Sperrventil 29 und die Sitzventilfunktion 26 im zweiten Magnetventil 13 hydraulisch abgesperrt, während der zweite Verbraucheranschluß 36 vom zweiten Sperrventil 38 und von der Sitzventilfunktion 26 im ersten Magnetventil 12 abgesperrt wird. Im doppeltwirkenden Verbraucher 11 ist somit die Kolbenstange 78 hydraulisch blockiert.
In der zweiten Arbeitsstellung Heben, die hier einem Ausfahren der Kolbenstange 78 im Verbraucher 11 entspricht, wird der Proportional-Magnet 14 des ersten Magnetventils 12 bestromt, wodurch eine proportionale Volumenstromregelung zum Verbraucher 11 möglich ist. Der Magnet 15 am zweiten Magnetventil 13 bleibt dabei stromlos. Wenn das erste Magnetventil 12 in seine Arbeitsstellung 18 gesteuert wird, so verbindet es den Zulaufanschluß 19 mit dem ersten Motoranschluß 24, so daß Druckmittel von der Verstellpumpe 21 über das Magnetventil 12 in den ersten Arbeitskanal 27 und über das sich öffnende Sperrventil 29 zum ersten Verbraucheranschluß 28 und damit in den Zylinderraum des Verbrauchers 11 strömen kann. Das erste Sperrventil 29 wirkt dabei als reines Rückschlagventil, da sein Steueranschluß 33 über die erste Steuerleitung 34, einen Abschnitt des zweiten Arbeitskanals 37 und das zweite Magnetventil 13 zum Tank entlastet ist. Zugleich sperrt das zweite Magnetventil 13 den zweiten Senkenkanal 41 mit seiner Sitzventilfunktion 26 ab. Druckmittel aus dem Ringraum des Verbrauchers 11 strömt über den zweiten Verbraucheranschluß 36, den ersten Senkenkanal 35 zum zweiten Motoranschluß 25 am ersten Magnetventil 12, von dem es zum Tank 23 abgeführt wird. Der zwischen erstem Magnetventil 12 und erstem Sperrventil 29 im ersten Arbeitskanal 27 herrschende Druck baut sich über die zweite Steuerleitung 39 auch im Steueranschluß 33 am zweiten Sperrventil 38 auf, wodurch dieses als gesperrtes Rückschlagventil arbeitet und seinen Auslaß 32 gegenüber dem Einlaß 31 absperrt. Der im ersten Arbeitskanal 27 herrschende Druck gelangt über den Druckanschluß 44 in das Wechselventil 42, dessen anderer Druckanschluß 45 zum Tank entlastet ist. Der Schieber 43 des Wechselventils 42 wandert in seine rechte Endstellung, wobei der Druck vom ersten Druckanschluß 44 über den Mittelanschluß 46 in die Lastdruckleitung zur Verstellpumpe 21 geführt wird, während der Tankanschluß 47 blockiert ist. Die Steuereinrichtung 10 kann somit in an sich bekannter Weise als LS-System arbeiten.
Beim Auslenken des Magnetventils 12 in Stellung Heben, also in die Arbeitsstellung 18, würde die Kraft des Proportional-Magneten 14 für die direkte Steuerung der hier zu betrachtenden hydraulischen Leistung nicht ausreichen. Aus diesem Grund benötigt das Hauptsteuerglied 57 einen zusätzlichen Antrieb, der hier nach Art einer Folgesteuerung ausgeführt ist. Das im Hauptsteuerglied 57 angeordnete Vorsteuerglied 58 ist zu diesem Zweck druckausgeglichen ausgeführt und wird in Figur 2 vom Anker 59 des Proportional-Magneten 14 lediglich gegen die Kraft der Feder 16 in seine Arbeitsstellung 18, also nach links in Figur 2, ausgelenkt. Dabei öffnet dessen Vorsteuerkegel 73 die Verbindung vom Druckraum 61 über das Vorsteuerglied 58 und die Querbohrungen 77 zur Rücklaufkammer 54. Während der Vorsteuerkegel 73 die dichte Absperrung übernimmt, sorgt die Schieberkante 72 am Vorsteuerglied 58 für eine Feinsteuerung dieses Steuerölstromes, um somit den Druck im Druckraum 61 stetig zu steuern. Wird diese Steuerölverbindung über die Schieberkante 72 und den Vorsteuerkegel 73 aufgesteuert, so sinkt der Druck im Druckraum 61 und damit auch die schließende Kraft auf das Hauptsteuerglied 57. Der auf die erste Differenzfläche 63 wirkende Lastdruck in der zweiten Motorkammer 56 und der auf die zweite Differenzfläche 69 wirkende Zulaufdruck in der Zulaufkammer 52 bewegen das Hauptsteuerglied 57 in Figur 2 nach links, wobei das Hauptsteuerglied 57 in an sich bekannter Weise nach Art der Folgesteuerung dem Vorsteuerglied 58 folgt. Bei dieser Öffnungsbewegung hebt der Hauptventilkegel 59 vom gehäusefesten Ventilsitz 60 ab und verbindet die zweite Motorkammer 56 mit der Zwischenkammer 55, die ihrerseits über die Feinsteuerphasen 65 zu der Rücklaufkammer 54 entlastet wird. Die Größe des Volumenstroms vom zweiten Motoranschluß 25 zum Rücklaufanschluß 22 wird stetig und damit porportional zum Stromwert am Magnet 14 geregelt. Bei dieser Öffnungsbewegung des Hauptsteuergliedes 57 sperrt dessen dritte Steuerkante 71 am zweiten Kolbenabschnitt 66 die Verbindung von der ersten Motorkammer 53 zur Rücklaufkammer 54 ab, während gleichzeitig die zweite Steuerkante 67 die Verbindung von der Zulaufkammer 52 zur ersten Motorkammer 53 aufsteuert. Die Größe des Volumenstromes wird dabei von den Feinsteuernuten 68 gesteuert. Während dieses Steuervorgangs wird durch die beiden kleinen Rückschlagventile 75 bzw. 76, die jeweils in Reihe mit zwei zugeordneten Zulaufdrosseln 79 liegen, der höhere Druck für den Antrieb des Hauptsteuerglieds 57 ausgewählt. Dies ist entweder der Pumpendruck in der Zulaufkammer 52 oder der Lastdruck in der zweiten Motorkammer 56, vor allem, wenn eine ziehende Last vorherrscht. Dieser höhere Druck wirkt stets auf die große Druckfläche 62 und ruft die schließende Kraft an ihm hervor. Mit dem ersten Magnetventil 14 wird somit in der Stellung "Heben" ein Volumenstrom zum und vom doppeltwirkenden Verbraucher 11 gesteuert. Die Arbeitsstellung 18 erstreckt sich dabei über einen Bereich des Hubes des Hauptsteuergliedes 57, so daß der Volumenstrom proportional zum Stromwert am Magneten 14 steuerbar ist.
In der dritten Stellung Senken, die einem Einfahren der Kolbenstange 78 am Verbraucher 11 entspricht, wird lediglich das zweite Magnetventil 13 betätigt, während das erste Magnetventil 12 nicht erregt ist. Der Volumenstrom fließt dann in entsprechend umgekehrter Richtung zum bzw. vom doppeltwirkenden Verbraucher 11. Dabei wird Druckmittel von der Verstellpumpe 21 über das in Arbeitsstellung 18 befindliche, zweite Magnetventil 13, den zweiten Arbeitskanal 37, das als Rückschlagventil arbeitende, zweite Sperrventil 38 zum zweiten Verbraucheranschluß 36 und weiter in den Ringraum des Verbrauchers 11 gesteuert. Gleichzeitig fließt Druckmittel aus dem Zylinderraum des Verbrauchers 11 über den ersten Verbraucheranschluß 28 und den zweiten Senkenkanal 41 sowie das zweite Magnetventil 13 zum Tank 23 ab. Das erste Sperrventil 29 arbeitet dabei als gesperrtes Rückschlagventil, während das Wechselventil 42 seine andere Endstellung einnimmt und den Druckanschluß 45 mit dem Mittelanschluß 46 und damit der Verstellpumpe 21 verbindet. Das zweite Magnetventil 13 arbeitet dabei in gleicher Weise, wie das baugleiche erste Magnetventil 12 nach Art der geschilderten Folgesteuerung.
Für die vierte Stellung der Steuereinrichtung 10, nämlich Freigang, werden die Magnete 14, 15 beider Magnetventile 12, 13 gleichzeitig maximal bestromt und damit in ihre Arbeitsstellungen 18 ausgelenkt. Damit herrscht in den beiden Arbeitskanälen 27 und 37 in deren Abschnitten stromaufwärts der Sperrventile 29 bzw. 38 der gleiche Druck. Dieser Druck liegt über die kreuzweise geführten Steuerleitungen 34. bzw. 39 an den Steueranschlüssen 33 beider Sperrventile 29 bzw. 38 an, wodurch diese als gesperrte Rückschlagventile arbeiten. Durch die Druckgleichheit bleibt auch der Schieber 43 des Wechselventils 42 in der gezeichneten Mittelstellung, so daß der Mittelanschluß 46 zum Tankanschluß 47 entlastet ist, während die Druckanschlüsse 44, 45 gesperrt sind. Dies bedeutet kein LS-Signal an die Druckversorgung der Verstellpumpe 21 und damit auch keine Druckerhöhung. Die beiden Senkenkanäle 35 bzw. 41 sind durch die zugeordneten Magnetventile 12 bzw. 13 zum Tank 23 entlastet, so daß für den doppeltwirkenden Verbraucher 11 Freigang besteht.
Mit der Steuereinrichtung 10 läßt sich darüberhinaus eine einfach wirkende Funktion realisieren, wenn zum Beispiel anstelle des doppeltwirkenden Verbrauchers 11 ein einfachwirkender Verbraucher lediglich an den ersten Verbraucheranschluß 28 angeschlossen ist, während der zweite Verbraucheranschluß 36 nicht benutzt wird. Dann läßt sich die Stellung Neutral wie bisher erreichen, wenn beide Magnete 14, 15 nicht erregt sind. Eine Stellung Heben läßt sich durchführen, indem lediglich das erste Magnetventil 12 bestromt wird. Die Stellung Senken läßt sich durchführen, indem beide Magnetventile 12, 13 bestromt werden, wobei das Ventil 13 nur entsprechend dem gewünschten Senkenstrom ausgelenkt wird.
Mit der vorliegenden Steuereinrichtung 10 läßt sich somit neben einer doppeltwirkenden Funktion auch eine einfach wirkende Funktion realisieren, wobei bei Verwendung zweier Magneten insgesamt vier Arbeitsstellungen möglich sind. Die Steuereinrichtung 10 arbeitet dabei ohne separate Steuerdruckversorgung und infolge ihrer Sitzventilfunktionen mit geringer Leckage. Bei Freigang oder bei Senken bei einfach wirkender Funktion ist kein Entsperrdruck und damit auch keine Pumpendruckanhebung erforderlich. Infolge der gewählten Schieberantriebe können die Magnetventile 12, 13 kurze Ansprechzeiten erreichen, so daß die Steuereinrichtung 10 ein gutes Regelverhalten aufweist.
Die Figur 3 zeigt in schematischer Darstellung einen Teil der Steuereinrichtung 10 mit den Sperrventilen 29, 38, die sich durch einen vereinfachten Steuerleitungskreis 81 unterscheiden. Um bei den Steuerleitungen 34, 39 nach Figur 1 deren sich kreuzende Führung zu vermeiden, deren Ausbildungen in einem Ventilgehäuse unerwünscht ist, weist nach Figur 3 der Steuerleitungskreis 81 eine Hauptsteuerleitung 82 auf, welche die beiden Steueranschlüsse 33 beider Sperrventile 29, 38 miteinander verbindet. Ferner ist in den Ventilkörpern 83 beider Sperrventile 29, 38 jeweils ein kleines Rückschlagventil 84 und parallel dazu eine Drossel 85 vorgesehen. Das kleine Rückschlagventil 84 im Ventilkörper 83 dient dazu, daß beim Schalten eines Magnetventils 12 bzw. 13 das Sperrventil 29 bzw. 38 selbst als einfaches Rückschlagventil arbeiten kann und dabei relativ schnell öffnen muß. Über die parallele Drossel 85 können nun die Sperrdrücke durch den Ventilkegel 83 hindurch auf dessen Rückseite geführt werden, so daß eine kreuzende Leitungsführung entfällt. Wird nur ein Magnetventil, zum Beispiel 12, betätigt, so ist der Druck p1 im Einlaß 31 größer als der Druck p3 im Steueranschluß 33 und das Sperrventil 29 selbst arbeitet als Rückschlagventil, wobei der Ventilkörper 83 vom Sitz abhebt. Werden beide Magnetventile 12 und 13 gleichzeitig betätigt, so sind die Drücke p1 und p3 gleich groß, so daß eine zugeordnete Feder 86 den Ventilkörper 83 geschlossen hält. Der Steuerleitungskreis 81 ist dadurch wesentlich vereinfacht, indem er mit einer einzigen Hauptsteuerleitung 82 auskommt. Diese Funktion der Sperrventile 29 und 38 bleibt erhalten, wenn nur in einem der beiden Ventilkörper 83 eine Drossel 85 angeordnet ist.
Die Figur 4 zeigt einen Längsschnitt durch ein konstruktiv ausgeführtes Sperrventil 90, mit dem die Funktionen des in Figur 3 schematisch dargestellten Sperrventils 29 ausführbar sind. Die in Figur 1 und Figur 3 schematisch dargestellten Ventilkörper sind so ausgeführt, daß ihr Verhältnis von Sitzdurchmesser zu Schaftdurchmesser 1 beträgt. Eine solche Ausführung setzt gehärtete Ventilsitze voraus, was bei einer Ausführung des Steuerventils 10 in einem Gußgehäuse ungünstig ist. Um deshalb die Funktion des Sperrventils 29 nach Figur 3 in einem Gußgehäuse leichter realisieren zu können, ist das konstruktiv ausgeführte Sperrventil 90 nach Figur 4 als Differenzflächenventil ausgebildet, das keinen exakten Sitzdurchmesser benötigt, sondern vielmehr mit einer relativ breiten Sitzgeometrie arbeitet und dadurch mit einer geringen Flächenpressung im Gußgehäuse auskommt. Zur Ausbildung als Differenzflächenventil weist das Sperrventil 90 einen hülsenförmigen Ventilkörper 91 auf, welcher die Verbindung vom Eingang 31 zum Ausgang 32 steuert und der auf einem bolzenförmigen Fortsatz 92 eines Sperrkolbens 93 dicht und gleitend geführt ist. Der Ventilkörper 91 stützt sich über eine Feder 94 am Sperrkolben 93 ab, an dessen Fortsatz 92 ein Bund 95 ausgebildet ist. Der Sperrkolben 93 ist in einer Gehäusebohrung 96 dicht und gleitend geführt und begrenzt einen die Feder 94 aufnehmenden Raum 97, der über eine Drosselnut 98 mit dem Auslaß 32 Verbindung hat. Im Sperrkolben 93 ist ein vom Einlaß 31 zum Steueranschluß 33 führender Durchgang 99 ausgebildet, in den ein an sich bekanntes Drosselrückschlagventil geschaltet ist. Dabei wird die Funktion des Rückschlagventils 84 nach Figur 3 von einer dreieckigen Scheibe 101 übernommen, in der zentrisch die Drossel 85 als kleine Bohrung ausgeführt ist. In dem Querschnitt nach Figur 5 ist die Form dieser dreieckigen Scheibe 101 deutlich erkennbar.
Mit diesem Sperrventil 90 nach Figur 4 kann die Funktion des Sperrventils 29 nach Figur 3 konstruktiv realisiert werden, wobei am Steueranschluß 33 lediglich eine einzige Hauptsteuerleitung 82 abgeht. Ist bei diesem Sperrventil 90 der Steueranschluß 33 entlastet und p3 gleich Null, so wird bei einem am Einlaß 31 ankommenden Volumenstrom der Ventilkörper 91 öffnen und bei größerem Druck von p1 den Volumenstrom in den Auslaß 32 steuern, dessen Druck p2 kleiner als p1 ist. Wird dagegen der Steueranschluß 33 beaufschlagt und ist dessen Druck p3 gleich groß wie der Druck im Eingang 31 mit p1, so blockiert das Sperrventil 90 die Verbindung zum Auslaß 32. Der Sperrkolben 93 wird dabei vom Druck im Steueranschluß 33 gegen die Kraft der Feder 94 verschoben und stützt sich mit seinem Bund 95 auf dem hülsenförmigen Ventilkörper 91 auf, wodurch letzterer auf den zugeordneten gehäusefesten Ventilsitz gepreßt wird.
Die Figur 6 zeigt nun in Form eines Längsschnitts den konstruktiven Aufbau der Steuereinrichtung 10 nach Figur 1, wobei gleiche Bauelemente wie in den Figuren 1 bis 5 auch mit gleichen Bezugszeichen versehen sind. Bei der Steuereinrichtung nach Figur 6 ist zusätzlich zu der schematisch dargestellten Steuereinrichtung in Figur 1 im Gehäuse 50 eine Individual-Druckwaage 105 vorgesehen, die den beiden Magnetventilen 12 und 13 vorgeschaltet ist. Zur Erläuterung der Steuereinrichtung nach Figur 6 wird auf die Figuren 7 bis 9 Bezug genommen, die Querschnitte bzw. einen Schnitt nach den Linien VII-VII, VIII-VIII in Figur 6 bzw. IX-IX in Figur 7 darstellen. Zudem ist der genaue Verlauf des Längsschnitts nach Figur 6 durch die Linie VI-VI in Figur 7 angegeben.
Bei der Steuereinrichtung 10 nach Figur 6 hat das Gehäuse 50 im wesentlichen eine quaderförmige Form, da das Gerät für eine Scheibenbauweise in einem LS-System ausgelegt ist. In dem Gehäuse sind die beiden Magnetventile 12 und 13 mit ihren Längsachsen parallel zueinander so angeordnet, daß an einer Stirnfläche 106 beide Proportionalmagnete 14, 15 angebaut sind. Durch die gemeinsame Anordnung beider Magnete auf einer Seite eignet sich die Steuereinrichtung 10 auch besonders vorteilhaft für eine mechanische Betätigung. Am Gehäuse 50 ist entgegengesetzt zur Stirnfläche 106 eine ebene Einbaufläche 107 ausgebildet, zu der hin sich die beiden durchgehenden, mehrfach abgesetzten Schieberbohrungen 51 beider Magnetventile 12, 13 öffnen. Die Einbaufläche 107 wird von einem Deckel 108 abgedeckt, in dem der erste Verbraucheranschluß 28 ausgebildet ist, während der zweite Verbraucheranschluß 36 im Gehäuse 50 selbst liegt. Beide Verbraucheranschlüsse 28, 36 sind zu einer Oberfläche 109 hin offen. In der im Gehäuse 50 näher zur Oberseite 109 hin liegenden Schieberbohrung 51 ist das erste Magnetventil 12 angeordnet, während das zweite Magnetventil 13 in der darunterliegenden Schieberbohrung 51 liegt. Wie aus Figur 6 näher hervorgeht, sind die Zulaufkammern 52 beider Magnetventile 12, 13 miteinander verbunden und führen zudem in die Druckwaage 105 hinein, die über den Pumpenanschluß 111 von der Verstellpumpe 21 mit Druckmittel versorgt werden kann.
Wie die Figuren 7 und 8 näher zeigen, liegen die Magnetventile 12 und 13 in unterschiedlichen Längsebenen, welche parallel zu den Flanschflächen 112 des Gehäuses 50 verlaufen. Durch die im Abstand voneinander liegenden Längsebenen durch die Magnetventile 12, 13 können diese in Höhenrichtung gesehen näher zueinander angeordnet werden, was eine kompakte Bauweise und kurze Kanäle ermöglicht. Wie ferner Figur 7 in Verbindung mit Figur 9 näher zeigt, liegen die beiden Sperrventile 29, 38 sowie das Wechselventil 42 in einem Bereich des Gehäuses 50, der sich zwischen den beiden Magnetventilen 12 und 13 erstreckt. Dabei ist aus Figur 7 erkennbar, daß der Abstand zwischen den durch die Sperrventile 29 und 38 verlaufenden Längsebenen noch erheblich größer ist als der Abstand zwischen den Längsebenen durch die Magnetventile 12, 13. Zudem sind die Sperrventile 29 und 38 höhenmäßig relativ zueinander versetzt angeordnet, um eine besonders kompakte Bauweise zu ermöglichen. Aus Figur 7 wird deutlich, daß der zweite Verbraucheranschluß 36 mit der zweiten Motorkammer 56 des ersten Magnetventils 12 und zusätzlich mit dem Auslaß 32 des zweiten Sperrventils 38 in Verbindung steht. Ferner hat in der gleichen Schnittebene die zweite Motorkammer 56 des zweiten Wegeventils 13 nach oben hin mit dem Auslaß 32 des ersten Sperrventils 29 Verbindung und steht zugleich über eine untere Ausbuchtung 113 sowie über einen Querkanal 114 und einen lotrecht verlaufenden Arbeitskanal 115 mit dem ersten Verbraucheranschluß 28 in Verbindung.
Wie ferner aus Figur 8 hervorgeht, weist die erste Motorkammer 53 des ersten Magnetventils 12 eine schräg nach unten ragende, nierenförmige Ausbuchtung auf, so daß sie mit dem Einlaß 31 des ersten Sperrventils 29 in Verbindung steht, wie dies aus Figur 9 näher hervorgeht. Entsprechend weist die erste Motorkammer 53 des zweiten Magnetventils 13 eine schräg nach oben ragende, nierenförmige Ausbuchtung auf, so daß sie mit dem Einlaß 31 des zweiten Sperrventils 38 Verbindung hat, wie Figur 9 näher zeigt. Die Rücklaufkammern 54 beider Magnetventile 12 und 13 stehen über durchgehende Rücklaufkanäle 116 und eine nicht näher dargestellte Anschluß- oder Endplatte miteinander in Verbindung. In entsprechender Weise wie die Rücklaufkanäle 116 durchdringt der Pumpenkanal 111 das Gehäuse 50.
Wie aus Figur 6 in Verbindung mit Figur 9 hervorgeht, wird durch diese Anordnung der Magnetventile 12 und 13 und der Sperrventile 29 und 38 erreicht, daß alle gehäusefesten Ventilsitze in den zwei Schieberbohrungen 51 der Magnetventile 12 und 13 sowie in den Gehäusebohrungen 96 für die Sperrventile 29 und 38 zu der Einbaufläche 107 hin offen sind und von dort aus gut bearbeitet werden können. Mit der konstruktiven Ausführung der Steuereinrichtung 10 nach Figrur 6 lassen sich alle Funktionen und Vorteile erreichen, wie sie im Zusammenhang mit der Steuereinrichtung nach Figur 1 dargestellt wurden. Zudem führt die räumliche Anordnung beider Magnetventile 12, 13, beider Sperrventile 29, 38 und des Wechselventils 42 in dem Gehäuse 50 zu einer äußerst platzsparenden und kompakten Bauweise, die sich besonders für mobile Einsatzfälle eignet. Wie ferner aus Figur 9 hervorgeht, kann bei den Sperrventilen 29 und 38 auch auf die Funktion des scheibenförmigen Rückschlagventils 101 ganz verzichtet werden und lediglich die Drosselstelle 85 vorgesehen werden. Die Sperrventile 29 und 38 können dabei weiterhin ihre Funktion ausüben, wobei jedoch der Druck in der dazwischenliegenden Hauptsteuerleitung 82 dann lediglich halb so groß ist, wie der Lastdruck.
Die Wirkungsweise der Steuereinrichtung 10 nach Figur 6 ist grundsätzlich gleich wie diejenige nach Figur 1, wobei auch auf die Funktionsweise des Magnetventils 12 nach Figur 2 und des Sperrventils 90 nach Figur 4 ausdrücklich Bezug genommen wird. Im folgenden sei daher nur kurz auf den Strömungsverlauf im Gehäuse 50 eingegangen, wie er bei den Stellungen Heben und Senken entsteht. Wenn bei der Stellung Heben lediglich das Magnetventil 12 betätigt ist, gelangt der vom Pumpenkanal 111 über die Druckwaage 105 in die Zulaufkammer 52 fließende Volumenstrom über die zweite Steuerkante 67 in die erste Motorkammer 53. Wie aus Figur 8 hervorgeht, fließt dort der Volumenstrom in die nierenförmige Ausnehmung nach unten und kann von dort zum Einlaß 31 des zweiten Sperrventils 29 gelangen, wie dies aus Figur 9 hervorgeht. Dieses Sperrventil 29 öffnet die Verbindung zu seinem Auslaß 32, von wo der Volumenstrom - wie dies aus Figur 7 erkennbar ist - über die zweite Motorkammer 56 am zweiten Magnetventil 13 weiter nach unten in die taschenförmige Ausbuchtung 113 strömt, von wo er über den Querkanal 114 und den Arbeitskanal 115 im Deckel 108 zum ersten Verbraucheranschluß 28 gelangt. Gleichzeitig wird der vom Verbraucher zurückfließende Volumenstrom in den zweiten Verbraucheranschluß 36 gelenkt, von wo er über die zweite Motorkammer 56 des ersten Magnetventils 12 und dessen geöffneten Hauptventilkegel 59 über die Zwischenkammer 55 und die Feinsteuerphasen 65 in die Rücklaufkammer 54 gelangen kann. Wie aus Figur 7 näher hervorgeht, gelangt dieser zurückfließende Volumenstrom auch zum Einlaß 32 des zweiten Sperrventils 38, das jedoch infolge der Druckbeaufschlagung über die Hauptsteuerleitung 82 als gesperrtes Rückschlagventil arbeitet und die Verbindung zu dessen Einlaß 31 blockiert.
Wenn in Stellung Senken nur das zweite Magnetventil 13 betätigt wird, fließt der über die Druckwaage 105 kommende Volumenstrom von der gemeinsamen Zulaufkammer 52 in die erste Motorkammer 53 des zweiten Wegeventils 13. Wie die Figur 8 näher zeigt, gelangt der Volumenstrom von dort über die schräg nach oben gerichtete Ausbuchtung der ersten Motorkammer 53 in den Einlaß 31 des zweiten Sperrventils 38. Dieses arbeitet als Rückschlagventil und öffnet die Verbindung zu seinem Auslaß 32, von wo der Volumenstrom - wie dies Figur 7 näher zeigt - vorbei an der zweiten Motorkammer 56 des ersten Magnetventils 12 zum zweiten Verbraucheranschluß 36 strömt und weiter zum Verbraucher 11. Der vom Verbraucher 11 abfließende Volumenstrom gelangt über den ersten Verbraucheranschluß 28, die Arbeitskanäle 115 und 114 in die taschenförmige Ausbuchtung 113 und weiter in die zweite Motorkammer 56 des zweiten Magnetventils 13, über dessen geöffneten Hauptventilkegel der Druckmittelstrom ebenfalls über die Zwischenkammer 55 zur Rücklaufkammer 54 abströmen kann. Die übrigen Funktionen des Wechselventils 42 und die Volumenströme in Stellung Freigang sind aus Figur 1 erkennbar.
Die Figur 10 zeigt einen Längsschnitt durch eine andere konstruktive Ausführungsform eines Magnetventils 120, wie es in der Steuereinrichtung 10 für die schematisch dargestellten Magnetventile 12 und 13 verwendbar ist. Das Magnetventil 120 ist vom prinzipiellen Aufbau insofern mit dem Magnetventil 12 nach Figur 2 vergleichbar, als es ein Hauptsteuerglied 121 und ein in diesem angeordnetes Vorsteuerglied 122 aufweist, die nach Art einer Folgesteuerung zusammenarbeiten, wobei das Vorsteuerglied 122 von dem Anker 59 des Proportionalmagneten 14 betätigt wird. Das Magnetventil 120 weist in dem Gehäuse 50 eine durchgehende, mehrfach abgesetzte Schieberbohrung 123 auf, in der durch ringförmige Erweiterungen eine Zulaufkammer 124, eine erste Motorkammer 125, eine zweite Motorkammer 126, eine Zwischenkammer 127 sowie eine Rücklaufkammer 128 ausgebildet sind. Die Zulaufkammer 124 steht dabei mit dem Zulaufanschluß 19 (P) in Verbindung, die erste Motorkammer 125 mit dem ersten Motoranschluß 24 (A), die zweite Motorkammer 126 in entsprechender Weise mit dem zweiten Motoranschluß 25 (B)und die Rücklaufkammer 128 mit dem Rücklaufanschluß 22 (R). In dem Bereich zwischen der Zwischenkammer 127 und der Rücklaufkammer 128 ist ein gehäusefester Ventilsitz 129 ausgebildet, der mit einem Hauptventilkegel 131 zusammenarbeitet, welcher an dem vom Magnet 14 abgelegenen Ende des Hauptsteuerglieds 121 angeordnet ist. Im Abstand davon weist das Hauptsteuerglied 121 einen ersten Kolbenabschnitt 132 mit Feinsteuerkerben 133 auf, welche die Verbindung zwischen der Zwischenkammer 127 und der zweiten Motorkammer 126 steuern. Die zweite Motorkammer 126 wird ferner durch einen O-Ring 134 im Hauptsteuerglied 121 abgedichtet. An einem zweiten Kolbenabschnitt 135 im Bereich der ersten Motorkammer 125 ist eine zweite Steuerkante 136 mit angrenzenden Feinsteuernuten 137 angeordnet, welche die Verbindung von der Zulaufkammer 124 zur ersten Motorkammer 125 steuern. Eine dritte Steuerkante 138 am zweiten Kolbenabschnitt 135 dient zur Entlastung der ersten Motorkammer 125, wobei diese Entlastung über eine Ausnehmung 139 in die Rücklaufkammer 128 erfolgt. Das in eine Sackbohrung 141 des Hauptsteuerglieds 121 ragende Vorsteuerglied 122 steuert mit einer Schieberkante 142 eine Verbindung von der Zulaufkammer 124 zu einem stirnseitigen Druckraum 143, in welchen das dem Magneten 14 zugewandte Ende des Hauptsteuerglieds 121 ragt. Die Sacklochbohrung 141 steht über eine Hauptdrosselbohrung 144 mit der Ausnehmung 139 in Verbindung, in die ein Dämpfungskolben 145 eingepaßt ist. Eine in der Rücklaufkammer 128 angeordnete Hauptfeder 146 drückt das Hauptsteuerglied 121 in seine Ausgangsstellung 17, wobei sich sein Hauptventilkegel 131 am gehäusefesten Ventilsitz 129 abstützt. Ferner ist auf der Seite des Magneten 14 in einen aufgeweiteten Abschnitt der Schieberbohrung 123 ein Ringeinsatz 147 gehäusefest eingebaut, an dem sich eine Feder 148 abstützt, die andererseits das Vorsteuerglied 122 gegen den Anker 59 des Magneten 14 drückt.
Die Wirkungsweise des Magnetventils 120 ist im Prinzip ähnlich wie diejenige des Magnetventils 12 nach Figur 2. Bei nicht erregtem Magnet 14 werden die in Figur 1 am Magnetventil 12 angegebenen Schaltverbindungen erreicht, wobei der zweite Motoranschluß 25 durch den Hauptventilkegel 131 dicht abgesperrt ist und dadurch die Sitzventilfunktion 26 erzielt. Für die Abdichtung des zweiten Motoranschlusses 25 zur ersten Motorkammer 125 hin sorgt der O-Ring 134, der auch als Gleitring oder Kolbenring ausgeführt werden kann. Auch wäre ein langer enger Spalt an dieser Stelle als Dichtung möglich. Durch Bestromen des Magneten 14 wird das Magnetventil 120 in eine Arbeitsstellung 18 ausgelenkt, wobei das Vorsteuerglied 122 und das Hauptsteuerglied 121 nach Art einer Folgesteuerung zusammenarbeiten. Das Vorsteuerglied 122 ist druckausgeglichen, so daß der Anker 59 lediglich die Kraft der Feder 147 überwinden muß. Über die Schieberkante 142 kann das Vorsteuerglied 122 den Druck in dem Druckraum 143 erhöhen, so daß die öffnende Kraft auf das Hauptsteuerglied 121 überwiegt und dieses gegen die Kraft der Hauptfeder 146 nach links in seine Arbeitsstellung gedrückt wird. Dabei hebt der Hauptventilkegel 131 von seinem zugeordneten Sitz 129 ab und mit den sich öffnenden Feinsteuerkerben 133 wird der von der zweiten Motorkammer 126 über die Zwischenkammer 127 zum Rücklauf 22 abströmende Volumenstrom in seiner Größe geregelt. Selbstverständlich geschieht diese Steuerung des Volumenstroms proportional zur Größe des Stromsignals am Proportionalmagneten 14. Gleichzeitig mit dieser öffnungsbewegung wird von der dritten Steuerkante 138 die Verbindung von der ersten Motorkammer 125 über die Ausnehmung 139 zum Rücklauf 22 abgesteuert, während die zweite Steuerkante 136 gleichzeitig die Verbindung zum Zulauf 19 öffnet. Über die Feinsteuernuten 137 kann der von der Zulaufkammer 124 zur ersten Motorkammer 125 fließende Volumenstrom in seiner Größe geregelt werden. Der Druck im Druckraum 143, dessen Größe die Öffnungsbewegung des Hauptsteuerglieds 121 bewirkt, wird durch einen ständig über die Drosselbohrung 144 zum Rücklauf 22 abfließenden Steuerölstrom reduziert. Der Dämpfungskolben 145 sorgt für gleichmäßige und gedämpfte Bewegungen des Hauptsteuerglieds 121.
Das Magnetventil 120 nach Figur 10 kann in ähnlicher Weise wie das Magnetventil 12 nach Figur 2 in einem Gehäuse 50 zusammen mit den anderen Funktionselementen so angeordnet werden, daß eine gleiche Wirkung und gleiche Vorteile wie bei der Steuereinrichtung nach Figur 6 erreicht werden.

Claims (20)

  1. Elektrohydraulische Steuereinrichtung für einen doppeltwirkenden Verbraucher, bei der zwei Verbraucheranschlüsse jeweils durch ein hydraulisch betätigbares Sperrventil abgesichert sind, von denen jedes Sperrventil in einen zwischen den Verbraucheranschluß und elektromagnetisch betätigbaren Steuermitteln verlaufenden Arbeitskanal geschaltet ist, und bei der mindestens ein Verbraucheranschluß absperrbar oder durch die Steuermittel abwechselnd mit einem Zulaufanschluß oder einem Rücklaufanschluß verbindbar ist, wobei die Verbindung zum Zulaufanschluß über eine Schieberventilfunktion der Steuermittel erfolgt, welche in Ausgangsstellung die zum Sperrventil führenden Arbeitskanäle zum Rücklauf entlasten, dadurch gekennzeichnet, daß die Steuermittel als zwei gleichartige, proportional arbeitende Magnetventile (12, 13; 120) mit 4-Wege-2-Stellungs-Funktion ausgebildet sind, von denen jedes Magnetventil (12, 13; 120) einen ersten Motoranschluß (24) aufweist, der mit dem zum Sperrventil (29, 38) führenden Arbeitskanal (27) verbunden ist und über die Schieberventilfunktion (67, 71) gesteuert wird und daß jedes Magnetventil (12, 13; 120) einen zweiten Motoranschluß (25) aufweist, der von einer Sitzventilfunktion (26) des Magnetventils (12, 13) gesteuert wird und über einen Senkenkanal (35, 41) mit dem anderen Magnetventil (13, 12) zugeordneten Verbraucheranschluß (36, 28) verbunden ist, wobei der Senkenkanal (35, 41) die Sperrventile (29, 38) umgeht.
  2. Steuereinrichtung nach Anspruch 1, dadurch gekennzeichnet, daß bei jedem Magnetventil (12, 13; 120) in Ausgangsstellung (17) der zweite Motoranschluß (25) durch ein Sitzventil (26) abgesperrt ist, während die Schieberventilfunktion (67, 71) einen Zulaufanschluß (19) absperrt und daß in Arbeitsstellung (18) der Zulaufanschluß (19) mit dem ersten Motoranschluß (24) und der zweite Motoranschluß (25) mit dem Rücklaufanschluß (22) Verbindung haben.
  3. Steuereinrichtung nach Anspruch 1 oder 2, dadurch gekennzeichnet, daß das Magnetventil (12, 13; 120) als vorgesteuertes Ventil ausgebildet ist, in dessen längsbewegliches Hauptsteuerglied (57) ein vom ProportionalMagnet (14, 15) betätigbares Vorsteuerglied (58) ragt, das mit dem Hauptsteuerglied (57) nach Art einer Folgesteuerung zusammenarbeitet, und daß am Hauptsteuerglied (57) ein den zweiten Motoranschluß (25) absperrender, der Sitzventilfunktion zugeordneter Hauptventilkegel (59) angeordnet ist, der in der Verbindung zum Rücklaufanschluß (22) hin mit einer Feinsteuerkante (65) am Hauptsteuerglied (57) in Serie geschaltet ist, und daß davon räumlich getrennt die Steuerkanten (67, 71) für die Steuerung des ersten Motoranschlusses (24) angeordnet sind.
  4. Steuereinrichtung nach Anspruch 3, dadurch gekennzeichnet, daß das Hauptsteuerglied (57) mit einem verdickten Endabschnitt, an dem der Hauptventilkegel (59) ausgebildet ist, eine stirnseitig an das Hauptsteuerglied (57) grenzende Druckkammer (61) begrenzt, deren Druck das Hauptsteuerglied (57) in Schließrichtung belastet, und welche Druckkammer (61) vom Vorsteuerglied (58) zum Rücklauf (22) entlastbar ist, wozu das Vorsteuerglied (58) eine Schieberkante (72) und einen dazu in Serie liegenden Vorsteuerkegel (73) aufweist und von einer Feder (16) entgegen der Auslenkung des Proportional-Magneten (14) in Richtung Ausgangsstellung (17) belastet ist, und daß das Hauptsteuerglied (57) mindestens eine vom Druck im zweiten Motoranschluß (25) in Öffnungsrichtung belastete Differenzfläche (63) aufweist.
  5. Steuereinrichtung nach Anspruch 4, dadurch gekennzeichnet, daß das Hauptsteuerglied (57) eine zweite, es in Öffnungsrichtung belastende Differenzfläche (69) aufweist, die vom Druck in dem Zulaufanschluß (19) beaufschlagbar ist und daß die stirnseitige Druckkammer (61) über Rückschlagventile (75, 76) und Zulaufdrosseln (79) wahlweise vom höheren Druck im zweiten Motoranschluß (25) oder im Zulaufanschluß (19) beaufschlagbar ist.
  6. Steuereinrichtung nach einem der Ansprüche 3 bis 5, dadurch gekennzeichnet, daß das Hauptsteuerglied (57) des Magnetventils (12) in einer Schieberbohrung (51) geführt ist, in der den Anschlüssen (19, 22, 24, 25) zugeordnete Kammern ausgebildet sind, von denen eine Rücklaufkammer (54) zwischen der ersten (53) und der zweiten Motorkammer (56) liegt und eine Zulaufkammer (52) zwischen der ersten Motorkammer (53) und dem Magneten (14) liegt, während die zweite Motorkammer (56) auf der vom Magneten (14) abgewandten Seite angeorndnet ist, und daß insbesondere zwischen der zweiten Motorkammer (56) und der Rücklaufkammer (54) eine Zwischenkammer (55) liegt.
  7. Steuereinrichtung nach Anspruch 3, dadurch gekennzeichnet, daß das Hauptsteuerglied (121) gegenüber den Drücken im ersten und zweiten Motoranschluß (125, 126) und im Zulaufanschluß (124) druckausgeglichen ausgebildet ist und der an einem Ende angeordnete Hauptventilkegel (131) die Verbindung zu einer in der Schieberbohrung (123) außen und vom Magnet (14) abgewandten Rücklaufkammer (128) steuert, in der eine Feder (146) das Hauptsteuerglied (121) in Richtung Ausgangsstellung belastet und den Hauptventilkegel (131) gegen seinen gehäusefesten Sitz (129) drückt, daß das entgegengesetzt und nahe dem Magnet (14) liegende Ende des Hauptsteuerglieds (121) einen Druckraum (143) begrenzt, dessen Druck das Hauptsteuerglied (121) gegen die Kraft der Feder (146) in Richtung Arbeitsstellung (18) belastet und welcher Druckraum (143) vom Vorsteuerglied (122) mit dem Zulaufanschluß (19) verbindbar ist und der über eine Drosselbohrung (144) mit dem ersten Rücklaufanschluß (22) Verbindung hat, wobei das Vorsteuerglied (122) von einer sich gehäusefest abstützenden Feder (147) am Anker (59) des Proportionalmagneten (14) anliegend gehalten wird.
  8. Steuereinrichtung nach Anspruch 7, dadurch gekennzeichnet, daß die Drosselbohrung (144) im Hauptsteuerglied (121) angeordnet ist, in dem ein in die Rücklaufkammer (128) ragender Dämpfungskolben (145) mit Rücklaufdrossel gleitend geführt angeordnet ist.
  9. Steuereinrichtung nach Anspruch 7 oder 8, dadurch gekennzeichnet, daß das Hauptsteuerglied (121) des Magnetventils (120) in einer Schieberbohrung (123) geführt ist, in der den Anschlüssen zugeordnete Kammern ausgebildet sind, von denen die erste (125) und zweite Motorkammer (126) nebeneinander liegen und zwischen der ersten Motorkammer (125) und dem Magneten (14) die Zulaufkammer (124) liegt, während die Rücklaufkammer (128) auf der vom Magnet (14) abgewandten Seite außerhalb der zweiten Motorkammer (126) angeordnet ist, und daß insbesondere zwischen der zweiten Motorkammer (126) und der Rücklaufkammer (128) eine Zwischenkammer (127) angeordnet ist.
  10. Steuereinrichtung nach einem oder mehreren der Ansprüche 1 bis 9, dadurch gekennzeichnet, daß die beiden Sperrventile (29, 38) in einem Steuerleitungskreis (34, 39, 82) liegen, bei dem der im zulaufseitigen Einlaß (31) des einen Sperrventils (29, 38) vorhandene, zum Sperren des anderen Sperrventils (38, 29) dienende Druck über einen Steueranschluß (33) am anderen Sperrventil (38, 29) auf dessen federbelastete Rückseite geführt wird.
  11. Steuereinrichtung nach Anspruch 10, dadurch gekennzeichnet, daß der zum Sperren dienende Druck durch die Sperrventile (29, 38) hindurchgeführt ist, wozu eines der Sperrventile (83) mindestens eine Drossel (85), insbesondere ein Drossel-Rückschlagventil (84, 85), aufweist und die Steueranschlüsse (33) beider Sperrventile (29, 38) über eine Hauptsteuerleitung (82) miteinander verbunden sind.
  12. Steuereinrichtung nach Anspruch 10 oder 11, dadurch gekennzeichnet, daß jedes Sperrventil (90) einen hülsenförmigen Ventilkörper (91) aufweist, der auf einem bolzenförmigen Fortsatz (92) eines Sperrkolbens (93) gleitend geführt ist und über eine Feder (94) sich an letztem abstützt, wobei die Außendurchmesser von Sperrkolben (93) und Ventilkörper (91) im wesentlichen gleich groß sind, und daß zwischen einem zulaufseitigen Einlaß (31) und dem Steueranschluß (33) durch das Sperrventil (90) hindurch ein Durchgang (99) verläuft, in den mindestens eine Drossel (85), insbesondere ein Drossel-Rückschlagventil (84, 85) geschaltet ist.
  13. Steuereinrichtung nach einem der Ansprüche 1 bis 12, dadurch gekennzeichnet, daß zwischen die beiden ersten Motoranschlüsse (24) beider Magnetventil (12, 13) ein Wechselventil (42) geschaltet ist, das in einer federzentrierten Mittelstellung einen einer Lastdruckleitung zugeordneten Mittelanschluß (46) entlastet und bei Druckbeaufschlagung eines seiner beiden Druckanschlüsse (44, 45) den maximalen Druck in die Lastdruckleitung führt.
  14. Steuereinrichtung nach einem der Ansprüche 1 bis 13, dadurch gekennzeichnet, daß die beiden Magnetventile (12, 13) in einem im wesentlichen quaderförmigen Gehäuse (50) so angeordnet sind, daß ihre Längsachsen zueinander parallel verlaufen und ihre Proportional-Magnete (14, 15) an der gleichen Stirnfläche (106) angeordnet sind.
  15. Steuereinrichtung nach Anspruch 14, dadurch gekennzeichnet, daß das Gehäuse (50) entgegengesetzt zu seiner den Magneten (14, 15) zugeordneten Stirnfläche (106) eine Einbaufläche (107) aufweist, die durch einen Deckel (108) abgedeckt ist, und daß im Gehäuse (50) und im Deckel (108) jeweils ein Verbraucheranschluß (36, 28) angeordnet ist, die insbesondere gemeinsam an einer Oberseite (109) liegen.
  16. Steuereinrichtung nach Anspruch 14 oder 15, dadurch gekennzeichnet, daß im Gehäuse (50) im Bereich zwischen den beiden Magnetventilen (12, 13) die beiden Sperrventile (29, 38) und das Wechselventil (42) angeordnet sind.
  17. Steuereinrichtung nach einem der Ansprüche 14 bis 16, dadurch gekennzeichnet, daß die den Hauptsteuergliedern (57) beider Magnetventile (12, 13) zugeordneten, gehäusefesten Ventilsitze (60) sowie die den Sperrventilen (29, 38) zugeordneten Ventilsitze in achsparallelen Bohrungen (51, 96) liegen, die zur Einbaufläche (107) hin offen sind.
  18. Steuereinrichtung nach einem der Ansprüche 14 bis 17, dadurch gekennzeichnet, daß die Längsachsen der Magnetventile (12, 13) im Gehäuse (50) in zwei zueinander parallelen, im Abstand voneinander liegenden Längsebenen liegen.
  19. Steuereinrichtung nach Anspruch 18, dadurch gekennzeichnet, daß die zueinander achsparallel angeorndeten Sperrventile (29, 38) in unterschiedlichen, im Abstand voneinander verlaufenden Querebenen liegen, und daß insbesondere der Abstand zwischen ihren zugeordneten Längsebenen größer ist, als derjenige bei den Magnetventilen (12, 13).
  20. Steuereinrichtung nach einem der Ansprüche 15 bis 19, dadurch gekennzeichnet, daß im Gehäuse (50) unterhalb der beiden Magnetventile (12, 13) eine Druckwaage (105) angeordnet ist und ein Pumpenkanal (111) verläuft.
EP96902898A 1995-06-22 1996-02-24 Elektrohydraulische steuereinrichtung für einen doppeltwirkenden verbraucher Expired - Lifetime EP0777829B1 (de)

Applications Claiming Priority (4)

Application Number Priority Date Filing Date Title
DE19522746 1995-06-22
DE19522746A DE19522746A1 (de) 1995-06-22 1995-06-22 Elektrohydraulische Steuereinrichtung für einen doppeltwirkenden Verbraucher
PCT/DE1996/000314 WO1997001041A1 (de) 1995-06-22 1996-02-24 Elektrohydraulische steuereinrichtung für einen doppeltwirkenden verbraucher
US08/796,921 US5799485A (en) 1995-06-22 1997-02-06 Electrohydraulic control device for double-acting consumer

Publications (2)

Publication Number Publication Date
EP0777829A1 EP0777829A1 (de) 1997-06-11
EP0777829B1 true EP0777829B1 (de) 2001-12-05

Family

ID=26016203

Family Applications (1)

Application Number Title Priority Date Filing Date
EP96902898A Expired - Lifetime EP0777829B1 (de) 1995-06-22 1996-02-24 Elektrohydraulische steuereinrichtung für einen doppeltwirkenden verbraucher

Country Status (6)

Country Link
US (1) USRE38355E1 (de)
EP (1) EP0777829B1 (de)
JP (1) JPH10505402A (de)
BR (1) BR9606481A (de)
DE (1) DE19522746A1 (de)
WO (1) WO1997001041A1 (de)

Cited By (1)

* Cited by examiner, † Cited by third party
Publication number Priority date Publication date Assignee Title
EP2644906A3 (de) * 2012-03-30 2017-08-16 Hydac Fluidtechnik GmbH Ventil, insbesondere vorgesteuertes Proportional-Druckregelventil

Families Citing this family (20)

* Cited by examiner, † Cited by third party
Publication number Priority date Publication date Assignee Title
CA2271017A1 (en) 1996-11-11 1998-05-22 Mannesmann Rexroth Ag Valve system and manufacture of same
DE19707722A1 (de) * 1996-11-11 1998-05-14 Rexroth Mannesmann Gmbh Ventilanordnung und Verfahren zur Ansteuerung einer derartigen Ventilanordnung
DE19649833A1 (de) 1996-12-02 1998-06-04 Bosch Gmbh Robert Elektrohydraulische Steuervorrichtung
DE19650465B4 (de) * 1996-12-05 2005-12-01 Robert Bosch Gmbh Elektrohydraulische Steuereinrichtung
DE29713294U1 (de) 1997-07-25 1997-09-25 Heilmeier & Weinlein Fabrik für Oel-Hydraulik GmbH & Co KG, 81673 München Hydraulische Steuervorrichtung für ein Kipperfahrzeug
DE19843122C2 (de) * 1998-09-21 2002-10-17 Bosch Gmbh Robert Wegeventil
DE19932139B4 (de) * 1999-07-09 2009-06-18 Bosch Rexroth Aktiengesellschaft Vorgesteuertes Schieberventil
DE10023583B4 (de) * 2000-05-13 2012-05-24 Robert Bosch Gmbh Elektrohydraulischer Senken-Modul
DE10033757B4 (de) * 2000-07-12 2011-06-22 Linde Material Handling GmbH, 63743 Steuereinrichtung für einen hydraulischen Verbraucher
DE10034931B4 (de) * 2000-07-18 2011-03-10 Linde Material Handling Gmbh Steuerventileinrichtung
DE10056288B4 (de) * 2000-11-14 2009-10-08 Linde Material Handling Gmbh Steuerventileinrichtung
EP1741936A1 (de) * 2005-07-08 2007-01-10 THOMAS MAGNETE GmbH Fördermengenregelventil für liquide Medien
KR101148377B1 (ko) * 2009-11-02 2012-05-21 (주) 삼진정밀 체크밸브 무손실 유압제어시스템
CN105666432B (zh) * 2016-03-29 2018-06-22 浙江大学 一种五自由度的皮纳卫星安装装置
DE102018102397A1 (de) * 2018-02-02 2019-08-08 J.D. Neuhaus Holding Gmbh & Co. Kg Steuerventilanordnung zur indirekten pneumatischen Steuerung
EP3660365B1 (de) * 2018-11-27 2021-07-21 Hamilton Sundstrand Corporation Servoventil
CN109931314B (zh) * 2019-03-22 2024-05-14 中国铁建重工集团股份有限公司 液压系统
US20220259829A1 (en) * 2019-07-08 2022-08-18 Danfoss Power Solutions Ii Technology A/S Hydraulic system architectures and bidirectional proportional valves usable in the system architectures
WO2022204599A1 (en) * 2021-03-26 2022-09-29 Husco International, Inc. Hydraulic systems and methods for pressure control
SE547765C2 (en) * 2024-02-10 2025-11-25 Pmc Hydraulics Ab A valve arrangement for controlling a hydraulic actuator

Family Cites Families (9)

* Cited by examiner, † Cited by third party
Publication number Priority date Publication date Assignee Title
US2650609A (en) * 1951-03-20 1953-09-01 Bogue Elec Mfg Co Hydraulic valve
US2671433A (en) * 1952-12-15 1954-03-09 Bendix Aviat Corp Pressure flow controlled selfholding selector valve
US2804883A (en) * 1954-12-27 1957-09-03 Gurries Mfg Co Open-center follow-up control valve
US3906980A (en) * 1974-04-04 1975-09-23 Deere & Co Direction control valve embodying a sleeve-like pressure equalizing valve element
US4096784A (en) * 1976-09-07 1978-06-27 Theodore Ongaro Hydraulic power system
JPS5947506A (ja) * 1982-09-09 1984-03-17 Fuji Eng Kk 複合弁
DE3243180A1 (de) * 1982-11-23 1984-05-24 Robert Bosch Gmbh, 7000 Stuttgart Elektromagnetisch betaetigtes wegeventil
LU87794A1 (fr) * 1990-08-31 1991-02-18 Hydrolux Sarl Proportional-wegeventil in sitzbauweise
DE4140604A1 (de) * 1991-12-10 1993-06-17 Bosch Gmbh Robert Steuervorrichtung fuer den volumenstrom eines hydraulischen arbeitsmittels

Cited By (1)

* Cited by examiner, † Cited by third party
Publication number Priority date Publication date Assignee Title
EP2644906A3 (de) * 2012-03-30 2017-08-16 Hydac Fluidtechnik GmbH Ventil, insbesondere vorgesteuertes Proportional-Druckregelventil

Also Published As

Publication number Publication date
BR9606481A (pt) 1997-09-30
EP0777829A1 (de) 1997-06-11
WO1997001041A1 (de) 1997-01-09
USRE38355E1 (en) 2003-12-23
JPH10505402A (ja) 1998-05-26
DE19522746A1 (de) 1997-01-02

Similar Documents

Publication Publication Date Title
EP0777829B1 (de) Elektrohydraulische steuereinrichtung für einen doppeltwirkenden verbraucher
DE4431330A1 (de) Sitzventil mit Kraftrückkopplungssteuerung
EP0279315B1 (de) Hydraulische Steuervorrichtung
EP0918678B1 (de) Elektrohydraulische steuervorrichtung
EP0179249A2 (de) Hydraulische Steuerung
EP1500825B1 (de) Wegeventil
DE4036564A1 (de) Hydraulische einrichtung zur steuerung eines arbeitszylinders einer presse
DE102007028864A1 (de) Hydraulische Steueranordnung
EP0845602B1 (de) Elektohydraulische Steuervorrichtung
DE19632368A1 (de) Elektrohydraulisches Regelwegeventil
DE3536219C2 (de)
DE4028887A1 (de) Hydraulische steuereinrichtung
EP0110126B1 (de) Elektromagnetisch betätigtes Wegeventil
EP0823559B1 (de) Hydraulische Steuereinrichtung
DE3408593C2 (de) Hydraulisches Dreiwege-Stetigventil für Blockeinbau
DE2929232C2 (de)
EP0491155B1 (de) Hydraulisches Wegeventil zur Steuerung eines Hydromotors
DE10023583B4 (de) Elektrohydraulischer Senken-Modul
DE3639174C2 (de) Hydraulische Steuereinrichtung
DE19503943C2 (de) Bremsventilanordnung für einen reversierbaren hydraulischen Verbraucher
EP0176679B1 (de) Hydraulische Steuereinrichtung
DE3431103C2 (de)
DE4119297A1 (de) Hydraulische ventileinrichtung zur steuerung des leerlaufs, der druckbegrenzung und der lastdruckkompensation
EP1069317A2 (de) Wegeventilscheibe, insbesondere für ein mobiles Arbeitsgerät
DE19522744B4 (de) Elektrohydraulische Steuervorrichtung

Legal Events

Date Code Title Description
PUAI Public reference made under article 153(3) epc to a published international application that has entered the european phase

Free format text: ORIGINAL CODE: 0009012

AK Designated contracting states

Kind code of ref document: A1

Designated state(s): AT BE CH DE DK ES FR GB GR IE IT LI LU MC NL PT SE

17P Request for examination filed

Effective date: 19970709

GRAG Despatch of communication of intention to grant

Free format text: ORIGINAL CODE: EPIDOS AGRA

17Q First examination report despatched

Effective date: 20010220

GRAG Despatch of communication of intention to grant

Free format text: ORIGINAL CODE: EPIDOS AGRA

GRAH Despatch of communication of intention to grant a patent

Free format text: ORIGINAL CODE: EPIDOS IGRA

GRAH Despatch of communication of intention to grant a patent

Free format text: ORIGINAL CODE: EPIDOS IGRA

GRAA (expected) grant

Free format text: ORIGINAL CODE: 0009210

AK Designated contracting states

Kind code of ref document: B1

Designated state(s): AT BE CH DE DK ES FR GB GR IE IT LI LU MC NL PT SE

PG25 Lapsed in a contracting state [announced via postgrant information from national office to epo]

Ref country code: NL

Free format text: LAPSE BECAUSE OF FAILURE TO SUBMIT A TRANSLATION OF THE DESCRIPTION OR TO PAY THE FEE WITHIN THE PRESCRIBED TIME-LIMIT

Effective date: 20011205

Ref country code: IE

Free format text: LAPSE BECAUSE OF FAILURE TO SUBMIT A TRANSLATION OF THE DESCRIPTION OR TO PAY THE FEE WITHIN THE PRESCRIBED TIME-LIMIT

Effective date: 20011205

Ref country code: GR

Free format text: LAPSE BECAUSE OF FAILURE TO SUBMIT A TRANSLATION OF THE DESCRIPTION OR TO PAY THE FEE WITHIN THE PRESCRIBED TIME-LIMIT

Effective date: 20011205

REF Corresponds to:

Ref document number: 210247

Country of ref document: AT

Date of ref document: 20011215

Kind code of ref document: T

REG Reference to a national code

Ref country code: CH

Ref legal event code: EP

REG Reference to a national code

Ref country code: GB

Ref legal event code: IF02

REG Reference to a national code

Ref country code: IE

Ref legal event code: FG4D

Free format text: GERMAN

REF Corresponds to:

Ref document number: 59608365

Country of ref document: DE

Date of ref document: 20020117

PG25 Lapsed in a contracting state [announced via postgrant information from national office to epo]

Ref country code: LU

Free format text: LAPSE BECAUSE OF NON-PAYMENT OF DUE FEES

Effective date: 20020224

Ref country code: AT

Free format text: LAPSE BECAUSE OF NON-PAYMENT OF DUE FEES

Effective date: 20020224

PG25 Lapsed in a contracting state [announced via postgrant information from national office to epo]

Ref country code: LI

Free format text: LAPSE BECAUSE OF NON-PAYMENT OF DUE FEES

Effective date: 20020228

Ref country code: CH

Free format text: LAPSE BECAUSE OF NON-PAYMENT OF DUE FEES

Effective date: 20020228

Ref country code: BE

Free format text: LAPSE BECAUSE OF NON-PAYMENT OF DUE FEES

Effective date: 20020228

PG25 Lapsed in a contracting state [announced via postgrant information from national office to epo]

Ref country code: SE

Free format text: LAPSE BECAUSE OF FAILURE TO SUBMIT A TRANSLATION OF THE DESCRIPTION OR TO PAY THE FEE WITHIN THE PRESCRIBED TIME-LIMIT

Effective date: 20020305

Ref country code: PT

Free format text: LAPSE BECAUSE OF FAILURE TO SUBMIT A TRANSLATION OF THE DESCRIPTION OR TO PAY THE FEE WITHIN THE PRESCRIBED TIME-LIMIT

Effective date: 20020305

Ref country code: DK

Free format text: LAPSE BECAUSE OF FAILURE TO SUBMIT A TRANSLATION OF THE DESCRIPTION OR TO PAY THE FEE WITHIN THE PRESCRIBED TIME-LIMIT

Effective date: 20020305

GBT Gb: translation of ep patent filed (gb section 77(6)(a)/1977)

Effective date: 20020220

NLV1 Nl: lapsed or annulled due to failure to fulfill the requirements of art. 29p and 29m of the patents act
PG25 Lapsed in a contracting state [announced via postgrant information from national office to epo]

Ref country code: ES

Free format text: LAPSE BECAUSE OF FAILURE TO SUBMIT A TRANSLATION OF THE DESCRIPTION OR TO PAY THE FEE WITHIN THE PRESCRIBED TIME-LIMIT

Effective date: 20020627

REG Reference to a national code

Ref country code: IE

Ref legal event code: FD4D

BERE Be: lapsed

Owner name: ROBERT BOSCH G.M.B.H.

Effective date: 20020228

PG25 Lapsed in a contracting state [announced via postgrant information from national office to epo]

Ref country code: MC

Free format text: LAPSE BECAUSE OF NON-PAYMENT OF DUE FEES

Effective date: 20020901

PLBE No opposition filed within time limit

Free format text: ORIGINAL CODE: 0009261

STAA Information on the status of an ep patent application or granted ep patent

Free format text: STATUS: NO OPPOSITION FILED WITHIN TIME LIMIT

REG Reference to a national code

Ref country code: CH

Ref legal event code: PL

26N No opposition filed
PGFP Annual fee paid to national office [announced via postgrant information from national office to epo]

Ref country code: GB

Payment date: 20040202

Year of fee payment: 9

PG25 Lapsed in a contracting state [announced via postgrant information from national office to epo]

Ref country code: GB

Free format text: LAPSE BECAUSE OF NON-PAYMENT OF DUE FEES

Effective date: 20050224

GBPC Gb: european patent ceased through non-payment of renewal fee

Effective date: 20050223

PGFP Annual fee paid to national office [announced via postgrant information from national office to epo]

Ref country code: IT

Payment date: 20080228

Year of fee payment: 13

PGFP Annual fee paid to national office [announced via postgrant information from national office to epo]

Ref country code: FR

Payment date: 20080219

Year of fee payment: 13

PGFP Annual fee paid to national office [announced via postgrant information from national office to epo]

Ref country code: DE

Payment date: 20090417

Year of fee payment: 14

REG Reference to a national code

Ref country code: FR

Ref legal event code: ST

Effective date: 20091030

PG25 Lapsed in a contracting state [announced via postgrant information from national office to epo]

Ref country code: FR

Free format text: LAPSE BECAUSE OF NON-PAYMENT OF DUE FEES

Effective date: 20090302

PG25 Lapsed in a contracting state [announced via postgrant information from national office to epo]

Ref country code: DE

Free format text: LAPSE BECAUSE OF NON-PAYMENT OF DUE FEES

Effective date: 20100901

PG25 Lapsed in a contracting state [announced via postgrant information from national office to epo]

Ref country code: IT

Free format text: LAPSE BECAUSE OF NON-PAYMENT OF DUE FEES

Effective date: 20090224