EP0731223B1 - Montagevorrichtung zur tragenden Befestigung einer Sanitäreinrichtung - Google Patents

Montagevorrichtung zur tragenden Befestigung einer Sanitäreinrichtung Download PDF

Info

Publication number
EP0731223B1
EP0731223B1 EP96101157A EP96101157A EP0731223B1 EP 0731223 B1 EP0731223 B1 EP 0731223B1 EP 96101157 A EP96101157 A EP 96101157A EP 96101157 A EP96101157 A EP 96101157A EP 0731223 B1 EP0731223 B1 EP 0731223B1
Authority
EP
European Patent Office
Prior art keywords
profiled frame
recesses
frame
profile
guide rails
Prior art date
Legal status (The legal status is an assumption and is not a legal conclusion. Google has not performed a legal analysis and makes no representation as to the accuracy of the status listed.)
Expired - Lifetime
Application number
EP96101157A
Other languages
English (en)
French (fr)
Other versions
EP0731223A1 (de
Inventor
Dieter Knappe
Klaus Götzelmann
Thomas Hoffmann
Current Assignee (The listed assignees may be inaccurate. Google has not performed a legal analysis and makes no representation or warranty as to the accuracy of the list.)
M. BLOCK GMBH
Original Assignee
Mero & Co KG GmbH
Priority date (The priority date is an assumption and is not a legal conclusion. Google has not performed a legal analysis and makes no representation as to the accuracy of the date listed.)
Filing date
Publication date
Application filed by Mero & Co KG GmbH filed Critical Mero & Co KG GmbH
Publication of EP0731223A1 publication Critical patent/EP0731223A1/de
Application granted granted Critical
Publication of EP0731223B1 publication Critical patent/EP0731223B1/de
Anticipated expiration legal-status Critical
Expired - Lifetime legal-status Critical Current

Links

Images

Classifications

    • EFIXED CONSTRUCTIONS
    • E03WATER SUPPLY; SEWERAGE
    • E03DWATER-CLOSETS OR URINALS WITH FLUSHING DEVICES; FLUSHING VALVES THEREFOR
    • E03D11/00Other component parts of water-closets, e.g. noise-reducing means in the flushing system, flushing pipes mounted in the bowl, seals for the bowl outlet, devices preventing overflow of the bowl contents; devices forming a water seal in the bowl after flushing, devices eliminating obstructions in the bowl outlet or preventing backflow of water and excrements from the waterpipe
    • E03D11/13Parts or details of bowls; Special adaptations of pipe joints or couplings for use with bowls, e.g. provisions in bowl construction preventing backflow of waste-water from the bowl in the flushing pipe or cistern, provisions for a secondary flushing, for noise-reducing
    • E03D11/14Means for connecting the bowl to the wall, e.g. to a wall outlet
    • E03D11/143Mounting frames for toilets and urinals
    • E03D11/146Mounting frames for toilets and urinals with incorporated cistern

Definitions

  • the present invention relates to a mounting device for supporting Fixing a sanitary facility, for example a toilet bowl, one Urinals, a washstand, a bidet or the like. according to the generic term of Claim 1.
  • Assembly devices of the type in question serve in particular to all for the connection of a certain sanitary facility, for example a toilet bowl, necessary installation elements, for example Cistern, connection sleeves, fastening devices, drain bends etc. in to pre-assemble a frame-like frame, whereupon the complete pre-assembled assembly device, depending on the design, also as a sanitary block, Sanitary element or installation frame referred to as intended Installed and installed on the existing water pipe or Sewage system is connected, the assembly can for example directly on a wall as pre-wall installation, integrated in a column-wall system or in a rail system.
  • Known mounting devices have as the actual support frame or as Support frame a frame or a frame made of profile elements, the welded, screwed, riveted or otherwise detachable or are inextricably linked.
  • a disadvantage of these known Mounting devices is in particular that this frame and the frame individual profiles composite profile frame a high manufacturing and in particular assembly effort both in the pre-assembly and in final assembly on site.
  • a mounting device is known from DE 9414960 U1 with a support frame for supporting at least one sanitary body and for fastening supply and disposal lines with one Frame frame and at least the front of the mounting device partially occluding cover element known.
  • the housing of this known mounting device can be cantilevered support frame be formed. At least that's the front of the Housing-forming cover element is preferably with a scale front educated.
  • DE 9305511 U1 describes a generic mounting device for sanitary appliances, in particular wall closets that are attached to or into lightweight walls are integrated and supported on a bare floor or hanging freely in Lightweight walls can be integrated.
  • the one reaching to the bare floor Installation frame is used to connect the toilet bowl, the Cistern or the pipes and is made of one with corrosion protection coated semi-finished product.
  • the semi-finished product used can be is a galvanized sheet.
  • the semi-finished product used can also be a Be angular profile.
  • This known installation frame can be on the side Elongated holes be formed.
  • the invention has for its object a mounting device to create the kind mentioned at the beginning, which is at least sufficient Strength and stiffness can be produced easily and simply and / or is mountable.
  • the mounting device has at least one profile frame that at the same time for fastening the aforementioned devices and for Fastening the mounting devices to a wall, on a floor and / or on or in a stand or rail system.
  • the Profile frame consists of a flat forming a front wall panel Sheet metal cut, the edges of which around the four edges of the front sheet metal closed the profile frame to form an L-shaped edge profile are folded or angled all the way to the rear.
  • the sheet metal level the flat Forms the front wall plate of the profile frame and its folded or angled edge areas first of all stiffening the profile frame serve.
  • This design creates a profile frame that for many Applications, for example for fastening a wash basin or the like, has sufficient rigidity and strength and by a single manufacturing step and at least partially automatable is.
  • the recesses, openings, fastening openings and the like. can do it both relatively small, for example as openings for the passage of Fastening screws, or almost the entire area of Front of the profile frame comprehensive, for example for the assembly of Cisterns or the like. In the latter case, this includes Front wall panel essentially only those in the profile frame level remaining edge areas of the sheet metal blank.
  • the size of the Recesses is of secondary importance for strength and rigidity, because these factors are predominantly angled or angled from an L-shape Border area can be determined.
  • edges bent or angled backwards in substantially perpendicular to the plane of the front panel or Profile frame level run, the edges in the area of the corners of the Profile frame are interconnected, there is good rigidity and Strength of the mounting device.
  • This connection can, for example by welding the abutting edge areas of the angled edges.
  • a simple connection results if the abutting edge areas of the angled edges Have teeth such that when folding or bending the Edges the abutting edge areas automatically behind the handle interlock.
  • a flat front surface apart from the intended a penetration-requiring installation elements, such as pipe sockets for Connection of fittings or the like.
  • a plasterboard or other plate-shaped cladding is desirable, are the invention Edge areas of the recesses, openings and fastening openings so sunk in the area of the front panel that the fastening elements such as screws Nuts or the like do not protrude from the sheet level. Effect at the same time these recesses projecting backwards from the front panel level a further increase in the rigidity of the profile frame.
  • Another possibility for increasing the rigidity of the profile frame is in arranging beads in the area of the front panel, in particular to be formed directly in the front wall sheet like a gutter.
  • the mounting of the mounting device of the invention, for example on a Wall can be done, for example, by elbows, which are on the side or can be attached to the back of the profile frame and secondly to the wall can be brought to the system and also fastened there, in particular screwed are.
  • elbows which are on the side or can be attached to the back of the profile frame and secondly to the wall can be brought to the system and also fastened there, in particular screwed are.
  • These are preferably in the area of the folded or angled Edges, especially the vertically running edge areas of the Profile frame recesses for the passage of fastening screws for such mounting bracket intended.
  • these recesses can be shaped like an elongated hole.
  • Another advantage of this design is that it the recesses serving for fastening also for fastening Use on vertical uprights of a upright wall can find. This makes it possible to use one and the same Assembly device without structural changes both for pre-wall mounting and for mounting in a stud wall or to use a corresponding rail system.
  • the assembly device according to the invention only a single profile frame as described above exhibit.
  • the mounting device at least a second profile frame with his upper profile edge, d. H. with its angled top edge, on the first profile frame in the area of its lower horizontal running profile edge is attachable.
  • the attachment can in the simplest way by welding the two profile frames in the seam area or by a Screw connection.
  • the width of the two profile frames is preferred essentially the same, so that the longitudinal edges or Longitudinal profile edges of the two profile frames essentially are aligned. This is particularly important if the mounting device of the invention between two uprights of a upright wall that lie against the longitudinal edges of the profile should be mountable.
  • the advantage of this two or Multi-framed design consists in particular in that in the area of the interface or the connecting edge between both profile frames have a considerable rigidity, spanning the entire width of the mounting device Cross member, consisting of the two interconnected L-shaped frame profile areas is formed.
  • the sizes of the two profile frames are chosen so that the connecting edge of both profile frames in the area of greatest intended load is. This for example, in the case of a bidet or toilet element, the area in which the bidet or toilet bowl is screwed or flanged is.
  • a particularly preferred embodiment of the invention is one in the front panel of the first profile frame Recess arranged such that during manufacture this recess, for example by punching Sheet section directly as a flat sheet blank for the Production of the second profile frame can be used.
  • the second profile frame initially has the basic same structure as the first profile frame, d. H. With a flat front panel and essentially closed all-round, backwards folded or angled edge areas, an L-shaped frame profile in this edge area is formed.
  • the mounting device can be made in any desired manner according to the invention for example between two with essentially the width of the mounting device Stands arranged and fastened to a metal stud wall become. In this example of attachment, if necessary on a support of the mounting device on the floor to be dispensed with. In particular, however, if the invention Mounting device essentially free-standing in front of a The solid wall is mounted on this to support it Mounting device a preferably adjustable in height Foot section for support on the floor and for precise height adjustment the mounting device. In the simplest way can this foot part, for example, from two spaced parallel extending threaded rods exist in corresponding Tapped holes of the lower horizontal Profile edge of the profile frame adjustable in height and screwed are.
  • the invention therefore has at least the second profile frame two web-like, perpendicular and parallel to each other Guide rails with a substantially U-shaped cross section Profile on, with the vertical longitudinal edges the guide rails to form the legs of the U-profile from the profile frame level or the front panel level are folded backwards.
  • the edge area facing the floor the second profile frame points in the area of this U-shaped guide rails each have a recess for passage one each in the U-shaped guide rails attachable foot part. Due to the U-shaped design the guide rails of the foot sections are made in the Areas of greatest stress and considerable reinforcement Stiffening of the profile frame.
  • the foot parts preferably also have a cross section essentially U-shaped profile with at least slightly smaller cross-sectional width than the U-shaped profile of the Guide rails on.
  • the foot parts are in the guide rails insertable and fixable there that itself altogether an essentially box-like closed profile results.
  • This design makes another significant one Increase in the strength or rigidity of the lower profile frame achieved in this area. Is done at the same time this design a reliable guidance of the foot parts in the guide rails without the risk of tilting, thereby the exact adjustability is also improved overall.
  • the foot parts can be fixed in the guide rails fundamentally any way, for example by means Clamping or fastening screws, the guide rail and clamp the foot section against each other.
  • the base surfaces of the U-shaped guide rails and the Foot parts each cranked towards the inside so that the Base area of a foot part each on the base area a guide rail can be brought flat to the system.
  • an L or U-shaped profile attachable to the profile frame from behind and attachable there, for example by welding his.
  • sanitary facilities to be fixed as intended especially toilet bowl or bidet.
  • These sanitary facilities are attached via threaded rods that are in corresponding with an internal thread provided mounting recesses can be screwed into the profile frame are.
  • To strengthen in this area i. H. in the upper area or in the area of the extension of the web-like Guide rails are preferably L-shaped in longitudinal section Gain angles arranged with their first Leg on the upper edge area facing the first profile frame of the second profile frame and with its second leg at the upper edge area facing the front of the profile frame of the second profile frame attachable, in particular weldable are.
  • the second leg of the L-shaped profiles are in particular with provided with a thread for fastening these sanitary facilities. Due to this design, the inclusion takes place in this area acting tensile loads from both parts of the profile frame, which in the Front wall sheet level lie, as well as by parts of the profile frame, which in the vertically angled edges.
  • the foot parts are preferably in the area of theirs from the second profile frame pointing the end of the two foot parts connecting footplate attached.
  • the bearing surface in particular raised on the floor or a mounting rail.
  • This preferably has Footplate recesses for the passage of fastening elements, in particular fastening screws, for fastening the footplate on the Floor or on a mounting rail.
  • Figure 1 is an embodiment of an inventive Assembly device shown with one-piece profile frame.
  • the illustrated Mounting device is not used for load-bearing attachment illustrated urinals.
  • the profile frame 1 has a front turning plate 2, whose edge regions 6, 7, 8, 9 from the front panel level to the rear bevelled at right angles and abutting in the corners are interconnected.
  • the front panel 2 has a variety of smaller recesses, openings, fastening openings and the like. on.
  • the square recesses 23 are used to reach through Fixing screws for a urinal, not shown, it from Urinal type used depends on which of the recesses 23 then actually be used.
  • a cross-shaped groove-like bead 24 is provided to the local Stiffening of the front panel 2 is used in this area.
  • the Recesses 25 and 26 serve to carry out the rinse water inlet 27 and the drain pipe 28. These recesses are known per se Formed elongated to ensure good adaptability to different to ensure structural conditions.
  • a recess 29 which is arranged after the Assemble the mounting device, for example in a bathroom Connection of the sewage pipe to the drain pipe 28 allows.
  • the Edge regions 30 of the recess 29 are also folded backwards or angled and thus contribute to stiffening the front panel 2 and thus the profile frame 1 in total.
  • FIG. 2 is another embodiment of an inventive Mounting device using a one-piece profile frame 1 shown.
  • the assembly device shown here is used for Attachment and at the end of a washstand.
  • the basic structure the mounting device or the profile frame 1 corresponds to this Profile frame of the representation of Figure 1.
  • Embodiment according to Figure 1 are in the embodiment according to FIG. 2 three substantially vertical bead-like depressions 31, 32, 33 anodnet4 for stiffening the front panel 2.
  • the slot-like recesses 34, 35 serve to carry out the warm and Cold water supply lines 36, 37, while the recesses 38 for Implementation of the drain pipe 39 is used.
  • the edge areas 40 of the Recesses 34, 35 are recessed in the front panel 2 so that the fasteners 41 in the form of hexagon flange nut protrude the front panel level.
  • This design ensures that one after final assembly on the mounting fixture applied covering or a plasterboard in any case over the entire surface rests on the front panel 2.
  • the slot-like design allows adaptation to different types of washbasins.
  • Recesses 43, 44 In the area of the upper edge 6 of the profile frame 1 there are two more Recesses 43, 44 introduced and their edges recessed, these Recesses 43, 44 for the alternative connection of fittings to the cold and Serve hot water pipe.
  • FIGS Recesses for fastening the profile frame to a wall or to the Stands of a stud wall not shown.
  • FIG 3 is another example of an inventive Assembly device shown.
  • This mounting device that is to be fastened Connection of a bidet is used, has an upper first profile frame 1 and a lower profile frame 45.
  • the second lower profile frame 45 is with its upper profile edge or its upper profile edge 46 on the lower Profile edge or the lower profile edge 47 of the upper frame 1 attached.
  • Interface 46, 47 is a highly stiffened cross member, consisting essentially from the two welded L-shaped profile areas of the Profile frame 1 or 45.
  • This stiffened cross member is approximately in the Area in which, by means of screws or threaded rods, not shown, the are screwed into the threaded holes 48, the bidet basin attached becomes.
  • the weight of the bidet when used as intended of the user and the pool applied to the mounting device Tractive force in this area can be stiffened by the cross member 46, 47 in be recorded almost ideally.
  • the second profile frame 45 has three adjacent recesses 49, 50 and 51.
  • the recess 50 serves in particular to carry out the warm and Cold water connections 52, 53 and the water drain pipe 54.
  • a web-like guide rail 55, 56 in the region of the profile frame 45 arranged.
  • the two guide rails 55, 56 run parallel to one another and to the longitudinal side edges of both the profile frame 1 and the Profile frame 45 and are thus aligned substantially vertically.
  • the Guide rails 55, 56 essentially have a U-shaped rearward open profile.
  • the lower edge area of the Profile frame 45 has directly below the guide rails 55, 56 Recesses, not shown, by the appropriately designed Foot parts 57, 58 can come into engagement with the guide rails 55, 56.
  • the foot parts 57, 58 are slidably fixable in the guide rails 55, 56 out.
  • the embodiment of a mounting device according to the invention Figure 4 is also designed as a two-part profile frame and is used for load-bearing attachment of a toilet bowl.
  • the basic structure this embodiment corresponds essentially to that
  • the lower profile frame 45 corresponds to that Profile frame 45 according to Figure 3.
  • a cistern 60 attached in the upper profile frame 1 is only schematically indicated, a cistern 60 attached. About one Connection bend 61 becomes a rinse water inflow to a toilet bowl, not shown made available.
  • the central recess 14 in Front wall plate of the upper profile frame 1 is designed so that the at the manufacture of this recess 14 by punching Sheet section directly as a flat sheet blank for the production of the second profile frame 45 is used.
  • This gain angle 63, 64 cause a partial transmission of the tensile load acting through the toilet bowl on the formed by the Natstelle of the two profile frames 1 and 45 Cross member.
  • the gain angle 63, 64 in this Seam area and in the reinforcement angles themselves a square Recess 66 arranged to engage a lock screw Attachment of support brackets, not shown, pointing to the rear Support of the entire assembly device on one also not shown wall serves.
  • the lower one is for Bottom-facing area of the lower profile frame 45 with a from behind in the profile frame 45 inserted and fastened there by welding Reinforcement profile 67 provided.
  • This reinforcement profile shows in essentially the shape of a U-profile.
  • FIG 6 is an embodiment of a foot of an inventive Mounting device as shown in Figures 3 to 5, in enlarged Representation shown.
  • the foot 70 has two foot parts 57, 58, each with are welded to a footplate 71 at their first end.
  • the foot plate 71 has recesses 72 for the passage of fasteners Attach the footplate to the floor or a mounting rail.
  • the footplate is also in the region of its two axial ends, each with one provided nose-like notch 73, which during the assembly of the Mounting device according to the invention on a C-shaped Mounting rail for guiding the foot 70 and thus the entire Mounting device when moving on the rail, not shown serves.
  • the foot parts 57, 58 had a substantially U-shaped profile in cross section with a base surface 74 and two legs 75, 76. Both foot parts 57, 58 are trained equally.
  • the base surface 74 has spaced ones Recesses 77 on the one hand for the passage of not shown Fastening screws and on the other hand for the rotationally fixed fastening of serve, for example, hook nuts.
  • the foot or the foot parts 57, 58 When assembling the assembly device of the invention, the foot or the foot parts 57, 58 from below through the recesses 68 in the web-like guide rails 55, 56 of the lower profile frame 45 inserted until the desired height is reached. Then the foot parts 57 and 58 relative to the guide rails 55, 56 via not shown Fixing screws fixed by clamping.
  • the outer one is Cross-sectional width of the foot part 57 is less than the inner cross-sectional width the guide rail 55, so that the foot part 57 from below into the Guide rail 55 can be inserted and linearly guided there.
  • Both the base surface 74 of the U-shaped profile of the foot part 57 as well are the base surface 78 of the likewise U-shaped profile of the guide rail each cranked toward the inside so that the two base surfaces 74 and 78 come face to face with each other. Because of this design lets by means of a fastening screw, not shown, which the Recess 77 of the foot part 57 and the slot-like recess 79 of the Passes through the guide rail, a reliable, the two parts 57 and 55 in achieve their relative position fixing clamping effect, in any case overall a box-like rigid profile through the two parts 55, 57 is formed.

Landscapes

  • Health & Medical Sciences (AREA)
  • Life Sciences & Earth Sciences (AREA)
  • Engineering & Computer Science (AREA)
  • Hydrology & Water Resources (AREA)
  • Public Health (AREA)
  • Water Supply & Treatment (AREA)
  • Sanitary Device For Flush Toilet (AREA)
  • Residential Or Office Buildings (AREA)
  • Rolling Contact Bearings (AREA)

Description

Die vorliegende Erfindung betrifft eine Montagevorrichtung z ur tragenden Befestigung einer Sanitäreinrichtung, beispielsweise eines WC-Beckens, eines Urinals, eines Waschtisches, eines Bidets o.dgl. nach dem Oberbegriff des Patentanspruchs 1.
Montagevorrichtungen der in Rede stehenden Art dienen insbesondere dazu, sämtliche für den Anschluß einer bestimmten Sanitäreinrichtung, beispielsweise eines WC-Beckens, notwendigen Installationselemente, beispielsweise Spülkasten, Anschlußmuffen, Befestigungsvorrichtungen, Abflußbogen etc. in einem rahmenartigen Gestell vorzumontieren, worauf dann die komplett vormontierte Montagevorrichtung, je nach Bauart auch als Sanitärblock, Sanitärelement oder Installationsgestell bezeichnet, am bestimmungsgemäßen Aufstellort montiert und an das vorhandene Wasserleitungs- bzw. Abwassersystem angeschlossen wird, Die Montage kann dabei beispielsweise unmittelbar an einer wand als Vorwandmontage, integriert in ein Ständer-Wandsystem oder in einem Schienensystem erfolgen.
Bekannte Montagevorrichtungen weisen als eigentlichen Tragrahmen oder als Traggestell einen Zargenrahmen oder einen Rahmen aus Profilelementen, die verschweißt, verschraubt, vernietet oder auf sonstige Weise lösbar oder unlösbar verbunden sind, auf. Nachteilig bei diesen bekannten Montagevorrichtungen ist insbesondere, daß diese Zargenrahmen und die aus einzelnen Profilen zusammengesetzten Profilrahmen einen hohen Herstellungs-und insbesondere Montageaufwand sowohl bei der Vormontage als auch bei der Endmontage auf der Baustelle erfordern.
Aus der DE 9414960 U1 ist eine Montageeinrichtung mit einem Traggestell zur Abstützung wenigstens eines Sanitärkörpers sowie zur Befestigung von Versorgungs- und Entsorgungsleitungen mit einem Zargenrahmen und einem wenigstens die Vorderseite der Montagevorrichtung teilweise verschließendes Abdeckelement bekannt. Dort sind der Zargenrahmen und wenigstens das die Vorderseite wenigstens teilweise verschließende Abdeckelement als ein einstückiges Gehäuse bildend ausgestaltet. Das Gehäuse dieser bekannten Montagevorrichtung kann als freitragendes Tragegestell ausgebildet sein. Wenigstens das die Frontseite des Gehäuses bildende Abdeckelement ist vorzugsweise mit einer Schuppenfront ausgebildet.
Die DE 9305511 U1 beschreibt eine gattungsgemässe Montagevorrichtung für Sanitärgeräte, insbesondere Wandklosetts, die an Leichtbauwänden befestigt oder in diese integriert sind und sich auf einem Rohboden abstützen oder frei hängend in Leichtbauwände integrierbar sind. Der bis zum Rohboden reichende Installationsrahmen dient zur Anbindung der Toilettenschüssel, des Spülkastens oder der Rohrleitungen und ist aus einem mit Korrosionsschutz überzogenen Halbzeug geformt. Bei dem verwendeten Halbzeug kann es sich um ein verzinktes Blech handeln. Das verwendete Halbzeug kann auch ein Winkelprofil sein. Dieser bekannte Installationsrahmen kann seitlich mit Langlöchem ausgebildet sein.
Der Erfindung liegt die Aufgabe zugrunde, eine Montagevorrichtung der eingangs genannten Art zu schaffen, die bei zumindest ausreichender Festigkeit und Steifigkeit in leichter und einfacher Weise herstellbar und/oder montierbar ist.
Diese Aufgabe wird durch eine Montagevorrichtung nach der Lehre des Patentanspruchs 1 gelöst.
Vorteilhafte Ausgestaltungen der Erfindung sind Gegenstand der Unteransprüche.
Die Montagevorrichtung weist mindestens einen Profilrahmen auf, der gleichzeitig zur Befestigung der vorgenannten Einrichtungen und zur Befestigung der Montagevorrichtungen an einer Wand, auf einem Boden und/oder an oder in einem Ständer- oder Schienensystem dient. Der Profilrahmen besteht aus einem ein Vorderwandblech bildenden ebenen Blechzuschnitt, dessen Ränder um die vier Kanten des Vorderwandbleches unter Bildung eines L-förmigen Randprofiles den Profilrahmen geschlossen umlaufend nach hinten abgekantet oder abgewinkelt sind. Mit anderen Worten, zur Herstellung des Profilrahmens wird zunächst einmal lediglich ein ebener Blechzuschnitt bzw. eine Blechplatine beispielsweise in einer hydraulischen Presse, insbesondere Tiefziehpresse, derart umgeformt, daß sich ein wannenartig gestalteter Profilrahmen ergibt, dessen Blechebene das ebene Vorderwandblech des Profilrahmens bildet und dessen abgekantete bzw. abgewinkelte Randbereiche zunächst einmal der Versteifung des Profilrahmens dienen. Durch diese Gestaltung ergibt sich ein Profilrahmen, der für viele Anwendungszwecke, beispielsweise zur Befestigung eines Waschtisches o.dgl., eine ausreichende Steifigkeit und Festigkeit aufweist und durch einen einzigen Fertigungsschritt sowie zumindest teilweise automatisierbar herstellbar ist.
Sämtliche notwendigen Ausnehmungen, Durchbrüche, Befestigungsöffnungen u.dgl. sind unmittelbar in den Blechzuschnitt eingebracht. Dies gilt sowohl für Ausnehmungen im Bereich des Vorderwandbleches als auch im Bereich der abgekanteten oder abgewinkelten Ränder. Vorzugswiese sind diese Ausnehmungen etc. unmittelbar bei der umformenden Herstellung des Profilrahmens in einer Presse durch Ausstanzen in einem kombinierten Preßbzw. Abkant- und Stanzwerkzeug hergestellt.
Die Ausnehmungen, Durchbrüche, Befestigungsöffnungen u.dgl. können dabei sowohl relativ klein, beispielsweise als Öffnungen zum Durchtritt von Befestigungsschrauben, oder aber nahezu den gesamten Bereich der Vorderseite des Profilrahmens umfassend, beispielsweise zur Montage von Spülkästen o.dgl., ausgeführt sein. Im letzteren Falle umfaßt das Vorderwandblech im wesentlichen nur noch die in der Profilrahmenebene verbleibende Randbereiche des Blechzuschnittes. Die Größe der Ausnehmungen ist für die Festigkeit und Steifigkeit von sekundärer Bedeutung, da diese Faktoren überwiegend vom L-förmig abgewinkelten oder abgekanteten Randbereich bestimmt werden.
Dadurch, daß die nach hinten abgekanteten oder abgewinkelten Ränder im wesentlichen senkrecht zur Ebene des Vorderwandbleches bzw. zur Profilrahmenebene verlaufen, wobei die Ränder im Bereich der Ecken des Profilrahmens miteinander verbunden sind, ergibt sich eine gute Steifigkeit und Festigkeit der Montagevorrichtung. Diese Verbindung kann beispielsweise durch Verschweißen der aneinanderstoßenden Kantenbereiche der abgewinkelten Ränder erfolgen. Eine einfache Verbindung ergibt sich, wenn die aneinanderstoßenden Kantenbereiche der abgewinkelten Ränder eine Verzahnung dergestalt aufweisen, daß beim Abkanten oder Abwinkeln der Ränder sich die aneinanderstoßenden Randbereiche selbsttätig hintergriffartig verzahnen.
Dadurch, daß erfindungsgemäß die Kanten der Ausnehmungen, Durchbrüche und Befestigungsöffnungen zumindest bereichsweise nach hinten abgekantet, abgewinkelt oder umgebogen sind, ergibt sich der Vorteil, daß die Steifigkeit und Festigkeit und Festigkeit der Montagevorrichtung weiter erhöht ist. "Nach hinten" im Sinne der vorliegenden Erfindung bedeutet dabei immer derart von der Profilrahmenebene weg, daß die Vorderwandblechebene nicht durch vorstehende Bereiche unterbrochen wird.
Um in jedem Fall eine ebene Frontfläche, abgesehen von bestimmungsgemäß einen Durchgriff erfordernden Installationselementen, wie Rohrmuffen zum Anschluß von Armaturen o.dgl., der Montagevorrichtung zu erhalten, wie es insbesondere zum Aufbringen einer Gipskartonplatte oder einer anderen plattenförmigen Verkleidung wünschenswert ist, sind erfindungsgemäß die Kantenbereiche der Ausnehmungen, Durchbrüche und Befestigungsöffnungen derart im Bereich des Vorderwandbleches eingesenkt, daß die bestimmungsgemäß dort eingebrachten Befestigungselemente wie Schrauben, Muttern o.dgl. nicht aus der Blechebene hervorragen. Gleichzeitig bewirken diese aus der Vorderwandblechebene nach hinten vorspringenden Vertiefungen eine weitere Zunahme der Steifigkeit des Profilrahmens.
Eine weitere Möglichkeit zur Erhöhung der Steifigkeit des Profilrahmens besteht darin, im Bereich des Vorderwandbleches Sicken anzuordnen, insbesondere unmittelbar in das Vorderwandblech rinnenartig einzuformen.
Die Befestigung der Montagevorrichtung der Erfindung beispielsweise an einer Wand kann beispielsweise durch Winkelstücke erfolgen, die zum einen seitlich oder hinten am Profilrahmen befestigbar sind und zum anderen an der Wand zur Anlage bringbar und dort ebenfalls befestigbar, insbesondere verschraubbar sind. Dazu sind vorzugsweise im Bereich der abgekanteten oder abgewinkelten Ränder, insbesondere der vertikal verlaufenden Randbereiche des Profilrahmens Ausnehmungen zum Durchtritt von Befestigungsschrauben für derartige Montagewinkel vorgesehen. Zur besseren Anpassung an die baulichen Gegebenheiten können diese Ausnehmungen langlochartig geformt sein. Ein weitere Vorteil dieser Gestaltung liegt darin, daß diese der Befestigung dienenden Ausnehmungen auch für die Befestigung an senkrecht verlaufenden Ständern einer Ständerwand Verwendung finden können. Dadurch ist es möglich, ein und dieselbe Montagevorrichtung ohne konstruktive Veränderungen sowohl zur Vorwandmontage als auch zur Montage in einer Ständerwand oder einem entsprechenden Schienensystem zu verwenden.
In einfachster Weise kann die erfindungsgemäße Montagevorrichtung lediglich einen einzigen Profilrahmen wie vorstehend beschrieben aufweisen. Gemäß einem weiteren bevorzugten Ausführungsbeispiel der Erfindung weist die Montagevorrichtung jedoch mindestens einen zweiten Profilrahmen auf, der mit seinem oberen Profilrand, d. h. mit seiner abgewinkelten Oberkante, am ersten Profilrahmen im Bereich dessen unterer horizontal verlaufender Profilkante befestigbar ist. Die Befestigung kann dabei in einfachster Weise durch Verschweißen der beiden Profilrahmen im Nahtbereich erfolgen oder aber durch eine Schraubverbindung. Vorzugsweise ist die Breite der beiden Profilrahmen im wesentlichen gleich, so daß die Längskanten bzw. Profillängsränder der beiden Profilrahmen im wesentlichen fluchtend angeordnet sind. Dies ist insbesondere dann von Bedeutung, wenn die Montagevorrichtung der Erfindung zwischen zwei an den Profillängskanten anliegenden Ständern einer Ständerwand montierbar sein soll. Der Vorteil dieser zwei- oder mehrrahmigen Gestaltung besteht dabei insbesondere darin, daß im Bereich der Nahtstelle bzw. der Verbindungskante zwischen beiden Profilrahmen ein eine erhebliche Steifigkeit aufweisender, die gesamte Breite der Montagevorrichtung übergreifender Querträger, bestehend aus den beiden miteinander verbundenen L-förmigen Rahmenprofilbereichen, gebildet wird. Vorzugsweise werden die Größen der beiden Profilrahmen dabei so gewählt, daß die Verbindungskante beider Profilrahmen im Bereich der größten bestimmungsgemäß aufzunehmenden Belastung liegt. Dies ist beispielsweise bei einem Bidet- oder WC-Element der Bereich, in dem das Bidet- oder WC-Becken angeschraubt oder angeflanscht ist.
Nach einem besonders bevorzugten Ausführungsbeispiel der Erfindung ist im Vorderwandblech des ersten Profilrahmens eine Ausnehmung dergestalt angeordnet, daß der bei der Herstellung dieser Ausnehmung, beispielsweise durch Stanzen, anfallende Blechabschnitt unmittelbar als ebener Blechzuschnitt für die Herstellung des zweiten Profilrahmens Verwendung finden kann. Bei dieser Gestaltung wird neben der im Bereich der Verbindungsnaht zwischen den beiden Profilrahmen wesentlich vergrößerten Steifigkeit eine erhebliche Materialeinsparung bei der Herstellung einer erfindungsgemäßen Montagevorrichtung erreicht, verglichen mit dem Fall, daß der gesamte Rahmen der Montagevorrichtung aus einem einzigen Rahmen besteht.
Der zweite Profilrahmen weist zunächst einmal den grundsätzlich gleichen Aufbau wie der erste Profilrahmen auf, d. h. mit einem ebenen Vorderwandblech und im wesentlichen geschlossen umlaufenden, nach hinten abgekanteten oder abgewinkelten Randbereichen, wobei in diesem Randbereich ein L-förmiges Rahmenprofil gebildet wird.
In grundsätzlich beliebiger Weise kann die Montagevorrichtung gemäß der Erfindung beispielsweise zwischen zwei mit im wesentlichen der Breite der Montagevorrichtung beabstandeten Ständern einer Metallständerwand angeordnet und an diesen befestigt werden. Bei diesem Befestigungsbeispiel kann gegebenenfalls auf eine Abstützung der Montagevorrichtung am Boden verzichtet werden. Insbesondere jedoch, wenn die erfindungsgemäße Montagevorrichtung im wesentlichen freistehend vor einer Massivwand sich an dieser abstützend montiert wird, weist die Montagevorrichtung ein vorzugsweise in der Höhe verstellbares Fußteil zur Abstützung auf dem Fußboden und zur genauen Höhenjustierung der Montagevorrichtung auf. In einfachster Weise kann dieses Fußteil beispielsweise aus zwei beabstandeten parallel verlaufenden Gewindestangen bestehen, die in entsprechende Gewindebohrungen des unteren horizontal verlaufenden Profilrandes des Profilrahmens höhenverstellbar ein- und ausschraubbar sind. Insbesondere jedoch, wenn die Montagevorrichtung für die Befestigung eines WC-Beckens oder eines Bidets Verwendung finden soll, bei dem nicht nur das Gewicht des Beckens, sondern auch des darauf sitzenden Benutzers, aufgenommen werden muß, weisen diese Fußteile in der Regel nicht die erforderliche Festigkeit und Steifigkeit auf, da üblicherweise gerade im Bereich dieser Fußteile die maximalen Belastungen auftreten. Gemäß einem besonders bevorzugten Ausführungsbeispiel der Erfindung weist daher der zweite Profilrahmen mindestens zwei senkrecht und parallel zueinander verlaufende stegartige Führungsschienen mit im Querschnitt im wesentlichen U-förmigem Profil auf, wobei die vertikal verlaufenden Längskanten der Führungsschienen unter Bildung der Schenkel des U-Profils aus der Profilrahmenebene bzw. der Vorderwandblechebene nach hinten abgekantet sind. Der zum Boden weisende Kantenbereich des zweiten Profilrahmens weist dabei im Bereich dieser U-förmigen Führungsschienen jeweils eine Ausnehmung zum Durchtritt jeweils eines in den U-förmigen Führungsschienen führund befestigbaren Fußteiles auf. Durch die U-förmige Gestaltung der Führungsschienen der Fußteile erfolgt gerade in den Bereichen größter Belastung eine erhebliche Verstärkung und Versteifung des Profilrahmens.
Vorzugsweise weisen die Fußteile im Querschnitt ebenfalls ein im wesentlichen U-förmiges Profil mit zumindest geringfügig geringerer Querschnittsbreite als das U-förmige Profil der Führungsschienen auf. Die Fußteile sind so in die Führungsschienen einsteckbar und dort justierbar fixierbar, daß sich insgesamt ein im wesentlichen kastenartig geschlossenes Profil ergibt. Durch diese Gestaltung wird eine weitere signifikante Zunahme der Festigkeit bzw. Steifigkeit des unteren Profilrahmens in diesem Bereich erzielt. Gleichzeitig erfolgt aufgrund dieser Gestaltung eine zuverlässige Führung der Fußteile in den Führungsschienen ohne die Gefahr eines Verkantens, wodurch die genaue Justierbarkeit insgesamt ebenfalls verbessert wird.
Die Fixierung der Fußteile in den Führungsschienen kann in grundsätzlich beliebiger Weise erfolgen, beispielsweise mittels Klemm- oder Befestigungsschrauben, die Führungsschiene und Fußteil klemmend gegeneinander zwingen. Dazu sind vorzugsweise die Basisflächen der U-förmigen Führungsschienen und der Fußteile jeweils so gegeneinander nach innen gekröpft, daß die Basisfläche jeweils eines Fußteils an der Basisfläche jeweils einer Führungsschiene flächig zur Anlage bringbar ist. Durch diese flächige Anlage der beiden gegeneinander zu klemmenden Teile können hohe Klemmkräfte erzielt und damit eine zuverlässige Positionierung der Montagevorrichtung erreicht werden.
Nach einer weiteren Ausgestaltung sind die aneinanderliegenden Basisflächen jeweils mit Ausnehmungen zum Durchtritt von Befestigungs- und/oder Justierschrauben versehen, wobei die Ausnehmungen an den Basisflächen der Führungsschienen langlochartig geformt sind, während die Ausnehmungen in den Basisflächen der Fußteile rasterartig übereinandergereiht angeordnet sind oder umgekehrt. Gleichzeitig sind die rasterartig angeordneten Ausnehmungen in den Basisflächen der Fußteile mit drehfest befestigbaren Muttern versehbar, die zum Eingriff von durch die langlochartigen Ausnehmungen in den Basisflächen der Führungsschienen gesteckten Befestigungsschrauben dienen. Aufgrund dieser Gestaltung sind die Fußteile gegenüber den zugeordneten Führungsschienen in jeder Höhenposition klemm- und fixierbar.
Um insbesondere die untere Profilrahmenkante des unteren Profilrahmens weiter zu verstärken, kann in diesem Bereich ein L-oder U-förmiges Profil von hinten auf den Profilrahmen aufsteckbar und dort, beispielsweise durch Schweißen, befestigbar sein.
Wie vorstehend bereits beschrieben, ist ein Ort größter Belastung dort, wo die bestimmungsgemäß zu fixierenden Sanitäreinrichtungen, insbesondere WC-Becken oder Bidet, befestigt werden. Die Befestigung dieser Sanitäreinrichtungen erfolgt dabei über Gewindestangen, die in entsprechende mit einem Innengewinde versehene Befestigungsausnehmungen im Profilrahmen einschraubbar sind. Zur Verstärkung in diesem Bereich, d. h. im oberen Bereich bzw. im Bereich der Verlängerung der stegartigen Führungsschienen, sind vorzugsweise im Längsschnitt L-förmige Verstärkungswinkel angeordnet, die mit ihrem ersten Schenkel am oberen zum ersten Profilrahmen weisenden Kantenbereich des zweiten Profilrahmens und mit ihrem zweiten Schenkel am oberen zur Vorderseite des Profilrahmens weisenden Kantenbereich des zweiten Profilrahmens befestigbar, insbesondere anschweißbar sind. Dabei sind die zweiten Schenkel der L-förmigen Profile insbesondere mit einem Gewinde zur Befestigung dieser Sanitäreinrichtungen versehen. Aufgrund dieser Gestaltung erfolgt die Aufnahme der in diesem Bereich wirkenden Zugbelastungen sowohl durch Teile des Profilrahmens, die in der Vorderwandblechebene liegen, als auch durch Teile des Profilrahmens, die in den senkrecht abgewinkelten Rändern liegen.
Um die Stabilität der gesamten Montagevorrichtung, insbesondere im Fußbereich, weiter zu erhöhen, sind vorzugsweise die Fußteile im Bereich ihres vom zweiten Profilrahmen wegweisenden Endes an einer die beiden Fußteile verbindenden Fußplatte befestigt. Dadurch wird insbesondere die Auflagefläche auf dem Boden bzw. einer Montageschiene erhöht. Vorzugsweise weist diese Fußplatte dabei Ausnehmungen zum Durchtritt von Befestigungselementen, insbesondere Befestigungsschrauben, zur Befestigung der Fußplatte auf dem Boden oder auf einer Montageschiene auf.
Im folgenden wird die Erfindung anhand von lediglich Ausführungsbeispiele zeigenden Zeichnungen näher erläutert. Es zeigt:
Figur 1
in schematischer Ansicht in perspektivischer Darstellung eine vormontierte Montagevorrichtung gemäß der Erfindung für ein Urinal;
Figur 2
in schematischer perspektivischer Ansicht eine Montagevorrichtung für einen Waschtisch;
Figur 3
in schematischer perspektivischer Darstellung eine Montagevorrichtung für ein Bidet, wobei der Profilrahmen zweiteilig ausgeführt ist;
Figur 4
in schematischer perspektivischer Ansicht eine Montagevorrichtung für ein WC mit ebenfalls zweiteiligem Profilrahmen;
Figur 5
in schematischer perspektivisch abgebrochener Darstellung den unteren Profilrahmen des Ausführungsbeispiels nach Figur 4 mit der Nahtstelle zum oberen Profilrahmen;
Figur 6
in schematischer perspektivischer Darstellung ein Fußteil gemäß der Erfindung zur Verwendung in einer Montagevorrichtung nach einer der Figuren 3 bis 5; und
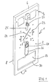
Figur 7
in schematischer Darstellung einen Querschnitt durch eine Führungsschiene mit eingestecktem Fußteil nach einem der Ausführungsbeispiele der Figuren 3 bis 6.
In Figur 1 ist ein Ausführungsbeispiel einer erfindungsgemäßen Montagevorrichtung mit einteiligem Profilrahmen dargestellt. Die dargestellte Montagevorrichtung dient dabei zur tragenden Befestigung eines nicht dargestellten Urinals. Der Profilrahmen 1 weist ein Vorderwendblech 2 auf, dessen Randbereiche 6, 7, 8, 9 von der Vorderwandblechebene nach hinten rechtwinklig abgekantet und im Bereich der Ecken aneinanderstoßend miteinander verbunden sind. Das Vorderwandblech 2 weist eine Vielzahl von kleineren Ausnehmungen, Durchbrüchen, Befestigungsöffnungen u.dgl. auf. Die quadratischen Ausnehmungen 23 dienen dabei zum Durchgriff von Befestigungsschrauben für ein nicht dargestelltes Urinal, wobei es vom verwendeten Urinal-Typ abhängt, welche der Ausnehmungen 23 dann tatsächlich verwendet werden. Im zentralen Bereich des Vorderwandbleches ist eine kreuzförmig angeordnete nutartige Sicke 24 vorgesehen, die zur lokalen Versteifung des Vorderwandblechs 2 in diesem Bereich dient. Die Ausnehmungen 25 und 26 dienen zur Durchführung des Spülwasserzulaufs 27 und des Ablaufrohres 28. Diese Ausnehmungen sind in an sich bekannter Weise langlochartig ausgebildet, um eine gute Anpaßbarkeit an verschiedene bauliche Gegebenheiten zu gewährleisten. Im unteren Bereich des Vorderwandbleches 2 ist eine Ausnehmung 29 angeordnet, die nach dem Montieren der Montagevorrichtung beispielsweise in einem Badezimmer den Anschluß der Abwasserleitung an das Abflußrohr 28 ermöglicht. Die Randbereiche 30 der Ausnehmung 29 sind ebenfalls nach hinten abgekantet bzw. abgewinkelt und tragen somit zur Versteifung des Vorderwandblechs 2 und damit des Profilrahmens 1 insgesamt bei.
In Figur 2 ist ein weiteres Ausführungsbeispiel einer erfindungsgemäßen Montagevorrichtung unter Verwendung eines einteiligen Profilrahmens 1 dargestellt. Die hier dargestellte Montagevorrichtung dient dabei zur Befestigung und zum Abschluß eines Waschtisches. Der grundsätzliche Aufbau der Montagevorrichtung bzw. des Profilrahmens 1 entspricht dabei dem Profilrahmen der Darstellung nach Figur 1. Im Gegensatz zum Ausführungsbeispiel nach Figur 1 sind jedoch beim Ausführungsbeispiel nach Figur 2 drei im wesentlichen vertikal verlaufende sickenartige Vertiefungen 31, 32, 33 zur Versteifung des Vorderwandbleches 2 angeodnet4. Die langlochartigen Ausnehmungen 34, 35 dienen zur Durchführung der Warm- und Kaltwasserzuführleitungen 36, 37, während die Ausnehmungen 38 zur Durchführung des Abflußrohres 39 dient. Die Kantenbereiche 40 der Ausnehmungen 34, 35 sind dabei so im Vorderwandblech 2 eingesenkt, daß die Befestigungselemente 41 in Form von Sechskant-Flanschmuttem nicht über die Vorderwandblechebene herausragen. Durch diese Gestaltung wird erreicht, daß eine nach der endgültigen Montage auf die Montagevorrichtung aufgebrachte Verkleidung oder eine Gipskartonplatte in jedem Fall vollflächig auf dem Voderwandblech 2 aufliegt. Entsprechendes gilt für die langlochartigen Ausnehmungen 42, die zur Aufnahme der nicht dargestellten Befestigungsschrauben eines ebenfalls nicht dargestellten Waschtisches dienen. Die langlochartige Gestaltung erlaubt dabei eine Anpassung an unterschiedlichste Waschtischtypen.
Im Bereich der oberen Kante 6 des Profilrahmens 1 sind zwei weitere Ausnehmungen 43, 44 eingebracht und deren Ränder eingesenkt, wobei diese Ausnehmungen 43, 44 zum alternativen Anschluß von Armaturen an die Kaltund Warmwasserleitung dienen.
Aus Gründen einer klareren Darstellung sind in den Figuren 1 und 2 die Ausnehmungen zur Befestigung des Profilfrahmens an einer Wand bzw. an den Ständern einer Ständerwand nicht dargestellt.
In Figur 3 ist ein weiteres Beispiel einer erfindungsgemäßen Montagevorrichtung gezeigt. Diese Montagevorrichtung, die zum befestigenden Anschluß eines Bidets dient, weist einen oberen ersten Profilrahmen 1 und einen unteren Profilrahmen 45 auf. Der zweite untere Profilrahmen 45 ist mit seiner oberen Profilkante bzw. seinem oberen Profilrand 46 an der unteren Profilkante bzw. dem unteren Profilrand 47 des oberen Rahmens 1 befestigt.
Die Befestigung erfolgt dabei über eine Anzahl von Schweißpunkten, die insbesondere entlang der Nahtstelle im hinteren Bereich der abgewinkelten Ränder angebracht sind. Aufgrund dieser Gestaltung ergibt sich im Bereich der Nahtstelle 46, 47 ein stark versteifter Querträger, im wesentlichen bestehend aus den beiden aufeinandergeschweißten L-förmigen Profilbereichen der Profilrahmen 1 bzw. 45. Dabei liegt dieser versteifte Querträger in etwa in dem Bereich, in dem mittels nicht dargestellter Schrauben oder Gewindestangen, die in die Gewindebohrungen 48 eingeschraubt werden, das Bidet-Becken befestigt wird. Die beim bestimmungsgemäßen Gebrauch des Bidets durch das Gewicht des Benutzers und des Beckens auf die Montagevorrichtung aufgebrachte Zugkraft in diesem Bereich kann durch den versteiften Querträger 46, 47 in nahezu idealer Weise aufgenommen werden.
Neben den Ausnehmungen 48, deren Lochbild sich wiederum aus den unterschiedlichen Bidet-Typen ergibt, weist der zweite Profilrahmen 45 drei nebeneinanderliegende Ausnehmungen 49, 50 und 51 auf. Die Ausnehmung 50 dient dabei insbesondere zur Durchführung der Warm- und Kaltwasseranschlüsse 52, 53 und des Wasserabflußrohres 54. Zwischen der Ausnehmung 49 und 50 einerseits und der Ausnehmung 50 und51 andererseits ist im Bereich des Profilrahmens 45 je eine stegartige Führungsschiene 55, 56 angeordnet. Die beiden Führungsschienen 55, 56 verlaufen parallel zueinander und zu den Längsseitenkanten sowohl des Profilrahmens 1 als auch des Profilrahmens 45 und sind somit im wesentlichen vertikal ausgerichtet. Die Führungsschienen 55, 56 weisen im wesentlichen ein U-förmiges nach hinten offenes Profil auf. Der zum Boden weisende untere Randbereich des Profilrahmens 45 weist unmittelbar unterhalb der Führungsschienen 55, 56 nicht dargestellte Ausnehmungen auf, durch die entsprechend gestaltete Fußteile 57, 58 in Eingriff mit den Führungsschienen 55, 56 gelangen können.
Die Fußteile 57, 58 sind dabei verschieblich fixierbar in den Führungsschienen 55, 56 geführt.
Das Ausführungsbeispiel einer erfindungsgemäßen Montagevorrichtung nach Figur 4 ist ebenfalls als zweiteiliger Profilrahmen ausgeführt und dient zur tragenden Befestigung eines WC-Beckens. Vom grundsätzlichen Aufbau her entspricht dieses Ausführungsbeispiel im wesentlichen dem Ausführungsbeispiel nach Figur 3. Der untere Profilrahmen 45 entspricht dem Profilrahmen 45 nach Figur 3. Im oberen Profilrahmen 1 ist, lediglich schematisch angedeutet, ein Spülkasten 60 befestigt. Über einen Anschlußbogen 61 wird ein Spülwasserzufluß zu einem nicht dargestellten WC-Becken zur Verfügung gestellt. Die zentrale Ausnehmung 14 im Vorderwandblech des oberen Profilrahmens 1 ist dabei so gestaltet, daß der bei der Herstellung dieser Ausnehmung 14 durch Stanzen anfallende Blechabschnitt unmittelbar als ebener Blechzuschnitt für die Herstellung des zweiten Profilrahmens 45 dient.
Sie der Abbildung nach Figur 4 weiter zu entnehmen ist, weisen die Ausnehmungen 49, 50 und 51 nach hinten abgekantete bzw. abgewinkelte Ränder 62 auf, die den unteren Profilrahmen 45 insgesamt und die Führungsschienen 55, 56 im besonderen verstärken und versteifen. Dies ist insbesondere bei einer Montagevorrichtung zur Verwendung mit einem Bidetoder einem WC-Becken von Vorteil, da bei der Anbringung beispielsweise eines WC-Beckens die gesamte durch das Gewicht einer das WC-Becken benutzenden Person wirkende Last als Drucklast von den profilierten Führungsschienen 55, 56 aufgenommen wird.
In Figur 5 ist nochmals schematisch der untere Profilrahmen 45 sowie seine Anbindung an den oberen Profilrahmen 1 dargestellt. Wie dieser Darstellung zu entnehmen ist, sind im oberen Bereich der Führungsschienen 55, 56 bzw. im oberen Bereich der Verlängerung der stegartigen Führungsschienen 55, 56 L-förmige Verstärkungswinkel 63, 64 angeordnet. Diese Verstärkungswinkel 63, 64 sind mit ihrem ersten in der Darstellung nach Figur 5 nach oben weisenden Schenkel am oberen Profilrand des unteren Profilrahmens 45 befestigt, beispielsweise verschweißt. Mit ihrem zweiten, in der Darstellung nach Figur 5 nach vorn weisenden Schenkel sind die Verstärkungswinkel 63, 64 an dem Bereich des oberen Randes des unteren Profilrahmens 45 angeschweißt, der Teil der Vorderwandblechebene ist. Dabei überdecken die Verstärkungswinkel 63, 64 mit ihrem zweiten Schenkel die Befestigungsöffnungen 65 zur Befestigung des nicht dargestellten WC-Beckens oder Bidets und weisen in diesem Bereich Gewindebohrungen zum Einschrauben entsprechender Befestigungsschrauben auf. Diese Verstärkungswinkel 63, 64 bewirken dabei eine teilweise Übertragung der durch das WC-Becken wirkenden Zugbelastung auf den durch die Natstelle der beiden Profilrahmen 1 und 45 gebildeten Querträger. Weiter ist im Bereich der Verstärkungswinkel 63, 64 in diesem Nahtbereich und in den Verstärkungswinkeln selbst je eine quadratische Ausnehmung 66 angeordnet, die zum Eingriff einer Schloßschraube zur Befestigung von nach hinten weisenden nicht dargestellten Stützwinkeln zur Abstützung der gesamten Montagevorrichtung an einer ebenfalls nicht dargestellten Wand dient.
Wie ebenfalls der Darstellung Figur 5 zu entnehmen ist, ist der untere zum Boden weisende Bereich des unteren Profilrahmens 45 mit einem von hinten in den Profilrahmen 45 eingelegten und dort durch Schweißen befestigten Verstärkungsprofil 67 versehen. Dieses Verstärkungsprofil weist dabei im wesentlichen die Gestalt eines U-Profiles auf.
Weiter sind der Darstellung nach Figur 5 die Ausnehmungen 68 im Bodenbereich des unteren Randes des unteren Profilrahmens 45 zu entnehmen, durch die die Fußteile in die stegartigen Führungsschienen 55, 56 einbringbar sind.
In Figur 6 ist ein Ausführungsbeispiel eines Fußes einer erfindungsgemäßen Montagevorrichtung wie in den Abbildungen 3 bis 5 dargestellt, in vergrößerter Darstellung gezeigt. Der Fuß 70 weist zwei Fußteile 57, 58 auf, die jeweils mit ihrem ersten Ende an einer Fußplatte 71 angeschweißt sind. Die Fußplatte 71 weist dabei Ausnehmungen 72 zum Durchtritt von Befestigungselementen zur Befestigung der Fußplatte auf dem Boden oder einer Montageschiene auf. Weiter ist die Fußplatte im Bereich ihrer beiden axialen Enden mit jeweils einer nasenartigen Ausklinkung 73 versehen, die bei der Montage der erfindungsgemäßen Montagevorrichtung auf einer C-förmigen Befestigungsschiene zur Führung des Fußes 70 und damit der gesamten Montagevorrichtung bei einem Verschieben auf der nicht dargestellten Schiene dient.
Die Fußteile 57, 58 wiesen im Querschnitt ein im wesentlichen U-förmiges Profil mit einer Basisfläche 74 und zwei Schenkeln 75, 76 auf. Beide Fußteile 57, 58 sind gleich ausgebildet. Die Basisfläche 74 weist beabstandet angeordnete Ausnehmungen 77 auf, die zum einen zum Durchtritt von nicht dargestellten Befestigungsschrauben und zum anderen zur drehfesten Befestigung von beispielsweise Einhakmuttern dienen.
Bei der Montage der Montagevorrichtung der Erfindung wird der Fuß bzw. werden die Fußteile 57, 58 von unten durch die Ausnehmungen 68 in die stegartigen Führungsschienen 55, 56 des unteren Profilrahmens 45 eingeschoben, bis die gewünschte Höhe erreicht ist. Dann werden die Fußteile 57 und 58 gegenüber den Führungsschienen 55, 56 über nicht dargestellte Befestigungsschrauben klemmend fixiert. Dabei ergibt sich insgesamt durch die Kombination der Führungsschienen 55, 56 und der Fußteile 57, 58 jeweils ein kastenartig geschlossenes hochsteifes Profilgebilde, wie insbesondere der schematischen Darstellung nach Figur 7, die lediglich schematisch einen Schnitt durch die Führungsschiene 55 mit eingebrachtem Fußteil 57 zeigt, zu entnehmen ist. Wie dieser Darstellung weiter zu entnehmen ist, ist die äußere Querschnittsbreite des Fußteiles 57 geringer als die innere Querschnittsbreite der Führungsschiene 55, so daß das Fußteil 57 von unten in die Führungsschiene 55 einsteckbar und dort linear führbar ist.
Sowohl die Basisfläche 74 des U-förmigen Profiles des Fußteiles 57 als auch die Basisfläche 78 des ebenfalls U-förmigen Profiles der Führungsschiene sind jeweils so gegeneinander nach innen gekröpft, daß die beiden Basisflächen 74 und 78 flächig aneinander zur Anlage kommen. Aufgrund dieser Gestaltung läßt sich mittels einer nicht dargestellten Befestigungsschraube, die die Ausnehmung 77 des Fußteiles 57 und die langlochartige Ausnehmung 79 der Führungsschiene durchgreift, eine zuverlässige, die beiden Teile 57 und 55 in ihrer relativen Position fixierende Klemmwirkung erzielen, wobei in jedem Falle insgesamt ein kastenartig geformtes steifes Profil durch die beiden Teile 55, 57 gebildet wird.

Claims (13)

  1. Montagevorrichtung zur tragenden Befestigung einer Sanitäreinrichtung, beispielsweise eines WC-Beckens, eines Urinals, eines Waschtisches, eines Bidets oder dergleichen, mit mindestens einem Profilrahmen, der gleichzeitig zur Befestigung der vorgenannten Einrichtungen und zur Befestigung der Montagevorrichtung an einer Wand, auf einem Boden und/oder an oder in einem Ständer- oder Schienensystem dient, wobei der Profilrahmen (1, 45) aus einem ein Vorderwandblech (2) bildenden ebenen Blechzuschnitt besteht, dessen Ränder (6, 7, 8, 9) um die vier Kanten des Vorderwandbleches (2) unter Bildung eines L-förmigen Randprofiles den Profilrahmen (1, 45) geschlossen umlaufend nach hinten abgekantet oder abgewinkelt sind, wobei sämtliche notwendigen Ausnehmungen, Durchbrüche, Befestigungsöffnungen und der gleichen unmittelbar in den Blechzuschnitt eingebracht sind, und die nach hinten abgekanteten Ränder (6, 7, 8, 9) im wesentlichen senkrecht zur Ebene des Vorderwandbleches (2) bzw. zur Profilrahmenebene verlaufen und im Bereich der Ecken (10, 11, 12, 13) des Profilrahmens (1, 45) miteinander verbunden sind,
    dadurch gekennzeichnet,
    daß die Kanten (30, 62) der Ausnehmungen, Durchbrüche und Befestigungsöffnungen zumindest bereichsweise nach hinten abgekantet oder abgewinkelt sind, und daß die Kantenbereiche (40) der Ausnehmungen, Durchbrüche und Befestigungsöffnungen derart im Bereich des Vorderwandbleches (2) eingesenkt sind, daß die bestimmungsgemäß dort eingebrachten Befestigungselemente oder dergleichen nicht aus der Blechebene hervorragen.
  2. Montagevorrichtung nach Anspruch 1,
    gekennzeichnet durch
    im Bereich des Vorderwandbleches (2) angeordnete, insbesondere eingeformte Sicken (24, 31, 32, 33).
  3. Montagevorrichtung nach Anspruch 1 oder 2,
    gekennzeichnet durch
    im Bereich der abgekanteten Ränder (6, 7, 8, 9), insbesondere der vertikal verlaufenden Längsränder (8, 9) des Profilrahmens (1, 45) angeordnete langlochartige Ausnehmungen (22).
  4. Montagevorrichtung nach einem der Ansprüche 1 bis 3,
    gekennzeichnet durch
    mindestens einen zweiten Profilrahmen (45), der mit seinem oberen Profilrand (46) am ersten Profilrahmen (1) im Bereich dessen unteren horizontal verlaufenden Profilrandes (47) befestigbar, insbesondere anschweißbar oder anschraubbar ist, wobei die Verbindungskante (46, 47) vorzugsweise im Bereich der größten bestimmungsgemäß aufzunehmenden Belastung liegt.
  5. Montagevorrichtung nach Anspruch 4,
    gekennzeichnet durch
    eine im Vorderwandblech (2) des ersten Profilrahmens (1) angeordnete Ausnehmung (14) dergestalt, daß der bei der Herstellung der Ausnehmung (14) anfallende Blechabschnitt unmittelbar als ebener Blechzuschnitt für die Herstellung des zweiten Profilrahmens (45) Verwendung finden kann.
  6. Montagevorrichtung nach Anspruch 4 oder 5,
    dadurch gekennzeichnet,
    daß der zweite Profilrahmen (45) mindestens zwei senkrecht und parallel zueinander verlaufende stegartige Führungsschienen (55, 56) mit im Querschnitt im wesentlichen U-förmigem Profil aufweist, wobei die vertikal verlaufenden Längskanten (62) der Führungsschienen (55, 56) unter Bildung der Schenkel (75, 76) des U-Profils aus der Profilrahmenebene nach hinten abgekantet oder abgewinkelt sind und wobei der zum Boden weisende Kantenbereich des zweiten Profilrahmens (45) im Bereich der U-förmigen Führungsschienen (55, 56) jeweils eine Ausnehmung (68) zum Durchtritt jeweils eines in den U-förmigen Führungsschienen (55, 56) führund befestigbaren Fußteiles (57, 58) aufweist.
  7. Montagevorrichtung nach Anspruch 6,
    dadurch gekennzeichnet,
    daß die Fußteile (57, 58) im Querschnitt ebenfalls ein im wesentlichen U-förmiges Profil aufweisen mit zumindest geringfügig geringerer Querschnittsbreite als das U-förmige Profil der Führungsschienen (55, 56) und so in die Führungsschienen (55, 56) einsteckbar und dort jusitierbar fixierbar sind, daß sich insgesamt ein im wesentlichen kastenartig geschlossenes Profil ergibt.
  8. Montagevorrichtung nach Anspruch 7,
    dadurch gekennzeichnet,
    daß die Basisflächen (78; 74) der U-förmigen Führungsschienen (55, 56) und der Fußteile (576, 58) jeweils so gegeneinander nach innen gekröpft sind, daß die Basisfläche (74) jeweils eines Fußteils (57) an der Basisfläche (78) jeweils einer Führungsschiene (55) flächig zur Anlage bringbar ist.
  9. Montagevorrichtung nach Anspruch 8,
    dadurch gekennzeichnet,
    daß die aneinanderliegenden Basisflächen (74, 78) jeweils mit Ausnehmungen (77, 79) zum Durchtritt von Befestigungs- und/oder Justierschrauben versehen sind, wobei die Ausnehmungen (79) in den Basisflächen (78) der Führungsschienen (55) langlochartig geformt und die Ausnehmungen (77) in den Basisflächen (74) der Fußteile (57) rasterartig übereinander angeordnet und mit drehfest befestigbaren Muttern zum Eingriff entsprechender Befestigungsschrauben versehen sind oder umgekehrt.
  10. Montagevorrichtung nach einem der Ansprüche 6 bis 9,
    dadurch gekennzeichnet,
    daß der zum Boden weisende Kantenbereich des zweiten Profilrahmens (45) durch ein von hinten auf den Profilrahmen (45) aufbringbares L- oder U-förmiges Profil (67) versteifbar ist.
  11. Montagevorrichtung nach einem der Ansprüche 6 bis 10,
    dadurch gekennzeichnet,
    daß im oberen Bereich der stegartigen Führungsschienen (55, 56) im Längsschnitt L-förmige Verstärkungswinkel (67) angeordnet sind, die mit ihrem ersten Schenkel am oberen zum ersten Profilrahmen (1) weisenden Kantenbereich des zweiten Profilrahmens (45) und mit ihrem zweiten Schenkel am oberen zur Vorderseite des Profilrahmens (45) weisenden Kantenbereich des zweiten Profilrahmens (45) befestigbar sind, wobei die zweiten Schenkel der L-förmigen Profile (67) insbesondere mit einem Gewinde versehene Ausnehmungen (65) zur bestimmungsgemäßen Befestigung der Sanitäreinrichtungen, insbesondere eines WC's oder eines Bidets, aufweisen.
  12. Montagevorrichtung nach einem der Ansprüche 6 bis 11,
    dadurch gekennzeichnet,
    daß die Fußteile (57, 58) im Bereich ihres vom zweiten Profilrahmen (45) wegweisenden -Endes an einer die beiden Fußteile (57, 58) verbindenden Fußplatte (71) befestigt sind.
  13. Montagevorrichtung nach Anspruch 12,
    dadurch gekennzeichnet,
    daß die Fußplatte (71) Ausnehmungen (72) zum Durchtritt von Befestigungselementen zur Befestigung der Fußplatte (71) auf dem Boden oder auf einer Montageschiene aufweist.
EP96101157A 1995-03-07 1996-01-27 Montagevorrichtung zur tragenden Befestigung einer Sanitäreinrichtung Expired - Lifetime EP0731223B1 (de)

Applications Claiming Priority (2)

Application Number Priority Date Filing Date Title
DE19507843A DE19507843A1 (de) 1995-03-07 1995-03-07 Montagevorrichtung zur tragenden Befestigung einer Sanitäreinrichtung
DE19507843 1995-03-07

Publications (2)

Publication Number Publication Date
EP0731223A1 EP0731223A1 (de) 1996-09-11
EP0731223B1 true EP0731223B1 (de) 2001-08-08

Family

ID=7755797

Family Applications (1)

Application Number Title Priority Date Filing Date
EP96101157A Expired - Lifetime EP0731223B1 (de) 1995-03-07 1996-01-27 Montagevorrichtung zur tragenden Befestigung einer Sanitäreinrichtung

Country Status (3)

Country Link
EP (1) EP0731223B1 (de)
AT (1) ATE204044T1 (de)
DE (2) DE19507843A1 (de)

Cited By (1)

* Cited by examiner, † Cited by third party
Publication number Priority date Publication date Assignee Title
GB2637748A (en) * 2024-02-02 2025-08-06 Phoenix Product Development Ltd Water closet

Families Citing this family (8)

* Cited by examiner, † Cited by third party
Publication number Priority date Publication date Assignee Title
DE19736341C2 (de) * 1997-08-21 2002-09-19 Friatec Ag Befestigungsvorrichtung
DE29822709U1 (de) * 1998-01-28 1999-03-11 PROSAN d.o.o., Ruše Spülkasten
DE29803394U1 (de) * 1998-02-26 1998-05-14 E. Missel GmbH & Co., 70374 Stuttgart Spülsystem
DE29805738U1 (de) 1998-03-28 1998-07-23 Stanulla, Michael, 88273 Fronreute Montagevorrichtung für eine Toilettenschüssel o.dgl.
DE29808957U1 (de) * 1998-05-20 1998-08-13 FRIATEC AG, 68229 Mannheim Befestigungsvorrichtung
EP0985772A3 (de) * 1998-09-08 2001-02-28 E. Missel GmbH & Co. Montageeinheit für Sanitäreinrichtungen
FR2793823B1 (fr) * 1999-05-18 2001-06-29 Allia Bati support d'appareil sanitaire suspendu
CN216339899U (zh) * 2021-10-29 2022-04-19 中山市美图塑料工业有限公司 一种安装支架

Family Cites Families (6)

* Cited by examiner, † Cited by third party
Publication number Priority date Publication date Assignee Title
ATE90129T1 (de) * 1989-10-24 1993-06-15 Geberit Ag Montageraumabdeckung fuer insbesondere geschaeumte installationsbausteine.
DE9014603U1 (de) * 1989-11-10 1991-01-03 Geberit Ag, Jona, St.Gallen Fußstütze an einem Installationsblock
DE4106144C1 (de) * 1991-02-27 1992-07-16 Mero-Werke Dr.-Ing. Max Mengeringhausen Gmbh & Co, 8700 Wuerzburg, De
DE9305511U1 (de) * 1993-04-13 1993-06-09 Hager, Rupert, 8967 Oy-Mittelberg Installationsrahmen für Sanitärgeräte
DE9407527U1 (de) * 1994-05-06 1994-07-07 Fa. Franz Viegener Ii, 57439 Attendorn Modulelement für Möbeleinbauten bei Vorwandsystemen für sanitäre Anlagen
DE9414960U1 (de) * 1994-09-15 1994-11-17 Zako Installationsfertigelemente Gmbh, 32758 Detmold Installationsblock

Cited By (1)

* Cited by examiner, † Cited by third party
Publication number Priority date Publication date Assignee Title
GB2637748A (en) * 2024-02-02 2025-08-06 Phoenix Product Development Ltd Water closet

Also Published As

Publication number Publication date
EP0731223A1 (de) 1996-09-11
DE59607434D1 (de) 2001-09-13
DE19507843A1 (de) 1996-09-12
ATE204044T1 (de) 2001-08-15

Similar Documents

Publication Publication Date Title
DE9216799U1 (de) Rahmenförmige Haltevorrichtung für die Vorwandmontage von sanitären Gegenständen (Waschtische, WC, o.ä.) und deren Anschlußleitungen
EP0939170B1 (de) Spülsystem
EP0731223B1 (de) Montagevorrichtung zur tragenden Befestigung einer Sanitäreinrichtung
DE9412649U1 (de) Rahmen für die Vorwandmontage von sanitären Einrichtungen
EP0731227B1 (de) Vorwandelement
EP0324169B1 (de) Installationsblock
EP0860559A1 (de) Anordnung mit einer Installationswand aus Profilstangen, insbesondere Installationswand für Sanitärapparate
EP0731228B1 (de) Auflagewinkel
EP0731226B1 (de) Vorwandelement für die Sanitärinstallation
EP3071757A1 (de) Montagevorrichtung
DE19533179C2 (de) Vorrichtung für den Einbau einer Bade- oder Duschwanne
DE19507745A1 (de) Vorwandelement
DE19726483C2 (de) Stützelement für Sanitärartikel und -armaturen
DE20018940U1 (de) Montageelement für den Einbau eines Sanitärapparates in ein Tragwerk
DE29806398U1 (de) Spülsystem
AT500901B1 (de) Installationseinheit
EP1803859A2 (de) Wandbauelement zur tragenden Befestigung mindestens eines Sanitärobjektes und Herstellverfahren hierfür
EP1001099B1 (de) Installationselement
EP1798354B1 (de) Montagevorrichtung für einen Sanitärapparat
DE19736341C2 (de) Befestigungsvorrichtung
DE29803396U1 (de) Montagerahmen zur Positionierung und schallentkoppelten Befestigung eines Behältnisses zur Zwischenspeicherung einer vorgebbaren Wassermenge
DE202010000963U1 (de) Duschablaufanordnung
DE19510228A1 (de) Befestigungsvorrichtung eines Spülkastens
DE202024100539U1 (de) Stanz- und/oder Biegeteil und Vorwand-Montagerahmen für eine Sanitärinstallation
DE29707090U1 (de) Vorrichtung zur Wandmontage mindestens eines sanitären Gegenstandes

Legal Events

Date Code Title Description
PUAI Public reference made under article 153(3) epc to a published international application that has entered the european phase

Free format text: ORIGINAL CODE: 0009012

AK Designated contracting states

Kind code of ref document: A1

Designated state(s): AT CH DE ES FR LI LU NL

17P Request for examination filed

Effective date: 19970311

17Q First examination report despatched

Effective date: 19970429

GRAG Despatch of communication of intention to grant

Free format text: ORIGINAL CODE: EPIDOS AGRA

GRAG Despatch of communication of intention to grant

Free format text: ORIGINAL CODE: EPIDOS AGRA

GRAH Despatch of communication of intention to grant a patent

Free format text: ORIGINAL CODE: EPIDOS IGRA

GRAH Despatch of communication of intention to grant a patent

Free format text: ORIGINAL CODE: EPIDOS IGRA

GRAA (expected) grant

Free format text: ORIGINAL CODE: 0009210

AK Designated contracting states

Kind code of ref document: B1

Designated state(s): AT CH DE ES FR LI LU NL

PG25 Lapsed in a contracting state [announced via postgrant information from national office to epo]

Ref country code: FR

Free format text: LAPSE BECAUSE OF FAILURE TO SUBMIT A TRANSLATION OF THE DESCRIPTION OR TO PAY THE FEE WITHIN THE PRESCRIBED TIME-LIMIT

Effective date: 20010808

REF Corresponds to:

Ref document number: 204044

Country of ref document: AT

Date of ref document: 20010815

Kind code of ref document: T

REG Reference to a national code

Ref country code: CH

Ref legal event code: EP

REF Corresponds to:

Ref document number: 59607434

Country of ref document: DE

Date of ref document: 20010913

RAP2 Party data changed (patent owner data changed or rights of a patent transferred)

Owner name: M. BLOCK GMBH

NLT2 Nl: modifications (of names), taken from the european patent patent bulletin

Owner name: M. BLOCK GMBH

PGFP Annual fee paid to national office [announced via postgrant information from national office to epo]

Ref country code: NL

Payment date: 20011220

Year of fee payment: 7

EN Fr: translation not filed
PG25 Lapsed in a contracting state [announced via postgrant information from national office to epo]

Ref country code: LU

Free format text: LAPSE BECAUSE OF NON-PAYMENT OF DUE FEES

Effective date: 20020127

Ref country code: AT

Free format text: LAPSE BECAUSE OF NON-PAYMENT OF DUE FEES

Effective date: 20020127

PG25 Lapsed in a contracting state [announced via postgrant information from national office to epo]

Ref country code: LI

Free format text: LAPSE BECAUSE OF NON-PAYMENT OF DUE FEES

Effective date: 20020131

Ref country code: CH

Free format text: LAPSE BECAUSE OF NON-PAYMENT OF DUE FEES

Effective date: 20020131

PG25 Lapsed in a contracting state [announced via postgrant information from national office to epo]

Ref country code: ES

Free format text: LAPSE BECAUSE OF FAILURE TO SUBMIT A TRANSLATION OF THE DESCRIPTION OR TO PAY THE FEE WITHIN THE PRESCRIBED TIME-LIMIT

Effective date: 20020228

PLBE No opposition filed within time limit

Free format text: ORIGINAL CODE: 0009261

STAA Information on the status of an ep patent application or granted ep patent

Free format text: STATUS: NO OPPOSITION FILED WITHIN TIME LIMIT

26N No opposition filed
REG Reference to a national code

Ref country code: CH

Ref legal event code: PL

PGFP Annual fee paid to national office [announced via postgrant information from national office to epo]

Ref country code: DE

Payment date: 20030121

Year of fee payment: 8

PG25 Lapsed in a contracting state [announced via postgrant information from national office to epo]

Ref country code: NL

Free format text: LAPSE BECAUSE OF NON-PAYMENT OF DUE FEES

Effective date: 20030801

NLV4 Nl: lapsed or anulled due to non-payment of the annual fee

Effective date: 20030801