EP0579854B1 - Vorrichtung zur Regelung des Bandzuges - Google Patents
Vorrichtung zur Regelung des Bandzuges Download PDFInfo
- Publication number
- EP0579854B1 EP0579854B1 EP92112605A EP92112605A EP0579854B1 EP 0579854 B1 EP0579854 B1 EP 0579854B1 EP 92112605 A EP92112605 A EP 92112605A EP 92112605 A EP92112605 A EP 92112605A EP 0579854 B1 EP0579854 B1 EP 0579854B1
- Authority
- EP
- European Patent Office
- Prior art keywords
- tension
- arm
- torque
- strip
- angle
- Prior art date
- Legal status (The legal status is an assumption and is not a legal conclusion. Google has not performed a legal analysis and makes no representation as to the accuracy of the status listed.)
- Expired - Lifetime
Links
- 230000008859 change Effects 0.000 claims description 8
- 230000033001 locomotion Effects 0.000 claims description 8
- 230000004044 response Effects 0.000 description 10
- 238000000034 method Methods 0.000 description 8
- 230000004048 modification Effects 0.000 description 7
- 238000012986 modification Methods 0.000 description 7
- 230000008569 process Effects 0.000 description 7
- 230000004043 responsiveness Effects 0.000 description 6
- 239000003638 chemical reducing agent Substances 0.000 description 5
- 230000001447 compensatory effect Effects 0.000 description 5
- 230000001276 controlling effect Effects 0.000 description 5
- 238000010586 diagram Methods 0.000 description 5
- 230000001105 regulatory effect Effects 0.000 description 4
- 230000001052 transient effect Effects 0.000 description 4
- 230000009471 action Effects 0.000 description 3
- 230000005484 gravity Effects 0.000 description 3
- 230000005540 biological transmission Effects 0.000 description 2
- 238000012937 correction Methods 0.000 description 2
- 230000000694 effects Effects 0.000 description 2
- 238000012545 processing Methods 0.000 description 2
- 238000005096 rolling process Methods 0.000 description 2
- 229910001209 Low-carbon steel Inorganic materials 0.000 description 1
- 229910000831 Steel Inorganic materials 0.000 description 1
- 230000001133 acceleration Effects 0.000 description 1
- 230000002411 adverse Effects 0.000 description 1
- 230000008901 benefit Effects 0.000 description 1
- 238000006073 displacement reaction Methods 0.000 description 1
- 238000005098 hot rolling Methods 0.000 description 1
- 238000011835 investigation Methods 0.000 description 1
- 230000007246 mechanism Effects 0.000 description 1
- 239000002184 metal Substances 0.000 description 1
- 229910052755 nonmetal Inorganic materials 0.000 description 1
- 230000035945 sensitivity Effects 0.000 description 1
- 239000010959 steel Substances 0.000 description 1
Images
Classifications
-
- B—PERFORMING OPERATIONS; TRANSPORTING
- B65—CONVEYING; PACKING; STORING; HANDLING THIN OR FILAMENTARY MATERIAL
- B65H—HANDLING THIN OR FILAMENTARY MATERIAL, e.g. SHEETS, WEBS, CABLES
- B65H23/00—Registering, tensioning, smoothing or guiding webs
- B65H23/04—Registering, tensioning, smoothing or guiding webs longitudinally
- B65H23/044—Sensing web tension
-
- B—PERFORMING OPERATIONS; TRANSPORTING
- B21—MECHANICAL METAL-WORKING WITHOUT ESSENTIALLY REMOVING MATERIAL; PUNCHING METAL
- B21B—ROLLING OF METAL
- B21B37/00—Control devices or methods specially adapted for metal-rolling mills or the work produced thereby
- B21B37/48—Tension control; Compression control
- B21B37/50—Tension control; Compression control by looper control
-
- B—PERFORMING OPERATIONS; TRANSPORTING
- B21—MECHANICAL METAL-WORKING WITHOUT ESSENTIALLY REMOVING MATERIAL; PUNCHING METAL
- B21B—ROLLING OF METAL
- B21B41/00—Guiding, conveying, or accumulating easily-flexible work, e.g. wire, sheet metal bands, in loops or curves; Loop lifters
- B21B41/12—Arrangements of interest only with respect to provision for indicating or controlling operations
-
- B—PERFORMING OPERATIONS; TRANSPORTING
- B65—CONVEYING; PACKING; STORING; HANDLING THIN OR FILAMENTARY MATERIAL
- B65H—HANDLING THIN OR FILAMENTARY MATERIAL, e.g. SHEETS, WEBS, CABLES
- B65H23/00—Registering, tensioning, smoothing or guiding webs
- B65H23/04—Registering, tensioning, smoothing or guiding webs longitudinally
- B65H23/048—Registering, tensioning, smoothing or guiding webs longitudinally by positively actuated movable bars or rollers
-
- B—PERFORMING OPERATIONS; TRANSPORTING
- B65—CONVEYING; PACKING; STORING; HANDLING THIN OR FILAMENTARY MATERIAL
- B65H—HANDLING THIN OR FILAMENTARY MATERIAL, e.g. SHEETS, WEBS, CABLES
- B65H23/00—Registering, tensioning, smoothing or guiding webs
- B65H23/04—Registering, tensioning, smoothing or guiding webs longitudinally
- B65H23/16—Registering, tensioning, smoothing or guiding webs longitudinally by weighted or spring-pressed movable bars or rollers
-
- B—PERFORMING OPERATIONS; TRANSPORTING
- B65—CONVEYING; PACKING; STORING; HANDLING THIN OR FILAMENTARY MATERIAL
- B65H—HANDLING THIN OR FILAMENTARY MATERIAL, e.g. SHEETS, WEBS, CABLES
- B65H23/00—Registering, tensioning, smoothing or guiding webs
- B65H23/04—Registering, tensioning, smoothing or guiding webs longitudinally
- B65H23/18—Registering, tensioning, smoothing or guiding webs longitudinally by controlling or regulating the web-advancing mechanism, e.g. mechanism acting on the running web
- B65H23/188—Registering, tensioning, smoothing or guiding webs longitudinally by controlling or regulating the web-advancing mechanism, e.g. mechanism acting on the running web in connection with running-web
- B65H23/1888—Registering, tensioning, smoothing or guiding webs longitudinally by controlling or regulating the web-advancing mechanism, e.g. mechanism acting on the running web in connection with running-web and controlling web tension
-
- B—PERFORMING OPERATIONS; TRANSPORTING
- B65—CONVEYING; PACKING; STORING; HANDLING THIN OR FILAMENTARY MATERIAL
- B65H—HANDLING THIN OR FILAMENTARY MATERIAL, e.g. SHEETS, WEBS, CABLES
- B65H2511/00—Dimensions; Position; Numbers; Identification; Occurrences
- B65H2511/10—Size; Dimensions
- B65H2511/11—Length
- B65H2511/112—Length of a loop, e.g. a free loop or a loop of dancer rollers
-
- B—PERFORMING OPERATIONS; TRANSPORTING
- B65—CONVEYING; PACKING; STORING; HANDLING THIN OR FILAMENTARY MATERIAL
- B65H—HANDLING THIN OR FILAMENTARY MATERIAL, e.g. SHEETS, WEBS, CABLES
- B65H2513/00—Dynamic entities; Timing aspects
- B65H2513/10—Speed
Definitions
- the present invention relates to a strip tension control apparatus for controlling the tension of a strip by threading the strip between a transportation roll and a movable transportation roll and moving the movable transportation roll.
- the apparatus is adapted for maintaining a given strip tension in a process line for rolling or the like.
- the process line is provided with a looper.
- the prior art apparatus includes a dancer roll disposed in the central section, whereby the transmission of the variation in tension is deterred to apply a fixed tension to the strips.
- the prior art tension control apparatus having the dancer roll is constructed in the manner shown in Fig. 4.
- a strip 1 is passed from one transportation roll 2 to the other transportation roll 2 via a dancer roll 3.
- the dancer roll 3 is linked to a wind-up drum 4 and a counterweight 6 by means of a wire 5, and the drum 4 is connected to a motor 8 through a speed reducer 7.
- the motor 8 causes the speed reducer 7 to rotate the wind-up drum 4, thereby moving the dancer roll 3 up and down.
- the tension of the strip 1 is controlled by regulating the torque of the motor.
- Guide means 9 is used to fix the direction of action of the dancer roll 3.
- the conventional prior art tension control apparatus having the dancer roll is helpless against a drastic external variation in tension of the strip in the central section.
- high mechanical resistances are produced between the dancer roll 3 and the guide means 9 and between the wind-up drum 4 and the wire 5.
- the dancer roll 3 is subject to a high moment of inertia during the operation caused by the action of the wind-up roll 4, the motor means 8, and the speed reducer 7, as shown in Fig. 4.
- a backlash of the speed reducer results in a delay in operation or a new variation in tension attributable to the action of the dancer roll.
- the conventional tension control apparatus having the dancer roll is quite helpless against a fine variation in tension due to its great structural mechanical loss, backlash in its mechanical system, and high mechanical resistance.
- the prior art does not permit high- accuracy tension control in response to variations in tension in a continuous operation of the type described above.
- a device for regulating the draught of the strip in a hot rolling mill includes an arm pivotable about an axis parallel to the strip and perpendicular to the direction of strip movement. One end of the arm is held in contact with the strip and carries a sensor which outputs electrical couple signals indicative of the couple applied by the strip to the arm about the pivot axis of said arm.
- a processing and control unit is connected to the couple sensor and to sensors for sensing the angular position of the arm to generate an error signal in dependence on the difference between said couple signal and a reference couple signal.
- drive means are arranged for changing the position of said arm in dependence on the error signal generated by the control and processing unit.
- a first object of the invention is to provide a strip tension control apparatus capable of controlling the tension of a strip with high responsiveness and high accuracy despite its drastic external variation.
- a second object of the present invention is to provide a strip tension control apparatus capable of controlling the tension of a strip with good responsiveness and satisfactory accuracy by means of a small-capacity motor, despite a fine variation in the strip tension.
- the torque of the arm is thus controlled by means of the arm driving motor, and the tension control is effected by turning the movable transportation roll through the medium of the arm.
- the tension control is effected by turning the movable transportation roll through the medium of the arm.
- neither the wind-up drum nor the wire is required, so that the mechanical resistance in the present invention is very small.
- the absence of the wind-up drum and the like in the present invention minimizes the moment of inertia of the machine axis system.
- the arm driving motor is connected directly to the supporting shaft there is no possibility of undergoing a delay in operation or a new variation in tension, which may be caused by backlash when a speed reducer is used.
- the torque is generated in the arm by the following method, as well as by connecting the arm driving motor directly to the supporting shaft.
- the supporting shaft is provided with a counterweight which is adjustable in position with respect to a direction perpendicular to the supporting shaft, and the torque around the supporting shaft is generated in the arm by means of the counterweight.
- the torque to be generated in the arm can be controlled through the control of the motor torque and the adjustment of the counterweight position.
- the angle of swing motion of the arm is detected by means of the angle sensor, and the tension of the strip is detected by means of the tension sensor. Based on the detected angle and the detected tension, the output of the arm driving motor and the position of the counterweight are controlled to control the torque to be generated in the arm, whereby the tension of the strip is controlled at the target tension.
- the torque control by means of the arm driving motor and the torque control through the counterweight position control can be effected in combination with each other.
- the tension of the strip can be controlled with good responsiveness and satisfactory accuracy.
- very effective tension control which is beyond the capability of the conventional prior art dancer roll can be enjoyed such that a fine variation of the strip tension can be eliminated with high accuracy.
- an arm torque to be somewhat fixedly applied depending on the target tension can be obtained through the adjustment of the counterweight position, while an arm torque which rises quickly in response to the variation in tension can be obtained through the torque control by means of the arm driving motor. Accordingly, the motor must only bear the torque corresponding to the variation in tension, so that the motor requires only a small capacity.
- the arm driving motor and a drive unit may be kept to a minimum resulting in an economical advantage.
- reasonable tension control can be ensured such that the torque control is effected through the counterweight position control and the motor can be used for dynamic torque control. In consequence, high- accuracy tension control can be enjoyed.
- a first embodiment of the present invention is a strip tension control apparatus constructed in the manner shown in Fig. 1.
- a strip 1 is threaded between transportation rolls 2 and a movable transportation roll 10.
- the apparatus generally comprises a movable transportation roll 10, an arm 11, the supporting shaft 12, an arm driving motor 14, a tension sensor 15, an arm angle sensor 16, a tension control section 30, bridle rolls 20, a bridle roll driving motor 21, and a strip speed control section 40.
- the tension of the strip 1 is controlled through a pivoting movement of the roll 10 about the shaft 12.
- the arm 11, one end of which is supported by the supporting shaft 12, is adapted to swing around the shaft 12, and the movable transportation roll 10 is connected to the other end.
- the supporting shaft 12 is pivotally supported by bearing means 13. Both axial ends of the roll 10 are supported by the arm 11.
- the arm driving motor 14 which is coaxially connected to the supporting shaft 12, is used to generate a torque around the supporting shaft 12, thereby applying a tension to the strip 1.
- the arm angle sensor 16 is used to detect the angle of swing motion of the arm 11 or the rotational angle of the arm driving motor 14. A detected angle ⁇ is entered in the tension control section 30 and the strip speed control section 40.
- the tension sensor 15, which detects the tension of the strip 1, is located very close to the transportation rolls 2.
- the tension control section 30 includes a tension controller 31, a dead load compensating arithmetic unit 32, and a tension angle compensating arithmetic unit 33.
- the tension controller 31 feeds back and comparatively calculates the detected tension T from the tension sensor 15 with respect to the target tension Tr, and delivers the torque control command T1.
- the dead load compensating arithmetic unit 32 is used to compensate the moment of inertia for the dead load of the movable transportation roll 10 and the arm 11 in accordance with the detected angle ⁇ from the angle sensor 16.
- the tension angle compensating arithmetic unit 33 is used to compensate (output torque compensation) a change of the relationship between the strip tension and the output torque of the arm driving motor 14 in accordance with the angle of the arm 11.
- the torque control command T1 is compensated by the respective outputs of the arithmetic units 32 and 33 to become a compensatory torque command T1', which is entered in a current controller 34.
- a current sensor 17 is provided for detecting the current of the motor 14 and feeding it back to the compensatory torque command T1'.
- the torque command T1' or current command fed back in this manner is entered in the current controller 34.
- the current controller 34 is used to enter a command for controlling the input current (torque) of the motor 14 in a motor driver 18 in response to the input current command.
- the torque for the dead load is compensated by adding the torque compensation value Tqs to the tension command T1.
- the tension angle compensating arithmetic unit 33 may carry out output torque compensation in the following manner.
- the output torque is compensated by adding the output torque compensation value Tqt to the tension command.
- the strip speed control section 40 controls the transportation speed of the strip 1 so that it is adjusted to a target speed Vr, and controls the angle ⁇ of the arm 11 for a target angle Ar.
- the speed control section 40 includes an angle controller 41, a dead band generator 42, and a speed controller 43.
- the angle controller 41 compares the target angle Ar and the detected angle ⁇ , and delivers speed modification commands for correcting the angle of the arm 11.
- the dead band generator 42 supplies the speed controller 43 with a speed modification command, among others, of which a fine transient variation of angle is cut off.
- the speed controller 43 controls the speed of the bridle roll driving motor 21, and hence, the rotational speed of the bridle rolls 20 in response to the corrected speed modification command thereby adjusting the transportation speed of the strip so that the angle of the arm is fixed.
- the dead band generator 42 serves to remove a fine transient variation of angle in a speed modification signal for angle correction, since any transient signal variation is harmful.
- the strip 1 is windingly fed through the bridle rolls 20, threaded between the one transportation roll 2, the movable transportation roll 10, the other transportation roll 2, and then delivered to a subsequent stage of flow.
- the tension sensor 15 detects the tension T of the strip 1
- the angle sensor 16 detects the angle ⁇ of the arm 11 fitted with the roll 10, to its horizontal position.
- the detected tension T and the detected angle ⁇ are entered in the tension control section 30, and at the same time the target tension Tr is set in the control section 30.
- the detected tension T is fed back to the target tension Tr, whereupon the torque control command T1 is obtained.
- the detected angle ⁇ is entered in the dead load compensating arithmetic unit 32 and the tension angle compensating arithmetic unit 33, whereupon the units 32 and 33 calculate the torque compensation value Tqs for the dead load and the output torque compensation value Tqt of the tension according to equations (1) and (2). These compensation values are added to the tension command T1 so that the command T1 is compensated to become the compensatory torque command T1'.
- the compensatory torque command T1' is entered as a torque command value, that is, a current command value, in the current controller 34.
- the current controller 34 controls the motor driver 18 thereby regulating the torque of the arm driving motor 14, and hence, the tension of the strip 1.
- the motor current detected by means of the current sensor 17 is fed back to the compensatory torque command T1', and entered in the current controller 34.
- the current controller 34 controls the current supply from the motor driver 18 to the arm driving motor 14, thereby regulating the motor current so that the torque of the motor 14 is adjusted to the command value T1'.
- the speed controller 43 delivers the speed modification command for the line speed Vr.
- the fine transient angle variation is removed by means of the dead band generator 42 to prevent a hindrance.
- the speed correction signal is added to the target line speed Vr and is entered as a speed command in the speed controller 43.
- the speed controller 43 controls the bridle roll driving motor 21, thereby adjusting the transportation speed of the strip and the angle ⁇ of the arm 11 to the target speed Vr and the target angle Ar, respectively.
- Table 1 shows results of comparison between the strip tension control apparatus of the present embodiment and the conventional prior art tension control apparatus using the dancer roll.
- compared factors include moment of inertia GD 2 , mechanical loss, and backlash.
- the moment of inertia of the apparatus of the present embodiment is about half that of the conventional apparatus.
- the mechanical loss of the apparatus of the first embodiment is about 2 kg in terms of strip tension, as compared with about 50 kg for the conventional apparatus. This is because the apparatus of the present embodiment involves only the frictional torque of the bearing means of the supporting shaft whereas the conventional apparatus is subject to a mechanical loss of the up-and-down motion mechanism for the dancer roll.
- the apparatus of the first embodiment is not. This is because the motor is connected directly to the arm supporting shaft.
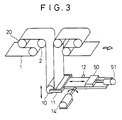
- the second embodiment is a strip tension control apparatus constructed in the manner shown in Fig. 3. As shown in Fig. 3, this strip tension control apparatus, which is constructed substantially in the same manner as the apparatus of the first embodiment, further comprises a counterweight 50, a counterweight position shifting motor 51, and a counterweight position sensor 52.
- the counterweight 50 is arranged on an arm 11 for movement in the longitudinal direction of the arm (or at right angles to a supporting shaft 12). A torque generated in the arm 11 is controlled by adjusting the longitudinal position of the counterweight 50.
- the counterweight 50 is moved by driving the counterweight shifting motor 51.
- the position of the counterweight 50 is detected by means of the counterweight position sensor 52, and is entered in a tension control section 30 (dead load compensating arithmetic unit 32 in the section 30).
- the tension control section 30 includes a tension controller 31, the dead load compensating arithmetic unit 32, a tension angle compensating arithmetic unit 33, and a counterweight position setter 54.
- the tension controller 31 feeds back and comparatively calculates a detected tension T with respect to a target tension Tr, and delivers a torque control command T1.
- the dead load compensating arithmetic unit 32 is used to compensate the moment of inertia for the dead load of a movable transportation roll 10 and the arm 11 in accordance with a detected angle ⁇ from an angle sensor 16.
- the tension angle compensating arithmetic unit 33 is used to compensate (output torque compensation) a change of the relationship between the strip tension and the output torque of an arm driving motor 14 in accordance with the angle of the arm 11.
- the counterweight position setter 54 is used to set the position of the counterweight 50 in accordance with the target tension Tr.
- the counterweight position setter 54 calculates the position St of the counterweight 50 and applies a signal indicative of this position St to a counterweight drive section 53. The calculation of the counterweight position St will be described in detail later.
- the counterweight drive section 53 drives the counterweight position shifting motor 51 to move the counterweight 50 so that the counterweight 50 is located in the position set by means of the setter 54.
- the speed control section 40 includes an angle controller 41 and a speed controller 43.
- the angle controller 41 compares a target angle Ar and the detected angle ⁇ , and delivers a speed modification command for correcting the angle of the arm 11.
- the speed controller 43 controls the speed of the bridle roll driving motor 21, and hence, the rotational speed of the bridle rolls 20 in response to the delivered speed modification command thereby adjusting the transportation speed of the strip so that the angle of the arm is fixed.
- the second embodiment is arranged in the same manner as the first embodiment, so that like reference numerals are used to designate the same parts throughout the drawings.
- the target tension Tr is entered in the counterweight position setter 54, whereupon the setter 54 calculates the position St of the counterweight 50 in accordance with the input target tension Tr, and sets it in the counterweight drive section 53.
- the counterweight position is set in the following manner.
- Tq 2 ⁇ T ⁇ Lr + Wm ⁇ Lm - (Ws ⁇ St + Wr ⁇ Lr + Wf ⁇ Lf)
- Lr is the distance between the central axis of the movable transportation roll 10 and the supporting shaft 12
- Lf is the distance between the center of gravity of the arm 11 and the shaft 12
- Lm is the distance between the center of gravity of the counterweight shifting motor 51 (including the sensor and the like) and the shaft 12
- Wr is the weight of the roll 10
- Ww is the weight of the counterweight 50
- Wf is the weight of the arm 11
- Wm is the weight of the counterweight shifting motor 51 (including the sensor).
- the counterweight shifting motor 51 is located on the opposite side of the supporting shaft 12 with respect to the movable transportation roll 10, so that a torque Wm ⁇ St on the arm 11, which is based on the weight Wm of the motor 51, acts in the same direction as the tension of the strip on the arm 11 as indicated by the first term of equation (3).
- the movable range (between the maximum and minimum values of the position St) for the counterweight 50 should be established by setting the maximum and minimum values of the necessary target tension Tref for operation at economical values which ensure minimized moment of inertia and required performance in consideration of the torque Ctq of the motor 14 and other constants in equation (4).
- the counterweight position St is determined so that the counterweight 50 is situated as close to the supporting shaft 12 of the arm 11 as possible within a range permitted by the torque CTq of the motor 14. Accordingly, the moment of inertia is lowered so that tension control can be effected with high sensitivity.
- the counterweight 50 is moved to the determined position St to obtain the target tension Tref when the time comes for the tension setting or set tension change.
- the counterweight 50 is moved from its stop position to the position St with a certain speed pattern.
- the target value Tref of the strip tension cannot be attained immediately when the time comes for the tension setting or set tension change, so that the tension control is subject to delay.
- the position of the counterweight 50 is first detected by means of the sensor 52 and fed back to the tension control section 30 whereby the torque Tq of the motor 14 for the target tension value Tref of equation (3) is dynamically calculated. Then, the calculated torque Tq is entered in the current controller 34 so that the torque Tq is applied to the arm 11 by means of the arm driving motor 14.
- the delay of the tension control of the counterweight 50 is compensated so that the tension of the strip 1 can be controlled for the target tension Tref without a delay in the timing for tension setting or set tension change.
- the counterweight 50 is arranged for movement on the arm 11 so that it is adjustable in position with respect to a direction perpendicular to the supporting shaft 12. According to this embodiment, however, the counterweight may be arranged on any suitable means other than the arm which is movable at right angles to the supporting shaft.
- the tension of the strip can be controlled with high responsiveness and high accuracy despite its drastic variation externally introduced into the central section or the like. Since the counterweight is provided on the supporting shaft, moreover, the strip tension can be controlled with good responsiveness and satisfactory accuracy by means of the small-capacity motor, despite a fine variation in the strip tension. In setting the strip tension or changing the set tension, furthermore, the tension can be adjusted to the desired target value. Thus, very effective tension control which is beyond the capability of the conventional dancer roll can be enjoyed. An investigation made by the inventor hereof indicated that the apparatus of the present invention can effect high-accuracy tension control such that the variation in the strip tension can be reduced to about 1/3 as compared with the conventional case.
Landscapes
- Engineering & Computer Science (AREA)
- Mechanical Engineering (AREA)
- Controlling Rewinding, Feeding, Winding, Or Abnormalities Of Webs (AREA)
Claims (4)
- Vorrichtung zur Regelung eines Bandzuges durch kontinuierliches Einführen des Bandes (1) zwischen die Oberseite einer Transportrolle (2) und die Unterseite einer beweglichen Transportrolle (10) und durch Bewegen der beweglichen Transportrolle (10), wobei die Vorrichtung zur Regelung des Bandzuges umfaßt:einen Arm (11) mit einem mit der beweglichen Transportrolle (10) zum Zwecke des Verschwenkens der beweglichen Transportrolle (10) in eine vertikale Richtung verkuppelten Ende;eine Stützwelle (12) mit einer Achse, die parallel zur Transportrolle (2) zum Verschwenken des Armes (11) angebracht ist, der drehbar durch eine Lagereinrichtung (13) gelagert ist;einen Motor (14) für den Antrieb des Armes (11), der koaxial und direkt mit der Stützwelle (12) verbunden ist und ein Drehmoment im Arm (11) um die Stützwelle (12) erzeugt, wodurch das Band (1) mit Zug beaufschlagt ist;eine Armwinkel-Sensoreinrichtung (16), zum Erfassen des Winkels der verschwenkenden Bewegung des Armes (11);eine Bandzug-Sensoreinrichtung (15), die die Last erfaßt, mit der die Transportrolle (2) durch den Bandzug beaufschlagt ist; undeine Zug-Regelungseinrichtung (30) zur Korrektur des Drehmoments, das im Arm (11) gemaß dem erfaßten Winkel und des Zuges erzeugt werden soll, Wodurch der Bandzug auf einen Endzug geregelt ist.
- Vorrichtung zur Regelung des Bandzuges nach Anspruch 1, ferner umfassend:eine Einrichtung für die Regelung des Motor-Drehmoments zur Regelung des Drehmoments des Motors (14) für den Armantrieb;ein auf der Stützwelle (12) angeordnetes Gegengewicht (50), das in einer zur Stützwelle rechtwinkligen Position einstellbar ist und dazu dient, das Drehmoment im Arm (11) um die Stützwelle zu erzeugen;eine Einrichtung zum Einstellen der rechtwinkligen Position des Gegengewichts zur Regelung des im Arm (11) zu erzeugenden Drehmoments; undeine Einrichtung (17) zur Regelung des im Arm (11) entsprechend dem erfaßten Winkel und dem erfaßten Zug zu erzeugenden Drehmoments und dem erfaßten Zug, die durch den Bereich für die Regelung des Motordrehmoments und den Bereich für die Einstellung der Position des Gegengewichts geregelt ist, so daß der Endzug mit Hilfe des Bandzuges erhältlich ist.
- Vorrichtung nach Anspruch 1, wobei die Vorrichtung (30) zur Regelung des Zuges umfaßt:einen Zugregler (31) der einen Drehmoment-Regelungsbefehls liefert, der auf einem Vergleich eines erfaßten Zuges und des Endzuges beruht;eine Ruhelast kompensierende arithmetische Einheit (32) zur Kompensierung des Drehmoments für eine Ruhelast der beweglichen Transportrolle (10) und des Arms (11) beruhend auf der mit Hilfe der Winkelsensoreinrichtung (16) erfaßten Winkelposition;eine Zugwinkel kompensierende arithmetische Einrichtung (33) zur Kompensierung einer Änderung der Beziehung zwischen dem Bandzug und dem Ausgangsdrehmoment des Motors (14) für den Armantrieb, basierend auf der Winkelposition des Armes; undeine Stromreglereinrichtung zur Regelung des Motors (14) für den Armantrieb, beruhend auf einem kompensierten Drehmomentbefehl, der eine Summe des Drehmomentregelungsbefehls, eines Ausgangssignals der Ruhelast kompensierenden arithmetischen Einheit (32) und eines Ausgangssignals der Zugwinkel kompensierenden arithmetischen Einrichtung (33) ist.
- Vorrichtung nach Anspruch 2, wobei die Zugregelungseinrichtung (30) umfaßt:eine Zugreglereinrichtung (31) zum Rückschalten und zum mit dem Endzug vergleichend Berechnen des erfaßten Zuges sowie zum Liefern eines Drehmomentregelungsbefehls;eine Ruhelast kompensierende Einheit (32) zur Kompensierung des Trägheitsmoments der Ruhelast der beweglichen Transportrolle (10) und des Armes (11) gemaß dem vom Winkelsensor (16) erfaßten Winkel;eine Zugwinkel kompensierende arithmetische Einrichtung (33) zur Kompensierung einer Änderung der Beziehung zwischen dem Bandzug und dem Ausgangsdrehmoment des Motors (14) für den Armantrieb entsprechend dem Winkel des Armes (11);und eine Stromregler-Einrichtung zur Regelung des Motors (14) für den Armantrieb gemäß dem kompensierten Drehmomentbefehl.
Priority Applications (3)
| Application Number | Priority Date | Filing Date | Title |
|---|---|---|---|
| CA002074434A CA2074434C (en) | 1992-07-22 | 1992-07-22 | Strip tension control apparatus |
| EP92112605A EP0579854B2 (de) | 1992-07-22 | 1992-07-23 | Vorrichtung zur Regelung des Bandzuges |
| DE1992627312 DE69227312T3 (de) | 1992-07-23 | 1992-07-23 | Vorrichtung zur Regelung des Bandzuges |
Applications Claiming Priority (2)
| Application Number | Priority Date | Filing Date | Title |
|---|---|---|---|
| CA002074434A CA2074434C (en) | 1992-07-22 | 1992-07-22 | Strip tension control apparatus |
| EP92112605A EP0579854B2 (de) | 1992-07-22 | 1992-07-23 | Vorrichtung zur Regelung des Bandzuges |
Publications (3)
| Publication Number | Publication Date |
|---|---|
| EP0579854A1 EP0579854A1 (de) | 1994-01-26 |
| EP0579854B1 true EP0579854B1 (de) | 1998-10-14 |
| EP0579854B2 EP0579854B2 (de) | 2001-10-31 |
Family
ID=25675358
Family Applications (1)
| Application Number | Title | Priority Date | Filing Date |
|---|---|---|---|
| EP92112605A Expired - Lifetime EP0579854B2 (de) | 1992-07-22 | 1992-07-23 | Vorrichtung zur Regelung des Bandzuges |
Country Status (2)
| Country | Link |
|---|---|
| EP (1) | EP0579854B2 (de) |
| CA (1) | CA2074434C (de) |
Cited By (1)
| Publication number | Priority date | Publication date | Assignee | Title |
|---|---|---|---|---|
| DE102005059822B3 (de) * | 2005-12-14 | 2007-05-31 | Kramer, Carl, Prof. Dr.-Ing. | Vorrichtung zur Einstellung der Bandspannung in Anlagen zur Wärmebehandlung insbesondere dünner Metallbänder |
Families Citing this family (12)
| Publication number | Priority date | Publication date | Assignee | Title |
|---|---|---|---|---|
| EP0936275B1 (de) * | 1994-03-02 | 2002-07-31 | Nippon Steel Corporation | Vorrichtung zur Regelung des Bandzuges in Durchlaufglühanlagen für Stahlband |
| RU2142400C1 (ru) * | 1999-02-08 | 1999-12-10 | Новочеркасский государственный технический университет | Регулятор натяжения |
| ITFI20020088A1 (it) | 2002-05-29 | 2003-12-01 | Perini Fabio Spa | Dispositivo e metodo per il controllo della tensione di un materiale nastrifore |
| EP1964799B1 (de) * | 2007-02-28 | 2010-04-21 | Applied Materials, Inc. | Netzführungssteuerung, Netzverarbeitungsvorrichtung und Betriebsverfahren dafür |
| DE102008028113A1 (de) | 2008-06-13 | 2009-12-24 | CSE Seekamp Elektroausrüstungen GmbH & Co. KG | Vorrichtung zur Einstellung und Regelung der Bandspannung in Bandanlagen |
| CN101648219B (zh) * | 2008-08-13 | 2011-07-27 | 鞍钢股份有限公司 | 冷轧张力辊速度检测系统及控制方法 |
| DE102014103552B4 (de) * | 2014-03-14 | 2019-05-09 | VON ARDENNE Asset GmbH & Co. KG | Prozessieranordnung und Verfahren zum Beschichten eines Bandsubstrats |
| CN106583464B (zh) * | 2016-11-11 | 2018-10-30 | 北京首钢冷轧薄板有限公司 | 一种优化活套张力的方法及装置 |
| CN111392367B (zh) * | 2020-04-09 | 2022-04-29 | 东莞市力星激光科技有限公司 | 一种激光切管机的上料装置 |
| CN114476847A (zh) * | 2022-01-20 | 2022-05-13 | 新华都特种电气股份有限公司 | 变压器绕组恒张力供线装置及变压器绕组生产设备 |
| CN117819298B (zh) * | 2024-03-06 | 2024-05-28 | 常州宏大智慧科技有限公司 | 线带材张力控制装置及应用其的线带材输送组件 |
| CN121467828A (zh) * | 2026-01-12 | 2026-02-06 | 泰州市江南机械制造有限公司 | 一种自适应调节压线的线切割机床 |
Family Cites Families (5)
| Publication number | Priority date | Publication date | Assignee | Title |
|---|---|---|---|---|
| AT35781B (de) † | 1908-02-10 | 1909-01-11 | Konrad Bachmann | Formmaterial für Gießereizwecke. |
| CH574363A5 (de) * | 1973-11-13 | 1976-04-15 | Bobst Fils Sa J | |
| JPS51127988A (en) † | 1975-04-30 | 1976-11-08 | Ishikawajima Harima Heavy Ind Co Ltd | Tension control device having looper and this looper |
| DE2911881C2 (de) † | 1979-03-26 | 1983-02-24 | Hoesch Werke Ag, 4600 Dortmund | Schlingenheber |
| IT1173847B (it) * | 1984-03-15 | 1987-06-24 | Ansaldo Sistemi Ind Spa | Dispositivo regolatore del tipo del nastro in laminazione a caldo |
-
1992
- 1992-07-22 CA CA002074434A patent/CA2074434C/en not_active Expired - Lifetime
- 1992-07-23 EP EP92112605A patent/EP0579854B2/de not_active Expired - Lifetime
Cited By (1)
| Publication number | Priority date | Publication date | Assignee | Title |
|---|---|---|---|---|
| DE102005059822B3 (de) * | 2005-12-14 | 2007-05-31 | Kramer, Carl, Prof. Dr.-Ing. | Vorrichtung zur Einstellung der Bandspannung in Anlagen zur Wärmebehandlung insbesondere dünner Metallbänder |
Also Published As
| Publication number | Publication date |
|---|---|
| CA2074434C (en) | 1997-04-15 |
| CA2074434A1 (en) | 1994-01-23 |
| EP0579854A1 (de) | 1994-01-26 |
| EP0579854B2 (de) | 2001-10-31 |
Similar Documents
| Publication | Publication Date | Title |
|---|---|---|
| US5472127A (en) | Strip tension control apparatus | |
| EP0579854B1 (de) | Vorrichtung zur Regelung des Bandzuges | |
| US4598849A (en) | Web guiding and decurling apparatus | |
| EP0737638B1 (de) | Verfahren und Vorrichtung zum Berechnen und Regeln der Dehnung einer laufenden Materialbahn | |
| US4998427A (en) | Method for rolling on-gauge head and tail ends of a workpiece | |
| US5553805A (en) | Process and apparatus for winding sheet material | |
| US5878933A (en) | Strip guiding apparatus and associated method for maintaining lateral position | |
| US4760723A (en) | Elongation control system | |
| KR970001569A (ko) | 프로세스라인의 장력제어장치 | |
| US4307591A (en) | Rolling mill looper control system | |
| US5771724A (en) | Method and apparatus for an anticipatory thickness control in foil rolling | |
| KR950011314B1 (ko) | 스트립 장력 제어장치 | |
| JP2749464B2 (ja) | 張力制御装置 | |
| JPS62280155A (ja) | 薄物材の巻取張力の制御方法 | |
| JPH0578502B2 (de) | ||
| JPH0515915A (ja) | タンデム圧延機の張力制御方法 | |
| JPH0551370B2 (de) | ||
| DE69227312T3 (de) | Vorrichtung zur Regelung des Bandzuges | |
| JP3018903B2 (ja) | ブライドルロールの運転制御方法及びその装置 | |
| GB2137778A (en) | Forward Slip Control Device | |
| JP2678733B2 (ja) | 表面巻取方法及び装置 | |
| JP2567147B2 (ja) | リワインダ制御装置 | |
| WO1997014638A1 (en) | Strip guiding apparatus and associated method | |
| JPH0217615B2 (de) | ||
| JPS6215287B2 (de) |
Legal Events
| Date | Code | Title | Description |
|---|---|---|---|
| PUAI | Public reference made under article 153(3) epc to a published international application that has entered the european phase |
Free format text: ORIGINAL CODE: 0009012 |
|
| AK | Designated contracting states |
Kind code of ref document: A1 Designated state(s): DE FR GB |
|
| 17P | Request for examination filed |
Effective date: 19940722 |
|
| 17Q | First examination report despatched |
Effective date: 19951222 |
|
| GRAG | Despatch of communication of intention to grant |
Free format text: ORIGINAL CODE: EPIDOS AGRA |
|
| GRAG | Despatch of communication of intention to grant |
Free format text: ORIGINAL CODE: EPIDOS AGRA |
|
| GRAH | Despatch of communication of intention to grant a patent |
Free format text: ORIGINAL CODE: EPIDOS IGRA |
|
| GRAH | Despatch of communication of intention to grant a patent |
Free format text: ORIGINAL CODE: EPIDOS IGRA |
|
| GRAA | (expected) grant |
Free format text: ORIGINAL CODE: 0009210 |
|
| AK | Designated contracting states |
Kind code of ref document: B1 Designated state(s): DE FR GB |
|
| REF | Corresponds to: |
Ref document number: 69227312 Country of ref document: DE Date of ref document: 19981119 |
|
| ET | Fr: translation filed | ||
| PLBQ | Unpublished change to opponent data |
Free format text: ORIGINAL CODE: EPIDOS OPPO |
|
| PLBI | Opposition filed |
Free format text: ORIGINAL CODE: 0009260 |
|
| PLBF | Reply of patent proprietor to notice(s) of opposition |
Free format text: ORIGINAL CODE: EPIDOS OBSO |
|
| 26 | Opposition filed |
Opponent name: SMS SCHLOEMANN-SIEMAG AKTIENGESELLSCHAFT Effective date: 19990714 |
|
| PLBF | Reply of patent proprietor to notice(s) of opposition |
Free format text: ORIGINAL CODE: EPIDOS OBSO |
|
| PLBF | Reply of patent proprietor to notice(s) of opposition |
Free format text: ORIGINAL CODE: EPIDOS OBSO |
|
| PLAW | Interlocutory decision in opposition |
Free format text: ORIGINAL CODE: EPIDOS IDOP |
|
| PLAW | Interlocutory decision in opposition |
Free format text: ORIGINAL CODE: EPIDOS IDOP |
|
| PUAH | Patent maintained in amended form |
Free format text: ORIGINAL CODE: 0009272 |
|
| STAA | Information on the status of an ep patent application or granted ep patent |
Free format text: STATUS: PATENT MAINTAINED AS AMENDED |
|
| 27A | Patent maintained in amended form |
Effective date: 20011031 |
|
| AK | Designated contracting states |
Kind code of ref document: B2 Designated state(s): DE FR GB |
|
| REG | Reference to a national code |
Ref country code: GB Ref legal event code: IF02 |
|
| ET3 | Fr: translation filed ** decision concerning opposition | ||
| PGFP | Annual fee paid to national office [announced via postgrant information from national office to epo] |
Ref country code: FR Payment date: 20110727 Year of fee payment: 20 |
|
| PGFP | Annual fee paid to national office [announced via postgrant information from national office to epo] |
Ref country code: GB Payment date: 20110720 Year of fee payment: 20 Ref country code: DE Payment date: 20110720 Year of fee payment: 20 |
|
| REG | Reference to a national code |
Ref country code: DE Ref legal event code: R071 Ref document number: 69227312 Country of ref document: DE |
|
| REG | Reference to a national code |
Ref country code: DE Ref legal event code: R071 Ref document number: 69227312 Country of ref document: DE |
|
| REG | Reference to a national code |
Ref country code: GB Ref legal event code: PE20 Expiry date: 20120722 |
|
| PG25 | Lapsed in a contracting state [announced via postgrant information from national office to epo] |
Ref country code: DE Free format text: LAPSE BECAUSE OF EXPIRATION OF PROTECTION Effective date: 20120724 Ref country code: GB Free format text: LAPSE BECAUSE OF EXPIRATION OF PROTECTION Effective date: 20120722 |