EP0512428B1 - Arbeitsbühne für Wände oder Schalungen - Google Patents

Arbeitsbühne für Wände oder Schalungen Download PDF

Info

Publication number
EP0512428B1
EP0512428B1 EP92107430A EP92107430A EP0512428B1 EP 0512428 B1 EP0512428 B1 EP 0512428B1 EP 92107430 A EP92107430 A EP 92107430A EP 92107430 A EP92107430 A EP 92107430A EP 0512428 B1 EP0512428 B1 EP 0512428B1
Authority
EP
European Patent Office
Prior art keywords
platform
railing
supports
support
work
Prior art date
Legal status (The legal status is an assumption and is not a legal conclusion. Google has not performed a legal analysis and makes no representation as to the accuracy of the status listed.)
Expired - Lifetime
Application number
EP92107430A
Other languages
English (en)
French (fr)
Other versions
EP0512428A1 (de
Inventor
Artur Dipl.-Ing. Schwörer (FH)
Hans Dipl.-Ing. Braun (Fh)
Current Assignee (The listed assignees may be inaccurate. Google has not performed a legal analysis and makes no representation or warranty as to the accuracy of the list.)
Peri GmbH
Original Assignee
Peri GmbH
Priority date (The priority date is an assumption and is not a legal conclusion. Google has not performed a legal analysis and makes no representation as to the accuracy of the date listed.)
Filing date
Publication date
Application filed by Peri GmbH filed Critical Peri GmbH
Publication of EP0512428A1 publication Critical patent/EP0512428A1/de
Application granted granted Critical
Publication of EP0512428B1 publication Critical patent/EP0512428B1/de
Anticipated expiration legal-status Critical
Expired - Lifetime legal-status Critical Current

Links

Images

Classifications

    • EFIXED CONSTRUCTIONS
    • E04BUILDING
    • E04GSCAFFOLDING; FORMS; SHUTTERING; BUILDING IMPLEMENTS OR AIDS, OR THEIR USE; HANDLING BUILDING MATERIALS ON THE SITE; REPAIRING, BREAKING-UP OR OTHER WORK ON EXISTING BUILDINGS
    • E04G5/00Component parts or accessories for scaffolds
    • E04G5/06Consoles; Brackets
    • EFIXED CONSTRUCTIONS
    • E04BUILDING
    • E04GSCAFFOLDING; FORMS; SHUTTERING; BUILDING IMPLEMENTS OR AIDS, OR THEIR USE; HANDLING BUILDING MATERIALS ON THE SITE; REPAIRING, BREAKING-UP OR OTHER WORK ON EXISTING BUILDINGS
    • E04G17/00Connecting or other auxiliary members for forms, falsework structures, or shutterings
    • E04G17/002Workplatforms, railings; Arrangements for pouring concrete, attached to the form
    • EFIXED CONSTRUCTIONS
    • E04BUILDING
    • E04GSCAFFOLDING; FORMS; SHUTTERING; BUILDING IMPLEMENTS OR AIDS, OR THEIR USE; HANDLING BUILDING MATERIALS ON THE SITE; REPAIRING, BREAKING-UP OR OTHER WORK ON EXISTING BUILDINGS
    • E04G5/00Component parts or accessories for scaffolds
    • E04G5/06Consoles; Brackets
    • E04G5/062Consoles; Brackets specially adapted for attachment to building walls

Definitions

  • the invention relates to a work platform for fastening to a wall or formwork with a platform and a protective railing which can be pivoted onto the platform.
  • stage supports project upwards from the platform. They are attached to a wall or formwork at their upper end and lie on the wall or along their entire length Formwork on.
  • its stage supports can be pivoted about an axis that is perpendicular to the plane containing the two stage supports and parallel to the stage level, so that they can be pivoted into a position parallel to the platform of the work platform in which they are need only a small transport height.
  • inclined supports are provided which are movable into a position in contact with the platform, and the protective railing and the inclined supports are movably connected to one another via an operative connection which transmits the movement.
  • the inclined supports are also moved from the position in contact with the platform of the work platform to an inclined support position.
  • the invention has for its object to simplify the handling of the work platform during assembly and disassembly.
  • this object is achieved in that the lower end of the railing supports of the guardrail is U-shaped, one leg of the U forming the railing support, the other leg of the U, which is considerably shorter than the aforementioned leg, with its free end is pivotally attached to the platform and the yoke of the U is pivotally connected to an inclined support.
  • the U-shaped design of the lower end of the railing supports has the advantage that the pivot axis of the protective railing can be provided on the underside of the platform. Nevertheless, the guardrail can be swiveled flat onto the platform for transport.
  • the invention can be implemented by articulated or cable pulls, or also by gear transmissions.
  • the protective railing of the working platform has railing supports that extend below the pivot axis of the protective railing, the lower end of each railing support being connected in an articulated manner to an inclined support.
  • links are provided for the movable connection of the inclined supports to the work platform, one end of which is pivotally connected to the platform and the other end is pivotably connected to an inclined support.
  • This handlebar can be provided under the work platform to take up support forces, or above the work platform to take up tensile forces if the inclined supports are provided as tension members above the platform of the work platform and serve to hang up the work platform. In both cases, a handlebar pulls an inclined support against the platform when the guardrail is pivoted onto the platform.
  • the embodiment of the work platform described above can be designed such that the platform, a railing support, an inclined support and a link form the four links of a flat kinematic chain with four joints.
  • Such The active connection optimally transmits the movement between the guardrail and inclined supports. Due to the pivotable connection of the guardrail with the inclined supports and their movable connection via the handlebars to the platform of the work platform, the inclined supports move when pivoting the protective railing into their intended position.
  • At least one locking device is provided, which prevents movement of the guardrail and the inclined supports, both in the assembled and in the disassembled state of the work platform.
  • This locking device can be captively connected to the work platform. It can be provided in such a way that it always remains in the same place on the work platform and does not have to be moved from one place to another place when the work platform is being assembled or disassembled.
  • the locking device has a U-shaped locking bracket. This allows a simple and user-friendly structure of this lock.
  • the guardrail of a preferred embodiment of the work platform has a hitch.
  • the hitch is conveniently provided on two railing supports in about half to two thirds of the height of the guardrail.
  • the work platform can be attached to this hitch in both the open and dismantled condition.
  • the working platform when unlocked, can be unfolded by lifting it on the suspension device and set up with it.
  • the inclined supports are provided as tension members above the platform of the work platform, they can be designed for hanging on the upper edge of a formwork.
  • the platform of the work platform then hangs on the inclined supports and on the links that connect the inclined supports designed as tension members to the platform of the work platform.
  • the platform is located below the upper edge of the formwork, which allows workers standing on the work platform to work upright.
  • the work platform 1 shown in Fig. 1 consists of a platform 2, a guardrail 3 and inclined supports 4.
  • Die Platform 2 has two beams 5, each made of two angle profile bars (see FIG. 3), onto which wooden planks 6 are screwed transversely thereto, which form the accessible work surface of the work platform 1.
  • fastening means 7 are provided for fastening the working platform 1 to a wall or formwork. This page is called the fastening page below.
  • the protective railing 3 has two railing supports 9, to which two tubes 10 and a square tube 11 are welded in the transverse direction.
  • the two tubes 10 are located at the upper end and approximately halfway up, but the square tube 11 near the lower end of the railing supports 9 is still above the platform 2.
  • the lower end of the railing supports 9 is U-shaped with a long and a short leg 12 and a yoke 13.
  • the long leg of the U forms the actual railing support 9.
  • the yoke 13 of the U runs parallel to the beams 5 below the platform 2.
  • the short leg 12 of the U is pivotable about an axis 14 and fastened to one of the supports 5 at a distance from its end on the railing side, which corresponds approximately to the length of the yoke 13.
  • the yoke 13 and the short leg 12 are approximately the same length and significantly shorter in the illustrated embodiment than the long leg of the U forming the railing support 9.
  • a U-shaped locking bracket 16 is held captive.
  • One leg 17 of the locking bracket 16 is held in the bore 15 by a compression spring 18 (see FIG. 3).
  • the other leg 19 of the locking bracket 16 is inserted with the guardrail 3 pivoted into a hole 20 in the rail-side end of the support 5 and passes through a hole 21 which is provided at a distance from the lower end of the railing support 9 so that the two holes 20, 21 cover 3 with the guardrail swung open.
  • the locking bracket 16 in FIG. 3 is pulled to the left in the direction of the arrow 22 until the leg 19 emerges from the bores 20, 21.
  • the guardrail 3 is then rotated about the axis 14 by 90 ° and folded onto the platform 2 of the work platform 1.
  • the leg 19 of the locking bracket 16 is inserted into the bores 23 now covered in the yoke 13 of the U of the railing support 9 and the bore 21 in the support 5, so that the protective railing 3 is locked in this transport position.
  • the distance between the bore 15 and the bore 21 corresponds to the distance between the bore 15 and the bore 23.
  • each railing support 9 is extended beyond the base point of the short leg 12 in the direction of the fastening side of the platform 2 of the work platform 1.
  • an inclined support 4 is pivotally attached to one of the railing supports 9.
  • a link 24 extends from each support 5 of the platform 2 to each inclined support 4.
  • the upper end of each link 24 is articulated on respective carrier 5 firmly near its attachment-side end.
  • the lower end of each link 24 is pivotally connected to the respective inclined support 4 approximately in the middle.
  • a trailer ring (not shown) is attached to each of the two railing supports 9 at about half to two thirds of the height of the protective railing 3.
  • the inclined supports 4 Due to the dimensions of the inclined supports 4 and the handlebars 24 and the arrangement of the pivot axes at the upper and lower ends of the handlebars 24 and the pivotable attachment of the inclined supports 4 to the railing supports 9, the inclined supports 4 are forced to move with the protective railing 3.
  • the leg 19 of the locking bracket 16 is pulled out of the bore 21, 23 against the action of the spring 18 and by attaching and lifting the work platform 1 on the guardrail 3 to a crane cable the guardrail 3 and thus at the same time the inclined supports 4 are pivoted into the working position in which they are locked in bores 20, 21 by inserting the leg 19 of the locking bracket 16.
  • the work platform 1 is now ready for use.
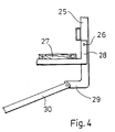
  • the railing support 25 shown in FIG. 4 differs from the aforementioned railing support 9 in that its pivot axis 26 is arranged in a projection 28 which projects beyond wooden planks 27.
  • the lower end of the railing support 25 has an approximately right-angled leg 29 below the work platform. The length of this leg 29 is equal to or greater than the thickness of the work platform, so that the pivot axis 26 arranged at its end for an inclined support 30 is also below the work platform when the railing support 25 about its pivot axis 26 in the transport position on the platform of the work platform worked. It is understood that in this embodiment, one of the corresponding locking devices shown in FIGS. 1 to 3 and described in the text must also be provided.

Landscapes

  • Engineering & Computer Science (AREA)
  • Architecture (AREA)
  • Mechanical Engineering (AREA)
  • Civil Engineering (AREA)
  • Structural Engineering (AREA)
  • Refuge Islands, Traffic Blockers, Or Guard Fence (AREA)
  • Bridges Or Land Bridges (AREA)
  • Forms Removed On Construction Sites Or Auxiliary Members Thereof (AREA)

Description

  • Die Erfindung geht aus von einer Arbeitsbühne zum Befestigen an einer Wand oder einer Schalung mit einer Plattform und einem auf die Plattform schwenkbaren Schutzgeländer.
  • Bei einer derartigen aus der US-A-1 755 116 bekannten Arbeitsbühne ragen Bühnenträger von der Plattform nach oben. Sie werden an ihrem oberen Ende an einer Wand oder Schalung befestigt und liegen auf ihrer gesamten Länge an der Wand oder Schalung an. Zum Transport und zum Stapeln der bekannten Arbeitsbühne sind deren Bühnenträger um eine Achse schwenkbar, die rechtwinklig zu der die beiden Bühnenträger enthaltenden Ebene und parallel zu der Bühnenebene verläuft, so daß sie in eine Stellung parallel zur Plattform der Arbeitsbühne geschwenkt werden können, in der sie nur eine geringe Transporthöhe benötigen.
  • Zum Abstützen der Arbeitsbühne sind Schrägstützen vorgesehen, die in eine an der Plattform anliegende Stellung beweglich sind, und das Schutzgeländer und die Schrägstützen sind gemeinsam bewegbar über eine die Bewegung übertragende Wirkverbindung miteinander verbunden.
  • Beim Aufbau der Arbeitsbühne durch Verschwenken des Schutzgeländers von einer auf der Plattform der Arbeitbühne aufliegenden Stellung in eine aufrechte Stellung werden auch die Schrägstützen von der an der Plattform der Arbeitsbühne anliegenden Stellung in eine schräge Abstützstellung bewegt.
  • Dies ermöglicht eine Wirkverbindung zwischen dem Schutzgeländer und den Schrägstützen.
  • Der Erfindung liegt die Aufgabe zugrunde, die Handhabung der Arbeitsbühne beim Auf- und Abbau zu vereinfachen.
  • Gemäß der Erfindung wird diese Aufgabe dadurch gelöst, daß das untere Ende der Geländerstützen des Schutzgeländers U-förmig ausgebildet ist, wobei der eine Schenkel des U die Geländerstütze bildet, der andere Schenkel des U, der wesentlich kürzer als der vorgenannte Schenkel ist, mit seinem freien Ende an der Plattform schwenkbar befestigt ist und das Joch des U mit einer Schrägstütze schwenkbar verbunden ist. Die U-förmige Ausbildung des unteren Endes der Geländerstützen hat den Vorteil, daß die Schwenkachse des Schutzgeländers an der Unterseite der Plattform vorgesehen werden kann. Trotzdem kann das Schutzgeländer zum Transport flach auf die Plattform geschwenkt werden.
  • Die Erfindung läßt sich durch Gelenk- oder Seilzüge, oder auch durch Zahnradgetriebe verwirklichen.
  • Bei einer Ausführungsform weist das Schutzgeländer der Arbeitsbühne Geländerstützen auf, die sich bis unter die Schwenkachse des Schutzgeländers erstrecken, wobei das untere Ende jeder Geländerstütze gelenkig mit einer Schrägstütze verbunden ist.
  • Zum beweglichen Verbinden der Schrägstützen mit der Arbeitsbühne sind bei einer Ausführungsform der Erfindung Lenker vorgesehen, deren eines Ende schwenkbar mit der Plattform und deren anderes Ende schwenkbar mit je einer Schrägstütze verbunden ist. Dieser Lenker kann unter der Arbeitsbühne zur Aufnahme von Abstützkräften, oder aber oberhalb der Arbeitsbühne zur Aufnahme von Zugkräften vorgesehen sein, wenn die Schrägstützen als Zugglieder oberhalb der Plattform der Arbeitsbühne vorgesehen sind und zum Einhängen der Arbeitsbühne dienen. In beiden Fällen zieht je ein Lenker je eine Schrägstütze in Anlage an die Plattform, wenn das Schutzgeländer auf die Plattform geschwenkt wird.
  • Die vorstehend beschriebene Ausführungsform der Arbeitsbühne kann so ausgebildet sein, daß die Plattform, eine Geländerstütze, eine Schrägstütze und ein Lenker die vier Glieder einer ebenen kinematischen Kette mit vier Gelenken bilden. Eine solche Wirkverbindung überträgt die Bewegung zwischen Schutzgeländer und Schrägstützen optimal. Durch die schwenkbare Verbindung des Schutzgeländers mit den Schrägstützen und deren bewegliche Verbindung über die Lenker mit der Plattform der Arbeitsbühne bewegen sich die Schrägstützen beim Verschwenken des Schutzgeländers in ihre jeweils vorgesehene Stellung.
  • Bei einer Ausführungsform der Erfindung ist mindestens eine Verriegelungseinrichtung vorgesehen, die eine Bewegung des Schutzgeländers und der Schrägstützen sowohl in auf- als auch in abgebautem Zustand der Arbeitsbühne verhindert. Diese Verriegelungseinrichtung kann unverlierbar mit der Arbeitsbühne verbunden sein. Sie kann so vorgesehen sein, daß sie immer an der gleichen Stelle der Arbeitsbühne verbleibt, und nicht von einer Stelle an eine andere Stelle versetzt werden muß, wenn die Arbeitsbühne auf- oder abgebaut wird. Bei einer Weiterbildung dieser Ausführungsform weist die Verriegelungseinrichtung einen U-förmigen Verriegelungsbügel auf. Dies erlaubt einen einfachen und bedienungsfreundlichen Aufbau dieser Verriegelung.
  • Zum Anhängen der Arbeitsbühne, beispielsweise an einen Kran, weist das Schutzgeländer einer bevorzugten Ausführungsform der Arbeitsbühne eine Anhängevorrichtung auf. Die Anhängevorrichtung ist günstigerweise an zwei Geländerstützen in etwa halber bis zwei Drittel der Höhe des Schutzgeländers vorgesehen. Die Arbeitsbühne kann an dieser Anhängevorrichtung sowohl in aufals auch in abgebautem Zustand angehängt werden. Außerdem kann die Arbeitsbühne, wenn sie entriegelt ist, durch Anheben an der Aufhängevorrichtung auseinandergefaltet und damit aufgebaut werden.
  • Wenn die Schrägstützen als Zugglieder oberhalb der Plattform der Arbeitsbühne vorgesehen sind, können sie zum Einhängen am oberen Rand einer Schalung ausgebildet sein. Die Plattform der Arbeitsbühne hängt dann an den Schrägstützen und an den Lenkern, die die als Zugglieder ausgebildeten Schrägstützen mit der Plattform der Arbeitsbühne verbinden. Die Plattform befindet sich unterhalb des oberen Randes der Schalung, wodurch auf der Arbeitsbühne stehende Arbeiter aufrecht stehend arbeiten können.
  • Diese und weitere Merkmale und Vorteile der Erfindung ergeben sich aus der folgenden Beschreibung von Ausführungsformen der Erfindung und der Zeichnung. Die der Beschreibung, der Zeichnung und den Ansprüchen entnehmbaren Merkmale können je einzeln für sich oder zu mehreren bei einer Ausführungsform der Erfindung verwirklicht sein.
  • In der Zeichnung sind zwei Ausführungsformen der Erfindung dargestellt. Es zeigen:
  • Fig. 1
    die Seitenansicht einer aufgebauten Arbeitsbühne;
    Fig. 2
    die Seitenansicht der eingeklappten Arbeitsbühne aus Fig. 1;
    Fig. 3
    die Ansicht der Verriegelungseinrichtung gemäß Pfeil III in Fig. 1; und
    Fig. 4
    eine weitere Ausführungsform einer Geländerstütze.
  • Die in den Fig. 1 gezeigte Arbeitsbühne 1 besteht aus einer Plattform 2, einem Schutzgeländer 3 und Schrägstützen 4. Die Plattform 2 weist zwei Träger 5 aus je zwei Winkelprofilstangen (vgl. Fig. 3) auf, auf die quer dazu Holzbohlen 6 aufgeschraubt sind, die die begehbare Arbeitsfläche der Arbeitsbühne 1 bilden. An einem Ende der beiden Träger 5, also an einer Seite der Plattform 2, sind Befestigungsmittel 7 zum Befestigen der Arbeitsbühne 1 an einer Wand oder einer Schalung vorgesehen. Diese Seite wird im Folgenden Befestigungsseite genannt.
  • Am anderen Ende der beiden Träger 5, auf der Geländerseite der Plattform 2, ist das Schutzgeländer 3 schwenkbar befestigt. Das Schutzgeländer 3 weist zwei Geländerstützen 9 auf, an denen in Querrichtung zwei Rohre 10 und ein Vierkantrohr 11 angeschweißt sind. Die beiden Rohre 10 befinden sich am oberen Ende und etwa in halber Höhe, das Vierkantrohr 11 nahe dem unteren Ende der Geländerstützen 9 aber noch oberhalb der Plattform 2.
  • Das untere Ende der Geländerstützen 9 ist U-förmig ausgebildet mit einem langen und einem kurzen Schenkel 12 und einem Joch 13. Der lange Schenkel des U bildet die eigentliche Geländerstütze 9. In Arbeitsstellung des Schutzgeländers 3 verläuft das Joch 13 des U parallel zu den Trägern 5 unterhalb der Plattform 2. Der kurze Schenkel 12 des U ist um eine Achse 14 schwenkbar an einem der Träger 5 befestigt mit einem Abstand von dessen geländerseitigem Ende, der etwa der Länge des Jochs 13 entspricht. Das Joch 13 und der kurze Schenkel 12 sind bei der dargestellten Ausführungsform ungefähr gleich lang und wesentlich kürzer als der die Geländerstütze 9 bildende lange Schenkel des U.
  • Durch eine Bohrung 15 am unteren Ende des langen, die Geländerstütze 9 bildenden Schenkels des U, wo dieser in das Joch 13 übergeht, ist ein ebenfalls U-förmiger Verriegelungsbügel 16 unverlierbar gesteckt gehalten. Der eine Schenkel 17 des Verriegelungsbügels 16 ist durch eine Druckfeder 18 in der Bohrung 15 gehalten (vgl. Fig. 3).
  • Der andere Schenkel 19 des Verriegelungsbügels 16 wird bei aufgeschwenktem Schutzgeländer 3 in eine Bohrung 20 im geländerseitigen Ende des Trägers 5 eingesteckt und durchsetzt eine Bohrung 21, die im Abstand von dem unteren Ende der Geländerstütze 9 so vorgesehen ist, daß sich die beiden Bohrungen 20, 21 bei aufgeschwenktem Schutzgeländer 3 decken.
  • Soll das Schutzgeländer 3 auf die Arbeitsbühne 1 heruntergeklappt werden, so wird der Verriegelungsbügel 16 in Fig. 3 nach links in Richtung des Pfeils 22 gezogen, bis der Schenkel 19 aus den Bohrungen 20, 21 heraustritt. Hierauf wird das Schutzgeländer 3 um die Achse 14 um 90° gedreht und auf die Plattform 2 der Arbeitsbühne 1 geklappt. In dieser Stellung wird der Schenkel 19 des Verriegelungsbügels 16 in die jetzt zur Deckung gekommenen Bohrungen 23 im Joch 13 des U der Geländerstütze 9 und die Bohrung 21 im Träger 5 gesteckt, so daß das Schutzgeländer 3 in dieser Transportstellung verriegelt ist. Der Abstand der Bohrung 15 von der Bohrung 21 entspricht dem Abstand der Bohrung 15 von der Bohrung 23.
  • Das Joch 13 des U-förmigen Endes jeder Geländerstütze 9 ist über den Fußpunkt des kurzen Schenkels 12 in Richtung der Befestigungsseite der Plattform 2 der Arbeitsbühne 1 verlängert. An dieser Stelle ist jeweils eine Schrägstütze 4 schwenkbar an jeweils einer der Geländerstützen 9 befestigt. Ein Lenker 24 verläuft von jedem Träger 5 der Plattform 2 zu jeder Schrägstütze 4. Das obere Ende jedes Lenkers 24 ist gelenkig am jeweiligen Träger 5 fest nahe dessen befestigungsseitigem Ende. Das untere Ende jedes Lenkers 24 ist schwenkbar mit der jeweiligen Schrägstütze 4 etwa in deren Mitte verbunden.
  • Als Anhängevorrichtung ist an jeder der beiden Geländerstützen 9 etwa in halber bis zwei Drittel der Höhe des Schutzgeländers 3 ein (nicht dargestellter) Anhängering angebracht.
  • Durch die Abmessungen der Schrägstützen 4 und der Lenker 24 sowie die Anordnung der Schwenkachsen am oberen und unteren Ende der Lenker 24 und der schwenkbaren Befestigung der Schräg-stützen 4 an den Geländerstützen 9 bewegen sich die Schräg-stützen 4 zwangsweise mit dem Schutzgeländer 3.
  • Wird das Schutzgeländer 3 in seinen beiden Schwenkstellungen durch die Verriegelungsbügel 16 verriegelt, sind auch die mit den Geländerstützen 9 schwenkbar verbundenen Schrägstützen 4 verriegelt.
  • Zum Anbringen der Arbeitsbühne 1 an einer Wand aus der in Fig. 2 dargestellten Transportstellung wird der Schenkel 19 des Verriegelungsbügels 16 entgegen der Wirkung der Feder 18 aus der Bohrung 21, 23 herausgezogen und durch Anhängen und Anheben der Arbeitsbühne 1 am Schutzgeländer 3 an ein Kranseil das Schutzgeländer 3 und damit gleichzeitig auch die Schrägstützen 4 in Arbeitsstellung geschwenkt, in der sie durch Einstecken des Schenkels 19 des Verriegelungsbügels 16 in Bohrungen 20, 21 verriegelt werden.
  • Die Arbeitsbühne 1 ist damit einsatzbereit.
  • Die in Fig. 4 dargestellte Geländerstütze 25 unterscheidet sich von der vorgenannten Geländerstütze 9 dadurch, daß ihre Schwenkachse 26 in einem über Holzbohlen 27 hinausragenden Vorsprung 28 angeordnet ist. Das untere Ende der Geländerstütze 25 weist unterhalb der Arbeitsbühne einen etwa rechtwinklig abgebogenen Schenkel 29 auf. Die Länge dieses Schenkels 29 ist gleich oder größer als die Dicke der Arbeitsbühne, so daß die an seinem Ende angeordnete Schwenkachse 26 für eine Schrägstütze 30 auch unterhalb der Arbeitsbühne liegt, wenn die Geländerstütze 25 um ihre Schwenkachse 26 in Transportstellung auf den die Plattform der Arbeitsbühne geklappt ist. Es versteht sich, daß bei dieser Ausführungsform ebenfalls eine der in Fig. 1 bis 3 dargestellten und im Text beschriebenen entsprechende Verriegelungsvorrichtung vorzusehen ist.

Claims (9)

  1. Arbeitsbühne zum Befestigen an einer Wand oder einer Schalung mit einer Plattform und einem auf die Plattform schwenkbaren Schutzgeländer, wobei zum Abstützen der Arbeitsbühne (1) vorgesehene Schrägstützen (4;30) in eine an der Plattform (2) anliegende Stellung beweglich sind, und wobei das Schutzgeländer (3) und die Schrägstützen (4;30) gemeinsam bewegbar über eine die Bewegung übertragende Wirkverbindung miteinander verbunden sind dadurch gekennzeichnet, daß das untere Ende der Geländerstützen (9) des Schutzgeländers (3) U-förmig ausgebildet ist, wobei der eine Schenkel des U die Geländerstütze (9) bildet und der andere Schenkel des U kürzer als der vorgenannte Schenkel ist und mit seinem freien Ende an der Plattform (2) schwenkbar befestigt ist und daß das Joch (13) des U mit einer Schrägstütze (4) schwenkbar verbunden ist.
  2. Arbeitsbühne nach Anspruch 1, dadurch gekennzeichnet, daß sich Geländerstützen (9;25) des Schutzgeländers (3) bis unter eine Schwenkachse (14;26) des Schutzgeländers (3) erstrecken und daß das untere Ende jeder Geländerstütze (9;25) gelenkig mit je einer Schrägstütze (4;30) verbunden ist.
  3. Arbeitsbühne nach einem der Ansprüche 1 bis 2, dadurch gekennzeichnet, daß das eine Ende je eines Lenkers (24) schwenkbar mit der Plattform (2) und sein anderes Ende schwenkbar mit je einer der Schrägstützen (4) verbunden ist.
  4. Arbeitsbühne nach Anspruch 3, dadurch gekennzeichnet, daß der Lenker (24) die Schrägstütze (4) an der Plattform (2) abstützt und sie beim Schwenken des Schutzgeländers (3) auf die Plattform (2) in Anlage an die Plattform (2) zieht.
  5. Arbeitsbühne nach einem der vorhergehenden Ansprüche, dadurch gekennzeichnet, daß die Plattform (2), eine Geländerstütze (9), eine Schrägstütze (4) und ein Lenker (24) die vier Glieder einer ebenen kinematischen Kette mit vier Gelenken bilden.
  6. Arbeitsbühne nach einem der vorhergehenden Ansprüche, dadurch gekennzeichnet, daß mindestens eine Verriegelungseinrichtung vorgesehen ist, die zumindest in Arbeitsstellung eine Bewegung des Schutzgeländers (3) und der Schrägstütze (4) verhindert.
  7. Arbeitsbühne nach Anspruch 6, dadurch gekennzeichnet, daß die Verriegelungseinrichtung einen U-förmigen Verriegelungsbügel (16) aufweist.
  8. Arbeitsbühne nach einem der vorhergehenden Ansprüche, dadurch gekennzeichnet, daß das Schutzgeländer (3) eine Aufhängevorrichtung aufweist.
  9. Arbeitsbühne nach einem der Ansprüche 1, 3, 4, 5, 6, 7 oder 8, dadurch gekennzeichnet, daß die Schrägstützen (4) als oberhalb der Arbeitsbühne (1) angeordnete Zugglieder vorgesehen sind, mit denen die Arbeitsbühne (1) an eine Wand oder eine Schalung anhängbar ist.
EP92107430A 1991-05-03 1992-04-30 Arbeitsbühne für Wände oder Schalungen Expired - Lifetime EP0512428B1 (de)

Applications Claiming Priority (2)

Application Number Priority Date Filing Date Title
DE4114531 1991-05-03
DE4114531A DE4114531C2 (de) 1991-05-03 1991-05-03 Arbeitsbühne für Wände oder Schalungen

Publications (2)

Publication Number Publication Date
EP0512428A1 EP0512428A1 (de) 1992-11-11
EP0512428B1 true EP0512428B1 (de) 1994-12-07

Family

ID=6430944

Family Applications (1)

Application Number Title Priority Date Filing Date
EP92107430A Expired - Lifetime EP0512428B1 (de) 1991-05-03 1992-04-30 Arbeitsbühne für Wände oder Schalungen

Country Status (3)

Country Link
EP (1) EP0512428B1 (de)
AT (1) ATE115228T1 (de)
DE (2) DE4114531C2 (de)

Families Citing this family (9)

* Cited by examiner, † Cited by third party
Publication number Priority date Publication date Assignee Title
DE4321824A1 (de) * 1993-07-01 1995-01-19 Peri Gmbh Faltbare Gerüstbühne
ES2126450B1 (es) * 1995-08-09 1999-10-16 Manuel Brito Plataforma de circulacion, trabajo y proteccion de personas en huecos de fachadas.
DE19636550C2 (de) * 1996-09-09 1998-09-17 Doka Ind Gmbh Bühnenbelag für Konsolbühnen oder Überbrückungsbühnen sowie Verfahren zur Montage einer Konsolbühne
GB2378209A (en) * 2001-07-24 2003-02-05 Scaffolding Limited Qed Scaffolding bracket
ES2288438B1 (es) * 2007-05-08 2008-09-16 Sistemas Tecnicos De Encofrados, S.A. "estructura de soporte para encofrado de muros".
FR2934627B1 (fr) * 2008-07-29 2010-08-13 Paul Marie Bernard Dispositif de positionnement et de calage d'un garde corps escamotable sur plateforme support de banches
FR3004480B1 (fr) * 2013-04-12 2016-11-18 Sateco Sa Structure pliable de travail en encorbellement integrant un dispositif d'aide au depliage d'un auvent
DK3034870T3 (da) * 2014-12-15 2022-09-05 Nordex Energy Spain S A Vindmølle med betontårn og fremgangsmåde til montage af vindmølle med betontårn
CN115288411B (zh) * 2022-08-22 2024-03-29 湖南正鑫科技发展有限公司 一种附着式升降脚手架用附着支座

Family Cites Families (4)

* Cited by examiner, † Cited by third party
Publication number Priority date Publication date Assignee Title
US1755116A (en) * 1928-04-07 1930-04-15 Alonzo P Henderson Folding staging bracket
US2839233A (en) * 1956-06-22 1958-06-17 Roxton C Mckinnie Step ladder
DE2203893C3 (de) * 1972-01-28 1980-11-27 Josef 7611 Steinach Maier Konsole zur Befestigung einer Arbeitsbühne o.dgl. an einer Schalung
DE3572851D1 (en) * 1985-12-19 1989-10-12 Daforib Sarl Foldable console for safety devices and safety devices comprising such a console

Also Published As

Publication number Publication date
DE4114531A1 (de) 1992-11-12
DE59200891D1 (de) 1995-01-19
ATE115228T1 (de) 1994-12-15
DE4114531C2 (de) 1994-11-24
EP0512428A1 (de) 1992-11-11

Similar Documents

Publication Publication Date Title
DE1933573B2 (de) Vorrichtung zum Richten von Karosserien oder Rahmen von Fahrzeugen
DE19806094A1 (de) Anordnung von Tragstruktur-Elementen eines Raumtragwerkes
EP0512428B1 (de) Arbeitsbühne für Wände oder Schalungen
DE3049971C2 (de)
DE19806093B4 (de) Tragstruktur-Element-Anordnung eines Raumtragwerkes
EP0632171A1 (de) Faltbare Gerüstbühne
DE3305342A1 (de) Begehbares geruestelement
AT396278B (de) Stuetzvorrichtung
DE3922722C2 (de)
DE3152360C2 (de)
DE2949403A1 (de) Geruest und zugehoeriges querelement
DE69107935T2 (de) Gerüststrukturen.
DE102021211507A1 (de) Stiel
EP4276259A1 (de) Stirnabschluss für ein vorlaufendes geländer und verfahren zur montage eines stirnabschlusses eines vorlaufenden geländers, gerüst umfassend einen stirnabschluss
EP0317695B1 (de) Metallstandgerüst für Bauwerke
EP0659955B1 (de) Arbeitsbühne, vorzugsweise Gerüst zur Einrüstung von Fassaden o.dgl.
DE3624011A1 (de) Vorrichtung zum anbringen einer schutzeinrichtung an einer hochgelegenen stelle eines gebaeudes
DE2063219A1 (de) Verfahren zum Aufhangen von Arbeits buhnen an Bauwerken und hangende Arbeits buhne
DE3221799A1 (de) Haltebock zum aufstellen von baustuetzen
DE3609498A1 (de) Betonschalung
DE20303960U1 (de) Geländereinrichtung für den zeitweiligen Seitenschutz eines Baugerüstes
DE29615172U1 (de) Auf einer geneigten Dachfläche befestigbarer Dachständer
CH705280B1 (de) Abschalplattenträger für eine Konsole.
DE3141896A1 (de) Unterstuetzungsvorrichtung fuer eine im bauwesen zum vertikalen abstuetzen einer deckenschalung zu wendende stuetze
DE2145021B2 (de) Dachbindereinheit für Winterbauhallen

Legal Events

Date Code Title Description
PUAI Public reference made under article 153(3) epc to a published international application that has entered the european phase

Free format text: ORIGINAL CODE: 0009012

17P Request for examination filed

Effective date: 19920905

AK Designated contracting states

Kind code of ref document: A1

Designated state(s): AT DE ES GB IT

17Q First examination report despatched

Effective date: 19940427

GRAA (expected) grant

Free format text: ORIGINAL CODE: 0009210

AK Designated contracting states

Kind code of ref document: B1

Designated state(s): AT DE ES GB IT

PG25 Lapsed in a contracting state [announced via postgrant information from national office to epo]

Ref country code: IT

Free format text: LAPSE BECAUSE OF FAILURE TO SUBMIT A TRANSLATION OF THE DESCRIPTION OR TO PAY THE FEE WITHIN THE PRE;WARNING: LAPSES OF ITALIAN PATENTS WITH EFFECTIVE DATE BEFORE 2007 MAY HAVE OCCURRED AT ANY TIME BEFORE 2007. THE CORRECT EFFECTIVE DATE MAY BE DIFFERENT FROM THE ONE RECORDED.SCRIBED TIME-LIMIT

Effective date: 19941207

Ref country code: GB

Effective date: 19941207

Ref country code: ES

Free format text: THE PATENT HAS BEEN ANNULLED BY A DECISION OF A NATIONAL AUTHORITY

Effective date: 19941207

REF Corresponds to:

Ref document number: 115228

Country of ref document: AT

Date of ref document: 19941215

Kind code of ref document: T

REF Corresponds to:

Ref document number: 59200891

Country of ref document: DE

Date of ref document: 19950119

GBV Gb: ep patent (uk) treated as always having been void in accordance with gb section 77(7)/1977 [no translation filed]

Effective date: 19941207

PLBE No opposition filed within time limit

Free format text: ORIGINAL CODE: 0009261

STAA Information on the status of an ep patent application or granted ep patent

Free format text: STATUS: NO OPPOSITION FILED WITHIN TIME LIMIT

26N No opposition filed
PGFP Annual fee paid to national office [announced via postgrant information from national office to epo]

Ref country code: DE

Payment date: 20030425

Year of fee payment: 12

PGFP Annual fee paid to national office [announced via postgrant information from national office to epo]

Ref country code: AT

Payment date: 20030428

Year of fee payment: 12

PG25 Lapsed in a contracting state [announced via postgrant information from national office to epo]

Ref country code: AT

Free format text: LAPSE BECAUSE OF NON-PAYMENT OF DUE FEES

Effective date: 20040430

PG25 Lapsed in a contracting state [announced via postgrant information from national office to epo]

Ref country code: DE

Free format text: LAPSE BECAUSE OF NON-PAYMENT OF DUE FEES

Effective date: 20041103