EP0403791A2 - Kraftstoffeinspritzpumpe für Brennkraftmaschinen - Google Patents

Kraftstoffeinspritzpumpe für Brennkraftmaschinen Download PDF

Info

Publication number
EP0403791A2
EP0403791A2 EP19900109181 EP90109181A EP0403791A2 EP 0403791 A2 EP0403791 A2 EP 0403791A2 EP 19900109181 EP19900109181 EP 19900109181 EP 90109181 A EP90109181 A EP 90109181A EP 0403791 A2 EP0403791 A2 EP 0403791A2
Authority
EP
European Patent Office
Prior art keywords
fuel injection
injection pump
pin
pump according
cam
Prior art date
Legal status (The legal status is an assumption and is not a legal conclusion. Google has not performed a legal analysis and makes no representation as to the accuracy of the status listed.)
Granted
Application number
EP19900109181
Other languages
English (en)
French (fr)
Other versions
EP0403791A3 (de
EP0403791B1 (de
Inventor
Peter Dipl.-Ing.(Fh) Knorreck
Current Assignee (The listed assignees may be inaccurate. Google has not performed a legal analysis and makes no representation or warranty as to the accuracy of the list.)
Robert Bosch GmbH
Original Assignee
Robert Bosch GmbH
Priority date (The priority date is an assumption and is not a legal conclusion. Google has not performed a legal analysis and makes no representation as to the accuracy of the date listed.)
Filing date
Publication date
Application filed by Robert Bosch GmbH filed Critical Robert Bosch GmbH
Publication of EP0403791A2 publication Critical patent/EP0403791A2/de
Publication of EP0403791A3 publication Critical patent/EP0403791A3/de
Application granted granted Critical
Publication of EP0403791B1 publication Critical patent/EP0403791B1/de
Anticipated expiration legal-status Critical
Expired - Lifetime legal-status Critical Current

Links

Images

Classifications

    • FMECHANICAL ENGINEERING; LIGHTING; HEATING; WEAPONS; BLASTING
    • F02COMBUSTION ENGINES; HOT-GAS OR COMBUSTION-PRODUCT ENGINE PLANTS
    • F02DCONTROLLING COMBUSTION ENGINES
    • F02D1/00Controlling fuel-injection pumps, e.g. of high pressure injection type
    • F02D1/02Controlling fuel-injection pumps, e.g. of high pressure injection type not restricted to adjustment of injection timing, e.g. varying amount of fuel delivered
    • F02D1/08Transmission of control impulse to pump control, e.g. with power drive or power assistance
    • F02D1/12Transmission of control impulse to pump control, e.g. with power drive or power assistance non-mechanical, e.g. hydraulic
    • F02D1/122Transmission of control impulse to pump control, e.g. with power drive or power assistance non-mechanical, e.g. hydraulic control impulse depending only on engine speed
    • F02D1/127Transmission of control impulse to pump control, e.g. with power drive or power assistance non-mechanical, e.g. hydraulic control impulse depending only on engine speed using the pressure developed in a pump
    • FMECHANICAL ENGINEERING; LIGHTING; HEATING; WEAPONS; BLASTING
    • F02COMBUSTION ENGINES; HOT-GAS OR COMBUSTION-PRODUCT ENGINE PLANTS
    • F02MSUPPLYING COMBUSTION ENGINES IN GENERAL WITH COMBUSTIBLE MIXTURES OR CONSTITUENTS THEREOF
    • F02M41/00Fuel-injection apparatus with two or more injectors fed from a common pressure-source sequentially by means of a distributor
    • F02M41/08Fuel-injection apparatus with two or more injectors fed from a common pressure-source sequentially by means of a distributor the distributor and pumping elements being combined
    • F02M41/10Fuel-injection apparatus with two or more injectors fed from a common pressure-source sequentially by means of a distributor the distributor and pumping elements being combined pump pistons acting as the distributor
    • F02M41/12Fuel-injection apparatus with two or more injectors fed from a common pressure-source sequentially by means of a distributor the distributor and pumping elements being combined pump pistons acting as the distributor the pistons rotating to act as the distributor
    • F02M41/123Fuel-injection apparatus with two or more injectors fed from a common pressure-source sequentially by means of a distributor the distributor and pumping elements being combined pump pistons acting as the distributor the pistons rotating to act as the distributor characterised by means for varying fuel delivery or injection timing
    • F02M41/125Variably-timed valves controlling fuel passages
    • F02M41/126Variably-timed valves controlling fuel passages valves being mechanically or electrically adjustable sleeves slidably mounted on rotary piston
    • FMECHANICAL ENGINEERING; LIGHTING; HEATING; WEAPONS; BLASTING
    • F02COMBUSTION ENGINES; HOT-GAS OR COMBUSTION-PRODUCT ENGINE PLANTS
    • F02MSUPPLYING COMBUSTION ENGINES IN GENERAL WITH COMBUSTIBLE MIXTURES OR CONSTITUENTS THEREOF
    • F02M59/00Pumps specially adapted for fuel-injection and not provided for in groups F02M39/00 -F02M57/00, e.g. rotary cylinder-block type of pumps
    • F02M59/44Details, components parts, or accessories not provided for in, or of interest apart from, the apparatus of groups F02M59/02 - F02M59/42; Pumps having transducers, e.g. to measure displacement of pump rack or piston
    • F02M59/447Details, components parts, or accessories not provided for in, or of interest apart from, the apparatus of groups F02M59/02 - F02M59/42; Pumps having transducers, e.g. to measure displacement of pump rack or piston means specially adapted to limit fuel delivery or to supply excess of fuel temporarily, e.g. for starting of the engine

Definitions

  • FIG. 1 shows a part of a fuel injection pump with a first exemplary embodiment
  • FIG. 2 shows the fuel injection pump from FIG. 1 as a section along line II-II in FIG. 1
  • FIG. 3 shows a first variant
  • FIG. 4 shows a second variant
  • FIG. 5 shows a third variant of the first Embodiment
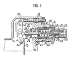
  • Figure 6 shows a second embodiment.
  • the carrying lever 16 is of two-armed design and its upper lever arm 16a bears against an adjusting screw 18 which serves as an adjusting device and which is screwed into the housing part 17.
  • the cam disc 14 is rotatably supported in the lower lever arm 16b of the carrying lever 16.
  • the carrying lever 16 is U-shaped transversely to the longitudinal pump axis 19 determined by the axis of the pump piston 9 and the cam disk 14 is arranged on a bearing pin 21 between the legs 22 of the carrying lever 16.
  • the carrying lever 16 is arranged on a shaft 23, the ends of which protrude into a blind bore 24 of two Allen screws 26 screwed into the housing part 17.
  • a 2-stage spring arrangement is realized by arranging a second spring 242a within the return spring 242, which spring is only effective after a certain stroke of the actuating piston 231.
  • the cam disc 214 is held in the system on the pin 227 by a return spring 220.
  • the stop 366 can be used to set a defined initial position of the actuating piston 331, which then no longer comes to rest on the bottom 329a of the cylinder 329, but with the disk 363 on the stop 366.
  • the defined initial position of the actuating piston 331 ensures that the The control lever 10 is located at a specific point on the cam sector 14a, from which the adjusting movement of the cam disk 14 begins.
  • the thread between the stop 366 and the threaded bore 364 in the threaded bolt 343 is designed as a clamping thread, so that the position of the stop 366 is secured.
  • the maximum stroke of the actuating piston 331 is first set by means of the stroke stop 334 in this variant. Then the leader tion of the return spring 342 at maximum stroke of the actuating piston 331 by means of the threaded bolt 343 and finally by means of the stop 366 the initial position of the actuating piston 331 is set.
  • the actuating piston 431 is arranged within a cylinder 429 formed in a sleeve 471 screwed into the housing part 417.
  • the end of the sleeves 471 protruding from the housing part 417 into the interior 51 is covered by a cover part 472 which is provided with a bore 428.
  • the end of the pin 427, which faces away from the interior 51, projects into the actuating piston 431.
  • a spring plate 475, on which the return spring 442 is supported, is axially fixed on the pin 427 in its end region lying within the adjusting piston 431.
  • the actuating piston 431 bears against the return spring 442 via the spring plate 475.
  • the space 480 on the side of the actuating piston 431 opposite the working space 448 is pressure-loaded via relief bores 481 and a return line (not shown) to the fuel tank 53.
  • the starting position of the actuating piston 431 is first set by turning the sleeve 471.
  • the preload of the return spring 442 is then set by means of the threaded bolt 476 and finally the maximum stroke of the actuating piston 431 is set by means of the bolt 482.

Landscapes

  • Engineering & Computer Science (AREA)
  • Chemical & Material Sciences (AREA)
  • Combustion & Propulsion (AREA)
  • Mechanical Engineering (AREA)
  • General Engineering & Computer Science (AREA)
  • Fuel-Injection Apparatus (AREA)
  • High-Pressure Fuel Injection Pump Control (AREA)

Abstract

Kraftstoffeinspritzpumpe für Brennkraftmaschinen, deren Mengenver­stellglied (10) eine Wegbegrenzung in Form eines verstellbaren, zweiarmigen Traghebels (16) aufweist, in dem eine Kurvenscheibe (14) drehbar gelagert ist, an deren Kurvensektor (14a) das Mengenver­stellglied (10) bei Vollast zur Anlage kommt. Die Drehstellung der Kurvenscheibe (14) wird über einen Stift (427) durch einen vom im Innenraum (51) der Kraftstoffeinspritzpumpe herrschenden Druck be­aufschlagt) in einem innerhalb einer Hülse (471) gebildeten, zum Stift (427) koaxialen Zylinder (429) entgegen der Kraft einer Rück­stellfeder (442) verschiebbaren Stellkolben (431) bestimmt. Die Hül­se (471) ist in einem den Innenraum (51) der Kraftstoffeinspritz­pumpe begrenzenden Gehäuseteil (417) eingeschraubt und die Rück­stellfeder (442) stützt sich einerseits an einem in der Hülse (471) verschraubten Gewindebolzen (477) ab, innerhalb dem ein Bolzen (482) verschraubt ist, an dem der Stellkolben (431) über den Stift (427) nach einem bestimmten Hub zur Anlage kommt) und andererseits an einem auf dem Stift (427) innerhalb des Stellkolbens (431) befestig­ten Federteller (475). Der Traghebel (16) ist über eine Einstell­schraube (18) verstellbar.

Description

    Stand der Technik
  • Die Erfindung geht aus von einer Kraftstoffeinspritzpumpe für Brenn­kraftmaschinen nach der Gattung des Anspruchs 1.
  • Eine solche Kraftstoffeinspritzpumpe ist bereits aus der EP-PS 0 191 930 bekannt. Diese Kraftstoffeinspritzpumpe weist einen Stellkolben auf, der auf seiner Mantelfläche mit einer Abtastkontur versehen ist und der in einer Zylinderbohrung entgegen der Kraft einer Rückstellfeder vom Druck im Saugraum der Kraftstoffeinspritz­pumpe beaufschlagt verschiebbar ist. Die Abtastkontur wird durch einen Stift abgetastet, dessen Verstellbewegung auf einen Winkelhe­bel übertragen wird, der einen Vollastanschlag für einen Reglerhebel der Kraftstoffeinspritzpumpe darstellt. Die Abtastkontur auf dem Stellkolben ist jedoch aufwendig in der Herstellung. Die Durchfüh­rung einer von der Stellung des Stellkolbens unabhängigen Grundein­stellung des Winkelhebels ist nicht möglich.
  • Vorteile der Erfindung
  • Die erfindungsgemäße Kraftstoffeinspritzpumpe mit den kennzeichnen­den Merkmalen des Anspruchs 1 hat demgegenüber den Vorteil, daß die Kurvenscheibe mit dem die Grenzstellung des Mengenverstellglieds als Lastbegrenzungsanschlag, vorzugsweise Vollastanschlag, bestimmenden Kurvensektor in einfacher Weise, beispielsweise durch Stanzen, her­stellbar ist.
  • In den Unteransprüchen sind vorteilhafte Ausgestaltungen und Weiter­bildungen der Erfindung gekennzeichnet. Eine von der Stellung des Stellkolbens unabhängige Grundeinstellung des Traghebels ist bei der Ausgestaltung nach Anspruch 2 ermöglicht. Eine gute Zugänglichkeit, insbesondere für eine automatische Einstellung, ist mit Anspruch 3 gegeben. Durch die Ausgestaltung nach Anspruch 5 ist eine sichere Anlage der Kurvenscheibe am Stift gewährleistet. Durch eine Ausge­staltung der Kurvenscheibe gemäß Anspruch 7 kann auf einen definier­ten Hubanschlag für den Stellkolben verzichtet werden. Eine Einstel­lung einer definierten Ausgangsstellung des Stellkolbens im Zylinder ist durch die Weiterbildung nach Anspruch 9 oder nach Anspruch 18
  • Zeichnung
  • Zwei Ausführungsbeispiele der Erfindung sind in der Zeichnung anhand der Figuren dargestellt und in der nachfolgenden Beschreibung näher erläutert. Es zeigen Figur 1 einen Teil einer Kraftstoffeinspritz­pumpe mit einem ersten Ausführungsbeispiel, Figur 2 die Kraftstoff­einspritzpumpe von Figur 1 als Schnitt entlang Linie II-II in Figur 1, Figur 3 eine erste Variante, Figur 4 eine zweite Variante, Figur 5 eine dritte Variante des ersten Ausführungsbeispiels und Figur 6 ein zweites Ausführungsbeispiel.
  • Beschreibung der Ausführungsbeispiele
  • In Figur 1 ist ein Teil einer Kraftstoffeinspritzpumpe dargestellt, die beispielsweise eine Verteilerkraftstoffeinspritzpumpe sein kann. Diese weist in bekannter Weise in einem mit unter drehzahlabhängig gesteuertem Druck stehendem Kraftstoff gefüllten, in einem Gehäuse der Kraftstoffeinspritzpumpe eingeschlossenen Innenraum 51 einen Reglerhebel 10 auf, der durch einen Drehzahlregler 11 entgegen der Kraft einer Regelfeder 12 verstellbar ist und dabei ein Mengenver­stellorgan 13 der Kraftstoffeinspritzpumpe, z. B. in Form eines ver­schiebbaren Ringschiebers auf einem Pumpenkolben 9, der hin- und hergehend und zugleich rotierend angetrieben wird, betätigt. Der Reglerhebel 10 liegt bei Vollaststellung an einer Kurvenscheibe 14 an, die in einem verstellbaren Traghebel 16 gelagert ist, der in einem Gehäuseteil 17 des Gehäuses der Kraftstoffeinspritzpumpe dreh­bar gelagert ist. Der Traghebel 16 ist zweiarmig ausgebildet und liegt mit seinem oberen Hebelarm 16a an einer als Einstellvorrich­tung dienenden Einstellschraube 18 an, die im Gehäuseteil 17 ver­schraubt ist. Die Kurvenscheibe 14 ist im unteren Hebelarm 16b des Traghebels 16 drehbar gelagert. Der Traghebel 16 ist, wie in Figur 2 dargestellt, quer zur durch die Achse des Pumpenkolbens 9 bestimmten Pumpenlangsachse 19 U-förmig ausgebildet und die Kurvenscheibe 14 ist auf einem Lagerbolzen 21 zwischen den Schenkeln 22 des Traghe­bels 16 angeordnet. Der Traghebel 16 ist auf einer Welle 23 angeord­net, die mit ihren Enden in je eine Sackbohrung 24 zweier im Gehäu­seteil 17 verschraubter Innenseckskantschrauben 26 hineinragt.
  • Die Kurvenscheibe 14 ist zweiarmig ausgebildet und in ihrem unteren Arm, in dem der Reglerhebel 10 anliegt, mit einem Kurvensektor l4a versehen und weist an ihrem oberen Arm eine Anschlagnase 14b auf, über die sie an einem Stift 27 anliegt. Der Stift 27 ragt durch eine Bohrung 28 in dem den Innenraum 51 begrenzenden Gehäuseteil 17 in einen sich parallel zur Pumpenlängsachse 19, koaxial zum Stift 27 sich anschließenden Zylinder 29 im Gehäuseteil 17 hinein. Im Zylin­der 29 ist ein Stellkolben 31 dicht geführt. Der Stift 27 ist mit dem Stellkolben 31 fest verbunden und kann (hier nicht darge­stellt) auch auf dem Stellkolben 31 einteilig ausgeführt sein. Im äußeren Abschnitt der Zylinderbohrung 29 ist beim ersten Ausfüh­rungsbeispiel ein mit einer axialen Gewindebohrung 33 versehener, topfförmig ausgebildeter Hubanschlag 34 für den Stellkolben 31 ein­geschraubt, der mit der offenen Seite zum Zylinder 29 weist. Der Hubanschlag 34 ist mittels eines zwischen seiner äußeren Wandfläche und einer Ringnut 36 im Zylinder 29 eingespannten Dichtrings 37 ab­gedichtet und am Gehäuseteil 17 mittels einer Kontermutter 38 fest­gelegt. Der Stellkolben 31 ist hohl ausgeführt und zwischen dem 80­den 39 des Stellkolbens 31 und einem im Inneren des topfförmigen Hubanschlags 34 geführten Teller 41 ist eine Rückstellfeder 42 ein­gespannt. Die Rückstellfeder 42 stützt sich über den Teller 41 an einem in der Gewindebohrung 33 des Hubanschlags 34 verschraubten Ge­windebolzen 43 ab, der mittels einer Kontermutter 44 am Hubanschlag 34 festgelegt ist. Der Teller 41 ist mit einer Ringnut 46 versehen, zwischen der und dem Hubanschlag 34 ein Dichtring 47 eingespannt ist.
  • Der Stellkolben 31 begrenzt auf der der Rückstellfeder 42 abgewand­ten Seite im Zylinder 29 einen Arbeitsraum 48. Der Arbeitsraum 48 ist über einen zwischen der Bohrung 28 und dem Stift 27 vorhandenen Ringspalt 49 mit dem mit Kraftstoff gefüllten Innenraum 51 der Kraftstoffeinspritzpumpe verbunden. Der Druck des Kraftstoffs im Innenraum 51 wird drehzahlabhängig gesteuert. Der Innenraum 51 wird über eine Kraftstoffpumpe 52 mit Kraftstoff versorgt, die aus einem Kraftstoffvorratsbehälter 53 Kraftstoff ansaugt und deren Förder­seite über ein Drucksteuerventil 54 entlastbar ist.
  • Der Reglerhebel 10 liegt am Kurvensektor 14a exzentrisch zum Lager­bolzen 21 der Kurvenscheibe 14 an, so daß die Kurvenscheibe 14 über den Reglerhebel 10 mit ihrer Anschlagnase 14b in Anlage am Stift 27 gehalten wird.
  • Der Stellkolben 31 bewegt sich ab einem von der Vorspannung der Rückstellfeder 42 abhängigen Druck im Innenraum 51 aus seiner Aus­gangsstellung, in der er sich in Anlage an der innenraumseitigen Stirnwand des Zylinders 29 befindet, gegen die Kraft der Rückstell­feder 42 in Zylinder 29, wobei der Stift 27 die Kurvenscheibe 14 an der Anschlagnase 14b begrenzt. Bei einer Verstellbewegung des Stell­kolbens 31 wird der Reglerhebel 10 entsprechend der Ausbildung des Kurvensektors 14a verstellt. Der maximale Hub des Stellkolbens 31 wird durch den Hubanschlag 34 begrenzt. Eine Verstellung des Huban­schlags 34 ist nach Lösen der Kontermutter 38 möglich, jedoch muß nach einer Verstellung des Hubanschlags 34 die Vorspannung der Rück­stellfeder 42 neu eingestellt werden, was nach Lösen der Konter­mutter 44 durch Verdrehen des Gewindebolzens 43 möglich ist. Der Kurvensektor 14a kann in seinem Verlauf einer gewünschten Verstell­bewegung des Reglerhebels 10 in Abhängigkeit vom Druck im Innenraum 51 angepaßt werden. Auf einen definierten Hubanschlag kann ganz ver­zichtet werden, wenn der Kurvensektor 14a so ausgeführt ist, daß ab einem bestimmten Drehwinkel der Kurvenscheibe 14 keine Verstellung des Reglerhebels 10 mehr erfolgt, die Steigung in diesem Bereich des Kurvensektors 14a, bezogen auf die Lagerung der Kurvenscheibe 14, also Null ist. Bei einer in Figur 3 dargestellten Variante ist der Hubanschlag 134 nicht im Zylinder 129 verschraubt, sondern in diesen eingeschoben und durch eine radial zum Zylinder 129 im Gehäuseteil 117 verschraubte Klemmschraube 156 im Zylinder 129 gehalten.
  • In Figur 4 ist eine zweite Variante des ersten Ausführungsbeispiels dargestellt, bei der zur Begrenzung des maximalen Hubs des Stell­kolbens 231 ein radial zum Zylinder 229 ins Gehäuseteil 217 einge­setzter Bolzen 257 dient, an dessen in den Zylinder 229 ragendem Stirnende exzentrisch ein Zapfen 258 angeformt ist, an dem der Stellkolben 231 anschlägt. Die Sicherung der Drehstellung des Bol­zens 257 erfolgt durch eine Scheibe 259, die mit dem Bolzen 257 starr verbunden ist und in eine Nut 261 im Gehäuseteil 217 verstemmt ist. Eine Verstellung des Bolzens 257 und damit des maximalen Hubs des Stellkolbens 231 ist bei dieser Variante möglich, ohne daß gleichzeitig die Vorspannung der Rückstellfeder 242 mit verändert wird. Bei dieser Variante ist eine 2-Stufen-Federanordnung verwirk­licht, indem innerhalb der Rückstellfeder 242 eine zweite Feder 242a angeordnet ist, die erst nach einem bestimmten Hub des Stellkolbens 231 wirksam ist. Die Kurvenscheibe 214 ist bei dieser Variante durch eine Rückdrehfeder 220 in der Anlage am Stift 227 gehalten.
  • Bei einer in Figur 5 dargestellten dritten Variante ragt der Stift 327 auf der der Kurvenscheibe 14 abgewandten Seite durch den Stell­kolben 331 und eine Axialbohrung 365 in einem gegenüber dem Gewinde­bolzen von Figur 1 abgewandelten Gewindebolzen 343 hindurch. In dem innerhalb des Gewindebolzens 343 liegenden Endbereich des Stifts 327­ist in eine Nut 362 eine Scheibe 363 eingesetzt. In einer Gewinde­bohrung 364 im Gewindebolzen 343 ist ein Anschlag 366 verschraubt, gegen den der Stift 327 durch die Rückstellfeder 342 gezogen wird und an dem er mit der Scheibe 363 zur Anlage kommt. Der Stift 327 ist gegenüber dem Gewindebolzen 343 mittels einer Dichtung 367 abge­dichtet. Durch den Anschlag 366 kann eine definierte Ausgangsstel­lung des Stellkolbens 331 eingestellt werden, der dann nicht mehr am Boden 329a des Zylidners 329 zur Anlage kommt, sondern mit der Scheibe 363 am Anschlag 366. Durch die definierte Ausgangsstellung des Stellkolbens 331 ist sichergestellt, daß sich der Reglerhebel 10 auf einem bestimmten Punkt des Kurvensektors 14a befindet, von dem ausgehend die Verstellbewegung der Kurvenscheibe 14 beginnt. Das Gewinde zwischen dem Anschlag 366 und der Gewindebohrung 364 im Gewindebolzen 343 ist als ein Klemmgewinde ausgeführt, so daß die Position des Anschlags 366 gesichert ist. Beim Einstellvorgang wird bei dieser Variante zuerst der maximale Hub des Stellkolbens 331 mittels des Hubanschlags 334 eingestellt. Danach wird die Vorspan­ nung der Rückstellfeder 342 bei maximalem Hub des Stellkolbens 331 mittels des Gewindebolzens 343 eingestellt und schließlich mittels des Anschlags 366 die Ausgangsstellung des Stellkolbens 331 einge­stellt.
  • Bei einem in Figur 6 dargestellten zweiten Ausführungsbeispiel ist der Stellkolben 431 innerhalb eines in einer im Gehäuseteil 417 ver­schraubten Hülse 471 gebildeten Zylinders 429 angeordnet. Das aus dem Gehäuseteil 417 in den Innenraum 51 ragende Stirnende der Hulse 471 ist durch ein Deckeltei 472 abgedeckt, das mit einer Bohrung 428 versehen ist. Der Stift 427 ragt mit seinem dem Innenraum 51 abge­wandten Ende in den Stellkolben 431 hinein. Auf dem Stift 427 ist in seinem innerhalb des Stellkolbens 431 liegenden Endbereich ein Fe­derteller 475 axial festgelegt, an dem sich die Rückstellfeder 442 abstützt. Der Stellkolben 431 liegt über den Federteller 475 an der Rückstellfeder 442 an. Der Deckel 472 weist eine Drosselbohrung 473 auf, über die der vom Stellkolben 431 im Zylinder 429 begrenzte Ar­beitsraum 448 mit dem Innenraum 51 verbunden ist. Die Hülse 471 ist mittels einer Kontermutter 474 am Gehäuseteil 417 festgelegt. In einer Gewindebohrung 476 am äußeren Stirnende der Hülse 471 ist ein Gewindebolzen 477 eingeschraubt und mittels einer Kontermutter 478 festgelegt, wobei sich über eine Rutschscheibe 485 die Rückstell­feder 442 am Gewindebolzen 477 abstützt. Der Gewindebolzen 477 ist mit einer Gewindebohrung 479 versehen, in der ein als Hubanschlag für den Stift 427 dienender Bolzen 482 verschraubt und durch ein Klemmgewinde gesichert ist. Der Raum 480 auf der dem Arbeitsraum 448 gegenüberliegenden Seite des Stellkolbens 431 ist über Entlastungs­bohrungen 481 und eine nicht dargestellte Rücklaufleitung zum Kraft­stoffvorratsbehalter 53 hin druckenlastet. Beim Einstellvorgang wird hier zuerst mittels eines Verdrehens der Hülse 471 die Ausgangs­stellung des Stellkolbens 431 eingestellt. Anschließend wird mittels des Gewindebolzens 476 die Vorspannung der Rückstellfeder 442 ein­gestellt und schließlich mittels des Bolzens 482 der maximale Hub des Stellkolbens 431 eingestellt.

Claims (18)

1. Kraftstoffeinspritzpumpe für Brennkraftmaschinen mit einem Kraft­stoffmengenverstellglied (10) und einer diesem zugeordneten Ver­stelleinrichtung zur Veränderung des möglichen Wegs des Kraftstoff­mengenverstellglieds (10), die einen in Abhängigkeit von Betriebs­parametern entgegen der Kraft einer Rückstellfeder (42) in einem Zylinder (29) verstellbaren Stellkolben (31) und einen mit diesem über einen Stift (27) gekoppelten) in einem Gehäuseteil (17) drehbar gelagerten) durch den Stift (27) bei einer Verstellung des Stell­kolbens (31) schwenkbaren Anschlaghebel (14) aufweist, an dem als Lastbegrenzungsanschlag das Kraftstoffmengenverstellglied (10) zur Anlage bringbar ist, dadurch gekennzeichnet, daß der Anschlaghebel (14) eine drehbar gelagerte Kurvenscheibe (14) ist, an deren als Lastbegrenzungsanschlag dienendem Kurvensektor (14a) das Kraftstoff­mengenverstellglied (10) anschlägt.
2. Kraftstoffeinspritzpumpe nach Anspruch 1, dadurch gekennzeichnet, daß die Kurvenscheibe (14) an einem Arm (16b) eines drehbar gelager­ten zweiarmigen Traghebels (16) gelagert ist, der im Endbereich sei­nes anderen Arms (16a) an einer Einstellvorrichtung (18) anliegt.
3. Kraftstoffeinspritzpumpe nach Anspruch 1 oder 2, dadurch gekenn­zeichnet, daß sich der Zylinder (29) parallel zu einer durch die Lage eines Pump- oder Verteilerkolbens (9) bestimmte Längsachse (19) der Kraftstoffeinspritzpumpe erstreckt.
4. Kraftstoffeinspritzpumpe nach einem der Ansprüche 1 - 3, dadurch gekennzeichnet, daß der Traghebel (16) U-förmig ausgebildet ist und die Kurvenscheibe (14) zwischen den Schenkeln (22) des Traghebels (16) gelagert ist.
5. Kraftstoffeinspritzpumpe nach einem der vorstehenden Ansprüche, dadurch gekennzeichnet, daß die Kurvenscheibe (14) zweiarmig ausge­bildet ist, daß auf einem der Arme der Kurvenscheibe der Kurvensek­tor (14a) angeordnet ist und der andere Arm (14b) am Stift (27) zur Anlage kommt, wobei das Kraftstoffmengenverstellglied (10) exzen­trisch zur Lagerung der Kurvenscheibe am Kurvensektor (14a) an­greift) so daß die Xurvenscheibe (14) über das Kraftstoffmengen­verstellglied (10) in der Anlage am Stift (27) gehalten ist.
6. Kraftstoffeinspritzpumpe nach einem der vorstehenden Ansprüche, dadurch gekennzeichnet, daß die Xurvenscheibe (214) durch eine Rück­drehfeder (220) in der Anlage am Stift (227) gehalten ist.
7. Kraftstoffeinspritzpumpe nach einem der vorstehenden Ansprüche, dadurch gekennzeichnet, daß der Kurvensektor (14a) der Kurvenscheibe­(14) nur bis zu einem bestimmten Drehwinkel der Kurvenscheibe (14) eine positive oder negative Steigung aufweist.
8. Kraftstoffeinspritzpumpe nach einem der vorstehenden Ansprüche, dadurch gekennzeichnet, daß die Rückstellfeder (42) als Zwei-Stu­fen-Federanordnung ausgeführt ist.
9. Kraftstoffeinspritzpumpe nach einem der vorstehenden Ansprüche, dadurch gekennzeichnet, daß der Stellkolben (431) in einer im Ge­häuseteil (417) festgelegten, axial verstellbaren Hülse (471) ange­ordnet ist) die mit ihrem Stirnende in einen vom Gehäuseteil (417) begrenzten Innenraum (51) der Kraftstoffeinspritzpumpe ragt) der das Kraftstoffmengenverstellglied (10) und die Kurvenscheibe (14) mit Traghebel (16) aufnimmt, wobei das Stirnende der Hülse (471) durch ein Deckelteil (472) verschlossen ist, in dem in einer Bohrung (428) der Stift (427) geführt ist.
10. Kraftstoffeinspritzpumpe nach einem der Ansprüche 1 - 8, dadurch gekennzeichnet, daß das Gehäuseteil (17) einen Innenraum (51) der Kraftstoffeinspritzpumpe begrenzt und der Stift (27) in einer Boh­rung (28) im Gehäuseteil (17) zwischen dem Innenraum (51) und dem Zylinder (29) geführt ist.
11. Kraftstoffeinspritzpumpe nach Anspruch 9 oder 10, dadurch ge­kennzeichnet, daß der Zylinder (429) über eine Drosselbohrung (473) mit dem Innenraum (51) verbunden ist, der unter in Abhängigkeit von Betriebsparametern gesteuertem Druck steht.
12. Kraftstoffeinspritzpumpe nach einem der Ansprüche 9 - 11, da­durch gekennzeichnet, daß der Zylinder (29) über einen zwischen dem Stift (27) und der Bohrung (28; 428) im Gehäuseteil (17) oder im Deckelteil (472) vorhandenen Ringspalt (49) mit dem Innenraum (51) verbunden ist.
13. Kraftstoffeinspritzpumpe nach einem der vorstehenden Ansprüche, dadurch gekennzeichnet, daß sich die Rückstellfeder (42) über ein im Gehäuseteil (17) oder in der Hülse (471) festgelegtes, axial ver­stellbares Stützteil (43) mindestens mittelbar abstützt.
14. Kraftstoffeinspritzpumpe nach Anspruch 13, dadurch gekennzeich­net, daß das Stützteil (43) als ein Gewindebolzen ausgeführt ist, der in einem in der Hülse (471) oder im Gehäuseteil (17) festgeleg­ten, axial verstellbaren Hubanschlag (34) verschraubt ist, an dem der Stellkolben (31) nach einem bestimmten Hub zur Anlage kommt.
15. Kraftstoffeinspritzpumpe nach Anspruch 13, dadurch gekennzeich­net, daß das Stützteil (477) als ein Gewindebolzen ausgeführt ist, der mit einer Gewindebohrung (479) versehen ist, in der ein Huban­schlag (482) verschraubt ist, an dem der Stift (427) nach einem be­stimmten Hub zur Anlage kommt.
16. Kraftstoffeinspritzpumpe nach Anspruch 15, dadurch gekennzeich­net, daß der Hubanschlag (482) mittels eines Klemmgewindes im Gewin­debolzen (477) festgelegt ist.
17. Kraftstoffeinspritzpumpe nach Anspruch 13, dadurch gekennzeich­net, daß in das Gehäuseteil (217) oder in die Hülse (471) radial zum Zylinder (229) ein Bolzen (257) eingesetzt ist, an dessen in den Zy­linder (229) ragendem Ende exzentrisch ein Zapfen (258) angeordnet ist, an dem der Stellkolben (231) nach einem bestimmten Hub zur An­lage kommt.
18. Kraftstoffeinspritzpumpe nach Anspruch 13, dadurch gekennzeich­net, daß das der Kurvenscheibe (14) abgewandte Ende des Stifts (327) durch den Stellkolben (331) und eine Axialbohrung (365) im Stützteil (343) hindurchragt, daß im durch das Stützteil (343) ragenden Endbe­reich des Stifts (327) eine Scheibe (363) befestigt ist und daß im Stützteil (343) ein axial verstellbarer Anschlag (366) festgelegt ist, gegen den der Stift (327) durch die Rückstellfeder (342) gezo­gen wird und an dem er mit der Scheibe (363) zur Anlage kommt.
EP90109181A 1989-06-23 1990-05-16 Kraftstoffeinspritzpumpe für Brennkraftmaschinen Expired - Lifetime EP0403791B1 (de)

Applications Claiming Priority (2)

Application Number Priority Date Filing Date Title
DE3920554 1989-06-23
DE3920554A DE3920554A1 (de) 1989-06-23 1989-06-23 Kraftstoffeinspritzpumpe fuer brennkraftmaschinen

Publications (3)

Publication Number Publication Date
EP0403791A2 true EP0403791A2 (de) 1990-12-27
EP0403791A3 EP0403791A3 (de) 1991-01-16
EP0403791B1 EP0403791B1 (de) 1994-02-02

Family

ID=6383394

Family Applications (1)

Application Number Title Priority Date Filing Date
EP90109181A Expired - Lifetime EP0403791B1 (de) 1989-06-23 1990-05-16 Kraftstoffeinspritzpumpe für Brennkraftmaschinen

Country Status (4)

Country Link
EP (1) EP0403791B1 (de)
JP (1) JPH0333435A (de)
DE (2) DE3920554A1 (de)
ES (1) ES2050874T3 (de)

Family Cites Families (4)

* Cited by examiner, † Cited by third party
Publication number Priority date Publication date Assignee Title
AT337499B (de) * 1975-01-03 1977-07-11 Friedmann & Maier Ag Regeleinrichtung fur einspritzpumpen
DE3506041A1 (de) * 1985-02-21 1986-08-21 Robert Bosch Gmbh, 7000 Stuttgart Kraftstoffeinspritzpumpe fuer brennkraftmaschinen
DE3721301A1 (de) * 1987-06-27 1989-01-05 Bosch Gmbh Robert Stelleinrichtung fuer ein kraftstoffoerdermengenverstellglied einer kraftstoffeinspritzpumpe
KR900003756Y1 (ko) * 1987-08-19 1990-04-30 류재덕 디젤엔진 ve분배형 연료 분사펌프의 유압식 앵글라이히(angleich)장치

Also Published As

Publication number Publication date
DE3920554A1 (de) 1991-01-03
JPH0333435A (ja) 1991-02-13
DE59004472D1 (de) 1994-03-17
EP0403791A3 (de) 1991-01-16
ES2050874T3 (es) 1994-06-01
EP0403791B1 (de) 1994-02-02

Similar Documents

Publication Publication Date Title
DE2308260C2 (de) Fliehkraftdrehzahlregler für Einspritzbrennkraftmaschinen
DE3540052C2 (de)
DE3211208A1 (de) Kraftstoffeinspritzventil
DE2554987C2 (de) Kraftstoffeinspritzdüse für Brennkraftmaschinen
EP1606541A1 (de) Druckbegrenzungsventil
DE2349692A1 (de) Drehzahlregler einer kraftstoffeinspritzpumpe
DE3405540C2 (de)
DE4129837C2 (de) Drehzahlregler für Kraftstoffeinspritzpumpen von Brennkraftmaschinen
EP0403791B1 (de) Kraftstoffeinspritzpumpe für Brennkraftmaschinen
DE3323761C2 (de)
EP0198166B1 (de) Pneumatisches Membranstellglied für eine Kraftstoffeinspritzeinrichtung von Brennkraftmaschinen
DE1751623C3 (de) Anordnung zur Regelung der Brennstoffeinspritzung bei einer zündzeitpunktgeregelten funkengezündeten Brennkraftmaschine mit Brennstoff-Einspritzpumpe
EP0240693A1 (de) Kraftstoff-Einspritzdüse für Brennkraftmaschinen
EP0150343B1 (de) Kraftstoffeinspritzpumpe für Brennkraftmaschinen
EP0407706B1 (de) Kraftstoffeinspritzpumpe für aufgeladene Brennkraftmaschinen
EP1384000A1 (de) Kraftstoffeinspritzeinrichtung für eine brennkraftmaschine
EP0522359B1 (de) Kraftstoffeinspritzpumpe für Brennkraftmaschinen
EP0208898B1 (de) Drehzahlregler für Kraftstoffeinspritzpumpen
EP0624720B1 (de) Kraftstoffeinspritzpumpe für Brennkraftmaschinen
DE3245947C2 (de)
EP0267421B1 (de) Kraftstoff-Einspritzdüse für Brennkraftmaschinen
EP0283709B1 (de) Kraftstoffeinspritzpumpe für Brennkraftmaschinen
DE4242880A1 (de) Fliehkraftdrehzahlregler für Kraftstoffeinspritzpumpen von Brennkraftmaschinen
CH672005A5 (de)
DE3920553A1 (de) Kraftstoffeinspritzpumpe fuer aufgeladene brennkraftmaschinen

Legal Events

Date Code Title Description
PUAI Public reference made under article 153(3) epc to a published international application that has entered the european phase

Free format text: ORIGINAL CODE: 0009012

PUAL Search report despatched

Free format text: ORIGINAL CODE: 0009013

AK Designated contracting states

Kind code of ref document: A2

Designated state(s): DE ES FR GB IT

AK Designated contracting states

Kind code of ref document: A3

Designated state(s): DE ES FR GB IT

17P Request for examination filed

Effective date: 19910621

RAP3 Party data changed (applicant data changed or rights of an application transferred)

Owner name: ROBERT BOSCH GMBH

17Q First examination report despatched

Effective date: 19920817

GRAA (expected) grant

Free format text: ORIGINAL CODE: 0009210

AK Designated contracting states

Kind code of ref document: B1

Designated state(s): DE ES FR GB IT

GBT Gb: translation of ep patent filed (gb section 77(6)(a)/1977)

Effective date: 19940216

REF Corresponds to:

Ref document number: 59004472

Country of ref document: DE

Date of ref document: 19940317

ET Fr: translation filed
ITF It: translation for a ep patent filed
REG Reference to a national code

Ref country code: ES

Ref legal event code: FG2A

Ref document number: 2050874

Country of ref document: ES

Kind code of ref document: T3

PLBE No opposition filed within time limit

Free format text: ORIGINAL CODE: 0009261

STAA Information on the status of an ep patent application or granted ep patent

Free format text: STATUS: NO OPPOSITION FILED WITHIN TIME LIMIT

26N No opposition filed
PGFP Annual fee paid to national office [announced via postgrant information from national office to epo]

Ref country code: GB

Payment date: 19980513

Year of fee payment: 9

PGFP Annual fee paid to national office [announced via postgrant information from national office to epo]

Ref country code: FR

Payment date: 19980527

Year of fee payment: 9

PGFP Annual fee paid to national office [announced via postgrant information from national office to epo]

Ref country code: ES

Payment date: 19980529

Year of fee payment: 9

PGFP Annual fee paid to national office [announced via postgrant information from national office to epo]

Ref country code: DE

Payment date: 19980724

Year of fee payment: 9

PG25 Lapsed in a contracting state [announced via postgrant information from national office to epo]

Ref country code: GB

Free format text: LAPSE BECAUSE OF NON-PAYMENT OF DUE FEES

Effective date: 19990516

PG25 Lapsed in a contracting state [announced via postgrant information from national office to epo]

Ref country code: ES

Free format text: THE PATENT HAS BEEN ANNULLED BY A DECISION OF A NATIONAL AUTHORITY

Effective date: 19990517

GBPC Gb: european patent ceased through non-payment of renewal fee

Effective date: 19990516

PG25 Lapsed in a contracting state [announced via postgrant information from national office to epo]

Ref country code: FR

Free format text: LAPSE BECAUSE OF NON-PAYMENT OF DUE FEES

Effective date: 20000131

PG25 Lapsed in a contracting state [announced via postgrant information from national office to epo]

Ref country code: DE

Free format text: LAPSE BECAUSE OF NON-PAYMENT OF DUE FEES

Effective date: 20000301

REG Reference to a national code

Ref country code: FR

Ref legal event code: ST

REG Reference to a national code

Ref country code: ES

Ref legal event code: FD2A

Effective date: 20020204

PG25 Lapsed in a contracting state [announced via postgrant information from national office to epo]

Ref country code: IT

Free format text: LAPSE BECAUSE OF NON-PAYMENT OF DUE FEES;WARNING: LAPSES OF ITALIAN PATENTS WITH EFFECTIVE DATE BEFORE 2007 MAY HAVE OCCURRED AT ANY TIME BEFORE 2007. THE CORRECT EFFECTIVE DATE MAY BE DIFFERENT FROM THE ONE RECORDED.

Effective date: 20050516