EP0356830A2 - Werkzeugmaschine - Google Patents

Werkzeugmaschine Download PDF

Info

Publication number
EP0356830A2
EP0356830A2 EP89115227A EP89115227A EP0356830A2 EP 0356830 A2 EP0356830 A2 EP 0356830A2 EP 89115227 A EP89115227 A EP 89115227A EP 89115227 A EP89115227 A EP 89115227A EP 0356830 A2 EP0356830 A2 EP 0356830A2
Authority
EP
European Patent Office
Prior art keywords
spindle
tool
cavity
tool holder
machine tool
Prior art date
Legal status (The legal status is an assumption and is not a legal conclusion. Google has not performed a legal analysis and makes no representation as to the accuracy of the status listed.)
Granted
Application number
EP89115227A
Other languages
English (en)
French (fr)
Other versions
EP0356830B1 (de
EP0356830A3 (en
Inventor
Hans-Henning Dr. Winkler
Eugen Rütschle
Current Assignee (The listed assignees may be inaccurate. Google has not performed a legal analysis and makes no representation or warranty as to the accuracy of the list.)
Chiron Werke GmbH and Co KG
Original Assignee
Chiron Werke GmbH and Co KG
Priority date (The priority date is an assumption and is not a legal conclusion. Google has not performed a legal analysis and makes no representation as to the accuracy of the date listed.)
Filing date
Publication date
Application filed by Chiron Werke GmbH and Co KG filed Critical Chiron Werke GmbH and Co KG
Publication of EP0356830A2 publication Critical patent/EP0356830A2/de
Publication of EP0356830A3 publication Critical patent/EP0356830A3/de
Application granted granted Critical
Publication of EP0356830B1 publication Critical patent/EP0356830B1/de
Anticipated expiration legal-status Critical
Expired - Lifetime legal-status Critical Current

Links

Images

Classifications

    • BPERFORMING OPERATIONS; TRANSPORTING
    • B23MACHINE TOOLS; METAL-WORKING NOT OTHERWISE PROVIDED FOR
    • B23QDETAILS, COMPONENTS, OR ACCESSORIES FOR MACHINE TOOLS, e.g. ARRANGEMENTS FOR COPYING OR CONTROLLING; MACHINE TOOLS IN GENERAL CHARACTERISED BY THE CONSTRUCTION OF PARTICULAR DETAILS OR COMPONENTS; COMBINATIONS OR ASSOCIATIONS OF METAL-WORKING MACHINES, NOT DIRECTED TO A PARTICULAR RESULT
    • B23Q13/00Equipment for use with tools or cutters when not in operation, e.g. protectors for storage
    • BPERFORMING OPERATIONS; TRANSPORTING
    • B23MACHINE TOOLS; METAL-WORKING NOT OTHERWISE PROVIDED FOR
    • B23QDETAILS, COMPONENTS, OR ACCESSORIES FOR MACHINE TOOLS, e.g. ARRANGEMENTS FOR COPYING OR CONTROLLING; MACHINE TOOLS IN GENERAL CHARACTERISED BY THE CONSTRUCTION OF PARTICULAR DETAILS OR COMPONENTS; COMBINATIONS OR ASSOCIATIONS OF METAL-WORKING MACHINES, NOT DIRECTED TO A PARTICULAR RESULT
    • B23Q3/00Devices holding, supporting, or positioning work or tools, of a kind normally removable from the machine
    • B23Q3/155Arrangements for automatic insertion or removal of tools, e.g. combined with manual handling
    • B23Q3/157Arrangements for automatic insertion or removal of tools, e.g. combined with manual handling of rotary tools
    • B23Q3/15706Arrangements for automatic insertion or removal of tools, e.g. combined with manual handling of rotary tools a single tool being inserted in a spindle directly from a storage device, i.e. without using transfer devices
    • BPERFORMING OPERATIONS; TRANSPORTING
    • B23MACHINE TOOLS; METAL-WORKING NOT OTHERWISE PROVIDED FOR
    • B23QDETAILS, COMPONENTS, OR ACCESSORIES FOR MACHINE TOOLS, e.g. ARRANGEMENTS FOR COPYING OR CONTROLLING; MACHINE TOOLS IN GENERAL CHARACTERISED BY THE CONSTRUCTION OF PARTICULAR DETAILS OR COMPONENTS; COMBINATIONS OR ASSOCIATIONS OF METAL-WORKING MACHINES, NOT DIRECTED TO A PARTICULAR RESULT
    • B23Q3/00Devices holding, supporting, or positioning work or tools, of a kind normally removable from the machine
    • B23Q3/155Arrangements for automatic insertion or removal of tools, e.g. combined with manual handling
    • B23Q3/157Arrangements for automatic insertion or removal of tools, e.g. combined with manual handling of rotary tools
    • B23Q3/15713Arrangements for automatic insertion or removal of tools, e.g. combined with manual handling of rotary tools a transfer device taking a single tool from a storage device and inserting it in a spindle
    • YGENERAL TAGGING OF NEW TECHNOLOGICAL DEVELOPMENTS; GENERAL TAGGING OF CROSS-SECTIONAL TECHNOLOGIES SPANNING OVER SEVERAL SECTIONS OF THE IPC; TECHNICAL SUBJECTS COVERED BY FORMER USPC CROSS-REFERENCE ART COLLECTIONS [XRACs] AND DIGESTS
    • Y10TECHNICAL SUBJECTS COVERED BY FORMER USPC
    • Y10TTECHNICAL SUBJECTS COVERED BY FORMER US CLASSIFICATION
    • Y10T409/00Gear cutting, milling, or planing
    • Y10T409/30Milling
    • Y10T409/30392Milling with means to protect operative or machine [e.g., guard, safety device, etc.]
    • YGENERAL TAGGING OF NEW TECHNOLOGICAL DEVELOPMENTS; GENERAL TAGGING OF CROSS-SECTIONAL TECHNOLOGIES SPANNING OVER SEVERAL SECTIONS OF THE IPC; TECHNICAL SUBJECTS COVERED BY FORMER USPC CROSS-REFERENCE ART COLLECTIONS [XRACs] AND DIGESTS
    • Y10TECHNICAL SUBJECTS COVERED BY FORMER USPC
    • Y10TTECHNICAL SUBJECTS COVERED BY FORMER US CLASSIFICATION
    • Y10T483/00Tool changing
    • Y10T483/11Tool changing with safety means
    • Y10T483/115Guard
    • YGENERAL TAGGING OF NEW TECHNOLOGICAL DEVELOPMENTS; GENERAL TAGGING OF CROSS-SECTIONAL TECHNOLOGIES SPANNING OVER SEVERAL SECTIONS OF THE IPC; TECHNICAL SUBJECTS COVERED BY FORMER USPC CROSS-REFERENCE ART COLLECTIONS [XRACs] AND DIGESTS
    • Y10TECHNICAL SUBJECTS COVERED BY FORMER USPC
    • Y10TTECHNICAL SUBJECTS COVERED BY FORMER US CLASSIFICATION
    • Y10T483/00Tool changing
    • Y10T483/17Tool changing including machine tool or component
    • Y10T483/1733Rotary spindle machine tool [e.g., milling machine, boring, machine, grinding machine, etc.]
    • Y10T483/1748Tool changer between spindle and matrix
    • Y10T483/1752Tool changer between spindle and matrix including tool holder pivotable about axis

Definitions

  • the invention relates to a machine tool with a rotating spindle and with a plurality of tool holders which have a cone and can be inserted individually with the cone into a working position in the spindle by means of a gripping arm from a magazine position spaced from the spindle, while the other tool holders in the magazine position remain.
  • a machine tool of the type mentioned above is known from DE-PS 32 33 934.
  • the headstock is aligned with the spindle with a vertical axis and can be moved along several coordinate axes relative to a workpiece table.
  • a sleeve surrounding the spindle is provided on the headstock and can be displaced in the vertical direction relative to the spindle.
  • the sleeve carries a plurality of gripping arms which can be pivoted essentially in a plane extending radially to the spindle axis.
  • the gripper arms each have parallelogram guides and run out at their lower end into a gripper, which is each equipped with a tool holder.
  • the gripping arms with the tool holders are pivoted vertically upward, so that the tool holders with the tools are arranged both above and laterally at a distance from the spindle.
  • one of the gripping arms is now pivoted downward, the insertion movement of the tool holder into the spindle receiving being achieved by relative movement of the sleeve on the headstock, regardless of the absolute vertical position of the spindle relative to the workpiece table.
  • the tool holders are provided with standardized cones which fit into a correspondingly shaped conical receptacle of the spindle.
  • the invention is therefore based on the object of developing a machine tool of the type mentioned at the outset such that faults of the type mentioned above are avoided.
  • the tool holders are held on their way between the magazine position and the working position essentially in a vertical axis and the cavity is designed as a quiver which is open at the bottom.
  • This measure has the advantage in machine tools with a known constant vertical axis alignment of the tool holder that the cavity is only open at the bottom, so that the probability is very low that metal chips can get into the quiver thus formed when a tool in the Working position and the associated quiver is free.
  • the gripping arms are arranged distributed around the spindle and are jointly fastened to a sleeve which is displaceable relative to the spindle in the direction of the spindle axis, the sleeve then being provided with the cavity.
  • This measure has the advantage that only relatively small cavities need to be provided, e.g. can be formed as individual quivers, caps and the like. An interaction between the individual cavities is also excluded, so that even if a metal chip should get into one of the cavities, the remaining cavities are not affected, e.g. when one of the cavities becomes accessible because the tool in question is in the working position.
  • a cover is provided to close the cavity when the associated tool holder is in the working position.
  • This measure has the significant advantage that metal chips cannot even get indirectly onto the cone of the tool holder, for example by penetrating into an open cavity of a tool holder currently in the working position and then later settling on the cone, which after completion of the respective processing step is returned to the cavity in question.
  • cover is designed as a sheet on a pivotable section of the gripping arm, the sheet being pivoted from the magazine position when the tool holder is pivoted is automatically pivoted into the working position by means of the gripping arm into a position closing the cavity.
  • This measure has the particular advantage that no separate actuating means have to be provided in order to close the cavity, because the sheet metal automatically sets itself in front of the opening of the cavity when the associated tool holder is transferred from the magazine position into the working position. It is also advantageous that the sheet can be formed in a variety of ways, e.g. to protect other units in the vicinity of the machine tool.
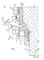
  • FIG. 1 designates a machine tool according to the invention, in which a headstock has a rotating spindle 11 with a conical receptacle 12.
  • the receptacle 12 of the spindle 11 is designed so that it is complementary to a cone 13 of a standard tool holder 14.
  • the tool holders 14 are held in the machine tool 10 in a position in which their axis runs parallel to a spindle axis 15.
  • the tool holder 14 are provided below the cone 13 with an annular flange 16 to which a tool, for example a drill or a milling cutter, is connected at the bottom.
  • a plurality of tool holders 14 are arranged around the spindle 11 and can each be pivoted individually from the magazine position of the tool holder 14 shown in FIG. 1 into a working position in the receptacle 12 of the spindle 11, as will be explained below with reference to FIG. 2 and 3 will be explained.
  • a tool changer is provided for replacing tool holders 14 in the spindle 11 or for subsequent replacement, which essentially consists of a gripper arm 20 operated by an external force.
  • the gripper arm 20 goes down into a gripper 21 which grips the tool holder 14 in the region of the ring flange 16.
  • the gripper 21 is preferably designed so that the tool holder 14 is rotatably held in it, so that the gripper 21 remains in the working position of the tool holder 14 in order to reduce the tool changing times in this way.
  • the gripper 21 is part of a parallelogram guide, which also consists of a first rod 22 and a second rod 23 parallel to it.
  • the bars 22, 23 are mounted on the gripper 21 by means of a first axis 24 or a second axis 25 under their respective opposite ends in a third axis 26 or a fourth axis 27.
  • the axes 24 to 27 run perpendicular to the plane of the drawing in FIG. 1.
  • the third axis 26 and the fourth axis 27 are located on a sleeve 28 which surrounds the spindle 11.
  • the sleeve 28 can be displaced vertically relative to the spindle 11 in a manner known per se, as indicated by an arrow 29. Since the spindle 11 rotates with respect to the sleeve 28, a bearing 30 is provided between the sleeve 28 and the spindle 11 in the lower region of the sleeve 28 and runs on a cylindrical surface 31 of the spindle 11. The direction of rotation of the spindle 11 is indicated by an arrow 32.
  • the first rod 22 is provided on its underside with a recess 33, the meaning of which with respect to the bearing 30 will be explained below.
  • a piston-cylinder unit 35 is articulated on an upper projection of the second rod 23 via a fifth axis 36, which runs parallel to the axes 24 to 27.
  • the piston-cylinder unit 35 essentially consists of a piston 37 which articulates on the fifth axis 36 and a cylinder 38 which at its upper end (not shown in FIG. 1) is pivotable on a radial projection of the sleeve 28 is stored.
  • Fig. 1 shows the tool holder 14 in the magazine position in which the piston 37 is completely retracted into the cylinder 38.
  • the sleeve 28 is also in its upper end position relative to the spindle 11.
  • the rods 22, 23 are in the magazine position in an approximately horizontal orientation, the axes 24, 25 being somewhat higher than the axes 26, 27.
  • the cone 13 of the tool holder 14 is inserted into a cavity 40 which adjoins the underside of a radial projection of the sleeve 28 is located.
  • the cavity 40 is designed in the manner of a quiver and in each case surrounds the cone of one of the plurality of tool holders 14.
  • the cavity 40 is also closed at the bottom when the tool holder 14 is inserted. This means that the cone 13 is completely covered in the magazine position. If now a tool of another Tool holder, which is just inserted into the spindle holder 12, works on a workpiece and a mixture of drilling water and metal chips flies around at high chip speeds, so no metal chips can settle on the cone 13 of the other tool holders 14, because they are all in the magazine position and kept covered in cavity 40.
  • FIG. 2 shows an intermediate position in which the piston 37 has been extended downward from the cylinder 38.
  • the sleeve 28 was moved downwards in the direction of the arrow 29.
  • the rods 22, 23 assume a position inclined downward to the left.
  • the cone 13 of the tool holder 14 is now also below the lower edge of the spindle 11.
  • the arrangement is such that when the piston 37 is extended further, the rods 22, 23 are pivoted further down until they reach a vertical end position in which the tool holder 14 is aligned with the spindle axis 15.
  • FIG. 4 shows further details of the representation according to FIG. 3 and it can first be seen that the cavity 40 has a lower opening 45 which would be open in the working position of the associated tool holder because it is no longer closed by the ring flange 16.
  • a first sheet 46 or a corresponding plastic part is provided on the second rod 23 and extends essentially perpendicular to the plane of the drawing in FIG. 4.
  • the first sheet 46 is approximately in the form of a hollow cylinder segment, the longitudinal axis of which coincides with the fourth axis 27.
  • a similar second sheet 47 is also provided on the first rod 22, with which the bearing 30 is covered downward.
  • the sheets 46, 47 also serve as mechanical stiffening for side parts from which the rods 22, 23 are made.
  • first rod 22 shows for the first rod 22 that it consists of two folding parts 50, 51 arranged symmetrically, which are combined at their ends in axes 24, 26.
  • the second plate 47 extends between these side parts 50, 51 and stiffens them, a corresponding circular arc-shaped recess being provided on the second plate 57.
  • a first holder 52 can also be provided between the side parts 50, 51 in order to prevent the tool holder 14 from tilting.
  • FIG. 6 shows side parts 60, 61 of the second rod 23 in a corresponding manner.
  • the first plate 46 which now runs perpendicular to the plane of the drawing in FIG. 6, also serves as a recess between the plates 60, 61. Again, there is a holder 62 provided to prevent tilting of the tool holder 14.

Landscapes

  • Engineering & Computer Science (AREA)
  • Mechanical Engineering (AREA)
  • Automatic Tool Replacement In Machine Tools (AREA)
  • Auxiliary Devices For Machine Tools (AREA)

Abstract

Eine Werkzeugmaschine (10) weist eine rotierende Spindel (11) auf. Eine Mehrzahl von Werkzeughaltern (14) mit einem Konus 13) ist mittels eines Greifarmes (20) aus einer von der Spindel (11) beabstandeten Magazinposition jeweils einzeln mit dem Konus (13) in eine Arbeitsposition in der Spindel (11) ein­setzbar, während die übrigen Werkzeughalter (14) in der Maga­zinposition verbleiben.
Um zu verhindern, daß Metallspäne auf die Konusse (13) der Werkzeughalter (4) in Magazinposition gelangen und dort haften bleiben, sind die Werkzeughalter (14) in der Magazinposition in einen Hohlraum (40) eingeführt, der mindestens für die Konusse (13) eine geschlossene Abdeckung bildet (Fig. 1).

Description

  • Die Erfindung betrifft eine Werkzeugmaschine mit einer rotieren­den Spindel und mit einer Mehrzahl von Werkzeughaltern, die einen Konus aufweisen und mittels eines Greifarmes aus einer von der Spindel beabstandeten Magazinposition jeweils einzeln mit dem Konus in eine Arbeitsposition in der Spindel einsetzbar sind, während die übrigen Werkzeughalter in der Magazinposition verbleiben.
  • Eine Werkzeugmaschine der vorstehend genannten Art ist aus der DE-PS 32 33 934 bekannt.
  • Bei der bekannten Werkzeugmaschine ist der Spindelstock mit der Spindel vertikalachsig ausgerichtet und entlang mehrerer Koordinatenachsen relativ zu einem Werkstücktisch verfahrbar. Am Spindelstock ist eine die Spindel umschließende Hülse vorgesehen, die in vertikaler Richtung relativ zur Spindel verschiebbar ist. Die Hülse trägt eine Vielzahl von Greifarmen, die im wesentlichen in einer zur Spindelachse radial verlaufen­den Ebene verschwenkbar sind. Die Greifarme weisen jeweils Parallelogrammführungen auf und laufen an ihrem unteren Ende in einen Greifer aus, der jeweils mit einem Werkzeughalter bestückt ist.
  • In einer Magazinposition sind die Greifarme mit den Werkzeug­haltern vertikal nach oben verschwenkt, so daß die Werkzeug­halter mit den Werkzeugen sowohl oberhalb wie auch seitlich beabstandet von der Spindel angeordnet sind. Zum Einsetzen eines Werkzeuges wird nun einer der Greifarme nach unten verschwenkt, wobei die Einführbewegung des Werkzeughalters in die Aufnahme der Spindel durch relatives Verfahren der Hülse am Spindelstock erreicht wird, unabhängig von der ab­soluten vertikalen Position der Spindel relativ zum Werkstück­tisch.
  • Bei der bekannten Werkzeugmaschine sind die Werkzeughalter mit genormten Kegeln versehen, die in eine entsprechend geformte konische Aufnahme der Spindel passen.
  • Angesichts der heute üblichen und immer weiter steigenden Schnittgeschwindigkeiten und Spanvolumina kann jedoch bei der bekannten Werkzeugmaschine im Extremfall der Nachteil auftreten, daß während eines Bearbeitungsvorganges mit einem ersten Werkzeug Metallspäne in großer Zahl und mit großer Geschwindig­keit durch den Arbeitsraum der Werkzeugmaschine fliegen. Diese Metallspäne, die regelmäßig mit Bohrwasser benetzt sind, können jedoch bis in den Bereich der übrigen Werkzeughalter gelangen, die sich in der vertikal abgehobenen und seitlich beabstandeten Magazinposition befinden. Bleibt nun ein solcher Metallspan an einem Konus eines Werkzeughalters kleben, so kann dies zu Problemen führen, wenn dieser Werkzeughalter als nächstes in die Spindel eingeführt und dort eingespannt werden soll.
  • Der Erfindung liegt daher die Aufgabe zugrunde, eine Werkzeug­maschine der eingangs genannten Art dahingehend weiterzubilden, daß Störungen der vorstehend genannten Art vermieden werden.
  • Diese Aufgabe wird erfindungsgemäß dadurch gelöst, daß die Werkzeughalter in der Magazinposition in einen Hohlraum ein­geführt sind, der mindestens für die Konusse eine geschlossene Abdeckung bildet.
  • Die der Erfindung zugrundeliegende Aufgabe wird auf diese Weise vollkommen gelöst, weil die Konusse der Werkzeughalter in der Magazinposition nunmehr gegenüber herumfliegenden Metallspänen geschützt sind, so daß beim Einspannen eines Werkzeughalters keine Probleme im Bereich der konischen Aufnahme durch eingeklemmte Metallspäne auftreten können.
  • Von besonderem Vorteil ist dabei ferner, daß die relative Lage der Werkzeughalter in Magazinposition zur Spindelaufnahme nicht verändert, insbesondere der Abstand nicht vergrößert zu werden braucht, weil eine Vergrößerung des Abstandes zu einer Erhöhung der Werkzeugwechselzeiten führen würde. Es ist vielmehr möglich, die Grundkonstruktion der Werkzeugmaschine beizubehal­ten, so daß mit den bekannt kurzen Werkzeugwechselzeiten bekannter Werkzeugmaschinen weitergearbeitet werden kann.
  • Bei einer bevorzugten Ausgestaltung der Erfindung sind die Werkzeughalter auf ihrem Weg zwischen Magazinposition und Arbeitsposition im wesentlichen vertikalachsig gehalten und der Hohlraum ist als nach unten geöffneter Köcher ausgebildet.
  • Diese Maßnahme hat bei Werkzeugmaschinen mit an sich bekannter konstanter vertikalachsiger Ausrichtung der Werkzeughalter den Vorteil, daß der Hohlraum lediglich nach unten offen ist, so daß die Wahrscheinlichkeit sehr gering ist, daß Metallspäne in den so gebildeten Köcher hineingelangen können, wenn sich ein Werkzeug in der Arbeitsposition befindet und der zugehörige Köcher frei ist.
  • Es ist weiterhin bevorzugt, wenn die Greifarme um die Spindel herum verteilt angeordnet und gemeinsam an einer relativ zur Spindel in Richtung der Spindelachse verschiebbaren Hülse befestigt sind, wobei dann die Hülse mit dem Hohlraum versehen ist.
  • Diese Maßnahme hat bei der eingangs erläuterten gattungsbilden­den Werkzeugmaschine den Vorteil, daß lediglich geringfügige Modifikationen im Bereich der Hülse erforderlich sind, um die der Erfindung zugrundeliegende Aufgabe zu lösen.
  • Bevorzugt ist ferner, wenn jedem Werkzeughalter ein separater Hohlraum zugeordnet ist.
  • Diese Maßnahme hat nämlich den Vorteil, daß jeweils nur relativ kleine Hohlräume vorgesehen werden müssen, die z.B. als einzelne Köcher, Kappen und dgl. ausgebildet werden können. Auch ist eine Wechselwirkung zwischen den einzelnen Hohlräumen dadurch ausgeschlossen, so daß selbst dann, wenn ein Metallspan in einen der Hohlräume gelangen sollte, die übrigen Hohlräume davon nicht betroffen sind, z.B. dann, wenn einer der Hohlräume dadurch zugänglich wird, weil das betreffende Werkzeug sich in der Arbeitsposition befindet.
  • Bei einer weiteren bevorzugten Ausführungsform der erfindungs­gemäßen Werkzeugmaschine ist ein Deckel vorgesehen, um den Hohlraum zu verschließen, wenn sich der zugehörige Werkzeug­halter in der Arbeitsposition befindet.
  • Diese Maßnahme hat den wesentlichen Vorteil, daß Metallspäne noch nicht einmal mittelbar auf den Konus der Werkzeughalter gelangen können, etwa dadurch, daß sie in einen geöffneten Hohlraum eines gerade in der Arbeitsposition befindlichen Werkzeughalters eindringen und sich dann später auf dem Konus absetzen, der nach Beendigung des jeweiligen Bearbeitungs­schrittes wieder in den betreffenden Hohlraum zurückgeführt wird.
  • Besonders bevorzugt ist bei dieser Ausführungsform eine Varian­te, bei der der Deckel als Blech an einem verschwenkbaren Abschnitt des Greifarmes ausgebildet ist, wobei das Blech beim Verschwenken des Werkzeughalters von der Magazinposition in die Arbeitsposition mittels des Greifarmes selbsttätig in eine den Hohlraum verschließende Position verschwenkt wird.
  • Diese Maßnahme hat den besonderen Vorteil, daß keinerlei separate Betätigungsmittel vorgesehen werden müssen, um den Hohlraum zu verschließen, weil sich das Blech selbsttätig vor die Öffnung des Hohlraumes setzt, wenn der zugehörige Werkzeug­halter von der Magazinposition in die Arbeitsposition überführt wird. Dabei ist ferner von Vorteil, daß das Blech in vielfäl­tiger Weise ausgebildet werden kann, z.B. um auch weitere Aggregate in der Nähe der Werkzeugmaschine zu schützen.
  • Weitere Vorteile ergeben sich aus der Beschreibung und der beigefügten Zeichnung. Es versteht sich, daß die vorstehend genannten und die nachstehend noch zu erläuternden Merkmale nicht nur in der jeweils angegebenen Kombination, sondern auch in anderen Kombinationen oder in Alleinstellung verwendbar sind, ohne den Rahmen der vorliegenden Erfindung zu verlassen.
  • Ein Ausführungsbeispiel der Erfindung ist in der Zeichnung dargestellt und wird in der nachfolgenden Beschreibung näher erläutert. Es zeigen:
    • Fig. 1 eine Seitenansicht, teilweise im Schnitt, durch eine Werkzeugwechseleinrichtung einer erfindungs­gemäßen Werkzeugmaschine, mit einem in Magazinposi­tion befindlichen Werkzeughalter;
    • Fig. 2 eine Darstellung, ähnlich Fig. 1, jedoch für den Werkzeughalter in einer Zwischenposition;
    • Fig. 3 eine weitere Darstellung, ähnlich Fig. 1, jedoch für einen Werkzeughalter in Arbeitsposition;
    • Fig. 4 in vergrößertem Maßstab einen Ausschnitt aus Fig. 3 zur Erläuterung weiterer Einzelheiten der Erfindung;
    • Fig. 5 eine Draufsicht auf einen ersten Stab eines Greifers der Anordnungen gem. den Fig. 1 bis 4;
    • Fig. 6 eine Darstellung, ähnlich Fig. 5, jedoch betreffend einen weiteren Stab des Greifers.
  • In Fig. 1 bezeichnet 10 insgesamt eine erfindungsgemäße Werk­zeugmaschine, bei der ein Spindelstock eine rotierende Spindel 11 mit konusförmiger Aufnahme 12 aufweist.
  • Die Aufnahme 12 der Spindel 11 ist so ausgelegt, daß sie komplementär zu einem Konus 13 eines genormten Werkzeughalters 14 ausgebildet ist. Die Werkzeughalter 14 werden bei der Werkzeugmaschine 10 in einer Position gehalten, in der ihre Achse parallel zu einer Spindelachse 15 verläuft. Die Werkzeug halter 14 sind unterhalb des Konus 13 mit einem Ringflansch 16 versehen, an den sich nach unten ein Werkzeug, beispielsweise ein Bohrer oder ein Fräser anschließt.
  • Bei der Werkzeugmaschine 10 sind mehrere Werkzeughalter 14 um die Spindel 11 herum angeordnet und können jeweils einzeln aus der in Fig. 1 dargestellten Magazinposition der Werkzeug­halter 14 in eine Arbeitsposition in der Aufnahme 12 der Spindel 11 verschwenkt werden, wie dies weiter unten anhand der Fig. 2 und 3 noch erläutert werden wird.
  • Zum Einwechseln von Werkzeughaltern 14 in die Spindel 11 bzw. zum nachfolgenden Auswechseln ist ein Werkzeugwechsler vor­gesehen, der im wesentlichen aus einem fremdkraftbetätigten Greifarm 20 besteht. der Greifarm 20 geht nach unten in einen Greifer 21 über, der den Werkzeughalter 14 im Bereich des Ringflansches 16 ergreift. Der Greifer 21 ist dabei bevorzugt so ausgelegt, daß der Werkzeughalter 14 drehbar in ihm gehalten ist, so daß der Greifer 21 auch in der Arbeitsposition des Werkzeughalters 14 an diesem verbleibt, um auf diese Weise die Werkzeugwechselzeiten zu reduzieren.
  • Um die vertikalachsige Ausrichtung der Werkzeughalter 14 in jeder Phase des Werkzeughechselvorganges beizubehalten, ist der Greifer 21 Teil einer Parallelogrammführung, die darüber­hinaus aus einem ersten Stab 22 sowie einem dazu parallelen zweiten Stab 23 besteht. Die Stäbe 22, 23 sind am Greifer 21 mittels einer ersten Achse 24 bzw. einer zweiten Achse 25 unter ihren jeweils entgegengesetzten Enden in einer dritten Achse 26 bzw. einer vierten Achse 27 gelagert. Die Achsen 24 bis 27 verlaufen senkrecht zur Zeichenebene der Fig. 1.
  • Die dritte Achse 26 und die vierte Achse 27 befinden sich an einer Hülse 28, die die Spindel 11 umgibt. Die Hülse 28 ist in an sich bekannter Weise in der Vertikalen relativ zur Spindel 11 verschiebbar, wie mit einem Pfeil 29 angedeutet. Da die Spindel 11 gegenüber der Hülse 28 rotiert, ist im unteren Bereich der Hülse 28 ein Lager 30 zwischen Hülse 28 und Spindel 11 vorgesehen, das auf einer zylindrischen Oberfläche 31 der Spindel 11 läuft. Die Drehrichtung der Spindel 11 ist mit einem Pfeil 32 angedeutet. Der erste Stab 22 ist an seiner Unterseite mit einer Aussparung 33 versehen, deren Bedeutung in Bezug auf das Lager 30 weiter unten noch erläutert werden wird.
  • Zum Betätigen des Werkzeugwechslers ist an einem oberen Vor­sprung des zweiten Stabes 23 eine Kolben-Zylinder-Einheit 35 über eine fünfte Achse 36 angelenkt, die parallel zu den Achsen 24 bis 27 verläuft. Die Kolben-Zylinder-Einheit 35 besteht im wesentlichen aus einem Kolben 37, der an der fünften Achse 36 gelenkig angreift sowie aus einem Zylinder 38, der an seinem oberen Ende (in Fig. 1 nicht dargestellt) schwenkbar an einem radialen Vorsprung der Hülse 28 gelagert ist.
  • Fig. 1 zeigt den Werkzeughalter 14 in der Magazinposition in der der Kolben 37 in den Zylinder 38 vollkommen eingezogen ist. Auch die Hülse 28 befindet sich in ihrer oberen Endstellung relativ zur Spindel 11.
  • Die Stäbe 22, 23 befinden sich in der Magazinposition in etwa horizontaler Ausrichtung, wobei die Achsen 24, 25 etwas höher liegen als die Achsen 26, 27. In dieser Lage ist der Konus 13 des Werkzeughalters 14 in einen Hohlraum 40 eingeführt, der sich an der Unterseite eines radialen Vorsprunges der Hülse 28 befindet. Der Hohlraum 40 ist nach Art eines Köchers aus­gebildet und umgibt jeweils den Konus eines der mehreren Werkzeughalter 14.
  • Da der Werkzeughalter 14 unterhalb des Konus 13 in den radial vorspringenden Ringflansch 16 übergeht, ist der Hohlraum 40 bei eingesetztem Werkzeughalter 14 auch nach unten abgeschlos­sen. Dies bedeutet, daß der Konus 13 in der Magazinposition vollkommen abgedeckt ist. Wenn nun ein Werkzeug eines anderen Werkzeughalters, der gerade in die Spindelaufnahme 12 eingesetzt ist, an einem Werkstück arbeitet und ein Gemenge von Bohrwasser und Metallspänen bei hohen Spangeschwindigkeiten herumfliegt, so können sich keine Metallspäne auf dem Konus 13 der übrigen Werkzeughalter 14 absetzen, weil sich diese sämtlich in der Magazinposition befinden und im Hohlraum 40 abgedeckt gehalten werden. Wenn somit bei einem darauffolgenden Werkzeugwechsel ein anderer Werkzeughalter 14 mit seinem Konus 13 in die Spindelaufnahme 12 eingesetzt wird, besteht kein Risiko, daß ein auf dem Konus 13 kleben gebliebener Metallspan zwischen Konus 13 und Spindelaufnahme 12 eingeklemmt wird.
  • Fig. 2 zeigt eine Zwischenposition, in der der Kolben 37 nach unten aus dem Zylinder 38 ausgefahren wurde. Gleichzeitig wurde die Hülse 28 in Richtung des Pfeiles 29 nach unten verfahren. Infolgedessen nehmen die Stäbe 22, 23 eine nach links unten schräg geneigte Position ein. Durch die Absenkung der Hülse 28 befindet sich auch jetzt der Konus 13 des Werk­zeughalters 14 unterhalb der Unterkante der Spindel 11.
  • Wie Fig. 3 zeigt, ist die Anordnung so getroffen, daß bei weiterem Ausfahren des Kolbens 37 die Stäbe 22, 23 noch weiter nach unten verschwenkt werden, bis sie eine vertikale Endposi­tion erreichen, in der der Werkzeughalter 14 mit der Spin­delachse 15 fluchtet.
  • Wird nun die Hülse 28 in dieser Stellung wieder in Richtung des Pfeiles 29 nach oben verschoben, gelangt der Werkzeughalter 14 mit seinem Konus 13 in die Spindelaufnahme 12, so daß der Werkzeughalter 14 dort mit den üblichen Spannzangen oder dgl. arretiert werden kann.
  • Fig. 4 zeigt weitere Einzelheiten der Darstellung gemäß Fig. 3 und man erkennt zunächst, daß der Hohlraum 40 eine untere Öffnung 45 aufweist, die in der Arbeitsposition des zugehörigen Werkzeughalters an sich offen wäre, weil sie nun nicht mehr vom Ringflansch 16 verschlossen wird.
  • Um jedoch zu verhindern, daß Späne in den Hohlraum 40 gelangen können, ist am zweiten Stab 23 ein erstes Blech 46 oder ein entsprechendes Kunststoffteil vorgesehen das sich im wesent­lichen senkrecht zur Zeichenebene der Fig. 4 erstreckt. Das erste Blech 46 ist näherungsweise in Form eines Hohlzylinder­segmentes ausgebildet, dessen Längsachse mit der vierten Achse 27 zusammenfällt. Entsprechendes gilt für die Ausbildung der unteren Öffnung 45, so daß bei einer Drehung des zweites Stabes 23 um die vierte Achse 27 sich das erste Blech 46 möglichst dicht über die untere Öffnung 45 schiebt. In der in Fig. 4 dargestellten unteren Extremstellung des zweiten Stabes 23 wird die untere Öffnung 45 auf diese Weise vollkommen abgedeckt.
  • Es ist ferner am ersten Stab 22 ein ähnliches zweites Blech 47 vorgesehen, mit dem das Lager 30 nach unten abgedeckt wird.
  • Man erkennt ferner aus Fig. 4, daß das Lager 30 gerade in die Aussparung 33 des ersten Stabes 22 paßt, wenn dieser in der unteren Extremstellung ist.
  • Die Bleche 46, 47 dienen ferner als mechanische Aussteifung für Seitenteile, aus denen die Stäbe 22, 23 bestehen.
  • So zeigt Fig. 5 für den ersten Stab 22, daß dieser aus zwei klappsymmetrisch angeordneten Seitenteilen 50, 51 besteht, die an ihren Enden in den Achsen 24, 26 zusammengefaßt sind. Das zweite Blech 47 erstreckt sich zwischen diesen Seitenteilen 50, 51 und steift diese aus, wobei am zweiten Blech 57 eine entsprechende kreisbogenförmige Aussparung vorgesehen ist. Es kann ferner zwischen den Seitenteilen 50, 51 ein erster Halter 52 vorgesehen sein, um ein Verkippen des Werkzeughalters 14 zu verhindern.
  • Fig. 6 zeigt in entsprechender Weise Seitenteile 60, 61 des zweiten Stabes 23. Das erste Blech 46, das nun senkrecht zur Zeichenebene der Fig. 6 verläuft, dient ebenfalls als Aussparung zwischen den Blechen 60, 61. Auch hier ist wiederum ein Halter 62 vorgesehen, um ein Verkippen des Werkzeughalters 14 zu verhindern.

Claims (6)

1. Werkzeugmaschine mit einer rotierenden Spindel (11) und mit einer Mehrzahl von Werkzeughaltern (14), die einen Konus (13) aufweisen und mittels eines Greifarmes (20) aus einer von der Spindel (11) beabstandeten Magazinposition jeweils einzeln mit dem Konus (13) in eine Arbeitsposition in der Spindel (11) einsetzbar sind, während die übrigen Werkzeughalter (14) in der Magazinposition verbleiben, dadurch gekennzeichnet, daß die Werkzeughalter (14) in der Magazinposition in einen Hohlraum (40) eingeführt sind, der mindestens für die Konusse (13) eine geschlossene Abdeckung bildet.
2. Werkzeugmaschine nach Anspruch 1, dadurch gekennzeichnet, daß die Werkzeughalter (14) auf ihrem Weg zwischen Magazinposition und Arbeitsposition im wesentlichen vertikalachsig gehalten sind und daß der Hohlraum (40) als nach unten geöffneter Köcher ausgebildet ist.
3. Werkzeugmaschine nach Anspruch 1 oder 2, dadurch gekenn­zeichnet, daß die Greifarme (20) um die Spindel (11) herum verteilt angeordnet und gemeinsam an einer relativ zur Spindel (11) in Richtung der Spindelachse (15) verschiebbaren Hülse (28) befestigt sind, und daß die Hülse (28) mit dem Hohlraum (40) versehen ist.
4. Werkzeugmaschine nach einem oder mehreren der Ansprüche 1 bis 3, dadurch gekennzeichnet, daß jedem Werkzeughalter (14) ein separater Hohlraum (40) zugeordnet ist.
5. Werkzeugmaschine nach einem oder mehreren der Ansprüche 1 bis 4, dadurch gekennzeichnet, daß ein Deckel vor­gesehen ist, um den Hohlraum (40) zu verschließen, wenn sich der zugehörige Werkzeughalter (14) in der Arbeitsposition befindet.
6. Werkzeugmaschine nach Anspruch 5, dadurch gekennzeichnet, daß der Deckel als Blech (46) an einem verschwenkbaren Abschnitt des Greifarmes (20) ausgebildet ist und daß das Blech (46) beim Verschwenken des Werkzeughalters (14) von der Magazinposition in die Arbeitsposition mittels des Greifarmes (20) selbsttätig in eine den Hohlraum (40) verschließende Position verschwenkt wird.
EP89115227A 1988-08-27 1989-08-18 Werkzeugmaschine Expired - Lifetime EP0356830B1 (de)

Applications Claiming Priority (2)

Application Number Priority Date Filing Date Title
DE3829105A DE3829105A1 (de) 1988-08-27 1988-08-27 Werkzeugmaschine
DE3829105 1988-08-27

Publications (3)

Publication Number Publication Date
EP0356830A2 true EP0356830A2 (de) 1990-03-07
EP0356830A3 EP0356830A3 (en) 1990-08-08
EP0356830B1 EP0356830B1 (de) 1993-02-24

Family

ID=6361708

Family Applications (1)

Application Number Title Priority Date Filing Date
EP89115227A Expired - Lifetime EP0356830B1 (de) 1988-08-27 1989-08-18 Werkzeugmaschine

Country Status (5)

Country Link
US (1) US4930208A (de)
EP (1) EP0356830B1 (de)
JP (1) JP2711908B2 (de)
DE (2) DE3829105A1 (de)
ES (1) ES2039777T3 (de)

Cited By (3)

* Cited by examiner, † Cited by third party
Publication number Priority date Publication date Assignee Title
EP0481276A1 (de) * 1990-10-09 1992-04-22 Chiron-Werke GmbH & Co. KG Werkzeugmaschine
US5947877A (en) * 1997-12-19 1999-09-07 Wei; Sun Ho Tool shift device in a computer machine
CN106493597A (zh) * 2015-09-07 2017-03-15 德马吉森精机株式会社 机床

Families Citing this family (9)

* Cited by examiner, † Cited by third party
Publication number Priority date Publication date Assignee Title
DE4329252A1 (de) * 1993-08-31 1995-03-02 Chiron Werke Gmbh Werkzeugmaschine
JPH0731250U (ja) * 1993-11-24 1995-06-13 浜井産業株式会社 マシニングセンタ
JPH07237070A (ja) * 1994-02-28 1995-09-12 Sumisho Wadoo Kk 工具交換装置
DE19616431C2 (de) * 1996-04-25 2001-05-03 Chiron Werke Gmbh Werkzeugmaschine mit in Magazinposition geneigt angeordneten Werkzeughaltern
US6416450B2 (en) * 1999-07-28 2002-07-09 Thermwood Corporation Machine tool with improved tool changer means
US6949057B2 (en) * 2003-09-02 2005-09-27 The Boeing Company Multi-function end effector
US8607392B1 (en) 2005-10-05 2013-12-17 Columbia Insurance Company Textile steamer assembly and method
JP6342534B2 (ja) * 2017-03-01 2018-06-13 株式会社吉野機械製作所 金型交換装置
BE1027041B1 (nl) 2019-02-08 2020-09-08 Nutrition Sciences Nv Samenstelling voor gebruik bij de behandeling van piscirickettsiose

Family Cites Families (14)

* Cited by examiner, † Cited by third party
Publication number Priority date Publication date Assignee Title
JPS5315229B2 (de) * 1974-02-26 1978-05-23
US4196506A (en) * 1976-09-07 1980-04-08 Giddings & Lewis, Inc. Tool changer machining center
JPS55120943A (en) * 1979-03-09 1980-09-17 Brother Ind Ltd Tool replacing device for machine tool
JPS5540375A (en) * 1979-04-09 1980-03-21 Kubota Ltd Flexible pipe with socket portion
US4499650A (en) * 1982-06-24 1985-02-19 Kentner B. Wilson Automatic tool changer
DE3376473D1 (en) * 1982-09-13 1988-06-09 Chiron Werke Gmbh Machine tool with tool magazine
DE3233934C2 (de) * 1982-09-13 1986-10-23 Chiron-Werke Gmbh, 7200 Tuttlingen Werkzeugmaschine mit Werkzeugmagazin
FR2547230A1 (fr) * 1983-06-09 1984-12-14 Moulin Georges Dispositif changeur automatique d'outils, notamment pour machines-outils
JPS60155338A (ja) * 1984-01-20 1985-08-15 Brother Ind Ltd 工作機械
DE3447706A1 (de) * 1984-12-28 1986-07-03 Maho Werkzeugmaschinenbau Babel & Co, 8962 Pfronten Werkzeugmagazin
JPS6219337A (ja) * 1985-07-18 1987-01-28 Yamazaki Mazak Corp 工具収納交換方法
DE3542506A1 (de) * 1985-12-02 1987-06-04 Kloeckner Humboldt Deutz Ag Bearbeitungseinrichtung fuer werkstuecke
DE3627515C1 (de) * 1986-08-13 1987-12-03 Maho Ag Werkzeugmagazin fuer insbesondere Fraes- und Bohrmaschinen
DE8716734U1 (de) * 1987-12-18 1988-02-04 Klarer, Christoph, 8028 Taufkirchen Schutzhaube für eine Werkzeug-Aufnahme

Cited By (3)

* Cited by examiner, † Cited by third party
Publication number Priority date Publication date Assignee Title
EP0481276A1 (de) * 1990-10-09 1992-04-22 Chiron-Werke GmbH & Co. KG Werkzeugmaschine
US5947877A (en) * 1997-12-19 1999-09-07 Wei; Sun Ho Tool shift device in a computer machine
CN106493597A (zh) * 2015-09-07 2017-03-15 德马吉森精机株式会社 机床

Also Published As

Publication number Publication date
EP0356830B1 (de) 1993-02-24
DE3829105A1 (de) 1990-03-08
DE58903598D1 (de) 1993-04-01
EP0356830A3 (en) 1990-08-08
JP2711908B2 (ja) 1998-02-10
US4930208A (en) 1990-06-05
JPH0283135A (ja) 1990-03-23
DE3829105C2 (de) 1992-08-27
ES2039777T3 (es) 1993-10-01

Similar Documents

Publication Publication Date Title
DE3410913A1 (de) Werkzeugmaschine zur mechanischen und laserstrahl-bearbeitung eines werkstuecks
EP1016497A2 (de) Werkzeugmaschine
DE3242439C2 (de) Werkzeugwechseleinrichtung
EP0356830A2 (de) Werkzeugmaschine
DE3032405A1 (de) Raeumvorrichtung fuer hohlwellen
EP0901862A2 (de) Räummaschine
DE102004031066A1 (de) Werkzeugmaschine mit mindestens einer Arbeitsspindel
DE8126751U1 (de) Doppelständer-Portalschleifmaschine
DE4031997C2 (de)
DE19724635A1 (de) Werkzeugmaschine mit Werkzeugauswechselvorrichtung
EP0142749B1 (de) Werkzeugwechseleinrichtung für eine Vielspindelwerkzeugmaschine
DE3618959A1 (de) Werkzeugmaschine zum spanabhebenden bearbeiten von werkstuecken
EP0097271A1 (de) Kurbelwellenfräsmaschine
DE1477429B2 (de) Werkzeugmaschine mit automatischem Werkzeugwechsel
DE4315997C2 (de) Bearbeitungsmaschine für plattenförmige Werkstücke
EP0811460A1 (de) Werkzeugmaschine
DE2757140A1 (de) Schutzvorrichtung sowie mit dieser ausgeruestete bohrmaschine
DE102010007890B4 (de) Werkzeugmaschine zum Bearbeiten von schlanken Werkstücken
EP0092673A2 (de) Grundaufnahme zur Aufnahme von Systemwerkzeugen bei Drehmaschinen
DE3717016A1 (de) Werkzeugmaschine mit vertikaler arbeitsspindel und werkzeugwechselvorrichtung
DE8708770U1 (de) Werkzeugaufnahme
DE3336232A1 (de) Automatische werkzeugwechsel-einrichtung fuer werkzeug-maschinen
DE3814674A1 (de) Bohreinrichtung
DE2319093C3 (de) Automatische Burstenherstellungsmaschine
DE2005111C3 (de) Vorrichtung zur Bearbeitung von Schienenbefestigungs eilen, insbesondere Schwellendübeln

Legal Events

Date Code Title Description
PUAI Public reference made under article 153(3) epc to a published international application that has entered the european phase

Free format text: ORIGINAL CODE: 0009012

AK Designated contracting states

Kind code of ref document: A2

Designated state(s): CH DE ES FR GB IT LI SE

PUAL Search report despatched

Free format text: ORIGINAL CODE: 0009013

AK Designated contracting states

Kind code of ref document: A3

Designated state(s): CH DE ES FR GB IT LI SE

17P Request for examination filed

Effective date: 19901220

17Q First examination report despatched

Effective date: 19910726

RTI1 Title (correction)
GRAA (expected) grant

Free format text: ORIGINAL CODE: 0009210

AK Designated contracting states

Kind code of ref document: B1

Designated state(s): CH DE ES FR GB IT LI SE

PG25 Lapsed in a contracting state [announced via postgrant information from national office to epo]

Ref country code: SE

Effective date: 19930224

ITF It: translation for a ep patent filed
REF Corresponds to:

Ref document number: 58903598

Country of ref document: DE

Date of ref document: 19930401

ET Fr: translation filed
GBT Gb: translation of ep patent filed (gb section 77(6)(a)/1977)

Effective date: 19930526

PG25 Lapsed in a contracting state [announced via postgrant information from national office to epo]

Ref country code: CH

Effective date: 19930831

Ref country code: LI

Effective date: 19930831

REG Reference to a national code

Ref country code: ES

Ref legal event code: FG2A

Ref document number: 2039777

Country of ref document: ES

Kind code of ref document: T3

PLBE No opposition filed within time limit

Free format text: ORIGINAL CODE: 0009261

STAA Information on the status of an ep patent application or granted ep patent

Free format text: STATUS: NO OPPOSITION FILED WITHIN TIME LIMIT

26N No opposition filed
REG Reference to a national code

Ref country code: CH

Ref legal event code: PL

REG Reference to a national code

Ref country code: GB

Ref legal event code: IF02

PGFP Annual fee paid to national office [announced via postgrant information from national office to epo]

Ref country code: FR

Payment date: 20020614

Year of fee payment: 14

PGFP Annual fee paid to national office [announced via postgrant information from national office to epo]

Ref country code: GB

Payment date: 20020730

Year of fee payment: 14

PG25 Lapsed in a contracting state [announced via postgrant information from national office to epo]

Ref country code: GB

Free format text: LAPSE BECAUSE OF NON-PAYMENT OF DUE FEES

Effective date: 20030818

GBPC Gb: european patent ceased through non-payment of renewal fee

Effective date: 20030818

PG25 Lapsed in a contracting state [announced via postgrant information from national office to epo]

Ref country code: FR

Free format text: LAPSE BECAUSE OF NON-PAYMENT OF DUE FEES

Effective date: 20040430

REG Reference to a national code

Ref country code: FR

Ref legal event code: ST

PGFP Annual fee paid to national office [announced via postgrant information from national office to epo]

Ref country code: ES

Payment date: 20070830

Year of fee payment: 19

PGFP Annual fee paid to national office [announced via postgrant information from national office to epo]

Ref country code: DE

Payment date: 20070920

Year of fee payment: 19

PGFP Annual fee paid to national office [announced via postgrant information from national office to epo]

Ref country code: IT

Payment date: 20070824

Year of fee payment: 19

PG25 Lapsed in a contracting state [announced via postgrant information from national office to epo]

Ref country code: DE

Free format text: LAPSE BECAUSE OF NON-PAYMENT OF DUE FEES

Effective date: 20090303

Ref country code: IT

Free format text: LAPSE BECAUSE OF NON-PAYMENT OF DUE FEES

Effective date: 20080818

REG Reference to a national code

Ref country code: ES

Ref legal event code: FD2A

Effective date: 20080819

PG25 Lapsed in a contracting state [announced via postgrant information from national office to epo]

Ref country code: ES

Free format text: LAPSE BECAUSE OF NON-PAYMENT OF DUE FEES

Effective date: 20080819