EP0347634B1 - Bekleidungsstück mit Ventilationsschichtmaterial - Google Patents

Bekleidungsstück mit Ventilationsschichtmaterial Download PDF

Info

Publication number
EP0347634B1
EP0347634B1 EP89110055A EP89110055A EP0347634B1 EP 0347634 B1 EP0347634 B1 EP 0347634B1 EP 89110055 A EP89110055 A EP 89110055A EP 89110055 A EP89110055 A EP 89110055A EP 0347634 B1 EP0347634 B1 EP 0347634B1
Authority
EP
European Patent Office
Prior art keywords
layer material
ventilation layer
garment according
air
garment
Prior art date
Legal status (The legal status is an assumption and is not a legal conclusion. Google has not performed a legal analysis and makes no representation as to the accuracy of the status listed.)
Expired - Lifetime
Application number
EP89110055A
Other languages
English (en)
French (fr)
Other versions
EP0347634A1 (de
Inventor
Thorger Hübner
Walter Bleimhofer
Current Assignee (The listed assignees may be inaccurate. Google has not performed a legal analysis and makes no representation or warranty as to the accuracy of the list.)
WL Gore and Associates GmbH
Original Assignee
WL Gore and Associates GmbH
Priority date (The priority date is an assumption and is not a legal conclusion. Google has not performed a legal analysis and makes no representation as to the accuracy of the date listed.)
Filing date
Publication date
Application filed by WL Gore and Associates GmbH filed Critical WL Gore and Associates GmbH
Publication of EP0347634A1 publication Critical patent/EP0347634A1/de
Application granted granted Critical
Publication of EP0347634B1 publication Critical patent/EP0347634B1/de
Anticipated expiration legal-status Critical
Expired - Lifetime legal-status Critical Current

Links

Images

Classifications

    • AHUMAN NECESSITIES
    • A42HEADWEAR
    • A42CMANUFACTURING OR TRIMMING HEAD COVERINGS, e.g. HATS
    • A42C5/00Fittings or trimmings for hats, e.g. hat-bands
    • A42C5/04Ventilating arrangements for head coverings
    • AHUMAN NECESSITIES
    • A41WEARING APPAREL
    • A41DOUTERWEAR; PROTECTIVE GARMENTS; ACCESSORIES
    • A41D27/00Details of garments or of their making
    • A41D27/28Means for ventilation
    • AHUMAN NECESSITIES
    • A41WEARING APPAREL
    • A41DOUTERWEAR; PROTECTIVE GARMENTS; ACCESSORIES
    • A41D31/00Materials specially adapted for outerwear
    • AHUMAN NECESSITIES
    • A42HEADWEAR
    • A42CMANUFACTURING OR TRIMMING HEAD COVERINGS, e.g. HATS
    • A42C5/00Fittings or trimmings for hats, e.g. hat-bands
    • A42C5/02Sweat-bands

Definitions

  • the invention relates to clothing with an essentially air-impermeable outer skin.
  • the first example is rain jackets or raincoats with a waterproof and airtight outer layer.
  • Such items of clothing are often lined with a textile lining. If the outer layer of the garment is not permeable to air and water, the moisture cannot escape to the outside, but is absorbed by the lining. Since the lining is not ventilated due to the air impermeability of the outer layer of the garment, the lining cannot dry but becomes sweaty, which leads to an uncomfortable feeling and causes a feeling of cold.
  • a ventilation layer material which is arranged within a waterproof garment at those places where condensation often occurs, for example on upper back and over the arms.
  • the ventilation layer material should be a relatively open-woven textile material with an uneven surface. When perspiration is high, the sweat builds up under the outer skin, penetrates through the ventilation layer material and wets the skin of the wearer, which causes an uncomfortable feeling.
  • the object of the invention is therefore to provide a piece of clothing with an essentially air-impermeable outer skin which does not have the disadvantages mentioned in the prior art or only has them to a substantially reduced extent.
  • ventilation layer material is arranged according to the invention between the side of the functional layer facing away from the body and the air-impermeable outer material, the air supply to the outside of the functional layer is made possible and the body moisture is removed as a result of the ventilation effect.
  • this ventilation layer material has air ducts which conduct in the longitudinal direction and air ducts which are connected to it and which extend in the transverse direction to at least one of its surfaces, air can reach all areas lined with the ventilation layer material. This can evaporate and dissipate sweat moisture.
  • the ventilation effect is often increased by the fact that the item of clothing provided with the ventilation layer material is frequently moved during its use, which leads to a pumping effect in the ventilation layer material, by means of which the ventilation behavior is increased.
  • the orientation of the ventilation layer material is expediently such that the longitudinal air guide channels are directed along the item of clothing to an open area of the item of clothing which is not in contact with the body, while the Cross air ducts are directed towards the body surface.
  • the ventilation layer material can be structured entirely differently, for example open-pore, rib-like, nubbed, provided with webs, three-dimensional in a network or the like. It is only important that longitudinal air guiding channels and transverse air guiding channels connected to them are formed up to at least one surface.
  • Applications of the ventilation layer material according to the invention are in particular stockings, hats, caps, raincoats, rain jackets and rain pants.
  • the ventilation layer material has other advantages.
  • One such advantage is the cushioning effect, which can be very pleasant in the case of hats, helmets and hats, for example.
  • Another advantage is the achievement of a flexible stiffening to prevent lumpiness, for example a hat, which then better maintains its desired shape.
  • the ventilation layer material should be pressure-stable. That is, it is intended to withstand the pressure load that is provided with the ventilation layer material in normal use Garment occurs, do not lose its ventilation function. This means that at such a normal loading pressure the air ducts should retain their shape to such an extent that they can still conduct sufficient ventilation air.
  • the ventilation layer material can be made of a suitable plastic.
  • suitable plastic examples include polyamide, polypropylene and polyester, in monofilament or multifilament form, woven or knitted, or in the form of reticulated foam made from such a material.
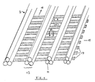
  • FIG. 1 shows an exemplary embodiment of a ventilation layer material that can be used according to the invention in a schematic, greatly enlarged manner.
  • three delta-shaped longitudinal webs 13 each form a spacer 11.
  • a plurality of spacers 11, which are arranged essentially parallel and at a distance from one another, are provided on their underside by means of a plurality of transverse webs which run transversely with respect to the spacers 11, are spaced apart and essentially parallel to one another 17 connected.
  • the spaces between two adjacent spacers 11 form longitudinal air guiding channels 19.
  • Connected therewith are transverse air guiding channels 21, 23, wherein the transverse air guiding channels 23 are likewise formed by the spaces between the spacers 11 and air flowing through the longitudinal air guiding channels 19 to that in FIG.
  • the transverse air guide channels 21 are formed by the gaps between the transverse webs 17 and flow through the longitudinal air guide channels 19 Air to the lower side of the ventilation layer material in FIG. 1. Moisture that forms below or above the ventilation layer material can be removed via the transverse air guide channels 21 or 23 and the longitudinal air guide channels 19.
  • FIG. 2 A schematic, partial cross-sectional representation of the layer structure of a raincoat is shown in FIG. 2. From the outside to the body side, the raincoat has a waterproof, water vapor-impermeable outer material 31, a ventilation layer material 3 and a lining material 33.
  • the ventilation layer material 3 is oriented in such a way that its longitudinal guide air channels lead to a free end or end region of the raincoat or at least to an area of the raincoat that is not in contact with the body during normal wear.
  • the associated transverse air guide channels are directed towards the lining material 33 and thus towards the body side.
  • the shoulder, chest and back area of a raincoat will be lined with ventilation layer material 3.

Landscapes

  • Engineering & Computer Science (AREA)
  • Textile Engineering (AREA)
  • Details Of Garments (AREA)
  • Outer Garments And Coats (AREA)
  • Professional, Industrial, Or Sporting Protective Garments (AREA)
  • Helmets And Other Head Coverings (AREA)
  • Woven Fabrics (AREA)
  • Acyclic And Carbocyclic Compounds In Medicinal Compositions (AREA)

Description

  • Die Erfindung betrifft Bekleidungsstücke mit im wesentlichen luftundurchlässiger Außenhaut.
  • Man kommt häufig mit atmungsaktiven oder atmungsschwachen Materialien direkt oder indirekt in Berührung, was an der entsprechenden Körperstelle zur Bildung von Schweißfeuchtigkeit führt.
  • Als erstes Beispiel seien Regenjacken oder Regenmäntel mit einer wasser- und luftdichten Außenschicht betrachtet. Solche Bekleidungsstücke sind häufig mit einem Textilfutter ausgekleidet. Mangels Luft- und Wasserdurchlässigkeit der Außenschicht des Bekleidungsstückes kann die Feuchtigkeit nicht nach außen entweichen, sondern wird vom Futter aufgenommen. Da das Futter wegen der Luftundurchlässigkeit der Außenschicht des Bekleidungsstückes nicht belüftet wird, kann das Futter nicht trocknen, sondern wird schweißfeucht, was zu einem unangenehmen Tragegefühl führt und Kältegefühl hervorruft.
  • Als zweites Beispiel seien Hüte, Helme und Mützen betrachtet, die mit luftundurchlässiger Außenschicht versehen sind. Auch in diesem Fall entsteht während des Tragens Schweißfeuchtigkeit, die nicht nach außen abgegeben werden kann, sondern zum Feuchtwerden des am Kopf anliegenden Bereichs des Hutes, des Helms oder der Mütze führt. Auch in diesem Fall ergeben sich wieder unangenehme Trageeigenschaften, insbesondere Kältegefühl.
  • Aus der Druckschrift GB-A-102 632, die den dem Gegenstand der Erfindung am nächsten kommenden Stand der Technik zeigt, ist ein Ventilationsschichtmaterial bekannt, das innerhalb eines wasserdichten Kleidungsstückes an solchen Stellen angeordnet ist, an denen es häufig zu Kondensation kommt, beispielsweise am oberen Rückenbereich und über den Armen. Das Ventilationsschichtmaterial soll ein relativ offengewebtes Textilmaterial mit unebener Oberfläche sein. Bei hoher Transpirationsleistung staut sich die Schweißflüssigkeit unter der Außenhaut, dringt durch das Ventilationsschichtmaterial nach innen und benetzt die Haut des Trägers, was ein unangenehmes Tragegefühl hervorruft.
  • In der Textilindustrie ist der Gebrauch einer wasserundurchlässigen und wasserdampfdurchlässigen mikroporösen Funktionsschicht verbreitet, wie sie in jüngerer Zeit für wasserdichte, aber dennoch atmungsaktive Bekleidungsstücke verwendet wird. Eine solche Funktionsschicht eröffnet zwar die Möglichkeit, daß Körperfeuchtigkeit durch die Funktionsschicht hindurch abgeführt werden kann. Wenn sich aber jenseits der Funktionsschicht nur luftundurchlässiges Material befindet, kann diese Feuchtigkeit nicht weitergeführt werden und staut sich somit, was dazu führen kann, daß die Körperfeuchtigkeit nicht vom Körper weggeführt wird.
  • Aufgabe der Erfindung ist es daher, ein Bekleidungsstück mit im wesentlichen luftundurchlässiger Außenhaut vorzusehen, welches die im Stand der Technik genannten Nachteile nicht oder lediglich in wesentlich vermindertem Umfang aufweist.
  • Diese Aufgabe wird erfindungsgemäß gelöst durch ein Bekleidungsstück mit den im Patentanspruch 1 genannten Merkmalen.
  • Vorteilhafte Weiterbildungen der Erfindung sind in den Ansprüchen 2 bis 10 angegeben.
  • Ordnet man zwischen der vom Körper abgewandten Seite der Funktionsschicht und dem luftundurchlässigen Außenmaterial erfindungsgemäß Ventilationsschichtmaterial an, wird die Luftzufuhr zur Außenseite der Funktionsschicht ermöglicht und in Folge der Ventilationswirkung die Körperfeuchtigkeit abgeführt.
  • Dadurch, daß dieses Ventilationsschichtmaterial in Längsrichtung leitende Luftkanäle und damit in Verbindung stehende und in Querrichtung bis zu mindestens einer seiner Oberflächen reichende Luftkanäle aufweist, kann Luft an alle mit dem Ventilationsschichtmaterial ausgekleideten Bereiche herankommen. Dadurch kann Schwitzfeuchtigkeit verdunsten und abgeführt werden. Die Ventilationswirkung wird häufig dadurch erhöht, daß das mit dem Ventilationsschichtmaterial versehene Bekleidungsstück während seiner Benutzung häufig bewegt wird, was in dem Ventilationsschichtmaterial zu einer Pumpwirkung führt, durch welche das Ventilationsverhalten erhöht wird.
  • Die Ausrichtung des Ventilationsschichtmaterials ist zweckmäßigerweise derart, daß die Längsluftleitkanäle am Bekleidungsstück entlang zu einem offenen oder nicht am Körper anliegenden Bereich des Bekleidungsstückes gerichtet sind, während die Querluftleitkanäle zur Körperfläche hin gerichtet sind.
  • Das Ventilationsschichtmaterial kann gänzlich verschieden strukturiert sein, beispielsweise offenporig, rippenartig, genoppt, mit Stegen versehen, netzartig dreidimensional oder dergleichen. Wichtig ist nur, daß dabei Längsluftleitkanäle und mit diesen in Verbindung stehende Querluftleitkanäle bis zu mindestens einer Oberfläche hin entstehen. Anwendungsmöglichkeiten des erfindungsgemäßen Ventilationsschichtmaterials sind insbesondere Strümpfe, Hüte, Mützen, Regenmäntel, Regenjacken und Regenhosen.
  • Bei vielen Bekleidungsstücken kann es schon zu einer erheblichen Verbesserung der Tragfähigkeit führen, wenn sie nur teilweise mit dem Ventilationsschichtmaterial ausgekleidet sind, beispielsweise bei Regenmänteln im Schulterbereich, bei Regenhosen im Knie-, Bund- und Schrittbereich, bei Hüten, Helmen und Mützen im Kopfberührungsbereich, bei Strümpfen im Sohlen- und Fußbereich.
  • Neben der Ventilationswirkung hat das Ventilationsschichtmaterial noch weitere Vorteile. Ein solcher Vorteil ist die Polsterwirkung, die beispielsweise im Fall von Hüten, Helmen und Mützen sehr angenehm sein kann. Ein anderer Vorteil ist die Erzielung einer flexiblen Versteifung zur Verhinderung von Lappigkeit beispielsweise einer Mütze, die dann besser ihre gewünschte Form einhält.
  • Das Ventilationsschichtmaterial soll in gewissem Umfang druckstabil sein. Das heißt, es soll bei der Druckbelastung, die bei normaler Verwendung des mit dem Ventilationsschichtmaterial versehenen Bekleidungsstückes auftritt, seine Ventilationsfunktion nicht verlieren. Das heißt, bei einem solchen Normalbelastungsdruck sollen die Luftkanäle noch soweit ihre Form bewahren, daß sie noch ausreichend Ventilationsluft leiten können.
  • Das Ventilationsschichtmaterial kann aus geeignetem Kunststoff hergestellt sein. Beispiele hierfür sind Polyamid, Polypropylen und Polyester, in Monofilamentform oder in Multifilamentform, gewebt oder geraschelt, oder auch in Form von retikuliertem Schaumstoff aus derartigem Material.
  • Die Erfindung wird nun anhand von Ausführungsformen näher erläutert. In den Zeichnungen zeigen:
  • Fig. 1
    eine Ausführungsform eines erfindungsgemäßen Ventilationsschichtmaterials; und
    Fig. 2
    eine schematische, ausschnittsweise Querschnittdarstellung durch den Schichtenaufbau eines Regenmantels.
  • In Fig. 1 ist in schematischer, stark vergrößerter Weise ein Ausführungsbeispiel für ein erfindungsgemäß verwendbares Ventilationsschichtmaterial dargestellt. Dabei bilden je drei deltaförmig gebündelte Längsstege 13 einen Abstandshalter 11. Eine Vielzahl im wesentlichen parallel und mit Abstand voneinander angeordneter Abstandshalter 11 ist auf ihrer Unterseite mittels einer Vielzahl von bezüglich der Abstandshalter 11 quer verlaufenden, im Abstand voneinander angeordneten und im wesentlichen parallel zueinander verlaufenden Querstegen 17 verbunden. Die Zwischenräume zwischen je zwei benachbarten Abstandshaltern 11 bilden Längsluftleitkanäle 19. Damit in Verbindung stehen Querluftleitkanäle 21, 23, wobei die Querluftleitkanäle 23 ebenfalls durch die Zwischenräume zwischen den Abstandshaltern 11 gebildet sind und durch die Längsluftleitkanäle 19 strömende Luft zu der in Fig. 1 oberhalb der Abstandshalter 11 befindlichen Ebene leiten. Die Querluftleitkanäle 21 sind durch die Zwischenräume zwischen den Querstegen 17 gebildet und leiten durch die Längsluftleitkanäle 19 ströwende Luft zu der in Fig. 1 unteren Seite des Ventilationsschichtmaterials. Feuchtigkeit, die sich unterhalb oder oberhalb des Ventilationsschichtmaterials bildet, kann über die Querluftleitkanäle 21 oder 23 und die Längsluftleitkanäle 19 abgeführt werden.
  • Eine schematische, ausschnittsweise Querschnittsdarstellung des Schichtenaufbaus eines Regenmantels ist in Fig. 2 gezeigt. Von der Außenseite zur Körperseite weist der Regenmantel ein wasserdichtes, wasserdampfundurchlässiges Außenmaterial 31, ein Ventilationsschichtmaterial 3 und ein Futtermaterial 33 auf. Das Ventilationsschichtmaterial 3 ist so orientiert, daß seine Längsleitluftkanäle zu einem freien Ende oder Endbereich des Regenmantels führen oder mindestens zu einem Bereich des Regenmantels, der bei normalem Tragen nicht am Körper anliegt. Die damit in Verbindung stehenden Querluftleitkanäle sind zum Futtermaterial 33 und damit zur Körperseite hin gerichtet.
  • Vorzugsweise wird man den Schulter-, Brust- und Rückenbereich eines Regenmantels mit Ventilationsschichtmaterial 3 auskleiden. Vorteilhaft kann es aber auch sein, das Ventilationsschichtmaterial 3 auf der Rückseite des Mantels zu seinem unteren Ende zu führen. Damit wird erreicht, daß für den Fall, daS der Regenmantel im Sitzen getragen wird, die Ventilatonsfunktion für alle Körperteile gegeben ist, an welche der Regenmantel beim Sitzen in einem Sitz gedrückt wird.

Claims (10)

  1. Bekleidungsstück mit luftundurchlässiger oder nur schwach luftdurchlässiger Schicht, insbesondere Außenhaut, z.B. gummierter Regenmantel, aufweisend eine mindestens teilweise Auskleidung mit flächigem, flexiblem, druckstabilem Ventilationsschichtmaterial (3), das Längsluftleitfähigkeit in Längserstreckungsrichtung und damit in Verbindung stehende Querluftleitfähigkeit zu mindestens einer seiner Oberflächen aufweist, und das derart druckstabil ist, daß die Längsluftleitfähigkeit und die damit in Verbindung stehende Querluftleitfähigkeit bei Normaldruckbelastungen, die beim normalen Gebrauch des mit dem Ventilationsschichtmaterial versehenen Bekleidungsstücks auftreten, aufrechterhalten bleiben, dadurch gekennzeichnet,
    daß auf der zum Körper eines Trägers weisenden Seite des Ventilationsschichtmaterials (3) eine wasserundurchlässige und wasserdampfdurchlässige mikroporöse Funktionsschicht angeordnet ist.
  2. Bekleidungsstück nach Anspruch 1, dadurch gekennzeichnet, daß Querluftleitfähigkeit zu den beiden Oberflächen des Ventilationsschichtmaterials (3) besteht.
  3. Bekleidungsstück nach Anspruch 1 oder 2, dadurch gekennzeichnet, daß die Längsluftleitfähigkeit durch Längsluftleitkanäle (19) und die Querluftleitfähigkeit durch Querluftleitkanäle (21, 23) bewirkt wird.
  4. Bekleidungsstück nach einem der Ansprüche 1 bis 3, dadurch gekennzeichnet, daß das Ventilationsschichtmaterial (3) eine porige Struktur mit sowohl in Querrichtung als auch in Längsrichtung offenen Poren aufweist.
  5. Bekleidungsstück nach einem der Ansprüche 1 bis 3, dadurch gekennzeichnet, daß das Ventilationsschichtmaterial (3) eine rippenartige Struktur mit im wesentlichen parallelen Rippen auf mindestens einer Oberfläche aufweist.
  6. Bekleidungsstück nach einem der Ansprüche 1 bis 3, dadurch gekennzeichnet, daß das Ventilationsschichtmaterial (3) mindestens auf einer Oberfläche mit im wesentlichen parallelen Stegen (13 und/oder 17) versehen ist.
  7. Bekleidungsstück nach einem der Ansprüche 1 bis 3, dadurch gekennzeichnet, daß das Ventilationsschichtmaterial (3) eine genoppte Struktur mit Noppen auf mindestens einer Oberfläche aufweist.
  8. Bekleidungsstück nach einem der Ansprüche 1 bis 3, dadurch gekennzeichnet, daß das Ventilationsschichtmaterial (3) als dreidimensionales Netzmaterial ausgebildet ist.
  9. Bekleidungsstück nach einem der Ansprüche 1 bis 8, dadurch gekennzeichnet, daß von der Gesamtdicke des Ventilationsschichtmaterials (3) ein Anteil im Bereich von etwa 10 - 90 %, vorzugsweise von etwa 60 - 80 %, für den Luftleitfähigkeitsquerschnitt vorgesehen ist.
  10. Bekleidungsstück nach einem der Ansprüche 1 bis 9, dadurch gekennzeichnet, daß das Ventilationsschichtmaterial (3) bei der Normal-Druckbelastung eine Mindestdicke von 1 mm aufweist.
EP89110055A 1988-06-13 1989-06-02 Bekleidungsstück mit Ventilationsschichtmaterial Expired - Lifetime EP0347634B1 (de)

Applications Claiming Priority (2)

Application Number Priority Date Filing Date Title
DE3820096 1988-06-13
DE3820096A DE3820096A1 (de) 1988-06-13 1988-06-13 Bekleidungsstueck mit ventilationsschichtmaterial

Publications (2)

Publication Number Publication Date
EP0347634A1 EP0347634A1 (de) 1989-12-27
EP0347634B1 true EP0347634B1 (de) 1995-10-11

Family

ID=6356453

Family Applications (1)

Application Number Title Priority Date Filing Date
EP89110055A Expired - Lifetime EP0347634B1 (de) 1988-06-13 1989-06-02 Bekleidungsstück mit Ventilationsschichtmaterial

Country Status (3)

Country Link
EP (1) EP0347634B1 (de)
AT (1) ATE128823T1 (de)
DE (2) DE3820096A1 (de)

Families Citing this family (9)

* Cited by examiner, † Cited by third party
Publication number Priority date Publication date Assignee Title
GB2274259B (en) * 1993-01-14 1996-09-04 Wavendon Textiles Ltd Composite fabric
DE9415040U1 (de) * 1994-09-16 1995-10-26 Mayser GmbH & Co, 88161 Lindenberg Schweißband für Kopfbedeckungen
RU2120218C1 (ru) * 1997-07-15 1998-10-20 Военно-медицинская академия Устройство для обеспечения вентиляции пододежного пространства
GB9719205D0 (en) * 1997-09-10 1997-11-12 Spink Andrew D Breatheable waterproof garment construction
IT1306681B1 (it) * 1999-07-06 2001-10-02 Nottington Holding Bv Struttura di capo traspirante da indossare per migliorare il comfortdel corpo umano.
DE20111640U1 (de) 2001-06-21 2001-09-13 Jaeger, Knut, 73230 Kirchheim Belüftungssystem für Bekleidung
EP1269874B1 (de) * 2001-06-21 2005-11-09 Knut Jaeger Bekleidung mit einem Belüftungssystem
DE10250664B4 (de) * 2002-10-31 2008-09-11 Ballonfabrik See- und Luftausrüstung GmbH & Co. KG Schutzanzug, insbesondere Seenotrettungsanzug für Piloten
DE102006024855A1 (de) * 2006-05-29 2007-12-06 Giambalvo, Salvatore, Dipl.-Ing. (FH) Abstands- und Durchlüftungs- Schicht (ADS)

Family Cites Families (12)

* Cited by examiner, † Cited by third party
Publication number Priority date Publication date Assignee Title
FR964002A (de) * 1950-08-01
GB102632A (en) * 1916-01-18 1916-12-21 Arthur George Pearson Improvements in or relating to Waterproof Garments.
GB423428A (en) * 1933-05-01 1935-02-01 Heinrich Pferdmenges Improved double ply woven fabric or stuff for garments
DE645811C (de) * 1935-03-12 1937-06-03 Heinrich Pferdmenges Kleider- und Waeschestoff
DE712549C (de) * 1938-04-03 1941-10-21 August Trautvetter Bekleidungsstoff
US2610496A (en) * 1949-12-27 1952-09-16 Emanuel A Kostopoulos Ventilating and insulating undershirt
US2884639A (en) * 1955-12-29 1959-05-05 Klepper Hans Lining for water-proof clothing
US3122754A (en) * 1960-07-12 1964-03-03 Wedin Agne Bertil Heat insulating and ventilating garment
US3710395A (en) * 1971-10-29 1973-01-16 Us Army Air distribution garment
US3783451A (en) * 1972-12-20 1974-01-08 E Malin Insect protective garment
US4435015A (en) * 1980-04-10 1984-03-06 Trotman Helen H Underbody cushioning and ventilating structure and general utility formed plastic sheet
US4451934A (en) * 1981-10-16 1984-06-05 Gioello Debbie A Ribbed ventilating undergarment for protective garments

Also Published As

Publication number Publication date
DE3820096A1 (de) 1989-12-21
DE58909462D1 (de) 1995-11-16
ATE128823T1 (de) 1995-10-15
EP0347634A1 (de) 1989-12-27

Similar Documents

Publication Publication Date Title
DE3237713C2 (de)
EP2326191B1 (de) Schutzelement für radfahrerhosen
EP1269874B1 (de) Bekleidung mit einem Belüftungssystem
EP0350611B1 (de) Schuhwerk mit Ventilationsschichtmaterial
DE69811915T2 (de) Wasserbeständiges atmungsfähiges bekleidungsstück
EP2763561B1 (de) Verbundstoff mit verbesserter feuchtigkeitsableitung
EP0347634B1 (de) Bekleidungsstück mit Ventilationsschichtmaterial
DE4200825A1 (de) Sitzaufbau
DE29505761U1 (de) Tieftemperatur-Schutzkleidung
DE20312010U1 (de) Kleidungsstück zum Schutz des Oberkörpers
EP0686498B1 (de) Verbundstoff und seine Verwendung in Schuhwerken
EP2445368B2 (de) Schuh und kleidungsstück mit verbesserter atmungsaktivität
DE112013003914T5 (de) Schutzkleidung mit elastischer Wärmedämmung
EP1425200B1 (de) Sitzbezug für einen fahrzeugsitz
AT521460B1 (de) Funktionswäsche
DE202017101337U1 (de) Mehrschichtiges textiles Verbundmaterial und Satteldecke sowie Liegedecke
DE60222250T2 (de) Zellulares kunststoffmaterial
EP0346686B1 (de) Handschuh mit Ventilationsschichtmaterial
AT405397B (de) Satteldecke
DE20003097U1 (de) Flammhemmendes dreidimensionales textiles Maschengebilde
DE2835412A1 (de) Mehrlagiger stoff und verfahren zu seiner herstellung
WO2001055500A1 (de) Textile fläche
EP4104699B1 (de) Schutzbekleidungsstück
DE2806906C2 (de) Verstärktes Textilgewebe
WO2025256919A1 (de) Schutzbekleidungsstück, insbesondere feuerwehrjacke, -hose, -weste oder -overall

Legal Events

Date Code Title Description
PUAI Public reference made under article 153(3) epc to a published international application that has entered the european phase

Free format text: ORIGINAL CODE: 0009012

AK Designated contracting states

Kind code of ref document: A1

Designated state(s): AT BE CH DE ES FR GB GR IT LI LU NL SE

17P Request for examination filed

Effective date: 19900206

17Q First examination report despatched

Effective date: 19910717

GRAA (expected) grant

Free format text: ORIGINAL CODE: 0009210

RAP1 Party data changed (applicant data changed or rights of an application transferred)

Owner name: W.L. GORE & ASSOCIATES GMBH

AK Designated contracting states

Kind code of ref document: B1

Designated state(s): AT BE CH DE ES FR GB GR IT LI LU NL SE

PG25 Lapsed in a contracting state [announced via postgrant information from national office to epo]

Ref country code: GR

Free format text: LAPSE BECAUSE OF FAILURE TO SUBMIT A TRANSLATION OF THE DESCRIPTION OR TO PAY THE FEE WITHIN THE PRESCRIBED TIME-LIMIT

Effective date: 19951011

Ref country code: ES

Free format text: THE PATENT HAS BEEN ANNULLED BY A DECISION OF A NATIONAL AUTHORITY

Effective date: 19951011

REF Corresponds to:

Ref document number: 128823

Country of ref document: AT

Date of ref document: 19951015

Kind code of ref document: T

ITF It: translation for a ep patent filed
REF Corresponds to:

Ref document number: 58909462

Country of ref document: DE

Date of ref document: 19951116

GBT Gb: translation of ep patent filed (gb section 77(6)(a)/1977)

Effective date: 19951114

ET Fr: translation filed
PG25 Lapsed in a contracting state [announced via postgrant information from national office to epo]

Ref country code: LU

Free format text: LAPSE BECAUSE OF NON-PAYMENT OF DUE FEES

Effective date: 19960630

PLBE No opposition filed within time limit

Free format text: ORIGINAL CODE: 0009261

STAA Information on the status of an ep patent application or granted ep patent

Free format text: STATUS: NO OPPOSITION FILED WITHIN TIME LIMIT

26N No opposition filed
REG Reference to a national code

Ref country code: GB

Ref legal event code: IF02

REG Reference to a national code

Ref country code: CH

Ref legal event code: PFA

Owner name: W. L. GORE & ASSOCIATES GMBH

Free format text: W. L. GORE & ASSOCIATES GMBH#HERMANN-OBERTH-STRASSE 22#D-85636 PUTZBRUNN (DE) -TRANSFER TO- W. L. GORE & ASSOCIATES GMBH#HERMANN-OBERTH-STRASSE 22#D-85636 PUTZBRUNN (DE)

PGFP Annual fee paid to national office [announced via postgrant information from national office to epo]

Ref country code: CH

Payment date: 20080630

Year of fee payment: 20

PGFP Annual fee paid to national office [announced via postgrant information from national office to epo]

Ref country code: AT

Payment date: 20080521

Year of fee payment: 20

PGFP Annual fee paid to national office [announced via postgrant information from national office to epo]

Ref country code: IT

Payment date: 20080626

Year of fee payment: 20

PGFP Annual fee paid to national office [announced via postgrant information from national office to epo]

Ref country code: NL

Payment date: 20080624

Year of fee payment: 20

Ref country code: DE

Payment date: 20080731

Year of fee payment: 20

PGFP Annual fee paid to national office [announced via postgrant information from national office to epo]

Ref country code: FR

Payment date: 20080617

Year of fee payment: 20

PGFP Annual fee paid to national office [announced via postgrant information from national office to epo]

Ref country code: GB

Payment date: 20080627

Year of fee payment: 20

PGFP Annual fee paid to national office [announced via postgrant information from national office to epo]

Ref country code: SE

Payment date: 20080627

Year of fee payment: 20

Ref country code: BE

Payment date: 20080730

Year of fee payment: 20

REG Reference to a national code

Ref country code: CH

Ref legal event code: PL

REG Reference to a national code

Ref country code: GB

Ref legal event code: PE20

Expiry date: 20090601

BE20 Be: patent expired

Owner name: W.L. *GORE & ASSOCIATES G.M.B.H.

Effective date: 20090602

PG25 Lapsed in a contracting state [announced via postgrant information from national office to epo]

Ref country code: NL

Free format text: LAPSE BECAUSE OF EXPIRATION OF PROTECTION

Effective date: 20090602

NLV7 Nl: ceased due to reaching the maximum lifetime of a patent

Effective date: 20090602

EUG Se: european patent has lapsed
PG25 Lapsed in a contracting state [announced via postgrant information from national office to epo]

Ref country code: GB

Free format text: LAPSE BECAUSE OF EXPIRATION OF PROTECTION

Effective date: 20090601