EP0283961B1 - Process and composition for purifying arsine, phosphine, ammonia and inert gases to remove Lewis acid and oxidant impurities therefrom - Google Patents
Process and composition for purifying arsine, phosphine, ammonia and inert gases to remove Lewis acid and oxidant impurities therefrom Download PDFInfo
- Publication number
- EP0283961B1 EP0283961B1 EP88104383A EP88104383A EP0283961B1 EP 0283961 B1 EP0283961 B1 EP 0283961B1 EP 88104383 A EP88104383 A EP 88104383A EP 88104383 A EP88104383 A EP 88104383A EP 0283961 B1 EP0283961 B1 EP 0283961B1
- Authority
- EP
- European Patent Office
- Prior art keywords
- carbanion
- scavenger
- group
- anion
- primary component
- Prior art date
- Legal status (The legal status is an assumption and is not a legal conclusion. Google has not performed a legal analysis and makes no representation as to the accuracy of the status listed.)
- Expired - Lifetime
Links
- XYFCBTPGUUZFHI-UHFFFAOYSA-N Phosphine Chemical compound P XYFCBTPGUUZFHI-UHFFFAOYSA-N 0.000 title claims description 85
- QGZKDVFQNNGYKY-UHFFFAOYSA-N Ammonia Chemical compound N QGZKDVFQNNGYKY-UHFFFAOYSA-N 0.000 title claims description 64
- RBFQJDQYXXHULB-UHFFFAOYSA-N arsane Chemical compound [AsH3] RBFQJDQYXXHULB-UHFFFAOYSA-N 0.000 title claims description 52
- 239000012535 impurity Substances 0.000 title claims description 43
- 229910000073 phosphorus hydride Inorganic materials 0.000 title claims description 42
- 239000000203 mixture Substances 0.000 title claims description 37
- 229910021529 ammonia Inorganic materials 0.000 title claims description 32
- 238000000034 method Methods 0.000 title claims description 27
- 239000002841 Lewis acid Substances 0.000 title claims description 14
- 150000007517 lewis acids Chemical class 0.000 title claims description 14
- 239000007800 oxidant agent Substances 0.000 title claims description 11
- 239000011261 inert gas Substances 0.000 title description 15
- 230000001590 oxidative effect Effects 0.000 title description 7
- 150000001875 compounds Chemical class 0.000 claims description 93
- 239000002516 radical scavenger Substances 0.000 claims description 78
- 150000001450 anions Chemical class 0.000 claims description 50
- XLYOFNOQVPJJNP-UHFFFAOYSA-N water Substances O XLYOFNOQVPJJNP-UHFFFAOYSA-N 0.000 claims description 40
- 229910001868 water Inorganic materials 0.000 claims description 38
- -1 alkyl magnesium Chemical compound 0.000 claims description 29
- 239000007789 gas Substances 0.000 claims description 26
- IJGRMHOSHXDMSA-UHFFFAOYSA-N Atomic nitrogen Chemical compound N#N IJGRMHOSHXDMSA-UHFFFAOYSA-N 0.000 claims description 20
- NIHNNTQXNPWCJQ-UHFFFAOYSA-N fluorene Chemical compound C1=CC=C2CC3=CC=CC=C3C2=C1 NIHNNTQXNPWCJQ-UHFFFAOYSA-N 0.000 claims description 19
- 229920000642 polymer Polymers 0.000 claims description 18
- 238000006243 chemical reaction Methods 0.000 claims description 17
- XKRFYHLGVUSROY-UHFFFAOYSA-N Argon Chemical compound [Ar] XKRFYHLGVUSROY-UHFFFAOYSA-N 0.000 claims description 12
- 239000000463 material Substances 0.000 claims description 12
- 229910052757 nitrogen Inorganic materials 0.000 claims description 10
- VYPSYNLAJGMNEJ-UHFFFAOYSA-N Silicium dioxide Chemical compound O=[Si]=O VYPSYNLAJGMNEJ-UHFFFAOYSA-N 0.000 claims description 9
- CZZYITDELCSZES-UHFFFAOYSA-N diphenylmethane Chemical compound C=1C=CC=CC=1CC1=CC=CC=C1 CZZYITDELCSZES-UHFFFAOYSA-N 0.000 claims description 9
- QDLAGTHXVHQKRE-UHFFFAOYSA-N lichenxanthone Natural products COC1=CC(O)=C2C(=O)C3=C(C)C=C(OC)C=C3OC2=C1 QDLAGTHXVHQKRE-UHFFFAOYSA-N 0.000 claims description 9
- 239000002243 precursor Substances 0.000 claims description 9
- AAAQKTZKLRYKHR-UHFFFAOYSA-N triphenylmethane Chemical compound C1=CC=CC=C1C(C=1C=CC=CC=1)C1=CC=CC=C1 AAAQKTZKLRYKHR-UHFFFAOYSA-N 0.000 claims description 9
- GJCOSYZMQJWQCA-UHFFFAOYSA-N 9H-xanthene Chemical compound C1=CC=C2CC3=CC=CC=C3OC2=C1 GJCOSYZMQJWQCA-UHFFFAOYSA-N 0.000 claims description 7
- 239000001307 helium Substances 0.000 claims description 7
- 229910052734 helium Inorganic materials 0.000 claims description 7
- SWQJXJOGLNCZEY-UHFFFAOYSA-N helium atom Chemical compound [He] SWQJXJOGLNCZEY-UHFFFAOYSA-N 0.000 claims description 7
- 229930195733 hydrocarbon Natural products 0.000 claims description 7
- 150000002430 hydrocarbons Chemical class 0.000 claims description 7
- 239000001257 hydrogen Substances 0.000 claims description 7
- 229910052739 hydrogen Inorganic materials 0.000 claims description 7
- 229910052744 lithium Inorganic materials 0.000 claims description 7
- MYRTYDVEIRVNKP-UHFFFAOYSA-N 1,2-Divinylbenzene Chemical compound C=CC1=CC=CC=C1C=C MYRTYDVEIRVNKP-UHFFFAOYSA-N 0.000 claims description 6
- BLRPTPMANUNPDV-UHFFFAOYSA-N Silane Chemical compound [SiH4] BLRPTPMANUNPDV-UHFFFAOYSA-N 0.000 claims description 6
- PPBRXRYQALVLMV-UHFFFAOYSA-N Styrene Chemical compound C=CC1=CC=CC=C1 PPBRXRYQALVLMV-UHFFFAOYSA-N 0.000 claims description 6
- 229910052786 argon Inorganic materials 0.000 claims description 6
- 125000000524 functional group Chemical group 0.000 claims description 6
- 239000011148 porous material Substances 0.000 claims description 6
- 229910000077 silane Inorganic materials 0.000 claims description 6
- 229910052724 xenon Inorganic materials 0.000 claims description 6
- FHNFHKCVQCLJFQ-UHFFFAOYSA-N xenon atom Chemical compound [Xe] FHNFHKCVQCLJFQ-UHFFFAOYSA-N 0.000 claims description 6
- WHXSMMKQMYFTQS-UHFFFAOYSA-N Lithium Chemical compound [Li] WHXSMMKQMYFTQS-UHFFFAOYSA-N 0.000 claims description 5
- 229910000323 aluminium silicate Inorganic materials 0.000 claims description 5
- 230000000694 effects Effects 0.000 claims description 5
- 229910000078 germane Inorganic materials 0.000 claims description 5
- 229910052749 magnesium Inorganic materials 0.000 claims description 5
- 239000011777 magnesium Substances 0.000 claims description 5
- 229910052754 neon Inorganic materials 0.000 claims description 5
- GKAOGPIIYCISHV-UHFFFAOYSA-N neon atom Chemical compound [Ne] GKAOGPIIYCISHV-UHFFFAOYSA-N 0.000 claims description 5
- 229910052700 potassium Inorganic materials 0.000 claims description 5
- 239000011591 potassium Substances 0.000 claims description 5
- 229910052708 sodium Inorganic materials 0.000 claims description 5
- 239000011734 sodium Substances 0.000 claims description 5
- 229910052725 zinc Inorganic materials 0.000 claims description 5
- 239000011701 zinc Substances 0.000 claims description 5
- 239000008246 gaseous mixture Substances 0.000 claims description 4
- CHRJZRDFSQHIFI-UHFFFAOYSA-N 1,2-bis(ethenyl)benzene;styrene Chemical compound C=CC1=CC=CC=C1.C=CC1=CC=CC=C1C=C CHRJZRDFSQHIFI-UHFFFAOYSA-N 0.000 claims description 3
- QLLUAUADIMPKIH-UHFFFAOYSA-N 1,2-bis(ethenyl)naphthalene Chemical compound C1=CC=CC2=C(C=C)C(C=C)=CC=C21 QLLUAUADIMPKIH-UHFFFAOYSA-N 0.000 claims description 3
- YBHWIVKIQYJYOH-UHFFFAOYSA-N 1-ethenyl-2-propan-2-ylbenzene Chemical compound CC(C)C1=CC=CC=C1C=C YBHWIVKIQYJYOH-UHFFFAOYSA-N 0.000 claims description 3
- IGGDKDTUCAWDAN-UHFFFAOYSA-N 1-vinylnaphthalene Chemical compound C1=CC=C2C(C=C)=CC=CC2=C1 IGGDKDTUCAWDAN-UHFFFAOYSA-N 0.000 claims description 3
- OKTJSMMVPCPJKN-UHFFFAOYSA-N Carbon Chemical compound [C] OKTJSMMVPCPJKN-UHFFFAOYSA-N 0.000 claims description 3
- DGAQECJNVWCQMB-PUAWFVPOSA-M Ilexoside XXIX Chemical compound C[C@@H]1CC[C@@]2(CC[C@@]3(C(=CC[C@H]4[C@]3(CC[C@@H]5[C@@]4(CC[C@@H](C5(C)C)OS(=O)(=O)[O-])C)C)[C@@H]2[C@]1(C)O)C)C(=O)O[C@H]6[C@@H]([C@H]([C@@H]([C@H](O6)CO)O)O)O.[Na+] DGAQECJNVWCQMB-PUAWFVPOSA-M 0.000 claims description 3
- ZLMJMSJWJFRBEC-UHFFFAOYSA-N Potassium Chemical compound [K] ZLMJMSJWJFRBEC-UHFFFAOYSA-N 0.000 claims description 3
- QROGIFZRVHSFLM-QHHAFSJGSA-N [(e)-prop-1-enyl]benzene Chemical compound C\C=C\C1=CC=CC=C1 QROGIFZRVHSFLM-QHHAFSJGSA-N 0.000 claims description 3
- XYLMUPLGERFSHI-UHFFFAOYSA-N alpha-Methylstyrene Chemical compound CC(=C)C1=CC=CC=C1 XYLMUPLGERFSHI-UHFFFAOYSA-N 0.000 claims description 3
- PNEYBMLMFCGWSK-UHFFFAOYSA-N aluminium oxide Inorganic materials [O-2].[O-2].[O-2].[Al+3].[Al+3] PNEYBMLMFCGWSK-UHFFFAOYSA-N 0.000 claims description 3
- 229910052799 carbon Inorganic materials 0.000 claims description 3
- 239000003431 cross linking reagent Substances 0.000 claims description 3
- 230000005595 deprotonation Effects 0.000 claims description 3
- 238000010537 deprotonation reaction Methods 0.000 claims description 3
- 239000000178 monomer Substances 0.000 claims description 3
- HJWLCRVIBGQPNF-UHFFFAOYSA-N prop-2-enylbenzene Chemical compound C=CCC1=CC=CC=C1 HJWLCRVIBGQPNF-UHFFFAOYSA-N 0.000 claims description 3
- 239000000377 silicon dioxide Substances 0.000 claims description 3
- 229910052751 metal Inorganic materials 0.000 claims 3
- 239000002184 metal Substances 0.000 claims 3
- 125000000129 anionic group Chemical group 0.000 claims 2
- 125000004435 hydrogen atom Chemical class [H]* 0.000 claims 2
- 125000003983 fluorenyl group Chemical group C1(=CC=CC=2C3=CC=CC=C3CC12)* 0.000 claims 1
- YXFVVABEGXRONW-UHFFFAOYSA-N Toluene Chemical compound CC1=CC=CC=C1 YXFVVABEGXRONW-UHFFFAOYSA-N 0.000 description 14
- 230000002000 scavenging effect Effects 0.000 description 11
- QVGXLLKOCUKJST-UHFFFAOYSA-N atomic oxygen Chemical compound [O] QVGXLLKOCUKJST-UHFFFAOYSA-N 0.000 description 8
- 239000001301 oxygen Substances 0.000 description 8
- 229910052760 oxygen Inorganic materials 0.000 description 8
- 239000007795 chemical reaction product Substances 0.000 description 7
- 238000004519 manufacturing process Methods 0.000 description 7
- 239000000376 reactant Substances 0.000 description 7
- 229910052784 alkaline earth metal Inorganic materials 0.000 description 6
- 239000002808 molecular sieve Substances 0.000 description 6
- VLKZOEOYAKHREP-UHFFFAOYSA-N n-Hexane Chemical compound CCCCCC VLKZOEOYAKHREP-UHFFFAOYSA-N 0.000 description 6
- 238000000746 purification Methods 0.000 description 6
- 239000004065 semiconductor Substances 0.000 description 6
- URGAHOPLAPQHLN-UHFFFAOYSA-N sodium aluminosilicate Chemical compound [Na+].[Al+3].[O-][Si]([O-])=O.[O-][Si]([O-])=O URGAHOPLAPQHLN-UHFFFAOYSA-N 0.000 description 6
- 150000002431 hydrogen Chemical class 0.000 description 5
- 239000002904 solvent Substances 0.000 description 5
- MZRVEZGGRBJDDB-UHFFFAOYSA-N N-Butyllithium Chemical group [Li]CCCC MZRVEZGGRBJDDB-UHFFFAOYSA-N 0.000 description 4
- 229920001429 chelating resin Polymers 0.000 description 4
- VNWKTOKETHGBQD-UHFFFAOYSA-N methane Chemical compound C VNWKTOKETHGBQD-UHFFFAOYSA-N 0.000 description 4
- 125000004400 (C1-C12) alkyl group Chemical group 0.000 description 3
- UHOVQNZJYSORNB-UHFFFAOYSA-N Benzene Chemical compound C1=CC=CC=C1 UHOVQNZJYSORNB-UHFFFAOYSA-N 0.000 description 3
- UFHFLCQGNIYNRP-UHFFFAOYSA-N Hydrogen Chemical compound [H][H] UFHFLCQGNIYNRP-UHFFFAOYSA-N 0.000 description 3
- OKKJLVBELUTLKV-UHFFFAOYSA-N Methanol Chemical compound OC OKKJLVBELUTLKV-UHFFFAOYSA-N 0.000 description 3
- 239000003513 alkali Substances 0.000 description 3
- 125000000217 alkyl group Chemical group 0.000 description 3
- 229910052782 aluminium Inorganic materials 0.000 description 3
- XAGFODPZIPBFFR-UHFFFAOYSA-N aluminium Chemical compound [Al] XAGFODPZIPBFFR-UHFFFAOYSA-N 0.000 description 3
- RWCCWEUUXYIKHB-UHFFFAOYSA-N benzophenone Chemical compound C=1C=CC=CC=1C(=O)C1=CC=CC=C1 RWCCWEUUXYIKHB-UHFFFAOYSA-N 0.000 description 3
- 239000012965 benzophenone Substances 0.000 description 3
- YBYIRNPNPLQARY-UHFFFAOYSA-N 1H-indene Chemical compound C1=CC=C2CC=CC2=C1 YBYIRNPNPLQARY-UHFFFAOYSA-N 0.000 description 2
- VGGSQFUCUMXWEO-UHFFFAOYSA-N Ethene Chemical compound C=C VGGSQFUCUMXWEO-UHFFFAOYSA-N 0.000 description 2
- 239000005977 Ethylene Substances 0.000 description 2
- KFZMGEQAYNKOFK-UHFFFAOYSA-N Isopropanol Chemical compound CC(C)O KFZMGEQAYNKOFK-UHFFFAOYSA-N 0.000 description 2
- FYYHWMGAXLPEAU-UHFFFAOYSA-N Magnesium Chemical compound [Mg] FYYHWMGAXLPEAU-UHFFFAOYSA-N 0.000 description 2
- OAICVXFJPJFONN-UHFFFAOYSA-N Phosphorus Chemical compound [P] OAICVXFJPJFONN-UHFFFAOYSA-N 0.000 description 2
- ATUOYWHBWRKTHZ-UHFFFAOYSA-N Propane Chemical compound CCC ATUOYWHBWRKTHZ-UHFFFAOYSA-N 0.000 description 2
- HCHKCACWOHOZIP-UHFFFAOYSA-N Zinc Chemical compound [Zn] HCHKCACWOHOZIP-UHFFFAOYSA-N 0.000 description 2
- 150000004791 alkyl magnesium halides Chemical class 0.000 description 2
- 150000001408 amides Chemical class 0.000 description 2
- 229910052785 arsenic Inorganic materials 0.000 description 2
- RQNWIZPPADIBDY-UHFFFAOYSA-N arsenic atom Chemical compound [As] RQNWIZPPADIBDY-UHFFFAOYSA-N 0.000 description 2
- 239000003153 chemical reaction reagent Substances 0.000 description 2
- 230000003750 conditioning effect Effects 0.000 description 2
- 239000012530 fluid Substances 0.000 description 2
- YLQWCDOCJODRMT-UHFFFAOYSA-N fluoren-9-one Chemical compound C1=CC=C2C(=O)C3=CC=CC=C3C2=C1 YLQWCDOCJODRMT-UHFFFAOYSA-N 0.000 description 2
- 239000011521 glass Substances 0.000 description 2
- WQYVRQLZKVEZGA-UHFFFAOYSA-N hypochlorite Chemical compound Cl[O-] WQYVRQLZKVEZGA-UHFFFAOYSA-N 0.000 description 2
- NVMVLBOIYVUMOZ-UHFFFAOYSA-N lithium arsenide Chemical compound [Li][As]([Li])[Li] NVMVLBOIYVUMOZ-UHFFFAOYSA-N 0.000 description 2
- QCYIFDAFIXZTQO-UHFFFAOYSA-N lithium;diphenylmethylbenzene Chemical compound [Li+].C1=CC=CC=C1[C-](C=1C=CC=CC=1)C1=CC=CC=C1 QCYIFDAFIXZTQO-UHFFFAOYSA-N 0.000 description 2
- 238000011068 loading method Methods 0.000 description 2
- 238000005259 measurement Methods 0.000 description 2
- 150000002736 metal compounds Chemical class 0.000 description 2
- 150000002902 organometallic compounds Chemical class 0.000 description 2
- 229910052698 phosphorus Inorganic materials 0.000 description 2
- 239000011574 phosphorus Substances 0.000 description 2
- 239000002574 poison Substances 0.000 description 2
- 231100000614 poison Toxicity 0.000 description 2
- QQONPFPTGQHPMA-UHFFFAOYSA-N propylene Natural products CC=C QQONPFPTGQHPMA-UHFFFAOYSA-N 0.000 description 2
- 125000004805 propylene group Chemical group [H]C([H])([H])C([H])([*:1])C([H])([H])[*:2] 0.000 description 2
- 238000001179 sorption measurement Methods 0.000 description 2
- 230000001988 toxicity Effects 0.000 description 2
- 231100000419 toxicity Toxicity 0.000 description 2
- ZJQCOVBALALRCC-UHFFFAOYSA-N 9-phenyl-9h-fluorene Chemical compound C1=CC=CC=C1C1C2=CC=CC=C2C2=CC=CC=C21 ZJQCOVBALALRCC-UHFFFAOYSA-N 0.000 description 1
- UGFAIRIUMAVXCW-UHFFFAOYSA-N Carbon monoxide Chemical class [O+]#[C-] UGFAIRIUMAVXCW-UHFFFAOYSA-N 0.000 description 1
- OTMSDBZUPAUEDD-UHFFFAOYSA-N Ethane Chemical compound CC OTMSDBZUPAUEDD-UHFFFAOYSA-N 0.000 description 1
- GYHNNYVSQQEPJS-UHFFFAOYSA-N Gallium Chemical compound [Ga] GYHNNYVSQQEPJS-UHFFFAOYSA-N 0.000 description 1
- XUIMIQQOPSSXEZ-UHFFFAOYSA-N Silicon Chemical compound [Si] XUIMIQQOPSSXEZ-UHFFFAOYSA-N 0.000 description 1
- KEAYESYHFKHZAL-UHFFFAOYSA-N Sodium Chemical compound [Na] KEAYESYHFKHZAL-UHFFFAOYSA-N 0.000 description 1
- 150000001298 alcohols Chemical class 0.000 description 1
- 150000001299 aldehydes Chemical class 0.000 description 1
- 150000001338 aliphatic hydrocarbons Chemical class 0.000 description 1
- 150000001336 alkenes Chemical class 0.000 description 1
- 239000012298 atmosphere Substances 0.000 description 1
- HYGWNUKOUCZBND-UHFFFAOYSA-N azanide Chemical compound [NH2-] HYGWNUKOUCZBND-UHFFFAOYSA-N 0.000 description 1
- 239000011324 bead Substances 0.000 description 1
- 238000007664 blowing Methods 0.000 description 1
- 239000001273 butane Substances 0.000 description 1
- 125000004432 carbon atom Chemical group C* 0.000 description 1
- 229910002090 carbon oxide Inorganic materials 0.000 description 1
- 150000001768 cations Chemical class 0.000 description 1
- 239000003638 chemical reducing agent Substances 0.000 description 1
- 239000003795 chemical substances by application Substances 0.000 description 1
- 239000011248 coating agent Substances 0.000 description 1
- 238000000576 coating method Methods 0.000 description 1
- 230000002860 competitive effect Effects 0.000 description 1
- 230000001143 conditioned effect Effects 0.000 description 1
- 239000000470 constituent Substances 0.000 description 1
- 239000000356 contaminant Substances 0.000 description 1
- 230000007547 defect Effects 0.000 description 1
- 230000002950 deficient Effects 0.000 description 1
- 230000018044 dehydration Effects 0.000 description 1
- 238000006297 dehydration reaction Methods 0.000 description 1
- 239000008367 deionised water Substances 0.000 description 1
- 229910021641 deionized water Inorganic materials 0.000 description 1
- 238000004821 distillation Methods 0.000 description 1
- 238000009826 distribution Methods 0.000 description 1
- 238000000407 epitaxy Methods 0.000 description 1
- 230000005496 eutectics Effects 0.000 description 1
- 229910052733 gallium Inorganic materials 0.000 description 1
- 238000005247 gettering Methods 0.000 description 1
- 231100001261 hazardous Toxicity 0.000 description 1
- 238000005470 impregnation Methods 0.000 description 1
- 238000011065 in-situ storage Methods 0.000 description 1
- 229910052738 indium Inorganic materials 0.000 description 1
- APFVFJFRJDLVQX-UHFFFAOYSA-N indium atom Chemical compound [In] APFVFJFRJDLVQX-UHFFFAOYSA-N 0.000 description 1
- 239000000543 intermediate Substances 0.000 description 1
- 238000005304 joining Methods 0.000 description 1
- 150000002576 ketones Chemical class 0.000 description 1
- 239000007788 liquid Substances 0.000 description 1
- 239000011159 matrix material Substances 0.000 description 1
- IJDNQMDRQITEOD-UHFFFAOYSA-N n-butane Chemical compound CCCC IJDNQMDRQITEOD-UHFFFAOYSA-N 0.000 description 1
- OFBQJSOFQDEBGM-UHFFFAOYSA-N n-pentane Natural products CCCCC OFBQJSOFQDEBGM-UHFFFAOYSA-N 0.000 description 1
- QJGQUHMNIGDVPM-UHFFFAOYSA-N nitrogen group Chemical group [N] QJGQUHMNIGDVPM-UHFFFAOYSA-N 0.000 description 1
- 239000002245 particle Substances 0.000 description 1
- 238000007747 plating Methods 0.000 description 1
- 239000000047 product Substances 0.000 description 1
- 239000001294 propane Substances 0.000 description 1
- 230000005588 protonation Effects 0.000 description 1
- 238000005057 refrigeration Methods 0.000 description 1
- 238000007086 side reaction Methods 0.000 description 1
- 239000010703 silicon Substances 0.000 description 1
- 229910052710 silicon Inorganic materials 0.000 description 1
- 239000000126 substance Substances 0.000 description 1
- 239000000758 substrate Substances 0.000 description 1
- 239000008399 tap water Substances 0.000 description 1
- 235000020679 tap water Nutrition 0.000 description 1
- TXEYQDLBPFQVAA-UHFFFAOYSA-N tetrafluoromethane Chemical compound FC(F)(F)F TXEYQDLBPFQVAA-UHFFFAOYSA-N 0.000 description 1
- 238000005979 thermal decomposition reaction Methods 0.000 description 1
- JLTRXTDYQLMHGR-UHFFFAOYSA-N trimethylaluminium Chemical group C[Al](C)C JLTRXTDYQLMHGR-UHFFFAOYSA-N 0.000 description 1
- 238000005406 washing Methods 0.000 description 1
Images
Classifications
-
- C—CHEMISTRY; METALLURGY
- C01—INORGANIC CHEMISTRY
- C01B—NON-METALLIC ELEMENTS; COMPOUNDS THEREOF; METALLOIDS OR COMPOUNDS THEREOF NOT COVERED BY SUBCLASS C01C
- C01B6/00—Hydrides of metals including fully or partially hydrided metals, alloys or intermetallic compounds ; Compounds containing at least one metal-hydrogen bond, e.g. (GeH3)2S, SiH GeH; Monoborane or diborane; Addition complexes thereof
- C01B6/06—Hydrides of aluminium, gallium, indium, thallium, germanium, tin, lead, arsenic, antimony, bismuth or polonium; Monoborane; Diborane; Addition complexes thereof
- C01B6/065—Hydrides of arsenic or antimony
-
- B—PERFORMING OPERATIONS; TRANSPORTING
- B01—PHYSICAL OR CHEMICAL PROCESSES OR APPARATUS IN GENERAL
- B01J—CHEMICAL OR PHYSICAL PROCESSES, e.g. CATALYSIS OR COLLOID CHEMISTRY; THEIR RELEVANT APPARATUS
- B01J20/00—Solid sorbent compositions or filter aid compositions; Sorbents for chromatography; Processes for preparing, regenerating or reactivating thereof
- B01J20/30—Processes for preparing, regenerating, or reactivating
- B01J20/32—Impregnating or coating ; Solid sorbent compositions obtained from processes involving impregnating or coating
- B01J20/3202—Impregnating or coating ; Solid sorbent compositions obtained from processes involving impregnating or coating characterised by the carrier, support or substrate used for impregnation or coating
- B01J20/3204—Inorganic carriers, supports or substrates
-
- B—PERFORMING OPERATIONS; TRANSPORTING
- B01—PHYSICAL OR CHEMICAL PROCESSES OR APPARATUS IN GENERAL
- B01J—CHEMICAL OR PHYSICAL PROCESSES, e.g. CATALYSIS OR COLLOID CHEMISTRY; THEIR RELEVANT APPARATUS
- B01J20/00—Solid sorbent compositions or filter aid compositions; Sorbents for chromatography; Processes for preparing, regenerating or reactivating thereof
- B01J20/30—Processes for preparing, regenerating, or reactivating
- B01J20/32—Impregnating or coating ; Solid sorbent compositions obtained from processes involving impregnating or coating
- B01J20/3202—Impregnating or coating ; Solid sorbent compositions obtained from processes involving impregnating or coating characterised by the carrier, support or substrate used for impregnation or coating
- B01J20/3206—Organic carriers, supports or substrates
- B01J20/3208—Polymeric carriers, supports or substrates
- B01J20/321—Polymeric carriers, supports or substrates consisting of a polymer obtained by reactions involving only carbon to carbon unsaturated bonds
-
- B—PERFORMING OPERATIONS; TRANSPORTING
- B01—PHYSICAL OR CHEMICAL PROCESSES OR APPARATUS IN GENERAL
- B01J—CHEMICAL OR PHYSICAL PROCESSES, e.g. CATALYSIS OR COLLOID CHEMISTRY; THEIR RELEVANT APPARATUS
- B01J20/00—Solid sorbent compositions or filter aid compositions; Sorbents for chromatography; Processes for preparing, regenerating or reactivating thereof
- B01J20/30—Processes for preparing, regenerating, or reactivating
- B01J20/32—Impregnating or coating ; Solid sorbent compositions obtained from processes involving impregnating or coating
- B01J20/3231—Impregnating or coating ; Solid sorbent compositions obtained from processes involving impregnating or coating characterised by the coating or impregnating layer
- B01J20/3242—Layers with a functional group, e.g. an affinity material, a ligand, a reactant or a complexing group
- B01J20/3244—Non-macromolecular compounds
- B01J20/3246—Non-macromolecular compounds having a well defined chemical structure
-
- B—PERFORMING OPERATIONS; TRANSPORTING
- B01—PHYSICAL OR CHEMICAL PROCESSES OR APPARATUS IN GENERAL
- B01J—CHEMICAL OR PHYSICAL PROCESSES, e.g. CATALYSIS OR COLLOID CHEMISTRY; THEIR RELEVANT APPARATUS
- B01J20/00—Solid sorbent compositions or filter aid compositions; Sorbents for chromatography; Processes for preparing, regenerating or reactivating thereof
- B01J20/30—Processes for preparing, regenerating, or reactivating
- B01J20/32—Impregnating or coating ; Solid sorbent compositions obtained from processes involving impregnating or coating
- B01J20/3231—Impregnating or coating ; Solid sorbent compositions obtained from processes involving impregnating or coating characterised by the coating or impregnating layer
- B01J20/3242—Layers with a functional group, e.g. an affinity material, a ligand, a reactant or a complexing group
- B01J20/3244—Non-macromolecular compounds
- B01J20/3246—Non-macromolecular compounds having a well defined chemical structure
- B01J20/3248—Non-macromolecular compounds having a well defined chemical structure the functional group or the linking, spacer or anchoring group as a whole comprising at least one type of heteroatom selected from a nitrogen, oxygen or sulfur, these atoms not being part of the carrier as such
- B01J20/3255—Non-macromolecular compounds having a well defined chemical structure the functional group or the linking, spacer or anchoring group as a whole comprising at least one type of heteroatom selected from a nitrogen, oxygen or sulfur, these atoms not being part of the carrier as such comprising a cyclic structure containing at least one of the heteroatoms nitrogen, oxygen or sulfur, e.g. heterocyclic or heteroaromatic structures
-
- B—PERFORMING OPERATIONS; TRANSPORTING
- B01—PHYSICAL OR CHEMICAL PROCESSES OR APPARATUS IN GENERAL
- B01J—CHEMICAL OR PHYSICAL PROCESSES, e.g. CATALYSIS OR COLLOID CHEMISTRY; THEIR RELEVANT APPARATUS
- B01J20/00—Solid sorbent compositions or filter aid compositions; Sorbents for chromatography; Processes for preparing, regenerating or reactivating thereof
- B01J20/30—Processes for preparing, regenerating, or reactivating
- B01J20/32—Impregnating or coating ; Solid sorbent compositions obtained from processes involving impregnating or coating
- B01J20/3231—Impregnating or coating ; Solid sorbent compositions obtained from processes involving impregnating or coating characterised by the coating or impregnating layer
- B01J20/3242—Layers with a functional group, e.g. an affinity material, a ligand, a reactant or a complexing group
- B01J20/3244—Non-macromolecular compounds
- B01J20/3265—Non-macromolecular compounds with an organic functional group containing a metal, e.g. a metal affinity ligand
-
- C—CHEMISTRY; METALLURGY
- C01—INORGANIC CHEMISTRY
- C01B—NON-METALLIC ELEMENTS; COMPOUNDS THEREOF; METALLOIDS OR COMPOUNDS THEREOF NOT COVERED BY SUBCLASS C01C
- C01B21/00—Nitrogen; Compounds thereof
- C01B21/04—Purification or separation of nitrogen
- C01B21/0405—Purification or separation processes
- C01B21/0411—Chemical processing only
- C01B21/0427—Chemical processing only by complexation
-
- C—CHEMISTRY; METALLURGY
- C01—INORGANIC CHEMISTRY
- C01B—NON-METALLIC ELEMENTS; COMPOUNDS THEREOF; METALLOIDS OR COMPOUNDS THEREOF NOT COVERED BY SUBCLASS C01C
- C01B23/00—Noble gases; Compounds thereof
-
- C—CHEMISTRY; METALLURGY
- C01—INORGANIC CHEMISTRY
- C01B—NON-METALLIC ELEMENTS; COMPOUNDS THEREOF; METALLOIDS OR COMPOUNDS THEREOF NOT COVERED BY SUBCLASS C01C
- C01B25/00—Phosphorus; Compounds thereof
- C01B25/06—Hydrogen phosphides
Definitions
- This invention relates generally to a process and composition for removing Lewis acid and oxidant impurities from arsine, phosphine, ammonia, and inert gases.
- Arsine, phosphine, and ammonia are widely used in the semiconductor industry for the manufacture of microcircuitry devices, as source reagents for elemental arsenic, phosphorus, and nitrogen, respectively.
- the arsine, phosphine and ammonia source reagents be essentially completely free of impurities such as water and oxygen.
- impurities such as water and oxygen.
- Such impurities when introduced onto the semiconductor chip during its manufacture, tend to produce localized defects in the crystalline structure which may then propagate to produce an undesirable epitaxy, and render the chip deficient or even useless for its intended purpose.
- Arsine and phosphine are particularly difficult to purify, due to their extreme toxicity and hazardous character, and the fact that they react detrimentally with many otherwise potentially useful scavengers to poison to active sorption sites of such materials.
- arsine and phosphine have a higher affinity for water than they do for inert impurities, e.g., nitrogen, which are less objectionable in the semiconductor manufacturing process.
- ammonia does not possess the toxicity and handling disadvantages of arsine and phosphine, it nonetheless is a poison to many otherwise potentially useful scavengers, such as those commonly used in redox purification systems for removal of water and oxygen contaminants from other gases.
- Ammonia has also been dehydrated by sodium metal followed by distillation, although such methods are complex, costly, and entail the use of strong reducing agents.
- Arsine and phosphine have also been treated by molecular sieves to remove water but such treatment in order to achieve high water removal efficiency requires that the molecular sieve contacting be carried out at low temperatures, e.g., on the order of about -20 degrees Centrigrade for arsine. This and other refrigeration-based water removal techniques involve high energy expenditure and operating costs, and therefore are not fully satisfactory.
- trimetal eutectics comprising indium and gallium components, and liquid at room temperatures, have been employed for purifying arsine and phosphine of water impurity, but such dehydration method suffers the disadvantage that substantial amounts of oxide particles are generated in the treatment stream.
- inert gases are employed in semiconductor manufacturing, for which extremely high purity is also required.
- inert gases is intended to be broadly construed as being inclusive of gases which may be unreactive in various semiconductor manufacturing operations, and are selected from the group consisting of one or more members of the group consisting of nitrogen, hydrogen, helium, argon, neon, xenon, silane, germane, and gaseous hydrocarbons (methane, ethane, ethylene, propane, propylene, etc.).
- Japanese Kokai Tokkyo Koho JP 60/222127 discloses the thermal decomposition of trimethyl aluminum to deposit elemental aluminum on a glass substrate, e.g., glass beads, following which the aluminum coating is reacted with arsine to form a scavenger for water and oxygen.
- EP-A-0 179 969 and US-A-4,603,148 disclose a macroreticulate polymer scavenger for removing Lewis acid and oxidant impurities from inert fluids such as aliphatic hydrocarbons, olefins, and gases including nitrogen, argon, helium, xenon, hydrogen, carbon tetrafluoride, ammonia and silane, and a process for purifying fluids containing Lewis acid and oxidant impurities by the use of such a scavenger.
- inert fluids such as aliphatic hydrocarbons, olefins, and gases including nitrogen, argon, helium, xenon, hydrogen, carbon tetrafluoride, ammonia and silane
- the macroreticulate polymer backbone of the scavenger has bonded thereto a plurality of metallated functional groups of the formula: where: Ar is an aromatic hydrocarbon radical of 1-3 rings; R1 and R2 are each independently hydrogen, C1-C12 alkyl, methylene-bridged benzophenone, methylene-bridged fluorenone, or alkali or alkaline earth metal salts of such benzophenone or fluorenone radicals; and M is lithium, potassium, sodium, alkyl magnesium, or alkyl zinc, the alkyl substituents being C1-C12 alkyl.
- a metallating agent selected from the group consisting of alkyl lithium, alkyl sodium, alkyl potassium, dialkyl magnesium, alkyl magnesium halide, dialkyl zinc, wherein the alkyl moiety is C1-C12 alkyl; alkali or alkaline earth metal salts of benzophenone; and alkali or alkaline earth metal salts of fluorenone.
- the invention relates to a process for purifying a gaseous mixture
- a primary component selected from one or more members of the group consisting of arsine, phosphine, ammonia and gases selected from the group consisting of one or more members of the group consisting of nitrogen, hydrogen, helium, argon, neon, xenon, silane, germane, and gaseous hydrocarbons
- impurities selected from one or more members of the group consisting of Lewis acids and oxidants, to remove such impurities therefrom, comprising: contacting the mixture with a scavenger including a support having associated therewith, but not covalently bonded thereto, a compound which in the presence of the mixture provides an anion which is reactive to effect the removal of the impurities, such compound being selected from the group consisting of one or more members of the group consisting of:
- carbanion source compounds whose corresponding protonated carbanion compounds have a pK a value of from about 22 to about 36'' refers to compounds which in the presence of the impurity-containing mixture provide a carbanion which is directly or indirectly reactive to effect the removal of impurity constituents, i.e., the carbanion provided by such compound either itself reacts with the impurity species to remove same from the mixture, or else the carbanion provided by the compound reacts with a primary component of the mixture, viz., arsine, phosphine, or ammonia, to yield an anion source compound, an arsenide, phosphenide, or amide compound, which in turn reacts with the impurity species to remove same from the mixture.
- a primary component of the mixture viz., arsine, phosphine, or ammonia
- the primary component of the impurity-containing mixture is an inert gas
- the carbanion source compounds will be the impurity-removing compounds, i.e., the inert gas, since it is inert, will not react with the carbanion source compounds to form any anion source compounds.
- the carbanion source compound thus comprises a cation and an associated carbanion moiety.
- This carbanion moiety when protonated, forms a corresponding protonated carbanion compound having a pK a value of from about 22 to about 36.
- the pK a value of a compound refers to the pK a numerical value determined in accordance with the procedure described in A. Streitwieser and J.H. Hammons, Prog. Phys. Org. Chem. , 3 , 41 (1965), in a solvent medium in which fluorene and diphenylmethane, as reference compounds, have pK a values of about 22.6 and 34.1, repectively.
- a scavenger having utility for purifying a gaseous mixture comprising (i) a primary component selected from one or more members of the group consisting of arsine, phosphine, ammonia, and gases selected from the group consisting of one or more members of the group consisting of nitrogen, hydrogen, helium, argon, neon, xenon, silane, germane, and gaseous hydrocarbons, and (ii) impurities selected from one or more members of the group consisting of Lewis acids and oxidants said scavenger comprising:
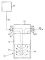
- the single drawing is a schematic representation of a vessel containing a bed of a scavenger according to one embodiment of the invention, and an associated source of an impurity-containing mixture which is purified by passage through such vessel.
- the scavengers of the present invention utilize comcompounds which in the presence of Lewis acid and/or oxidant impurities in one or more of arsine, phosphine, ammonia, and inert gases, furnish an anion which reacts either directly with the impurities to remove same from the primary component material, or (for arsine, phosphine, and/or ammonia) indirectly, by deprotonating the arsine, phosphine, and/or ammonia primary component, to form a corresponding arsenide, phosphenide, and/or amide anion which in turn reacts with the impurities to remove same from the primary component.
- the impurities which may potentially be removed from the arsine, phosphine, and/or ammonia primary component in the broad practice of the invention, depending on the choice of the anion-providing compound employed in the scavenger, include, but are not limited to, water, oxygen, carbon oxides, alcohols, aldehydes, ketones, as well as any other Lewis acid or oxidant species which are removable by reaction with anion-providing compounds which meet the criteria of the invention, i.e., anion-providing compounds selected from one or more members of the group consisting of:
- Lewis acid is a substance which can take up an electron pair to form a bond.
- the anion-providing compound which is employed in the scavenger of the invention is physically associated with a suitable support which is compatible with the anion-providing compound as well as the impurity-containing mixture.
- the anion-providing compound is not covalently bonded to the support, as are the metallated functional groups in the previously described Tom patent U.S. 4,603,148.
- the type of non-covalently bonded association of the anion-providing compound with the support is not critical; the anion-providing compound may for example be dispersed throughout the support matrix in the form of particulates or agglomerates, as a film or plating on the support, or otherwise localized in pores of the support.
- the anion-providing compound may be (i) a carbanion source compound whose corresponding protonated carbanion compound has a pK a value of from about 22 to about 36, (ii) an anion source compound formed by reaction of the carbanion source compound with a primary component of the mixture to be contacted with the scavenger, or (iii) a combination of anion-providing compounds (i) and (ii).
- the scavenger may conveniently be formed from a suitable support material, the support being more fully described hereinafter, by applying to the support the aforementioned protonated carbanion compound having a pK a value of from about 22 to about 36, so that such compound is associated with the support, followed by reaction of the associated compound with a suitable reactant serving to deprotonate the compound and yield the aforementioned carbanion source compound as a reaction product associated with the support.
- the deprotonating co-reactant may be any suitable material yielding the desired reaction product.
- Preferred co-reactant materials include organometallic compounds such as alkyl lithium, alkyl sodium, alkyl potassium, dialkyl magnesium, alkyl magnesium halide, and dialkyl zinc, wherein the alkyl radical contains 1 to 12, and preferably 1 to 8, carbon atoms.
- a particularly preferred organometallic compound for such purpose is butyllithium, with alkyl or dialkyl metal compounds being a most preferred co-reactant class.
- the resulting carbanion source compound will have the formula MA, where: M is lithium, sodium, potassium, alkyl magnesium, or alkyl zinc; and A is carbanion derived from the protonated carbanion compound.
- the scavengers of the present invention comprise two distinct types: a first type (Type I) in which the carbanion source compound is substantially non-reactive with the primary component, arsine, phosphine, ammonia, and/or inert gases, so that the carbanion of such source compound is the active scavenging moiety which reacts with the impurities in the primary component, and a second type (Type II), applicable only to arsine, phosphine, and/or ammonia as the primary component, in which the carbanion source compound reacts with the primary component and forms an arsenide, phosphenide, and/or amide as the active scavenging moiety which reacts with the impurities in the primary component.
- Type I first type in which the carbanion source compound is substantially non-reactive with the primary component, arsine, phosphine, ammonia, and/or inert gases, so that the carbanion of such source compound is the active scavenging moiety
- the pK a value is the negative logarithm of the acidity constant of a given material, so that increasing values of pK a indicate increasing basicity.
- the pK a value of the scavenger anion must be at least about 22, in order that the scavenger anion is sufficiently basic to react with and remove water as an impurity in the mixture being contacted with the scavenger.
- the pK a value of the scavenger anion must not be so great that it doubly deprotonates the primary component to form dianions therefrom, e.g., diarside or diphosphide anions, since undesirable side reactions are thereby promoted such as the generation of hydrogen gas.
- Type I scavenger anion precursor corresponding protonated carbanion source compound
- Table I the only suitable Type I scavenger anion precursor (corresponding protonated carbanion source compound) in Table I is fluorene, having a pK a value of 22.6.
- the fluorene anion when present with arsine, will only deprotonate about 0.04% of proton sites of the arsine; such anion in moisture-containing arsine yields an equilibrium water vapor pressure of about 0.6 parts-per-million (ppm) on a volume basis.
- the suitable Type I scavenger anion precursors in Table I are fluorene and xanthene.
- the xanthene anion will yield a residual water concentration of less than 1.0 part-per-billion (ppb) on a volume basis.
- diphenylmethane In the case of arsine and Type II scavengers derived from the anions of the Table I compounds, diphenylmethane, with a pK a value of 34.1, is the limiting anion compound, and the suitable anion compounds are xanthene, phosphine, triphenylmethane, and diphenylmethane. In the case of diphenylmethane, some deprotonation of the monoanion of arsenide will occur, and the fraction of the arsenic in the dianion state being about 11%.
- Residual arsine after deprotonation by the diphenylmethane anion is estimated to be 0.2 ppm by volume, and residual water concentration after scavenging by the arsenide anion will be very low at 2.4 ppb by volume.
- Type II scavenger precursors in Table I will be limited at the upper end of the pK a range by toluene, having a pK a value of 35.
- Useful Type II scavenger precursors from among those listed in Table I will thus include phosphine, triphenylmethane, diphenylmethane, and toluene.
- toluene anion When the toluene anion is utilized as a reactant to form phosphenide anion as the scavenger, about 10% of the phosphorus may end up as dianion, while residual phosphine will be on the order of about 2.4 ppm by volume, and water concentration after scavenging will be expected to be less than 1 ppb by volume.
- a basic requirement of the scavenger in the practice of the invention, consistent with the residual water concentration values given above in connection with the illustrative arsine and phosphine scavenger anions, is that the vapor pressure of the scavenger and non-primary component reaction products of the impurity-scavenging reaction(s) be very low, preferably below about 1 ppm by volume, and most preferably below about 0.1 ppm by volume, to insure that the gas stream being purified is not contaminated by the scavenger or scavenging reaction products.
- This vapor pressure criterion is particularly important in the case of hydrocarbons, except of course in the case where gaseous hydrocarbons are the primary component of the gas mixture being purified.
- a Type II scavenger When a Type II scavenger is to be utilized for gas purification in accordance with the invention, it will of course be permissible to utilize on the scavenger support the carbanion source compound which is reactive with the primary component gas, arsine, phosphine, and/or ammonia, to form the actual scavenging anion, i.e., arsenide, phosphenide, and/or amide, in situ during gas treatment.
- the carbanion source compound which is reactive with the primary component gas, arsine, phosphine, and/or ammonia, to form the actual scavenging anion, i.e., arsenide, phosphenide, and/or amide, in situ during gas treatment.
- Such a scavenger comprising a support and the reactant carbanion source compound, is referred to as an "unconditioned" scavenger, while if this scavenger is pre-reacted with the primary component gas to form the actual scavenging anion species on the support, the resulting scavenging is referred to as a "preconditioned” scavenger.
- the supports useful in the scavengers of the present invention include any suitable materials which are compatible with the gas mixtures being purified, and the reaction products of the impurity removal, and any intermediates involved with conditioning or otherwise preparing the scavenger, and which are stable under the conditions of use.
- Illustrative materials which may be potentially useful in the broad practice of the invention include materials such as macroreticulate polymers, aluminosilicates, alumina, silica, kieselguhr, and carbon.
- aluminosilicates means a support composition including the elements aluminum, silicon, and oxygen, such as molecular sieves; such aluminosilicates may be natural or synthetic in character.
- macroreticulate polymers which may be useful in the broad practice of the invention are those formed from monomers such as styrene, vinyltoluene, vinylisopropylbenzene, vinyl naphthalene, alpha-methylstyrene, beta-methylstyrene, and mixtures thereof.
- Such polymers may suitably be polymerized in the presence of a cross-linking agent such as divinylbenzene or divinylnaphthalene.
- a particularly preferred macroreticulate polymer is poly (styrene-divinylbenzene), commercially available as Amberlite XAD4 (50 Angstrom pore size) and Amberlite XAD2 (100 Angstrom pore size), from Rohm & Haas, Philadelphia, Pennsylvania.
- supports which are useful for scavengers of the invention include (a) high surface area, for example a surface area in the range of from about 50 to about 1000 square meters per gram of support, (b) high porosity, such as a significant porosity from pores of a diameter in the range of from about 3 to about 200 Angstroms, and (c) good thermal stability, e.g., thermally stable at temperatures up to about 250 degrees Centigrade.
- the scavengers of the invention may be readily formed into a bed through which the impurity-containing gas mixture is flowed for purification thereof, thereby providing a highly efficient removal system for substantially eliminating water and other impurities from arsine, phosphine, ammonia, and/or inert gases.
- Suitable scavengers according to the invention utilizing anions derived from the compounds of Table I herein on supports such as the aforementioned Amberlite materials, may variously provide water removal capacity of from about 0.5 to about 20 liters of gaseous water per liter of bed of the scavenger. In some instances where the impurity-removing reactions are highly exothermic in character, it may be desirable to utilize a removal capacity, based on water, of from about 1 to about 5 liters gaseous water per liter of bed of the scavenger.
- the impurity removal capacity of the bed may of course be readily adjusted to a particular desired level by controlling the loading of the scavenger anion on the support in the impregnation or other fabrication step by which the carbanion source compound is applied to the support.
- the single drawing hereof shows a schematic representation of an apparatus for carrying out the purification method of the invention.
- the vessel 10 comprises an upper cylindrically shaped block 12 joined to the cup-like receptacle 14 by means of circumferentially extending weld 16.
- a bed 18 of the scavenger according to the present invention is disposed in the lower portion of receptacle 14 in the lower portion of receptacle 14 in the lower portion of receptacle 14 in the lower portion of receptacle 14 in the lower portion of receptacle 14 disposed a bed 18 of the scavenger according to the present invention.
- the vessel features means for introducing impurity-containing gas mixture, comprising as a primary component one or more of arsine, phosphine, ammonia, and/or inert gases, into the interior space of the receptacle 14 for contact with the scavenger in bed 18.
- impurity-containing gas mixture comprising as a primary component one or more of arsine, phosphine, ammonia, and/or inert gases, into the interior space of the receptacle 14 for contact with the scavenger in bed 18.
- introduction means comprise the conduit 20, provided at its exterior end with an appropriate fitting 22 for joining with the supply line 32 to gas mixture source 30.
- the conduit 20 passes through the block 12 as shown, in a generally horizontal direction toward the center of the block and then downwardly extending from the block into the bed 18. At its lower portion in contact with the bed, this conduit has a plurality of gas distribution openings 34, through which the gas mixture flows outwardly and upwardly through the scavenger in the bed.
- the impurity-depleted gas flows into the outlet conduit 24, provided with a suitable fitting 26 for connection to the product gas discharge line 28, from which the purified gas may be supplied to a downstream end-use processing facility.
- a suitable quantity of Amberlite XAD4 is introduced to a flask and sized by washing with tap water to remove fines.
- the sized polymer is then washed in sequence with deionized water, methanol, isopropanol, and hexane, each in an amount equal to twice the volume of the bed of polymer.
- the polymer is air dried, and then dried with nitrogen at 150-190 degrees Centigrade overnight to remove solvent.
- Triphenylmethane is dissolved in toluene, and the polymer bed is flooded with the resulting solution to apply the carbanion precursor at a loading of 10 grams of triphenylmethane per liter of bed. Solvent then is removed from the bed with nitrogen at 120 degrees Centigrade.
- butyllithium in hexane solvent is added to the bed to form the carbanion source compound, triphenylmethyllithium, following which solvent is removed from the bed and the unconditioned scavenger is packed under inert atmosphere into a suitable vessel.
- the scavenger in the vessel is then conditioned for service as a moisture scavenger for arsine by blowing helium gas containing on the order of 1-2 volume percent arsine through the scavenger bed in a stoichiometric amount to carry out the exothermic reaction of triphenylmethyllithium with arsine to form lithium arsenide and triphenylmethane.
- the exit gas from this conditioning step is scrubbed with hypochlorite, and the scavenger bed then is swept with inert gas to remove any free arsine remaining in the bed.
- Lithium arsenide thus is formed as the anion source compound in the scavenger, with the arsenide anion from such compound serving as the active water gettering moiety when the vessel is placed in active service to purify water-containing arsine.
- the efficacy of a scavenger bed constructed in accordance with Example I is evaluated by flowing therethrough an arsine stream containing 40 ppm water, at a flow rate providing 1000 volumes of the wet arsine gas per volume of scavenger bed per hour.
- the effluent from the bed is measured for moisture content by a DuPont 5700 Trace Moisture Analyzer, and yields a moisture content of less than 0.01 ppm water.
- Capacity of a scavenger bed constructed in accordance with Example I is measured by flowing therethrough a stream of nitrogen containing 200 ppm of water.
- the effluent is measured by the same moisture analyzer device as is employed in Example II.
- the water removal capacity of the scavenger bed is between 1 and 5 liters of gaseous water per liter of bed.
- Corresponding measurements on oxygen-containing streams indicate an oxygen removal capacity for the scavenger bed of from about 0.5 to about 3 liters of oxygen per liter of bed.
Landscapes
- Chemical & Material Sciences (AREA)
- Organic Chemistry (AREA)
- Analytical Chemistry (AREA)
- Chemical Kinetics & Catalysis (AREA)
- Inorganic Chemistry (AREA)
- General Chemical & Material Sciences (AREA)
- Solid-Sorbent Or Filter-Aiding Compositions (AREA)
- Separation Of Gases By Adsorption (AREA)
- Drying Of Gases (AREA)
- Inorganic Compounds Of Heavy Metals (AREA)
- Gas Separation By Absorption (AREA)
- Detergent Compositions (AREA)
Applications Claiming Priority (2)
| Application Number | Priority Date | Filing Date | Title |
|---|---|---|---|
| US07/029,632 US4761395A (en) | 1987-03-24 | 1987-03-24 | Process and composition for purifying arsine, phosphine, ammonia, and inert gases to remove Lewis acid and oxidant impurities therefrom |
| US29632 | 1987-03-24 |
Publications (3)
| Publication Number | Publication Date |
|---|---|
| EP0283961A2 EP0283961A2 (en) | 1988-09-28 |
| EP0283961A3 EP0283961A3 (en) | 1991-01-30 |
| EP0283961B1 true EP0283961B1 (en) | 1995-12-20 |
Family
ID=21850050
Family Applications (2)
| Application Number | Title | Priority Date | Filing Date |
|---|---|---|---|
| EP88104383A Expired - Lifetime EP0283961B1 (en) | 1987-03-24 | 1988-03-18 | Process and composition for purifying arsine, phosphine, ammonia and inert gases to remove Lewis acid and oxidant impurities therefrom |
| EP90905985A Expired - Lifetime EP0521849B1 (en) | 1987-03-24 | 1990-03-30 | Process and apparatus for purifying inert gases to remove lewis acid and oxidant impurities therefrom |
Family Applications After (1)
| Application Number | Title | Priority Date | Filing Date |
|---|---|---|---|
| EP90905985A Expired - Lifetime EP0521849B1 (en) | 1987-03-24 | 1990-03-30 | Process and apparatus for purifying inert gases to remove lewis acid and oxidant impurities therefrom |
Country Status (5)
| Country | Link |
|---|---|
| US (1) | US4761395A (enExample) |
| EP (2) | EP0283961B1 (enExample) |
| JP (1) | JPS63303805A (enExample) |
| DE (1) | DE3854793T2 (enExample) |
| WO (1) | WO1991015868A1 (enExample) |
Families Citing this family (44)
| Publication number | Priority date | Publication date | Assignee | Title |
|---|---|---|---|---|
| US5151395A (en) * | 1987-03-24 | 1992-09-29 | Novapure Corporation | Bulk gas sorption and apparatus, gas containment/treatment system comprising same, and sorbent composition therefor |
| US5156827A (en) * | 1989-03-14 | 1992-10-20 | Advanced Technology Materials, Inc. | Apparatus, process, and composition for in-situ generation of polyhydridic compounds of group iv-vi elements |
| US4950419A (en) * | 1987-03-24 | 1990-08-21 | Advanced Technology Materials, Inc. | Process, composition, and apparatus for purifying inert gases to remove lewis acid and oxidant impurities therefrom |
| US4761395A (en) * | 1987-03-24 | 1988-08-02 | Advanced Technology Materials, Inc. | Process and composition for purifying arsine, phosphine, ammonia, and inert gases to remove Lewis acid and oxidant impurities therefrom |
| US5037624A (en) * | 1987-03-24 | 1991-08-06 | Advanced Technology Materials Inc. | Composition, apparatus, and process, for sorption of gaseous compounds of group II-VII elements |
| US5015411A (en) * | 1987-03-24 | 1991-05-14 | Advanced Technology Materials, Inc. | Process, composition, and apparatus for purifying inert gases to remove Lewis acid and oxidant impurities therefrom |
| AR244505A1 (es) * | 1988-05-14 | 1993-11-30 | Deutsche Ges Schaedlingsbek | Metodo para impedir o retardar la formacion de niveles indeseables de fosfina en un espacio o ambiente, y producto plaguicida para llevar a cabo dicho metodo. |
| US5252259A (en) * | 1991-04-22 | 1993-10-12 | Hercules Incorporated | Purification of sulfur hexafluoride |
| US5260585A (en) * | 1992-06-12 | 1993-11-09 | Novapure Corporation | Endpoint and/or back diffusion gas impurity detector, and method of using the same |
| US5320817A (en) * | 1992-08-28 | 1994-06-14 | Novapure Corporation | Process for sorption of hazardous waste products from exhaust gas streams |
| US5340552A (en) * | 1992-09-10 | 1994-08-23 | Millipore Corporation | Reactive matrix for removing impurities from hydride and inert gases and process |
| US5385689A (en) * | 1993-06-29 | 1995-01-31 | Novapure Corporation | Process and composition for purifying semiconductor process gases to remove Lewis acid and oxidant impurities therefrom |
| EP0662339A3 (en) * | 1994-01-07 | 1996-11-13 | Osaka Oxygen Ind | Process for removing water from gases. |
| US5725637A (en) * | 1994-03-21 | 1998-03-10 | Gas Research Institute | Gas dehydration process |
| US5536302A (en) * | 1994-03-23 | 1996-07-16 | Air Products And Chemicals, Inc. | Adsorbent for removal of trace oxygen from inert gases |
| US5730181A (en) * | 1994-07-15 | 1998-03-24 | Unit Instruments, Inc. | Mass flow controller with vertical purifier |
| US6132492A (en) * | 1994-10-13 | 2000-10-17 | Advanced Technology Materials, Inc. | Sorbent-based gas storage and delivery system for dispensing of high-purity gas, and apparatus and process for manufacturing semiconductor devices, products and precursor structures utilizing same |
| US5707424A (en) * | 1994-10-13 | 1998-01-13 | Advanced Technology Materials, Inc. | Process system with integrated gas storage and delivery unit |
| US6083298A (en) * | 1994-10-13 | 2000-07-04 | Advanced Technology Materials, Inc. | Process for fabricating a sorbent-based gas storage and dispensing system, utilizing sorbent material pretreatment |
| US6204180B1 (en) | 1997-05-16 | 2001-03-20 | Advanced Technology Materials, Inc. | Apparatus and process for manufacturing semiconductor devices, products and precursor structures utilizing sorbent-based fluid storage and dispensing system for reagent delivery |
| US5704967A (en) * | 1995-10-13 | 1998-01-06 | Advanced Technology Materials, Inc. | Fluid storage and delivery system comprising high work capacity physical sorbent |
| US5518528A (en) * | 1994-10-13 | 1996-05-21 | Advanced Technology Materials, Inc. | Storage and delivery system for gaseous hydride, halide, and organometallic group V compounds |
| DE19528783A1 (de) * | 1995-08-04 | 1997-02-06 | Inst Neuwertwirtschaft Gmbh | Sorbent für Sauerstoff und Verfahren zu seiner Herstellung und Regenerierung |
| DE19528784C1 (de) * | 1995-08-04 | 1996-08-29 | Inst Neuwertwirtschaft Gmbh | Verfahren zur Reinigung von Inertgasen mittels Sorbenzien |
| US5916245A (en) * | 1996-05-20 | 1999-06-29 | Advanced Technology Materials, Inc. | High capacity gas storage and dispensing system |
| CA2225221C (en) * | 1996-05-20 | 2009-01-06 | Advanced Technology Materials, Inc. | Fluid storage and delivery system comprising high work capacity physical sorbent |
| US6019823A (en) * | 1997-05-16 | 2000-02-01 | Advanced Technology Materials, Inc. | Sorbent-based fluid storage and dispensing vessel with replaceable sorbent cartridge members |
| US6027547A (en) * | 1997-05-16 | 2000-02-22 | Advanced Technology Materials, Inc. | Fluid storage and dispensing vessel with modified high surface area solid as fluid storage medium |
| US5851270A (en) * | 1997-05-20 | 1998-12-22 | Advanced Technology Materials, Inc. | Low pressure gas source and dispensing apparatus with enhanced diffusive/extractive means |
| US5985008A (en) * | 1997-05-20 | 1999-11-16 | Advanced Technology Materials, Inc. | Sorbent-based fluid storage and dispensing system with high efficiency sorbent medium |
| US5980608A (en) * | 1998-01-07 | 1999-11-09 | Advanced Technology Materials, Inc. | Throughflow gas storage and dispensing system |
| US6070576A (en) * | 1998-06-02 | 2000-06-06 | Advanced Technology Materials, Inc. | Adsorbent-based storage and dispensing system |
| US7465692B1 (en) | 2000-03-16 | 2008-12-16 | Pall Corporation | Reactive media, methods of use and assemblies for purifying |
| US6547861B2 (en) * | 2000-12-26 | 2003-04-15 | Matheson Tri-Gas,, Inc. | Method and materials for purifying reactive gases using preconditioned ultra-low emission carbon material |
| US7446078B2 (en) * | 2002-07-09 | 2008-11-04 | Air Products And Chemicals, Inc. | Adsorbent for water removal from ammonia |
| US6911065B2 (en) * | 2002-12-26 | 2005-06-28 | Matheson Tri-Gas, Inc. | Method and system for supplying high purity fluid |
| US6843830B2 (en) * | 2003-04-15 | 2005-01-18 | Advanced Technology Materials, Inc. | Abatement system targeting a by-pass effluent stream of a semiconductor process tool |
| US7553355B2 (en) * | 2003-06-23 | 2009-06-30 | Matheson Tri-Gas | Methods and materials for the reduction and control of moisture and oxygen in OLED devices |
| US7160360B2 (en) * | 2003-12-08 | 2007-01-09 | Air Products And Chemicals, Inc. | Purification of hydride gases |
| US6892473B1 (en) | 2003-12-08 | 2005-05-17 | Air Products And Chemicals, Inc. | Process for removing water from ammonia |
| US8679231B2 (en) | 2011-01-19 | 2014-03-25 | Advanced Technology Materials, Inc. | PVDF pyrolyzate adsorbent and gas storage and dispensing system utilizing same |
| CN103638890B (zh) * | 2013-11-19 | 2016-01-06 | 全椒南大光电材料有限公司 | 高纯安全气体源的制备方法 |
| CN107107028B (zh) * | 2014-12-04 | 2021-06-25 | 纽麦特科技公司 | 用于减少和提纯电子气体以及从烃流中除去汞的多孔聚合物 |
| CN106621796B (zh) * | 2016-10-31 | 2023-06-13 | 昆明理工大学 | 一种同时脱除羰基硫、二硫化碳的方法及装置 |
Family Cites Families (20)
| Publication number | Priority date | Publication date | Assignee | Title |
|---|---|---|---|---|
| US3079428A (en) * | 1959-10-20 | 1963-02-26 | Monsanto Chemicals | Purification of organic liquids containing acid impurities |
| US3316223A (en) * | 1959-10-20 | 1967-04-25 | Monsanto Co | Novel anionic polymers of certain insoluble crosslinked polymers of a pka value of at least 16 and alkali and alkaline earth metals |
| US3240554A (en) * | 1961-02-27 | 1966-03-15 | Air Reduction | Method of removing oxygen from relatively inert crude gases |
| GB1051201A (enExample) * | 1963-02-26 | |||
| US3361531A (en) * | 1967-02-27 | 1968-01-02 | Union Carbide Corp | Removal of oxygen from gas mixtures |
| US3542544A (en) * | 1967-04-03 | 1970-11-24 | Eastman Kodak Co | Photoconductive elements containing organic photoconductors of the triarylalkane and tetraarylmethane types |
| US3984253A (en) * | 1974-04-22 | 1976-10-05 | Eastman Kodak Company | Imaging processes and elements therefor |
| US4101568A (en) * | 1976-02-27 | 1978-07-18 | Texas Alkyls, Inc. | Production of dialkylaluminum hydrides |
| US4360660A (en) * | 1979-12-22 | 1982-11-23 | Fuji Photo Film Co., Ltd. | Triphenylmethane polymer, process for production thereof, and photoconductive compositions and members formed therefrom |
| US4316950A (en) * | 1979-12-26 | 1982-02-23 | Polaroid Corporation | Novel xanthene compounds and photographic products and processes employing the same |
| US4258119A (en) * | 1979-12-26 | 1981-03-24 | Polaroid Corporation | Novel xanthene compounds and photographic products and processes employing the same |
| US4416971A (en) * | 1982-12-28 | 1983-11-22 | Polaroid Corporation | Novel xanthene compounds and their photographic use |
| US4603148A (en) * | 1983-05-12 | 1986-07-29 | Hercules Incorporated | Macroreticulate polymer scavengers for the removal of impurities from inert fluids |
| JPS6016802A (ja) * | 1983-07-01 | 1985-01-28 | Olympus Optical Co Ltd | 半導体用原料ガスの純化剤およびその使用方法 |
| US4604270A (en) * | 1984-09-28 | 1986-08-05 | Hercules Incorporated | Scavengers for the removal of impurities from inert fluids |
| US4668773A (en) * | 1985-03-25 | 1987-05-26 | Northwestern University | Organolanthanide catalysts |
| US4659552A (en) * | 1986-07-21 | 1987-04-21 | Hercules Incorporated | Scavengers for the removal of impurities from arsine and phosphine |
| US4853148A (en) * | 1987-03-24 | 1989-08-01 | Advanced Technology Materials, Inc. | Process and composition for drying of gaseous hydrogen halides |
| US4761395A (en) * | 1987-03-24 | 1988-08-02 | Advanced Technology Materials, Inc. | Process and composition for purifying arsine, phosphine, ammonia, and inert gases to remove Lewis acid and oxidant impurities therefrom |
| US4797227A (en) * | 1987-07-31 | 1989-01-10 | Advanced Technology Materials Inc. | Process and composition for purifying hydrogen selenide and hydrogen telluride, to remove moisture and oxidant impurities therefrom |
-
1987
- 1987-03-24 US US07/029,632 patent/US4761395A/en not_active Expired - Lifetime
-
1988
- 1988-03-18 EP EP88104383A patent/EP0283961B1/en not_active Expired - Lifetime
- 1988-03-18 DE DE3854793T patent/DE3854793T2/de not_active Expired - Fee Related
- 1988-03-23 JP JP63067458A patent/JPS63303805A/ja active Granted
-
1990
- 1990-03-30 WO PCT/US1990/001700 patent/WO1991015868A1/en not_active Ceased
- 1990-03-30 EP EP90905985A patent/EP0521849B1/en not_active Expired - Lifetime
Also Published As
| Publication number | Publication date |
|---|---|
| DE3854793T2 (de) | 1996-07-18 |
| DE3854793D1 (de) | 1996-02-01 |
| US4761395A (en) | 1988-08-02 |
| WO1991015868A1 (en) | 1991-10-17 |
| JPS63303805A (ja) | 1988-12-12 |
| EP0521849B1 (en) | 1996-01-17 |
| EP0521849A1 (en) | 1993-01-13 |
| JPH0557314B2 (enExample) | 1993-08-23 |
| EP0283961A2 (en) | 1988-09-28 |
| EP0521849A4 (en) | 1993-05-19 |
| EP0283961A3 (en) | 1991-01-30 |
Similar Documents
| Publication | Publication Date | Title |
|---|---|---|
| EP0283961B1 (en) | Process and composition for purifying arsine, phosphine, ammonia and inert gases to remove Lewis acid and oxidant impurities therefrom | |
| US4853148A (en) | Process and composition for drying of gaseous hydrogen halides | |
| EP0179969B1 (en) | Use of scavengers for the removal of impurities from inert fluids | |
| US4983363A (en) | Apparatus for purifying arsine, phosphine, ammonia, and inert gases to remove Lewis acid and oxidant impurities therefrom | |
| US4925646A (en) | Process and composition for drying of gaseous hydrogen halides | |
| US4781900A (en) | Process and composition for purifying arsine, phosphine, ammonia, and inert gases to remove Lewis acid and oxidant impurities therefrom | |
| US4659552A (en) | Scavengers for the removal of impurities from arsine and phosphine | |
| US6221132B1 (en) | Vacuum preparation of hydrogen halide drier | |
| US5015411A (en) | Process, composition, and apparatus for purifying inert gases to remove Lewis acid and oxidant impurities therefrom | |
| EP0894527B1 (en) | Composition and process for removing moisture from hydrogen halides | |
| US4797227A (en) | Process and composition for purifying hydrogen selenide and hydrogen telluride, to remove moisture and oxidant impurities therefrom | |
| US5298229A (en) | Purification of sulfur hexafluoride | |
| US5512262A (en) | Process for cleaning harmful gas | |
| US4950419A (en) | Process, composition, and apparatus for purifying inert gases to remove lewis acid and oxidant impurities therefrom | |
| US5094830A (en) | Process for removal of water and silicon mu-oxides from chlorosilanes | |
| US4696953A (en) | Scavengers for the removal of impurities from arsine and phosphine | |
| US4865822A (en) | Process for purifying hydrogen selenide and hydrogen telluride, to remove moisture and oxidant impurities therefrom | |
| US4716181A (en) | Scavengers for the removal of impurities from arsine and phosphine | |
| US5057242A (en) | Composition, process, and apparatus, for removal of water and silicon mu-oxides from chlorosilanes | |
| US2716665A (en) | Manufacture of unsaturated aldehydes | |
| JP3001627B2 (ja) | 不活性ガスを精製してそこからルイス酸および酸化剤不純物を除去するための方法、組成物および装置 | |
| US4976933A (en) | Hydrogen stream purification | |
| JPS6263532A (ja) | 気体流からの沃化メチルの除去方法 | |
| JPH08243385A (ja) | 新規な複合体およびその製造方法、ならびに該複合体からなるオレフィン吸着剤 | |
| JPH0760054A (ja) | 有害ガスの浄化方法 |
Legal Events
| Date | Code | Title | Description |
|---|---|---|---|
| PUAI | Public reference made under article 153(3) epc to a published international application that has entered the european phase |
Free format text: ORIGINAL CODE: 0009012 |
|
| AK | Designated contracting states |
Kind code of ref document: A2 Designated state(s): AT BE CH DE ES FR GB GR IT LI LU NL SE |
|
| PUAL | Search report despatched |
Free format text: ORIGINAL CODE: 0009013 |
|
| AK | Designated contracting states |
Kind code of ref document: A3 Designated state(s): AT BE CH DE ES FR GB GR IT LI LU NL SE |
|
| 17P | Request for examination filed |
Effective date: 19901231 |
|
| RAP1 | Party data changed (applicant data changed or rights of an application transferred) |
Owner name: NOVAPURE CORPORATION |
|
| 17Q | First examination report despatched |
Effective date: 19921216 |
|
| RBV | Designated contracting states (corrected) |
Designated state(s): DE FR GB IT |
|
| RAP1 | Party data changed (applicant data changed or rights of an application transferred) |
Owner name: MILLIPORE INVESTMENT HOLDINGS LIMITED |
|
| GRAA | (expected) grant |
Free format text: ORIGINAL CODE: 0009210 |
|
| AK | Designated contracting states |
Kind code of ref document: B1 Designated state(s): DE FR GB IT |
|
| REF | Corresponds to: |
Ref document number: 3854793 Country of ref document: DE Date of ref document: 19960201 |
|
| ITF | It: translation for a ep patent filed | ||
| ET | Fr: translation filed | ||
| PLBE | No opposition filed within time limit |
Free format text: ORIGINAL CODE: 0009261 |
|
| STAA | Information on the status of an ep patent application or granted ep patent |
Free format text: STATUS: NO OPPOSITION FILED WITHIN TIME LIMIT |
|
| 26N | No opposition filed | ||
| REG | Reference to a national code |
Ref country code: GB Ref legal event code: IF02 |
|
| PGFP | Annual fee paid to national office [announced via postgrant information from national office to epo] |
Ref country code: GB Payment date: 20020313 Year of fee payment: 15 |
|
| REG | Reference to a national code |
Ref country code: GB Ref legal event code: 732E |
|
| PG25 | Lapsed in a contracting state [announced via postgrant information from national office to epo] |
Ref country code: GB Free format text: LAPSE BECAUSE OF NON-PAYMENT OF DUE FEES Effective date: 20030318 |
|
| REG | Reference to a national code |
Ref country code: FR Ref legal event code: TP |
|
| GBPC | Gb: european patent ceased through non-payment of renewal fee |
Effective date: 20030318 |
|
| PGFP | Annual fee paid to national office [announced via postgrant information from national office to epo] |
Ref country code: FR Payment date: 20040420 Year of fee payment: 17 |
|
| PGFP | Annual fee paid to national office [announced via postgrant information from national office to epo] |
Ref country code: DE Payment date: 20040430 Year of fee payment: 17 |
|
| PG25 | Lapsed in a contracting state [announced via postgrant information from national office to epo] |
Ref country code: IT Free format text: LAPSE BECAUSE OF NON-PAYMENT OF DUE FEES;WARNING: LAPSES OF ITALIAN PATENTS WITH EFFECTIVE DATE BEFORE 2007 MAY HAVE OCCURRED AT ANY TIME BEFORE 2007. THE CORRECT EFFECTIVE DATE MAY BE DIFFERENT FROM THE ONE RECORDED. Effective date: 20050318 |
|
| PG25 | Lapsed in a contracting state [announced via postgrant information from national office to epo] |
Ref country code: DE Free format text: LAPSE BECAUSE OF NON-PAYMENT OF DUE FEES Effective date: 20051001 |
|
| PG25 | Lapsed in a contracting state [announced via postgrant information from national office to epo] |
Ref country code: FR Free format text: LAPSE BECAUSE OF NON-PAYMENT OF DUE FEES Effective date: 20051130 |
|
| REG | Reference to a national code |
Ref country code: FR Ref legal event code: ST Effective date: 20051130 |