EP0246464A1 - Schallschluckbeschichtung einer Akustikwand oder Akustikdecke - Google Patents
Schallschluckbeschichtung einer Akustikwand oder Akustikdecke Download PDFInfo
- Publication number
- EP0246464A1 EP0246464A1 EP87106062A EP87106062A EP0246464A1 EP 0246464 A1 EP0246464 A1 EP 0246464A1 EP 87106062 A EP87106062 A EP 87106062A EP 87106062 A EP87106062 A EP 87106062A EP 0246464 A1 EP0246464 A1 EP 0246464A1
- Authority
- EP
- European Patent Office
- Prior art keywords
- wallpaper
- proviso
- staple fiber
- absorber plate
- wallpaper web
- Prior art date
- Legal status (The legal status is an assumption and is not a legal conclusion. Google has not performed a legal analysis and makes no representation as to the accuracy of the status listed.)
- Granted
Links
- 239000006096 absorbing agent Substances 0.000 claims abstract description 54
- 239000000463 material Substances 0.000 claims abstract description 18
- 230000008878 coupling Effects 0.000 claims abstract description 16
- 238000010168 coupling process Methods 0.000 claims abstract description 16
- 238000005859 coupling reaction Methods 0.000 claims abstract description 16
- 239000000835 fiber Substances 0.000 claims description 37
- 238000000576 coating method Methods 0.000 claims description 24
- 239000011248 coating agent Substances 0.000 claims description 23
- 239000004744 fabric Substances 0.000 claims description 22
- 239000011490 mineral wool Substances 0.000 claims description 6
- 239000012209 synthetic fiber Substances 0.000 claims description 6
- 229920002994 synthetic fiber Polymers 0.000 claims description 6
- 239000011521 glass Substances 0.000 claims description 5
- 239000011152 fibreglass Substances 0.000 claims 1
- 239000004033 plastic Substances 0.000 abstract description 5
- 229920003023 plastic Polymers 0.000 abstract description 5
- 239000004753 textile Substances 0.000 abstract description 3
- 238000010521 absorption reaction Methods 0.000 description 20
- 239000010410 layer Substances 0.000 description 15
- 239000000853 adhesive Substances 0.000 description 8
- 230000001070 adhesive effect Effects 0.000 description 8
- 239000002184 metal Substances 0.000 description 6
- 239000011148 porous material Substances 0.000 description 6
- 125000006850 spacer group Chemical group 0.000 description 5
- 229910052500 inorganic mineral Inorganic materials 0.000 description 3
- 238000000034 method Methods 0.000 description 3
- 239000011707 mineral Substances 0.000 description 3
- 239000000123 paper Substances 0.000 description 3
- 230000002787 reinforcement Effects 0.000 description 3
- 238000009418 renovation Methods 0.000 description 3
- 238000005507 spraying Methods 0.000 description 3
- 238000003490 calendering Methods 0.000 description 2
- 230000000694 effects Effects 0.000 description 2
- 238000005516 engineering process Methods 0.000 description 2
- 239000011888 foil Substances 0.000 description 2
- 230000002209 hydrophobic effect Effects 0.000 description 2
- 239000012528 membrane Substances 0.000 description 2
- 238000010422 painting Methods 0.000 description 2
- 229920002522 Wood fibre Polymers 0.000 description 1
- 239000011358 absorbing material Substances 0.000 description 1
- 230000006978 adaptation Effects 0.000 description 1
- 239000002318 adhesion promoter Substances 0.000 description 1
- 239000012790 adhesive layer Substances 0.000 description 1
- 239000011230 binding agent Substances 0.000 description 1
- 230000033228 biological regulation Effects 0.000 description 1
- 230000005540 biological transmission Effects 0.000 description 1
- 238000010276 construction Methods 0.000 description 1
- 229910052602 gypsum Inorganic materials 0.000 description 1
- 239000010440 gypsum Substances 0.000 description 1
- 238000004519 manufacturing process Methods 0.000 description 1
- 239000004745 nonwoven fabric Substances 0.000 description 1
- 230000003287 optical effect Effects 0.000 description 1
- 230000010355 oscillation Effects 0.000 description 1
- 239000003973 paint Substances 0.000 description 1
- 239000002245 particle Substances 0.000 description 1
- 239000011505 plaster Substances 0.000 description 1
- 239000005871 repellent Substances 0.000 description 1
- 238000005096 rolling process Methods 0.000 description 1
- 238000007789 sealing Methods 0.000 description 1
- 230000006641 stabilisation Effects 0.000 description 1
- 238000011105 stabilization Methods 0.000 description 1
- 239000000126 substance Substances 0.000 description 1
- 230000003746 surface roughness Effects 0.000 description 1
- 239000002023 wood Substances 0.000 description 1
- 239000002025 wood fiber Substances 0.000 description 1
Images
Classifications
-
- E—FIXED CONSTRUCTIONS
- E04—BUILDING
- E04B—GENERAL BUILDING CONSTRUCTIONS; WALLS, e.g. PARTITIONS; ROOFS; FLOORS; CEILINGS; INSULATION OR OTHER PROTECTION OF BUILDINGS
- E04B9/00—Ceilings; Construction of ceilings, e.g. false ceilings; Ceiling construction with regard to insulation
- E04B9/001—Ceilings; Construction of ceilings, e.g. false ceilings; Ceiling construction with regard to insulation characterised by provisions for heat or sound insulation
-
- E—FIXED CONSTRUCTIONS
- E04—BUILDING
- E04B—GENERAL BUILDING CONSTRUCTIONS; WALLS, e.g. PARTITIONS; ROOFS; FLOORS; CEILINGS; INSULATION OR OTHER PROTECTION OF BUILDINGS
- E04B1/00—Constructions in general; Structures which are not restricted either to walls, e.g. partitions, or floors or ceilings or roofs
- E04B1/62—Insulation or other protection; Elements or use of specified material therefor
- E04B1/74—Heat, sound or noise insulation, absorption, or reflection; Other building methods affording favourable thermal or acoustical conditions, e.g. accumulating of heat within walls
- E04B1/82—Heat, sound or noise insulation, absorption, or reflection; Other building methods affording favourable thermal or acoustical conditions, e.g. accumulating of heat within walls specifically with respect to sound only
- E04B1/84—Sound-absorbing elements
- E04B1/8409—Sound-absorbing elements sheet-shaped
-
- E—FIXED CONSTRUCTIONS
- E04—BUILDING
- E04B—GENERAL BUILDING CONSTRUCTIONS; WALLS, e.g. PARTITIONS; ROOFS; FLOORS; CEILINGS; INSULATION OR OTHER PROTECTION OF BUILDINGS
- E04B9/00—Ceilings; Construction of ceilings, e.g. false ceilings; Ceiling construction with regard to insulation
- E04B9/04—Ceilings; Construction of ceilings, e.g. false ceilings; Ceiling construction with regard to insulation comprising slabs, panels, sheets or the like
- E04B9/045—Ceilings; Construction of ceilings, e.g. false ceilings; Ceiling construction with regard to insulation comprising slabs, panels, sheets or the like being laminated
-
- E—FIXED CONSTRUCTIONS
- E04—BUILDING
- E04B—GENERAL BUILDING CONSTRUCTIONS; WALLS, e.g. PARTITIONS; ROOFS; FLOORS; CEILINGS; INSULATION OR OTHER PROTECTION OF BUILDINGS
- E04B9/00—Ceilings; Construction of ceilings, e.g. false ceilings; Ceiling construction with regard to insulation
- E04B9/04—Ceilings; Construction of ceilings, e.g. false ceilings; Ceiling construction with regard to insulation comprising slabs, panels, sheets or the like
- E04B9/0457—Ceilings; Construction of ceilings, e.g. false ceilings; Ceiling construction with regard to insulation comprising slabs, panels, sheets or the like having closed internal cavities
-
- E—FIXED CONSTRUCTIONS
- E04—BUILDING
- E04B—GENERAL BUILDING CONSTRUCTIONS; WALLS, e.g. PARTITIONS; ROOFS; FLOORS; CEILINGS; INSULATION OR OTHER PROTECTION OF BUILDINGS
- E04B9/00—Ceilings; Construction of ceilings, e.g. false ceilings; Ceiling construction with regard to insulation
- E04B9/04—Ceilings; Construction of ceilings, e.g. false ceilings; Ceiling construction with regard to insulation comprising slabs, panels, sheets or the like
- E04B9/0464—Ceilings; Construction of ceilings, e.g. false ceilings; Ceiling construction with regard to insulation comprising slabs, panels, sheets or the like having irregularities on the faces, e.g. holes, grooves
-
- G—PHYSICS
- G10—MUSICAL INSTRUMENTS; ACOUSTICS
- G10K—SOUND-PRODUCING DEVICES; METHODS OR DEVICES FOR PROTECTING AGAINST, OR FOR DAMPING, NOISE OR OTHER ACOUSTIC WAVES IN GENERAL; ACOUSTICS NOT OTHERWISE PROVIDED FOR
- G10K11/00—Methods or devices for transmitting, conducting or directing sound in general; Methods or devices for protecting against, or for damping, noise or other acoustic waves in general
- G10K11/16—Methods or devices for protecting against, or for damping, noise or other acoustic waves in general
- G10K11/172—Methods or devices for protecting against, or for damping, noise or other acoustic waves in general using resonance effects
-
- E—FIXED CONSTRUCTIONS
- E04—BUILDING
- E04B—GENERAL BUILDING CONSTRUCTIONS; WALLS, e.g. PARTITIONS; ROOFS; FLOORS; CEILINGS; INSULATION OR OTHER PROTECTION OF BUILDINGS
- E04B1/00—Constructions in general; Structures which are not restricted either to walls, e.g. partitions, or floors or ceilings or roofs
- E04B1/62—Insulation or other protection; Elements or use of specified material therefor
- E04B1/74—Heat, sound or noise insulation, absorption, or reflection; Other building methods affording favourable thermal or acoustical conditions, e.g. accumulating of heat within walls
- E04B2001/742—Use of special materials; Materials having special structures or shape
- E04B2001/747—Corrugated materials
-
- E—FIXED CONSTRUCTIONS
- E04—BUILDING
- E04B—GENERAL BUILDING CONSTRUCTIONS; WALLS, e.g. PARTITIONS; ROOFS; FLOORS; CEILINGS; INSULATION OR OTHER PROTECTION OF BUILDINGS
- E04B1/00—Constructions in general; Structures which are not restricted either to walls, e.g. partitions, or floors or ceilings or roofs
- E04B1/62—Insulation or other protection; Elements or use of specified material therefor
- E04B1/74—Heat, sound or noise insulation, absorption, or reflection; Other building methods affording favourable thermal or acoustical conditions, e.g. accumulating of heat within walls
- E04B1/82—Heat, sound or noise insulation, absorption, or reflection; Other building methods affording favourable thermal or acoustical conditions, e.g. accumulating of heat within walls specifically with respect to sound only
- E04B2001/8263—Mounting of acoustical elements on supporting structure, e.g. framework or wall surface
- E04B2001/8281—Flat elements mounted parallel to a supporting surface with an acoustically active air gap between the elements and the mounting surface
-
- E—FIXED CONSTRUCTIONS
- E04—BUILDING
- E04B—GENERAL BUILDING CONSTRUCTIONS; WALLS, e.g. PARTITIONS; ROOFS; FLOORS; CEILINGS; INSULATION OR OTHER PROTECTION OF BUILDINGS
- E04B1/00—Constructions in general; Structures which are not restricted either to walls, e.g. partitions, or floors or ceilings or roofs
- E04B1/62—Insulation or other protection; Elements or use of specified material therefor
- E04B1/74—Heat, sound or noise insulation, absorption, or reflection; Other building methods affording favourable thermal or acoustical conditions, e.g. accumulating of heat within walls
- E04B1/82—Heat, sound or noise insulation, absorption, or reflection; Other building methods affording favourable thermal or acoustical conditions, e.g. accumulating of heat within walls specifically with respect to sound only
- E04B1/84—Sound-absorbing elements
- E04B2001/8457—Solid slabs or blocks
- E04B2001/8461—Solid slabs or blocks layered
-
- E—FIXED CONSTRUCTIONS
- E04—BUILDING
- E04B—GENERAL BUILDING CONSTRUCTIONS; WALLS, e.g. PARTITIONS; ROOFS; FLOORS; CEILINGS; INSULATION OR OTHER PROTECTION OF BUILDINGS
- E04B1/00—Constructions in general; Structures which are not restricted either to walls, e.g. partitions, or floors or ceilings or roofs
- E04B1/62—Insulation or other protection; Elements or use of specified material therefor
- E04B1/74—Heat, sound or noise insulation, absorption, or reflection; Other building methods affording favourable thermal or acoustical conditions, e.g. accumulating of heat within walls
- E04B1/82—Heat, sound or noise insulation, absorption, or reflection; Other building methods affording favourable thermal or acoustical conditions, e.g. accumulating of heat within walls specifically with respect to sound only
- E04B1/84—Sound-absorbing elements
- E04B2001/8457—Solid slabs or blocks
- E04B2001/8461—Solid slabs or blocks layered
- E04B2001/8471—Solid slabs or blocks layered with non-planar interior transition surfaces between layers, e.g. faceted, corrugated
-
- E—FIXED CONSTRUCTIONS
- E04—BUILDING
- E04B—GENERAL BUILDING CONSTRUCTIONS; WALLS, e.g. PARTITIONS; ROOFS; FLOORS; CEILINGS; INSULATION OR OTHER PROTECTION OF BUILDINGS
- E04B1/00—Constructions in general; Structures which are not restricted either to walls, e.g. partitions, or floors or ceilings or roofs
- E04B1/62—Insulation or other protection; Elements or use of specified material therefor
- E04B1/74—Heat, sound or noise insulation, absorption, or reflection; Other building methods affording favourable thermal or acoustical conditions, e.g. accumulating of heat within walls
- E04B1/82—Heat, sound or noise insulation, absorption, or reflection; Other building methods affording favourable thermal or acoustical conditions, e.g. accumulating of heat within walls specifically with respect to sound only
- E04B1/84—Sound-absorbing elements
- E04B2001/8457—Solid slabs or blocks
- E04B2001/8476—Solid slabs or blocks with acoustical cavities, with or without acoustical filling
- E04B2001/848—Solid slabs or blocks with acoustical cavities, with or without acoustical filling the cavities opening onto the face of the element
Definitions
- the invention relates generically to acoustic walls or acoustic ceilings and relates to the sound absorption coating in front of the coupling openings of an absorber plate of Helmholtz resonators.
- Acoustic walls or acoustic ceilings are used wherever reverberation regulation is required to improve audibility or to reduce noise. Physically, the ability to absorb sound from acoustic walls and ceilings is based on the fact that sound energy is converted into heat, comparable to braking a vehicle.
- Perforated or slotted absorber plates made of plasterboard, metal or wood fibers are arranged at a distance from the reverberant surface, for example the ceiling or wall of a room.
- an acoustic vibration system is formed between the reverberant surface and the air in the openings of the absorber plate, which is referred to as a Helmholtz resonator and has a high sound absorption capacity at its resonance frequency.
- Acoustic walls or ceilings made up of absorber plates and Helmholtz resonator cavities have good sound absorption properties in the medium frequency range. Above about 1000 Hz, however, the sound absorption capacity drops. For this reason, the absorber plates are often provided with a porous sound absorption coating. The air particles moved by the sound process are effectively braked here by friction on pore walls. It goes without saying that the sound-absorbing coating must be visually appealing and insensitive.
- Such a seamless sound absorption coating is also suitable for acoustic walls consisting of individual absorber plates or acoustic ceilings with visible and visually unappealing panel butt joints with a seamless, smooth and therefore satisfactory surface.
- the sound absorption coating known from DE-OS 16 09 413 consists of a porous coating made of granular mineral material and binders.
- the pore coating is applied by spraying to a fabric that is attached to the front of the absorber plate as an adhesion promoter and tensile reinforcement.
- the pore coating has a high porosity and is usually applied in a layer thickness of 1 to 10 mm. Applying the pore coating places high technical demands on the craftsman.
- the desired sound absorption capacity is not always established. It is also increasingly seen as a disadvantage that the architectural possibilities are considerably limited by the large surface structure. Another serious disadvantage is that renovation by painting or painting cannot be carried out if the surface is dirty and aged, because this affects the porosity and the sound absorption is significantly reduced or even completely prevented.
- the invention has for its object to address a prefabricated sound absorption coating that can be laid seamlessly on acoustic ceilings and acoustic walls and allows an architectural interior design without technical constraints and multiple renovations.
- the object is achieved by using a wallpaper sheet, with the proviso that the wallpaper sheet is porous and permeable to air, at least in the area of the coupling openings of the absorber plate is.
- the wallpaper web used in accordance with the invention in connection with the covered absorber system despite the low surface roughness and despite the small thickness, has the same sound absorption capacity as the known sound absorption coating made of granular mineral material.
- the wallpaper web used as a sound absorption coating is applied to the base with known adhesives. It goes without saying that the surface of the wallpaper web must not be coated with adhesive, since the adhesive forms an air- and sound-impermeable layer.
- the invention teaches that the wallpaper web is arranged on a staple fiber fleece or staple fiber fabric covering the absorber plate made of glass silk, mineral wool or synthetic fibers.
- the porous intermediate layer made of fleece or fabric improves sound absorption and strength in the area of the coupling openings of the absorber plate and in particular prevents these openings from being visible through the wallpaper web.
- the adhesive must not represent air impermeable, the perforation of the wallpaper roll sealing layer, but must be applied so thinly 'that it adheres only to the individual fibers of the staple fiber web or staple fiber web and open between these fibers pores remain or an adhesive must be used, which is itself porous air permeable.
- the invention recommends in this case that a grid is arranged between the wallpaper sheet and the absorber plate, which acts on the one hand as tension reinforcement for the transfer of forces to the wallpaper sheet, which arise from changes in length and joint movements of the absorber plates.
- lattice means both flat lattice panels with punched-out openings and wide-mesh lattice fabric.
- the staple fiber fleece or staple fiber fabric arranged on the absorber plate should preferably have a thickness of 0.1 to 4 mm. This parameter range applies to the arrangement of the fleece or fabric between the absorber plate and the wallpaper web. However, it is also suitable if the fleece b between the fabric is arranged on the side of the absorber plate facing the Helmholtz resonator. Staple fiber fleeces or staple fiber fabrics with an external (acoustic) flow resistance in accordance with DIN 52 213 of 10 to 1000 NS / m 3 have proven successful. All common types of wallpaper can be used.
- Wallpaper web made of air-permeable material means in particular fabrics and nonwovens with a calendered surface made of hydrophobic materials, which are also referred to as membranes and are characterized by water-repellent properties.
- wallpaper webs are recommended that have a structure similar to corrugated cardboard, and wallpaper webs with a rib-shaped or wavy structured support layer on the front of which a flat decorative layer is arranged. From home, the wallpaper webs are more conventional Design impermeable to air.
- Such wallpaper sheets made of air-impermeable material can, however, be used according to the invention with the proviso that they have needle-free air passage openings and that the area proportion of the air passage openings in the total surface of the wallpaper sheet is at least 0.5%.
- wallpaper webs provided with needle-free air passage openings do not act as sound reflectors, such as, for. B.
- the air passage openings can also be kept so small that they are practically invisible.
- the geometry of the air passage openings is arbitrary.
- the air passage openings are hole-shaped and have a hole diameter of 0.1 to 2 mm, but preferably 0.2 to 2 mm.
- the distances between the air! passage openings are expediently selected in the range from 1 to 4 mm.
- the air passage openings are designed in the form of a slot.
- the absorber plate with coupling openings must be matched to the Helmholtz resonator.
- flat perforated plate which can i be constructed as plasterboard perforated plate, gypsum fiber hole plate, wood chip perforated plate, perforated metal plate or plastic plate and is attached to a slat or metal profile frame and spaced from the acoustically hard boundary surface.
- the absorber plate is designed as a flat perforated plate with rear spacers molded onto it. An absorber plate formed with spacers formed on the rear can be placed directly on the reverberant surface. A slatted frame is then not necessary.
- the on the Spacers molded onto the perforated plate define the Helmholtz resonator cavity.
- the integrally formed spacers are preferably made of foamed or non-foamed plastics. Cardboard, plaster or other materials are also possible.
- the perforated plate with ribs formed on the rear from a porous sound-absorbing material which advantageously has an acoustic flow resistance of 20 to 1800 Ns / m 3 .
- Another embodiment of the invention provides that the absorber plate is designed as a corrugated plate with sinusoidal or trapezoidal waves.
- the absorber plate which is designed as a corrugated plate, is expediently covered on the front with a grid or a perforated plate. Due to the good mobility of rear ribbed panels, but especially corrugated panels, there are special architectural design options. Surprisingly, it remains made of corrugated sheet or thin wall! acoustical wall formed in the form of a ribbed plate and wallpaper web, also in terms of sound technology, not behind acoustic walls which have an absorber plate designed as a perforated plasterboard.
- the use of a wallpaper web according to the invention has a number of advantages. Since the sound absorption coating according to the invention is prefabricated in the factory, the reproducibility of the sound absorption effect is very high.
- the wallpaper sheet can be applied quickly and cleanly to the absorber plate.
- a special processing technique with special know-how is not necessary. All work can be carried out by a craftsman from the "drywall construction" division will. A second branch of craftsmen, the so-called "cleaner", whose work creates a lot of dirt through the spraying process required to produce the pore-shaped sound-absorbing coating, is not required.
- a particular advantage is the possibility of pulling off a wallpaper web that has become unsightly and applying a new web to carry out a complete renovation of the room in question by customizing the wallpaper without sacrificing the acoustic properties of the room and without polluting the room.
- the staple fiber fleece or staple fiber fabric preferably has a thickness of 0.1 to 4 mm. Staple fiber fleeces or staple fiber fabrics with an external flow resistance according to DIN 52 213 of 10 to 1000 Ns / rn 3 have proven successful.
- wallpaper webs All common types of wallpaper can be used as wallpaper web 3.
- Woven or needled webs with a calendered surface which are commonly used as membranes and often consist of hydrophobic materials, are suitable.
- the acoustic flow resistance of the wallpaper web should be 10 to 1000 Ns / m 3 .
- a wallpaper web that has a rib-shaped or undulating structure, on the front of which a flat decorative layer is arranged.
- a wallpaper sheet made of air-impermeable material can be used according to the invention, with the proviso that the wallpaper sheet has needle-fine air passage openings 8 and that the area proportion of the air passage openings in the total surface of the wallpaper sheet is at least 0.5%.
- the air passage openings 8 can surprisingly be kept so small that they do not attract attention.
- a preferred one and sound absorption coating shown in the exemplary embodiment has hole-shaped air passage openings 8 with a hole diameter of 0.1 to 2 mm, preferably 0.2 to 2 mm. The distance between the air passage openings is advantageously 1 to 4 mm.
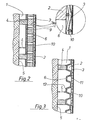
- a staple fiber fleece or staple fiber fabric 9 made of glass silk, mineral wool or synthetic fibers is arranged on the underside of the absorber plate 2, which adjoins the Helmholtz resonator cavity 1. This porous layer prevents! the coupling openings 6 of the absorber plate 2 are visible through the wallpaper web 3.
- a grid 10 is arranged between the wallpaper web 3 and the absorber plate 2. As shown in FIG. 2, the grid can be a fabric grid. The grid can also be designed as a flat grid plate with punched-out openings. This grid 10 acts as a tension reinforcement and prevents forces due to elongation and joint movements of the absorber plate 2 from being transmitted to the wallpaper web 3.
- the wallpaper web 3 can be glued to the grid 10 with conventional adhesives without an air and soundproof continuous adhesive layer being formed between the wallpaper web 3 and the absorber plate 2.
- the adhesive is applied to the grid 10 in a known manner, for example by rolling.
- the mesh size of the grid 10 and grid thickness is set up so that excess adhesive does not block the porous surface of the wallpaper web 3.
- the lattice geometry on the other hand is also set up in such a way that the wallpaper web 3 is uniform on the bottom location.
- the embodiment of the invention shown in FIG. 2 is characterized in that a very large proportion of the area of the wallpaper web 3 actively participates in sound absorption.
- the absorber plate 2 is designed as a corrugated plate with trapezoidal waves 11.
- the coupling openings 6 are arranged at equidistant intervals on the end faces 12 of the corrugated sheet facing away from the wallpaper web 3.
- a support grid 10 for improving the strength or, if appropriate, a staple fiber fleece or staple fiber fabric. Due to the large mobility of the corrugated sheet, there are special architectural design options, e.g. B. the adaptation to arcuate boundary walls is easily possible.
Landscapes
- Engineering & Computer Science (AREA)
- Architecture (AREA)
- Physics & Mathematics (AREA)
- Electromagnetism (AREA)
- Civil Engineering (AREA)
- Structural Engineering (AREA)
- Acoustics & Sound (AREA)
- Multimedia (AREA)
- Building Environments (AREA)
- Laminated Bodies (AREA)
- Soundproofing, Sound Blocking, And Sound Damping (AREA)
Abstract
Description
- Die Erfindung bezieht sich gattungsgemäß auf Akustikwände oder Akustikdecken und betrifft die Schallschluckbeschichtung vor den Kopplungsöffnungen einer Absorberplatte von Helmholtz-Resonatoren. - Akustikwände oder Akustikdecken werden dort eingesetzt, wo eine Nachhallregulierung zur Verbesserung der Hörsamkeit oder zur Minderung von Störschall benötigt wird. Physikalisch beruht das Schallschluckverrnögen von Akustikwänden und -decken darauf, daß Schall- energie in Wärme umgewandelt wird, vergleichbar der Bremsung eines Fahrzeuges. Gelochte oder geschlitzte Absorberplatten aus Gipskarton, Metall oder Holzfasern sind im Abstand zur schallharten Fläche, beispielsweise der Decke oder Wand eines Raumes, angeordnet. Dadurch bildet sich zwischen der schallharten Fläche und der Luft in den Öffnungen der Absorberplatte ein akustisches Schwingungssystem, das als Helmholtz-Resonator bezeichnet wird, und bei seiner Resonanzfrequenz ein hohes Schallschluckvermögen aufweist. Aus Absorberplatten und Helmholtz-Resonatoren-Hohlraum aufgebaute Akustikwände bzw. -decken weisen ein gutes Schallschluckvermögen im mittleren Frequenzbereich auf. Oberhalb von etwa 1000 Hz fällt das Schallschluckvermögen jedoch ab. Aus diesem Grunde werden die Absorberplatten oft mit einer porösen Schallschluckbeschichtung versehen. Die vom Schallvorgang bewegten Luftteilchen werden hier durch Reibung an Porenwänden wirksam abgebremst. Es versteht sich, daß die Schallschluckbeschichtung optisch ansprechend gestaltet und unempfindlich sein muß. Sowohl aus fertigungstechnischen Gründen als auch aus optischen i Gründen geht die Tendenz zu fugenlos verlegbaren Schallschluckbeschichtungen. Eine derartige fugenlose Schallschluckbeschichtung eignet sich auch dazu, aus einzelnen Absorberplatten bestehende Akustikwände oder Akustikdecken mit sichtbaren und optisch nicht ansprechenden Plattenstoßfugen mit einer fugenlosen, glatten und dadurch befriedigenden Oberfläche zu versehen.
- Die aus der DE-OS 16 09 413 bekannte Schallschluckbeschichtung besteht aus einem porigen Belag aus körnigem mineralischen Material sowie Bindemitteln. Der Porenbelag wird im Spritzverfahren auf ein Gewebe aufgetragen, das als Haftvermittler und Zugarmierung an der Vorderseite der Absorberplatte aufgespannt ist. Der Porenbelag hat eine große Porosität und wird üblicherweise in einer Schichtdicke von 1 bis 10 mm aufgebracht. Das Auftragen des Porenbelages stellt hohe fachliche Anforderungen an den Handwerker. Es stellt sich nicht immer das angestrebte Schallschluckvermögen ein. Zunehmend als Nachteil wird auch empfunden, daß die architektonischen Möglichkeiten durch die vorgegebene große Oberflächenstruktur erheblich eingeschränkt sind. Ein weiterer schwerwiegender Nachteil besteht darin, daß bei Verschmutzung und Alterung der Oberfläche eine Renovierung durch Anstrich oder Farbauftrag nicht durchgeführt werden kann, weil dadurch die Porosität beeinträchtigt und die Schallabsorption wesentlich vermindert oder gar ganz unterbunden wird.
- Der Erfindung liegt die Aufgabe zugrunde, eine vorgefertigte Schallschluckbeschichtung anzugehen, die auf Akustikdecken und Akustikwänden fugenlos verlegt werden kann und eine architektonische Raumgestaltung ohne technisch bedingte Zwänge sowie mehrfache Renovierung zuläßt.
- Erfindungsgemäß wird die Aufgabe durch die Verwendung einer Tapetenbahn gelöst, mit der Maßgabe, daß die Tapetenbahn zumindest im Bereich der Kopplungsöffnungen der Absorberplatte luftdurchlässig porös ist. - Überraschenderweise bringt die erfindungsgemäß verwendete Tapetenbahn in Verbindung mit dem abgedeckten Absorbersystem trotz geringer Oberflächenrauhigkeit und trotz geringer Dicke ein ebenso gutes Schallschluckvermögen wie die bekannte Schallschluckbeschichtung aus körnigem mineralischen Material. Die als Schallschluckbeschichtung verwendete Tapetenbahn wird mit bekannten Klebstoffen auf die Unterlage aufgebracht. Es versteht sich, daß die Tapetenbahn jedoch nicht flächig mit Klebstoff bestrichen werden darf, da der Klebstoff eine luft- und schallundurchlässige Schicht bildet.
- In weiterer Ausgestaltung lehrt die Erfindung, daß die Tapetenbahn auf einem die Absorberplatte abdeckenden Stapelfaservlies oder Stapelfasergewebe aus Glasseide, Mineralwolle oder Kunstfasern angeordnet ist. Die poröse Zwischenschicht aus Vlies oder Gewebe verbessert die Schallabsorption und die Festigkeit im Bereich der Kopplungsöffnungen der Absorberplatte und verhindert insbesondere, daß diese Öffnungen durch die Tapetenbahn hindurch sichtbar sind. Der zur Verklebung der Tapetenbahn mit dem Stapelfaservlies oder Stapelfasergewebe erforderliche Klebstoff darf keine luftundurchlässige, die Perforation der Tapetenbahn abdichtende Schicht darstellen, sondern muß so dünn 'aufgetragen werden, daß er nur auf den einzelnen Fasern des Stapelfaservlies oder Stapelfasergewebes haftet und zwischen diesen Fasern offene Poren verbleiben oder es muß ein Klebstoff verwendet werden, der selbst luftdurchlässig porig ist.
- Das störende Sichtbarwerden der Kopplungsöffnungen durch die Tapetenbahn hindurch läßt sich auch vermeiden, wenn die Absorberplatte auf ihrer an den Helmholtz-Resonatoren-Hohlraum angrenzenden Seite ein abdeckendes Stapelfaservlies oder Stapelfasergewebe aus Glasseide, Mineralwolle oder Kunstfasern aufweist. Zur Verbesserung der Festig- keit der Schallschluckbeschichtung empfiehlt die Erfindung in diesem Fall, daß zwischen der Tapetenbahn und der Absorberplatte ein Gitter angeordnet ist, das einerseits als Zugarmierung der Übertragung von Kräften auf die Tapetenbahn wirkt, die durch Längenänderungen und Fugenbewegungen der Absorberplatten entstehen. Gitter meint im Rahmen der Erfindung sowohl ebene Gitterplatten mit ausgestanzten Durchbrüchen als auch weitmaschige Gittergewebe. Das auf der Absorberplatte angeordnete Stapelfaservlies oder Stapelfasergewebe soll vorzugsweise eine Dicke von 0,1 bis 4 mm aufweisen. Dieser Parameterbereich gilt für die Anordnung des Vlieses bzw. Gewebes zwischen der Absorberplatte und der Tapetenbahn. Er ist jedoch auch geeignet, wenn das Vlies bzw. Gewebe auf der dem Helmholtz-Resonator zugewandten Seite der Absorberplatte angeordnet ist. Bewährt haben sich Stapelfaservliese oder Stapelfasergewebe mit einem äußeren (akustischen) Strömungswiderstand nach DIN 52 213 von 10 bis 1000 NS/m3. Es sind alle gebräuchlichen Arten von Tapeten einsetzbar. Tapetenbahnen aus luftdurchlässigem Material können erfindungsgemäß verwendet werden mit der Maßgabe, daß der äußere (akustische) Strömungswiderstand des , Materials W = 10 bis 1200 Ns/m3 beträgt. Tapetenbahn aus luftdurchlässigem Material meint insbesondere Gewebe und Vliese mit kalanderter Oberfläche aus hydrophoben Materialien, die auch als Membranen bezeichnet werden und sich durch wasserabweisende Eigenschaften auszeichnen. Im Rahmen der Erfindung liegt es aber auch, Tapetenbahnen konventioneller Machart, also Papiertapeten, Textiltapeten, Prägetapeten auf Basis von Kunststoffmaterialien oder Metallfolien, zu verwenden. Unter schalltechnischem Gesichtspunkt sind besonders solche Tapetenbahnen zu empfehlen, die einer Wellpappe gleichende Struktur aufweisen sowie Tapetenbahnen mit rippenförmig oder wellenförmig strukturierter Stützschicht an deren Vorderseite eine ebene Dekorschicht angeordnet ist. Von Hause aus sind die Tapetenbahnen konventioneller Machart luftundurchlässig. Derartige, aus luftundurchlässigem Material bestehende Tapetenbahnen lassen sich jedoch gemäß der Erfindung mit der Maßgabe verwenden, daß sie nadelfreie Luftdurchtrittsöffnungen aufweisen und daß der Flächenanteil der Luftdurchtrittsöffnungen an der Gesamtoberfläche der Tapetenbahn mindestens 0,5% ist. Überraschenderweise wirken erfindungsgemäß mit nadelfreien Luftdurchtrittsöffnungen versehene Tapetenbahnen nicht als Schallreflektoren, wie z. B. starre Abdeckplatten oder Farbanstriche, sondern zeigen im Gegenteil eine schallschluckende Wirkung im Bereich aller Frequenzen. Überraschenderweise können die Luftdurchtrittsöffnungen fernerhin so klein gehalten werden, daß sie praktisch nicht auffallen. Die Geometrie der Luftdurchtrittsöffnungen ist beliebig. Nach bevorzugter Ausführungsform der Erfindung sind die Luftdurchtrittsöffnungen lochförmig ausgebildet und weisen einen Lochdurchmesser von 0,1 bis 2 mm, vor- zugsweise jedoch 0,2 bis 2 mm, auf. Die Abstände zwischen den Luft- ! durchtrittsöffnungen werden zweckmäßigerweise im Bereich von 1 bis 4 mm gewählt. Nach einer anderen Ausführungsform sind die Luftdurchtrittsöffnungen schlitzförmig ausgeführt.
- Die Absorberplatte mit Kopplungsöffnungen muß auf den Helmholtz-Resonator abgestimmt sein. Bewährt hat sich die aus der Praxis bekannte ebene Lochplatte, die als Gipskartonlochplatte, Gipsfaserlochplatte, Holzspanlochplatte, Metallochplatte oder Kunststofflochplatte ausgebildet i sein kann und auf einem Lattenrost oder Metallprofilrost befestigt und mit Abstand zur schallharten Begrenzungsfläche angeordnet ist. Im Rahmen der Erfindung liegt es auch, daß die Absorberplatte als ebene Lochplatte mit daran angeformten rückwärtigen Abstandshaltern ausgebildet ist. Eine mit rückwärtig angeformten Abstandshaltern ausgebildete Absorberplatte kann auf die schallharte Fläche unmittelbar aufgesetzt werden. Ein Lattenrost ist dann nicht erforderlich. Die an der Lochplatte angeformten Abstandshalter definieren den Helmholtz-Resonatoren-Hohlraum. Aus Stabilisierungsgründen empfiehlt es sich, die angeformten Abstandshalter als parallele oder sich überkreuzende Rippen auszubilden. Absorberplatten mit angeformten Abstandshaltern bestehen vorzugsweise aus geschäumten oder ungeschäumten Kunststoffen. Pappe, Gips oder andere Materialien sind jedoch ebenfalls möglich. Auch liegt es im Rahmen der Erfindung, die Lochplatte mit rückwärtig angeformten Rippen aus einem porösen schallabsorbierenden Material auszubilden, das zweckmäßigerweise einen akustischen Strömungswiderstand von 20 bis 1800 Ns/m3 besitzt. Eine andere Ausgestaltung der Erfindung sieht vor, daß die Absorberplatte als Wellplatte mit sinusförmigen oder trapezförmigen Wellen ausgebildet ist. Zweckmäßigerweise wird die als Wellplatte ausgebildete Absorberplatte an der Vorderseite mit einem Gitter oder einer Lochplatte abgedeckt. Aufgrund der guten Beweglichkeit von rückwärtig gerippten Platten, insbesondere aber von Wellplatten, ergeben sich besondere architektonische Gestaltungsmöglichkeiten. Überraschenderweise bleibt die aus Wellplatte bzw. dünnwan- ! diger gerippter Platte und Tapetenbahn gebildete Akustikwand auch in schalltechnischer Hinsicht nicht hinter Akustikwänden zurück, die eine als Gipskartonlochplatte ausgebildete Absorberplatte aufweisen.
- Gegenüber der bekannten im Spritzverfahren aufgetragenen porenförmigen Schallschluckbeschichtung aus mineralischen Stoffen weist die erfindungsgemäße Verwendung einer Tapetenbahn eine Reihe von Vorteilen auf. Da die erfindungsgemäße Schallschluckbeschichtung fabrikmäßig vorgefertigt ist, ist die Reproduzierbarkeit der Schallschluckwirkung sehr groß. Das Aufbringen der Tapetenbahn auf die Absorberplatte ist rasch und sauber möglich. Eine besondere Verarbeitungstechnik mit speziellem Knowhow ist dazu nicht erforderlich. Alle Arbeiten können von einem Handwerker der Sparte "Trockenbauer" ausgeführt werden. Eine zweite Handwerkersparte, der sogenannte "Putzer", bei dessen Arbeit sehr viel Schmutz durch das zur Herstellung der porenförmigen Schallschluckbeschichtung erforderliche Spritzverfahren entsteht, wird nicht benötigt. Fernerhin ergibt sich eine freie Gestaltungsmöglichkeit in bezug auf die Oberfläche, in bezug auf die Materialien sowie Farbe und Formen. Als besonderer Vorteil ergibt sich die Möglichkeit durch Abziehen einer unansehnlich gewordenen Tapetenbahn und Aufbringen einer neuen Bahn eine vollständige Renovierung des betreffenden Raumes durch übliches Neutapezieren ohne Einbuße der akustischen Raumeigenschaften und ohne Raumverschmutzung durchzuführen.
- Im folgenden wird die Erfindung anhand einer lediglich ein Ausführungsbeispiel darstellenden Zeichnung erläutert. Es zeigen in schematischer Darstellung
- Fig. 1 eine erfindungsgemäß ausgeführte Akustikwand, wobei die Tapetenbahn auf einem Stapelfaservlies oder Stapelfasergewebe angeordnet ist,
- Fig. 2 eine weitere Ausführungsform der Erfindung, bei der die Absorberplatte auf ihrer der Tapetenbahn abgewandten Seite ein Stapelfaservlies oder Stapelfasergewebe trägt, und ;
- Fig. 3 eine weitere Ausführungsform der Erfindung, bei der die Absorberplatte als Wellplatte ausgebildet ist.
- Zum grundsätzlichen Aufbau gehören Helmholtz-Resonatoren-Hohlräume 1 sowie eine Absorberplatte 2 mit Schallschluckbeschichtung 3 (Fig. 1). Die Absorberplatte 2 ist auf einem Lattenrost oder Metallrost 4 befestigt und im Abstand L zu einer schallharten Fläche 5, beispielsweise der Wand oder der Decke des Raumes, angeordnet. Die Absorberplatte 2 ist als Gipskartonplatte mit Kopplungsöffnungen 6 und einem Lochanteil von 20% ausgeführt. Zwischen der schallharten Fläche 5 und der Absorberplatte 2 ist ein Hohlraum gebildet. Die in dem Hohlraum befindliche Luft bildet als Feder zusammen mit der Luft in den Durchbrüchen der Absorberplatte als Masse ein als Helmholtz-Resonator bezeichnetes akustisches Schwingungssystem, welches bei seiner Resonanz- frequenz ein hohes Absorptionsvermögen zeigt und die Schallschluckfähigkeit der Absorberplatte 2 wirksam verbessert. Vor den Kopplungsöffnungen 6 der Absorberplatte 2 ist eine Schallschluckbeschichtung 3 angeordnet. Erfindungsgemäß wird als Schallschluckbeschichtung eine Tapetenbahn verwendet, mit der Maßgabe, daß die Tapetenbahn zumindest im Bereich der Kopplungsöffnungen luftdurchlässig porös ist. Nach der hier dargestellten bevorzugten Ausführungsform ist die Tapetenbahn ' 3 auf einer die Absorberplatte 2 abdeckenden porösen Zwischenschicht 7 angeordnet, wobei die poröse Zwischenschicht 7 als Stapelfaservlies oder Stapelfasergewebe aus Glasseide, Mineralwolle oder Kunstfasern ausgeführt sein kann. Die poröse Zwischenschicht 7 verhindert, daß dis Kopplungsöffnung der Absorberplatte durch die Tapetenbahn hindurch sichtbar werden. Bei der Ausführung gemäß Fig. 2 erfüllt die Zwischenschicht fernerhin folgende Aufgaben:
- - Zugarmierung und Festigkeitserhöhung,
- - Spannungsausgleichsschicht zur Verhinderung der Übertragung von Kräften auf die Tapetenbahn durch Längenänderungen und Fugenbewegungen der Absorberplatten,
- - Ausgleichsschicht und Übertragungsschicht von Schalldruckschwankungen zwischen den Poren der Tapetenbahn und den Kopplungsöffnungen der Absorberplatte in Richtung der Flächenebene.
- Vorzugsweise weist das Stapelfaservlies oder Stapelfasergewebe eine Dicke von 0,1 bis 4 mm auf. Bewährt haben sich Stapelfaservliese oder Stapelfasergewebe mit einem äußeren Strömungswiderstand nach DIN 52 213 von 10 bis 1000 Ns/rn3.
- Als Tapetenbahn 3 sind alle gebräuchlichen Arten von Tapeten einsetzbar. In Frage kommen beispielsweise gewebte oder genadelte Bahnen mit kalanderter Oberfläche, die als Membran gebräuchlich sind und häufig aus hydrophoben Materialien bestehen. Im Falle dieser oder ähnlicher luftdurchlässiger Materialien soll der akustische Strömungswiderstand der Tapetenbahn 10 bis 1000 Ns/m3 betragen. Im Rahmen der Erfindung liegt es aber auch, Tapetenbahnen aus luftundurchläs- sigen Materialien, z. B. Papiertapeten, Textiltapeten mit rückwärtiger Papierbeschichtung, Prägetapeten auf Basis von Kunststoffmaterialien oder Metallfolien, einzusetzen. In schalltechnischer Hinsicht besonders zu empfehlen sind solche Tapetenbahnen, die einer Wellpappe gleichende Struktur aufweisen. Vorteilhaft ist auch die Verwendung einer Tapetenbahn, die eine rippenförmige oder wellenförmige Struktur aufweist, an deren Vorderseite eine ebene Dekorschicht angeordnet ist. Eine Tapetenbahn aus luftundurchlässigem Material ist gemäß der Erfindung verwendbar, mit der Maßgabe, daß die Tapetenbahn nadelfeine Luftdurchtrittsöffnungen 8 aufweist und daß der Flächenanteil der Luftdurchtrittsöffnungen an der Gesamtoberfläche der Tapetenbahn mindestens 0,5% ist. Die Luftdurchtrittsöffnungen 8 können überraschenderweise so klein gehalten werden, daß sie optisch nicht auffallen. Eine bevorzugte und im Ausführungsbeispiel dargestellte Schallschluckbeschichtung weist lochförmig ausgebildete Luftdurchtrittsöffnungen 8 mit einem Lochdurchmesser von 0,1 bis 2 mm, vorzugsweise 0,2 bis 2 mm, auf. Der Abstand zwischen den Luftdurchtrittsöffnungen beträgt zweckmäßigerweise 1 bis 4 mm.
- Bei der in Fig. 2 dargestellten Ausführung ist ein Stapelfaservlies oder Stapelfasergewebe 9 aus Glasseide, Mineralwolle oder Kunstfasern auf der Unterseite der Absorberplatte 2 angeordnet, die an den Helmholtz-Resonatoren-Hohlraum 1 angrenzt. Diese poröse Schicht verhindert, daß ! die Kopplungsöffnungen 6 der Absorberplatte 2 durch die Tapetenbahn 3 hindurch sichtbar werden. Zur Verbesserung der Festigkeit der Schallschluckbeschichtung ist zwischen der Tapetenbahn 3 und der Absorberplatte 2 ein Gitter 10 angeordnet. Das Gitter kann wie in Fig. 2 dargestellt ein Gewebegitter sein. Ebensogut kann das Gitter auch als ebene Gitterplatte mit ausgestanzten Durchbrüchen ausgebildet sein. Dieses Gitter 10 wirkt als Zugarmierung und verhindert, daß sich Kräfte infolge Längendehnungen und Fugenbewegungen der Absorberplatte 2 auf die Tapetenbahn 3 übertragen. Von besonderer Bedeutung ist auch, daß die Tapetenbahn 3 auf das Gitter 10 mit üblichen Klebstoffen aufgeklebt werden kann, ohne daß sich zwischen der Tapetenbahn 3 und der Absorberplatte 2 eine luft- und schallundurchlässige durchgehende Klebstoffschicht bildet. Der Klebstoff wird bei der in Fig. 2 dargestellten Ausführung der Erfindung in bekannter Weise, beispielsweise durch Rollen, auf das Gitter 10 aufgetragen. Die Maschenweite des Gitters 10 und Gitterdicke ist dabei so eingerichtet, daß überschüssiger Klebstoff die poröse Oberfläche der Tapetenbahn 3 nicht blockiert. Es versteht sich, daß die Gittergeometrie andererseits auch so eingerichtet ist, daß die Tapetenbahn 3 gleichmäßig auf der Unterlage aufliegt. Die in Fig. 2 dargestellte Ausführungsform der Erfindung zeichnet sich dadurch aus, daß ein sehr großer Flächenanteil der Tapetenbahn 3 aktiv an der Schallabsorption teilnimmt.
- Bei der in Fig. 3 dargestellten Akustikwand ist die Absorberplatte 2 als Wellplatte mit trapezförmigen Wellen 11 ausgebildet. Die Kopplungsöffnungen 6 sind in äquidistanten Abständen an den von der Tapetenbahn 3 abgewandten Stirnflächen 12 der Wellplatte angeordnet. Zwischen der Absorberplatte 2 und der Tapetenbahn 3 ist wiederum ein Stützgitter 10 zur Verbesserung der Festigkeit oder ggf. ein Stapelfaservlies bzw. Stapelfasergewebe angeordnet. Aufgrund der großen Beweglichkeit der Wellplatte ergeben sich besondere architektonische Gestaltungsmöglichkeiten, z. B. ist die Anpassung an bogenförmige Begrenzungswände ohne weiteres möglich.
Claims (15)
Priority Applications (1)
| Application Number | Priority Date | Filing Date | Title |
|---|---|---|---|
| AT87106062T ATE58025T1 (de) | 1986-05-14 | 1987-04-25 | Schallschluckbeschichtung einer akustikwand oder akustikdecke. |
Applications Claiming Priority (4)
| Application Number | Priority Date | Filing Date | Title |
|---|---|---|---|
| DE3616258 | 1986-05-14 | ||
| DE3616258 | 1986-05-14 | ||
| DE19863643481 DE3643481A1 (de) | 1986-05-14 | 1986-12-19 | Schallschluckbeschichtung einer akustikwand oder akustikdecke |
| DE3643481 | 1986-12-19 |
Publications (2)
| Publication Number | Publication Date |
|---|---|
| EP0246464A1 true EP0246464A1 (de) | 1987-11-25 |
| EP0246464B1 EP0246464B1 (de) | 1990-10-31 |
Family
ID=25843770
Family Applications (1)
| Application Number | Title | Priority Date | Filing Date |
|---|---|---|---|
| EP19870106062 Expired - Lifetime EP0246464B1 (de) | 1986-05-14 | 1987-04-25 | Schallschluckbeschichtung einer Akustikwand oder Akustikdecke |
Country Status (2)
| Country | Link |
|---|---|
| EP (1) | EP0246464B1 (de) |
| DE (1) | DE3643481A1 (de) |
Cited By (22)
| Publication number | Priority date | Publication date | Assignee | Title |
|---|---|---|---|---|
| EP0605784A1 (de) * | 1993-01-08 | 1994-07-13 | Wilhelmi Werke GmbH & Co. KG | Akustikplatte |
| EP0680031A3 (de) * | 1994-04-27 | 1995-11-15 | Firma Carl Freudenberg | Luftschalldämpfer |
| EP0700030A3 (de) * | 1994-08-31 | 1996-04-24 | Mitsubishi Electric Home Appl | Schallabsorptionsverfahren mit Benutzung eines poreuzes Material |
| EP0682335A3 (de) * | 1994-05-09 | 1998-01-07 | WOCO Franz-Josef Wolf & Co. | Lamellenabsorber |
| WO2001039969A1 (en) * | 1999-11-30 | 2001-06-07 | Owens Corning | Acoustical wall board and wall system |
| WO2001071116A1 (fr) | 2000-03-20 | 2001-09-27 | Newmat, S.A. | Materiaux souples en feuilles pour structures tendues, procede de realisation de tels materiaux, faux plafonds tendus comprenant de tels materiaux |
| RU2287645C1 (ru) * | 2005-06-01 | 2006-11-20 | Андрей Викторович Брусков | Звукоизолирующая панель |
| NL1030971C2 (nl) * | 2006-01-20 | 2007-07-23 | Coatacoustic B V | Akoestisch plaatelement, alsmede plafond of wand met een dergelijk plaatelement. |
| WO2007134626A1 (en) * | 2006-05-24 | 2007-11-29 | Airbus Deutschland Gmbh | Sandwich element for the sound-absorbing inner cladding of means of transport, especially for the sound-absorbing inner cladding of aircraft |
| EP1500753B1 (de) * | 2000-07-08 | 2010-12-22 | Richter-System GmbH & Co. KG | In Trockenbauweise erstellte Trennwand und Verwendung einer Gipskartonplatte |
| RU2413654C2 (ru) * | 2006-05-24 | 2011-03-10 | Эйрбас Дойчланд Гмбх | Многослойный элемент для звукопоглощающей внутренней обшивки транспортного средства, преимущественно самолета |
| EP2098652A3 (de) * | 2008-03-04 | 2012-01-25 | Voith Patent GmbH | Schallabsorbereinheit |
| WO2013159978A3 (de) * | 2012-04-23 | 2013-12-19 | Federal-Mogul Sealing Systems Gmbh | Abschirmelement für wärme und schall |
| WO2014111068A3 (en) * | 2013-01-18 | 2014-11-27 | Technicka Univerzita V Liberci | A sound absorbing means containing at least one cavity resonator |
| EP2841660A1 (de) * | 2012-04-26 | 2015-03-04 | Akustik & Raum AG | Schallabsorbierendes element |
| EP3070217A1 (de) * | 2015-03-20 | 2016-09-21 | Triplaco NV | Schallabsorbierende anordnung |
| EP3143222B1 (de) * | 2014-05-15 | 2019-10-16 | Knauf Gips KG | Schalldurchlässige auskleidung für akustische gipsplatten |
| CN110832577A (zh) * | 2017-07-28 | 2020-02-21 | 揖斐电株式会社 | 吸音部件、车辆用构件和汽车 |
| EP3613913A1 (de) * | 2018-08-24 | 2020-02-26 | Carl Freudenberg KG | Wärmetransportmaterial mit guten schallabsorptionseigenschaften |
| CN111335197A (zh) * | 2020-04-20 | 2020-06-26 | 深圳市双禹王声屏障工程技术有限公司 | 一种抑制型隔声屏 |
| WO2020178427A1 (de) * | 2019-03-07 | 2020-09-10 | Fraunhofer-Gesellschaft zur Förderung der angewandten Forschung e.V. | Schallabsorber, bauwerk und verwendung eines schallabsorbers |
| CN111734008A (zh) * | 2020-08-10 | 2020-10-02 | 中国建筑一局(集团)有限公司 | 复合降噪墙体及其制作方法 |
Families Citing this family (9)
| Publication number | Priority date | Publication date | Assignee | Title |
|---|---|---|---|---|
| DE4131394C2 (de) * | 1991-09-20 | 1996-12-05 | Pelz Ernst Empe Werke | Schalldämmaterial |
| DE29913460U1 (de) | 1999-07-31 | 1999-09-23 | BTS Bau TechnischeSysteme GmbH & Co. KG, 45731 Waltrop | Vorrichtung zur Schalldämmung von Gebäudewänden aus Gitterziegeln o.dgl. |
| US7959412B2 (en) * | 2006-09-29 | 2011-06-14 | General Electric Company | Wind turbine rotor blade with acoustic lining |
| DE102008017357B4 (de) | 2008-04-04 | 2014-01-16 | Airbus Operations Gmbh | Akustisch optimiertes Kabinenwandelement und seine Verwendung |
| DE102009005167B4 (de) * | 2009-01-15 | 2017-09-21 | Gerriets Gmbh | Vorrichtung zur Schalldämpfung |
| WO2010145997A1 (de) * | 2009-06-15 | 2010-12-23 | Mehler Texnologies Gmbh | Textiles flächengebilde mit mikrokanälen |
| DE102014202477A1 (de) | 2014-02-11 | 2015-08-13 | Leena Rose Wilson | Akustischer Absorber und Verwendung eines derartigen akustischen Absorbers |
| KR102187222B1 (ko) * | 2014-07-07 | 2020-12-04 | 서울시립대학교 산학협력단 | 방음벽지 |
| RU2715727C1 (ru) * | 2019-04-09 | 2020-03-03 | федеральное государственное бюджетное образовательное учреждение высшего образования "Тольяттинский государственный университет" | Низкошумное техническое помещение |
Citations (4)
| Publication number | Priority date | Publication date | Assignee | Title |
|---|---|---|---|---|
| DE1609413A1 (de) * | 1967-02-13 | 1970-01-22 | Eugen Bauer | Fugenlose schallabsorbierende Verkleidung |
| US3621934A (en) * | 1970-05-18 | 1971-11-23 | Goodrich Co B F | Acoustic wall coverings |
| US4254171A (en) * | 1975-08-13 | 1981-03-03 | Rohr Industries, Inc. | Method of manufacture of honeycomb noise attenuation structure and the resulting structure produced thereby |
| DE3334331A1 (de) * | 1983-09-22 | 1985-04-04 | Hoechst Ag, 6230 Frankfurt | Schallabsorbierende tapete |
Family Cites Families (5)
| Publication number | Priority date | Publication date | Assignee | Title |
|---|---|---|---|---|
| DE1459940A1 (de) * | 1963-01-26 | 1969-07-24 | Laermschutz Mbh U Co Kg Ges | Kombinierte schallschluckende und schalldaemmende Schicht |
| CA991375A (en) * | 1972-11-10 | 1976-06-22 | James C. Ollinger | Carpet-faced wallboard |
| DE2730402A1 (de) * | 1977-07-06 | 1979-01-25 | Dynamit Nobel Ag | Untertapete |
| DE3029938C2 (de) * | 1979-09-21 | 1982-08-12 | Armstrong World Industries, Inc., 17604 Lancaster, Pa. | Verfahren zur Herstellung einer schallabsorbierenden Wandplatte |
| DE8204934U1 (de) * | 1982-02-23 | 1982-09-02 | Boussac Saint Frères, S.A., 59800 Lille | Schall- und waermedaemmende ueberzugsmaterialbahn fuer innenraeume |
-
1986
- 1986-12-19 DE DE19863643481 patent/DE3643481A1/de active Granted
-
1987
- 1987-04-25 EP EP19870106062 patent/EP0246464B1/de not_active Expired - Lifetime
Patent Citations (4)
| Publication number | Priority date | Publication date | Assignee | Title |
|---|---|---|---|---|
| DE1609413A1 (de) * | 1967-02-13 | 1970-01-22 | Eugen Bauer | Fugenlose schallabsorbierende Verkleidung |
| US3621934A (en) * | 1970-05-18 | 1971-11-23 | Goodrich Co B F | Acoustic wall coverings |
| US4254171A (en) * | 1975-08-13 | 1981-03-03 | Rohr Industries, Inc. | Method of manufacture of honeycomb noise attenuation structure and the resulting structure produced thereby |
| DE3334331A1 (de) * | 1983-09-22 | 1985-04-04 | Hoechst Ag, 6230 Frankfurt | Schallabsorbierende tapete |
Cited By (28)
| Publication number | Priority date | Publication date | Assignee | Title |
|---|---|---|---|---|
| EP0605784A1 (de) * | 1993-01-08 | 1994-07-13 | Wilhelmi Werke GmbH & Co. KG | Akustikplatte |
| EP0680031A3 (de) * | 1994-04-27 | 1995-11-15 | Firma Carl Freudenberg | Luftschalldämpfer |
| EP0682335A3 (de) * | 1994-05-09 | 1998-01-07 | WOCO Franz-Josef Wolf & Co. | Lamellenabsorber |
| EP0952571A3 (de) * | 1994-08-31 | 2000-11-29 | Mitsubishi Electric Home Appliance Co., Ltd | Schalldämpfungseinrichtung unter Verwendung eines porösen Materials |
| US5905234A (en) * | 1994-08-31 | 1999-05-18 | Mitsubishi Electric Home Appliance Co., Ltd. | Sound absorbing mechanism using a porous material |
| US6109388A (en) * | 1994-08-31 | 2000-08-29 | Mitsubishi Electric Home Appliance Co., Ltd. | Sound absorbing mechanism using a porous material |
| EP1343142A3 (de) * | 1994-08-31 | 2004-06-16 | Mitsubishi Electric Home Appliance Co., Ltd | Schalldämpfungseinrichtung unter Verwendung eines porösen Materials |
| EP0700030A3 (de) * | 1994-08-31 | 1996-04-24 | Mitsubishi Electric Home Appl | Schallabsorptionsverfahren mit Benutzung eines poreuzes Material |
| WO2001039969A1 (en) * | 1999-11-30 | 2001-06-07 | Owens Corning | Acoustical wall board and wall system |
| WO2001071116A1 (fr) | 2000-03-20 | 2001-09-27 | Newmat, S.A. | Materiaux souples en feuilles pour structures tendues, procede de realisation de tels materiaux, faux plafonds tendus comprenant de tels materiaux |
| EP1500753B1 (de) * | 2000-07-08 | 2010-12-22 | Richter-System GmbH & Co. KG | In Trockenbauweise erstellte Trennwand und Verwendung einer Gipskartonplatte |
| RU2287645C1 (ru) * | 2005-06-01 | 2006-11-20 | Андрей Викторович Брусков | Звукоизолирующая панель |
| NL1030971C2 (nl) * | 2006-01-20 | 2007-07-23 | Coatacoustic B V | Akoestisch plaatelement, alsmede plafond of wand met een dergelijk plaatelement. |
| RU2413654C2 (ru) * | 2006-05-24 | 2011-03-10 | Эйрбас Дойчланд Гмбх | Многослойный элемент для звукопоглощающей внутренней обшивки транспортного средства, преимущественно самолета |
| WO2007134626A1 (en) * | 2006-05-24 | 2007-11-29 | Airbus Deutschland Gmbh | Sandwich element for the sound-absorbing inner cladding of means of transport, especially for the sound-absorbing inner cladding of aircraft |
| EP2098652A3 (de) * | 2008-03-04 | 2012-01-25 | Voith Patent GmbH | Schallabsorbereinheit |
| WO2013159978A3 (de) * | 2012-04-23 | 2013-12-19 | Federal-Mogul Sealing Systems Gmbh | Abschirmelement für wärme und schall |
| EP2841660A1 (de) * | 2012-04-26 | 2015-03-04 | Akustik & Raum AG | Schallabsorbierendes element |
| WO2014111068A3 (en) * | 2013-01-18 | 2014-11-27 | Technicka Univerzita V Liberci | A sound absorbing means containing at least one cavity resonator |
| EP3143222B1 (de) * | 2014-05-15 | 2019-10-16 | Knauf Gips KG | Schalldurchlässige auskleidung für akustische gipsplatten |
| US10480184B2 (en) | 2014-05-15 | 2019-11-19 | Knauf Gips Kg | Sound-permeable lining for acoustic plasterboards |
| EP3070217A1 (de) * | 2015-03-20 | 2016-09-21 | Triplaco NV | Schallabsorbierende anordnung |
| CN110832577A (zh) * | 2017-07-28 | 2020-02-21 | 揖斐电株式会社 | 吸音部件、车辆用构件和汽车 |
| EP3613913A1 (de) * | 2018-08-24 | 2020-02-26 | Carl Freudenberg KG | Wärmetransportmaterial mit guten schallabsorptionseigenschaften |
| WO2020178427A1 (de) * | 2019-03-07 | 2020-09-10 | Fraunhofer-Gesellschaft zur Förderung der angewandten Forschung e.V. | Schallabsorber, bauwerk und verwendung eines schallabsorbers |
| EP3935624B1 (de) | 2019-03-07 | 2023-08-02 | Fraunhofer-Gesellschaft zur Förderung der angewandten Forschung e.V. | Schallabsorber, bauwerk und verwendung eines schallabsorbers |
| CN111335197A (zh) * | 2020-04-20 | 2020-06-26 | 深圳市双禹王声屏障工程技术有限公司 | 一种抑制型隔声屏 |
| CN111734008A (zh) * | 2020-08-10 | 2020-10-02 | 中国建筑一局(集团)有限公司 | 复合降噪墙体及其制作方法 |
Also Published As
| Publication number | Publication date |
|---|---|
| EP0246464B1 (de) | 1990-10-31 |
| DE3643481C2 (de) | 1989-11-09 |
| DE3643481A1 (de) | 1987-11-19 |
Similar Documents
| Publication | Publication Date | Title |
|---|---|---|
| EP0246464B1 (de) | Schallschluckbeschichtung einer Akustikwand oder Akustikdecke | |
| DE3806564C2 (de) | Perforiertes schallschluckendes Paneel | |
| DE2946392C2 (de) | Schallisolierendes Wandelement | |
| WO2000014353A1 (de) | Plattenförmiges bauelement | |
| EP0023618A1 (de) | Schallschluckende Bauplatte und Verfahren zu ihrer Herstellung | |
| DE2758041C2 (de) | Verwendung eines aus mindestens zwei übereinander angeordneten Folien, insbesondere Kunststoffolien, bestehenden Bauelements | |
| DE4110454C2 (de) | Wärmedämmsystem mit Platten und Verfahren zur Oberflächenbehandlung dieser Platten | |
| EP0605784B1 (de) | Akustikplatte | |
| DE3519752C2 (de) | Mineralfaserprodukt als Dämmplatte oder Dämmbahn | |
| EP2006462B1 (de) | Akustik-Mehrschichtplatte | |
| EP0085863A1 (de) | Schallschluckende Bauplatte | |
| EP1977814B1 (de) | Lochplattenanordnung zur Luftreinhaltung | |
| DE3643480C2 (de) | ||
| DE19524703A1 (de) | Dämmflächenelement mit Verstärkungsbahn | |
| DE29822831U1 (de) | Fußbodenplatte | |
| DE3147174A1 (de) | "schallschluckende wandverkleidung bzw. wandverkleidungselement" | |
| DE4206615C2 (de) | Schallschluckende Bauplatte | |
| DE60024205T2 (de) | Beschichtetes mineralwollprodukt und verfahren zu dessen herstellung | |
| EP0664365B1 (de) | Deckenplatte | |
| DE102005003801B4 (de) | Dämmstoffelement und Wärmedämmverbundsystem | |
| EP0185172A2 (de) | Randdämmstreifen | |
| DE2244295A1 (de) | Schallabsorbierende deckenverkleidung | |
| AT409986B (de) | Vorsatzschale | |
| AT406697B (de) | Mehrschicht-leichtbauplatte | |
| DE4413608A1 (de) | Bauelement für die Schall- und Wärmedämmung und Verfahren für den Einbau |
Legal Events
| Date | Code | Title | Description |
|---|---|---|---|
| PUAI | Public reference made under article 153(3) epc to a published international application that has entered the european phase |
Free format text: ORIGINAL CODE: 0009012 |
|
| 17P | Request for examination filed |
Effective date: 19870916 |
|
| AK | Designated contracting states |
Kind code of ref document: A1 Designated state(s): AT BE CH FR LI NL |
|
| 17Q | First examination report despatched |
Effective date: 19890407 |
|
| GRAA | (expected) grant |
Free format text: ORIGINAL CODE: 0009210 |
|
| AK | Designated contracting states |
Kind code of ref document: B1 Designated state(s): AT BE CH FR LI NL |
|
| REF | Corresponds to: |
Ref document number: 58025 Country of ref document: AT Date of ref document: 19901115 Kind code of ref document: T |
|
| ET | Fr: translation filed | ||
| PG25 | Lapsed in a contracting state [announced via postgrant information from national office to epo] |
Ref country code: AT Effective date: 19910425 |
|
| PG25 | Lapsed in a contracting state [announced via postgrant information from national office to epo] |
Ref country code: LI Effective date: 19910430 Ref country code: CH Effective date: 19910430 Ref country code: BE Effective date: 19910430 |
|
| PLBE | No opposition filed within time limit |
Free format text: ORIGINAL CODE: 0009261 |
|
| STAA | Information on the status of an ep patent application or granted ep patent |
Free format text: STATUS: NO OPPOSITION FILED WITHIN TIME LIMIT |
|
| 26N | No opposition filed | ||
| BERE | Be: lapsed |
Owner name: BAUER EUGEN Effective date: 19910430 Owner name: PAPE HANS Effective date: 19910430 |
|
| PG25 | Lapsed in a contracting state [announced via postgrant information from national office to epo] |
Ref country code: NL Effective date: 19911101 |
|
| NLV4 | Nl: lapsed or anulled due to non-payment of the annual fee | ||
| PG25 | Lapsed in a contracting state [announced via postgrant information from national office to epo] |
Ref country code: FR Effective date: 19911230 |
|
| REG | Reference to a national code |
Ref country code: CH Ref legal event code: PL |
|
| REG | Reference to a national code |
Ref country code: FR Ref legal event code: ST |