EP0145997B2 - Einrichtung zur Kompensation von Wiedergabefehlern eines elektroakustischen Wandlers - Google Patents
Einrichtung zur Kompensation von Wiedergabefehlern eines elektroakustischen Wandlers Download PDFInfo
- Publication number
- EP0145997B2 EP0145997B2 EP84114089A EP84114089A EP0145997B2 EP 0145997 B2 EP0145997 B2 EP 0145997B2 EP 84114089 A EP84114089 A EP 84114089A EP 84114089 A EP84114089 A EP 84114089A EP 0145997 B2 EP0145997 B2 EP 0145997B2
- Authority
- EP
- European Patent Office
- Prior art keywords
- signals
- circuit
- transducer
- digital
- microcomputer
- Prior art date
- Legal status (The legal status is an assumption and is not a legal conclusion. Google has not performed a legal analysis and makes no representation as to the accuracy of the status listed.)
- Expired - Lifetime
Links
Images
Classifications
-
- H—ELECTRICITY
- H04—ELECTRIC COMMUNICATION TECHNIQUE
- H04R—LOUDSPEAKERS, MICROPHONES, GRAMOPHONE PICK-UPS OR LIKE ACOUSTIC ELECTROMECHANICAL TRANSDUCERS; DEAF-AID SETS; PUBLIC ADDRESS SYSTEMS
- H04R3/00—Circuits for transducers, loudspeakers or microphones
- H04R3/04—Circuits for transducers, loudspeakers or microphones for correcting frequency response
Definitions
- the invention relates to a device according to the preamble of claim 1.
- Electrodynamic pickup systems are mechanical vibration systems, which are characterized by their own values such as spring constant, mass and damping. Speakers, i.e. Wanders that receive electrical signals and emit acoustic signals are e.g. with the help of a voice coil excited and damped vibrations. Conversely, microphones are transducers that convert acoustic signals into electrical signals. With electrodynamic microphones, this is also done with the help of a voice coil attached to a membrane. Electrodynamic pickup systems also pick up mechanical vibrations and generate electrical signals using voice coils. For this reason, there are no fundamental differences between electrodynamic microphones and electrodynamic pickup systems.
- amplitude frequency response is e.g. the non-linear course with resonance points and the low efficiency at the upper and lower end of the transmission range.
- a conventional, softly suspended bass loudspeaker of approx. 30 cm ⁇ at 20 Hz built into a closed housing shows only a low sound pressure effect with amplitude values that are too low, but achieves over-loudness with its resonance frequency in the range of approx. 40 - 80 Hz too large amplitude values and decreases again against high frequencies effectiveness in sound transmission due to too small amplitude values.
- the amplitude ratio is clearly shown by the frequency ratio related to the resonance frequency in FIG. 1 with a different damping factor ⁇ . This representation is known prior art and is not further explained here.
- the membrane begins to move in the same direction with vibration pulses above and below the resonance frequency, but only reaches low amplitude values in the case of pulses near and below the resonance frequency, especially during the first half of the oscillation period, since the phase shift occurs during the transient process . It is only when the phase shift corresponding to the frequency has taken place that the amplitude values corresponding to the exciting signal are reached, albeit out of phase.
- Impulse-like vibrations such as striking a guitar string, striking a note on the piano or hitting a drum, show the maximum amplitude when struck the first time and then vibrate in the torn tone frequency.
- a loudspeaker system or microphone which is operated in the range of its resonance frequency, must first settle slowly with such pulses until it has the phase position corresponding to the frequency, and only then, depending on the quality, usually reaches the maximum amplitude after one or two full oscillation periods.
- the transducer resonates at least for a period of time predetermined by the phase shift. In the subsequent decay process, the more or less well damped natural or resonant frequency of the transducer can be seen.
- the human ear only evaluates the volume according to the amplitude of pure sine tones. Mixtures of sounds that always make up music are evaluated using the envelope.
- FIG. 3 shows the known arrangement of a loudspeaker with a sensor for the membrane movement.
- the movement of the membrane is scanned capacitively, inductively, piezoelectrically or optically and the electrical actual value signals generated in this way are compared with the setpoint signals.
- the readjustment is carried out via a differential amplifier.
- the capacitive motion sensors record not only the entire diaphragm movement but also all partial vibrations of the diaphragm, the inductive sensors move in the strongly changing magnetic field, which is influenced by the excitation winding through which current flows. They therefore only allow a rough detection of errors.
- the piezo transducers are relatively heavy and, due to their own weight, increase the error to be corrected. They cannot be used for the mid and high range.
- the optical pickups with their own control electronics are uneconomically expensive.
- the control loop would start to oscillate if the loop gain was high. To prevent this, the loop gain must be set to small values, e.g. 20, can be reduced, which greatly affects the effectiveness of the feedback.
- FIG. 5a An equivalent circuit for the actual loudspeaker was used to try to get a better correction signal.
- the equivalent circuit is used for this purpose in a feedback circuit according to FIG. 5a.
- the disadvantage of this circuit is that replacement circuits constructed discretely with coils, capacitors and resistors, as well as the electrodynamic converters themselves, already show considerable differences in the assembled end product, even with small component and manufacturing tolerances. Such an equivalent circuit constructed with discrete components is therefore difficult to match to the actual loudspeaker conditions, cannot be tuned and is expensive. 4 may also be arranged inversely in series with the loudspeaker (FIG. 5b), which is known from US Pat. No. 3,988,541.
- a compensation device of the type mentioned for playback errors of an electroacoustic transducer which is used to straighten the sound pressure curve at the upper and lower end of the transmission range of electrodynamic loudspeakers.
- the circuit arrangement consists of active components.
- the individual circuit sections or filters are effective for the separate compensation of errors in different frequency ranges, i.e. Adjustment measures in a circuit section only affect the corresponding frequency range and do not affect the entire transmission range of the converter.
- the known circuit arrangement cannot fully take into account or compensate for the complex transmission behavior of the converter and its transmission errors. An approximate linearization of the frequency response or sound pressure curve is provided. After the compensation has been carried out, there are still significant phase errors.
- Circuits to influence the sound pressure curve of loudspeakers in any way are equalizers. These filter circuits are suitable for linearizing the sound pressure curve or for straightening the amplitude frequency response.
- graphic equalizers the transmission frequency range from 20 to 20,000 Hz is divided into predetermined, frequency-limited sub-ranges, in which corrections are carried out in each case. A setting for other correction areas is not possible.
- the so-called parametric equalizers of which US Pat. No. 4,052,560 describes a circuit arrangement, also enable the subsequent adjustment of special partial frequency ranges and the filter characteristic, as a result of which adaptation to any correction points can take place.
- the phase frequency response of the converter is generally not improved, but often the phase error of the equalizer circuits is superimposed on it.
- the parametric equalizers also allow for very limited improvements in the phase frequency response.
- a major advantage of the equalizer is the limitation of the setting options of its active filters to relatively small sub-frequency ranges, which makes setting any, even linear, sound pressure curves relatively easy and clear.
- phase frequency response is influenced by the approximate linearization of the sound pressure curve, but is not properly compensated for.
- the correction in each case in partial frequency ranges does not take sufficient account of the complex overall relationship of the electrodynamic converter. Instead of compensating the phase errors, these are at most brought to smaller values.
- Bass equalization in the lower frequency range is described in numerous references.
- the known circuits often do not record the entire mechanical vibration system of the electrodynamic loudspeaker in its full transmission range.
- these circuits are often not assigned to a single electrodynamic loudspeaker, but they are upstream of multipath loudspeakers which contain high, medium and bass loudspeakers and a crossover network.
- crossovers themselves cause phase errors and the phase errors of two sub-frequency loudspeakers produce further errors when they are superimposed, such measures can actually only straighten the sound pressure curve; the compensation of the phase errors is not possible.
- the invention has for its object to provide a device for compensating playback errors of an electroacoustic, in particular working according to the electrodynamic principle, by which the signals occurring in the electrical section of the transmission path are changed so that the system-related errors are at least largely compensated.
- the compensation devices should consist of inexpensive active electronic components and setting elements and should be easily and individually adjustable in a wide range to different converter types.
- the advantages of the compensation circuit are even clearer if one takes into account that the easy adjustability is just as easily possible not only on speakers of the same series type, but even on speakers as different as woofers, mid-range speakers or tweeters.
- the material cost of the active electronic components and the adjustability of the actuators result in a great cost advantage.
- the compensation circuit can be used universally, that is to say for all electrodynamic loudspeaker systems and electrodynamic headphones as well as for all electrodynamic microphones and electrodynamic pickups, results in a large field of application with a cost advantage and manufacturing advantage that increase again due to mass or series production.
- the crossover is constructed according to DE-C-33 04 402 and thus ensures correct settling and all phases in all frequency ranges, the transient response of the bass, mid-range and tweeters results in Sound bursts from sound mixtures, as they are common in music, for example when striking the piano, guitar and drum, there are no phase shifts and no sound changes over the entire reusable loudspeaker box due to overlapping frequency ranges that have experienced different phase shifts.
- the membranes of the tweeter, midrange and bass loudspeaker remain in the same phase with all suggestions, whether through impulses or through long-lasting tones.
- Another advantage is that standard loudspeaker specimens can be used in loudspeaker construction. You do not need any special designs, such as with sensors for readjustment or expensive, narrow-tolerance components and special manufacturing processes to maintain certain parameters.
- Another advantage is that the electrical characteristics of the compensation circuit do not change during operation, as happens with coils and capacitors due to heating during operation. It is also advantageous that non-linearities due to components such as e.g. in the coil due to hysteresis, saturation and eddy current, do not occur in the adjustable compensation circuit with operational amplifiers.
- the easy and universal tunability is also advantageous if a converter is destroyed and has to be replaced.
- the compensation circuit provides a high utility value for repairs.
- a significant advantage of the compensation circuit is also to be emphasized that it can be implemented extremely inexpensively by only a few active components.
- the small space requirement of the compensation circuit which is easily conceivable in the size of an operational amplifier customary today, compared to the large passive components of a loudspeaker equivalent circuit, e.g. when used in the bass range.
- FIG. 7 shows a known loudspeaker equivalent circuit diagram with a differentiating stage connected downstream.
- the values for the example with the bass speaker are determined dynamically on the bass, ie the complex input impedance is measured at different frequencies and the component values for the known equivalent circuit are mathematically calculated from this.
- the behavior of the equivalent circuit corresponds exactly to that of the loudspeaker itself.
- R S 6.8 ⁇
- R1 40 ⁇
- the voltage U 1 At the input terminals of the speaker or its exact electrical replication by the equivalent circuit, the voltage U 1 is applied, the voltage U 2 can be tapped at the output terminals.
- the damping function results from the ratio U 1 / U 2, from the phase shift from U i to U2 the phase angle curve.
- the general mathematical damping function for the example above is:
- the component values are standardized to simplify the calculation.
- the freely selectable reference values (index B) are chosen so that the relationships are as simple as possible.
- This damping function to be compensated for by the compensation circuit as a function of the frequency is shown in FIG. 8a for the example of the bass loudspeaker, but runs in basically the same way for all electrodynamic converters.
- the phase angle curve to be compensated for by the compensation circuit as a function of the frequency was recorded in FIG. 8b for the example of the bass loudspeaker, but this curve also runs schematically for all electrodynamic converters (see also FIG. 2).
- Simply reversing equation (3) in order to get the entire loudspeaker behavior in inverse form does not provide a solution, since this function is not stable in terms of circuitry and oscillates.
- the path to a compensation circuit is shown below which, like the equivalent circuit of the loudspeaker as an analog computer, has similarly complex cross-connections to one another, but only represents the inverse function in a sufficiently good approximation in the loudspeaker transmission range.
- the inverse function H (p) is applied in a general form as a polynomial in such a way that the numerator from equation (3) with the coefficients that were determined on the loudspeaker comes into the denominator of equation (4) and the new counter in equation (4) is generally applied.
- the mathematical stability criterion here requires that the degree of the numerator of the polynomial is equal to or greater than the degree of the denominator.
- the approximation process itself is carried out by suitable selection of the coefficients, which are improved as long as until the desired result is achieved.
- the coefficient improvement is always gradual and in the overall transmission system.
- the individual calculation steps can be numerical, with the help of computing computers, done with graphics computers.
- the change in the coefficient can be assessed directly in terms of the effect on the change in the curve, and the process can thereby be accelerated.
- the fine adjustment can be carried out with the oscilloscope by correctly setting the phase angle curve.
- the compensation circuit is connected in series with the electrodynamic loudspeaker system and the entire transmission system comprising the compensation circuit and electrodynamic converter or its exact equivalent circuit is supplied with square-wave signals of different frequencies.
- the variation of the coefficients corresponds to the adjustment of the adjustable potentiometers of the compensation circuit.
- the aim of the optimization is to reproduce the square-wave signal form, which is as error-free as possible, from the converter or its equivalent circuit, and thus the transient and decay processes. This can be done optically very well on the oscilloscope compared to the input signal.
- the error in the range of the sound pressure transmission curve is from 40 - 500 Hz less than 0.1 dB.
- the error in the phase angle curve is less than ⁇ 10 ° in the range of 80 - 800 Hz.
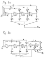
- the circuit arrangement according to FIG. 9a has three positive integrators B1, B2 and B3 connected in series according to the degree of derivatives according to equation (5a).
- the input signal U 1 is introduced into a summer S 1.
- the returns R0, R1 and R2 are initiated from the circuit, which have the adjustable potentiometers P7, P6 and P5 arranged in their feedback branch.
- the returned signals are each taken at the outputs of the integrators B1, B2, B3 and inverted with the help of the inverters L0, L1 and L2.
- Integrators are available as integrated circuit modules (e.g. TL 071 CP or TL 074 from Texas Instruments).
- circuit arrangements according to FIGS. 9b, 9c, 9d and 9e are modified exemplary embodiments of the circuit arrangement according to FIG. 9a, which can be derived from the circuit arrangement according to FIG. 9a and the mathematical approach.
- S are summers, B integrators, R feedbacks, A decouplings, P potentiometers that can be set to coefficients and 1 inverter.
- the three integrators do not follow one after the other, but only two. A third integrator is switched separately.
- H p p 2nd + c 2nd p + c 1 d 4th p 2nd + d 3rd p + d 2nd ⁇ p + c O d 1 p + d O
- the modified circuit arrangement according to the invention according to FIG. 9c was realized from the mathematical approach to a fourth-order equation with four integrators arranged one behind the other.
- H p p 4th + e 3rd p 3rd + e 2nd p 2nd + e 1 p + e O f 4th p 4th + f 3rd p 3rd + f 2nd p 2nd + f 1 p + f O
- the modified circuit arrangement according to the invention according to FIG. 9d was not implemented with four integrators in series compared to the circuit arrangement according to the invention from FIG. 9c, but rather with two times two integrators arranged one behind the other.
- H p p 2nd + g 3rd p + g 2nd H 5 p 2nd + h 4th p + h 3rd ⁇ p 2nd + g 1 p + g O H 2nd p 2nd + h 1 p + h O
- the modified circuit arrangement according to Fig. 9e shows that an embodiment is also possible in which the integrators are not connected in series directly as in Fig. 9a, but each integrator is visible in a circuit diagram closed by feedback and decoupling, and these circuit arrangements are then simply strung together.
- H p p + i 2nd k 5 p + k 4th ⁇ p + i 1 k 3rd p + k 2nd ⁇ p + i O k 1 p + k O
- the predistorted signal which is proportional to acceleration or damping, is suitable for being sent directly to the power amplifier for the electrodynamic converter in order to compensate for its own behavior.
- This type of equivalent circuit constructed with passive components can also be approximated by a compensation circuit according to the invention. Because there is no voice coil influence, you only get a second order approach. The coefficients are determined using the same iteration method.
- the disadvantages of this circuit arrangement are that current-impressed amplifiers are not common because they are very difficult to dimension correctly and are easily unstable. Damping of the membrane movement by the current of the amplifier is also not possible with current-impressed amplifiers, but it is possible with voltage-impressed amplifiers.
- a digital computing circuit can also be used. This possibility, which is particularly advantageous when the electrical signals already exist as digital signals when converting electrical into acoustic signals, is described below.
- FIG. 12 shows the block diagram of a corresponding device which is used to generate a predistorted control signal for the electroacoustic transducer derived from the original input signal.
- the predistortion must be dependent on the instantaneous course of the input signal and must be such that the inadequacies of the real electrodynamic converter, including the surrounding medium, are compensated for as far as possible.
- the original input signal U 1 is converted by an analog / digital converter A / D into a sequence of digital signals DS1.
- the digital signals DS1 which are output with a high repetition frequency (sampling frequency) of 100 kHz, for example, against the highest frequency of the input signal represent the binary coding in each case one of e.g. 128 different amplitude values.
- Each e.g. 7-bit date thus represents the (instantaneous) amplitude values present at the time of sampling in the time course of the input signal U 1.
- the sequence of digital signals DS1 is fed to the data inputs of a microcomputer R, which essentially consists of a microprocessor MP, at least one programmable read-only memory PROM and a read / write memory RAM as working memory, and a number of auxiliary devices, which are not dealt with in more detail is known.
- a microcomputer R which essentially consists of a microprocessor MP, at least one programmable read-only memory PROM and a read / write memory RAM as working memory, and a number of auxiliary devices, which are not dealt with in more detail is known.
- All the characteristic values relevant to the reproduction quality of the electroacoustic transducer for example an electrodynamic loudspeaker built into a housing with an upstream power amplifier or a microphone, are stored in the read memory PROM. These parameters relate to variables such as slip, mass inertia of the sound-emitting membrane and the upstream air volume, clamping and restoring forces, damping, resonance frequencies, etc., as well as frequency response and internal resistance of the power amplifier, if applicable.
- the digital signals DS1 entered into the computer which are now referred to as primary digital signals, are converted into secondary digital signals DS2 in accordance with the characteristic converter characteristic values.
- the computer R requires at least three successive samples of the curve course of the input signal. He can then see both the steepness and the curvature of the curve. The changes in the curve of the input signal U 1 which are of particular interest for the present purpose can be determined by comparison with previous samples.
- the sequence of the secondary digital signals DS2 is converted by a digital / analog converter D / A connected to the data output of the microcomputer R into an analog control signal U2, which is used to control the electroacoustic converter W.
- the electroacoustic transducer W is preceded by a power amplifier EV, which only amplifies the analog control signal U2. Since the characteristics of the power amplifier EV, in particular its frequency response and internal resistance, are included in the transmission chain from the original input signal U 1 to the acoustic oscillation, as already mentioned, these variables must also be taken into account together with the characteristic converter characteristic values when calculating the secondary digital signals DS2 .
- the entire frequency range of the input signal is usually divided into, for example, three sub-frequency ranges.
- a specially designed loudspeaker is provided for each sub-frequency range.
- the frequency range is divided by crossovers, which can be designed as LC elements, as filters with operational amplifiers or as digital filters. The latter is particularly useful in connection with digital recording.
- a delay element DEL is provided in the highest partial frequency range.
- the electroacoustic transducers and the upstream power amplifiers are designated W1 to W3 and EV1 to EV3.
- a clock-controlled shift register arrangement can also be provided, which, however, must be preceded by an analog / digital converter and a digital / analog converter.
- the analog / digital converter can be omitted in connection with digital recording.
- the shift register arrangement can be replaced by a further microcomputer, the sole task of which is now to delay the signal.
- the primary digital signals DS11 and DS12 of both partial frequency ranges are the data inputs of a common microcomputer Rg alternately fed and also processed alternately.
- a prerequisite for this is a sufficiently high processing speed of the microcomputer Rg and, of course, adapted programming.
- the secondary digital signals output by the microcomputer Rg must be distributed according to their affiliation to the two channels assigned to the low and mid range. This is done with the aid of a multiplexer MUX controlled by the microcomputer Rg. However, the multiplexer MUX can be omitted if the subsequent digital / analog converters D / A1 and D / A2 are equipped for a clock-controlled takeover of the digital input information and the takeover clocks which are synchronous with the data output of the microcomputer R g are mutually out of phase.
Landscapes
- Physics & Mathematics (AREA)
- Engineering & Computer Science (AREA)
- Acoustics & Sound (AREA)
- Signal Processing (AREA)
- Circuit For Audible Band Transducer (AREA)
- Amplifiers (AREA)
Description
- Die Erfindung bezieht sich auf eine Einrichtung nach dem Oberbegriff des Patentanspruchs 1.
- Alle elektroakustischen Wandler sind mechanische Schwingsysteme, die durch Eigenwerte wie Federkonstante, Masse, sowie Dämpfung gekennzeichnet sind. Lautsprecher, d.h. Wandier, die elektrische Signale empfangen und akustische Signale abgeben, werden durch den Strom eines Verstärkers z.B. mit Hilfe einer Schwingspule zu erzwungenen Schwingungen angeregt und bedämpft. Umgekehrt stellen Mikrofone Wandler dar, die akustische Signale in elektrische Signale umsetzen. Bei elektrodynamischen Mikrofonen geschieht dies ebenfalls mit Hilfe einer an einer Membran befestigten Schwingspule. Elektrodynamische Tonabnehmersysteme nehmen auch mechanische Schwingungen auf und erzeugen elektrische Signale mit Hilfe von Schwingspulen. Aus diesem Grunde bestehen zwischen elektrodynamischen Mikrofonen und elektrodynamischen Tonabnehmersystemen keine grundsätzlichen Unterschiede.
- Durch das Konstruktions- bzw. Funktionsprinzip der Zusammenkoppelung der verschiedenen Einflüsse, die sich auch gegenseitig wieder beeinflussen, ergeben sich zwei gravierende Hauptfehler, die gleichermaßen für elektrodynamische Lautsprecher und Mikrofone gelten.
- Aufgrund der Eigenwerte des Schwingsystems ergibt sich über einen größeren Frequenzbereich eine charakteristische Übertragungsfunktion. Typisch für den sogenannten Amplitudenfrequenzgang ist z.B. der nichtlineare Verlauf mit Resonanzstellen und der geringe Wirkungsgrad am oberen und unteren Ende des Übertragungsbereichs. Als Beispiel hierfür zeigt ein üblicher, weich aufgehängter, in ein geschlossenes Gehäuse eingebauter Baßlautsprecher von ca. 30 cm Ø bei 20 Hz nur eine geringe Schalldruckwirkung mit zu kleinen Amplitudenwerten, erzielt aber bei seiner Resonanzfrequenz im Bereich von ca. 40 - 80 Hz Überlautstärke mit zu großen Amplitudenwerten und nimmt gegen hohe Frequenzen wieder an Wirksamkeit in der Schallübertragung durch zu kleine Amplitudenwerte ab. Anschaulich ist das Amplitudenverhältnis über das auf die Resonanzfrequenz bezogene Frequenzverhältnis in Fig. 1 mit unterschiedlichem Dämpfungsfaktor α dargestellt. Diese Darstellung ist bekannter Stand der Technik und wird hier nicht weiter erläutert.
- Aufgrund der Masse und der Dämpfung des Schwingsystems werden bei impulsartig einsetzenden Schwingungen jeder Frequenz deutlich erkennbar die Ein- und Ausschwingvorgänge verzerrt. Dies kommt daher, daß solche Schwingsysteme, unterhalb und oberhalb der Resonanzfrequenz angeregt, verschiedene Phasenlagen gegenüber dem anregenden Signal haben. Anschaulich ist der Phasenwinkelverlauf über das auf die Resonanzfrequenz bezogene Frequenzverhältnis in Fig. 2 für verschiedene Dämpfungsfaktoren α dargestellt. Auch diese Darstellung ist bekannter Stand der Technik und wird hier nicht weiter erläutert.
- Die Membran fängt bei Schwingungsimpulsen oberhalb und unterhalb der Resonanzfrequenz an, sich gleichsinnig zu bewegen, erreicht aber im Fall von Impulsen in der Nähe und unter der Resonanzfrequenz, vor allem während der ersten halben Schwingungsperiode, nur geringe Amplitudenwerte, da sich im Einschwingvorgang die Phasenverschiebung vollzieht. Erst wenn sich die der Frequenz entsprechende Phasenverschiebung vollzogen hat, werden die dem anregenden Signal entsprechenden Amplitudenwerte, allerdings phasenverschoben, erreicht.
- Impulsartige Schwingungseinsätze, wie das Anreißen einer Gitarrensaite, das Anschlagen eines Tons am Klavier oder das Schlagen auf eine Trommel, zeigen beim ersten Anschlag das Amplitudenmaximum und schwingen dann in der angerissenen Tonfrequenz. Ein Lautsprechersystem oder Mikrofon, das im Bereich seiner Resonanzfrequenz betrieben wird, muß bei solchen Impulsen erst langsam einschwingen, bis es die der Frequenz entsprechende Phasenlage hat, und erreicht erst dann je nach Güte meist nach einer oder zwei vollen Schwingungsperioden die Maximalamplitude. Bei plötzlicher Bedämpfung, dadurch, daß die schwingende Gitarren- oder Klaviersaite oder das Fell der Trommel plötzlich angehalten werden, schwingt der Wandler mindestens um eine durch die Phasenverschiebung vorgegebene Zeitdauer nach. Im anschließenden Ausschwingvorgang wird die mehr oder weniger gut bedämpfte Eigen- oder Resonanzfrequenz des Wandlers erkennbar.
- Nur reine Sinustöne wertet das menschliche Gehör lautstärkemäßig nach der Amplitude aus. Tongemische, aus denen Musik immer besteht, werden anhand der Hüllkurve ausgewertet.
- Während die Klangverfälschungen des Wandlersystems durch Fehler im Amplitudenfrequenzgang, die als zu laute oder zu leise Tonlagen wahrgenommen werden, bei der Musikübertragung selten stören, da man sowieso nie genau beurteilen kann, ob nicht der Musiker selbst diese Tonlage lauter oder leiser gespielt hat, werden Fehler bei den Ein- und Ausschwingvorgängen besonders bei impulsreicher Musik als Klangverfärbung wahrgenommen. Durch die Ein- und Ausschwingfehler wird die Hüllkurve (Enveloppe) verändert. Außerdem beeinträchtigen Phasenfehler die Ortbarkeit der Schallquellen und erzeugen dadurch eine künstliche Räumlichkeit. Vor allem die Fehler bei den Ein- und Ausschwingvorgängen sowie eine beeinträchtigte Ortbarkeit der Schallquellen lassen den Hörer erkennen, daß die Musik nicht live ist.
- Verfahren, die mit Equalizern die unterschiedliche Lautstärkebeeinflussung in den verschiedenen Frequenzbereichen ermöglichen und damit den ersten Fehler, also allein den Amplitudenfrequenzgang, verbessern, sind bekannt. Nachteilig hierbei ist, daß die Fehler im Phasenfrequenzgang und damit die Ein-und Ausschwingvorgänge sowie die Ortbarkeit nicht verbessert, sondern eher noch verschlechtert werden.
- Aus der DE-C-31 30 353 ist auch bereits ein Verfahren bekannt, das allein die Ein- und Ausschwingfehler verbessert. Nachteilig hierbei ist, daß, wenn keine Impulse im Tonmaterial vorkommen, der Fehler im Amplitudenfrequenzgang nicht verbessert wird.
- Es wurde auch versucht, die prinzipbedingt entstehenden Fehler der dynamischen Wandler bei der Umsetzung von einer elektrischen in eine akustische Schwingung durch Rückkopplung zu kompensieren. Fig. 3 zeigt die bekannte Anordnung eines Lautsprechers mit einem Sensor für die Membranbewegung.
- Hierzu wird die Bewegung der Membran kapazitiv, induktiv, piezoelektrisch oder optisch abgetastet und die so erzeugten elektrischen Istwertsignale mit den Sollwertsignalen verglichen. Die Nachregelung erfolgt über einen Differenzverstärker. Die kapazitiven Bewegungsaufnehmer erfassen neben der Gesamtmembranbewegung aber auch sämtliche Partialschwingungen der Membran, die induktiven Aufnehmer bewegen sich im stark wechselnden Magnetfeld, das durch die stromdurchflossene Erregerwicklung beeinflußt wird. Sie erlauben deshalb nur eine grobe Fehlererkennung. Die Piezo-Aufnehmer sind relativ schwer und vergrößern durch ihr Eigengewicht den ursächlich zu korrigierenden Fehler. Für den Mittel- und Hochtonbereich sind sie nicht einsetzbar. Die optischen Aufnehmer mit eigener Steuerelektronik sind unwirtschaftlich teuer.
- Wegen der phasendrehenden Eigenschaften des Lautsprechers und des Aufnehmers würde der Regelkreis bei hoher Schleifenverstärkung ins Schwingen geraten. Um dieses zu verhindern, muß die Schleifenverstärkung auf kleine Werte, z.B. 20, reduziert werden, was die Wirksamkeit der Rückkopplung stark beeinträchtigt.
- Durch Nachregelung wird außerdem immer nur jeweils der auftretende Amplitudenfehler erkennbar, erfaßbar und regelbar.
- Wenn bei Impulsen Fehler in der Phasenlage auftreten, äußern sie sich z.B. in zu kleinen Amplituden. Eine reine Amplitudennachregelung erfordert aber in dem Fall des noch gegenphasigen Einschwingens überhohe Korrekturstromimpulse, die der Verstärker dadurch, daß er seine Leistung schon für den Musikimpuls zur Verfügung stellte, meist nicht liefern kann. Im übrigen können derartige Nachregelungen der Membran erst mit einiger Verzögerung nach Auftreten des Fehlers wirksam werden und somit, besonders bei falscher Phasenlage, die Fehler nie grundsätzlich verhindern.
- Bei hohen Amplitudenänderungen, wie sie in der modernen Unterhaltungs- und Tanzmusik häufig auftreten, kann es durch die hohen Nachregelungskorrektursignale zu kurzfristigen Übersteuerungen des Endverstärkers und damit zu hohen Klirrfaktoren kommen.
- Während die Nachregelung in der Praxis bei den Amplitudenfehlern in der Übertragungsfunktion des Lautsprechers z.B. bei seiner Resonanzfrequenz über mehrere Schwingungsperioden einwirkend ausgleichend wirken kann, zeigt sie bei der von der Phasenlage abhängigen Verbesserung der Ein- und Ausschwingvorgänge bei plötzlichen Amplitudenänderungen in der entscheidenden ersten halben Schwingungsperiode nur wenig Wirkung. Nachregelungen der beschriebenen Art lassen sich naturgemäß bei Mikrofonen und Tonabnehmern nicht anwenden.
- Um die Probleme mit den Sensoren an der Lautsprechermembran zu vermeiden, wurde auch schon versucht, mit Hilfe einer elektrischen Nachbildung des Lautsprechers als Ersatzschaltung nach Fig. 4 zu arbeiten.
- Bei dieser aus passiven Bauteilen, mit Spulen, Kondensatoren und Widerständen aufgebauten elektrischen Ersatzschaltung hängen die verschiedenen Kennwerte und Parameter voneinander ab und wirken in gleicher Weise wie beim elektrodynamischen Lautsprecher zusammen. Ändert sich beim elektrodynamischen Wandler z.B. seine schwingende Masse, so hat dies Änderungen seiner Phasenfehler im Tief- und im Hochtonbereich sowie Änderungen im gesamten Übertragungsbereich des Schalldruckverlaufs zur Folge. Jede Veränderung eines Werts der passiven Bauteile der elektrischen Ersatzschaltung wirkt sich somit im gesamten Übertragungsbereich der Ersatzschaltung aus und ist nicht auf einen begrenzten Frequenzabschnitt des Übertragungsbereichs der Schaltung beschränkt, wie es beispielsweise bei Einstellmaßnahmen mit Hilfe von Equalizern der Fall ist.
- Die elektrischen Werte als Beispiel für einen Baß-, Mittel- und Hochtonlautsprecher nach Fig. 4 sind in der folgenden Tabelle zusammengestellt und zeigen große Unterschiede auf.
Baß Mitteltöner Hochtöner C 172 µF 62.7 µF 4.3 µH L 34.8 mH 7 mH 2.1 mH R 40 Ω 13.2 Ω 3.1 Ω Rs (Schwingspule) 6.8 Ω 7.2 Ω 4.9 Ω LS (Schwingspule) 1.1 mH 0.35 mH 0.07 mH Resonanzfrequenz 65 Hz 240 Hz 1650 Hz - Ein anderer Baßlautsprecher mit 37 Hz Resonanzfrequenz kann aber bereits durchaus Werte von C = 300 µF, L = 60 mH und R = 50 Ω haben. Auf verschiedene Lautsprecher abgleichbare passive Bauteile in diesem Größenordnungsbereich sind nur mit unverhältnismäßig großem, unwirtschaftlichem Aufwand machbar.
- Durch eine Ersatzschaltung für den tatsächlichen Lautsprecher versuchte man, ein besseres Korrektursignal zu bekommen. Die Ersatzschaltung wird dazu in einen Rückkopplungskreis nach Fig. 5a eingesetzt. Der Nachteil dieser Schaltung ist, daß diskret mit Spulen, Kondensatoren und Widerständen aufgebaute Ersatzschaltungen, sowie auch die elektrodynamischen Wandler selbst, schon bei kleinen Bauteil- und Fertigungstoleranzen bereits erhebliche Unterschiede im zusammengebauten Endprodukt aufweisen. Eine solche mit diskreten Bauteilen aufgebaute Ersatzschaltung ist deshalb nur schlecht an die tatsächlichen Lautsprecherverhältnisse anzugleichen, nicht abstimmbar und teuer. Die diskret mit Spulen, Kondensatoren und Widerständen aufgebaute Ersatzschaltung nach Fig. 4 kann auch invers in Reihe mit dem Lautsprecher angeordnet sein (Fig. 5b), was aus der US-A-3 988 541 bekannt ist. Hierbei wurde außerdem auch der Strom eingeprägt, um die Anteile der Schwingspulenimpedanz und Schwingspuleninduktivität in der Ersatzschaltung vernachlässigen zu können. Aber auch hier bleiben die Nachteile der großen Bauteiltoleranzen von Lautsprecher und Ersatzschaltung und der fast unmöglichen Abgleichbarkeit für einen bestimmen Lautsprecher, die dieses Verfahren für die Praxis nicht anwendbar machen.
- Es ist auch nicht möglich, die vorstehend beschriebenen Nachteile der mit diskreten Bauteilen aufgebauten elektrischen Ersatzschaltung eines Lautsprechers zu umgehen, indem man seine leichter abstimmbare elektrische Ersatzschaltung als Analogrechenschaltung mit aktiven Bauteilen nach Fig. 6 verwendet. Da die exakte elektrische Nachbildung für ein Lautsprechersystem als Analogrechenschaltung bereits aus mehreren Rückkopplungen besteht und durch eine weitere Rückkopplung die Eigenwerte verändert, kann sie nicht wie eine mit passiven Bauteilen aufgebaute Lautsprecherersatzschaltung nach Fig. 5a in einen Rückkopplungszweig geschaltet werden. Die Schaltung wird dadurch auch instabil und kommt ins Schwingen.
- Die Analogrechenschaltung für den Lautsprecher sinngemäß nach Fig. 5b invers in Reihe mit dem Lautsprecher zu betreiben, geht auch nicht, weil diese wie alle elektronischen Schaltungen mit Operationsverstärkern nur in einer Richtung arbeitet und ein Vertauschen der Ein- und Ausgänge zur Wirkungsumkehr nicht möglich ist.
- Aus der US-A-4 052 560 ist eine Kompensationseinrichtung der eingangs genannten Art für Wiedergabefehler eines elektroakustischen Wandlers bekannt, die zur Begradigung des Schalldruckverlaufs am oberen und unteren Ende des Übertragungsbereichs von elektrodynamischen Lautsprechern eingesetzt wird. Die Schaltungsanordnung besteht aus aktiven Bauteilen. Die einzelnen Schaltungsabschnitte bzw. Filter sind zur separaten Kompensation von Fehlern in unterschiedlichen Frequenzbereichen wirksam, d.h. Einstellmaßnahmen in einem Schaltungsabschnitt betreffen nur den entsprechenden Frequenzbereich und wirken sich nicht auf den gesamten Übertragungsbereich des Wandlers aus. Das komplexe Übertragungsverhalten des Wandlers und seine Übertragungsfehler vermag die bekannte Schaltungsanordnung daher nicht voll zu berücksichtigen bzw. zu kompensieren. Es ist zwar eine annähernde Linearisierung des Frequenzgangs bzw. Schalldruckverlaufs vorgesehen. Nach Durchführung der Kompensation sind indessen noch deutliche Phasenfehler vorhanden.
- Gemäß einem Vorschlag von R. A. Greiner und M. Schoessow, "Electronic Equalization of Closed-Box Loudspeakers", J. Audio Eng. Soc., 1983, Seiten 125 - 134 werden zur Verbesserung des Frequenzgangs und des Einschwingverhaltens eines Lautsprechersystems die Pole der Übertragungsfunktion des Wandlers durch Nullstellen in der Übertragungsfunktion eines äquivalenten elektronischen Filters bzw. Equalizers ausgeglichen. Eine verzerrungfreie Wiedergabe von Rechteckimpulsen ermöglicht dieser Vorschlag nicht.
- Aus der US-A-4 340 778 ist auch bereits bekannt, durch eine Schaltung den Einfluß der Schwingspule, des akustischen Wirkungsgrades, der mechanischen Aufhängung, der Dämpfung usw. jeweils einzeln zu kompensieren. Dabei werden mehrere Kompensationsschaltungen nacheinander angeordnet. Da aber alle Einflüsse des mechanischen Schwingsystems des elektrodynamischen Lautsprechers voneinander abhängig sind und sich auch gegenseitig wieder beeinflussen, können solche nur in begrenzten Frequenzbereichen wirksamen Kompensationsschaltungen die Fehler nicht wirksam verhindern, sondern schaffen vielmehr neue, andere Fehler, die sich ebenfalls als Klirrfaktoren oder Klangverfälschungen äußern.
- Schaltungen zur beliebigen Beeinflussung des Schalldruckverlaufs von Lautsprechern sind Equalizer. Diese Filterschaltungen eignen sich zur Linearisierung des Schalldruckverlaufs bzw. zur Begradigung des Amplitudenfrequenzgangs. Bei den sogenannten graphischen Equalizern ist der Übertragungsfrequenzbereich von 20 bis 20000 Hz in vorher festgelegte, frequenzmäßig begrenzte Teilbereiche aufgeteilt, in denen jeweils Korrekturen durchgeführt werden. Eine Einstellung für andere Korrekturbereiche ist nicht möglich. Die sogenannten parametrischen Equalizer, von denen die US-A-4 052 560 eine Schaltungsanordnung beschreibt, ermöglichen auch die nachträgliche Einstellung von speziellen Teilfrequenzbereichen und der Filtercharakteristik, wodurch eine Anpassung an beliebige Korrekturstellen erfolgen kann.
- Bei den graphischen Equalizern wird in der Regel der Phasenfrequenzgang des Wandlers nicht verbessert, sondern häufig noch der Phasenfehler der Equalizerschaltungen diesem überlagert. Auch die parametrischen Equalizer ermöglichen prinzipbedingt nur sehr beschränkte Verbesserungen des Phasenfrequenzgangs.
- Ein wesentlicher Vorteil der Equalizer ist die Beschränkung der Einstellmöglichkeiten von deren aktiven Filtern auf relativ kleine Teilfrequenzbereiche, wodurch die Einstellung beliebiger, auch linearer Schalldruckverläufe relativ einfach und übersichtlich ist.
- Die komplexen Zusammenhänge der einzelnen Parameter beim elektrodynamischen Wandler, die sich in ihrer gegenseitigen Abhängigkeit über den gesamten Übertragungsbereich erstrecken, werden bei den Equalizern nur unzureichend erfaßt. Durch die annähernde Liniarisierung des Schalldruckverlaufs wird der Phasenfrequenzgang mitbeeinflußt, wird jedoch nicht richtig kompensiert. Durch die Korrektur jeweils in Frequenzteilbereichen wird dem komplexen Gesamtzusammenhang des elektrodynamischen Wandlers nicht ausreichend Rechnung getragen. Statt einer Kompensation der Phasenfehler werden diese höchstens auf kleinere Werte gebracht.
- Dies ist ausgeführt in V. Staggs, "Transient-Response Equalization of Sealed-Box Loudspeakers", J. Audio Eng. Soc., 1982, Seiten 906 bis 910, wobei Maßnahmen im Frequenzbereich der Resonanzfrequenz des Wandlers und eines kleinen Teils des darunter stark abfallenden Baßbereichs beschränkt sind. Es werden mehrere Filtercharakteristiken in bezug auf die sich ergebenden Einschwingungsverzerrungen miteinander verglichen. Bei Verwendung biquadratischer Filter mit niedriger Ordnung ergeben sich demnach bessere Einschwingvorgänge als mit einfachen Hochpaß-Filtern höherer Ordnung. In beiden Fällen aber bleiben Fehler bei den Einschwingvorgängen deutlich nachweisbar erhalten. Dies bestätigt, daß mit allen Filtern, die nur in begrenzten Frequenzabschnitten des Übertragungsbereichs eines elektrodynamischen Lautspechers eingesetzt werden, dessen Phasenfehler nur unzureichend kompensiert werden können.
- In zahlreichen Literaturstellen ist eine Baßentzerrung im unteren Frequenzbereich beschrieben. Die bekannten Schaltungen erfassen oft gar nicht das gesamte mechanische Schwingsystem des elektrodynamischen Lautsprechers in seinem vollen Übertragungsbereich. Außerdem werden diese Schaltungen oft nicht einem einzigen elektrodynamischen Lautsprecher zugeordnet, sondern sie sind Mehrwege-Lautsprecherboxen vorgeschaltet, die Hoch-, Mittel- und Baßlautsprecher sowie eine Frequenzweiche enthalten. Da aber Frequenzweichen selbst Phasenfehler hervorrufen und die Phasenfehler zweier Teilfrequenzlautsprecher bei ihrer überlagerung weitere Fehler erzeugen, kann durch solche Maßnahmen eigentlich nur der Schalldruckverlauf begradigt werden, die Kompensation der Phasenfehler ist nicht möglich.
- Der Erfindung liegt die Aufgabe zugrunde, eine Einrichtung zur Kompensation von Wiedergabefehlern eines elektroakustischen, insbesondere nach dem elektrodynamischen Prinzip arbeitenden Wandlers anzugeben, durch welche die im elektrischen Abschnitt des Übertragungswegs auftretenden Signale so verändert werden, daß die systembedingten Fehler mindestens weitgehend ausgeglichen werden. Die Kompensationseinrichtungen sollen aus preiswerten aktiven elektronischen Bauteilen und Einstellgliedern bestehen und in weiten Bereichen auf verschiedene Wandlertypen leicht und individuell einstellbar sein.
- Diese Aufgabe wird durch die Merkmale im kennzeichnenden Teil des Patentanspruchs 1 gelöst.
- Dadurch, daß die unterschiedlichen Lautsprecherexemplare des gleichen Typs schon bei kleinen Bauteil- und Fertigungstoleranzen große elektrische Unterschiede haben, bedeutet die leichte, individuelle Einstellbarkeit auf das jeweilige Exemplar einen erheblichen Vorteil.
- Die Vorteile der Kompensationsschaltung werden noch deutlicher, wenn man berücksichtigt, daß die leichte Einstellbarkeit nicht nur auf Lautsprecher des gleichen Serientyps, sondern sogar auf so unterschiedliche Lautsprechertypen wie Tief-, Mittel- oder Hochtöner genauso leicht möglich ist. Gegenüber dem Herstellungsaufwand passiver, also mit Kondensatoren, Spulen und Widerständen, aufgebauter Ersatzschaltungen mit großen Bauteilwerten, ergibt sich vom Materialaufwand der aktiven elektronischen Bauteile und von der Einstellbarkeit der Stellglieder ein großer Kostenvorteil.
- Dadurch, daß die Kompensationsschaltung aber universell, also für alle elektrodynamischen Lautsprechersysteme und elektrodynamischen Kopfhörer ebenso wie für alle elektrodynamischen Mikrofone und elektrodynamischen Tonabnehmer einsetzbar ist, ergibt sich ein großer Anwendungsbereich mit einem durch Massen- bzw. Serienfertigung bedingten nochmalig steigenden Kostenvorteil und Fertigungsvorteil.
- Wenn im Fall des Einsetzens der Kompensationsschaltung in allen Zweigen einer Mehrweglautsprecherbox die Frequenzweiche nach der DE-C-33 04 402 konstruiert ist und somit allen Frequenzbereichen richtige Einschwingvorgänge und auch gleiche Phasenlage gewährleistet, ergeben sich im Einschwingverhalten des Baß-, Mittel- und Hochtöners bei Tonbursts aus Tongemischen, wie sie in der Musik häufig, z.B. bei Anschlägen von Klavier, Gitarre und Trommel, vorkommen, über die gesamte Mehrweglautsprecherbox keine Phasendrehungen und keine Klangveränderungen mehr durch Überlagerungen von Frequenzbereichen, die unterschiedliche Phasendrehungen erfahren haben. Die Membranen des Hochtöners, Mitteltöners und Baßlautsprechers bleiben bei allen Anregungen, ob durch Impulse oder durch lang anhaltende Töne, in gleicher Phase. Dadurch wird erstmals das Problem der Übergangsfrequenz zwischen Baß- und Mitteltöner oder Mittel- und Hochtöner praxistauglich und kostengünstig gelöst. In der bisherigen Praxis war aus den aufgeführten Gründen immer nur der Kompromiß möglich, daß entweder bei eingeschwungenen Tönen oder bei Impulsen die jeweiligen Membranen sich in Phase bewegen konnten, und akustisch richtige Überlagerungen liefern.
- Ebenso von Vorteil ist, daß beim Lautsprecherbau handelsübliche Lautsprecherexemplare verwendet werden können. Man benötigt keine Spezialanfertigungen, wie z.B. mit Sensoren für eine Nachregelung oder teuren engtolerierten Bauteilen und speziellen Fertigungsverfahren, um bestimmte Kennwerte einzuhalten.
- Ein weiterer Vorteil ist, daß sich die elektrischen Kennwerte der Kompensationsschaltung durch Belastung im Betrieb nicht verändern, wie dies bei Spulen und Kondensatoren durch die Erwärmung im Betrieb geschieht. Ebenso vorteilhaft ist, daß Nichtlinearitäten durch Bauteile, wie z.B. bei der Spule durch Hysterese, Sättigung und Wirbelstrom, in der einstellbaren Kompensationsschaltung mit Operationsverstärkern nicht vorkommen.
- Die leichte und universelle Abstimmbarkeit ist auch vorteilhaft, wenn ein Wandler zerstört wird und ersetzt werden muß. Hier erbringt die Kompensationsschaltung einen hohen Gebrauchswert bei Reparaturen.
- Aber auch die Einstellbarkeit auf Lautsprecherentwicklungen in der Zukunft, wie z.B. auf neue Lautsprecher mit magnetischer Flüssigkeit im Luftspalt des Magneten oder Lautsprecher mit neuen Flachmembranen, bringt eine Steigerung des Gebrauchswerts.
- Als ein wesentlicher Vorteil der Kompensationsschaltung ist noch hervorzuheben, daß sie durch nur wenige aktive Bauteile äußerst preisgünstig verwirklicht werden kann.
- Ebenso soll noch der geringe Platzbedarf der Kompensationsschaltung, die ohne weiteres in Größe eines heute üblichen Operationsverstärkers denkbar ist, gegenüber den großen passiven Bauteilen einer Lautsprecherersatzschaltung, z.B. bei der Anwendung im Baßbereich, genannt werden.
- Im folgenden wird die Erfindung anhand schematischer Zeichnungen, Formeln und eines konkreten Anwendungsbeispiels für einen Baßlautsprecher näher beschrieben. In der folgenden Aufstellung sind die bereits behandelten Zeichnungen Fig. 1 bis 6 enthalten.
- Fig. 1
- zeigt das Amplituden-Resonanz-Verhalten bekannter elektrodynamischer Wandler für verschiedene Dämpfungsfaktoren α,
- Fig. 2
- zeigt das Phasen-Resonanz-Verhalten bekannter elektrodynamischer Wandler für verschiedene Dämpfungsfaktoren α,
- Fig. 3
- zeigt das Schema bekannter Membranrückkopplungen bei Lautsprechern,
- Fig. 4
- zeigt eine mit passiven Bauteilen aufgebaute elektrische Ersatzschaltung eines bekannten elektrodynamischen Lautsprechers,
- Fig. 5a
- zeigt das Schema einer Rückkopplung über eine den elektrodynamischen Lautsprecher simulierende, mit passiven Bauteilen aufgebaute, bekannte elektrische Ersatzschaltung,
- Fig. 5b
- zeigt eine zu der Schaltung gemäß Fig. 5a elektrisch gleichwertige Schaltung mit invers und in Reihe geschalteter, bekannter, mit passiven Bauteilen aufgebauter, elektrischer Lautsprecherersatzschaltung für den elektrodynamischen Lautsprecher,
- Fig. 6
- zeigt eine bekannte elektrische Ersatzschaltung eines elektrodynamischen Lautsprechers in einem Aufbau als Analogrechenschaltung,
- Fig. 7
- zeigt eine mit passiven Bauteilen aufgebaute, bekannte elektrische Lautsprecherersatzschaltung für den elektrodynamischen Lautsprecher mit anschließender Differenzierstufe,
- Fig. 8a
- zeigt den Dämpfungsverlauf, der sich aus dem Lautsprecher oder seiner Ersatzschaltung nach Fig. 7 für das Beispiel eines elektrodynamischen Baßlautsprechers ergibt,
- Fig. 8b
- zeigt den Phasenwinkelverlauf, der sich aus dem Lautsprecher oder seiner Ersatzschaltung nach Fig. 7 für das Beispiel eines elektrodynamischen Baßlautsprechers ergibt,
- Fig. 9a
- zeigt den Prinzipaufbau einer erfindungsgemäßen Kompensationsschaltung mit 3 Integratoren,
- Fig. 9b
- zeigt ein abgewandeltes Ausführungsbeispiel einer erfindungsgemäßen Kompensationsschaltung nach Fig. 9a,
- Fig. 9c
- zeigt ein abgewandeltes Ausführungsbeispiel einer erfindungsgemäßen Kompensationsschaltung mit 4 Integratoren,
- Fig. 9d
- zeigt ein abgewandeltes Ausführungsbeispiel einer erfindungsgemäßen Kompensationsschaltung nach Fig. 9c,
- Fig. 9e
- zeigt ein abgewandeltes Ausführungsbeispiel einer erfindungsgemäßen Kompensationsschaltung nach Fig. 9a,
- Fig. 10a
- zeigt den entsprechenden Verlauf der Dämpfungsfunktion der Kompensationsschaltung für das errechnete Beispiel des elektrodynamischen Baßlautsprechers,
- Fig. 10b
- zeigt den entsprechenden Verlauf des Phasenwinkels der Kompensationsschaltung für das errechnete Beispiel des elektrodynamischen Baßlautsprechers,
- Fig. 11a
- zeigt den Verlauf des Dämpfungsfehlers gegenüber der idealen Übertragungsfunktion in einem Diagramm,
- Fig.11b
- zeigt den Verlauf des Phasenfehlers gegenüber dem idealen Phasenverlauf in einem Diagramm,
- Fig. 12
- zeigt ein Blockschaltbild der erfindungsgemäßen Einrichtung unter Verwendung einer digitalen Rechenschaltung,
- Fig. 13
- zeigt eine Einrichtung mit Aufteilung des gesamten Frequenzbereichs des Eingangssignals in drei Teilfrequenzbereiche und
- Fig. 14
- zeigt eine Variante der Einrichtung nach Fig. 13.
- Fig. 7 zeigt ein bekanntes Lautsprecherersatzschaltbild mit nachgeschalteter Differenzierstufe. Die Werte für das Beispiel mit dem Baßlautsprecher werden am Baß dynamisch bestimmt, d.h. die komplexe Eingangsimpedanz bei unterschiedlichen Frequenzen gemessen und daraus die Bauteilwerte für die bekannte Ersatzschaltung mathematisch berechnet. Das Verhalten der Ersatzschaltung entspricht exakt dem des Lautsprechers selbst.
RS = 6.8 Ω R₁ = 40 Ω LS = 1.1 mH L₁ = 34.8 mH C₁ = 172 µF - An den Eingangsklemmen des Lautsprechers oder auch seiner elektrischen exakten Nachbildung durch die Ersatzschaltung wird die Spannung U₁ angelegt, an den Ausgangsklemmen kann die Spannung U₂ abgegriffen werden.
- Aus dem Verhältnis U₁/U₂ ergibt sich die Dämpfungsfunktion, aus der Phasenverschiebung von Ui gegen U2 der Phasenwinkelverlauf. Die allgemeine mathematische Dämpfungsfunktion für das obige Beispiel lautet:
-
- Zur Vereinfachung der Rechnung werden die Bauteilwerte normiert. Die an sich frei wählbaren Bezugswerte (Index B) werden so gewählt, daß sich möglichst einfache Beziehungen ergeben.
Bezugswerte (Index B) Normierung (Index n) fB = 65.05284 Hz frei gew. Rsn = RS/RB = 0.4780 LB = 34.80 mH frei gew. Lsn = LS/LB = 0.031609 CB = 172 µF frei gew. L1n = L₁/LB = 1 RB = LB.2 π.fB = 14.224 Ω C1n = C₁/CB = 1 TB = 1/(2 π fB) Bezugszeit R1n = R₁/RB = 2.8121 τ = Zeitkonstante des Differenziergliedes τn = τ/TB = 1 (gewählt) - Die normierten Werte werden in Gleichung (1) eingesetzt und ergeben die dimensionslosen Koeffizienten der Gleichung (2).
-
-
- q₁ = 0.494082
- q₂ = 2.439917
- q₃ 12.54577
- τn = τ/TB
- Co = 0.031609
- Diese durch die Kompensationsschaltung zu kompensierende Dämpfungsfunktion in Abhängigkeit der Frequenz ist in Fig. 8a für das Beispiel des Baßlautsprechers gezeichnet, verläuft aber für alle elektrodynamischen Wandler in grundsätzlich gleicher Weise. Ebenso wurde der durch die Kompensationsschaltung zu kompensierende Phasenwinkelverlauf in Abhängigkeit von der Frequenz in Fig. 8b für das Beispiel des Baßlautsprechers aufgezeichnet, aber auch diese Kurve verläuft für alle elektrodynamischen Wandler in schematisch gleicher Weise (siehe hierzu auch Fig. 2). Die Gleichung (3) einfach umzukehren, um das gesamte Lautsprecherverhalten in inverser Form zu bekommen, ergibt keine Lösung, da diese Funktion schaltungstechnisch nicht stabil ist und in sich schwingt.
- Im folgenden wird der Weg aufgezeigt zu einer Kompensationsschaltung, die wie die Ersatzschaltung des Lautsprechers als Analogrechner ähnlich komplexe Querverbindungen zueinander hat, aber nur im Übertragungsbereich des Lautsprechers die inverse Funktion in genügend guter Näherung darstellt.
- Außerhalb des Übertragungsbereichs, z.B. für einen Baßlautsprecher im Mitteltonbereich oder für einen Mitteltöner im Baß- und Hochtonbereich oder für einen Hochtöner im Baß- und Mittelbereich, wird ein durch die Einstellung der Schaltung beliebig klein bestimmbarer Fehler zugelassen. Dadurch, daß aber die Lautsprecher über eine Frequenzweiche betrieben werden, die den Frequenzbereich außerhalb des Übertragungsbereichs stark abdämpft, tritt dieser zugelassene Fehler in der Praxis überhaupt nicht in Erscheinung. Zweckmäßig ist deshalb bei diesem Ausführungsbeispiel die Anordnung der Kompensationsschaltung nach der Frequenzweiche und vor dem jeweiligen Teilfrequenz-Lautsprecher.
- Im erfindungsgemäßen Verfahren wird die inverse Funktion H(p) in allgemeiner Form als Polynom in der Weise angesetzt, daß der Zähler aus Gleichung (3) mit den Koeffizienten, die am Lautsprecher ermittelt wurden, in den Nenner der Gleichung (4) kommt und der neue Zähler in Gleichung (4) allgemein angesetzt wird. Das mathematische Stabilitätskriterium erfordert hierbei, daß der Grad des Zählers des Polynoms gleich oder größer als der Grad des Nenners ist.
-
- Es wäre auch ein allgemeiner Ansatz möglich, bei dem auch die Koeffizienten des Nenners errechnet werden, oder ein anderer Ansatz mit dem Zähler nach der vierten Ordnung oder noch höher. Wenn aber alle Koeffizienten z.B. vom Zähler und Nenner frei wählbar sind, ist der Rechensaufwand zur Erzielung einer guten Näherungslösung größer. Auch wenn die Ordnung des Nenners höher festgelegt wird als notwendig, ergeben sich zum einen mehr Rechenaufwand, zum anderen dem Grad der Ordnung entsprechend viele Integrationsstufen in der Schaltungsordnung, die dann, je komplizierter sie wird, selbst wieder Fehler bei der Signalverarbeitung aufweisen kann. In der Praxis weisen die letzten Integrationsstufen durch die Abschwächung des Signals nur noch eine geringe Beeinflussung der Kompensationskurve durch die Einstellung der Potentiometer auf. Eine Schaltung vierter, fünfter und höherer Ordnung mit 4, 5 oder mehr Integrationsstufen ist deshalb nicht besser als die exakt abgestimmte Kompensationsschaltung mit 3 Integrationsstufen.
- Es gilt, für die Gleichung (4) oder eine andere Gleichung höheren Grades die Koeffizienten nach mehreren Gesichtspunkten in einem iterativen Lösungsverfahren bis zur gewünschten Genauigkeit zu ermitteln. Diese Gesichtspunkte sind:
- 1. Die Einstellung und Verbesserung der frei wählbaren und zu bestimmenden Koeffizienten muß immer am Gesamtübertragungssystem erfolgen, da nur so die komplexen Rückwirkungen der Einstellung eines Koeffizienten auf die anderen gewährleistet sind.
- 2. Die Annäherung der Übertragungsfunktion erfolgt nur im gewählten Übertragungsbereich an die inverse Dämpfungsfunktion nach Gleichung (3).
- Eine solche Kurve ist für das Beispiel des Baßlautsprechers in Fig. 10a dargestellt.
- 3. Die Form der Annäherung der Übertragungsfunktion im gewählten Übertragungsbereich an die inverse Dämpfungsfunktion nach Gleichung (3) soll vorzugsweise in monotoner Form erfolgen. Wenn sich die angenäherte Kurvenform des Dämpfungsverlaufs nicht monoton an die gegebene Kurvenform annähert, sondern sich z.B. um die gegebene Kurvenform mit positiven und negativen Abweichungen herumwindet, ergibt sich keine gute Übereinstimmung in der Annäherung des Phasenwinkelverlaufs. Die monotone Annäherung der Dämpfungsfunktion kann gut in der Darstellung des Dämpfungsfehlers gegenüber der idealen Übertragungsfunktion nach Fig. 11a beurteilt werden.
- 4. Die Form der Annäherung des ermittelten Phasenwinkelverlaufs im gewählten Übertragungsbereich an den inversen Phasenwinkelverlauf soll optimal sein.
- Eine solche Kurve ist für das Beispiel des Baßlautsprechers dargestellt in Fig. 10b.
- 5. Es soll eine Fehlerabschätzung der Annäherung für Dämpfungsfunktion nach Fig. 11a und des Phasenwinkelverlaufs nach Fig. 11b in dem gewünschten Übertragungsbereich, am Rand des gewünschten Übertragungsbereichs, außerhalb des gewünschten Übertragungsbereichs erfolgen.
- Das Näherungsverfahren selbst erfolgt durch geeignete Wahl der Koeffizienten, die solange verbessert werden,
bis das gewünschte Ergebnis erzielt ist. Die Koeffizientenverbesserung erfolgt immer schrittweise und im Gesamtübertragungssystem. Die einzelnen Rechenschritte können numerisch,
mit Hilfe von Rechencomputern,
mit Grafikcomputern erfolgen.
Hierbei kann die Koeffizientenveränderung direkt in der Wirkung auf die Kurvenveränderung beurteilt und dadurch das Verfahren beschleunigt werden. - Bei schon ungefähr bekannten Koeffizienten z.B. bei Lautsprechern gleichen Serientyps kann der Feinabgleich mit dem Oszilloskop durch richtiges Einstellen des Phasenwinkelverlaufs vollzogen werden. Hierzu wird die Kompensationsschaltung in Reihe mit dem elektrodynamischen Lautsprechersystem geschaltet und das Gesamtübertragungssystem aus Kompensationsschaltung und elektrodynamischem Wandler oder seiner genauen Ersatzschaltung mit Rechtecksignalen verschiedener Frequenzen beschickt. Die Variation der Koeffizienten entspricht dem Verstellen der regelbaren Potentiometer der Kompensationsschaltung. Das Ziel der Optimierung ist die vom Wandler oder seiner Ersatzschaltung abgreifbare, möglichst fehlerfreie Wiedergabe der Rechtecksignalform und damit der Ein- und Ausschwingvorgänge. Dies kann auf dem Oszilloskop im Vergleich zum Eingangssignal optisch sehr gut erfolgen.
- In dem bisher beschriebenen Beispiel für den Baßlautsprecher ergaben sich nach der Gleichung (4) und den Werten für
- q₁ = 0.494082
- q₂ = 2.439917
- q₃ = 12.54577
- C = 4.839
- ωo = 0.25
- Q = 0.707
- q = 50
-
- Es sind dies die Koeffizienten, die in der erfindungsgemäßen Schaltungsanordnung nach Fig. 9a nur noch als Einstellungen an den Potentiometern P₁ bis P₇ vollzogen werden müssen. Ein durch die Schaltungsbauteile eventuell notwendiger Feinabgleich auf den elektrodynamischen Lautsprechern erfolgt, wie zuvor beschrieben, mit Hilfe eines Oszilloskops.
- Wie genau die Kompensationsschaltung die vorhandenen Lautsprechereigenwerte entzerren kann, läßt sich am Beispiel des Baßlautsprechers in den Fehlerkurven in Fig. 11a und Fig. 11b aufzeigen.
- Der Fehler im Bereich der Schalldruckübertragungskurve beträgt von 40 - 500 Hz weniger als o.1 dB. Der Fehler im Phasenwinkelverlauf ist im Bereich von 80 - 800 Hz kleinerals ± 10°.
- Im folgenden wird die erfindungsgemäße Schaltungsanordnung nach Fig. 9a genauer beschrieben.
- Die erfindungsgemäße Schaltungsanordnung nach Fig. 9a hat dem Grad der Ableitungen entsprechend nach Gleichung (5a) drei positive Integratoren B₁, B₂ und B₃ in Reihe geschaltet. Am Eingang wird das Eingangssignal U₁ in einen Summierer S₁ eingeleitet. Ebenfalls in diesen Summierer S₁ werden die Rückführungen R₀, R₁ und R₂ aus der Schaltung eingeleitet, die in ihrem Rückführungszweig die einstellbaren Potentiometer P₇, P₆ und P₅ angeordnet haben. Die rückgeführten Signale werden jeweils an den Ausgängen der Integratoren B₁, B₂, B₃ abgenommen und mit Hilfe der Inverter l₀, l₁ und l₂ invertiert. Aus der in Reihe angeordneten Schaltung des Eingangssummierers und der drei Integratoren erfolgen die vier Auskopplungen A₀, A₁, A₂ und A₃, die in ihren Zweigen die einstellbaren Potentiometer P₄, P₃, P₂ und P₁ haben und in den Summierer S₂ eingeleitet werden. Am Ausgang des Summierers S₂ kann die Ausgangsspannung U2 abgegriffen werden. Integratoren sind als integrierte Schaltungsbausteine erhältlich (z.B. TL 071 CP oder TL 074 von Texas Instruments).
- Die erfindungsgemäßen Schaltungsanordnungen nach Fig. 9b, 9c, 9d und 9e sind abgewandelte Ausführungsbeispiele der erfindungsgemäßen Schaltungsanordnung nach Fig. 9a, die sinngemäß aus der erfindungsgemäßen Schaltungsanordnung nach Fig. 9a und dem mathematischen Ansatz her abgeleitet werden können. S sind Summierer, B Integratoren, R Rückführungen, A Auskopplungen, P auf Koeffizientenwerde einstellbare Potentiometer und 1 Inverter.
- Bei der abgewandelten erfindungsgemäßen Schaltungsanordnung nach Fig. 9b folgen nicht die drei Integratoren nacheinander, sondern nur zwei. Ein dritter Integrator wird extra geschaltet.
- Der mathematische Ansatz dafür lautet:
-
- Die abgewandelte erfindungsgemäße Schaltungsanordnung nach Fig. 9c wurde aus dem mathematischen Lösungsansatz einer Gleichung vierter Ordnung mit vier hintereinander angeordneten Integratoren verwirklicht.
- Der mathematische Ansatz hierfür lautet:
-
- Die abgewandelte erfindungsgemäße Schaltungsanordnung nach Fig. 9d wurde gegenüber der erfindungsgemäßen Schaltungsanordnung aus Fig. 9c nicht mit vier Integratoren in Reihe ausgeführt, sondern mit jeweils zwei mal zwei hintereinander angeordneten Integratoren.
- Der mathematische Ansatz hierfür lautet:
-
- Die abgewandelte Schaltungsanordnung nach Fig. 9e zeigt, daß auch eine Ausführung möglich ist, in der die Integratoren nicht wie in Fig. 9a direkt hintereinander in Reihe geschaltet werden, sondern jeder Integrator für sich in einem durch Rückkopplungen und Auskopplungen geschlossenen Schaltbild sichtbar ist, und diese Schaltungsanordnungen dann einfach aneinander gereiht werden.
- Der mathematische Ansatz hierfür lautet:
-
- In der bekannten Schaltung nach Fig. 7 wird das aus der bekannten Ersatzschaltung des elektrodynamischen Wandlers nach Fig. 4 abgegriffene Signal einmal differenziert. Dadurch erhält man die Übertragungsfunktion für die Dämpfung bzw. die Beschleunigung. Anhand dieser beschleunigungsproportionalen bzw. dämpfungsproportionalen Übertragungsfunktion wurde das Verfahren und die Schaltungsanordnung zur Kompensation des Fehlverhaltens von elektrodynamischen Wandlern bisher ausführlich beschrieben.
- Das vorverzerrte beschleunigungs- bzw. dämpfungsproportionale Signal ist geeignet, direkt auf den Endverstärker für den elektrodynamischen Wandler gegeben zu werden, um dessen Eigenverhalten zu kompensieren. Es ist jedoch auch möglich, das Signal aus Fig. 4 direkt abzugreifen, ohne wie nach Fig. 7 eine Differenzierstufe anzuordnen. Man erhält auf diese Weise die geschwindigkeitsproportionale Übertragungsfunktion der elektrodynamischen Ersatzschaltung oder des Wandlers.
- Auch hier ist ein ähnlicher mathematischer Ansatz und eine iterative Lösung der inversen geschwindigkeitsproportionaien Übertragungsfunktion mit der gleichen Kompensationsschaltungsanordnung möglich. Man bekommt nur andere Koeffizienten. Um dieses vorverzerrte geschwindigkeitsproportionale Signal an den Endverstärker für den elektrodynamischen Wandler weiterleiten zu können, muß es allerdings einmal differenziert werden, um die beschleunigungsproportionale vorverzerrte Spannungsfunktion zu erhalten.
- Es ist jedoch auch möglich, das Signal aus Fig. 4 abzugreifen und anstatt wie in Fig. 7 einmal zu differenzieren, einmal zu integrieren. Man erhält auf diese Weise die auslenkungsproportionale Übertragungsfunktion des elektrodynamischen Wandlers oder seiner Ersatzschaltung. Auch hier ist ein ähnlicher mathematischer Ansatz und eine iterative Lösung der auslenkungsproportionalen Übertragungsfunktion mit der gleichen Schaltungsanordnung möglich. Man bekommt aber auch hier wieder andere Koeffizienten. Um das vorverzerrte auslenkungsproportionale Signal an den Endverstärker für den elektrodynamischen Wandler weiterleiten zu können, muß es allerdings zweimal differenziert werden, um die vorverzerrte beschleunigungsproportionale Spannungsfunktion zu erhalten.
- Nach der US-A-3 988 541 ist es auch bekannt, die inverse Lautsprecherersatzschaltung ohne Schwingspuleneinfluß, also ohne Schwingspulenwiderstand und Schwingspuleninduktivität, in Reihe mit dem Lautsprecher zu schalten. Bei dieser Schaltungsanordnung muß aber der Strom dem Lautsprecher eingeprägt werden, sonst wären die Schwingspuleneinflüsse nicht vernachlässigbar.
- Auch diese Art der mit passiven Bauteilen aufgebauten Ersatzschaltung läßt sich durch eine erfindungsgemäße Kompensationsschaltung annähern. Man bekommt, weil der Schwingspuleneinfluß entfällt, nur einen Ansatz zweiter Ordnung. Die Koeffizienten werden nach dem gleichen Iterationsverfahren bestimmt. Die Nachteile dieser Schaltungsanordnung liegen darin, daß stromeingeprägte Verstärker nicht üblich sind, weil sie sehr schwer richtig zu dimensionieren sind und leicht instabil werden. Auch eine Bedämpfung der Membranbewegung durch den Strom des Verstärkers ist bei stromeingeprägten Verstärkern nicht möglich, wohl aber bei spannungseingeprägten Verstärkern.
- Die anhand eines Baßlautsprechers beschriebenen Maßnahmen zur Kompensation von systembedingten Wiedergabefehlern lassen sich im Prinzip unverändert auch in Verbindung mit preiswerten elektrodynamischen Mikrofonen oder elektrodynamischen Tonabnehmersystemen anwenden, da letztere das gleiche Schwingungsverhalten wie Lautsprecher aufweisen. Der einzige, naturgemäße Unterschied besteht darin, daß die Veränderung der elektrischen Signale im Sinne des Signalflusses bei Lautsprechern vor diesen erfolgt und daher eine Vorverzerrung darstellt, während die Signalveränderung bei Mikrofonen oder Tonabnehmern hinter diesen erfolgt und somit eine Entzerrung ist.
- Anstatt einer Ausbildung der Rechenschaltung zur Kompensation von Wiedergabefehlern als reine Analogschaltung kann auch eine Digitalrechenschaltung eingesetzt werden. Diese Möglichkeit, die vor allem dann vorteilhaft anzuwenden ist, wenn die elektrischen Signale bei der Umsetzung von elektrischen in akustische Signale bereits als Digitalsignale vorliegen, wird im folgenden beschrieben.
- Die Figur 12 zeigt das Blockschaltbild einer entsprechenden Einrichtung, die zur Erzeugung eines aus dem ursprünglichen Eingangssignal abgeleiteten vorverzerrten Steuersignals für den elektroakustischen Wandler dient. Die Vorverzerrung muß von dem augenblicklichen Verlauf des Eingangssignals abhängig und so bemessen sein, daß die Unzulänglichkeiten des realen elektrodynamischen Wandlers einschießlich des umgebenden Mediums möglichst weitgehend kompensiert werden.
- Gemäß Figur 12 wird das ursprüngliche Eingangssignal U₁ durch einen Analog/Digital-Wandler A/D in eine Folge von Digitalsignalen DS1 umgeformt. Die mit einer gegen die höchste Frequenz des Eingangssignals hohen Folgefrequenz (Abtastfrequenz) von beispielsweise 100 kHz ausgegebenen Digitalsignale DS1 stellen die Binärkodierung jeweils eines von z.B. 128 unterschiedenen Amplitudenwerten dar. Jedes z.B. 7 Bit umfassende Datum gibt somit den im Abtastzeitpunkt vorliegenden (augenblicklichen) Amplitudenwerten im zeitlichen Verlauf des Eingangssignals U₁ wieder.
- Die Folge von Digitalsignalen DS1 wird den Dateneingängen eines Mikrorechners R zugeführt, der im wesentlichen aus einem Mikroprozessor MP, mindestens einem programmierbaren Lesespeicher PROM und einem Schreib/Lese-Speicher RAM als Arbeitsspeicher besteht und samt einigen Hilfseinrichtungen, auf die nicht näher eingegangen wird, an sich bekannt ist.
- In dem Lesespeicher PROM sind alle für die Wiedergabegüte des elektroakustischen Wandlers, also beispielsweise eines in ein Gehäuse eingebauten elektrodynamischen Lautsprechers mit einem vorgeschalteten Leistungsverstärker oder eines Mikrofons maßgeblichen charakteristischen Kennwerte gespeichert. Diese Kennwerte betreffen Größen wie Schlupf, Massenträgheit der schallabstrahlenden Membran und des vorgelagerten Luftvolumens, Einspann- und Rückstellkräfte, Bedämpfung , Resonanzfrequenzen usw. sowie gegebenenfalls Frequenzgang und Innenwiderstand des Leistungsverstärkers.
- Mit Hilfe eines gleichfalls in dem bereits genannten programmierbaren Lesespeicher oder in einem zweiten, getrennt adressierbaren Speicher gleicher Art gespeicherten Programms werden die in den Rechner eingegebenen Digitalsignale DS1, die nunmehr als primäre Digitalsignale bezeichnet werden, entsprechend den charakteristischen Wandlerkennwerten in sekundäre Digitalsignale DS2 umgerechnet.
- Um jedoch Feststellungen über den Verlauf des Eingangssignals U₁ treffen zu können, benötigt der Rechner R mindestens drei aufeinanderfolgende Abtastwerte des Kurvenverlaufs des Eingangssignals. Er kann dann daraus sowohl die Steilheit als auch die Krümmung des Kurvenverlaufs erkennen. Die für den vorliegenden Zweck vor allem interessierenden Änderungen im Kurvenverlauf des Eingangssignals U₁ lassen sich durch den Vergleich mit früheren Abtastwerten feststelien.
- Auf die Durchführung der Umrechnungen, die auf die Lösung von Differentialgleichungen der erzwungenen Schwingung (vgl. Istvan Szabo, Einführung in die technische Mechanik, Springer-Verlag 1963, Seiten 348, 349) hinausläuft, wird hier nicht mehr eingegangen.
- Da jede notwendige Korrektur der sekundären Digitalsignale DS2 möglichst frühzeitig erfolgen soll, muß für die Umrechnung des dem ersten von jeweils drei Abtastwerten zugeordneten Digitalsignals der Eingang der nächsten zwei Digitalsignale abgewartet werden. Das ergibt eine Verzögerung, die neben der reinen Rechenzeit zu berücksichtigen ist.
- Nach Figur 12 wird die Folge der sekundären Digitalsignale DS2 durch einen an den Datenausgang des Mikrorechners R angeschlossenen Digital/Analog-Wandler D/A in ein analoges Steuersignal U₂ umgewandelt, das zur Steuerung des elektroakustischen Wandlers W dient. Im allgemeinen ist jedoch dem elektroakustischen Wandler W ein Leistungsverstärker EV vorgeschaltet, der das analoge Steuersignal U₂ erst noch verstärkt. Da in der Übertragungskette vom ursprünglichen Eingangssignal U₁ bis zur akustischen Schwingung auch die Kenndaten des Leistungsverstärkers EV, insbesondere dessen Frequenzgang und Innenwiderstand eingehen, müssen - wie schon erwähnt wurde - auch diese Größen zusammen mit den charakteristischen Wandlerkennwerten bei der Berechnung der sekundären Digitalsignale DS2 berücksichtigt werden.
- In den letzten Jahren hat die digitale Aufzeichnung von Musik eine zunehmende Bedeutung gewonnen. Geräte zum Lesen solcher Aufzeichnungen sind in der Lage, unmittelbar eine der aufgezeichneten Information entsprechende Folge von Digitalsignalen abzugeben. Es versteht sich von selbst, daß in solchen Fällen die Bereitstellung eines Analog/Digital-Wandlers nicht erforderlich ist.
- Werden elektroakustische Wandler, z.B. Lautsprecher, vorzugsweise für die Wiedergabe von Musik eingesetzt, dann wird der gesamte Frequenzbereich des Eingangssignals in der Regel in beispielsweise drei Teilfrequenzbereiche aufgeteilt. Für jeden Teilfrequenzbereich ist ein speziell dafür ausgebildeter Lautsprecher vorgesehen. Die Aufteilung des Frequenzbereichs erfolgt durch Frequenzweichen, die als LC-Glieder, als Filter mit Operationsverstärkern oder als digitale Filter ausgebildet sein können. Letzteres ist vor allem in Verbindung mit einer digitalen Aufzeichnung zweckmäßig.
- Häufig ist eine Korrektur des Eingangssignals im höchsten Teilfrequenzbereich, dem Hochtonbereich, nicht erforderlich. Dieser Fall ist in Figur 13 dargestellt. Das ursprüngliche Eingangssignal U₁ wird durch Frequenzweichen FW1 bis FW3 aufgeteilt, wobei die Frequenzweiche FW1 für den tiefsten und die Frequenzweiche FW3 für den höchsten Teilfrequenzbereich durchlässig ist.
- Zum Ausgleich der durch Korrektureinheiten K1 und K2 aus Analog/Digital-Wandler, Rechner und Digital/Analog-Wandler verursachten Signallaufzeit ist im höchsten Teilfrequenzbereich ein Laufzeitglied DEL vorgesehen. Die elektroakustischen Wandler und die vorgeschalteten Leistungsverstärker sind mit W1 bis W3 bzw. mit EV1 bis EV3 bezeichnet.
- Anstelle eines passiven Laufzeitgliedes kann auch eine taktgesteuerte Schieberegisteranordnung vorgesehen werden, der allerdings ein Analog/Digital-Wandler vorgeschaltet und ein Digital/Analog-Wandler nachgeschaltet werden muß. Indessen kann der Analog/Digital-Wandler in Verbindung mit einer digitalen Aufzeichnung wieder entfallen. Ferner läßt sich die Schieberegisteranordnung durch einen weiteren Mikrorechner ersetzen, dessen alleinige Aufgabe nunmehr in der Signalverzögerung besteht.
- Durch zeitlichen Versatz der Abtasttakte in den Analog/Digital-Wandlern A/D1 bzw. A/D2 für den Tiefton-und Mitteltonbereich, vorzugsweise um eine halbe Taktperiode, ist es möglich, gemäß Figur 14 die primären Digitalsignale DS11 und DS12 beider Teilfrequenzbereiche den Dateneingängen eines gemeinsamen Mikrorechners Rg abwechselnd zuzuführen und ebenso abwechselnd zu verarbeiten. Voraussetzung dafür ist eine ausreichend hohe Verarbeitungsgeschwindigkeit des Mikrorechners Rg und selbstverständlich eine angepaßte Programmierung.
- Die vom Mikrorechner Rg ausgegebenen sekundären Digitalsignale müssen entsprechend ihrer Zugehörigkeit auf die beiden dem Tiefton- und Mitteltonbereich zugeordneten Kanäle verteilt werden. Das geschieht mit Hilfe eines durch den Mikrorechner Rg gesteuerten Multiplexers MUX. Der Multiplexer MUX kann jedoch entfallen, wenn die nachfolgenden Digital/Analog-Wandler D/A1 und D/A2 für eine taktgesteuerte Übernahme der digitalen Eingangsinformation ausgebilet sind und die mit der Datenausgabe des Mikrorechners Rg synchronen Übernahmetakte gegenseitig phasenverschoben sind.
Claims (13)
- Einrichtung zur Kompensation von Wiedergabefehlern eines elektroakustischen Wandlers (W) innerhalb eines vorgegebenen Frequenzbereiches,wobei der Übertragungsweg der wiederzugebenden Signale einen akustischen und einen elektrischen Abschnitt umfaßt,wobei in dem elektrischen Abschnitt des Übertragungsweges eine Schaltungsanordnung vorgesehen ist, die Eingangssignale (U₁) empfängt und veränderte Ausgangssignale (U₂) abgibt,wobei die Schaltungsanordnung in dem elektrischen Abschnitt des Übertragungsweges eine Rechenschaltung ist, deren Ausgangssignale (U₂) nach Amplitude und Phase aus den Eingangssignalen (U₁) gemäß einer komplexen Dämpfungsfunktion (H(p)) abgeleitet sind,die zu derfür den gesamten vorgegebenen Frequenzbereich des Wandlers (W) gültigen,durch diefür den Wandler (W) charakteristischen, sein Eigenverhalten beschreibendenKennwerte,wie Schlupf, Massenträgheit einer bewegten Membran und des Luftvolumens, Einspann- und Rückstellkräfte, Dämpfung, Resonanzfrequenzen usw.,vorgegebenen,das komplexe Eigenverhalten des Wandlers in Bezug auf den Amplituden- und Phasenfrequenzgang beschreibenden komplexen Dämpfungsfunktion (H₁(p)) insoweit invers ist, daß die das Wiedergabeverhalten störend beeinflussenden Pole in der Übertragungsfunktion (1/H₁(p)) des Wandlers (W) durch Nullstellen in der Übertragungsfunktion (1/H(p)) der Rechenschaltung nachgebildet sind und durch die Übertragungsfunktion der Rechenschaltung neue Pole geschaffen werden,dadurch gekennzeichnet,daß die Rechenschaltung Einstellglieder (p) für die Annäherung der komplexen Übertragungsfunktion (1/H(p)) der Rechenschaltung an die komplexe Dämpfungsfunktion (H₁(p)) des Wandlers aufweist, unddaß die frei wählbaren Koeffizienten der Rechenschaltung derart ausgewählt sind,daß bei Beschickung des Gesamtübertragungssystems, bestehend aus Rechenschaltung und Wandler,mit Rechtecksignalen verschiedener Frequenzen bei optischer Beobachtung der Ausgangssignale mit einem Oszilloskopeine möglichst fehlerfreie Wiedergabe der Rechtecksignalform im Vergleich zum Eingangssignal erfolgt.
- Einrichtung nach Anspruch 1, dadurch gekennzeichnet, daß der elektroakustische Wandler (W) zur Umwandlung von elektrischen in akustische Signale dient und daß die Rechenschaltung in Übertragungsrichtung vor dem Wandler (W) angeordnet ist.
- Einrichtung nach Anspruch 1, dadurch gekennzeichnet, daß der elektroakustische Wandler (W) zur Umwandlung von akustischen in elektrische Signale dient und daß die Rechenschaltung in Übertragungsrichtung nach dem Wandler (W) angeordnet ist.
- Einrichtung nach Anspruch 2, dadurch gekennzeichnet, daß als Rechenschaltung ein digital arbeitender Mikrorechner (R) vorgesehen ist, dem als Folgen von primären Digitalsignalen (DS1) vorliegende Eingangssignale (U₁) zugeführt werden und der Folgen von sekundären Digitalsignalen (DS2) ausgibt, daß dem Mikrorechner (R) ein programmierbarer Lesespeicher (PROM) zugeordnet ist, in dem die für den Wandler (W) charakteristischen Kennwerte und ein Programm zur Umrechnung der primären (DS1) in die sekundären (DS2) Digitalsignale gespeichert sind und daß ferner ein Digital/Analog-Wandler (D/A) zur Umwandlung der Folgen von sekundären Digitalsignalen (DS2) in analoge Ausgangssignale (U₂) vorgesehen ist.
- Einrichtung nach Anspruch 4, dadurch gekennzeichnet, daß ein Analog/Digital-Wandler (A/D) zur Umsetzung von als Analogsignale vorliegenden Eingangssignalen (U₁) in Folgen von primären Digitalsignalen (DS1) vorgesehen ist.
- Einrichtung nach Anspruch 5, dadurch gekennzeichnet, daß Frequenzweichen (FW1 bis FW3) zur Aufteilung des Frequenzbereichs der Eingangssignale (U₁) in mehrere vorgegebene Teilfrequenzbereiche vorgesehen sind, daß für jeden Teilfrequenzbereich ein Endverstärker (EV1 bis EV3) und ein elektroakustischer Wandler (W1 bis W3) vorhanden ist und daß mindestens im tiefsten Teilfrequenzbereich eine aus einem Mikrorechner (R), einem Digital/Analog-Wandler (D/A) und gegebenenfalls einem Analog/Digital-Wandler (A/D) bestehende Korrektureinheit (K1, K2) angeordnet ist, während in den restlichen Teilfrequenzbereichen Einrichtungen (DEL) zur Signalverzögerung vorgesehen sind.
- Einrichtung nach Anspruch 6, dadurch gekennzeichnet, daß die primären Digitalsignale (DS11, DS12) des tiefsten und mindestens des nächsthöheren Frequenzbereichs zeitversetzt den Dateneingängen eines gemeinsamen Mikrorechners (Rg) zugeführt werden und daß an die Datenausgänge des Mikrorechners (Rg) ein durch den Mikrorechner (Rg) gesteuerter Multiplexer (MUX) angeschlossen ist, der die dem tiefsten und mindestens dem nächsthöheren Frequenzbereich zugeordneten sekundären Digitalsignale (DS21, DS22) abwechselnd auf die Eingänge der entsprechenden Digital/Analog-Wandler (D/A1, D/A2) durchschaltet.
- Einrichtung nach Anspruch 6, dadurch gekennzeichnet, daß die primären Digitalsignale (DS11, DS12) des tiefsten und mindestens des nächsthöheren Frequenzbereichs zeitversetzt den Dateneingängen eines gemeinsamen Mikrorechners (Rg) zugeführt werden, daß die Eingänge der Digital/AnalogWandler (D/A1, D/A2) für den tiefsten und mindestens für den nächsthöheren Frequenzbereich parallelgeschaltet und mit den Datenausgängen des Mikrorechners (Rg) verbunden sind und daß die Übernahme der sekundären Digitalsignale (DS21, DS22) in die Digital/Analog-Wandler (D/A1, D/A2) durch vom Mikrorechner (Rg) gelieferte Signale zeitlich versetzt steuerbar ist.
- Einrichtung nach Anspruch 1, dadurch gekennzeichnet, daß die Rechenschaltung als Analogschaltung ausgebildet ist, die aus mehreren Integratoren (B), Einstellgliedern (P) und mindestens zwei Summierschaltungen (S) besteht, daß an einem Eingang der ersten Summierschaltung (S) die Eingangssignale (U₁) anliegen und die weiteren Eingänge über Inverter (1) und Einstellglieder (P) mit Ausgängen von mindestens einem der ersten Summierschaltung (S) nachgeschalteten Integratoren (B) verbunden sind, daß der Ausgang der ersten Summierschaltung (S) und die Ausgänge der Integratoren (B) über weitere Einstellglieder (P) mit den Eingängen der zweiten Summierschaltung (S) verbunden sind, an deren Ausgang das Ausgangssignal (U₂) abgreifbar ist und daß die Anzahl der in der Rechenschaltung enthaltenen Integratoren (B) gleich der Ordnung der Funktion H(p) ist, durch die in inverser Form das komplexe Eigenverhalten des Wandlers (W) in bezug auf den Amplituden- und Phasenfrequenzgang angenähert ist.
- Einrichtung nach Anspruch 9, dadurch gekennzeichnet, daß die Anzahl der direkt in Serie geschalteten Integratoren (B) jeweils gleich der Ordnung der Faktoren der gegebenenfalls in Faktoren zerlegten mathematischen Funktion H(p) ist, daß jeder Gruppe von direkt in Serie geschalteten Integratoren (B) eine erste und zweite Summierschaltung (S) sowie entsprechende Einstellglieder (P) und Inverter (l) zugeordnet sind und daR der Ausgang der zweiten Summierschaltung (S) einer vorausgehenden Gruppe mit einem Eingang der ersten Summierschaltung (S) einer nachfolgenden Gruppe verbunden ist.
- Einrichtung nach einem der Ansprüche 9 bis 10, dadurch gekennzeichnet , daß der Aufbau der Rechenschaltung einer mathematischen Funktion dritter Ordnung entspricht.
- Einrichtung nach einem der Ansprüche 1, 2, 9 bis 11, gekennzeichnet durch die Kombination mit einer bekannten Schaltungsanordnung zur Membrannachregelung.
- Einrichtung nach einem der Ansprüche 1 , 2 und 4 bis 12, dadurch gekennzeichnet, daß der Schwingspule eines Lautsprechers ein Strom eingeprägt wird.
Applications Claiming Priority (4)
| Application Number | Priority Date | Filing Date | Title |
|---|---|---|---|
| DE19833343027 DE3343027A1 (de) | 1983-11-28 | 1983-11-28 | Verfahren und schaltungsanordnung zur verbesserung der wiedergabequalitaet von elektroakustischen wandlern |
| DE3343027 | 1983-11-28 | ||
| DE3418047 | 1984-05-15 | ||
| DE19843418047 DE3418047C2 (de) | 1984-05-15 | 1984-05-15 | Einrichtung zur Kompensation von Wiedergabefehlern eines elektroakustischen Wandlers |
Publications (4)
| Publication Number | Publication Date |
|---|---|
| EP0145997A2 EP0145997A2 (de) | 1985-06-26 |
| EP0145997A3 EP0145997A3 (en) | 1987-09-30 |
| EP0145997B1 EP0145997B1 (de) | 1991-11-06 |
| EP0145997B2 true EP0145997B2 (de) | 1996-01-10 |
Family
ID=25815960
Family Applications (1)
| Application Number | Title | Priority Date | Filing Date |
|---|---|---|---|
| EP84114089A Expired - Lifetime EP0145997B2 (de) | 1983-11-28 | 1984-11-22 | Einrichtung zur Kompensation von Wiedergabefehlern eines elektroakustischen Wandlers |
Country Status (4)
| Country | Link |
|---|---|
| US (1) | US4675835A (de) |
| EP (1) | EP0145997B2 (de) |
| JP (1) | JPH07114519B2 (de) |
| DE (1) | DE3485242D1 (de) |
Cited By (1)
| Publication number | Priority date | Publication date | Assignee | Title |
|---|---|---|---|---|
| DE10236307A1 (de) * | 2002-03-16 | 2003-10-16 | Joerg Seiffert | Schaltung zur Korrektur der akustischen Gruppenlaufzeit und des frequenzabhängigen Phasenverhaltens für Schallwandler |
Families Citing this family (16)
| Publication number | Priority date | Publication date | Assignee | Title |
|---|---|---|---|---|
| SE422369B (sv) * | 1979-08-03 | 1982-03-01 | Arvid Lundbeck | Anordning for kompensering av overforingsfunktion |
| FR2607344B1 (fr) * | 1986-11-21 | 1994-04-29 | Nexo Distribution | Dispositif de traitement d'un signal electrique audiofrequence |
| US4914750A (en) * | 1987-07-13 | 1990-04-03 | Avm Hess, Inc. | Sound transducer |
| US4953112A (en) * | 1988-05-10 | 1990-08-28 | Minnesota Mining And Manufacturing Company | Method and apparatus for determining acoustic parameters of an auditory prosthesis using software model |
| US5247467A (en) * | 1989-08-16 | 1993-09-21 | Hewlett-Packard Company | Multiple variable compensation for transducers |
| DE4111884A1 (de) * | 1991-04-09 | 1992-10-15 | Klippel Wolfgang | Schaltungsanordnung zur korrektur des linearen und nichtlinearen uebertragungsverhaltens elektroakustischer wandler |
| US5493620A (en) * | 1993-12-20 | 1996-02-20 | Pulfrey; Robert E. | High fidelity sound reproducing system |
| DE19917584A1 (de) * | 1999-04-19 | 2000-10-26 | Siemens Ag | Flächenlautsprecher und Verfahren zu dessen Betrieb |
| DE10045201C2 (de) * | 2000-09-13 | 2002-08-14 | Siemens Ag | Akustische Wiedergabeeinrichtung |
| US6771781B2 (en) * | 2001-05-08 | 2004-08-03 | Daniel A. Chattin | Variable damping circuit for a loudspeaker |
| US8880205B2 (en) * | 2004-12-30 | 2014-11-04 | Mondo Systems, Inc. | Integrated multimedia signal processing system using centralized processing of signals |
| US8015590B2 (en) * | 2004-12-30 | 2011-09-06 | Mondo Systems, Inc. | Integrated multimedia signal processing system using centralized processing of signals |
| US7825986B2 (en) * | 2004-12-30 | 2010-11-02 | Mondo Systems, Inc. | Integrated multimedia signal processing system using centralized processing of signals and other peripheral device |
| US7653447B2 (en) * | 2004-12-30 | 2010-01-26 | Mondo Systems, Inc. | Integrated audio video signal processing system using centralized processing of signals |
| US20180160226A1 (en) * | 2016-12-05 | 2018-06-07 | Semiconductor Components Industries, Llc | Reducing or eliminating transducer reverberation |
| US10423229B2 (en) | 2017-08-17 | 2019-09-24 | Google Llc | Adjusting movement of a display screen to compensate for changes in speed of movement across the display screen |
Family Cites Families (15)
| Publication number | Priority date | Publication date | Assignee | Title |
|---|---|---|---|---|
| JPS4882817A (de) * | 1972-01-20 | 1973-11-06 | ||
| US3988541A (en) * | 1975-01-14 | 1976-10-26 | Iowa State University Research Foundation, Inc. | Method and apparatus for frequency compensation of electro-mechanical transducer |
| US4052560A (en) * | 1976-06-03 | 1977-10-04 | John Bryant Santmann | Loudspeaker distortion reduction systems |
| US4109107A (en) * | 1977-07-05 | 1978-08-22 | Iowa State University Research Foundation, Inc. | Method and apparatus for frequency compensation of electro-acoustical transducer and its environment |
| US4340778A (en) * | 1979-11-13 | 1982-07-20 | Bennett Sound Corporation | Speaker distortion compensator |
| US4316060A (en) * | 1980-01-04 | 1982-02-16 | Dbx, Inc. | Equalizing system |
| US4391124A (en) * | 1981-02-26 | 1983-07-05 | Cornell Research Foundation, Inc. | Electroacoustic transducer calibration method and apparatus |
| US4434648A (en) * | 1981-02-26 | 1984-03-06 | Cornell Research Foundation, Inc. | Electroacoustic transducer calibration method and apparatus |
| US4417214A (en) * | 1981-04-13 | 1983-11-22 | National Semiconductor Corporation | Monolithic IC general purpose active filter |
| US4481662A (en) * | 1982-01-07 | 1984-11-06 | Long Edward M | Method and apparatus for operating a loudspeaker below resonant frequency |
| US4458362A (en) * | 1982-05-13 | 1984-07-03 | Teledyne Industries, Inc. | Automatic time domain equalization of audio signals |
| US4446715A (en) * | 1982-06-07 | 1984-05-08 | Camino Laboratories, Inc. | Transducer calibration system |
| NL8303185A (nl) * | 1983-09-15 | 1985-04-01 | Philips Nv | Hybried luidsprekersysteem eventueel met een of meer korrektieketens. |
| NL8303186A (nl) * | 1983-09-15 | 1985-04-01 | Philips Nv | Luidsprekersysteem en een luidspreker te gebruiken in een luidspreker voor het omzetten van een in n bits gedigitaliseerd electrisch signaal in een akoestisch signaal. |
| US4558426A (en) * | 1983-12-14 | 1985-12-10 | Mcdonnell Douglas Corporation | Transducer multiplexer |
-
1984
- 1984-11-22 DE DE8484114089T patent/DE3485242D1/de not_active Expired - Lifetime
- 1984-11-22 EP EP84114089A patent/EP0145997B2/de not_active Expired - Lifetime
- 1984-11-27 JP JP59251485A patent/JPH07114519B2/ja not_active Expired - Lifetime
- 1984-11-28 US US06/675,752 patent/US4675835A/en not_active Expired - Lifetime
Cited By (3)
| Publication number | Priority date | Publication date | Assignee | Title |
|---|---|---|---|---|
| DE10236307A1 (de) * | 2002-03-16 | 2003-10-16 | Joerg Seiffert | Schaltung zur Korrektur der akustischen Gruppenlaufzeit und des frequenzabhängigen Phasenverhaltens für Schallwandler |
| DE10236307A9 (de) | 2002-03-16 | 2004-09-16 | Seiffert, Jörg | Schaltung zur Korrektur der akustischen Gruppenlaufzeit und des frequenzabhängigen Phasenverhaltens für Schallwandler |
| DE10236307B4 (de) * | 2002-03-16 | 2005-04-28 | Joerg Seiffert | Schaltung zur Korrektur der akustischen Gruppenlaufzeit und des frequenzabhängigen Phasenverhaltens für Schallwandler |
Also Published As
| Publication number | Publication date |
|---|---|
| JPH07114519B2 (ja) | 1995-12-06 |
| DE3485242D1 (de) | 1991-12-12 |
| EP0145997B1 (de) | 1991-11-06 |
| EP0145997A3 (en) | 1987-09-30 |
| EP0145997A2 (de) | 1985-06-26 |
| US4675835A (en) | 1987-06-23 |
| JPS60134699A (ja) | 1985-07-17 |
Similar Documents
| Publication | Publication Date | Title |
|---|---|---|
| EP0145997B2 (de) | Einrichtung zur Kompensation von Wiedergabefehlern eines elektroakustischen Wandlers | |
| DE2830451C2 (de) | Kopfhörer | |
| DE4111884C2 (de) | ||
| DE69933627T2 (de) | Vorrichtung und Verfahren zur Anpassung des Phasen- und Amplitudenfrequenzgangs eines Mikrofons | |
| DE102018002289A1 (de) | Verfahren zum Vermeiden einer Abweichung einer Membran eines elektrodynamischen Akustikwandlers | |
| EP1883064B1 (de) | Musikinstrument mit Klangwandler | |
| DE19983334B4 (de) | Aktive digitale Audio/Videosignalmodifikation zur Korrektur von Wiedergabesystemunzulänglichkeiten | |
| DE2748563A1 (de) | Lautsprecherbox | |
| EP0687126B1 (de) | Tonfrequenzfilter und Verfahren zur Bestimmung der Filterfunktion eines Tonfrequenzfilters | |
| DE3418047C2 (de) | Einrichtung zur Kompensation von Wiedergabefehlern eines elektroakustischen Wandlers | |
| DE2726184A1 (de) | Lautsprecher | |
| EP1169884B1 (de) | Flächenlautsprecher und verfahren zu dessen betrieb | |
| DE2626652B2 (de) | Regelungsanordnung für Schallsender | |
| EP0025509B1 (de) | Stereophones Übertragungsverfahren und Mittel zur Durchführung des Verfahrens | |
| DE102017200488A1 (de) | Kompensationsmittel für ein lautsprechersystem und lautsprechersystem | |
| DE2420689B2 (de) | Verfahren und Anordnung zur Verbesserung der Eigenschaften elektrodynamischer Wandler durch Bewegungsgegenkopplung | |
| DE3343027C2 (de) | ||
| DE2938938A1 (de) | Tonwiedergabevorrichtung | |
| DE3840551C2 (de) | ||
| DE3325520C2 (de) | Vorentzerrtes elektroakustisches Wandlersystem | |
| DE102018117481B3 (de) | Vorrichtung und Verfahren zur Detektion von Schall in Gasen oder Flüssigkeiten | |
| DE3501316A1 (de) | Schallwiedergabeeinrichtung | |
| DE102022106576A1 (de) | Differenzielles Modeling von analogen Effektgeräten und Gitarrenverstärkern | |
| EP0568721B1 (de) | Verfahren zur Anpassung des akustischen Volumens und des Hochpassfilters 2. Ordnung eines Lautsprecher-Chassis | |
| DE3003852A1 (de) | Verfahren zum stereophonen aufnehmen von schallsignalen mittels eines kunstkopfes |
Legal Events
| Date | Code | Title | Description |
|---|---|---|---|
| PUAI | Public reference made under article 153(3) epc to a published international application that has entered the european phase |
Free format text: ORIGINAL CODE: 0009012 |
|
| AK | Designated contracting states |
Kind code of ref document: A2 Designated state(s): AT BE DE FR GB IT NL SE Designated state(s): AT BE DE FR GB IT NL SE |
|
| RTI1 | Title (correction) | ||
| PUAL | Search report despatched |
Free format text: ORIGINAL CODE: 0009013 |
|
| AK | Designated contracting states |
Kind code of ref document: A3 Designated state(s): AT BE DE FR GB IT NL SE |
|
| 17P | Request for examination filed |
Effective date: 19870916 |
|
| RBV | Designated contracting states (corrected) |
Designated state(s): DE FR GB IT NL SE |
|
| 17Q | First examination report despatched |
Effective date: 19880224 |
|
| RAP3 | Party data changed (applicant data changed or rights of an application transferred) |
Owner name: PFLEIDERER, PETER MICHAEL, DIPL.-ING. |
|
| GRAA | (expected) grant |
Free format text: ORIGINAL CODE: 0009210 |
|
| AK | Designated contracting states |
Kind code of ref document: B1 Designated state(s): DE FR GB IT NL SE |
|
| ET | Fr: translation filed | ||
| REF | Corresponds to: |
Ref document number: 3485242 Country of ref document: DE Date of ref document: 19911212 |
|
| ITF | It: translation for a ep patent filed | ||
| GBT | Gb: translation of ep patent filed (gb section 77(6)(a)/1977) | ||
| REG | Reference to a national code |
Ref country code: GB Ref legal event code: 711B |
|
| REG | Reference to a national code |
Ref country code: GB Ref legal event code: 711H |
|
| PLBI | Opposition filed |
Free format text: ORIGINAL CODE: 0009260 |
|
| 26 | Opposition filed |
Opponent name: INTERESSENGEMEINSCHAFT FUER RUNDFUNKSCHUTZRECHTE G Effective date: 19920725 |
|
| PLBI | Opposition filed |
Free format text: ORIGINAL CODE: 0009260 |
|
| NLR1 | Nl: opposition has been filed with the epo |
Opponent name: INTERESSENGEMEINSCHAFT FUER RUNDFUNKSCHUTZRECHTE G |
|
| 26 | Opposition filed |
Opponent name: NOKIA UNTERHALTUNGSELEKTRONIK (DEUTSCHLAND) GMBH Effective date: 19920806 Opponent name: INTERESSENGEMEINSCHAFT FUER RUNDFUNKSCHUTZRECHTE G Effective date: 19920725 |
|
| NLR1 | Nl: opposition has been filed with the epo |
Opponent name: NOKIA UNTERHALTUNGSELEKTRONIK (DEUTSCHLAND)GMBH |
|
| PLAB | Opposition data, opponent's data or that of the opponent's representative modified |
Free format text: ORIGINAL CODE: 0009299OPPO |
|
| R26 | Opposition filed (corrected) |
Opponent name: INTERESSENGEMEINSCHAFT FUER RUNDFUNKSCHUTZRECHTE E Effective date: 19920725 |
|
| NLXE | Nl: other communications concerning ep-patents (part 3 heading xe) |
Free format text: PAT.BUL.22/92 CORR.:INTERESSENGEMEINSCHAFT FUR RUNDFUNKSCHUTZRECHTE E.V. |
|
| EAL | Se: european patent in force in sweden |
Ref document number: 84114089.0 |
|
| ITF | It: translation for a ep patent filed | ||
| PUAH | Patent maintained in amended form |
Free format text: ORIGINAL CODE: 0009272 |
|
| STAA | Information on the status of an ep patent application or granted ep patent |
Free format text: STATUS: PATENT MAINTAINED AS AMENDED |
|
| 27A | Patent maintained in amended form |
Effective date: 19960110 |
|
| AK | Designated contracting states |
Kind code of ref document: B2 Designated state(s): DE FR GB IT NL SE |
|
| NLR2 | Nl: decision of opposition | ||
| ET3 | Fr: translation filed ** decision concerning opposition | ||
| NLR3 | Nl: receipt of modified translations in the netherlands language after an opposition procedure | ||
| GBTA | Gb: translation of amended ep patent filed (gb section 77(6)(b)/1977) |
Effective date: 19960417 |
|
| PGFP | Annual fee paid to national office [announced via postgrant information from national office to epo] |
Ref country code: GB Payment date: 20011102 Year of fee payment: 18 |
|
| PGFP | Annual fee paid to national office [announced via postgrant information from national office to epo] |
Ref country code: SE Payment date: 20011121 Year of fee payment: 18 |
|
| PGFP | Annual fee paid to national office [announced via postgrant information from national office to epo] |
Ref country code: FR Payment date: 20011122 Year of fee payment: 18 |
|
| PGFP | Annual fee paid to national office [announced via postgrant information from national office to epo] |
Ref country code: NL Payment date: 20011127 Year of fee payment: 18 |
|
| REG | Reference to a national code |
Ref country code: GB Ref legal event code: IF02 |
|
| PG25 | Lapsed in a contracting state [announced via postgrant information from national office to epo] |
Ref country code: GB Free format text: LAPSE BECAUSE OF NON-PAYMENT OF DUE FEES Effective date: 20021122 |
|
| PG25 | Lapsed in a contracting state [announced via postgrant information from national office to epo] |
Ref country code: SE Free format text: LAPSE BECAUSE OF NON-PAYMENT OF DUE FEES Effective date: 20021123 |
|
| PG25 | Lapsed in a contracting state [announced via postgrant information from national office to epo] |
Ref country code: NL Free format text: LAPSE BECAUSE OF NON-PAYMENT OF DUE FEES Effective date: 20030601 |
|
| EUG | Se: european patent has lapsed | ||
| GBPC | Gb: european patent ceased through non-payment of renewal fee | ||
| PG25 | Lapsed in a contracting state [announced via postgrant information from national office to epo] |
Ref country code: FR Free format text: LAPSE BECAUSE OF NON-PAYMENT OF DUE FEES Effective date: 20030731 |
|
| NLV4 | Nl: lapsed or anulled due to non-payment of the annual fee |
Effective date: 20030601 |
|
| REG | Reference to a national code |
Ref country code: FR Ref legal event code: ST |
|
| PGFP | Annual fee paid to national office [announced via postgrant information from national office to epo] |
Ref country code: DE Payment date: 20031223 Year of fee payment: 20 |
|
| APAH | Appeal reference modified |
Free format text: ORIGINAL CODE: EPIDOSCREFNO |






