EP0103524B1 - Charnière perfectionnée sans axe rigide d'articulation - Google Patents
Charnière perfectionnée sans axe rigide d'articulation Download PDFInfo
- Publication number
- EP0103524B1 EP0103524B1 EP83401779A EP83401779A EP0103524B1 EP 0103524 B1 EP0103524 B1 EP 0103524B1 EP 83401779 A EP83401779 A EP 83401779A EP 83401779 A EP83401779 A EP 83401779A EP 0103524 B1 EP0103524 B1 EP 0103524B1
- Authority
- EP
- European Patent Office
- Prior art keywords
- strap
- hinge
- hinge according
- jaw
- rigid
- Prior art date
- Legal status (The legal status is an assumption and is not a legal conclusion. Google has not performed a legal analysis and makes no representation as to the accuracy of the status listed.)
- Expired
Links
- 239000000463 material Substances 0.000 claims description 14
- 239000013013 elastic material Substances 0.000 claims description 3
- 239000002184 metal Substances 0.000 claims description 3
- 239000004753 textile Substances 0.000 claims description 3
- 239000000835 fiber Substances 0.000 claims 1
- 239000010985 leather Substances 0.000 claims 1
- 239000002649 leather substitute Substances 0.000 claims 1
- 239000004745 nonwoven fabric Substances 0.000 claims 1
- 239000002759 woven fabric Substances 0.000 claims 1
- 230000000712 assembly Effects 0.000 description 4
- 238000000429 assembly Methods 0.000 description 4
- 238000005452 bending Methods 0.000 description 2
- 239000000470 constituent Substances 0.000 description 2
- 241000735470 Juncus Species 0.000 description 1
- 241001080024 Telles Species 0.000 description 1
- 230000002411 adverse Effects 0.000 description 1
- 238000010276 construction Methods 0.000 description 1
- 230000001419 dependent effect Effects 0.000 description 1
- 238000009434 installation Methods 0.000 description 1
- 210000000056 organ Anatomy 0.000 description 1
- 230000000284 resting effect Effects 0.000 description 1
- 239000012209 synthetic fiber Substances 0.000 description 1
- 229920002994 synthetic fiber Polymers 0.000 description 1
Images
Classifications
-
- E—FIXED CONSTRUCTIONS
- E05—LOCKS; KEYS; WINDOW OR DOOR FITTINGS; SAFES
- E05D—HINGES OR SUSPENSION DEVICES FOR DOORS, WINDOWS OR WINGS
- E05D9/00—Flaps or sleeves specially designed for making from particular material, e.g. hoop-iron, sheet metal, plastics
-
- E—FIXED CONSTRUCTIONS
- E05—LOCKS; KEYS; WINDOW OR DOOR FITTINGS; SAFES
- E05D—HINGES OR SUSPENSION DEVICES FOR DOORS, WINDOWS OR WINGS
- E05D1/00—Pinless hinges; Substitutes for hinges
- E05D1/02—Pinless hinges; Substitutes for hinges made of one piece
Definitions
- the present invention relates to a hinge without rigid articulation axis.
- the present invention overcomes these drawbacks and aims at a hinge without rigid articulation axis of the type comprising a strap as a means of connection between the parts to be fixed on the elements to be assembled, and comprising two cylindrical selvedges, each of these selvedges being intended to cooperate with at least one groove formed in at least part of a double piece forming a jaw and made integral with each of the elements to be assembled, a median strip of this strap being provided with minimum width to allow the free rotation of these elements l '' in relation to each other, characterized in that at least one of the parts comprises a curved member intended to act on said median strip and create a bending zone producing a fictitious axis of rotation merging with the axis of symmetry longitudinal of the assembly.
- the strap applied for the production of a hinge essentially consists of a strip 1 of a suitable flexible and / or elastic material, of a width which can vary on the order from one centimeter to the order of ten centimeters or more (depending on the importance of the hinge to be made).
- Each edge of this strip is constituted by a compact or tubular 2-2a tube, obtained everywhere appropriate means, forming an integral part of said strap or attached.
- said strands are more rigid than the strap itself.
- tubular tubes these serve as sheaths for rods or rods 3-3a made of any suitable material such as metal rods or natural or synthetic rods.
- the tubes 2-2a are tubular and serve as sheaths for rigid rods 3-3a and the parts 4b and 4d of each jaw are an integral part of each element to be assembled ( AB), so that for the installation of a hinge according to the invention, it suffices to provide the respective grooves 5b-5d on these elements and the means (such as the screw 7) for inserting the strands 3-3a.
- each piece 4a-4c has its curved member 6; to prevent two bodies from facing each other, which would adversely affect the proper functioning of the hinge, provision is advantageously made for their alternate arrangement.
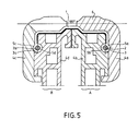
- FIGS. 2 to 5 shows that a hinge according to the invention allows an angle opening ranging from 0 ° (FIG. 2) to 180 ° (FIG. 5), FIGS. 3 and 4 respectively illustrating the intermediate openings ( 45 ° and 90 °).
- the hinge according to the invention is easy to make and install, all the constituent parts possibly being removable and interchangeable.
Landscapes
- Mechanical Engineering (AREA)
- Engineering & Computer Science (AREA)
- Closing And Opening Devices For Wings, And Checks For Wings (AREA)
- Hinges (AREA)
- Purses, Travelling Bags, Baskets, Or Suitcases (AREA)
- Load-Engaging Elements For Cranes (AREA)
- Golf Clubs (AREA)
- Buckles (AREA)
- Clamps And Clips (AREA)
- Walking Sticks, Umbrellas, And Fans (AREA)
- Pens And Brushes (AREA)
- Diaphragms For Electromechanical Transducers (AREA)
- Prostheses (AREA)
- Window Of Vehicle (AREA)
- Hinge Accessories (AREA)
- Supports For Pipes And Cables (AREA)
- Body Structure For Vehicles (AREA)
Priority Applications (1)
| Application Number | Priority Date | Filing Date | Title |
|---|---|---|---|
| AT83401779T ATE25275T1 (de) | 1982-09-14 | 1983-09-13 | Scharnier, welches keine starre gelenkachse aufweist. |
Applications Claiming Priority (2)
| Application Number | Priority Date | Filing Date | Title |
|---|---|---|---|
| FR8215485 | 1982-09-14 | ||
| FR8215485A FR2532981B1 (fr) | 1982-09-14 | 1982-09-14 | Charniere perfectionnee sans axe rigide d'articulation |
Publications (2)
| Publication Number | Publication Date |
|---|---|
| EP0103524A1 EP0103524A1 (fr) | 1984-03-21 |
| EP0103524B1 true EP0103524B1 (fr) | 1987-01-28 |
Family
ID=9277424
Family Applications (1)
| Application Number | Title | Priority Date | Filing Date |
|---|---|---|---|
| EP83401779A Expired EP0103524B1 (fr) | 1982-09-14 | 1983-09-13 | Charnière perfectionnée sans axe rigide d'articulation |
Country Status (14)
| Country | Link |
|---|---|
| US (1) | US4658472A (da) |
| EP (1) | EP0103524B1 (da) |
| JP (1) | JPS5972377A (da) |
| KR (1) | KR890003350B1 (da) |
| AT (1) | ATE25275T1 (da) |
| CA (1) | CA1207958A (da) |
| DE (1) | DE3369546D1 (da) |
| DK (1) | DK155617C (da) |
| ES (1) | ES283003Y (da) |
| FR (1) | FR2532981B1 (da) |
| HK (1) | HK101987A (da) |
| MA (1) | MA19901A1 (da) |
| SG (1) | SG50887G (da) |
| WO (1) | WO1984001184A1 (da) |
Families Citing this family (17)
| Publication number | Priority date | Publication date | Assignee | Title |
|---|---|---|---|---|
| GB8418482D0 (en) * | 1984-07-19 | 1984-08-22 | Nl Petroleum Prod | Rotary drill bits |
| DE3855845T2 (de) * | 1987-04-10 | 1997-07-03 | Ahlberg Erik | Aufbaufähiger stand |
| CH678862A5 (da) * | 1989-07-20 | 1991-11-15 | Rieter Ag Maschf | |
| US6152205A (en) | 1992-08-25 | 2000-11-28 | Toti; Andrew J. | Window covering system |
| US5732757A (en) * | 1996-05-10 | 1998-03-31 | Jvm Innovation & Design Llc | Slotted panel and strap combination |
| DE29705649U1 (de) * | 1997-03-29 | 1997-05-22 | Behr Gmbh & Co, 70469 Stuttgart | Deckel für ein Filtergehäuse |
| US6207092B1 (en) | 1999-05-28 | 2001-03-27 | K. Jabat, Inc. | Process for making a drag shield for a power mower |
| AT409258B (de) * | 2000-09-13 | 2002-07-25 | Strasser Johann | Scharnier zur schwenkbaren verbindung zweier bauteile |
| US7010834B2 (en) * | 2002-09-10 | 2006-03-14 | Nokia Corporation | Hinge assembly, and associated method, providing multiple axes of rotation |
| US20070283529A1 (en) * | 2006-06-08 | 2007-12-13 | Nokia Corporation | Plastic living hinge with metal support |
| WO2008056071A1 (fr) | 2006-11-08 | 2008-05-15 | France Telecom | Procede d'etablissement d'une connexion securisee, equipement cfs, equipement cfm, terminal requerant et produit programme d'ordinateur correspondants |
| USD564858S1 (en) * | 2007-03-29 | 2008-03-25 | Chameleon Transportation Systems Inc. | Hinge connector |
| IN2014CN01812A (da) * | 2011-09-26 | 2015-05-29 | Kyoraku Co Ltd | |
| US20150274085A1 (en) * | 2014-03-27 | 2015-10-01 | Mark Underhill Martin | Trash bin caddie |
| US10501973B2 (en) | 2016-06-14 | 2019-12-10 | Microsoft Technology Licensing, Llc | Hinge with free-stop function |
| US10301858B2 (en) * | 2016-06-14 | 2019-05-28 | Microsoft Technology Licensing, Llc | Hinge mechanism |
| US10061359B2 (en) * | 2016-07-28 | 2018-08-28 | Microsoft Technology Licensing, Llc | Hinged device with living hinge |
Family Cites Families (14)
| Publication number | Priority date | Publication date | Assignee | Title |
|---|---|---|---|---|
| US1963941A (en) * | 1933-01-03 | 1934-06-19 | Duffy Mfg Company | Inspection door construction |
| US2241101A (en) * | 1939-04-06 | 1941-05-06 | Gen Motors Corp | Refrigerating apparatus |
| US2253606A (en) * | 1940-06-11 | 1941-08-26 | Fred S Boltz | Hinge joint |
| US2607411A (en) * | 1948-06-12 | 1952-08-19 | Liquid Carbonic Corp | Hinge system for refrigerated cabinets |
| US3048806A (en) * | 1959-12-18 | 1962-08-07 | Burroughs Corp | Hinge structure |
| US3054608A (en) * | 1960-10-05 | 1962-09-18 | Potter Instrument Co Inc | Cantilever spring support bearing |
| CH439076A (de) * | 1964-07-21 | 1967-06-30 | O Wirth Hermann | Kunststoff-Scharnier für Schachteln mit Klappdeckel, insbesondere solche aus Kunststoff |
| US3385422A (en) * | 1965-10-18 | 1968-05-28 | Gillette Co | Display case |
| DE7105017U (de) * | 1970-02-18 | 1971-11-04 | Burelli S | Scharnier insbesondere fuer duennwandige moebel oder behaelter |
| US4024605A (en) * | 1975-12-18 | 1977-05-24 | Flexible Steel Lacing Company | Flexible hinge pin |
| CH632631B (de) * | 1977-11-23 | Ciba Geigy Ag | Waessrige praeparate von in wasser unloeslichen bis schwerloeslichen farbstoffen und optischen aufhellern. | |
| DE2901371A1 (de) * | 1979-01-15 | 1980-07-31 | Walmue Badeoefen Christian Wal | Wand zum verschliessen des zugangs einer duschkabine |
| DE3116146A1 (de) * | 1981-04-23 | 1982-11-11 | Justin Hüppe GmbH, 2900 Oldenburg | Gelenkanordnung, insbesondere zum verbinden der lamellen von falttueren oder faltwaenden und verfahren zur herstellung der gelenkanordnung |
| US4451097A (en) * | 1982-02-01 | 1984-05-29 | Deere & Company | Track section including flexors |
-
1982
- 1982-09-14 FR FR8215485A patent/FR2532981B1/fr not_active Expired
-
1983
- 1983-09-13 EP EP83401779A patent/EP0103524B1/fr not_active Expired
- 1983-09-13 ES ES1983283003U patent/ES283003Y/es not_active Expired
- 1983-09-13 DE DE8383401779T patent/DE3369546D1/de not_active Expired
- 1983-09-13 AT AT83401779T patent/ATE25275T1/de not_active IP Right Cessation
- 1983-09-13 JP JP58169087A patent/JPS5972377A/ja active Pending
- 1983-09-13 KR KR1019830004296A patent/KR890003350B1/ko not_active Expired
- 1983-09-13 MA MA20124A patent/MA19901A1/fr unknown
- 1983-09-14 CA CA000436686A patent/CA1207958A/en not_active Expired
- 1983-09-14 WO PCT/FR1983/000183 patent/WO1984001184A1/fr not_active Ceased
-
1984
- 1984-05-11 DK DK234484A patent/DK155617C/da not_active IP Right Cessation
-
1986
- 1986-08-05 US US06/892,470 patent/US4658472A/en not_active Expired - Fee Related
-
1987
- 1987-06-11 SG SG50887A patent/SG50887G/en unknown
- 1987-12-31 HK HK1019/87A patent/HK101987A/xx unknown
Also Published As
| Publication number | Publication date |
|---|---|
| DE3369546D1 (en) | 1987-03-05 |
| ES283003Y (es) | 1986-04-01 |
| JPS5972377A (ja) | 1984-04-24 |
| WO1984001184A1 (fr) | 1984-03-29 |
| KR840005854A (ko) | 1984-11-19 |
| ES283003U (es) | 1985-06-16 |
| HK101987A (en) | 1988-01-08 |
| DK234484A (da) | 1984-05-11 |
| US4658472A (en) | 1987-04-21 |
| FR2532981A1 (fr) | 1984-03-16 |
| DK234484D0 (da) | 1984-05-11 |
| EP0103524A1 (fr) | 1984-03-21 |
| KR890003350B1 (ko) | 1989-09-18 |
| FR2532981B1 (fr) | 1987-10-30 |
| CA1207958A (en) | 1986-07-22 |
| DK155617B (da) | 1989-04-24 |
| MA19901A1 (fr) | 1984-04-01 |
| ATE25275T1 (de) | 1987-02-15 |
| DK155617C (da) | 1989-09-04 |
| SG50887G (en) | 1987-08-28 |
Similar Documents
| Publication | Publication Date | Title |
|---|---|---|
| EP0103524B1 (fr) | Charnière perfectionnée sans axe rigide d'articulation | |
| EP0382606B1 (fr) | Bague de fermeture de gaines annelées | |
| EP0044241B1 (fr) | Réflecteur d'antenne déployable | |
| FR2465132A1 (fr) | Chaine de transmission pour transmission a disques coniques | |
| FR2635077A1 (fr) | Articulation auto-motorisee, sans frottement, et ensemble articule tel qu'un panneau solaire de satellite equipe de telles articulations | |
| FR2721884A1 (fr) | Platine-support d'un mecanisme d'essuie-glace comportant une plaque-support en deux parties | |
| FR2672931A1 (fr) | Volet roulant a plusieurs lames reliees en serie par des articulations s'enroulant sous forme polygonale. | |
| FR2655843A1 (fr) | Valve cardiaque a clapets pivotant sur des billes. | |
| EP3326920A1 (fr) | Structure déployable à déploiement spontané | |
| FR2732583A1 (fr) | Systeme pour articulation d'orthese | |
| EP0127537A1 (fr) | Ecrou encagé | |
| FR2684962A1 (fr) | Boitier a ouverture controlee. | |
| FR3004067A1 (fr) | Profile, notamment metallique, destine a permettre une fixation d'un film sur une structure de serre et systeme de fixation d'un film sur une structure de serre comprenant un tel profile | |
| FR2544087A1 (fr) | Monture de lunettes a face amovible | |
| FR2574510A1 (fr) | Dispositif destine a assurer la liaison articulee de deux series complementaires d'agrafes de jonction | |
| FR2738881A1 (fr) | Joint de transmission homocinetique | |
| FR2482998A2 (fr) | Dispositif pour charnieres invisibles aptes a maintenir fermes automatiquement une porte, un volet ou un abattant | |
| EP0006664B1 (fr) | Bracelet constitué de maillons rigides directement articulés les uns aux autres | |
| EP0239454A1 (fr) | Mécanisme pour le déplacement d'un organe et son application aux générateurs solaires déployables | |
| FR2794781A1 (fr) | Procede pour la fabrication d'un ensemble de bras articules pour stores ou similaires et ensemble de bras articules obtenus avec ce procede | |
| EP0200871B1 (fr) | Bracelet et procédé d'assemblage de celui-ci | |
| FR2746161A1 (fr) | Chaine de transmission et son procede de fabrication | |
| EP1229625A1 (fr) | Goulotte composable | |
| EP0072333A1 (fr) | Procédé de réalisation d'un panneau plein rigide | |
| FR2669508A1 (fr) | Dispositif de scarification de la pate a pain de securite. |
Legal Events
| Date | Code | Title | Description |
|---|---|---|---|
| PUAI | Public reference made under article 153(3) epc to a published international application that has entered the european phase |
Free format text: ORIGINAL CODE: 0009012 |
|
| AK | Designated contracting states |
Designated state(s): AT BE CH DE FR GB IT LI LU NL SE |
|
| 17P | Request for examination filed |
Effective date: 19840523 |
|
| ITF | It: translation for a ep patent filed | ||
| GRAA | (expected) grant |
Free format text: ORIGINAL CODE: 0009210 |
|
| RAP1 | Party data changed (applicant data changed or rights of an application transferred) |
Owner name: LOUIS VUITTON MALLETIER |
|
| AK | Designated contracting states |
Kind code of ref document: B1 Designated state(s): AT BE CH DE FR GB IT LI LU NL SE |
|
| REF | Corresponds to: |
Ref document number: 25275 Country of ref document: AT Date of ref document: 19870215 Kind code of ref document: T |
|
| REF | Corresponds to: |
Ref document number: 3369546 Country of ref document: DE Date of ref document: 19870305 |
|
| PLBE | No opposition filed within time limit |
Free format text: ORIGINAL CODE: 0009261 |
|
| STAA | Information on the status of an ep patent application or granted ep patent |
Free format text: STATUS: NO OPPOSITION FILED WITHIN TIME LIMIT |
|
| 26N | No opposition filed | ||
| PGFP | Annual fee paid to national office [announced via postgrant information from national office to epo] |
Ref country code: GB Payment date: 19910829 Year of fee payment: 9 |
|
| PGFP | Annual fee paid to national office [announced via postgrant information from national office to epo] |
Ref country code: AT Payment date: 19910830 Year of fee payment: 9 |
|
| PGFP | Annual fee paid to national office [announced via postgrant information from national office to epo] |
Ref country code: CH Payment date: 19910912 Year of fee payment: 9 |
|
| PGFP | Annual fee paid to national office [announced via postgrant information from national office to epo] |
Ref country code: LU Payment date: 19910917 Year of fee payment: 9 |
|
| PGFP | Annual fee paid to national office [announced via postgrant information from national office to epo] |
Ref country code: SE Payment date: 19910920 Year of fee payment: 9 |
|
| ITTA | It: last paid annual fee | ||
| PGFP | Annual fee paid to national office [announced via postgrant information from national office to epo] |
Ref country code: NL Payment date: 19910930 Year of fee payment: 9 Ref country code: FR Payment date: 19910930 Year of fee payment: 9 |
|
| PGFP | Annual fee paid to national office [announced via postgrant information from national office to epo] |
Ref country code: BE Payment date: 19911024 Year of fee payment: 9 |
|
| PGFP | Annual fee paid to national office [announced via postgrant information from national office to epo] |
Ref country code: DE Payment date: 19911025 Year of fee payment: 9 |
|
| EPTA | Lu: last paid annual fee | ||
| PG25 | Lapsed in a contracting state [announced via postgrant information from national office to epo] |
Ref country code: LU Free format text: LAPSE BECAUSE OF NON-PAYMENT OF DUE FEES Effective date: 19920913 Ref country code: GB Effective date: 19920913 Ref country code: AT Effective date: 19920913 |
|
| PG25 | Lapsed in a contracting state [announced via postgrant information from national office to epo] |
Ref country code: SE Effective date: 19920914 |
|
| PG25 | Lapsed in a contracting state [announced via postgrant information from national office to epo] |
Ref country code: LI Effective date: 19920930 Ref country code: CH Effective date: 19920930 Ref country code: BE Effective date: 19920930 |
|
| BERE | Be: lapsed |
Owner name: LOUIS VUITTON MALLETIER Effective date: 19920930 |
|
| PG25 | Lapsed in a contracting state [announced via postgrant information from national office to epo] |
Ref country code: NL Effective date: 19930401 |
|
| GBPC | Gb: european patent ceased through non-payment of renewal fee |
Effective date: 19920913 |
|
| NLV4 | Nl: lapsed or anulled due to non-payment of the annual fee | ||
| PG25 | Lapsed in a contracting state [announced via postgrant information from national office to epo] |
Ref country code: FR Effective date: 19930528 |
|
| REG | Reference to a national code |
Ref country code: CH Ref legal event code: PL |
|
| PG25 | Lapsed in a contracting state [announced via postgrant information from national office to epo] |
Ref country code: DE Effective date: 19930602 |
|
| REG | Reference to a national code |
Ref country code: FR Ref legal event code: ST |
|
| EUG | Se: european patent has lapsed |
Ref document number: 83401779.0 Effective date: 19930406 |