EP0074499A2 - Optisches Dämpfungsglied - Google Patents

Optisches Dämpfungsglied Download PDF

Info

Publication number
EP0074499A2
EP0074499A2 EP82107391A EP82107391A EP0074499A2 EP 0074499 A2 EP0074499 A2 EP 0074499A2 EP 82107391 A EP82107391 A EP 82107391A EP 82107391 A EP82107391 A EP 82107391A EP 0074499 A2 EP0074499 A2 EP 0074499A2
Authority
EP
European Patent Office
Prior art keywords
metal layer
waveguide
optical
optical waveguide
attenuator
Prior art date
Legal status (The legal status is an assumption and is not a legal conclusion. Google has not performed a legal analysis and makes no representation as to the accuracy of the status listed.)
Withdrawn
Application number
EP82107391A
Other languages
English (en)
French (fr)
Other versions
EP0074499A3 (de
Inventor
Hans Dr.Rer.Nat. Mahlein
Current Assignee (The listed assignees may be inaccurate. Google has not performed a legal analysis and makes no representation or warranty as to the accuracy of the list.)
Siemens AG
Siemens Corp
Original Assignee
Siemens AG
Siemens Corp
Priority date (The priority date is an assumption and is not a legal conclusion. Google has not performed a legal analysis and makes no representation as to the accuracy of the date listed.)
Filing date
Publication date
Application filed by Siemens AG, Siemens Corp filed Critical Siemens AG
Publication of EP0074499A2 publication Critical patent/EP0074499A2/de
Publication of EP0074499A3 publication Critical patent/EP0074499A3/de
Withdrawn legal-status Critical Current

Links

Images

Classifications

    • GPHYSICS
    • G02OPTICS
    • G02BOPTICAL ELEMENTS, SYSTEMS OR APPARATUS
    • G02B6/00Light guides; Structural details of arrangements comprising light guides and other optical elements, e.g. couplings
    • G02B6/24Coupling light guides
    • G02B6/26Optical coupling means
    • G02B6/264Optical coupling means with optical elements between opposed fibre ends which perform a function other than beam splitting
    • G02B6/266Optical coupling means with optical elements between opposed fibre ends which perform a function other than beam splitting the optical element being an attenuator

Definitions

  • the invention relates to an optical attenuator with fixed attenuation.
  • Optical attenuators for fiber optic links are required, for example, if the dynamic range (approx. 20-30 dB) of the receiver is insufficient for incoming power that is too high or for measurements on transmission links. Since such a weakening of performance should take place as neutrally as possible, an increase in attenuation by increasing the distance between the two fiber end faces in a glass fiber plug connection is not an option.
  • Relatively complicated optical attenuators, which contain lenses for beam shaping are for example from Nippon Electric Co. Ltd. offered (see also Optical Devices ' and Measuring Set Catalog, Nippon Electric Co., (1981)). They are available with both continuously adjustable damping and fixed damping.
  • the object of the invention is to provide a simply constructed and producible attenuator of the type mentioned, in which no lenses are required.
  • This attenuator according to the invention achieves largely mode-neutral and wavelength-independent attenuation, especially for fiber optic links.
  • Attenuator advantageously designed as specified in claim 2.
  • the optical waveguide consists of a glass fiber optical waveguide.
  • the attenuation of an attenuator according to the invention is almost wavelength-independent in a wide spectral range, typically in a range from 700 nm to 1500 nm.
  • An attenuator according to the invention can be produced in a simple manner as specified in claim 4.
  • the glass fiber optical waveguide 1 consisting of a core-cladding glass fiber is arranged in a V-shaped groove 2 produced by anisotropic etching in a silicon substrate 3 and fastened therein with optical cement 4.
  • the optical putty 4 also glues the silicon substrate 3 to a cover plate 5 made of glass, which covers the fiber 1 and preferably touches the side of the fiber 1 facing away from the groove 2.
  • the fiber core with the refractive index n 0 is denoted by 11 and the fiber cladding surrounding the core with a lower refractive index is denoted by 12.
  • the fiber 1 extends a metal layer 6, the thickness of which is such that a desired rest of the radiation guided in the fiber 1 essentially in the region of the core 11 can radiate through the metal layer 6 (desired residual transmission), while the rest of the radiation is absorbed or reflected.
  • the transmittance T decreases continuously with increasing layer thickness t, and an approximately exponential drop is obtained.
  • the reflectivity R initially increases with: strong and then sought an independent t limit 'worth.
  • the curve for the absorption A reaches a maximum after a steep increase at a specific t, then drops slightly and tends towards a limit value independent of t.
  • the optical constants of metals in the wavelength range of interest from 700 nm to 1500 nm are only slightly dependent on the wavelength, the attenuation a in the spectral range under consideration is largely independent of the wavelength.
  • Aluminum is an example of a metal.
  • the metal layer must therefore not be arranged perpendicular to the fiber axis, but must be inclined from the vertical position by a certain angle ⁇ 0 with respect to the fiber axis, the minimum value of which arc sin (A N / n 0 ) is given, where AN is the numerical aperture of fiber 1 and n O den. mean refractive index of the fiber core 11.
  • ⁇ 0 In order not to cause undesired discrimination between different polarization directions through the metal layer, ⁇ 0 must not be significantly greater than the minimum value.
  • the two in Figures 1a) and 1b) and. 2a) and 2b) differ essentially only in the different ways of fastening the metal layer 6 in the fiber 1.
  • the metal layer 6 is vapor-deposited directly onto a polished fiber end face 61, while in FIG In the embodiment according to FIGS. 2a) and 2b), a metallized film 7 is glued to a fiber end face.
  • the manufacture of an attenuator can be carried out in such a way that the metal layer is either vapor-deposited directly onto an obliquely polished glass fiber end face or that a previously vapor-coated, thin plastic film, for example a Kapton film, is glued onto an obliquely polished glass fiber end face.
  • a second fiber is glued in alignment with the first fiber to the metal layer or its plastic substrate.
  • the individual manufacturing steps can be carried out similarly to the manufacture of fiber optic branches and wavelength division multiplex modules according to the beam splitter principle (see HF Mahlein, Design of Beam Splitters for 0ptical Fiber Tapping Elements, Siemens Forsch.-u.Design. Ber. 8 (1979 ) 136-140; A. Reichelt, G.
  • V-shaped guide grooves produced by anisotropic etching of silicon can be used for fiber mounting. Use is made of this in the embodiments according to FIGS. 1a), b) and 2a), b).
  • the optical cement that connects the fiber end faces 61, 62 to the metal layer 6 or the plastic film 7 is FIGS. 1a and 2a. designated 63.
  • the entire attenuator can be installed in a housing with connector flanges at the input and output. If the connector flanges are omitted, the attenuator can also be spliced into a glass fiber link.

Landscapes

  • Physics & Mathematics (AREA)
  • General Physics & Mathematics (AREA)
  • Optics & Photonics (AREA)
  • Optical Couplings Of Light Guides (AREA)
  • Light Guides In General And Applications Therefor (AREA)
  • Mechanical Coupling Of Light Guides (AREA)
  • Optical Elements Other Than Lenses (AREA)
  • Optical Fibers, Optical Fiber Cores, And Optical Fiber Bundles (AREA)

Abstract

Es wird ein optisches Dämpfungsglied mit fester Dämpfung beschrieben, bei dem das wesentliche eine dünne Metallschicht in einem Lichtwellenleiter (1) ist, deren Dicke so bemessen ist, daß eine gewünschte Resttransmission und damit Dämpfung erzielt wird. Diese Metallschicht wird auf eine Glasfaserstirnfläche aufgedampft oder eine metallisch bedampfte Folie wird auf eine Glasfaserstirnfläche geklebt. Das Dämpfungsglied wird in Glasfaserstrecken der optischen Nachrichtentechnik verwendet.

Description

  • Die Erfindung bezieht sich gemäß dem Oberbegriff des Patentanspruchs 1 auf ein optisches Dämpfungsglied mit fester Dämpfung.
  • Optische Dämpfungsglieder für Glasfaserstrecken werden z.B. benötigt, wenn die Dynamik (ca. 20-30 dB) des Empfängers für eine zu hohe ankommende Leistung nicht ausreicht oder für Messungen an übertragungsstrecken. Da eine derartige Leistungsabschwächung möglichst modenneutral erfolgen soll, kommt eine Dämfpungserhöhung durch Vergrößerung des Abstandes zwischen den beiden Faserstirnflächen in einer Glasfasersteckverbindung nicht in Betracht. Relativ komplizierte optische Dämpfungsglieder, die zur Strahlformung Linsen enthalten, werden beispielsweise von Nippon Electric Co. Ltd. angeboten (s. dazu Optical Devices'and Measuring Set Katalog, Nippon Electric Co., (1981)). Sie sind sowohl mit kontinuierlich einstellbarer Dämpfung als auch mit fester Dämpfung erhältlich.
  • Aufgabe der Erfindung ist es, ein einfach aufgebautes und herstellbares Dämpfungsglied der genannten Art anzugeben, bei dem keine Linsen benötigt werden.
  • Diese Aufgabe wird durch die im kennzeichnenden Teil des Patentanspruchs 1 angegebenen Merkmale gelöst.
  • Durch dieses erfindungsgemäße Dämpfungsglied.wird insbesondere für Glasfaserstrecken eine weitgehend modenneutrale und wellenlängenunabhängige Dämpfung erreicht.
  • Zur Vermeidung einer Störung durch an der Metallschicht zurückreflektierte Strahlung wird ein erfindungsgemäßes Dämpfungsglied vorteilhafterweise so ausgebildet, wie es im Anspruch 2 angegeben ist.
  • In einer bevorzugten Ausführungsform eines erfindungsgemäßen Dämpfungsgliedes besteht gemäß Anspruch 3 der optische Wellenleiter aus einem Glasfaser-Lichtwellenleiter.
  • Die Dämpfung eines erfindungsgemäßen Dämpfungsgliedes ist in einem weiten Spektralbereich, typischerweise in einem Bereich von 700 nm bis 1500 nm nahezu wellenlängenunabhängig.
  • Ein erfindungsgemäßes Dämpfungsgliedläßt sich auf einfache Weise so herstellen, wie es im Anspruch 4 angegeben ist.
  • Vorteilhaft und zweckmäßig ist es bei einem solchen Verfahren so vorzugehen, wie es im Anspruch 5 angegeben ist. Dieses Verfahren wird bei Glasfaser-Lichtwellenleitern mit einem Ausgangskörper ausgeführt, wie er aus dem Anspruch 6 hervorgeht. Gemäß dem Anspruch 7 wird der Glasfaser-Lichtwellenleiter derart schräg zur optischen Achse der. Faser oder Faserachse durchtrennt, daß an der Metallschicht reflektiertes Licht an der von der Furche abgewandten Seite die Faser verläßt.
  • Zwei Ausführungsbeispiele der Erfindung sind in den Figuren dargestellt und werden in der folgenden Beschreibung näher erläutert. Von den Figuren zeigen:
    • Fig. 1 a) und b) einen Längsschnitt bzw. Querschnitt durch ein aus Glasfaser-Lichtwellenleitern gebildetes Dämpfungsglied mit direkt bedampfter Glasfaserstirnfläche,
    • Fig. 2 a) und b) einen Längs- bzw. Querschnitt durch ein ebenfalls aus Glasfaser-Lichtwellenleitern gebildetes Dämpfungsglied mit eingeklebter, vorabbedampfter Folie und
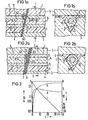
    • Fig. 3 in einem Schaubbild die Abhängigkeit des Transmissionsvermögens T, Reflexionsvermögens R und der Absorption A von der Dicke T einer Metallschicht.
  • Die in den Figuren 1b) und 2b) dargestellten Querschnitte sind längs den Schnittlinien I-I bzw. II-II in den Figuren 1a) bzw. 2a) geführt, während die in den Figuren 1a) und 2a) dargestellten Querschnitte vertikale Schnitte durch die Faserachse sind.
  • Gemäß den Figuren ist der aus einer Kern-Mantel-Glasfaserbestehende Glasfaser-Lichtwellenleiter 1 in einer durch anisotropes Ätzen erzeugten V-förmigen Furche 2 in einem Siliziumsubstrat 3 angeordnet und mit optischem Kitt 4 darin befestigt. Der optische Kitt 4 verklebt auch das Siliziumsubstrat 3 mit einem Deckplättchen 5 aus Glas, das die Faser 1 abdeckt und vorzugsweise die von der Furche 2 abgewandte Seite der Faser 1 berührt. Der Faserkern mit dem Brechungsindex n0 ist mit 11 und der den Kern umgebende Fasermantel mit einem geringeren Brechungsindex ist mit 12 bezeichnet.
  • 'Quer durch die Faser 1 erstreckt sich eine Metallschicht 6, deren Dicke so bemessen ist, daß ein gewünschter Rest der in der Faser 1 im wesentlichen im Bereich des Kernes 11 geführten Strahlung die Metallschicht 6 durchstrahlen kann (gewünschte Resttransmission), während die übrige Strahlung absorbiert oder reflektiert wird.
  • Der prinzipielle Verlauf von Transmissionsvermögen T, Reflexionsvermögen R und Absorption A einer Metallschicht als Funktion der Schichtdicke.t ist dem in Figur 3 dargestellten Schaubild entnehmbar, das bereits aus H.F. Mahlein, Design of Beam Splitters for Optical Fiber Tapping Elements, Siemens Forsch.- und Entw.-Ber. 8 (1979) S. 136 bis 140 bereits entnehmbar ist.
  • Gemäß diesem Schaubild nimmt das Transmissionsvermögen T mit wachsender Schichtdicke t kontinuierlich ab, und zwar erhält man einen näherungsweise expondentiellen Abfall. Das Reflexionsvermögen R steigt zunächst mit zunehmendem : stark an und strebt dann einem von t unabhängigen Grenz- 'wert zu. Die Kurve für die Absorption A erreicht nach einem steilen Anstieg bei einem bestimmten t ein Maximum, fällt anschließend leicht ab und strebt einem von t unabhängigen Grenzwert zu. Bezüglich Einzelheiten der Berechnung von T, R und A wird auf die genannte Literaturstelle Mahlein verwiesen.
  • Aus dem Transmissionsvermögen T folgt die Dämpfung a in dB zu
    a = - 10 lgT.
  • Da die optischen Konstanten von Metallen im interessierenden Wellenlängenbereich von 700 nm bis 1500 nm nur schwach von der Wellenlänge abhängen, ist die Dämpfung a im betrachteten Spektralbereich weitgehend wellenlängenunabhängig. Als Metall kommt beispielsweise Aluminium in Betracht.
  • Während die absorbierte Strahlung in der Metallschicht in Wärme umgewandelt wird und folglich nicht stört, können durch Rückführung der reflektierten Strahlung in Richtung zum Sender unerwünschte Effekte auftreten. Die Metallschicht darf folglich nicht senkrecht zur Faserachse angeordnet werden, sondern muß aus der senkrechten Lage um einen bestimmten Winkel θ0 gegen die Faserachse geneigt sein, dessen Minimalwert durch
    arc sin (AN/n0)
    gegeben ist, wobei AN die numerische Apertur der Faser 1 und nO den. mittleren Brechungsindex des Faserkerns 11 bedeuten. Für eine typische Gradientenfaser mit AN = 0,18 n0 = 1,46 ergibt sich der Minimalwert für θ0 zu 7,1°. Ein typischer Wert für die Abweichung der Metallschicht 6 von der Senkrechten ist θ0 = 10° gegeben. Um durch die Metallschicht keine unerwünschte Diskriminierung zwischen unterschiedlichen Polarisationsrichtungen zu bewirken, darf θ0 nicht wesentlich größer als der Minimalwert sein.
  • Die beiden in den Figuren 1a) und 1b)bzw. 2a) und 2b) dargestellten Ausführungsformen unterscheiden sich im wesentlichen nur durch die verschiedenen Befestigungsweisen der Metallschicht 6 in der Faser 1. In der Ausführungsform gemäß den Figuren 1a) und 1b) ist die Metallschicht 6 direkt-auf eine polierte Faserstirnfläche 61 aufgedampft, während in der Ausführungsform gemäß den Figuren 2a) und 2b) eine metallisch bedampfte Folie 7 auf eine Faserstirnfläche geklebt ist.
  • Die Herstellung eines Dämpfungsgliedes kann so erfolgen, daß die Metallschicht entweder direkt auf eine schräg polierte Glasfaserstirnfläche aufgedampft wird oder daß eine vorab bedampfte, dünne Kunststoffolie, beispielsweise eine Kaptonfolie auf eine schräg polierte Glasfaserstirnfläche geklebt wird. Zur Weiterführung des transmittierten Lichtes wird eine zweite Faser fluchtend zur ersten Faser mit der Metallschicht bzw. ihrem Kunststoff Substrat verklebt. Die einzelnen Herstellungsschritte können ähnlich wie bei der Fabrikation von Glasfaserabzweigen und Wellenlängenmultiplex-Bausteinen nach dem Strahlteilerprinzip ausgeführt werden (s. dazu H.F. Mahlein, Design of Beam Splitters for 0ptical Fiber Tapping Elements, Siemens Forsch.-u. Entw. Ber. 8 (1979) 136-140; A. Reichelt, G. Winzer, H. Michel, F. Auracher, F. Heyer, W. Rauscher, Improved Optical Tapping Elements for Graded Index Optical Fibers, Siemens Forsch.- u. Entw.Ber. 8 (19799 130 - 135; H.F. Mahlein, H. Michel, W. Rauscher, A. Reichelt, G. Winzer, Interference Filter All-Fibre Directional Coupler for W.D.M. Electron. Lett. 16 (1980) 584 - 585; G. Winzer, H.F. Mahlein, A. Reichelt, Singlemode and Multimode All-Fiber Directional Couplers for WDM Appl. Optics 20 (1981)).
  • Insbesondere können zur Faserhalterung durch anisotropes Ätzen von Silizium hergestellte V-förmige Führungsnuten dienen. In den Ausführungsformen gemäß den Figuren 1a), b) und 2a), b) ist davon Gebrauch gemacht. In den genannten Figuren ist der optische Kitt, der Faserstirnflächen 61, 62 mit der Metallschicht 6 oder der Kunststoff-Folie 7 verbindet, Figuren 1a und 2a. mit 63 bezeichnet.
  • Das ganze Dämpfungsglied kann in ein Gehäuse mit Steckerflanschen am Ein- und Ausgang eingebaut werden. Bei Verzicht auf Steckerflansche kann das Dämpfungsglied auch in eine Glasfaserstrecke eingespleißt werden.
  • Da Licht, das in Richtung auf eine Siliziumfurche reflektiert wird, von letzterer ähnlich wie von einem Winkelspiegel zurückreflektiert wird, empfiehlt es sich, die zur Faserachse geneigte-Metallschicht 6 bezüglich der Ausbreitungsrichtung der Strahlung so zu neigen, daß an der Metallschicht reflektiertes Licht aus der von der V-förmigen Furche 2 abgewandten Seite der Faser 1 austritt.

Claims (7)

1. Optisches Dämpfungsglied mit fester Dämpfung, gekennzeichnet durch eine quer durch einen optischen Wellenleiter (1) sich erstreckende Metallschicht (6), deren Dicke so bemessen ist, daß eine gewünschte Resttransmission und damit eine gewünschte Dämpfung vorhanden ist.
2. Dämpfungsglied nach Anspruch 1, dadurch gekennzeichnet , daß die Metallschicht (6) schräg zur optischen Achse (A) des Wellenleiters (1) angeordnet ist, derart, daß eine Seite der Metallschicht (6) mit der optischen Achse (A) höchstens einen Winkel von
Figure imgb0001
einschließt, wobei AN die numerische Apertur des Wellenleiters und n0 den mittleren Brechungsindex des wellenführenden Mediums des Wellenleiters (1) bedeuten.
3. Dämpfungsglied nach Anspruch 1 oder 2, dadurch gekennzeichnet , daß der optische Wellenleiter (1) aus einem Glasfaser-Lichtwellenleiter besteht.
4. Verfahren zur Herstellung eines Dämpfungsgliedes nach einem der vorhergehenden Ansprüche, dadurch gekennzeichnet , daß auf eine polierte Stirnfläche eines ersten optischen Wellenleiters die Metallschicht (6) aufgedampft oder eine vorab mit der Metallschicht (6) bedampfte Folie (7) aufgeklebt wird, und daß ein zweiter optischer Wellenleiter fluchtend zum ersten Wellenleiter mit der Metallschicht (6) oder der Folie (7) verklebt wird.
5. Verfahren nach Anspruch 4, dadurch gekennzeichnet daß ein auf einem Substrat befestigter optischer Wellenleiter zusammen mit dem Substrat durchtrennt und die entstandenen Trennteile nach einem Polieren der Trennflächen und mit auf eine Trennfläche aufgebrachter oder zwischen die Trennfläche gebrachter Metallschicht wieder so zusammengeklebt werden, daß die beiden Wellenleiterhälften wieder fluchten.
6. Verfahren nach Anspruch 5 zur Herstellung eines Deämpfungsglieds nach Anspruch 3, dadurch gekennzeichnet , daß von einem Siliziumsubstrat ausgegangen wird, in das durch anisotropes Ätzen eine V-förmige Furche eingeätzt worden ist, in welcher der Glasfaser-Lichtwellenleiter angeordnet und befestigt ist.
7. Verfahren nach einem der Ansprüche 4 bis 7, dadurch gekennzeichnet , daß der optische Wellenleiter (1) derart schräg zur optischen Achse durchtrennt wird, daß danach die Metallschicht bezüglich der Ausbreitungsrichtung der Strahlung so zur optischen Achse geneigt ist, daß an ihr reflektiertes Licht aus der von dem Substrat abgewandten Seite des.Wellenleiters austritt.
EP82107391A 1981-09-15 1982-08-13 Optisches Dämpfungsglied Withdrawn EP0074499A3 (de)

Applications Claiming Priority (2)

Application Number Priority Date Filing Date Title
DE3136584 1981-09-15
DE19813136584 DE3136584A1 (de) 1981-09-15 1981-09-15 Optisches daempfungsglied

Publications (2)

Publication Number Publication Date
EP0074499A2 true EP0074499A2 (de) 1983-03-23
EP0074499A3 EP0074499A3 (de) 1983-06-29

Family

ID=6141706

Family Applications (1)

Application Number Title Priority Date Filing Date
EP82107391A Withdrawn EP0074499A3 (de) 1981-09-15 1982-08-13 Optisches Dämpfungsglied

Country Status (3)

Country Link
EP (1) EP0074499A3 (de)
JP (1) JPS5860704A (de)
DE (1) DE3136584A1 (de)

Cited By (7)

* Cited by examiner, † Cited by third party
Publication number Priority date Publication date Assignee Title
EP0246166A1 (de) * 1986-05-15 1987-11-19 RADIALL INDUSTRIE, Société Anonyme dite: Dämpfungsglied für eine Monomodefaser und Methode seiner Herstellung
EP0341919A3 (en) * 1988-05-06 1990-09-12 Mitsubishi Rayon Co., Ltd. Light attenuator and process for fabrication thereof
US5319733A (en) * 1992-01-02 1994-06-07 Adc Telecommunications, Inc. Variable fiber optical attenuator
US5588087A (en) * 1992-01-02 1996-12-24 Adc Telecommunications, Inc. Overlapping fusion attenuator
EP0731576A3 (de) * 1995-03-06 1998-10-21 International Business Machines Corporation Verstärkungsausgleich unter Verwendung monolitisch planarer Wellenleitergitter als Multiplexer und Demultiplexer
EP0816881A3 (de) * 1996-07-05 2003-07-30 Molex Incorporated Faseroptisches Dämpfungsglied
CN106324758A (zh) * 2016-10-17 2017-01-11 苏州安捷讯光电科技股份有限公司 光纤回路器及其制作方法、光纤连接器及其制作方法

Families Citing this family (3)

* Cited by examiner, † Cited by third party
Publication number Priority date Publication date Assignee Title
JPS62121405A (ja) * 1985-11-22 1987-06-02 Nec Corp 光減衰器
DE3701421A1 (de) * 1987-01-20 1988-07-28 Standard Elektrik Lorenz Ag Optische steckverbindung
JPH04101106A (ja) * 1990-08-20 1992-04-02 Nec Corp 光ファイバ加工形デバイス

Family Cites Families (3)

* Cited by examiner, † Cited by third party
Publication number Priority date Publication date Assignee Title
DE2418994C2 (de) * 1974-04-19 1982-11-25 Siemens AG, 1000 Berlin und 8000 München Wellenleiterstruktur mit Dünnschichtfilter und Verfahren zu deren Herstellung
DE2851679C2 (de) * 1978-11-29 1983-02-17 Siemens AG, 1000 Berlin und 8000 München Verfahren zur Herstellung eines Verzweigerelements nach dem Strahlteilerprinzip
DE2851654A1 (de) * 1978-11-29 1980-06-26 Siemens Ag Koppelelement zum auskoppeln eines lichtanteils aus einem optischen wellenleiter und wiedereinkoppeln desselben in einen abzweigenden optischen wellenleiter sowie verfahren zur herstellung des elements

Cited By (9)

* Cited by examiner, † Cited by third party
Publication number Priority date Publication date Assignee Title
EP0246166A1 (de) * 1986-05-15 1987-11-19 RADIALL INDUSTRIE, Société Anonyme dite: Dämpfungsglied für eine Monomodefaser und Methode seiner Herstellung
FR2598820A1 (fr) * 1986-05-15 1987-11-20 Radiall Ind Attenuateur pour fibres optiques monomode et procede pour sa fabrication.
US4787700A (en) * 1986-05-15 1988-11-29 Radiall Industrie Attenuator for single-mode optical fibers and process for its fabrication
EP0341919A3 (en) * 1988-05-06 1990-09-12 Mitsubishi Rayon Co., Ltd. Light attenuator and process for fabrication thereof
US5319733A (en) * 1992-01-02 1994-06-07 Adc Telecommunications, Inc. Variable fiber optical attenuator
US5588087A (en) * 1992-01-02 1996-12-24 Adc Telecommunications, Inc. Overlapping fusion attenuator
EP0731576A3 (de) * 1995-03-06 1998-10-21 International Business Machines Corporation Verstärkungsausgleich unter Verwendung monolitisch planarer Wellenleitergitter als Multiplexer und Demultiplexer
EP0816881A3 (de) * 1996-07-05 2003-07-30 Molex Incorporated Faseroptisches Dämpfungsglied
CN106324758A (zh) * 2016-10-17 2017-01-11 苏州安捷讯光电科技股份有限公司 光纤回路器及其制作方法、光纤连接器及其制作方法

Also Published As

Publication number Publication date
EP0074499A3 (de) 1983-06-29
JPS5860704A (ja) 1983-04-11
DE3136584A1 (de) 1983-03-31

Similar Documents

Publication Publication Date Title
DE3687944T2 (de) Kopplungselement fuer monomodefaser und dieses aufweisende uebertragungssystem.
DE69714378T2 (de) Vorrichtung mit Lichtwellenleiter-Abzweiger
DE3877597T2 (de) Verbindung von optischen fasern.
EP0026379B1 (de) Vorrichtung zum seitlichen Einkoppeln von Licht in einen Glasfaser-Lichtwellenleiter
DE3886935T2 (de) Optisches koppelelement.
DE69510406T2 (de) Faseroptische Lichteinkopplungsschnittstelle mit vergrösserter Einfallsfläche
EP0012189B1 (de) Koppelelement zum Auskoppeln eines Lichtanteils aus einem einen Kern und einen Mantel aufweisenden Glasfaser-Lichtwellenleiter
EP0053324B2 (de) Optisches Verzweigungsglied
DE3102494A1 (de) Optische koppeleinrichtung
DE69426707T2 (de) Eine optische vorrichtung und ihr herstellungsverfahren
EP0012190B1 (de) Abzweigelement für Monomode-Lichtwellenleiter und Verfahren zu seiner Herstellung
DE69620130T2 (de) Optisches Sender-Empfänger-Modul
DE2745940A1 (de) Optisches schaltkreiselement
CH644975A5 (de) Lichtleitfaser-richtkoppler und dessen verwendung in einer sende-/empfangseinrichtung.
DE3007180A1 (de) Optische kopplungsanordnung
DE2840493A1 (de) Frequenzselektives optisches lichtverteilerelement und verfahren zu seiner herstellung
EP0074499A2 (de) Optisches Dämpfungsglied
DE69900660T2 (de) Vorrichtung mit einem dispersiven Lichtwellenleiter-Abzweiger
DE69626559T2 (de) Laserlichtquelle und Herstellungsverfahren
DE10201127A1 (de) Anordnung zum Ein- und/oder Auskoppeln optischer Signale mindestens eines optischen Datenkanals in bzw. aus einem Lichtwellenleiter
EP0416640A2 (de) Verfahren zur Herstellung eines optischen Verschmelzkopplers und danach hergestellter Koppler
DE10314495B3 (de) Optische Koppeleinheit
EP1124146B1 (de) Optisches Spektrometer mit Lichtwellenleiter
DE3432743A1 (de) Optisches koppelglied
DE2851654A1 (de) Koppelelement zum auskoppeln eines lichtanteils aus einem optischen wellenleiter und wiedereinkoppeln desselben in einen abzweigenden optischen wellenleiter sowie verfahren zur herstellung des elements

Legal Events

Date Code Title Description
PUAI Public reference made under article 153(3) epc to a published international application that has entered the european phase

Free format text: ORIGINAL CODE: 0009012

AK Designated contracting states

Designated state(s): AT BE CH FR GB IT LI LU NL SE

PUAL Search report despatched

Free format text: ORIGINAL CODE: 0009013

AK Designated contracting states

Designated state(s): AT BE CH FR GB IT LI LU NL SE

17P Request for examination filed

Effective date: 19831222

STAA Information on the status of an ep patent application or granted ep patent

Free format text: STATUS: THE APPLICATION IS DEEMED TO BE WITHDRAWN

18D Application deemed to be withdrawn

Effective date: 19850809

RIN1 Information on inventor provided before grant (corrected)

Inventor name: MAHLEIN, HANS, DR.RER.NAT.