DE102016102403B4 - Kipplaufwaffe - Google Patents

Kipplaufwaffe Download PDF

Info

Publication number
DE102016102403B4
DE102016102403B4 DE102016102403.1A DE102016102403A DE102016102403B4 DE 102016102403 B4 DE102016102403 B4 DE 102016102403B4 DE 102016102403 A DE102016102403 A DE 102016102403A DE 102016102403 B4 DE102016102403 B4 DE 102016102403B4
Authority
DE
Germany
Prior art keywords
piece
clamping piece
receiving groove
bearing
closure housing
Prior art date
Legal status (The legal status is an assumption and is not a legal conclusion. Google has not performed a legal analysis and makes no representation as to the accuracy of the status listed.)
Expired - Fee Related
Application number
DE102016102403.1A
Other languages
English (en)
Other versions
DE102016102403A1 (de
Inventor
Sergej Popikov
Richard Schmid
Current Assignee (The listed assignees may be inaccurate. Google has not performed a legal analysis and makes no representation or warranty as to the accuracy of the list.)
L&O Hunting Group GmbH
Original Assignee
L&O Hunting Group GmbH
Priority date (The priority date is an assumption and is not a legal conclusion. Google has not performed a legal analysis and makes no representation as to the accuracy of the date listed.)
Filing date
Publication date
Application filed by L&O Hunting Group GmbH filed Critical L&O Hunting Group GmbH
Priority to DE102016102403.1A priority Critical patent/DE102016102403B4/de
Priority to ES16204146T priority patent/ES2704576T3/es
Priority to EP16204146.1A priority patent/EP3205970B1/de
Priority to DK16204146.1T priority patent/DK3205970T3/en
Priority to RU2017103949A priority patent/RU2712402C2/ru
Priority to US15/427,239 priority patent/US9982957B2/en
Publication of DE102016102403A1 publication Critical patent/DE102016102403A1/de
Application granted granted Critical
Publication of DE102016102403B4 publication Critical patent/DE102016102403B4/de
Expired - Fee Related legal-status Critical Current
Anticipated expiration legal-status Critical

Links

Images

Classifications

    • FMECHANICAL ENGINEERING; LIGHTING; HEATING; WEAPONS; BLASTING
    • F41WEAPONS
    • F41AFUNCTIONAL FEATURES OR DETAILS COMMON TO BOTH SMALLARMS AND ORDNANCE, e.g. CANNONS; MOUNTINGS FOR SMALLARMS OR ORDNANCE
    • F41A3/00Breech mechanisms, e.g. locks
    • F41A3/58Breakdown breech mechanisms, e.g. for shotguns
    • FMECHANICAL ENGINEERING; LIGHTING; HEATING; WEAPONS; BLASTING
    • F41WEAPONS
    • F41CSMALLARMS, e.g. PISTOLS, RIFLES; ACCESSORIES THEREFOR
    • F41C7/00Shoulder-fired smallarms, e.g. rifles, carbines, shotguns
    • F41C7/11Breakdown shotguns or rifles

Landscapes

  • Engineering & Computer Science (AREA)
  • General Engineering & Computer Science (AREA)
  • Aiming, Guidance, Guns With A Light Source, Armor, Camouflage, And Targets (AREA)
  • Clamps And Clips (AREA)
  • Hinges (AREA)
  • Pivots And Pivotal Connections (AREA)
  • Toys (AREA)

Abstract

Kipplaufwaffe mit einem Verschlussgehäuse (1), einem am Verschlussgehäuse (1) um eine Drehachse (3) kippbar angeordneten Laufteil (4), einem am Laufteil abnehmbar befestigten Vorderschaft (2) und einem in Schussrichtung der Kipplaufwaffe gesehen am hinteren Ende des Vorderschafts (2) angeordneten Lagerstück (9), das hintere Lagerflächen (14) zur schwenkbaren Anlage am vorderen Gegenflächen (15) des Verschlussgehäuses (1) und eine Positioniereinrichtung zur Einstellung der Lage des Lagerstücks (9) relativ zum Laufteil (4) umfasst, wobei die Positioniereinrichtung ein im Lagerstück (9) in Längsrichtung des Vorderschafts (2) verschiebbar geführtes und durch ein Stellelement (23) verstellbares Spannstück (24) zur Anlage an einem am Laufteil (4) angeordneten Anschlag (25) umfasst und wobei das Spannstück (24) in einer nach oben und nach vorne offenen Aufnahmenut (27) eines nach vorne vorstehenden Ansatzes (11) des Lagerstücks (9) verschiebbar geführt ist, dadurch gekennzeichnet, dass die Aufnahmenut (27) in Form einer T-Nut mit einem dem Laufteil (4) zugewandten engeren Außenteil (28) und einem verbreiterten Innenteil (29) und das Spannstück (24) in Form eines T-Nutensteins mit einem schmaleren oberen Teil (30) und einem breiteren unteren Teil (31) ausgebildet sind.

Description

  • Die Erfindung betrifft eine Kipplaufwaffe nach dem Oberbegriff des Anspruchs 1.
  • Eine derartige Kipplaufwaffe ist aus der US 2006/0070289 A1 bekannt. Diese weist einen Systemkasten bzw. ein Verschlussgehäuse, ein um eine Drehachse am Verschlussgehäuse kippbar angeordnetes Laufteil, einen am Laufteil abnehmbar befestigten Vorderschaft und ein in Schussrichtung der Kipplaufwaffe gesehen am hinteren Ende des Vorderschafts angeordnetes Lagerstück zur schwenkbaren Anlage am Verschlussgehäuse auf. Das am hinteren Ende des Vorderschafts angeordnete Lagerstück enthält hintere Lagerflächen zur schwenkbaren Anlage an dazu passenden vorderen Gegenflächen des Verschlussgehäuses. Zur Einstellung der Lage des Lagerstücks relativ zum Laufteil enthält die Kipplaufwaffe außerdem eine Positioniereinrichtung, die ein im Lagerstück in Längsrichtung des Vorderschafts verschiebbar geführtes und durch ein Stellelement verstellbares Spannstück zur Anlage an einem am Laufteil angeordneten Anschlag umfasst. Das blockförmige Spannstück ist in einer nach oben offenen Aufnahmenut eines nach vorne vorstehenden Ansatzes des Lagerstücks verschiebbar geführt.
  • Aufgabe der Erfindung ist es, eine Kipplaufwaffe der eingangs genannten Art zu schaffen, die eine einfache und genaue Einstellung bzw. Justierung des Scharniergangs zwischen dem Verschlussgehäuse und dem kippbaren Laufteil ermöglicht.
  • Diese Aufgabe wird durch eine Kipplaufwaffe mit den Merkmalen des Anspruchs 1 gelöst. Zweckmäßige Ausgestaltungen und vorteilhafte Weiterbildungen der Erfindung sind in den Unteransprüchen angegeben.
  • Bei der erfindungsgemäßen Kipplaufwaffe ist die Aufnahmenut in Form einer T-Nut mit einem dem Laufteil zugewandten engeren Außenteil und einem verbreiterten Innenteil ausgeführt. Das dazugehörige Spannstück weist die Form eines T-Nutensteins mit einem schmaleren oberen Teil und einem breiteren unteren Teil auf.
  • Gemäß einervorteilhaften Ausgestaltung weist die Aufnahmenut eine geringfügig größere Breite als das Spannstück auf, so dass das Spannstück innerhalb der Aufnahmenut nicht nur in Richtung einer in Längsrichtung des Vorderschafts verlaufenden Längsachse der Aufnahmenut verschoben, sondern um eine zu dieser Längsachse senkrechte Achse auch leicht verdreht werden. Somit kann eine vordere Anlagefläche des Spannstücks leicht schräg gestellt und ohne aufwändige manuelle Nacharbeiten an die Anschlagfläche des dazugehörigen Anschlags angepasst werden.
  • In einer weiteren vorteilhaften Ausführung weist das Spannstück eine durchgängige Gewindebohrung mit einem darin angeordneten Gewindestift auf. Durch Einschrauben des Gewindestifts kann das Spannstück gegen das Lagerteil verspannt und dadurch in einer eingestellten Position gesichert werden.
  • Bei einer besonders kompakten und platzsparenden Bauweise kann das Stellelement ebenfalls in der Aufnahmenut für das Spannstück angeordnet sein. Das Stellelement kann als Stellexzenter mit einem in dem engeren Außenteil der Aufnahmenut drehbar geführten zylindrischen Teil und einem in dem verbreiterten Innenteil der der Aufnahmenut angeordneten exzentrischen Teil ausgeführt sein.
  • Auch das Stellelement kann zur Verdrehsicherung eine durchgängige Gewindebohrung mit einem darin angeordneten Gewindestift aufweisen. Zweckmäßigerweise ist die Mittelachse der Gewindebohrung gegenüber der Mittelachse der Aufnahmenut seitlich versetzt. Dadurch kann eine unerwünschte Verstellung besonders gut vermieden werden.
  • Weitere Besonderheiten und Vorzüge der Erfindung ergeben sich aus der folgenden Beschreibung eines bevorzugten Ausführungsbeispiels anhand der Zeichnung. Es zeigen:
    • 1 einen Teil einer doppelläufigen Kipplaufwaffe mit einem Verschlussgehäuse, einem Laufteil und einem Vorderschaft in einer zum Teil geschnittenen Seitenansicht;
    • 2 eine Draufsicht eines Lagerteils des in 1 gezeigten Vorderschafts in einem Halbschnitt und
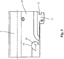
    • 3 ein Hakenstück der Kipplaufwaffe von 1 in einer Seitenansicht.
  • Die in 1 zum Teil dargestellte Kipplaufwaffe enthält einen nur teilweise gezeigten Systemkasten bzw. ein Verschlussgehäuse 1, einen Vorderschaft 2 und ein am Verschlussgehäuse 1 um eine Querachse 3 kipp- und abnehmbar angeordnetes Laufteil 4, das bei der gezeigten Ausführung ein in 3 gesondert dargestelltes Hakenstück 5, zwei übereinander angeordnete Läufe 6 und 7 und eine Visierschiene 8 umfasst. Der Vorderschaft 2 weist an seinem in Schussrichtung gesehen vorderen Ende einen hier nicht erkennbaren Verriegelungsmechanismus zur lösbaren Halterung des Vorderschafts 2 am unteren Lauf 7 des Laufteils 4 und an seinem hinteren Ende ein in 2 gesondert dargestelltes Lagerstück 9 zur Anlage am Verschlussgehäuse 1 auf. An dem hinteren Ende des Verschlussgehäuses 1 ist in an sich bekannter Weise ein hier nicht gezeigter Hinterschaft befestigt.
  • Das in 2 in einer Draufsicht im Halbschnitt gezeigte und aus Metall bestehende Lagerstück 9 enthält ein hinteres Anlageteil 10 und einen nach vorne vorstehenden Ansatz 11, der in einer in 1 gezeigten Ausnehmung 12 am hinteren Ende des Vorderschafts 2 angeordnet ist. Das in einer Rückansicht U-förmige hintere Anlageteil 10 hat zwei das Hakenstück 5 übergreifende Seitenstege 13, die an ihrer Hinterseite konkave hintere Lagerflächen 14 zur Anlage an dazu korrespondierenden - in 1 gezeigten - konvexen Gegenflächen 15 am vorderen Ende des Verschlußgehäuses 1 aufweisen. Im Anlageteil 10 sind zwei stirnseitige Bohrungen 16 zur Befestigung des Lagerstücks 9 am Vorderschaft 2 vorgesehen.
  • Zur kippbaren Anordnung des Laufteils 4 an dem Verschlussgehäuse 1 um die Drehachse 3 sind an zwei gegenüberliegenden Flanken des in 1 gezeigten Verschlussgehäuse 1 nach innen ragende Scharnierbolzen 17 angeordnet, die in seitliche Ausnehmungen 18 an den beiden Seitenflächen 19 des in 3 gezeigten Hakenstücks 5 eingreifen. Die beiden nach vorne offenen, seitlichen Ausnehmungen 18 haben jeweils eine halbrunde hintere Anlagefläche 20, an denen die vom Verschlussgehäuse 1 nach innen vorstehenden Scharnierbolzen 17 zur Anlage gelangen. Die beiden halbrunden Anlageflächen 20 bilden also eine nach vorne offene Lagerfläche für die Kippbewegung des Hakenstücks 5. Das Hakenstück 5 enthält an seiner Unterseite einen Laufhaken 21, der in eine entsprechende Aufnahmeöffnung des Verschlussgehäuses 1 eingreift und durch einen in einen Verriegelungsschlitz 22 am der Rückseite des Laufhakens 21 eingreifenden Verschlusskeil verriegelt oder zum Abkippen des Laufteils 4 freigegeben werden kann.
  • Das Andrücken des Hakenstücks 5 gegen die Scharnierbolzen 17 erfolgt über das am hinteren Ende des Vorderschafts 2 befestigte Lagerstück 9, das gemäß 1 einerseits über ein mittels eines Stellelements 23 verstellbares Spannstück 24 an einem Anschlag 25 am unteren Lauf des Laufteils 4 abgestützt ist und andrerseits mit den konkaven Lagerflächen 14 an den Seitenstegen 13 gegen die konvexen Gegenflächen 15 an den beiden Seitenflächen des Verschlussgehäuses 1 drückt. Über das am Ende des Vorderschafts 2 angeordnete Lagerstück 9 wird also das Hakenstück 5 relativ zum Verschlussgehäuse 1 unter Vorspannung nach vorne gezogen, so dass die halbrunden hinteren Anlageflächen 20 am Hakenstück 5 unter einer Zugspannung zur Anlage an den Scharnierbolzen 17 des Verschlussgehäuses 1 gelangen. Bei der gezeigten Ausführung ist der mit einer hinteren Anschlagfläche 26 versehene Anschlag 25 als gesondertes Bauteil ausgeführt, das z.B. durch Verlöten an dem unteren Lauf 7 befestigt ist. Der Anschlag 25 kann aber auch an dem Lauf integriert bzw. einteilig mit diesem ausgebildet sein.
  • Wie aus 2 hervorgeht, ist das Spannstück 24 in einer Aufnahmenut 27 des Lagerteils 9 in Längsrichtung des Vorderschafts 2 verschiebbar geführt. Die nach oben und nach vorne offene Aufnahmenut 27 befindet sich in dem nach vorne vorstehenden Ansatz 11 des Lagerteils 9 und ist in Form einer T-Nut mit einem dem Laufteil 4 zugewandten engeren Außenteil 28 und einem verbreiterten Innenteil 29 ausgeführt. Das Spannstück 24 ist in Form eines T-Nutensteins mit einem schmaleren oberen Teil 30 und einem breiteren unteren Teil 31 ausgebildet. Es weist eine vordere Anlagefläche 32 zur Anlage an der Anschlagfläche 26 des Anschlags 25 sowie eine hintere Anlagefläche 33 für das Stellelement 23 auf.
  • Die Aufnahmenut 27 weist eine geringfügig größere Breite als und das darin geführte Spannstücks 24 auf, so dass das Spannstück 24 innerhalb der Aufnahmenut 27 nicht nur in Richtung einer in Längsrichtung des Vorderschafts 2 verlaufenden Längsachse 34 der Aufnahmenut 27 verschoben, sondern um eine zu dieser Längsachse 34 senkrechte Achse zur Seite auch leicht verdreht werden kann. Dadurch kann das Spannstück 24 so angeordnet sein, dass dessen Längsachse 35 einen Winkel zur Mittelachse 34 der Ausnehmung 27 einnimmt.
  • Somit kann die vordere Anlagefläche 32 leicht schräg gestellt und ohne aufwändige manuelle Nacharbeiten an die Anschlagfläche 26 des Anschlags 25 angepasst werden. In einer durchgängigen Gewindebohrung 36 des Spannstücks 24 ist ein Gewindestift 37 angeordnet, durch den das Spannstück 24 gegen das Lagersteil 9 verspannt werden kann. Dadurch kann eine zuvor eingestellte Stellung des Spannstücks 24 gesichert werden.
  • Das Stellelement 23 zur Verstellung des Spannstücks 24 ist bei der gezeigten Ausführung als Stellexzenter mit einem in dem engeren Außenteil 28 der Aufnahmenut 27 drehbar geführten zylindrischen Teil 38 und einem in dem verbreiterten Innenteil 29 der Aufnahmenut 27 angeordneten exzentrischen Teil 39 ausgeführt. Durch Drehung des zur Mittelachse 34 der Ausnehmung konzentrischen zylindrischen Teils 38 des Stellelements 23 kann das Spannstück 24 über den exzentrischen Teil 39 des Stellelements 23 verschoben werden. Auch in dem Stellelement 23 ist zur Verdrehsicherung ein in einer Gewindebohrung 40 angeordneter Gewindestift 41 vorgesehen. Die Mittelachse der Gewindebohrung 40 ist gegenüber der Mittelachse 34 der Aufnahmenut 27 seitlich versetzt.
  • Durch die Verstellung des Spannstücks 24 kann die Lage des an der Rückseite des Vorderschafts 2 angeordneten Lagerteils 9 relativ zum Laufteil 4 bzw. zu dessen Hakenstück 5 verändert und damit der Anpressdruck zwischen den Scharnierbolzen 7 und den hinteren Anlageflächen 20 am Hakenstück 5 einerseits sowie der Anpressdruck zwischen den konkaven Lagerflächen 14 am Lagerteil 9 und den dazu korrespondierenden Gegenflächen 15 am Verschlussgehäuse 1 andrerseits eingestellt werden. Auf diese Weise ist der Scharniergang zwischen dem Verschlussgehäuse 1 und dem kippbaren Laufteil 4 auf einfache und genaue Weise justierbar.
  • Beim Zusammenbau der vorstehend beschriebenen Kipplaufwaffe wird zunächst das Hakenstück 5 mit den beiden Läufen 6 und 7 und der Visierschiene 8 so am Verschlussgehäuse 1 eingesetzt, dass das Hakenstück 5 mit seinen beiden Anlageflächen 20 von hinten zur Anlage an den beiden Scharnierbolzen 17 kommt. Dann kann der an seiner Vorderseite noch nach unten gekippte Vorderschaft 2 mit seinem hinteren Lagerstück 9 so an das Verschlussgehäuse 1 angesetzt werden, dass die an den Seitenstegen 13 des Lagerstücks 9 vorgesehenen hinteren Lagerflächen 14 zur Anlage an den dazugehörigen Gegenflächen 15 des Verschlussgehäuses 1 gelangen. Dann kann der Vorderschaft 2 auch an seiner Vorderseite nach oben verschwenkt werden, so dass das Spannstück 24 zur Anlage an dem Anschlag 25 kommt und der Vorderschaft 2 an seiner Vorderseite durch den hier nicht dargestellten Verriegelungsmechanismus an dem unteren Laufteil 7 verriegelt gehalten wird. Durch entsprechende Drehung des Stellelements 23 kann der Anpressdruck des Lagerteils 9 gegen das Verschlussgehäuse 1 verändert und dadurch der Scharniergang eingestellt werden. Wenn die optimale Einstellung des Spannstücks 24 gefunden ist, können die beiden Gewindeschrauben angezogen werden, so dass die gewünschte Stellung des Spannstücks 24 gesichert und eine unerwünschte Drehung des Stellelements 23 vermieden werden kann. Zur Demontage des Laufteils 4 muss lediglich der Verriegelungsmechanismus an der Vorderseite des Vorderschafts gelöst werden, so dass der Vorderschaft 2 nach unten geschwenkt und abgenommen werden kann. Dann kann auch der Laufteil 4 ausgehängt werden.

Claims (10)

  1. Kipplaufwaffe mit einem Verschlussgehäuse (1), einem am Verschlussgehäuse (1) um eine Drehachse (3) kippbar angeordneten Laufteil (4), einem am Laufteil abnehmbar befestigten Vorderschaft (2) und einem in Schussrichtung der Kipplaufwaffe gesehen am hinteren Ende des Vorderschafts (2) angeordneten Lagerstück (9), das hintere Lagerflächen (14) zur schwenkbaren Anlage am vorderen Gegenflächen (15) des Verschlussgehäuses (1) und eine Positioniereinrichtung zur Einstellung der Lage des Lagerstücks (9) relativ zum Laufteil (4) umfasst, wobei die Positioniereinrichtung ein im Lagerstück (9) in Längsrichtung des Vorderschafts (2) verschiebbar geführtes und durch ein Stellelement (23) verstellbares Spannstück (24) zur Anlage an einem am Laufteil (4) angeordneten Anschlag (25) umfasst und wobei das Spannstück (24) in einer nach oben und nach vorne offenen Aufnahmenut (27) eines nach vorne vorstehenden Ansatzes (11) des Lagerstücks (9) verschiebbar geführt ist, dadurch gekennzeichnet, dass die Aufnahmenut (27) in Form einer T-Nut mit einem dem Laufteil (4) zugewandten engeren Außenteil (28) und einem verbreiterten Innenteil (29) und das Spannstück (24) in Form eines T-Nutensteins mit einem schmaleren oberen Teil (30) und einem breiteren unteren Teil (31) ausgebildet sind.
  2. Kipplaufwaffe nach Anspruch 1, dadurch gekennzeichnet, dass die Aufnahmenut (27) eine geringfügig größere Breite als das darin geführte Spannstück (24) aufweist.
  3. Kipplaufwaffe nach Anspruch 1 oder 2, dadurch gekennzeichnet, dass das Spannstück (24) eine vordere Anlagefläche (32) zur Anlage an einer hinteren Anschlagfläche (26) des Anschlags (25) enthält.
  4. Kipplaufwaffe nach einem der Ansprüche 1 bis 3, dadurch gekennzeichnet, dass das Spannstück (24) eine durchgängige Gewindebohrung (36) mit einem darin angeordneten Gewindestift (37) enthält.
  5. Kipplaufwaffe nach einem der Ansprüche 1 bis 4, dadurch gekennzeichnet, dass das Stellelement (23) in der Aufnahmenut (27) für das Spannstück (24) angeordnet ist.
  6. Kipplaufwaffe nach einem der Ansprüche 1 bis 5, dadurch gekennzeichnet, dass das Stellelement (23) als Stellexzenter mit einem in dem engeren Außenteil (28) der Aufnahmenut (27) drehbar geführten zylindrischen Teil (38) und einem in dem verbreiterten Innenteil (29) der Aufnahmenut (27) angeordneten exzentrischen Teil (39) ausgeführt ist.
  7. Kipplaufwaffe nach einem der Ansprüche 1 bis 6, dadurch gekennzeichnet, dass das Stellelement (23) eine durchgängige Gewindebohrung (40) mit einem darin angeordneten Gewindestift (41) enthält.
  8. Kipplaufwaffe nach Anspruch 7, dadurch gekennzeichnet, dass die Mittelachse der Gewindebohrung (40) im Stellelement (23) gegenüber der Mittelachse (34) der Aufnahmenut (27) seitlich versetzt ist.
  9. Kipplaufwaffe nach einem der Ansprüche 1 bis 8, das dadurch gekennzeichnet, dass Verschlussgehäuse (1) nach innen ragende Scharnierbolzen (17) zum Eingriff in seitliche Ausnehmungen (18) an einem Hakenstück (5) des Laufteils (4) enthält.
  10. Kipplaufwaffe nach Anspruch 9, dadurch gekennzeichnet, dass die seitlichen Ausnehmungen (18) hintere Anlageflächen (20) für die Scharnierbolzen (17) aufweisen.
DE102016102403.1A 2016-02-11 2016-02-11 Kipplaufwaffe Expired - Fee Related DE102016102403B4 (de)

Priority Applications (6)

Application Number Priority Date Filing Date Title
DE102016102403.1A DE102016102403B4 (de) 2016-02-11 2016-02-11 Kipplaufwaffe
ES16204146T ES2704576T3 (es) 2016-02-11 2016-12-14 Arma de cañón abatible
EP16204146.1A EP3205970B1 (de) 2016-02-11 2016-12-14 Kipplaufwaffe
DK16204146.1T DK3205970T3 (en) 2016-02-11 2016-12-14 Drop-barrel gun
RU2017103949A RU2712402C2 (ru) 2016-02-11 2017-02-07 Оружие с откидным стволом
US15/427,239 US9982957B2 (en) 2016-02-11 2017-02-08 Hinged-breech weapon

Applications Claiming Priority (1)

Application Number Priority Date Filing Date Title
DE102016102403.1A DE102016102403B4 (de) 2016-02-11 2016-02-11 Kipplaufwaffe

Publications (2)

Publication Number Publication Date
DE102016102403A1 DE102016102403A1 (de) 2017-08-17
DE102016102403B4 true DE102016102403B4 (de) 2019-08-01

Family

ID=57590327

Family Applications (1)

Application Number Title Priority Date Filing Date
DE102016102403.1A Expired - Fee Related DE102016102403B4 (de) 2016-02-11 2016-02-11 Kipplaufwaffe

Country Status (6)

Country Link
US (1) US9982957B2 (de)
EP (1) EP3205970B1 (de)
DE (1) DE102016102403B4 (de)
DK (1) DK3205970T3 (de)
ES (1) ES2704576T3 (de)
RU (1) RU2712402C2 (de)

Families Citing this family (1)

* Cited by examiner, † Cited by third party
Publication number Priority date Publication date Assignee Title
RU2715819C1 (ru) * 2019-09-10 2020-03-03 Максим Сергеевич Турлаков Винтовка турлакова n 6 (разборная)

Citations (3)

* Cited by examiner, † Cited by third party
Publication number Priority date Publication date Assignee Title
DE19909114C1 (de) * 1999-03-03 2000-10-05 Blaser Horst Jagdwaffen Vorderschafthalterung
DE10235283C1 (de) * 2002-08-02 2003-12-18 Sat Swiss Arms Technology Ag Kipplaufwaffe
US20060070289A1 (en) 2004-10-06 2006-04-06 Beretta Ugo G Hold adjustment device between fore-end iron and action body in a break-open firearm

Family Cites Families (16)

* Cited by examiner, † Cited by third party
Publication number Priority date Publication date Assignee Title
US241466A (en) * 1881-05-10 wilson
US1029374A (en) * 1912-06-11 J C Kremer Fore arm lock for guns.
US1797320A (en) * 1930-03-21 1931-03-24 Winchester Repeating Arms Co Adjustable locking mechanism for breakdown firearms
FR2155160A5 (de) * 1971-10-08 1973-05-18 St Etienne Manuf Armes
FR2325893A1 (fr) * 1975-09-26 1977-04-22 Verney Carron Sa Fusil de chasse a canons juxtaposes
SU937973A1 (ru) * 1980-11-18 1982-06-23 Предприятие П/Я Г-4406 Запирающий механизм ружь с откидными стволами
US4964232A (en) * 1989-08-30 1990-10-23 U. S. Competition Arms, Inc. Single barrel break-action trap shotgun
FR2701098B1 (fr) * 1993-01-29 1995-04-21 Demas Ets Dispositif de calage frette-bascule dans un fusil de chasse à canons juxtaposés.
DE4422895C1 (de) * 1994-06-30 1995-10-12 Blaser Horst Jagdwaffen Vorderschafthalterung für eine Kipplaufwaffe
ITMI970419A1 (it) * 1997-02-26 1998-08-27 Franchi S P A Fucile da caccia a canne sovrapposte con dispositivo per la intercambiabilita' di serie del gruppo canne
FR2760830B1 (fr) * 1997-03-11 1999-06-11 Demas Ets Dispositif de calage anti recul de la frette ou planche a bascule d'un fusil de chasse
US6470617B1 (en) * 2001-10-31 2002-10-29 Thomas M. Gregory Folding stock
DE10241764A1 (de) * 2002-09-10 2004-03-18 Manfred Orth Gewehr, umfassend einen Hinterschaft und ein Gehäuse mit einer Gehäusehülse
ITMI20062231A1 (it) * 2006-11-22 2008-05-23 Beretta Armi Spa Fucile sovrapposto basculante dotato di dispositivo di estrazione selettiva controllata di bossoli
DE102008006200A1 (de) * 2008-01-26 2009-07-30 Blaser Finanzholding Gmbh Laufbündel einer Handfeuerwaffe
TR201815581T4 (tr) * 2014-01-02 2018-11-21 Caesar Guerini S R L Kırmalı ateşli silah.

Patent Citations (3)

* Cited by examiner, † Cited by third party
Publication number Priority date Publication date Assignee Title
DE19909114C1 (de) * 1999-03-03 2000-10-05 Blaser Horst Jagdwaffen Vorderschafthalterung
DE10235283C1 (de) * 2002-08-02 2003-12-18 Sat Swiss Arms Technology Ag Kipplaufwaffe
US20060070289A1 (en) 2004-10-06 2006-04-06 Beretta Ugo G Hold adjustment device between fore-end iron and action body in a break-open firearm

Also Published As

Publication number Publication date
DK3205970T3 (en) 2019-02-04
DE102016102403A1 (de) 2017-08-17
US9982957B2 (en) 2018-05-29
RU2017103949A (ru) 2018-08-10
ES2704576T3 (es) 2019-03-18
EP3205970A1 (de) 2017-08-16
RU2017103949A3 (de) 2019-11-28
RU2712402C2 (ru) 2020-01-28
EP3205970B1 (de) 2018-10-17
US20170234633A1 (en) 2017-08-17

Similar Documents

Publication Publication Date Title
EP1688696B1 (de) Verstellbare Schaftkappe für eine Handfeuerwaffe
DE102011010940B4 (de) Vorrichtung zur Bettung eines Verschlussgehäuses und/oder eines Laufs in einem Schaft einer Handfeuerwaffe
DE102018132756B4 (de) Umrüstsatz für eine Kurzwaffe
EP3649424A1 (de) Vorrichtung zur einstellung der ausrichtung eines hinterschafts einer handfeuerwaffe
DE102007014899A1 (de) Schaft eines Repetiergewehrs und Systemkasten eines Repetiergewehrs für einen derartigen Schaft
DE10235283C1 (de) Kipplaufwaffe
DE102016102403B4 (de) Kipplaufwaffe
AT506386B1 (de) Schulterkappe für schusswaffen
EP3973244B1 (de) Obergehäuse für eine feuerwaffe
EP2083237B1 (de) Laufbündel einer Handfeuerwaffe
DE202016100700U1 (de) Kipplaufwaffe
EP2578985B1 (de) Vorderschaftbefestigungsvorrichtung für eine Handfeuerwaffe
EP1830154A1 (de) Verstellbare Visiereinrichtung für eine Handfeuerwaffe
DE102009023520B4 (de) Halterung für Anbauteil zur Montage an Schusswaffe mit Profilschiene
DE202009003210U1 (de) Montagevorrichtung für eine Zieleinrichtung an einer Handfeuerwaffe
DE102005012513B4 (de) Mehrläufige Handfeuerwaffe
DE102009011905A1 (de) Montagevorrichtung für eine Zieleinrichtung an einer Handfeuerwaffe
DE10005637A1 (de) Vorrichtung zum Einstellen der Positionierung eines Griffs auf einem Kolben einer Feuerwaffe, insbesondere eines mit einem Lauf versehenen Wettkampf-Karabiners, wobei der Griff in verschiedenen Positionen auf dem Kolben befestigt werden kann
DE20313020U1 (de) Vorrichtung zur Befestigung einer Zieleinrichtung an einer Waffe
DE202011106261U1 (de) Schaftbefestigungsvorrichtung für eine Handfeuerwaffe
DE202005001766U1 (de) Verstellbare Schaftkappe für eine Handfeuerwaffe
DE202011002607U1 (de) Vorrichtung zur Bettung eines Verschlussgehäuses und/oder eines Laufs in einem Schaft einer Handfeuerwaffe
DE20211889U1 (de) Kipplaufwaffe
DE202005004388U1 (de) Mehrläufige Handfeuerwaffe
DE102007021639A1 (de) Verstellbare Handauflagen-Vorrichtung für den Schaft von Langwaffen

Legal Events

Date Code Title Description
R012 Request for examination validly filed
R016 Response to examination communication
R018 Grant decision by examination section/examining division
R020 Patent grant now final
R119 Application deemed withdrawn, or ip right lapsed, due to non-payment of renewal fee